1PB100WH - Batteria portatile FRESH N REBEL - Manuale utente e istruzioni gratuiti
Trova gratuitamente il manuale del dispositivo 1PB100WH FRESH N REBEL in formato PDF.
Domande degli utenti su 1PB100WH FRESH N REBEL
0 domanda su questo apparecchio. Rispondi a quelle che conosci o fai la tua.
Fai una nuova domanda su questo apparecchio
Scarica le istruzioni per il tuo Batteria portatile in formato PDF gratuitamente! Trova il tuo manuale 1PB100WH - FRESH N REBEL e riprendi in mano il tuo dispositivo elettronico. In questa pagina sono pubblicati tutti i documenti necessari per l'utilizzo del tuo dispositivo. 1PB100WH del marchio FRESH N REBEL.
MANUALE UTENTE 1PB100WH FRESH N REBEL
- Carica completeness la batteria Powerbank prima di usarla.
- Collega la batteria Powerbank al dispositivo da caricare.
- Premi il pulsante per iniziare a caricare. Il LED del caricamento diventerà rosso.
- Quando il disposativo è completamente carico, il LED del caricamento si spegne.




ORA IL DISPOSITIVO è PRONTO PER L'USO!


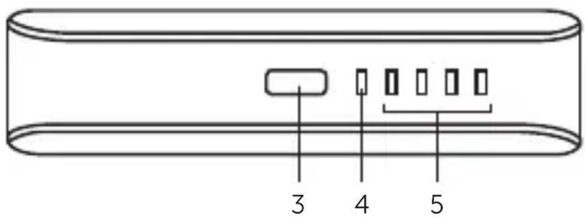
1. 1 Amp Porta USB
Caricamento dei dispositivi
2. PortaMicro-USB
Caricamento della batteria Powerbank
3. Pulsante
Premere il pulsante per iniziare a caricare.
Premere per conoscere lo stato della batteria
4. LED di caricamento
Rosso = Powerbank in carica
Spento = Powerbank completeness carico
5. Indicatore della batteria
1 spia = 25% di potenza della batteria rimasto
2 spiè = 50% di potenza della batteria rimasto
3 spiè = 75% di potenza della batteria rimasto
4 spiè = 100% di potenza della batteria rimasto
ISTRUZIONI IMPORTANTI PER LA SICUREZZA

ttenzione!
Le direttive di sicurezza sono state concepite per ottenere le migliorari prestazioni dai prodotti Fresh 'n Rebel in piena sicurezza. Per garantire un funzionamento affidabile:
- Attenersi sempre scrupolosamente a tutte le istruzioni e le avventenze.
- Leggere attendamente le istruzioni riportate nel manuale utente prima di utilizzato il prodotto.
- Non après il disposativo: non contiene parti riparabili e la sua aperture invalida la garanzia.
- Non utilizzato il prodotto in condizioni di umidità o in ambienti umidi.
- Non utilizzato l'adattatore all'interno o nei pressi di una fonte di calore importante, di una griglia di riscaldamento o quello i raggi solari diretti a lungo. Il prodotto deve essere utilizzato a una temperatura compresa tra 5^ e 35^ .
- Non coprir il prodotto con carta né con altri materiali, per non ostacolare il raffreddamento del prodotto.
Garanzia e limitazioni
Il prodotto è garantito da difetti di materiale e di manodopera in normali condizioni di utilizzo per un periodo di 2 anni alla data d'acquisto. Nel corso di tale periodo, i prodotti difettosi sono essere portati in riparazione o in sostituzione nel negozio in cui sono stati acquistati. La garanzia non copre danni accidentali, usura e logorama, perdita occidentale o danni causati da un utilizzo non conforme alle istruzioni riportate nel manuale utente.
Specifiche del prodotto
- Capacità della batteria: 2600 mAh
- Ingresso: 5V / 1,5A (max.)
- Potenza di uscita: 5W
- USB Uscita: 5V / 1A
Dimensioni: 31× 95× 24mm - Peso del prodotto: 72 g
- Protezione incorpora multpla: protezione da sovracorrente, protezione da sovratensione, protezione da sovrattemperatura, protezione da sovrapotenza, protezione da cortocircuito
ManualeFacile