DLM90XL - Frullatore DELONGHI - Manuale utente e istruzioni gratuiti
Trova gratuitamente il manuale del dispositivo DLM90XL DELONGHI in formato PDF.
Scarica le istruzioni per il tuo Frullatore in formato PDF gratuitamente! Trova il tuo manuale DLM90XL - DELONGHI e riprendi in mano il tuo dispositivo elettronico. In questa pagina sono pubblicati tutti i documenti necessari per l'utilizzo del tuo dispositivo. DLM90XL del marchio DELONGHI.
MANUALE UTENTE DLM90XL DELONGHI
FORNO ELETTRICO MULTIFUNZIONE
Gentile Cliente,
La ringraziamo per la preferenza accordataci con l'acquisto di un nostro prodotto.
Le avverenze ed i consigli in seguito descriitti, sono a tutela della sicurezza Sua e degli altri, inoltre Le permefteranno di usufruire delle possibilità offerteLe dall'apparecchio.
Conservi con cura quello libretto, Le sera utile in futuro, qualora Lei, o chi altri per Lei, avesse dubbi relativi al suo funzionamento.
Questo appearecchio dovra essere destinato solo all'uso per il quale è stato espRESSamenteconceptito, cie per la cottura di alimenti. Ogni altri uso è da considerasi improprio e quindi pericoloso.
Il costruttore declina agli responsabilità nel caso di eventuali danni derivanti da un uso improprio, erroneo od irragionevole dell'apparecchio.
Dichiarazione di conformità CE
- Questo appearecchio è stato progettato per essere utilizzato solamente come appearecchio di cottura. Ogni altri uso (riscaldare locali) è da considerarsi improprio e segmentemente pericoloso.
-
Questo appearecchio è stato concepito, costruito ed immesso sul mercato in conformità ai:
-
Requisiti di sicurezza della Direttiva "Bassa Tensione" 2014/35/UE;
- Requisiti di protezione della Direttiva "Compatibilità elettromagnetica" 2014/30/UE;
- Requisiti della Direttiva 93/68/CEE;
- Requisiti della Direttiva 2011/65/UE.
AVVERTENZE E CONSIGLI IMPORTANTI PER LA SICUREZZA
IMPORTANTE: Questo appearecchio è stato progettato e costruito solo per la cottura di alimenti in ambito domestico e pertanto non deve essere utilizzato in un ambiente commerciale.
La garanzia è da intendersi annullata nel caso in cui l'apparecchio venga utilizzato in un ambiente comunale, semi-commerciale o commerciale.
Leggere attendamente le istruzioni prima di installare ed iniziare ad utilizzato l'apparecchio.
- Questo appearecchio è stato progettato e costruito in conformità con le normative applicabili per gli appearecchi da cottura domestici e rispetta tutti i requisiti di sicurezza previsti, comprese le temperature superficiali.
Alcune persone, con maggior sensibilità della pelle, potrebbero avere una percezione più marcata della temperatura in alcuni componenti cheuggava sono sempre entro i limiti consentiti dalle norme.
La completeness sicurezza di un prodotto dipendeanche dal corretto utilizzato, si raccomanda pertanto di prestare sempre molta attenzione durante l'uso del prodotto, in special modo in presenza di bambini.
- Dopo ave tolo l'imballaggio assicurarsi dell'integrità dell'apparecchio e che la porta forno si chiuda correttamente. In caso di dubbio non utilizzato e rivolgersi al fornitore oppure a personale professionalmente qualificato.
- Gli elementi dell'imballaggio (sacchetti in plastica, polistirolo espanso, chiodi, reggette, ecc.) non devono essere lasciati alla portata dei bambini in quanto potenziali fonti di pericolo.
-
Alcune apparecchiature sono fornite con film protettivi applicativi sulle superfici di alluminio e di acciaio inox. Tutti quosti film protettivi devono essere totti prima dell'utilizzo dell'apparecchiatura.
-
IMPORTANTE: L'uso di idonei indumenti/guanti protettivi è raccommando durante la movimentazione o pulizia dell'apparecchio.
- Non tentare di modificare le caratteristiche tecniche del prodotto in quanto l'apparecchio potò diventare pericoloso. Il costruttore declina agli responsabilità per eventuali danni/inconvenienti derivanti dal mancato rispetto di但这a condizione.
- Non far funzionare l'apparecchio tramite un programmatore esterno o per mezzo di sistemi di controllo remoto.
- Non effettuare alcuna operazione di pulizia o manutenzionezza ave preventivamente staccato l'apparecchio alla rete di alimentazione elettrica.
ATTENZIONE: Prima di sostituire la lampadina del forno assicurarsi che l'apparecchio sia disconnesso alla rete elettrica per evitare il rischio di scosse elettriche. - Non utilizzato pulitrici a getto di vapore perché dell'umidità potrebbe infiltrarsi nell'apparecchio e renderlo pericoloso.
Non toccare l'apparecchio con mani o piedi bagnati oppure umidi.
Non usare l'apparecchio a piedi nudi. - Qualora dovesse decidere di non utilizzato più quello apparecchio (o dovesse sostuire un vecchio modello), prima di gettarlo al macero si raccomanda di renderlo inoperante nel modo previsto delle normative vigenti in materia di tutela della salute e dell'inquinamento ambientale, rendendo inoltre innocue nelle parti suscettibili di costituire un pericolo, specialmente per i bambini che potrebbero servirsi dell'apparecchio fuori uso per i propri giochi.
- I vari componenti dell'apparecchio sono riciclabili; smaltirli in conformità con le norme vigenti nel proprio paese. Se l'apparecchio deve essere rottamato, rimuovere il cavo di alimentazione.
- Dopo aver utilizzato l'apparecchio, assicurarsi che le manopole siano in posizione di spento.
-
I bambini con meno di 8 anni di età devono essere tenuti lontani a meno che non siano continuamente sorvegliati.
-
Questo apparecchio può essere utilizzato da bambini con un'età minima di 8 anni, da persone con disponità fisiche, sensoriali o mentali ridotte o da persone inesperte solo se sono sorvegianza durante l'uso, oppure sepreventivamente istruite sull'utilizzo in sicurezza e solamente se informate dei pericoli (che devono aver ben compreso) legati al prodotto stesso. I bambini non devono gliore con l'apparecchio. La pulizia e la manutenzione dell'apparecchio non devono essere fatte da bambini sulla supervisione di un adulto.
-
Il costruttore declina agli responsabilità per eventuali danni a persone o cose derivanti da uso improprio, erroneo ed irragionevole dell'apparecchio.
ATTENZIONE: Durante l'uso l'apparecchio e le sue parti accessibili divertano calde e rimangono calde per un certo tempo dopo l'uso. -
Si deve prestare attenzione a non toccare gli elementi riscaldanti all'interno delorno.
- La porta forno diventa calda, usare la maniglia.
-
Al fine di evitare bruciature e scottature, i bambini devono essere tenuti lontani.
-
Assicurarsi che i cavi di alimentazione di altri prodotti in prossimità dell'apparecchio non vengano intrappolati nella porta del forno.
ATTENZIONE: Una volta installato correttamente, il vostroorno soddisfa tutti gli standard di sicurezza previsti per但这acategoria di prodotto. Tuttavia fare attenzione ad alcune partiddell'apparecchio (dietro e fatto), perché queste parti, non essendo progettate per essere toccate, potrebbero presentare dei bordi o delle superfici potenzialmente pericolosi che potrebbero causare delle ferite. -
AL PRIMO UTILIZZO DEL FORNO - si consiglia di effettuare le seguenti operazioni:
-
Allestire l'interno delorno come descripto nel capitolo "PULIZIA E MANUTENZIONE".
-
Accendere il forno vuoto alla massima temperatura per eliminare trasce di grasso ed odori dagli elementi riscaldanti e dai componenti.
-
Sconnettere l'apparecchio alla rete di alimentazione elettrica, lasciare raffreddare il forno e pulire poi l'interno della cavity forno con un panno imbevuto di acqua e detersivo neutro; asciugare poi perfettamente.
ATTENZIONE: Non utilizzato detersivi molto abrasivi o raschietti taglienti in metallo per pulire i vetri della porta delorno perché potrebbero graffiarne la superficie, e quello potrebbe provocare la frantumazione del vetro.
- Non rivestire in nessun caso le pareti delorno con fogli di alluminio. Non posizionare teglie o la leccarda sul fondo delorno.
- RISCHIO DI INCENDIO! Non depositare materiale inflammabile nel forno.
- Usare sempre quanti da forno per rimuovere griglie e leccarda (o vassoi di cottura) dal forno quando è caldo.
- Non appendere tovaglioli, panni o altri sull'apparecchio o sulla maniglia delorno perché potrebbero incendiarsi.
- Pulire regolarmente ilorno. Evitare che olio e grasso si accumulino nel fondo delorno e nella leccarda. Pulire subito le tracimazioni appena si verificano.
Non salire sulla porta del forno aperta.
- Aprire sempre la porta delorno rimanendo lontani, attendere la fuoriuscita di vapore e aria calda, poi estrre re o controllare i cibi in cottura.
- TRATTAMENTO SICURO DEL CIBO: Lasciare il cibo nel forno per un periodo di tempo il più breve possibile prima e dopo la cottura. Questo è per evitare la contaminazione da organismi che potrebbero provocare avvenamento da cibo. Fare particolarmente attenzione nella stagione calda.
- ATTENZIONE: Fare attenzione a NON sollevare l'apparecchio per la maniglia della porta forno.
- L'apparecchio non deve essere installato dietro ad una porta decorativa, per evitare un surriscaldamento.
- Gli accessori delorno (es. griglia) devono essere installati correttamente comeindicato a pag.25.
- Se il cavo di alimentazione è danneggiato deve essere sostituito da un technician del servizio di assistenza autorizzato, per evitare pericoli.
ETICHETTATURA ENERGETICA/PROGETTAZIONE ECOCOMPATIBILE
- Regolamento delegato (UE) No.65/2014 della commissione (che integra la direttiva 2010/30/UE del Parlamento europeo e del Consiglio).
- Regolamento (UE) No.66/2014 della commissione (recante misure di esecuzione della direttiva 2009/125/CE del Parlamento europeo e del Consiglio).
Riferimento ai metodi di misurazione e di calcolo utilizzati per stabilire la conformità alle specifiche di cui sopra:
- Norma EN 60350-1 (forni elettrici).
CONSIGLI PER UN RISPARMIO ENERGETICO DURANTE L'USO DELL'APPARECCHIO
FORNO
- Controllare che la porta forno si chiuda sempre in modo corretto e che la guarnizione sia pulita ed in ordine. Durante la cottura apriere la porta del forno solo quando strettamente necessario per evitare dispersioni di calore (per certe funzioni potrebbe essere necessario utilizzato il forno con la porta semiaperta, verificare le istruzioni per il funzionamento del forno).
- Specnere ilorno 5-10 minuti prima del tempo teorico di cottura per recuperare il calore immagazzinato.
- Si raccomanda di utilizzato tegami idonei per cotture al forno e di modificare all'occorrezza la temperatura del forno durante la cottura.
AVVERTENZE PER IL CORRETTO SMALTIMENTO DEL PRODOTTO AI SENSI DELLA DIRTTIVA EUROPEA 2012/19/UE.
Alla fine della sua vita utile il prodotto non deve esser smaltito insieme ai rifiuti urbani. Può essere consegnato presso gli appositi centri di raccolta differenziata predisposi dalle amministrazioni comunali, oppure presso i rivenditori che forniscono quello servizio. Smaltire separamente un elettrodomestico consente di evitare possibili consequences negative per l'ambiente e per la salute derivanti da un suo smaltimento inadeguato e permette di recuperare i materiali di cui è composto al fine di ottenere un importante risparnio di energia e di risorse. Per rimarcare l'obbligo di smaltire separatamente gli elettrodomestici, sul prodotto è riportato il marchio del contentatore di spazzatura mobile barrato.


CONSIGLI PER
L'INSTALLATORE
IMPORTANT
- Questo apparecchio è stato progettato solo per uso domestico.
L'apparecchio NON è idoneo per l'uso in ambienti comuni, semi-commerciali oppure commerciali.
La garanzia decade se il prodotto viene installato in uno di suddetti ambienti edanche Vostre eventuali polizze assicurative potrebbero decadere. - L'installazione e la manutenzione devono essere effettuate da un technique qualificato conformamente alle norme locali in vigore.
La mancata osservanza di esta norma provoca il decadere della garanzia. - Qualsiasi intervento deve essere effettuato con l'apparecchiatura disinserita elettricamente.
- Le pareti adiacenti al forno devono essere obbligatoriamente di materiale resistente al calore.
ATTENZIONE: Non sollevare ilorno per la maniglia. - Questo apparecchio deve essere riparato solo da un technician补水.
- Importante: Si consiglia l'utilizzo di quanti protettivi ed abbligamento idoneo quando si pulisce e si maneggiano le parti dall'apparecchio.
Non rimuovere mai le protezioni esterne del forno per interventi di riparazione o manutenzione; quello cui esso passano da personale qualificato.
ATTENZIONE.
Una volta installato correttamente, il vostro forno soddisfa tutti gli standard di sicurezza previsti per cette categoria di prodotto.
Tuttavia fare attenzione ad alcune parti dell'apparecchio (dietro e fatto), perché queste parti, non esendo progettate per essere toccate, potrebbero presentare dei bordi o delle superfici potenzialmente pericolosi che potrebbero causare delle ferite.
IMPORTANT
Ilorno può essere montato su mobili normalizzati con larghezza di 90 cm e profondità di 60 cm.
Per l'installatione e necessario create un vano come illustrato nelle figure 1.1a e 1.1b. La base del forno deve essere fatt appoggiare su dei supporti resistenti al peso.
Il mobile di incasso non deve essere lasciato indipendente ma deve essere fissato al muro oppure ai mobili adiacenti.
ATTENZIONE
Gli adesivi oppure i collanti utilizzati per i rivestimenti dei mobili devono resistere a temperature non inferiori a 150^ per evitare scollamenti.
- Le pareti dei mobili devono resistere ad una temperature di 75^ 或者其他 la temperature ambiente.
Non chiudere ermeticamente il forn o nel mobile di incasso con silicone o colla;\
questo rende dificile la manutenzione futura. Il produttore non copre iosti di\
rimozione del forn, o di danni causati da esta rimozione.
- Le pareti adiacenti al forno devono essere obbligatoriamente di materiale resistente al calore.
ATTENZIONE: Non sollevare ilorno per la maniglia.

Fig. 1.1a

Fig. 1.1b
ATTENZIONE, MOLTO IMPORTANTE:
Il forno è fornito con no.6 distanziali in gomma fissati sul basamento dello stesso.
NON installare ilorno sansa quosti distanziali correttamente in posizione.
Se dovessero mancare uno o più distanziiali in gomma,utilizzare quelli contentuti nel kit fornito separatamente con l'apparecchio e fissarli sul basamento delorno come indicato nella figura 1.2a della pagina successiva.
In caso di necessità si prega di contattare il Centro Assistenza Tecnica.

Fissare i distanziali in gomma sul basamento delorno (se mancanti) utilizzando quelli contentuti nel kit fornito separamente con l'apparecchio.
Fig. 1.2a
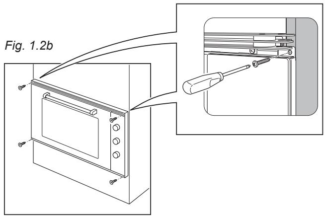
FISSAGGIO DEL FORNO
Inserire il forno nell'apertura del mobile e fissarlo con 4 viti (non fornite) come illustrato in figura 1.2b. è essenziale che il forno appoggi su una superficie che ne supporti il peso; le viti servono sostanto per bloccarlo al mobile.
Registrar le cerniere delle antine dei mobili adiacenti al forno in modo da lasciare uno spazio di 4-5 mm tra il forno e le antine.

IMPORTANTE: L'apparecchio devesse installato da un technicianqualificato secondo le normative vigenti e secondo le istruzioni del costruttore. Una errata installatione cui cause danni a persone, animali o cose, nei confronti dei quali il costruttore non cui esse considerato responsabile.
GENERALITA
Il collegamento alla rete elettrica deve essere eseguito da personale qualificato e secondo le norme vigenti.
L'apparecchio deve essere collegato alla rete elettrica verificando innanzitutto che la tensione corrisponda al valore indicate nella targhetta caratteristiche e che la sezione dei cavi dell'impianto elettrico possa sostortare il carico individato anch'esso nella targhetta.
Il forno viene fornito perché spina di alimentazione; pertanto, se non si effettua un collegamento diretto alla rete, si dovrà montare una spina normalizzata idonea al carico.
La spina deve essere allacciata ad una presa collegata all'impianto di terra in conformità alle norme di sicurezza.
Effettuare il collegamento diretto alla rete interponendo tra l'apparecchio e la rete elettrica un erruttre onnipolare con aperture minima fra i contatti di 3 mm.
Il cavo di alimentazione non devete toccare parti calde e devese essere posizionato in modo da non superare in nessun punto la temperature di 75^
- A forn o installato, l'interruttre o la presa devono essere sempre accesibili.
Se il cavo di alimentazione è danneggiato delve essere sostituito da un cavo idoneo disponibile pressi i Servizi Assistenza.
Prima di effettuare un qualsiasi intervento sulla parte elettrica dell'apparecchio, si deve assolutamente scollegare il collegamento alla rete.
NOTA: Per il collegamento alla rete non usare adattatori, riduzioni o derivatori in quanto possono provocare surriscaldamenti o bruciature.
Nel caso che l'installazione dovesse richiedere delle modifiche all'impianto elettrico domestico, far intervenire personale professionlmente qualificato. Quest'ultimo, in particolare, dovr'anche accertare che la sezione dei cavi dell'impianto elettrico sia idonea alla potenza assorbita dall'apparecchio.
É obligatorio il collegamento dell'apparecchio all'impianto di terra. La casa costrutrice declina agli responsabilità per qualsiasi inconvenientmente derivante alla mancata osservanza di但这a norma.
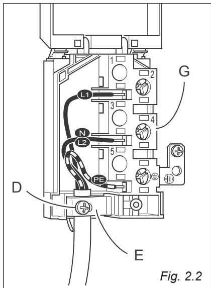
ALLACCIAMENTO DI UN NUOV CAVO DI ALIMENTAZIONE
ATTENTIONe: Se il cavo di alimentazione è danneggiato deve essere sostituito dal Servizio Assistenza per evitare pericoli.
- Sganciare il coperchio della morsettiera inserendo un cacciavite nei due agganci "A" (fig. 2.1).
- Svitare la vite "D" e après completeness il fermacavo "E" (fig. 2.2).
- Connettere i cavi di fase, neutro e di terra alla morsettiera "G" secondo lo schema di fig. 2.3.
Tendere il cavo di alimentazione e bloccarlo con il fissacavo E (avvitando la vite D ). - Chiudere il coperchio della morsettiera (verificare che i due agganci "A" siano correttamente agganciati.
IMPORTANT: Per allacciare il cavo di alimentazione NON svitare le viti che fissano la piastra della morsettiera.
Nota: Il conduttore di terra deve essere lasciato circa 3 cm più lungo degli altri.
SEZIONE DEL CAVO DI ALIMENTAZIONE "TIPO H05RR-F"
220-240 V ac
3× 1,5mm^2 (^*)
(*) Allacciamento con spina oppure diretto alla rete.



220-240 V ac
Fig. 2.3
CONSIGLI PER
L'UTILIZZATORE

Fig. 1.1
DESCRIZIONE COMANDI
- Manopola commande selettore funzioni
- Manopola commande termostato
- Manopola temporizzatore 120'
- Spia di linea
- Spia temperatura forno
NOTA:
I disegni delle manopole riportati in quello capitolo sono soloindicativi.
Note: L'apparecchio è dotato di una ventola di raffreddamento per garantire che le temperature superficiali del forno siano mantenute basse.
Quando il fornò è in funzione la ventola di raffreddamento più accendersi e spegnersi a seconda della temperatura.
A seconda dei tempi di cottura e delle temperature, la ventola di raffreddamento può funzionare ancche dopo che l'apparecchio è stato spento. La durata di quello tempo dipende alla temperatura di cottura e alla sua durata.
Attenzione: La porta del forno diventa molto calda durante il funzionamento. Tenere lontano i bambini.
CARATTERISTICHE GENERALI
Come indica la definizione, si tratta di un fornò che presenta delle particolari caratteristiche dal punto di vista funzionale.
È infatti possibile scegliere tra 8 diversi tipi di riscaldamento che permettono di soddisfare agli esigenza di cottura.
Il forno è dotato di:
- Resistenza inferiore;
- Resistenza superiore;
- Resistenza grill;
- Resistenza circolare.
NOTA: Al primo utilizzato, al fine di eliminare eventuali tracce di grasso dalle resistenze elettriche, accendere ilorno vuoto (come descritto più avanti) e farlo funzionare:
per circa 60 minuti nella funzione (termostato in posizione 250^ );
per circa 15 minuti nella funzione (termostato in posizione 225^ );
per circa 15 minuti nella funzione (termostato in posizione 225^
Il riscaldamento e la cottura nel forn o multifunzione sono ottenuiti nei seguenti modi:
a. per convezione naturale
Il calore è prodotto dagli elementi riscaldanti superiore ed inferiore.
b. per convenzione forzata
Un ventilatore aspira l'aria contentata nell'interno del forno, la fa passareattraverso le spirali di una resistenzaelettrica circolare e la reimmette nel forno. L'aria calda prima di essere di nuovo aspirata dal ventilatore per ripetere il ciclo descrittato, avvolge i cibi posti nel forno provocandone una cottura rapida e completinga in tutti i puncti. E possibile cuocere diversi piatti contemporaneamente.
c. per convezione semi-forzata
Il calore prodotto dagli elementi riscaldanti inferiore e superiore viene distribuito nelorno dal ventilatore.
d. per irraggiamo
Il calore viene irraggiato alla resistenza grill a raggi infrarossi.
e. per irraggiamo e ventilazione
Il calore irraggiato alla resistenza grill a raggi infrarossi viene distribuito nelorno dal ventilatore.
f. per ventilazione
Il cibo viene scongelato utilizzando il ventilatore sulla riscaldamento.
ATTENZIONE:
La porta delorno diventa molto calda,aprirlautilizzando la maniglia.
Durante I'uso I'apparecchio diventa molto caldo.
Si dovrebbe fare attenzione a non toccare gli elementi riscaldanti all'interno del forno.
Non rivestire in nessun caso le pareti del forno con fogli di alluminio. Non posizionare teglie o la leccarda sul fondo del forno.


MANOPOLA DEL TERMOSTATO (fig. 2.1)
Per attivare le resistenze del forno, impostare la manopola del selettore funzioni sulla posizione desiderata e la manopola del termostato sulla temperatura desiderata.
Per selezionare la temperatura è necessario fare corrispondere l'indice della manopola con il numero scelto.
Le resistenze si accenderanno o si spegneranno automaticamente secondo il bisogno di energia determinato dal termostato.
Il funzionamento degli elementi riscaldanti viene segnalata da una luce posta sopra la manopola.
MANOPOLA DEL SELETTORE FUNZIONI (fig. 2.2)
Ruotare la manopola in senso orario per impostare ilorno per una delle seguenti funzioni:

ILLUMINAZIONE DEL FORNO
Ruotando la manopola su esta posizione si accende soltanto la lampada delorno. In tutte le funzioni di cottura la lampada rimane sempre accesa.

SCONGELAMENTO DI CIBI SURGELATI
Si accende soltanto il ventilatore delorno.
Da usare con la manopola del termostato in posizione "●"anche perché altre posizioni non avrebbero nessun effetto.
Lo scongelamento avviene per semplice ventilazioneenza riscaldamento.
Consigliata per:
Scongelamento rapido di cibi surgelati; un kg richiede circa un'ora.
I tempi dell'operazione variano in funzione della quantità e del genere degli alimenti da scongelare.

COTTURA TRADIZIONALE A CONVEZIONE
Si accendono: gli elementi riscaldanti inferiore e superiore. Il calore si difonde per convezione naturale e la temperatura cui quod estere regolata con la manopola del termostato tra 50 e 250^
É necessario preriscaldare ilorno prima di insertire il cibo da cuocere.
Consigliata per:
cibi che richiedono lo stesso grado di cottura interno ed esterno; per esempio: arrosti, costine di maiale, meringhe, ecc.

COTTURA A CONVEZIONE CON VENTILAZIONE
Si accendono gli elementi riscaldanti superiore e inferiore ed il ventilatore.
Il calore proveniente dall'alto e dal basso viene diffuso per convenzione con ventilazione.
La temperatura può essere regolata con la manopola del termostato tra 50^ e la posizione massima.
Consigliata per:
Cibi di notevole volume e quantità che richiedono lo stesso grado di cottura interno ed esterno; per esempio: arrosti arrotolati, tacchino, cosciotti, morte, ecc.
ECO FUNZIONE ECO (RISPARMIO ENERGETICO)
Si accendono gli elementi riscaldanti superiore, inferiore ed il ventilatore. Il calore proveniente dall'alto e dal basso viene diffuso per convezione con ventilazione.
Con esta funzione si riducono i consumi elettrici dell'apparecchio, ed è particolaremente indica per la cottura delicata di modeste quantità di cibo su singolo ripiano.
Non preriscaldare il forno ed evitare l'apertura della porta durante la cottura.
I tempi di cottura potrebbero essere più lunghi rispetto alle funzioni standard.
Non usare esta funzione per preriscaldare ilorno.
Consigliata per:
cibi che devono essere cotti delicatamente. Per mantenere caldi i cibi dopo qualsiasi cottura. Per il riscaldamento lento di cibi più cotti.

COTTURA AL GRILL
Si accende la resistenza elettrica a raggi infrarossi. Il calore si diffonde per irraggiamento. Il forno va utilizzato con la porta chiusa e la temperature più essere regolata tra 50 e 225^ massimo con la manopola del termostato.
Per un corretto uso videere il capitolo "USO DEL GRILL".
Griqiare con la porta del forno chiusa.
Consigliata per:
azione grigliante intensa per cottura al grill; rosolatura, doratura, gratinatura, tostatura, ecc.

COTTURA AL GRILL VENTILATO
Si accendono il grill a raggi infrarossi ed il ventilatore. Il calore si difonde principamente per irraggiamento ed il ventilatore lo distribuisce poi su tutto ilorno.
Il forno va utilizzato con la porta chiusa e la temperatura più essere regolata tra 50 e 200^ massimo con la manopola del termostato. è necessario preriscaldare il forno per circa 5 minuti. Per un uso corretto vedere il capitolo “GRIGLIATURA E GRATINATURA”
Utilizzare il grill ventilato per massimo 30 minuti.
Attenzione: Quando il grill ventilato è in funzione le parti accessibili sono divertare calde. Tenere i bambini a distanza.
CONSIGLI DI COTTURA
STERILIZZAZIONE
La sterilizzazione dei cibi da conservare in vasi si effettua, a recipientti pieni e chiusi ermeticamente, nel seguente modo:
a. Portare il commutatore nelle posizione
b. Portare la manopola del termostato nella posizione 185^ e preriscaldare il fornso
c. Riempire la leccarda di acqua calda
d. Disporre i vasi nella leccarda facendo attenzione che non entrino in contatto tra loro, e dopo aver bagnato con acqua i coperchi, chiudere ilorno e portare la manopola del termostato nella posizione 135^ .
A sterilizzazione iniziata,cisiono when si incominciano ad intravvedere delle bollicine nei vasi, spagnere ilorno e lasciare raffreddare.
COTTURA CONTEMPORANEA DI CIBI DIVERSI
Il forno MULTIFUNZIONE alla posizione del selettore funzioni permette di cuocere contemporaneamente diversi cibi eterogenei. Si sono vuocere contemporaneamente cibi come del pesce, una torta e della carne senza che gli aromi e i sapori si mescolino.
Le uniche precauzioni da prendere sono le seguenti:
- Le temperature di cottura devono essere le più vicine possibili, con una differenza massima di 20^ - 25^ C tra i diversi cibi.
L'introduzione dei diversi piatti nel forn o dovr èssere fatta in momenti diversi in funzione del tempo di cottura di ogn'uno. Risulta evidente, con quello tipo di cottura, il risparnio di tempo e di energia che si ottengono.
RIGENERAZIONE
Portare il commutatore nella posizione ed il termostato nella posizione 150^
Il pane ritornerà fragrante se inumidito con quale goccia d'acqua eMESSO nel forno per circa 10 minuti alla massima temperatura.
ARROSTO
Per ottener un arrosto classico cotto a puntino in tutte le sue parti, è necessario ricordare:
che é consigliabilemantenereuna temperaturatra 180^200^
- che il tempo di cottura dipende alla quantità e alla qualità dei cibi.
USO DEL GRILL
Accendere il grill, come spiegato nei paragrafi precedenti e lasciare preriscaldare per circa 5 minuti con la porta chiusa.
Introduire i cibi da cuocere posizionando la griglia il più vicino possibile al grill.
Per la raccolta dei sughi di cottura inserire la leccarda sotto alla griglia.
Grigliare con la porta del forno chiusa.
Utilizzare il grill per massimo 30 minuti.
Attenzione: Quando il grill è in funzione le parti accessibili sono divertare calde. Tenere i bambini a distance.
GRIGLIATURA E GRATINATURA
Alla posizione del selettore funzioni, la grigliatura cui èsso effettuata alla il girarrosto perché l'aria calda avvolge completeness il cibo da cuocere.
Portare il termostato nella posizione tra 50^ e 200^ massimo e dopo ave preriscaldato il forno, appoggiare semplicamente il cibo sulla griglia.
Chiudere la porta e lasciare funzionare il forno fino a grigliatura avvenuta.
Aggiungendo quale ricciolo di burro prima della fine della cottura si ottiene l'effetto dorato della gratinatura.
Utilizzare con la porta forno chiusa e per massimo 30 minuti.
Attenzione: Quando il grill è in funzione le parti accessibili sono divertare calde. Tenere i bambini a distanza.
COTTURA AL FORNO
Per la cottura, prima d'insere i cibi, preriscaldare il forno alla temperatura desiderata.
Quando il fornho ha raggiunto la temperatura, introdurre i cibi, poi controllare il tempo di cottura, e spegnere il fornso 5 minuti prima del tempo teorico per recuperare il calore immagazzinato.
ESEMPI DI COTTURA
Le temperature sono solo indicative, perché variano in funzione della qualità e del volume dei cibi.
Si raccomanda di utilizzato tegami idonei per cotture al forno e di modificare all'occorenza la temperatura del forno durante la cottura.
| PIETANZE | Temperatura |
| Lasagne alorno | 220°C |
| Pasta alorno | 220°C |
| Pizza con acciuğhe | 225°C |
| Riso alla creola | 225°C |
| Patate al latte | 200°C |
| Pomodori farciti | 225°C |
| Soufflé di formaggio | 200°C |
| Soufflé di patate | 200°C |
| Arrostodi. vitello | 200°C |
| Nodini di vitello alla griglia | 225°C |
| Petti di pollo al pomodoro | 200°C |
| Pollo alla griglia - pollo arrosto | 220°C |
| Polpettine di manzo | 200°C |
| Polpettone di vitello | 200°C |
| Spiedini alla turca | 225°C |
| Roast-beef | 220°C |
| Filetti di sogliola | 200°C |
| Nasello aromatico | 200°C |
| Ciambella | 180°C |
| Crostata di prugne | 200°C |
| Crostatine alla confettura | 225°C |
| Pan di spagna | 225°C |
| Sfogliatine dolci | 200°C |
| Torta margherita | 220°C |
Gli accessori del forno possono supportare carichi fino a 6kg
Si raccomanda di distribuire i carichi in modo uniforme.
CONTAMINUTI A SPEGNIMENTO AUTOMATICO (fig. 3.1)
La sua funzione è quella di fare funzionare ilorno per una durata prestabilita.
1. Messa in funzione.
Dopo ave regolato commutatore e termostato del forno sulla funzione e temperatura prescelta, ruotare la manopola del contaminuti a spegnimento automatico in senso orario fino al tempo di cottura desiderato (max 120 minuti).
Trascorso il tempo impostato, il contaminuti a spegnimento automatico sare rittornato nella posizione "0" ed il forno si spegnerà automaticamente.
2. Posizione manuale.
Se il tempo di cottura è più lungo delle due ore programmabili, oppure se si desidera usare manually il forno spagnendolo quando si vuole, bisogna ruotare la manopola nella posizione.

ATTENZIONE - MOLTO IMPORTANTE:
Questo è solo un avvisatore acustico che NON spegne il forno oppure il grill al termine del tempo impostato.
RICORDARSI DI SPEGNERE IL FORNO O IL GRILL MANUALTE.
CONSIGLI PER L'UTILIZZATORE
- Prima di procedere alla pulizia disinserire la cucina alla rete eletrica ed attendere che si sua raffreddata.
- Important: Si consiglia l'utilizzo di quanti protettivi ed abbigliamento idoneo quando si pulisce e si maneggiano le partidall'apparecchio.
- Qualsiasi copertura esterna dell'apparecchio può essere rimossa, per operazioni di manutenzione o riparazione, solo da un technician qualificato.
- É consigliabile effettuare le operazioni di pulizia quando l'apparecchiatura è raffreddata, specialmente per le parti smaltate.
- Fate molta attenzione che l'acqua non penetri all'interno dell'apparecchio.
Evitare di lasciare sulle superfici sostenze acide o alcaline (aceto, sale, succo di limone ecc). - Evitare l'uso di prodotti per la pulizia a base di cloro o acidi.
- Pulire le superfici con un panno umido ed utilizzato detergenti neutri non aggressivi. Terminare la pulizia passando un panno asciutto e pulito.
IMPORTANT: evitare assolutamente l'uso di prodotti abrasivi (es. certi tipi di spugne) e/o aggressivi (es. soda caustica, detersivi contenti sostenze corrosive) che potrebbero danneggiare in modo irreversibile le superfici.
ATTENZIONE. Una volta installato correttamente, il vosto prodotto soddisfa tutti gli standard di sicurezza previsti per questa categoria di prodotto.
Tuttavia fare attenzione ad alcune parti dell'apparecchio (dietro e除去), perché queste parte, non essendo progettate per essere toccate, potrebbero presentare dei bordi o delle superfici potenzialmente pericolosi che potrebbero causare delle ferite.
FRONTALE COMANDI IN VETRO
Pulire con un prodotto idoneo. Asciugare sempre accuramente.
Non utilizzato detersivi molto abrasivi o raschietti taglienti in metallo per pulire il vetro del frontale comandi perché potrebbero graffiarne la superficie, e quello potrebbe provocare la frantumazione del vetro.
PARTI SMALTATE
Tutte le parti smaltate, devono essere lavate con acqua saponata o altri prodotti che non siano abrasivi.
Asciugare preferibilmente con un panno morbido ed asciutto.
Sostenze acide quali succo di limone, consorta di pomodoro, aceto e simili, se lasciati a lungo intaccano lo smalto rendendolo opaco.
SUPERFICI IN ACCIAIO INOX, PARTI IN ALLUMINIO, VERNICIATE O SUPERFICI SERIGRAFATE
Pulire con prodotto idoneo. Asciugare sempre accuramente.
IMPORTANTE: La pulizia di queste parti deve essere eseguita con molta cura per evitare graffi ed abrasioni. Si consiglia di utilizzare un panno morbido e sapone neutro, mai prodotti contenti sostanze abrasive.
Importante: La ditta costruttrice declina agli responsabilità per eventuali danni causati da prodotti non idonei utilizzati per la pulizia dell'apparecchio.
Attenzione!
L'apparecchio diventa molto caldo, soprattutto attorno alle zone di cottura. E'molo importante non permettere ai bambini di stare vicino al forno quando è acceso.
Non depositare oggetti infiammabili nel forno.
Non utilizzato pulitrici a getto di vapore perché dell'umidità potrebbe infiltrarsi nell'apparecchio e renderlo pericoloso.
Non utilizzato detersivi molto abrasivi o raschietti taglienti in metallo per pulire il vetro della porta del forno perché potrebbero graffiarne la superficie, e quello potrebbe provocare la frantumazione del vetro.
INTERNO FORNO
Il forno va sempre pulito dopo l'utilizzo, quando si è raffreddato.
La cavity deve essere pulita usingo un detergente delicato e acqua calda.
Prodotti chimici specifici per la pulizia dell'interno delorno possono essere usati soltanto dopo ave fatto attendamente le avventenze e le raccomandazioni del produttore e dopo ave effettuato una prova su una piccola superficie della cavity delorno.
Nonutilizzardetersiviabrasivi,pagliette o spugne abrasive.
NOTA: La ditta costrutrice declina agli responsabilità per eventuali danni causati da prodotti chimici o abrasivi utilizzati per la pulizia.
Attendere il raffreddamento del forno e prestare particolare attenzione a non toccare gli elementi riscaldanti all'interno del forno.
MONTAGGIO E SMONTAGGIO DEI TELAI LATERALI
Montare i telai laterali fissandoli alle pareti del forno con 2 viti (fig. 4.1a).
Infilare in mezzo alle guide dei telai laterali la leccarda e la griglia come in (fig. 4.1b).
La griglia va montata in modo che l'arresto di sicurezza, che ne evita l'estrazione occidentale, sia rivolto verso l'interno del forno; il traverso posteriore deve essere rivolto verso l'interno della cavity.
La leccarda va montata in modo che l'arresto di sicurezza, che ne evita l'estrazione occidentale, sua rivolto verso l'interno delorno.
Lo smontaggio si effettua operando all'inverso.

Fig. 4.1b

Fig. 4.1a
SOSTITUZIONE DELLA LAMPADA DEL FORNO (MODELLI CON LAMPADA ALOGENA)
ATTENZIONE: Prima di effettuare un qualsiasi intervento sulla parte elettrica dell'apparecchio, si deve assolutamente scollegare l'allaccimento a rete.
- Lasciare raffreddare la cavity del forno e gli elementi riscaldanti.
Togliere l'alimentazione elettrica. - Svitare la calotta protettiva "A" (fig. 4.2).
Sostituire la lampada alogena "B" con un'altra di tipo resistente alle alto temperature (300^) e con le seguenti caratteristiche: 220-240 V, 50 / 60Hz e con la stessa potenza della lampada da sostituire (leggere la potenza in watt stampigliata sulla stessa).
NOTA IMPORTANTE: non sostituire la lampadina a mani nude; una contaminazione potrebbe ridurne la durata. Usare sempre un panno pulito o indossare guanti.
Rimontare la calotta di protezione "A".
NOTA: La sostituzione della lampada non è coperta alla garanzia.


Fig. 4.2
FILTRO ANTI-GRASSO (soltanto su alcuni modelli)
- Uno specialie filtrò è previsto nella parte posteriore delorno per catturare particelle di grasso che si sviluppano soprattutto quando si arrostisce della carne (fig. 4.3).
Ilhetto va agganciato alla parete posteriore delorno come illustrato in figura 4.3.
Pulire ilhettoongoingottura!
Ilchioveessere rimso per la pulizia e pue essere lavato regolarmente con acqua caldaesapone.
- Asciugare perfettamente ilhetto prima di rimontarlo nelorno.
ATTENZIONE: Questo filtering delve essere molto quando si cuociono dolci, torte, ecc.

Fig. 4.3
SLITTE SCORREVOLI TELESCOPICHE (soltanto su alcuni modelli)
Le slitte scorrevoli rendono sicuro e facile l'insertimento e l'estrazione delle griglie delorno. Si bloccano quando sono estratte alla massima posizione.
Importante! Le slitte scorrevoli vanno agganciate ai telai laterali del forno facendo attenzione a:
- Agganciare le slitte ai rebbi superiori dei telai laterali. Non possono essere agganciate ai rebbi inferiori.
Le slitte devono scorrere verso la porta delorno. - Ogni coppia di slitte va montata su ambedue i lati delorno; una slitta sul telaio destro e l'altra sul telaio sinistro.
Da ambo i lati le slitte devono essere sullo stesso livello.
Per agganciare le slitte scorrevoli ai telai laterali:
- Avvitare i telai laterali alle pareti delorno (fig. 4.1a).
- Posizione correttamente le slitte scorrevoli sul rebbo superiore dei telai laterali e premere (fig. 4.3a); si avvertirà lo scatto di aggancio delle clips al rebbo.
NOTA IMPORTANTE: Nella cottura al girarrosto non porre il vassoio con girarrosto sulle slitte scorrevoli telescopiche.
Per smontare le slitte scorrevoli:
- Smontare i telai laterali svitando le viti che li fissano (fig. 4.1a).
Girare i telai laterali in modo che le slitte siano rivolte verso il basso. - Individuare le clips di aggancio delle slitte scorrevoli; sono nelle alette che sono agganciate ai rebbi dei telai laterali (freccia "1" di fig. 4.4b).
- Tirare le clips per sganciare il rebbo dei telai laterali (freccia "2" di fig. 4.4b).
Pulizia delle slitte scorrevoli:
Pulire le slitte scorrevoli telescopiche con un panno umido pulito e un liquido detergente neutro.
Non lavarle nella lavastoviglie, immergerle in acqua saponosa o usare detergenti per forn.


SMONTAGGIO E RIMONTAGGIO DEL VETRO INTERNO DELLA PORTA DEL FORNO PER LA PULIZIA
Per pulire i vetri della porta del forno da ambo i lati è necessario smontare la porta del forno e smontare il vetro interno seguendo scrupolosamente le istruzioni.
Un rimontaggio errato del vetro e della porta possocono danneggiare l'apparecchio ed annullare la garanzia.
IMPORTANT!
- Attenzione, la porta del forno è pesante. Se avete quello dubbio nel sostener il peso, non tentate di smontare la porta.
Assucurarsi che il forno e i loro componenti siano freddi. Non tentare di manipolare parti del forno quando sono ancor calde. - Prestare particolare attenzione durante la manipolazione del vetro. Non urtare con gli angoli del vetro contro superfici o oggetti.
Non utilizzato detersivi molto abrasivi o raschietti taglienti in metallo per pulire i vetri della porta del forno perché potrebbero graffiarne la superficie, e quello potrebbe provocare la frantumazione del vetro.
Se si notatione quali che rigatura o incrinatura nei vetri della porta, non utilizzare il forno e chiamare il Centro Assistenza. - Accertarsi di rimontare correttamente il vetro della porta del forno. Non utilizzato il forno se il vetro non è montato correttamente.
Se si incontrano dificoltà nel rimontare il vetro, non forzarlo ma chiamare il Servizio Assistenza.
Note: I servizi di assistenza per l'uso o la manutenzione dell'apparecchio non sono coperti alla garanzia




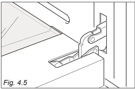
SMONTAGGIO DELLA PORTA DEL FORNO
La porta del forno più essere fácilmente smontata operando come segue:
- Aprire completeness la porta del forno (fig. 4.5).
- Aprire completeness la leva "A" delle cerniere destra e sinistra (fig. 4.6).
- Impugnare la porta come illustrato in fig. 4.7.
- Socchiudere dolcamente la porta (fig. 4.8) sino a quando le leve "A" delle cerniere destra e sinistra si agganciano alla parte "B" della porta (fig. 4.6).
- Estrarre i ganci delle cerniere (destra e sinistra) dal loro alloggiamento (freccia "C" - fig. 4.9).
Appoggiare la porta su una superficie morbida.
Important!
Mantenere sempre una distance di sicurezza delle leve delle cerniere, fare particolare attenzione a dove mettete le
mani. Se le leve non sono correttamente a g g n c i a t e, queste potrebbero sganciarsi chiudersi inaspettamente con il rischio di lesionsi.


SMONTAGGIO DEL VETRO INTERNO
La porta del forno ha due vetri:
1vetro esterno;
1 vetro interno smontabile;
Per pulire i vetri della porta del forno da ambo i lati operare come segue:
- Smontare la porta delorno e appoggiarla su una superficie morbida.
IMPORTANT: La porta delorno devese assere appoggiata in posizione orizzontale come illustrato in fig. 4.10.
- Premere sulle due alette per sganciare il profilo inferiore.
- Togliere il supporto inferiore.

Fig. 4.10
SMONTAGGIO DEL VETRO INTERNO
Sollevare leggermente e togliere il vetro interno operando come indicato in figura 4.11.

RIMONTAGGIO DEL VETRO INTERNO DOPO LA PULIZIA
Nel rimontare il vetro interno fare attenzione a:
Rimontare correttamente il vetro che delve essere inserto nella porta come illustrato nella figura qui除去 per garantire un correto e sicuro funzionamento dell'apparecchio.
- Fare moltoattenzione a non urtare con gli spigoli del vetro contro oggetti o superfici;\
quello potrebbe causare la rottura del vetro.
Non forzare il vetro nel rimetterlo nella propria sede. Se l'operazione risulta dificile, toglierlo e ripetere l'operazione. Se ci sono difficoltà chiamare il Servizio Assistenza.
Assicurarsi di montare il vetro nel verso corretto. Guardandolo si devono leggere le parole stampigliate.
- Verificare che la guarnizione "A" sia in posizione (fig. 4.12), altrimenti posizionarla correttamente sul bordo del vetro interno in posizione centrale.
1. Inserire il vetro interno nel livello superiore degli incavi (freccia 1 di figura 4.12).
2. Posizione are il vetro abbassandolo dolcimento (freccia 2 di figura 4.12).

Fig. 4.12
RIMONTAGGIO DEL PROFILO INFERiore DELLA PORTA
- Posizione are il profilo inferiore come indicate in figura 4.13. Deve appoggiarsi sul bordo inferiore del vetro esterno.
Verificare che le alette "M" non siano piegate o danneggiate. - Premere leggermente il profilo inferiore verso la porta per agganciarlo in posizione.
Si dovrà udire il click di aggancio delle alette "M".
Important!
Accertarsi che il profilo inferiore della porta del forno sia correttamente e saldamente posizionato e che il vetro interno sia bloccato.

Fig. 4.13
RIMONTAGGIO DELLA PORTA DEL FORNO
- Afferrare saldamente la porta (fig. 4.14).
- Inserire i ganci delle cerniere (destra e sinistra) nel loro alloggiamento; assicurarsi che l'incavo entri nell'apposto alloggiamento (fig. 4.15).
- Apire completamente la porta delorno.
- Chiudere le leve "A" delle cerniere destra e sinistra (fig. 4.16).
- Chiudere dolcamente la porta del forno e verificare che si apra e chiuda perfettamente.



La Casa Costruttrice non risponde delle possibili inesattezza, imputabili ad erroni di stampa o trascizione, continue nel presente libretto.
Si riserva il diritto,enza pregiudicare le caratteristiche essenziali di funzionalità e sicurezza,di apportare ai propri prodotti, in qualunque momento e ricerca preavviso,le eventuali modifiche opportune per qualsiasie esigenza di carattere costruttivo o commerciale.
www.delonghi-cookers.it
ManualeFacile