PEMX64 - Microonde DELONGHI - Manuale utente e istruzioni gratuiti
Trova gratuitamente il manuale del dispositivo PEMX64 DELONGHI in formato PDF.
Domande degli utenti su PEMX64 DELONGHI
0 domanda su questo apparecchio. Rispondi a quelle che conosci o fai la tua.
Fai una nuova domanda su questo apparecchio
Scarica le istruzioni per il tuo Microonde in formato PDF gratuitamente! Trova il tuo manuale PEMX64 - DELONGHI e riprendi in mano il tuo dispositivo elettronico. In questa pagina sono pubblicati tutti i documenti necessari per l'utilizzo del tuo dispositivo. PEMX64 del marchio DELONGHI.
MANUALE UTENTE PEMX64 DELONGHI
La ringraziamo per la preferenza accordataci con l'acquisto di un nostro prodotto.
Le avventenze ed i consigli in seguito descritti, sono a tutela della sicurezza Sua e degli altri, inoltre Le permetteranno di usfuquire delle possibilità offerteLe dall'apprecchio.
Conservi con cura quello libretto, Le sare è utile in futuro, qualora Lei, o chi altri per Lei, avesse dubbi relativì al suo funzionamento.
Questo appearecchio dovrà essere destinato solo all'uso per il quale è stato espRESSamente concepito,cisione per la cottura di alimenti. Ogni altri uso è da considerarsi impropriro e quando pericoloso.
Il costruttore declina agli responsabilità nel caso di eventuali danni derivanti da un uso improprio, erroneo od irragionevole dell'apparecchio.
Dichiarazione di conformità CE
- Questo appearecchio è stato progettato per essere utilizzato solamente come appearecchio di cottura. Ogni altri uso (riscaldare locali) è da considerarsi improprio e conseguentemente pericoloso.
-
Questo apparecchio è stato concepito, costruito ed immesso sul mercato in conformità ai:
-
Requisiti di sicurezza del Regolamento "Gas" (UE) 2016/426;
- Requisiti di sicurezza della Direttiva "Bassa Tensione" 2014/35/UE;
- Requisiti di protezione della Direttiva "Compatibilità elettromagnetica" 2014/30/UE;
- Requisiti della Direttiva 93/68/CEE;
- Requisiti della Direttiva 2011/65/UE.
AVVERTENZE E CONSIGLI IMPORTANTI PER LA SICUREZZA
IMPORTANTE: Questo appearecchio è stato progettato e costruito solo per la cottura di alimenti in ambito domestico e pertanto non deve essere utilizzato in un ambiente commerciale.
La garanzia è da intendersi annullata nel caso in cui l'apparecchio venga utilizzato in un ambiente comunale, semi-commerciale o commerciale.
Leggere attendamente le istruzioni prima di installare ed iniziare ad utilizzato l'apparecchio.
- Questo appearecchio è stato progettato e costruito in conformità con le normative applicabili per gli appearecchi da cottura domestici e rispetta tutti i requisiti di sicurezza previsti, comprese le temperature superficiali.
Alcune persone, con maggior sensibilità della pelle, potrebbero avere una percezione più marcata della temperatura in alcuni componenti cheuggava sono sempre entro i limiti consentiti dalle norme.
La completeness sicurezza di un prodotto dipendeanche dal corretto utilizzato, si raccomanda pertanto di prestare sempre molta attenzione durante l'uso del prodotto, in special modo in presenza di bambini.
- Dopo ave tolo l'imballaggio assicurarsi dell'integrità dell'apparecchio e che la porta forno si chiuda correttamente. In caso di dubbio non utilizzato e rivolgersi al fornitore oppure a personale professionalmente qualificato.
- Gli elementi dell'imballaggio (sacchetti in plastica, polistirolo espanso, chiodi, reggette, ecc.) non devono essere lasciati alla portata dei bambini in quanto potenziali fonti di pericolo.
-
Alcune apparecchiature sono fornite con film protettivi applicativi sulle superfici di alluminio e di acciaio inox. Tutti quosti film protettivi devono essere totti prima dell'utilizzo dell'apparecchiatura.
-
IMPORTANTE: L'uso di idonei indumenti/guanti protettivi è raccommando durante la movimentazione o pulizia dell'apparecchio.
- Non tentare di modificare le caratteristiche tecniche del prodotto in quanto l'apparecchio potò diventare pericoloso. Il costruttore declina agli responsabilità per eventuali danni/inconvenienti derivanti dal mancato rispetto di quella condizione.
- ATTENZIONE: quello apparecchio deve essere installato solo in locali permanenteventilati nel rispetto delle normative vigenti.
- Non far funzionare l'apparecchio tramite un programmatore esterno o per mezzo di sistemi di controllo remoto.
- Non effettuare alcuna operazione di pulizia o manutenzionezza ave preventivamente staccato l'apparecchio alla rete di alimentazione elettrica.
ATTENZIONE: Prima di sostituire la lampadina del forno assicurarsi che l'apparecchio sia disconnesso alla rete elettrica per evitare il rischio di scosse elettriche. - Non utilizzato pulitrici a getto di vapore perché dell'umidità potrebbe infiltrarsi nell'apparecchio e renderlo pericoloso.
Non toccare l'apparecchio con mani o piedi bagnati oppure umidi.
Non usare l'apparecchio a piedi nudi. - Qualora dovesse decidere di non utilizzato più quello apparecchio (o dovesse sostuire un vecchio modello), prima di gettarlo al macero si raccomanda di renderlo inoperante nel modo previsto delle normative vigenti in materia di tutela della salute e dell'inquinamento ambientale, rendendo inoltre innocue nelle parti suscettibili di costituire un pericolo, specialmente per i bambini che potrebbero servirsi dell'apparecchio fuori uso per i propri giochi.
-
I vari componenti dell'apparecchio sono riciclabili; smaltirli in conformità con le norme vigenti nel proprio paese. Se l'apparecchio deve essere rottamato, rimuovere il cavo di alimentazione.
-
Dopo aver utilizzato l'apparecchio, assicurarsi che l'indice delle manopole sia in posizione di chiusura.
- I bambini con meno di 8 anni di età devono essere tenuti lontani a meno che non siano continuamente sorvegliati.
- Questo apparecchio può essere utilizzato da bambini con un'età minima di 8 anni, da persone con disponibilità fisiche, sensoriali o mentali ridotte o da persone inesperte solo se sotto sorveglianza durante l'uso, oppure sepreventivamente istruite sull'utilizzo in sicurezza e solamente se informate dei pericoli (che devono aver ben compreso) legati al prodotto stesso. I bambini non devono giocare con l'apparecchio. La pulizia e la manutenzione dell'apparecchio non devono essere fatte da bambini sulla supervisione di un adulto.
-
Il costruttore declina agli responsabilità per eventuali danni a persona o cose derivanti da uso improprio, erroneo ed irragionevole dell'apparecchio.
ATTENZIONE: Durante l'uso l'apparecchio e le sue parti accessibili divertano calde e rimangono calde per un certo tempo dopo l'uso. -
Si deve prestare attenzione a non toccare gli elementi riscaldanti (sul piano di cottura e all'interno delorno).
- La porta forno diventa calda, usare la maniglia.
-
Al fine di evitare bruciature e scottature, i bambini devono essere tenuti lontani.
-
Assicurarsi che i cavi di alimentazione di altri prodotti in prossimità dell'apparecchio non vengano in contatto con il piano di cottura oppure intrappolati nella porta del forno.
ATTENZIONE: Puo essere pericoloso lasciare riscaldare del grasso o dell'olio sul piano di cottura senza tenero sotto controlio ilprocesso in quanto questo potrebbe causare un incendio. NON CERCARE MAI di spegnere il fuoco con dell'acqua. Spagnere prima l'apparecchio e poi copriere le fiamme ad esempio con un coperchio oppure con una coperta ignifuga antincendio.
ATTENZIONE: Pericolo di incendio: non depositare oggetti sulle superfici di cottura. -
ATTENZIONE: Una volta installato correttamente, il vostro prodotto soddisfa tutti gli standard di sicurezza previsti per但这a categoria di prodotto. Tuttavia fare attenzione ad alcune parti dell'apparecchio (dietro e fatto), perché queste parti, non esendo progettate per essere toccate, potrebbero presentare dei bordi o delle superfici potenzialmente pericolosi che potrebbero causare delle ferite.
-
AL PRIMO UTILIZZO DEL FORNO - si consiglia di effettuare le seguenti operazioni:
-
Allestire l'interno delorno come descripto nel capitolo "PULIZIA E MANUTENZIONE".
- Accendere ilorno vuoto alla massima temperatura per eliminare trasce di grasso ed odori dagli elementi riscaldanti e dai componenti.
- Sconnettere l'apparecchio alla rete di alimentazione elettrica, lasciare raffreddare il forno e pulire poi l'interno della cavity forno con un panno imbevuto di acqua e detersivo neutro; asciugare poi perfettamente.
ATTENZIONE: Non utilizzato detersivi molto abrasivi o raschietti taglienti in metallo per pulire i vetri della porta del forno perché potrebbero graffiarne la superficie, e quello potrebbe provocare la frantumazione del vetro.
- Non rivestire in nessun caso le pareti e/o il fondo delorno con fogli di alluminio. Non posizionare teglie o la leccarda sul fondo delorno.
Non rivestire il piano cottura con fogli di alluminio.
- RISCHIO DI INCENDIO! Non depositare materiale inflammabile nel forno o nel vano portaoggetti.
- Usare sempre quanti da forno per rimuovere griglie e leccarda (o vassoi di cottura) dal forno quando è caldo.
- Non appendere tovaglioli, panni o altri sull'apparecchio o sulla maniglia delorno perché potrebbero incendiarsi.
- Pulire regolarmente ilorno. Evitare che olio e grasso si accumulino nel fondo delorno e nella leccarda. Pulire subito le tracimazioni appena si verificano.
Non salire sull'apparecchio o sulla porta del forno aperta.
- Aprire sempre la porta delorno rimanendo lontani, attendere la fuoriuscita di vapore e aria calda, poi estrarre o controllare i cibi in cottura.
- TRATTAMENTO SICURO DEL CIBO: Lasciare il cibo nel forno per un periodo di tempo il più breve possibile prima e dopo la cottura. Questo è per evitare la contaminazione da organismi che potrebbero provocare avvenamento da cibo. Fare particolarmente attenzione nella stagione calda.
- ATTENZIONE: Fare attenzione a NON sollevare l'apparecchio per la maniglia della porta forno.
ATTENZIONE: Il processo di cottura deve essere sorvegliato. Unprocesso di cottura breve deve essere supervisionato in modo continuativo.
- L'apparecchio non deve essere installato dietro ad una porta decorativa, per evitare un surriscaldamento.
- Gli accessori del forno (es. griglia) devono essere installati correttamente come indicato a pag. 25.
- Se il cavo di alimentazione è danneggiato deve essere sostituito da un technician del servizio di assistenza autorizzato, per evitare pericoli.
ETICHETTATURA ENERGETICA/PROGETTAZIONE ECOCOMPATIBLE
- Regolamento delegato (UE) No.65/2014 della commissione (che integra la direttiva 2010/30/UE del Parlamento europeo e del Consiglio).
- Regolamento (UE) No.66/2014 della commissione (recante misure di esecuzione della direttiva 2009/125/CE del Parlamento europeo e del Consiglio).
Riferimento ai metodi di misurazione e di calcolo utilizzati per stabilire la conformità alle specifiche di cui sopra:
Norma EN 60350-1 (forni elettrici).
- Norma EN30-2-1 (piani cottura: brucatori a gas).
CONSIGLI PER UN RISPARMIO ENERGETICO DURANTE L'USO DELL'APPARECCHIO
FORNO
- Controllare che la porta forno si chiuda sempre in modo corretto e che la guarnizione sia pulita ed in ordine. Durante la cottura apriere la porta del forno solo quando strettamente necessario per evitare dispersioni di calore (per certe funzioni potrebbe essere necessario utilizzato il forno con la porta semiaperta, verificare le istruzioni per il funzionamento del forno).
- Specnere ilorno 5-10 minuti prima del tempo teorico di cottura per recuperare il calore immagazzinato.
- Si raccomanda di utilizzato tegami idonei per cotture al forno e di modificare all'occorrezza la temperatura del forno durante la cottura.
PIANO DI COTTURA
BRUCIATORIA GAS
- É importante che il diametro della pentola sia adeguato alla potenzialità del bruciatore per non compensettere l'alto rendimento dei bruciatori e di consensozza avere uno spreco di combustibile. Una pentola piccola su un grande bruciatore non consente di ottener e l'ebollizione in un tempo più breve, in quanto la capacité di assorbimento di calore della massa liquida dipende dal fondo e dalla superficie della pentola.
- Evitare assolutamente il funzionamento a vuoto (senza recipienti).
AVVERTENZE PER IL CORRETTO SMALTIMENTO DEL PRODOTTO AI SENSI DELLA DIRITTIVA EUROPEA 2012/19/UE.
Alla fine della sua vita utile il prodotto non deve esser smaltito insieme ai rifiuti urbani. Puo essere consegnato presso gli apposti centri di raccolta differenziate predisposi dalle amministrazioni comunali, oppure presso i rivenditori che fornisco quello servizio. Smaltire separamente un elettrodomestico consente di evitare possibili consequences negative per l'ambiente e per la salute derivanti da un suo smaltimento inadequato e permette di recuperare i materiali di cui è composto al fine di ottener un importante risparmio di energia e di risorse. Per rimarcare l'obbligo di smaltire separamente gli elettrodomestici, sul prodotto è riportato il marchio del contentatore di spazzatura mobile barrato.



Fig. 1.1
DESCRIZIONE FUOCHI
- Bruciatore ausiliario (A) 1,00 kW
- Bruciatore semirapido (SR) 1,75 kW
- Bruciatore tripla corona (TR) 3,50 kW
Note:
L'accensione elettrica è incorpora nelle manopole.
- La cucina è dotata di valvolatura di sicurezza, su agli bruciatore, che chiude l'erogazione del gas se la fiamma dovesse spegnersi accidentally.
IMPORTANT:
Nel caso di una estinzione occidentale delle fiamme del bruciatore, chiudere la manopola di lavoro e non ritentare l'accensione se non dato almeno 1 minuto.
IMPORTANT:
L'utilizzo di un appearecchio di cottura a gas produce calore e umidità nel locale in cui è installato. Vogliate assicurare una buona aerazione del locale mantenendo aperti gli orifizi di ventilazione naturale o installando una cappa di aspirazione con condotto di scarico.
IMPORTANT:
Un utilizzo intensivo e prolongato dell'apparecchio può necessitar di una aerazione supplementare per esempio l'apertura di una finestra o un' aerazione più efficace augmentando la potenza di aspirazione meccanica se esta esiste.

Fig. 2.1
DESCRIZIONE COMANDI
- Manopola commande bruciatore anteriore destro
- Manopola lavoro bruciatore posteriore destro
- Manopola commande bruciatore posteriore sinistro
- Manopola commande bruciatore anteriore sinistro
- Manopola commande selettore funzioni forn
- Manopola commande termostato forno
- Manopola dato contaminuti meccanico 60
Luci spia
- Spia temperatura forno
Note: L'apparecchio è dotato di una ventola di raffreddamento per garantire che le temperature superficiali del forno siano mantenute basse.
Quando ilorno è in funzione la ventola di raffreddamento più accendersi e spegnersi a seconda della temperatura.
A seconda dei tempi di cottura e delle temperature, la ventola di raffreddamento cui funzionare sono after che l'apparecchio è stato spento. La durata di quello tempo dipende alla temperatura di cottura e alla sua durata.
BRUCIATORIA GAS
L'afflusso del gas ai bruciatori è regolato da un rubinetto valvolato comandato alla manopola di fig. 3.1.
Facendo coincide i simboli stampati sulla manopola con l'indice del crucotto si ottiene:
- disco piano

rubinetto chiuso
-simbolo

aperture max o portata max
- symbolo

√ L'accensione elettrica è incorporata nelle manopole dei bruciatori e si identifica per il symbolo “ ” vicino al symbolo “ ” (fig. 3.1).
√ La portata massima serve per portare rapidamente all'ebollizione i liquidi, quando quella ridotta consente il riscaldamento delle vivande in maniera lenta o il mantenimento dell'ebollizione.
Tutte le posizioni di funzionamento devono essere scelte tra quella di massimo e quella di minimo e mai tra quella di massimo ed il punto di chiusura.

NOTA:
I disegni delle manopole riportati in quello capitolo sono soloindicativi.
Le manopole ed i symboli possono variare.
Attenzione:
Non rivestire il piano cottura con fogli di alluminio.
N.B. Quando la cucina non é funzione ruotare le manopole dei rubinetti in posizione di chiuso e chiudere ancche il rubinetto della bombola o della condotta di alimentazione del gas.
Attenzione:
Durante il funzionamento il piano lavoro diventa molto caldo sulle zone di cottura.
Tenere a distanza i bambini.
Per accendere uno dei bruciatori:
- Ruotare la manopola del rubinetto gas in senso antiorario (fig. 3.2), sino alla portata massima, premerla e mantenere la pressione, si otterrà l'attivazione dell'accensione. In caso di mancanza di corrente elettrica avvincare una fiamma al bruciatore.
- Attendere una decina di secondi dopo l'accensione del bruciatore prima di rilasciare la manopola (tempo di innesco della valvola).
- Regolare il rubinetto gas nella posizione desiderata.
Se la fiamma del bruciatore dovesse spegnersi per qualsiasi motivo, la valvola di sicurezza interromperà automaticamente l'erogazione del gas.
Per ripristinare il funzionamento, riportare la manopola in posizione "●", attendere almeno 1 minuto e ripetere quando le operazioni di accensione.
Qualora particolari condizioni del gas erogato localmente rendano difficultosa l'accensione del bruciatore con la manopola in posizione portata massima, si consiglia di ripetere l'operazione con la manopola in posizione portata minima.
GRIGLIETTA PER PICCOLI RECIPIENTI
Si appoggia sopra la griglia del bruciatore ausiliario (il più piccolo) quando si

impiegano recipienti di piccolo diametro per evitare il loro rovesciamento.

SCELTA DEL BRUCIATORE
La simbologia nel cruscotto indica la corrispondenza fra manopola e bruciatore. A seconda del diametro e della capacité impiegate delve essere sceltoanche il bruciatore adatto.
I bruciatori e le pentole devono essere utilizzati rispetto le seguentiindicazioni:
| BRUCIATORI | MINIMO | MASSIMO |
| Ausiliario | 12 (*) | - 14 cm |
| Semirapido | 16 | - 24 cm |
| Tripla corona | 26 | - 28 cm |
nonutilizzarepentoleconcaveoconsesse
(*) con griglia di riduzione, diametro minimo 6 cm
É importante che il diametro della pentola sia adeguato alla potenzialità del bruciatore per non compensettere l'alto rendimento dei brucatori e di consegenza avere uno spreco di combustibile.
Una pentola piccola su un grande bruciatore non consente di ottener e ebollizione in un tempo più breve, in quanto la capacité di assorbimento di calore della massa liquida dipende dal fondo e dalla superficie della pentola.
ATTENZIONE: Assicurarsi che le pentole siano ben centrate sul bruciatore per ottenere la massima stabilità ed una magiore efficienza.
Assicurarsi che le pentole non siano a contatto con le manopole di regolazione, altrimenti la fiamma potrebbe surriscaldarle e danneggiare irreversibilmente.


Fig. 3.3
MOLTO IMPORTANTE: Quando si utilizes il forno è indispensable tenere aperto il coperchio della cucina.
ATTENZIONE: La porta delorno diventa molto calda durante il funzionamento. Tenere lontano i bambini.
ATTENZIONE: La porta delorno diventa molto calda, aprirlautilizzando la maniglia.
ATTENZIONE: Durante l'uso l'apparecchio diventa molto caldo. Fare attenzione a non toccare gli elementi riscaldanti all'interno delorno.
Non rivestire in nessun caso le pareti delorno con fogli di alluminio. Non posizionare teglie o la leccarda sul fondo delorno.
CARATTERISTICETECNICHE
Come indica la definizione, si tratta di un forn o che presenta delle particolari caratteristiche dal punto di vista funzionale. É infatti possibile inseire 8 diverse funzioni per soddisfare tutte le esigenze di cottura. Le 8 funzioni a controllo termostatico sono ottentue per mezzo di 3 elementi riscaldanti e precisamente:
- Resistenza inferiore
- Resistenza superiore
- Resistenza grill
NOTA: Al primo utilizzato delorno, al fine di eliminare eventuali trace di grasso dalle resistenze elettriche, si consiglia di farlo funzionare per circa un'ora nella funzione (con la manopola del termostato in posizione 250^ ) e per altri 15 minuti nella funzione (con la manopola del termostato in posizione 225^ ).
Il riscaldamento e la cottura nel forno Plurifunzione sono ottenuti nei seguenti modi:
a. per convezione naturale
Il calore è prodotto dagli elementi riscaldanti superiore ed inferiore.
b. per convezione semi-forzata
Il calore prodotto dagli elementi riscaldanti inferiore e superiore viene distribuito nel forno dal ventilatore.
c. per irraggiamento
Il calore viene irraggiato alla resistenza grill a raggi infrarossi.
d. per irraggiamo e ventilazione
Il calore irraggiato alla resistenza grill a raggi infrarossi viene distribuito nel forno dal ventilatore.
e. per ventilazione
Il cibo viene scongelato utilizzando il ventilatore sulla riscaldamento.

Fig. 4.1

Fig. 4.2
MANOPOLA DEL TERMOSTATO (fig. 4.1)
Per attivare le resistenze del forno, impostare la manopola del selettore funzioni sulla posizione desiderata e la manopola del termostato sulla temperatura desiderata.
Per selezionare la temperature è necessario fare corrispondere il numero scelto della manopola con l'indice del frontale.
Le resistenze si accenderanno o si spegneranno automaticamente secondo il bisogno di energia determinato dal termostato.
Il funzionamento degli elementi riscaldanti viene segnalata da una luce posta sopra la manopola.
MANOPOLA DEL SELETTORE FUNZIONI (fig. 4.2)
Ruotare la manopola in senso orario per impostare ilorno per una delle seguenti funzioni:

ILLUMINAZIONE DEL FORNO
Ruotando la manopola su esta posizione si accende sostanto la lampada delorno.
In tutte le funzioni di cottura la lampada rimane sempre accesa.

COTTURA TRADIZIONALE A CONVEZIONE
Si accendono gli elementi riscaldanti inferiore e superiore.
Il calore si diffonde per convenzione naturale e la temperatura può essere regolata con la manopola del termostato tra 40^ e la posizione massima.
É necessario preriscaldare ilorno prima di inserire il cibo da cuocere.
Consigliata per:
Cibi che richiedono lo stesso grado di cottura interno ed esterno; per esempio: arrosti, costine di maiale, meringhe, ecc.
Si accende sostanto l'elemento riscaldante inferiore.
Il calore si diffonde per convenzione naturale e la temperatura può essere regolata con la manopola del termostato tra 40^ e la posizione massima.
Consigliata per:
Completare cotture che necessitano di maggiore calore nella parte inferiore.

LIEVITAZIONE - CALORE DALL'ALTO
Si accende sostanto l'elemento riscaldante superiore.
Il calore si diffonde per convenzione naturale e la temperatura può essere regolata con la manopola del termostato tra 40^ e 250^ .
Consigliata per:
Far lievitare velocimento e in modo omogeneo tutti i tipi di impasti farinacei e pasta fresca fatta in casa o per completare cotture che necessitano di maggiore calore nella parte superiore.

COTTURA AL GRILL
Entra in funzione la resistenza elettrica a raggi infrarossi. Il calore si difonde per irraggiamento. Il forno va utilizzato con la porta chiusa e la temperatura cui è esere regolata con la manopola del termostato tra 40^ e 225^ .
Per consigli d'uso vedere il capitolo "COTTURA AL GRILL TRADIZIONALE".
Utilizzare il grill per massimo 30 minuti.
Attenzione: Quando il grill è in funzione le parti accessibili possono diventare calde. Tenere i bambini a distanza.
Consigliata per:
Azione grigliante intensa per cottura al grill; rosolatura, doratura, gratinatura, tostatura, ecc.

COTTURA AL GRILL VENTILATO
Si accendono il grill a raggi infrarossi ed il ventilatore. Il calore si diffonde principamente per irraggiamento ed il ventilatore lo distribuisce poi su tutto ilorno.
Il forn o va utilizzato con la porta chiusa e la temperatura cui esse regolata con la manopola del termostato tra 40^ e 225^
Per consigli d'uso vedere il capitolo "COTTURA ALLA GRIGLIA E GRATINATURA".
Utilizzare il grill ventilato per massimo 30 minuti.
Attenzione: Quando il grill ventilato è in funzione le parti accessibili possono divertare calde. Tenere i bambini a distanza.
Consigliata per:
Cotture alla griglia dove è necessario una rapida rosolatura esterna per bloccare i sughi all'interno. Per esempio: bistecche di vitello, braciole, hamburger, ecc.
PANE/PIZZA - COTTURA A CONVEZIONE CON VENTILAZIONE
Si accendono gli elementi riscaldanti superiore e inferiore ed il ventilatore.
Il calore proveniente dall'alto e dal basso viene diffuso per convezione con ventilazione.
La temperatura può essere regolata con la manopola del termostato tra 40^ e la posizione massima.
Consigliata per:
Cibi di notevole volume e quantità che richiedono lo stesso grado di cottura interno ed esterno; per esempio: arrosti arrotolati, tacchino, cosciotti, torte, ecc.

Si accendono la resistenza superiore ed il ventilatore.
Il calore si difonde per convezione forzata con maggiore apporto nella parte superiore.
La temperatura può essere regolata con la manopola del termostato tra 40^ e la posizione massima.
Consigliata per:
Mantenere caldi i cibi dopo qualsiasi cottura.
Riscaldamento lento di cibi già cotti

SCONGELAMENTO DI CIBI SURGELATI E FUNZIONE ECO
SCONGELAMENTO DI CIBI SURGELATI:
Da usare con la manopola del termostato in posizione "●" si accende soltanto il ventilatore delorno.
Lo scongelamento avviene per semplice ventilazioneenza riscaldamento.
FUNZIONE ECO (RISPARMIO ENERGETICO):
Si accendono: gli elementi riscaldanti superiore, inferiore ed il ventilatore. Il calore proveniente dall'alto e dal basso viene diffuso per convezione con ventilazione.
Con esta funzione si riducono i consumi elettrici dell'apparecchio, ed è particolaremente indica per la cottura delicata di modeste quantità di cibo su singolo ripiano.
Non preriscaldare il forno ed evitare l'apertura della porta durante la cottura.
I tempi di cottura potrebbero essere più lunghi rispetto alle funzioni standard.
Non usare esta funzione per preriscaldare ilorno.
Consigliata per:
cibi che devono essere cotti delicatamente. Per mantenere caldi i cibi dopo qualsiasi cottura. Per il riscaldamento lento di cibi più cotti.
CONSIGLI DI COTTURA
STERILIZZAZIONE
La sterilizzazione dei cibi da conservare in vasi si effettua, a recipienti pieni e chiusi ermeticamente, nel seguente modo:
a. Portare il commutatore nella posizione
b. Portare la manopola del termostato nella posizione 175^ e preriscaldare il forno.
c. Riempire la leccarda di acqua calda.
d. Disporre i vasi nella leccarda facendo attenzione che non entrino in contatto tra loro, e dopo aver bagnato con acqua i coperchi, chiudere il forno e portare la manopola del termostato nella posizione 130^ .
A sterilizzazione iniziata,cisiono quando si incominciano ad intravvedere delle bollicine nei vasi, spagnere il forno e lasciare raffreddare.
ARROSTO
Per ottener un arrosto classico cotto a puntino in tutte le sue parti, é necessario ricordare:
che é consigliabilemantenere una temperatura tra 180^ e 200^
che il tempo di cottura dipende alla quantità e nella qualità dei cibi.
RIGENERAZIONE
Portare il commutatore nella posizione ed il termostato nella posizione 150^ . Il pane ritornerà fragrante se inumidito con quale goccia d'acqua e messo nelorno per circa 10 minuti alla massima temperatura.
COTTURA CONTEMPORANEA DI CIBI DIVERSI
Il forno statico ventilato alla posizione del selettore funzioni permette di cuocere contemporaneamente diversi cibi eterogenei. Si possono cuocere contemporaneamente cibi come del pesce, una torta e della carne senza che gli aromi e i sapori si mescolino.
Le uniche precauzioni da prendere sono le seguenti:
Le temperature di cottura devono essere le più vicine possibili, con una differenza massima di 20^ - 25^ tra i diversi cibi.
L'introduzione dei diversi piatti nel forno dovrà essere fatta in momenti diversi in funzione del tempo di cottura di ogn'uno. Risulta evidente, con questo tipo di cottura, il risparmio di tempo e di energia che si ottengono.
COTTURA AL GRILL TRADIZIONALE
Accendere il grill, come spiegato nei paragrafi precedenti e lasciare preriscaldare per circa 5 minuti con la porta chiusa.
Introduire i cibi da cuocere posizionando la griglia il più vicino possibile al grill.
Per la raccolta dei sughi di cottura inserire la leccarda sotto alla griglia.
Grigliare con la porta del forno chiusa
Utilizzare il grill per massimo 30 minuti.
Attenzione: Quando il grill è in funzione le parti accessibili sono divertare calde. Tenere i bambini a distanza.
COTTURA ALLA GRIGLIA E GRATINATURA
Alla posizione del selettore funzioni, la grigliatura può essere effettuata alla il girarrosto perché l'aria calda avvolge completeness il cibo da cuocere.
Portare il termostato nella posizione 225^ e dopo averere preriscaldato il forno, appoggiare semplicamente il cibo sulla griglia.
Chiudere la porta e lasciare funzionare il forno con il termostato nella posizione prescelta tra 40^ e 225^ fino a grigliatura avvenuta.
Aggiungendo quale ricciolo di burro prima della fine della cottura si ottiene l'effetto dorato della gratinatura.
Utilizzare il grill ventilato per massimo 30 minuti.
Attenzione: Quando il grill è in funzione le parti accessibili sono divertare calde. Tenere i bambini a distanza.
COTTURA AL FORNO
Per la cottura, prima d'insere i cibi, preriscaldare il forno alla temperatura desiderata.
Quando il fornho ha raggiunto la temperatura, introdurre i cibi, poi controllare il tempo di cottura, e specnere il fornso 5 minuti prima del tempo teorico per recuperare il calore immagazzinato.
ESEMPI DI COTTURA
Le temperature sono solo indicative, perché variano in funzione della quantità e del volume dei cibi.
Si raccomanda di utilizzato tegami idonei per cotture al forno e di modificare all'occurrezza la temperatura del forno durante la cottura.
| PIETANZE | Temperatura |
| Lasagne al forno | 220°C |
| Pasta al forno | 220°C |
| Pizza con acciuhe | 225°C |
| Riso alla creola | 225°C |
| Patate al latte | 200°C |
| Pomodori farciti | 225°C |
| Soufflé di formaggio | 200°C |
| Soufflé di patate | 200°C |
| Arrostò di vitello | 200°C |
| Nodini di vitello alla griglia | 225°C |
| Petti di pollo al pomodoro | 200°C |
| Pollo alla griglia - pollo arrosto | 220°C |
| Polpettine di manzo | 200°C |
| Polpettone di vitello | 200°C |
| Spiedini alla turca | 225°C |
| Roast-beef | 220°C |
| Filetti di sogliola | 200°C |
| Nasello aromatico | 200°C |
| Ciambella | 180°C |
| Crostata di prugne | 200°C |
| Crosatine alla confettura | 225°C |
| Pan di spagna | 225°C |
| Sfogliatine dolci | 200°C |
| Torta margherita | 220°C |
Per un corretto preriscaldamento si consiglia di togliere griglia e leccarda dall'interno del forno per insertireo后再o circa 15 minuti.
Gli accessori del forno possono
sopportare carichi fino a 6kg Si raccomanda di distribuire i carichi
in modo uniforme.
Grazie alla funzione lievitatione è possible più che dimezzare i tempi di lievitatione degli impasti, e li rende più omogenei, elastici e facili da lavorare.
Rispetto ad una lievitazione fatta sopra un mobile all'interno di una stanza, l'impasto fatto livitare nel forno con la nostra funzione dedicata, crescerà meglio e più velocamente, facendovi risparmiare tempo e preparandovi un impasto perfetto e adatto a preparare pisze gustose, morbide e fragranti.
Inserire la palla di impasto in un contentatore di plastica o vetro da forno, e posizionare il contentitore sulla griglia all'interno del forno, a metà altezza.
Selezionare con la manopola la funzione "lievitazione"tramite l'icona dedicata e allo stesso tempo regolare la temperatura a 40 gradi, selezionando con l'altra manopola l'icona del termostato.
Lasciare lievitare nel forno accesso per almeno 3 ore, ma dipenderà molto dal tipo di impasto e dal tipo di farina che avrete impastato, eanche alla temperatura dell'ambiente della stanza se per esempio è estate oppure inverno. Capirete che l'impasto è pronto se ha raddoppiato il proprio volume e al fatto risulterà morbido ed elastico.
CONTAMINUTI 60'
Il contaminuti è un avvisatore acustico a tempo che può essere regolato per un periodo massimo di 60 minuti.
La manopola di regolazione (fig. 5.1) deve essere ruotata in senso orario fino alla posizione 60 minuti e poi posizionata sul tempo desiderato ruotandola in senso antiorario.
ATTENZIONE - MOLTO IMPORTANTE:
Il contaminuti è solo un avvisatore acustico che NON spegne il forno al termine del tempo impostato.
RICORDARSI DI SPEGNERE IL FORNO MANUALMENTE

Fig. 5.1
COPERCHIO IN VETRO (SOLO PER I MODELLI CON COPERCHIO IN VETRO)
PULIZIA DEL COPERCHIO IN VETRO
Per le operazioni di pulizia si cui satisfamente smontare il coperchio sfilandolo versusl'altouponaverloaperto completamente.
Se le cerniere si dovessero sfilare, rimetterle nella loro sede facendo attenzione che:
- nella sede destra deve essere montata la cerniera con la stampigliatura "D" perché nella sede sinistra la cerniera con la stampigliatura "S" (fig. 6.1)
Regolazione della bilanciatura (solo per coperchi forniti di cerniera con vite "R" di regolazione)
Chiudere il coperchio e controllare la corretta bilanciatura;illery a 45^ dovrebbe rimanere sospeso.
Eventually registrale la taratura delle molle delle cerniere ruotando le viti "R" in senso orario (fig. 6.1).
Modelli con coperchio in vetro

Non chiudere il coperchio con il fornello acceso.
ATTENZIONE
Non chiudere il coperchio in vetro quando i brucitori sono ancor caldi o quando il forno è in funzione o ancor caldo.
✓ Non appoggiare sul coperchio in vetro pentole calde ed oggetti pesanti.
Asciugare qualsiasi liquido rovesciato sul coperchio prima di aprirlo.

CONSIGLI PER L'UTILIZZATORE
- Prima di procedere alla pulizia disinserire la cucina alla rete elettrica ed attendere che si sua raffreddata.
- Quando non si usa la cucina è prudente chiudere il rubinetto erogatore della linea del gas o quello della bombola. Controllare di tanto in tanto che il tubo flessibile che collega la bombola o la linea del gas con la cucina sa in perfette condizioni ed eventualmente sostuirlo quando presenti quale anomalia.
- Se un rubinetto si bloccasse, non forzare e chiedere l'intervento dell'Assistenza Tecnica.
- è consigliabile effettuare le operazioni di pulizia quando l'apparecchiatura è raffreddata, specialmente per le parti smaltate.
- Evitare di lasciare sulle superfici sostenze acide o alcaline (aceto, sale, succo di limone ecc).
- Evitare l'uso di prodotti per la pulizia a base di cloro o acidi.
- Importante: Si consiglia l'utilizzo di quanti protettivi ed abbligamento idoneo quando si pulisce e si maneggiano le parti dall'apparecchio.
- Pulire le superfici con un panno umido ed utilizzato detergenti neutri non aggressivi. Terminare la pulizia passando un panno asciutto e pulito.
IMPORTANT: evitare assolutamente l'uso di prodotti abrasivi (es. certi tipi di spugne) e/o aggressivi (es. soda caustica, detersivi contenti sostenze corrosive) che potrebbero danneggiare in modo irreversibile le superfici.
ATTENZIONE. Una volta installato correttamente, il vostro prodotto soddisfa tutti gli standard di sicurezza previsti per questa categoria di prodotto. Tuttavia fare attenzione ad alcune parti dell'apparecchio (dietro e sotto), perché queste parti, non essendo progettate per assere toccate, potrebbero presentare dei bordi o delle superfici potenzialmente pericolosi che potrebbero causare delle ferite.
PARTI SMALTATE
Tutte le parti smaltate, comprese le griglie del piano, devono essere lavate con acqua saponata o altri prodotti che non siano abrasivi.
Asciugare preferibilmente con un panno morbido ed asciutto.
Sostenze acide quali succo di limone,
conserva di pomodoro, aceto e simili,
se lasciati a lungo intaccano lo smalto
rendendolo opaco.
SUPERFICI IN ACCIAIO INOX, PARTI IN ALLUMINIO, VERNICIATE O SUPERFICI SERIGRAFATE
Pulire con prodotto idoneo. Asciugare sempre accuramente.
IMPORTANTE: La pulizia di queste parti deve essere eseguita con molta cura per evitare graffi ed abrasioni. Si consiglia diutilizzare un panno morbido e sapone neutro, mai prodotti contenti sostanze abrasive.
Nota: L'uso continuo potrebbe causare, in corrispondenza dei brucitori, una colorazione diversa dall'originale dovuta all'alta temperatura.
Importante: La ditta costruttrice declina agli responsabilità per eventuali danni causati da prodotti non idonei utilizzati per la pulizia dell'apparecchio.
Attenzione: Durante il funzionamento l'apparecchio diventa molto caldo sulle zone di cottura. Tenere a distanza i bambini.
Non utilizzato pulitrici a vapore perché dell'umidità potrebbe infiltrarsi nell'apparecchio rendendolo insicuro.
Non utilizzato detersivi molto abrasivi o raschietti taglienti in metallo per pulire il vetro della porta del forno oppure il coperchio in vetro (modelli con coperchio in vetro) perché potrebbero graffiarne la superficie e quello potrebbe provocare la frantumazione del vetro.
RUBINETTI GAS
Evitare che i prodotti di pulizia vadano a contatto con i rubinetti.
La lubricazione periodica dei rubinetti gas deve essere eseguita esclusivamente da personale specializzato.
In caso di anomalie di funzionamento dei rubinetti gas chiamare il Servizio Assistenza.
INTERNO FORNO
Il forno va sempre pulito après l'utilizzo, quando si è raffreddato.
La cavity deve essere pulita usingo undetergente delicato e acqua calda.
Prodotti chimici specifici per la pulizia dell'interno del forno possono essere usati soltanto dopo aveletto attendamente le avvertenze e le raccomandazioni del produttore e dopo aveeffettuato una prova su una piccola superficie della cavity del forno.
Nonutilizzare detersivi abrasivi,pagliette o spugne abrasive.
NOTA: La ditta costruttrice declina agli responsabilità per eventuali danni causati da prodotti chimici o abrasivi utilizzati per la pulizia.
Attendere il raffreddamento del forno e prestare particolare attenzione a non toccare gli elementi riscaldanti all'interno del forno.
Pericolo d'incendio! Non depositare oggetti infiammabili nel forno
BRUCIATORIE GRIGLIE
Queste parti devono essere pulite per mezzo di una spugna, con acqua saponata o altri prodotti idonei che non siano abrasivi. Asciuagare con un panno morbido.
Attenzione!: Non lavare in lavastoviglie.
Dopo agli pulitura o lavaggio, verificare che gli spartifiamma dei brucatori siano stati asciugati unitamente ai brucitori e riposti perfettamente nella loro sede.
È assolutamente indispensable è il controllo della perfetta posizione dello spartifiamma in quanto il suo spostamento alla sede può causare dei gravi inconvenienti.
Verificare che I'elettro do "S" vicino ad agli bruciatore (fig. 6.2 - 6.4) sia sempre ben pulito in modo da permettere lo scoccare regolare delle scintille.
Verificare che la sonda "T" vicino ad agli bruciatore (fig. 6.2 - 6.4) sia sempre ben pulita in modo da permettere il regolare funzionamento della valvolatura di sicurezza.
Sia I'elettro do che la sonda devono essere sempre puliti con molto cautela.
Nota: Per evitare danni all'accensione elettrica, non utilizzarla quando i bruciatori non sono nella loro sede.
Nota: L'uso continu potrebbe causare, in corrispondenza dei bruciatori e delle griglie, una alterazione dello smalto in corrispondenza delle aree esposte alle fiamme. Questo fenomeno è naturale e non pregiudica affatto la funzionalità delle parti.
CORRETTO POSIZIONAMENTO DEI BRUCIATORI AUSILIARIO, SEMIRAPIDO E RAPIDO
É molto importante verificare il perfetto posizionamento dello spartifiamma “F” e del cappello “C” del bruciatore (vedere figure 6.2 - 6.3) perché un loro spostamento alla sede può essere causa di gravi anomalie.
BRUCIATORE A TRIPLA CORONA
Questo bruciatore devese sere correttamente posizionato come indicato in fig. 6.6 facendo attenzione che le nervature entrino nel loro alloggiamento come indicato dalle frece (fig. 6.4).
Posizione correttamente nel loro alloggiamento il cappello "A" e l'anello "B" (fig. 6.5, 6.6).
Il bruciatore correttamente posizionato non deve ruotare (fig. 6.5).

Fig. 6.2




Fig. 6.3

Fig. 6.4



Fig. 6.6

Fig. 6.5
MONTAGGIO E SMONTAGGIO DEI TELAI LATERALI
Montare i telai laterali fissandoli alle pareti delorno con le 2 viti (fig. 6.7).
Infilare in mezzo alle guide dei telai laterali la leccarda e la griglia come in (fig. 6.8).
La griglia va montata in modo che l'arresto di sicurezza, che ne evita l'estrazione accidentale, sua rivolto versuso l'interno del forno; il traverso posteriore deve essere rivolto verso l'interno della cavity.
- Lo smontaggio si effettua operando all'inverso.


CASSETTO
Il cassetto si puòtogliere come unnormale cassetto (fig. 6.9).
Non depositare oggetti lavorente inflammabili nel forno o nel cassetto (carta sottile, cotone, seta, nylon e materiali similari).

SOSTITUZIONE DELLA LAMPADA DEL FORNO
ATTENZIONE: Prima di effettuare un qualiasi'intervento sulla parte elettrica dell'apparecchio, si deve assolutamente scollegare l'allcamento a rete.
Lasciare raffreddare la cavity del forno e gli elementi riscaldanti.
- Togliere l'alimentazione elettrica.
- Svitare la calotta protettiva "A" (fig. 6.10).
- Sostituire la lampada alogena "C" con un'altra di tipo resistente alle alto temperature (300^) e con le seguenti caratteristiche: 220-240 V, 50/60 Hz e con la stessa potenza della lampada da sostituire (leggere la potenza in watt stampigliata sulla stessa).
NOTA IMPORTANTE: non sostituire la lampadina a mani nude; una contaminazione potrebbe ridurne la durata. Usare sempre un panno pulito o indossare guanti.
Rimontare la calotta di protezione "A".
NOTA: La sostituzione della lampada non è coperta dalla garanzia.

Fig. 6.10
SMONTAGGIO DELLA PORTA DEL FORNO
La porta delorno può essere fácilmente smontata operando come segue:
- Aprire completeness la porta del forno (fig. 6.11).
- Aprire completeness la leva "A" delle cerniere destra e sinistra (fig. 6.12).
Impugnare la porta come illustrato in fig. 6.14. - Socchiudere dolcamente la porta (fig. 6.13) sino a quando le leve "A" delle cerniere destra e sinistra si agganciano alla parte "B" della porta (fig. 6.12).
- Estrarre i ganci delle cerniere (destra e sinistra) dal loro alloggiamento (freccia "C" - fig. 6.15).
Appoggiare la porta su una superficie morbida.


Important!
Mantenere sempre una distance di sicurezza delle leve delle cerniere, fare particolare attenzione a dove mettete le
mani. Se le leve non sono correttamente a g g n c i a t e, queste potrebbero sganciarsie chiudersi inaspettatamente con il rischio di lesioni.




RIMONTAGGIO DELLA PORTA DEL FORNO
- Afferrare saldamente la porta (fig. 6.16).
- Inserire i ganci delle cerniere (destra e sinistra) nel loro alloggiamo; assicurarsi che l'incavo entri nell'apposto alloggiamo (fig. 6.17).
- Aprière Completely la porta delorno.
- Chiudere le leve "A" delle cerniere destra e sinistra (fig. 6.18).
- Chiudere dolcamente la porta del forno e verificare che si apra e chiuda perfettamente.


MONTAGGIO E SMONTAGGIO DEL VETRO INTERNO DELLA PORTA DEL FORNO PER LA PULIZIA
Per pulire i vetri della porta del forno da ambo i lati è necessario smontare la porta del forno e smontare il vetro interno seguito scrupolosamente le istruzioni. Un rimontaggio errato del vetro e della porta possono danneggiare il forno e annullare la garanzia.
IMPORTANT!
- Attenzione, la porta del forno è pesante. Se avete quello dubbio nel sostenere il peso, non tentate di smontare la porta.
Assicurarsi che il forno e i loro componenti siano freddi. Non tentare di manipolare parti del forno quando sono ancora calde. - Prestare particolare attenzione durante la manipolazione del vetro. Non urtare con gli angoli del vetro contro superfici o oggetti.
Non utilizzato detersivi molto abrasivi o raschietti taglienti in metallo per pulire i vetri della porta del forno perché potrebbero graffiarne la superficie, e quello potrebbe provocare la frantumazione del vetro. - Se si notatione nelle vetri della porta, non utilizzare il forno e chiamare il Centro Assistenza.
- Accertarsi di rimontare correttamente il vetro della porta del forno. Non utilizzato il forno se il vetro non è montato correttamente.
- Se si incontrano dificoltà nel rimontare il vetro, non forzarlo ma chiamare il Servizio Assistenza. Nota: I servizi di assistenza per l'uso o la manutenzione dell'apparecchio non sono coperti alla garanzia

SMONTAGGIO INTERNO
DEL VETRO
La porta delorno ha due vetri:
1vetro esterno;
1 vetro interno smontabile.
Per pulire i vetri della porta del forno da ambo i lati è necessario rimuovere il vetro interno come indicato di seguito.
-
Bloccare aperta la porta forno:
-
Aprire completeness la porta del forno (fig. 6.19).
- Aprire completeness la leva "A" delle cerniere destra e sinistra (fig. 6.20).
- Socchiudere dolcamente la porta (fig. 6.21) sino a quando le leve "A" delle cerniere destra e sinistra si agganciano alla parte "B" della porta (fig. 6.20).
- Rimuovere il vetro interno:
Premere sulle due alette per sganciare il profilo superiore (frecce di fig. 6.22), quindi rimuoverlo delicatamente (freccia 1 di fig. 6.23). - Sfilare delicatamente il vetro interno (freccia 2 di fig. 6.23).
IMPORTANTE: É consigliabile, durante la rimozione del vetro, tenere premuti in posizione i 4 distanziatori "D", mediante un dato, al fine di evitare la rottura o lo sfilamento dei distanziatori stessi (fig. 6.25).
- Pulirle il vetro con prodotti idonei.
Asciugarlo sempre accuratamente.
Ora è possibile pulire ancè il lato interno del vetro esterno.





RIMONTAGGIO DEL VETRO INTERNO DOPO LA PULIZIA
Nel rimontare il vetro interno fare attenzione a:
Rimontare correttamente il vetro che deve essere inserto nella porta come illustrato nelle figura qui a lato per garantire un corretto e sicuro funzionamento dell'apparecchio.
- Fare molta attenzione a non urhare con gli spigoli del vetro contro oggetti o superfici; quello potrebbe causare la rottura del vetro.
Non forzare il vetro nel rimetterlo nella propria sede. Se l'operazione risulta difficile, toglierlo e ripetere l'operazione. Se ci sono difficultà chiamare il Servizio Assistenza.
Per rimontare il vetro interno della porta procedere come segue:
- Assicurarsi che la porta sia bloccata aperta (vedere fig. 6.21).
- Rimontaggio del vetro interno:
- Verificare che i 4 distanziatori "D" siano nella loro posizione (fig. 6.24).
IMPORTANTE: è consigliabile, durante l'insertimento del vetro, tenere premuti in posizione i 4 distanziatori "D", mediante un dato, al fine di evitare la rottura o lo sfilamento dei distanziatori stessi (fig. 6.25).
Assicurarsi di montare il vetro nel verso corretto. Guardandolo si devono leggere le parole stampigliate.
- Inserire il vetro nelle guidhe "E" ed "F" (fig. 6.25) e farlo scorrere dolcamente fino ai fermi "H" (fig. 6.26).
Premere leggermente il profilo superiore verso la porta per agganciarlo in posizione. Si dovrà udire il click di aggancio delle due alette (fig. 6.27). Prestare particolare attenzione a rimontarlo correttamente: nel verso corretto la parte ribassata è rivolta verso l'interno del forno.
- Aprire completeness la porta del forno e richiudere la leva "A" delle cerniere destra e sinistra (fig. 6.28).


Fig. 6.24



CONSIGLI
PER
L'INSTALLATORE
IMPORTANT
Per una perfetta installatione, regolazione o trasformazione della cucina all'uso di altri gas, è necessario ricorrere ad un INSTALLATORE QUALIFICATO. La mancata osservanza di但这a norma provoca il decadere della garanzia.
L'apparecchiatura deve essere installata correttamente, in conformità con le norme in vigore e secondo le istruzioni del costruttore.
- Qualsiasi intervento deve essere effettuato con l'apparecchiatura disinserita elettricamente.
- Le pareti dei mobili o dei muri adiacenti l'apparecchio devono sostarare aumento di temperatura di altre 75^ .
Se la cucina viene accostata a mobili che superano in altezza il piano di lavoro, è indispensable lasciare uno spazio di almeno 20 cm fra mobile e bianco dell'apparecchio.
- Alcuni apparecchi sono ricoperti da una speciale pellicola protettiva posta su parti in acciaio o alluminio.
Prima di usare la cucina togliere accuratamente la pellicola protettiva.
Le condizioni di installmente, per quanto riguarda la protezione contro il surriscaldamento delle superfici adiacenti alla cucina, devono essere conformi alle figure 7.1a oppure 7.1b.
Se la cucina viene accostata a mobili che superano in altezza il piano di lavoro, è indispensableile lasciare uno spazio di almeno 20 cm fra mobile e fianco dell'apparecchio.
I materiali sintetici/impiallacciati e le colle utilizzate devono essere resistenti ad una temperature di 90^ per evitare deformazioni o scollamento.
Non devono essere installate tende immediamente dietro appearecchio oppure a meno di

Fig. 7.1a

(fig. 7.1b)
Fig. 7.1b
500 mm dai lati.
Se la cucina è posta su un piedistallo, si devono prendere misure per evitare che l'apparecchio scivoli dal piedistallo.
Questo appearecchio è stato progettato e costruito per essere installato in prossimità di mobili resistenti al calore.
Le pareti dei mobili non devono superare l'altezza del piano di lavoro e devono resistere ad una temperatura di 75^ 或者其他 la temperatura ambiente.
Evitare l'installazione in prossimità di materiali inflammabili (es. tendaggi).
Classe 1
(fig. 7.1a)
Allacciamento gas realizato utilizzando tubo in gomma che deve essere visible ed ispezionabile oppure utilizzando tubo metallico rigido o flessibile.
L'installazione deve assere effettuata mantenendo una distanza di 2 cm delle pareti laterali dei mobili che non devono superare in altezza il piano di lavoro.
Classe 2
Subclasse 1
Allacciamento gas realizato utilizzato tubo metallico rigido o flessibile.

Fig. 7.2
MONTAGGIO DEI PIEDI REGOLABILI
I piedi regolabili devono essere montati sulla base della cucina prima del suo utilizzato.
Adagiare la cucina sul lato posteriore, soprun pezzo di polistirolo dell'imballo, per accedere alla base e facilitare il montaggio dei piedi.
Montare i 4 piedi avvitandoli nei traversi del basamento come illustrato nella figura 7.2.

LIVELLAMENTO DELLA CUCINA
In caso di necessità la cucina può livellata avvitando o svitando la parte terminale dei piedi (fig. 7.3)



MOVIMENTAZIONDELLACUCINA
ATTENZIONE: La cucina deve essere sempre raddrizzata da due persone per evitare di danneggiare i piedi (fig. 7.4).
ATTENZIONE: Non utilizzato la maniglia del forno per movimentare la cucina (fig. 7.5).
ATTENZIONE: Quando si sposta la cucina nella sua posizione definitiva, NON TRASCINARLA (fig. 7.6), ma sollevare i piedi dal pavimento (fig. 7.4).
Attenzione: Questo appearecchio deve essere anticorato per evitare un ribaltamento occidentale inserendo una staffa sul retro della cucina e fissandola alla parete.
Per montare la staffa antiribaltamento:
- Dopo aver individuato dove installare la cucina, segnare sulla parete dove devono essere fissate le due viti per installare la staffa antiribaltamento. Si prega di seguire leindicazioni riportate in figura 7.7.
- Praticare due fori di 8 mm di diametro nella parete ed insere i tasselli di plastica in dotazione.
Importante! Prima di praticare i fori, verificare di non danneggiare tubi o fili elettrici che possono esserci all'interno della parete.
- Fissare alla parete la staffa antiribaltamento con le due viti in dotazione.
- Avvicinare la cucina alla parete e regolare l'altezza della staffa antiribaltamento in modo che possa inseriri nella fessura sul retro della cucina, come migliorato in fig. 7.7.
- Stringere le viti in modo da fissare saldamente la staffa antiribaltamento.
- Spingere la cucina contro il muro in modo che la staffa antiribaltamento sia completeness insertita nella fessura sul retro della cucina.
Attenzione!
Durante l'insertimento della cucina nella sua posizione finale, prestare particolare attenzione a non incastrare il cavo di alimentazione nella staffa antiribaltamento.
Prestare molta attenzioneanche al tubo di allacciamento gas.

Fig. 7.7
REQUISITI PER LA VENTILAZIONE
Questo apparecchio non è raccordato ad un dispositivo di evacuatione dei prodotti della combustione. L'installatore devefare riferimento alle norme locali in vigore per quantiriguarda la ventilazione e l'evacuatione dei prodotti di combustione.
Un utilizzato intensivo e prolongato dell'apparecchio può necessitar di una aerazione supplementare per esempio l'apertura di una finestra o un' aeration più efficace augmentando la potenza di aspirazione meccanica se esta esiste.
LOCALE DI INSTALLAZIONE
Il locale dove viene installata l'apparecchiatura a gas deve ave un naturale afflusso di aria necessaria alla combustione del gas (conformmente alle norme locali in vigore; per l'Italia norme UNI-CIG 7129 e 7131).
L'afflusso di aria deve avvenire direttamente da una o più aperture praticate su pareti esterne aventi complessivamente una sezione libera di almeno 100~cm^2 (oppurefare riferimento alle norme locali in vigore).
Le aperture dovrebbero essere posizionate vicino al pavimento e preferibilmente dal lato opposto all'evacuatione dei prodotti di combustione e devono essere costruite in modo da non poter essere ostruite via dall'interno che dall'esterno.
Quando non è possibile praticare le necessarie aperture, l'aria necessaria più provenire da un locale adiacente, ventilato come richiesto, parché non sua una camera da letto o un ambiente pericoloso (conformmente alle norme locali in vigore; per l'Italia norme UNI-CIG 7129).
In quello case la porta della cucina deve consentire il passaggio dell'aria.
Nel caso in cui sopra l'apparecchiatura vi sia un pensile o cappa mantenere fra il top ed il suddetto pensile o cappa la distanza minima pari a 650 mm (vedi andere fig. 7.8).
SCARICO DEI PRODOTTI DELLA COMBUSTIONE
I prodotti della combustione dell'apparecchiatura a gas devono essere scaricatiattraverso cappe collegate direttamente all'esterno (fig. 7.8).
Quando ciò non è possibile si puo utilizzare un elettroventilatore, applicato alla parete esterna o alla finestra, avente una portata tale da garantire un ricambio orario di aria parl a 3-5 volte il volume del locale cucina (fig. 7.9).
Il ventilatore più essere installato soltanto se esistono le aperture per l'ingresso dell'aria come descripto nel capitolo "Locale di installmente" (conformmente alle norme locali in vigore; per l'Italia norme UNI-CIG 7129).


REQUISITI PER L'ALLACCIAMENTO GAS
Important!
Le pareti adiacenti all'apparecchio devono essere obbligatoriamente di materiale resistente al calore.
- Prima dell'installazione, assicurarsi che le condizioni locali di distribuzione (natura del gas e sua pressione) e la regolazione di quello apparecchio siano compatibili. Le condizioni di regolazione di quello apparecchio sono riportate sulla targhetta o sull'etichetta.
- L'apparecchio deve essere installato,esso in servizio e sottomonto a manutenzione solo da personale adeguatamente qualificato edabilitato. L'installatore devefare riferimento allenorme locali vigenti.
La mancata osservanza di queste condizioni provoca il decadere della garanzia.
L'apparecchio è tarato e predisisto per il funzionamento con GAS METANO (G20) oppure GAS BUTANO-PROPANO (G30/G31)(controllare l'etichetta di regolazione applicata sull'apparecchio).
- Apparecchi regolati per funzionare con GAS METANO: questi apparecchi sono regolati per funzionare solo con quello tipo di gas e non possono essere utilizzati per altri gas (GAS BUTANO-PROPANO) alla modifiche. Gli apparecchi sono idonei per la conversione per l'utilizzo con GAS BUTANO-PROPANO.
- Apparecchi regolati per funzionare con GAS BUTANO-PROPANO: dati apparecchi sono regolati per funzionare solo con quello tipo di gas e non possono essere utilizzati per altri gas (GAS METANO) nella modifiche. Gli apparecchi sono idonei per la conversione per l'utilizzo con GAS METANO.
Se il kit di conversione GAS METANO oppure GAS BUTANO-PROPANO non è fornito con l'apparecchio è reperibile presso i Centri Assistenza.
ALLACCIAMENTO ALL'ALIMENTAZIONE GAS
Il collegamento gas deve essere eseguito da un technician specializzato conformmente alle norme locali in vigore (per l'Italia norme UNI-CIG 7129.. e 7131).
Assicurare una adeguata ventilazione all'ambiente in cui viene installato l'apparecchio, in conformità alle norme locali vigenti.
- Collegare la cucine alla rete di alimentazione gas utilizzato tubi metallici rigidi oppure flessibili.
Il collegamento va eseguito sul retro della cucina (fig. 8.1a) utilizzando il terminale destro o sinistro del condotto gas dell'apparecchio; il tubo non deve atraversare la cucina.
Il terminale non utilizzato del condotto gas dell'apparecchio deve essere chiuso con il tappo interponendo la guarnizione di tenuta (fig. 8.1b).


Fissaggio del tappo nel raccordo del tubo di entrata non usato

(#) Già fissato nel terminale del condotto gas (destro o sinistro) dell'apparecchio
Fig. 8.1b
COLLEGAMENTO GAS CON TUBO IN GOMMA
Important!
L'allacciamento gas con tubo di gomma più essere effettuato solo se consentito nelle norme locali applicabili.
Il gruppo di raccordo (fig. 8.2) si compone di:
- il terminale del condotto gas dell'apparecchio (destro o sinistro);
guarnizione/i di tenuta; - il portagomma appropriato (per gas metano oppure gas butano/propano). Se non è fornito con l'apparecchio più essere acquistato presso i Centri Assistenza.
Allaccimento della cucina per GAS METANO
- Se non è gli installato, montare il portagomma per gas metano sul terminale del condotto gas dell'apparecchio interponendo la guarnizione di tenuta (come indicato in fig. 8.2).
- Allacciare la cucina alla rete gas utilizzato un tubo idoneo con diametro interno di 13 mm (per l'Italia conforme alle norme UNI-CIG 7140).
Il tubo deve essere conforme alle norme locali in vigore e deve essere del tipo appropriato per il tipo di gas da utilizzato.
- Assicurarsi che il tubo sia fissato saldamente alle due estremita.
- Fissare il tubo con idonee fascette stringitubo (non fornite)(per l'Italia conformi alle norme UNI-CIG 7141).
Allacciamento della cucina per GAS BUTANO/PROPANO
- Se non è gli installato, montare il portagomma per gas butano/propano sul terminale del condotto gas dell'apparecchio interponendo la guarnizione di tenuta (come indicate in fig. 8.2).
Important! Il portagomma per gas butano/propano è composto da portagomma per gas metano con riduzione per gas butano/propano avvitata nella parte terminale (interponendo l'esatta guarnizione di tenuta). - Allacciare la cucina alla rete gas utilizzato un tubo idoneo con diametro interno di 8 mm (per l'Italia conforme alle norme UNI-CIG 7140).
Il tubo deve essere conforme alle norme locali in vigore e deve essere del tipo appropriato per il tipo di gas da utilizzato. - Assicurarsi che il tubo sia fissato saldamente alle due estremita.
- Fissare il tubo con idonee fascette stringitubo (non fornite)(per l'Italia conformi alle norme UNI-CIG 7141).
- Installare un regolatore di pressione del gas.
Importante! Per garantire la conformità con le normative locali, un regolatore di pressione del gas (conformme alle norme locali vigenti) deve essere installato quando si collega la cucina ad una bombola di gas butano/propano.
Quando sicollege la cucina all'alimentazione gas con tubo in gomma, assicurarsi che
- il tubo sia il più corto possibile, alla strozzature o pieghe.
- il tubo non sia più lungo di 750 mm (ofare riferimento alle norme locali in vigore) e non possa entrare in contatto con spigoli vivi, angoli o parti mobili. Utilizzare un solo tubo in gomma, non collegare mai l'apparecchio con più di un tubo di gomma.
- il tubo non deve essere sottoposto a tensione, schiacciato, attorcigliato o troppo curvato, sua durante l'utilizzo dell'apparecchio che durante le operazioni di allacciamento o scollegamento.
- il tubo non venga in contatto con qualsiasi superficie che superi la temperatura di 70^ (o fare riferimento alle norme locali in vigore).
-
il tubo non sia esposto ad un calore eccessivo (es. esposizione diretta a camini, fatto con superfici calde).
-
il tubo possa essere facilmente ispezionabile per tutte la sua lunghezza per verificare lo stato di conservazione.
- il tubo sia sostituito alla data di scadenza (indicata sul tubo stesso) oppure se presenta segni di usura o di danneggiamento; a prescindere dallo stato di conservazione deve essere sostituito dopo un massimo di tre anni.
- l'utilizzatore sia stato informatato che il rubinetto della bombola del gas oppure il rubinetto di intercettazione del gas vicino all'apparecchio deve essere chiuso agli qualvolta l'apparecchio non è in uso.
- l'utilizzatore sia stato Informato che il tubo non deve essere esesto a prodotti per la pulizia (per evitare possibili corrosioni).
Dopo aver collegato la cucina all'alimentazione gas, assicurarsi che
- verificare che le connessioni siano perfettamente sigillate con una soluzione saponosa, ma mai una fiamma.
- verificare se gli iniettori sono corretti per il tipo di gas utilizzato. In caso contrario, seguire le istruzioni nella sezione "MANUTENZIONE PARTE GAS".
sopportire la/le guarnizione/i di tenuta al minimo segno di deformazione o imperfezione. Le guarnizioni sono gli elementi che garantiscono la tenuta delle connessioni gas (per l'Italia le guarnizioni di tenuta deve essere conformi alle norme UNI-CIG 9264). - utilizzato due chiavi per il fissaggio delle parti (fig. 8.2).
Collegamento gas con portagomma
Nota: se non è già montato sul terminale del condotto gas dell'apparecchio, il portagomma viene fornito con il prodotto in un kit separato.
Se non è fornito con l'apparecchio più essere acquistato presso i Centri Assistenza.

Gas Butano/Propano
Gas Metano
Fig. 8.2
COLLEGAMENTO GAS CON TUBO RIGIDO OPPURE FLESSIBLE
Il gruppo di raccordo (fig. 8.3) si compone di:
- il terminale del condotto gas dell'apparecchio (destro o sinistro);
guarnizione di tenuta.
Important!
Togliere il portagomma nel caso in cui sià già montato sul terminale del condotto gas dell'apparecchio.
Quando sicollege la cucina all'alimentazione gas con tubo rigido oppure flessibile, assicurarsi che
- il tubo rigido o flessibile sia conforme alle norme locali in vigore. Il tubo flessibile devese essere del tipo appropriato per il tipo di gas da utilizzato e le dimensioni devono essere idonee per supportare la portata nominale complessiva dell'apparecchio.
- solo per l'Italia: i tubi flessibili in acciaio inox a parete continua con attacchi filettati devono essere conformi alla norma UNI-CIG 9891 con estensione massima pari a 2000mm .
utilizzare due chiavi per il fissaggio delle parti (fig. 8.3). - il collegamento con tubi metallici rigidi non deve provocare sollecitazioni al tubo gas dell'apparecchio.
- il tubo flessibile non deve essere sottomosto a tensione, schiacciato, attorcigliato o troppo curvato, sua durante l'utilizzo dell'apparecchio che durante le operazioni di allacciamento o scollegamento.
- il tubo flessibile non deve superare la lunghezza di 2 metri (o fare riferimento alle norme locali in vigore) e non deve venire in contatto con spigoli vivi, angoli o parti mobili perché questo potrebbe causare abrasioni o rotture. Utilizzare sostanto un singolo tubo flessibile; non collegare mai l'apparecchio con due o più tubi giuntati.
- il tubo flessibile deve poter essere facilmente ispezionabile per tutte la sua lunghezza per verificare lo stato di conservazione; se ha una data di scadenza (indicata sul tubo stesso), deve essere sostituito prima di questa data.
- se si utilizes un tubo flessibile non completeness di metallo, assicurarsi che non venga in contatto con qualiasi superficie che superi la temperatura di 70^ (ofare riferimento alle norme locali in vigore).
- il tubo flessibile non delve essere esposto ad un calore eccessivo (es. esposizione diretta a camini, fatto con superfici calde).
- il tubo rigido o flessibile delve essere{sostituito quando alla segni di danneggiamento.
- il punto d'entrata del gas dove il tubo flessibile è connesso deve essere ben fisso e deve essere posizionato in modo da garantire che il tubo flessibile sia sospeso liberamente verso il basso.
- il punto d'entrata del gas dove il tubo flessibile è connesso delve essere facilemente accessibile dopo l'installazione per permettere la sconnaissance del tubo in caso di eventuali operazioni di manutenzione o per la rimozione dell'apparecchio.
- un regolatore di pressione del gas, conforme alle norme locali vigenti, deve essere installato quando si collega la cucina ad una bombola di gas butano/propano. Importante! Per garantire la conformità con le normative locali, un regolatore di pressione del gas (conformare alle norme locali vigenti) deve essere installato quando si collega la cucina ad una bombola di gas butano/propano.
-
l'utilizzatore sia stato Informatato che il rubinetto della bombola del gas oppure il rubinetto di intercettazione del gas vicino all'apparecchio deve essere chiuso agli qualvolta l'apparecchio non è in uso.
-
l'utilizzatore sia stato Informato che il tubo rigido oppure flessibile non deve essere esposto a prodotti per la pulizia (per evitare possibili corrosioni).
Dopo aver collegato la cucina all'alimentazione gas, assicurarsi che
- verificare che le connessioni siano perfettamente sigillate con una soluzione saponosa, ma mai una fiamma.
- verificare se gli iniettori sono corretti per il tipo di gas utilizzato. In caso contrario, seguire le istruzioni nella sezione "MANUTENZIONE PARTE GAS".
sostituire la/le guarnizione/i di tenuta al minimo segno di deformazione o imperfezione. Le guarnizioni sono gli elementi che garantiscono la tenuta delle connessioni gas (per l'Italia le guarnizioni di tenuta deve essere conformi alle norme UNI-CIG 9264). - utilizzato due chiavi per il fissaggio del tubo rigido oppure flessibile (fig. 8.3)

Collegamento gas con tubo rigido oppure flessible
Nota: togliere il portagomma se è già montato sul terminale del condotto gas dell'apparecchio.

Fig. 8.3
IT
Cat: II 2H3+
| BRUCIATORE | PORTATA NOMINALE [kW] | PORTATA RIDOTTA [kW] | GPL G30 28-30 mbar G31 37 mbar | Metano G20 20 mbar |
| Ø inietlore [1/100 mm] | Ø inietlore [1/100 mm] | |||
| Ausiliario (A) | 1,00 | 0,30 | 50 | 72 (X) |
| Semirapido (SR) | 1,75 | 0,45 | 65 | 97 (Z) |
| Tripla corona (TC) | 3,50 | 1,50 | 95 | 135 (T) |
| APPORTO D'ARIA NECCESSARIA PER LA COMBUSTIONE GAS = (2 m3/h x kW) | |
| BRUCIATORE | Apporto d'aria necessaria [m3/h] |
| Ausiliario (A) | 2,00 |
| Semirapido (SR) | 3,50 |
| Tripla corona (TC) | 7,00 |
LUBRIFICAZIONE DEI RUBINETTI GAS
Se un rubinetto si bloccasse, non forzare e chiedere l'intervento dell'Assistenza Tecnica.
IMPORTANT
Per tutte le operazioni di installatione, manutenzione e trasformazione per passare correttamente da un gas ad un'alto usare esclusivamente i pezzi di ricambio originali del costruttore.
La mancata osservanza di但这a norma provoca il decadere della garanzia.
SOSTITUZIONE DEGLI INIETTORI DEI BRUCIATORI DEL PIANO A GAS
Ogni cucina ha in dotazione una serie di iniettori per i vari tipi di gas.
Nel caso in cui non siano forniti a corredo sono reperibili presso i Centri Assistenza.
La scelta degli iniettori da sostituire dovrè essere fattà secondo la tabella iniettori.
Il diametro degli iniettori, espressoin centesimi di millimetro, è marchiato sul corpo di ciascuno di essi.
Per la sostituzione degli iniettori è necessario procedere nel modo seguente:
- Togliere griglie, coperchietti e spartiflamma dei brucitori.
- Con una chiave fissa sostituire gli ugelli "J" (fig. 8.4 - 8.5) con quelli idonei per il gas da utilizzato.
I bruciatori sono concepiti in modo da non richiedere la regolazione dell'aria primaria.
REGOLAZIONE DEL MINIMO DEI BRUCIATORI DEL PIANO
I rubinetti del piano di lavoro sono dotati di valvolatura di sicurezza; in questi rubinetti la vite di regolazione del minimo è situata all'esterno del rubinetto (fig. 8.7).
Nel passaggio da un tipo di gas ad un altro,anche la portata minima del rubinetto deve essere corretta,considerando che in questa posizione la fiamma deve ave una lunghezza di circa 4 mm e deve rinanere accesa anche con un brusco passaggio alla posizione di massimo a quella di minimo.
La correzione si effettua, a bruciatore acceso, nella seguente maniera:
- Portare la manopola in posizione di minimo.
- Sfilare la manopola del rubinetto e con un cacciavite a taglio agire sulla vite "F" (fig. 8.6) fino ad ottenera la fiamma desiderata.
N.B. Per il gas G30/G31 (GPL) la vite deve essere di norma avvitata a fondo.

Fig. 8.4

Fig. 8.5

Fig. 8.6
IMPORTANTE: L'installazione deve essere effettuata secondo le istruzioni del costruttore. Una errata installazione cui o cose, nei confronti dei quali il costruttore non sono essere considerato responsable.
GENERALITA
Il collegamento alla rete elettrica deve essere eseguito da personale qualificato e secondo le norme vigenti.
L'apparecchio deve essere collegato alla rete elettrica verificando innanzitutto che la tension correponda al valore indicato nella targhetta caratteristiche e che la sezione dei cavi dell'impianto elettrico possa sostortare, il carico indicate anch'esso nella targhetta.
La cucina viene fornita perché spina di alimentazione; pertanto, se non si effettua un collegamento diretto alla rete, si dovrà montare una spina normalizzata idonea al carico.
La spina deve essere allacciata ad una presa collegata all'impianto di terra in conformità alle norme di sicurezza.
- É possible effettuare il collegamento diretto alla rete interponendo tra l'apparecchio e la rete elettrica un interruptore onnipolare con aperture minima fra i contatti di 3 mm.
Il cavo di alimentazione non devete toccare parti calde e deve essere posizionato in modo da non superare in nessun punto la temperature di 75 ^ C
- Ad apparecchio installato, l'interruttore o la presa devono essere sempre accesibili.
N.B. Per il collegamento alla retenon usare adattatori, riduzioni o derivatori in quanto possono provocare surriscaldamenti o bruciature.
Nel caso che l'installazione dovesse richiedere delle modifiche all'impianto elettrico domestico o in caso di incompatibilità tra la presa e la spina dell'apparecchio, far intervenire per la sostituzione personale professionally qualificato.
Quest'ultimo, in particolare, dovr'anche accertare che la sezione dei cavi della presa sua idonea alla potenza assorbita dall'apparecchio.
É obblatorio il collegamento dell'apparecchio all'impianto di terra. La casa costrutrice declina agli responsabilità per qualsiasi inconvenientmente derivante alla mancata osservanza di但这a norma.
ALLACCIAMENTO DI UN NUOV CAVO DI ALIMENTAZIONE
ATTENTIONe: Se il cavo di alimentazione è danneggiato deve essere sostituito dal Servizio Assistenza per evitare pericoli.
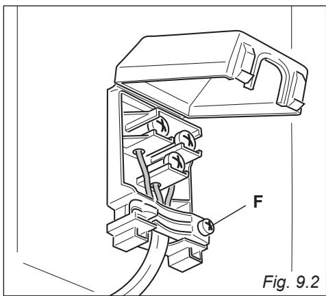
- Sganciare il coperchio della morsettiera inserendo un cacciavite nei due agganci "A" (fig. 9.1).
- Aprire il fissacavo svitando la vite "F" (fig. 9.2), svitare le viti dei morsetti e togliere il cavo.
- Infilare nel fissacavo il cavo di alimentazione di sezione adeguata come descripto nel prossimo capitolo.
- Fissare i cavi di fase, neutro ed il cavo di terra ai morsetti della morsettiera secondo lo schema elettrico di figura 9.3.
Tendere il cavo di alimentazione e bloccarlo con il fissacavo. - Chiudere il coperchio della morsettiera (verificare che i due agganci "A" siano correttamente agganciati).
IMPORTANT: Per allacciare il cavo di alimentazione NON svitare le viti che fissano la piastra della morsettiera.
Nota: Il conduttore di terra deve essere lasciato circa 3 cm più lungo degli altri.
SEZIONE DEL CAVO DI ALIMENTAZIONE TIPO “H05RR-F” oppure “H05V2V2-F” resistente alla temperatura di 90^
220-240 V ac
3 × 1,5 ~mm^2 (*)
(*) Allacciamento con spina oppure diretto alla rete.



La Casa Costruttrice non risponde delle possibili inesattezze, imputabili ad errorsi di stampa o trascrizione, continue nel presente libretto.
Si riserva il diritto, perché pregiudicare le caratteristiche essenziali di funzionalità e sicurezza, di apportare ai propri prodotti, in qualunque momento e ricerca preavviso, le eventuali modifiche opportune per qualsiasi esigenza di carattere costruttivo o commerciale.
www.delonghi-cookers.it
ManualeFacile