FI6861SPIXHA - Frigorifero da incasso HOTPOINT - Manuale utente e istruzioni gratuiti
Trova gratuitamente il manuale del dispositivo FI6861SPIXHA HOTPOINT in formato PDF.
Domande degli utenti su FI6861SPIXHA HOTPOINT
0 domanda su questo apparecchio. Rispondi a quelle che conosci o fai la tua.
Fai una nuova domanda su questo apparecchio
Scarica le istruzioni per il tuo Frigorifero da incasso in formato PDF gratuitamente! Trova il tuo manuale FI6861SPIXHA - HOTPOINT e riprendi in mano il tuo dispositivo elettronico. In questa pagina sono pubblicati tutti i documenti necessari per l'utilizzo del tuo dispositivo. FI6861SPIXHA del marchio HOTPOINT.
MANUALE UTENTE FI6861SPIXHA HOTPOINT
Istruzioni per l'uso e l'installazione
GB Mixed cooker
La ringraziamo per aver scelto un prodotto Ariston, sicuro e davvero facile da usare. Per conoscerlo, utilizzarlo al meglio e a lungo, le consiglio di leggere quello manuale. Grazie.
AVVERTENZE
QUESTE ISTRUZIONI SONO VALIDE SOLO PER I PAESI DI DESTINATIONE I CUI SIMBOLI FIGURANO SUL LIBRETTO E SULLA TARGA MATRICOLA DELL'APPARECCHIO.
- Questo appearecchio è stato concepito per essere utilizzato da privati per un uso di tipo non professionale all'interno di abitazione comune.
- Leggere attendamente le avventenze cont∉ne nel presente libretto istruzioni, in quanto fornisce con importanti indicazioni riguardanti la sicurezza di installatione, d'uso e di manutenzione. Conservare con cura quello libretto per agli eventuale consulţazione.
- Gli accessori delorno che possono venire a contatto con gli alimenti, sono costruiti con materiali conformi a quanto prescritto dalla Direttiva CEE 89/109 del 21-12-88 e dal D.L. 108 del 25-01-92.
- Dopo ave molto l'imballaggio assicurarsi dell'integrità dell'apparecchio. In caso di dubbio non utilizzato l'apparecchio e rivolgersi a personale professionalmente qualificato.
- Alcune parti sono coperte da una pellicola antigraffio asportabile. Prima diMETTERE in funzione l'apparecchio, la pellicola devese essere rimossa e la parte protetta va pulita con un panno e un prodotto non abrasivo per la pulizia domestica. Consigliamo, alla prima accensione, di riscaldare il forno vuoto per circa 30 minuti alla temperatura massima allo scopo di eliminare eventuali residui di lavorazione.
- É necessario che tutte le operazioni relative all'installazione e alla regolazione vengano eseguite da personale qualificato, secondo le norme in vigore. Le istruzioni specifiche sono descritte nella sezione riservata all'installatore.
- Prima di collegare l'apparecchio accertarsi che i dati sulla targhetta caratteristiche (su parte inferiore dell'apparecchio e su ultima pagina libretto) siano rispondenti a quelli della rete di distribuzione elettrica e gas.
- Durante le cotture al forno e al grill, l'apparecchiatura è sopposta ad un sensibile riscaldamento in corrispondenza del cristallo porta forno e parti adiacenti. Assicurarsi quindi che i bambini non si avvincino con l'intento di giocarvi.
- Verificare che la portata elettrica dell'impianto e delle prese di corrente siano adeguate alla potenza massima dell'apparecchio individata sulla targhetta. In caso di dubbio rivolgersi ad una persona professionalmente qualificata.
- Verificare periodicamente il buono stato del tubo di collegamento gas e farlo sostituire da personale qualificato non appena presente quale anomalia.
-
Il cavo di alimentazione ed il tubo di collegamento gas di quello apparecchio non devono essere sostituiti dall'utente. In caso di danneggiamento e di eventuale sostituzione rivolgersi esclusivamente ad un centro di assistenza tecnica autorizzato.
-
Non lasciare l'apparecchio inutilmente inserto. Spagnere l'interruttore generale dell'apparecchio quando lo stesso non è utilizzato e chiudere il rubinetto del gas.
- I bruciatori e le griglie rimangono caldi per lungo tempo dopo l'uso. Fare attenzione a non toccarli.
- Sui bruciatori non devono essere poste pentole instabili o deformate onde evitare incidenti per rovesciamento.
- Non utilizzato liquidi infiammabili in vicinanza dell'apparecchio quando è in uso.
- Se la cucina è posta su un piedistallo, si devono prendere misure per evitare che l'apparecchio scivoli dal piedistallo.
- Se l'apparecchio monta un coperchio, eventuali liquidi tracimati sopra diesso dovrebbero essere rimossi.
- Se presente, non chiudere il coperchio se gli elementi del piano sono ancora caldi.
- Non utilizzato machine a vapore per la pulizia dell'apparecchio

Dismissione degli elettrodomestici
La direttiva Europea 2002/96/CE sui rifiuti di apparecchiature elettriche ed elettroniche (RAEE), prevede che gli elettrodomestici non debbano essere smaltiti nel normale flusso dei rifiuti solidi urbani. Gli apparecchi dismessi devono essere raccolti separatamente per ottimizzare il tasso di recupero e riciclaggio dei materiali che li compongono ed impedire potenziali danni per la salute e l'ambiente. Il symbolo del cestino barrato è riportato su tutti i prodotti per ricordare gli obblighi di raccolta separata.
Per ulteriori informazioni, sulla corretta dismissione degli elettrodomestici, i detentori potranno rivolgersi al servizio pubblico preposto o ai rivenditori.

CP 058 MT.2

CP 059 MT.2 - CP 859 MT.2

CP 057 GT - CP 857 GT

CP 059 MD.2


fig.1
A Bruciatore gas ausiliario
B Bruciatore gas semirapido
C Bruciatore gas rapido
D Bruciatore gas tripla corona
E Candela di accensione dei brucitori gas
I Bruciatore gas DC-DR
F Dispositivo di sicurezza - Interviewe in caso di spegnimento accidentale della fiamma (trabocco di liquidi, correnti d'aria, ...) bloccando l'erogazione del gas al bruciatore.
G Manopola commutatore del forno elettrico (selettore funzioni di cottura)
H Manopola termostato del forno elettrico (selezione temperature)
M Manopole di lavoro dei bruciatori
R Griglie di supporto per recipienti di cottura
P Timer
S Lampada spia funzionamento di un elemento riscal-dante elettrico
T Contaminuti
U Temporizzatore
V Manopola termostato del forno gas (selettore funzione forno gas con regolazione temperature e grill elettrico)
Z Pulsante accensione/lampada forno gas
Brucitori gas
Sul pannello comandi, intorno ad agli manopola "M" oppure sulle manopole stesse, sono indicati i symboli: Rubinetto
Chiuso
Aperture massima

Aperture minima

Inoltre, nelle vicinanze delle manopole i symboli indicano la posizione sul piano del bruciatore relativivo.
I bruciatori sono dotati di sicurezza contro fughe di gas a termocoppia. Questo dispositivo provvede a bloccare l'uscita del gas nel caso che la fiamma del bruciatore si spenga durante il funzionamento.
Per accendere uno dei brucitori procedere come segue:
- ruotare la manopola corrispondente in senso antiorario fino al symbolo della fiamma grande;
- premere la manopola a fondo per azionare l'accensione automatica del gas;
- mantenere la manopola premuta per circa 6 secondi con la fiamma accesa per consentire il riscaldamento della termocoppia di sicurezza;
- rilasciare la manopola, verificando che l'accensione sia avvenuta in modo stabile. In caso contrario, ripetere l'operazione.
Per avere la potenza minima ruotare la manopola verso il symbolo della fiamma piccola. Sono possibili regolazioni intermedié, posizionando la manopola tra il symbolo di fiamma grande e quello della fiamma piccola.
Important:
- Non azionare il disposativo di accensione automatica per più di 15 secondi consecutivi.
- In alcuni casi la difficoltà di accensione è dovuta ad eventuale aria che può trovarsi all'interno del condotto del gas.
- Nel caso di uno spegnimento accidentale della fiamma dei brucitori, il gas continua ad uscire per quale istante prima che intervenga il dispositivo di sicurezza. Chiudere la manopola di lavoro e non ritentare l'accensione per almeno 1 minuto, lasciandoosi dileguare il gas uscito che può essere pericoloso.
- Quando l'apparecchiatura non è in funzione controllare che le manopole siano in posizione di chiuso " ●". Si consiglia inoltre di chiudere il rubinetto principale del condotto di alimentazione del gas.
Consigli pratici per l'uso dei brucitori
Per ottener dai brucitori il massimo rendimento si consiglia adoperare solo pentole di diametro adatto al bruciatore utilizzato, evitando che la fiamma furiesca dal fondo della pentola (vedi tabella segunte).
Inoltre, quando un liquido inizia a bolire, si consiglia di ridurre la fiamma quanto basta per mantenere l'ebollizione.
Il piano di cottura è dotato di griglie di riduzione, le quali vanno usate solo sul bruciatore ausiliario "A"(fig.1a) e sul DC-DR (interno)"I"(fig.1b).
| Brucitori | Ø Diametro dei recipienti (cm.) |
| A. Ausiliarie | 6 – 14 |
| B. Semi-rapido | 15 – 20 |
| C. Rapido | 21 – 26 |
| D. Tripla corona | 24 - 26 |
| I. DC-DR (interno) | 10 - 14 |
| I. DC-DR (esterno) | 24 - 28 |

fig.1a

fig.1b
Il bruciatore a "doppie fiamme independenti"
Questo bruciatore a gas è formato da due fuochi concentrici, che possono funzionare insieme o in modo indipendente. L'utilizzo contemporaneo al massimo consente un'elevata potenza che riduce i tempi di cottura rispetto ai bruciatori tradizionali. La dopbia corona di fiamma, inoltre, rende più uniforme la distribuzione di calore sul fondo della pentola, in particolare utilizzato entrambi i bruciatori al minimo. Posso sono essere usati contentitori di tutte le dimensioni, in quello caso per piccoli recipienti accendete il solo bruciatore interno. Ogni singola corona che compone il bruciatore a "doppie fiamme indipendenti" ha una sua manopola di lavoro:
la manopola individuata dal symbolo controlla la corona interna.
la manopola individuata dal symbolo controllinga corona esterna;
Per accendere la corona desiderata premere a fondo e ruotare in senso antiorario fino alla posizione di massimo la manopola corrispondente. Il bruciatore è dotato di accensione elettronica che entra in funzione automaticamente premen do la manopola.
Perutilizzare al meglio il bruciatore a doppia fiamma, non regolare mai contemporaneamente la corona interna al minimo e quella esterna al massimo.
Poichè il bruciatore è dotato di dispositivo di sicurezza "F", è necessario mantenere premuta la manopola per circa 6 secondi finché non si scalda il dispositivo che mantiene automaticamente accesa la fiamma.
Per spegnere il bruciatore occorre ruotare la manopola in senso orario fino all'arresto (correspondente al significolo " ●").
Al fine di ottenere il massimo rendimento è utile ricordare quando segue: Sui bruciatori possono essere utilizzati tutti i tipi di casseruole. L'importante è che il fondo sia perfettamente piano.



Il bruciatore forno è munito di sicurezza a termocoppia. Questo dispositivo permette di bloccare automaticamente l'uscita del gas dal bruciatore in pochi secondi nel caso che la fiamma si spenga accidentally.
Accensione del bruciatore forno
- Aprire la porta del forno;
- premere e ruotare la manopola del termostato "V" (con il significando su massimo; tenerla premuta a fondo.

Nel caso di mancanza dell'energia elettrica avvincare un fiammifero al foro centrale posto sul fondo delorno come indicato in fig.3;
- mantenere la manopola premuta per 10 secondi circa;
- rilasciare la manopola verificando che l'accensione sia avvenuta in modo stabile e Maintainere la porta aperta per circa 30-40 secondi;
- richiudere dolcamente la porta delorno per evitare che la fiamma si spenga;
- attendere circa 10-12 minuti prima di insertire i cibi da cuocere nel forno, al fine di ottenere un opportuno preriscaldamento;
- impostare la temperature richiesta per la cottura regolando la manopola del termostato nelle posizioni da 1 a 8 in funzione della segunte tabella:
| Posizione manopola | 1 | 2 | 3 | 4 | 5 | 6 | 7 | 8 |
| Temperatura °C | 120 | 130 | 155 | 170 | 195 | 215 | 235 | 255 |
Importante: nel caso di uno spagnimento occidentale della fiamma del bruciatore, il gas continua ad uscire per quale istante prima che intervenga il dispositivo di sicurezza. Chiudere la manopola di lavoro e non ritentare l'accensione per almeno 1 minuto, lasciando così dileguare il gas uscito che può essere pericoloso.
Funzionamento del grill elettrico
Per effettuare cotture al grill ruotare la manopola di commando del forno in senso orario sulla posizione 一 ;你也 fatto si accenderàanche la lampada spia "S".
Durante la cottura al grill si raccomanda di lasciare la porta delorno aperta e di applicare lo schermo di protezione manopole come indicato in figura 4.

fig.4
ATTENZIONE: quando il grill è in funzione, le parti accessibili sono diventare molto calde. è opportuno tenere i bambini a distanza.
Illuminazione forno
Per accendere la lampada del forno a gas premere il tasto "Z" con il significolo
Contaminuti "T"
E' un segnalatore acustico a tempo situato sul frontale,atto alla segnalazione di un tempo di 60 minuti max. Ruotando la manopola con il symbolo si fa coincidere l'indice con il tempo prescelto. Allo scadere del tempo stabilito entra in azione una suoneria (non si interrompe il funzionamento del forno). Si consiglia di ruotare la manopola di un giro completo prima di riportarla sul tempo prescelto,anche se questo è inferiore ai 60 minuti.
Spiedo - Girarrosto
Questo accessorio è da utilizzato esclusivamente per cottaure al grill. Procedere come segue: infrilare la carne da cuocere nell'asta trasversale, nel senso della sua lunghezza, bloccandola con le apposite forchette regolabili (fig.5a). Introduire i supporti “A” e “B” (fig.5b) nei fori predisisti sulla leccarda “E”, appoggiare la gola dell'asta sulla sede “C” e infrilare la griglia nella prima guida più bassa del forno; infrilare ora l'asta nel foro del girarrosto, portando in avanti la gola nella sede “D”. Azionare grill e girarrosto ruotando la manopola “G” del termostato nella posizione con symbolo .

fig.5a

fig.5b
Il fornò offre nove combinazioni diverse delle resistenze elettriche riscaldanti; scegliendo quella più indicata per il piatto da cuocere si otterranno risultati molto precisi.
Ruotando la manopola del selettore "G" contrassegnata con il symbolo si ottengono diverse funzioni di cottura come indicate nella tabella di lato. Dop o aver selezionato la funzione di cottura, posizionare la manopola del termostato "H" con il symbolo c sulla temperatura desiderata.
- Per cotture tradizzionali in modo convenzionale (arrosti, biscotti, ecc.) utilizzato la funzione (caldo sopra+sotto). Introduire i cibi da cuocere nel forno solo quando questo ha raggiunto la temperature selezionata ed utilizzato preferibilmente un solo ripiano per la cottura.
| Simbolo | Funzione | Potenza |
| 0 | 0) Spento | - |
| - | 1) Luce forno | 50 W |
| - | 2) Resistenze superiore + inferiore | 2350 W |
| - | 3) Resistenza inferiore | 1300 W |
| - | 4) Resistenza minigrill | 1050 W |
| - | 5) Resistenza grill | 2000 W |
| - | 6) Resistenze grill + ventilatore | 2050 W |
| - | 7) Resistenze inferiore + superiore + ventilatore | 2400 W |
| - | 8) Resistenza circolare + ventilatore | 2850 W |
| - | 9) Scongelamento rapido | 50 W |
Desiderando avere il riscaldamento soltanto nella parte inferiore o in quella superiore delle pietanze, portare il selettore sulla posizione (caldo sotto), oppure (caldo sopra).
- Con la funzione (caldo sopra e sotto+ ventilazione) si combina una cottura di tipo tradizione ( caldo sotto e SOPRA) con la ventilazione.
- Con la funzione (ventilato) la cottura avviene mediate aria preriscaldata da una resistenza e fattacircolare all'interno del forno da un ventilatore. Il riscaldamento del forno è molto rapido, pertanto i cibi da cuocere possono essere introdotti nel fornoanche al momento dell'accensione. Inoltre, è possibile la cottura anchesu due ripiani contemporaneamente.
- La funzione "scongelamento rapido" avviene senza elementi riscaldanti, utilizzato solo la lampada forn o la ventilazione.
- La cottura al grill utilizza una potenza riscaldante elevata, la quale permette una immediata rosolatura superficieale dei cibi; è particolaremente indicata nel caso delle carni, le quali devono restare tenere all'interno.Per effettuare cotture al grill ruotare la manopola del selettore "G" su una di queste posizioni (grill) (grill + ventilatore).
Durante il funzionamento del grill, è necessario man-
tenere la porta delorno chiusa. Inoltre, posizionare la manopola del termostato non及其他 200^ (anche nella funzione minigrill).
Illuminazione forno
L'illuminazione all'interno del forno si ottiene automaticamente ruotando la manopola del selettore su una qualsiasi delle sue posizioni.
Lampada spia "S"
Indica la fase di riscaldamento del forno; il suo spegnimento segnala il raggiungimento all'interno del forno della temperatura impostata con la manopola.
A dato punto l'alternativo accendersi e spegnersi di que sta spia indica che il termostato sta lavorando correttamente per mantenere costante la temperature delorno.
Temporalizzatore "U"
(mod. CP 058 MT.2 - CP 058 MT.2 B)
Funzionamento manuale
Ruotarela manopola del temporizzatore con il significolo
in senso antiorario posizionando l'indice sul symbolo (manuale). Procedere all'accensione del forno agli agendo sulla manopola del selettore e impostare la temperatura desiderata ruotando la manopola del termostato. Lo spegnimento del forno si ottiene riportando la manopola del temporizzatore sulla posizione iniziale "O".
Funzionamento con programmazione dei tempi di cottura Per utilizzare il contaminuti occorre caricare la suoneria ruotando la manopola "U"di un giro quasi completing in senso orario; quindi, tornando indietro ,impostare il tempo desiderato facendo coincidere con il riferimento fisso del frontalino il numero correspondente ai minuti prefissati. Procedere all'accensione del forno agenda sulla manopola del selettore e impostare la temperature desiderata ruotando la manopola del termostato. Trascorso il tempo prestabilito entra in funzione un avvisatore acustico e, contemporaneamente, siavrà lo spegnimento del forno. Ultimata la cottura, riportare le manopole in posizione iniziale "O".
Ventilazione di raffreddamento
(CP 059 MD.2 - CP 059 MD.3 (X) F)
Al fine di ottenere una riduzione delle temperature esterne, alcuni modelli sono dotati di una ventola di raffreddamento che entra in funzione ruotando la manopola di selezione dei programmi "G". Durante la cottura è sempre accesa ed è possibile sentire un getto d'aria che esce tra frontalino e porta forno.
(CP 059 MD.2)
In questi modelli la ventilazione di raffreddamento si attiva solo a forno caldo.
Dopo aver estratto i cibi dal forno si consiglia di lasciare per quale istante la porta semi aperta:osi facendo si diminuirà notevolmente la durata del ciclo di raffreddamento. Il processo è controllato da un termostato supplementare e può avvenire in uno o più cici.
Consente di programmare ilorno o il grill nei funzionamenti:
- inizio cottura ritardato con durata stabilita;
- inizio immediato con durata stabilita;
contaminuti.
Funzione dei tasti :
: contaminuti ore, minuti
: durata cottura
: fine cottura
: commutazione manuale
: impostazione tempi indietro
+ : impostazione tempi avanti
Come rimettere I'orologio digitale
Dopo l'allacciameto alla rete o dopo una mancanza di corrente il display lampeggia su: 0.00
- Premere contemporaneamente i tasti e successivamente (entro 4 secondi) con i tasti + impostare l'ora esatta.
Con il tasting + il tempo aumenta.
Con il tasto - il tempo diminuisce.
Eventuali aggiornamenti dell'ora possono essere effettuali in due modi:
- Ripetere totalmente le fasi sopra descripte
- Pigiare il tasting e successivement con i tasti - e + aggiornare l'ora.
Funzionamento manuale del forno
Dopo aver impostato l'ora, il programmatore va automaticamente in posizione manuale.
Nota: Pigiare il tasting per ripristinare il funzionamento manuale dopo agli cottura "Automatica".
Inizio cottura ridardato con durata stabilita
Va impostata la durata della cottura e l'ora di fine cottura.
Supponiamo che il display indichi le ore 10,00
- Ruotare le manopole di lavoro delorno sulla funzione e sulla temperatura desiderata (esempio: fornostatico, 200^ )
- Premere il tasto e successivamente (entro 4 secondi) con i tasti - e + impostare la durata desiderata. Supponiamo di impostare una cottura di 30 minuti; compare:
U·3 U
Rilasciendo il tasto, dopo 4 secondi, ricompare l'ora corrente con il symbolo e la scritta auto
3. Premere il tasting e successivement premere i tasti -e + fino ad impostare l'ora di fine cottura desiderata, supponiamo le 13,00
13·00
4. Rilasciando il tasto sul display dopo 4 secondi compare l'ora corrente:
10·00
La scritta auto accesa ricorda l'avvenuta programmazione
di durata e di fine cottura nella funzione automatica. A quello punto il fornso si accende automaticamente alle ore 12,30 in modo da terminare dopo 30 minuti. Quando il fornò è accesso compare la pentolina accesa per tutte la durata della cottura. In qualsiasi momento premendo il tasto è possibile visualizzare la durata impostata, premendo il tasto si visualizza l'ora di fine cottura.
A fine cottura suona il segnale acustico; per interromperlo premere un taste qualsiasi ad eccezione dei tasti = e + .
Inizio immediato con durata stabilita
Programmando solo la durata (punti 1 e 2 del paragrafo "Inizio cottura ridardato con durata stabilita") si ha l'inizio di cottura immediato.
Per annullare una cottura più programmata
Pigiare il tasto e con il tasto - riportare il tempo a

e quindi pigiare il tasto di funzionamento manuale
Funzione contaminuti
Nel funzionamento contaminuti viene impostato un tempo dal quale comincia unconto alla rovescia. Questa funzione non controlling l'accensione e lo spegnimento del forno, emete solamente un allarme acustico a tempo scaduto.
Premere il tasto compare:

Quindi con i tasti - e + impostare il tempo desiderato.
Rilasciendo il tasto il tempo parte esattamente al minuto.
secondo, nel display compare l'ora corrente.

A fine tempo viene emesso un segnale acustico che può essere arrestato premendo un tasto qualsiasi (escludi i tasti - e +) ed il symbolo si spegne.
Correzione cancellazione dei dati
- I dati impostati possono essereambiati in qualsiasi momento, premendo il tasting correspondente e premendo il tasting - o +.
- Cancellando la durata di cottura si ha la cancellazione automaticaanche della fine del funzionamento e viceversa.
- Nel caso di funzionamento programmatico, l'apparecchio non accetta tempi di fine cottura antecedenti a quelli di inizio cottura proposti dall'apparecchio stesso.
Regolazione volume segnale acustico
Dopo ave scelto e confirmato le impostazioni dell'orologio,tramite il tasto - è possibile regolare il volume del segnale acustico d'allarme.
Importante: L'apparecchiatura deve essere disinserita elettricamente prima di iniziare la pulizia.
Per una lunga durata dell'apparecchiatura è indispensable eseguire frequentlymente una accurata pulizia generale, osservando le seguenti istruzioni.
Interno della porta del forno:
Effettuare la pulizia della superficie utilizzato un panno inumidito con acqua calda e detergente liquido non abrasivo, poi risciacuire ed asciugare accuramente.
Interno del forno: (solo su alcuni modelli)
- L'interno del forno é rivestito con uno speciale smalto microporoso autopulente il quale, ad una normale tempera-tura di cottura compresa tra i 200 e 300^ , ossida ed elimina complemente tutti gli schizzi di grasso o altre sostanze che inevitabilmente vanno ad intaccare le pareti interne. L'operazione di pulizia risultataosi extremamente ridotta: é infatti sufficiente passare regolarmente,喙 agli cottura, le superfici del forno con un panno umido per togliere il sottilissimo strato di polvere che può esservisi depositato durante la cottura, onde conservare intatta la proprietà autopulente del forno.
- In casi di cottura nei quali si siano verificati traboccamenti di liquidi oppure lo sporco non sia stato eliminato completeness (ad esempio cottura al grill nella quale non si raggiungono temperature sufficienti per una completa azione dello smalto autopulente), è consigliabile far funzionare il forno a vuoto alla massima temperatura affinché tutti i residi di sostanze grasse o altri vengano eliminati.
- Se dopo numerousi utilizzii si riscontrassero delle traccce evidenti di sporco depositate sulle pareti autopulenti, probabilitmente dovute all'inosservanza delle norme di manutenzione sopracitate, effettuare una accurata pulizia delle superfici con acqua calda ed un panno morbido (non utilizzato alcun tipo di prodotto detergente), poi risciacquare ed asciugare accuramente.
- Non togliere eventuali incrostazioni utilizzando oggetti appuntiti che potrebbero graffiare il rivestimento autopulente.
- Se le superfici autopulenti all'interno del forno vengono danneggiate o rese inutilizzabili, per dimenticata o errata manutenzione o dopo numerousi anni di utilizzato, è possibile richiedere un kit di pannelli autopulenti per rivestire l'interno del forno. Per ordinari rivolgersi ai nostri Centri Assistenza autorizzati.
Esterno delorno:
- Eseguire la pulizia sostanto quando il forno è freddo.
- Le parti in acciaio e soprattutto le zone con i simboli serigrafati non devono essere pulite con diluenti o detersvi abrasivi; utilizzare preferibilmente solo un panno inumidito con acqua tiepida e detersivo liquido per piatti. L'acciaio inox può rinanere macchiato se rimane a contatto per lungo tempo con acqua fortemente calcarea o con detergenti aggressivi (continenti fosforo).
Pertanto è sempre necessario sciacquare abbondamente ed asciugare accuratamente la superficie dopo la pulizia.
Importante: la pulizia deve essere eseguita in senso orizzontale, come il senso della satinatura dell'acciaio.
- Dopo la pulizia si possono eseguire eventuali trattamenti per risaltare la lucentezza della superficie: utilizzato esclusivamente prodotti specifici per l'acciaio inox.
Importante: non utilizzare polveri abrasive, detergenti aggressivi o sostanze acide per la pulizia.
Piano di cottura:
- Gli elementi mobili dei brucitori del piano di cottura vanno lavati frequentemente con acqua calda e detersivo avendo cura di eliminare le eventuali incrostazioni. Controllare che le fissure di uscita del gas non siano otturate. Asciugarli accuratamente prima di riutilizzarli.
- Eseguire frequentlymente la pulizia della parte terminale delle candelette di accensione automatica del piano di cottura e del forno a gas.
Ingrassaggio dei rubinetti
Con il tempo più verificarsi il caso di un rubinetto che si blocchi o presenti difficoltà nella rotazione, pertanto sare necessario provvedere alla pulizia interna e alla sostituzione del grasso. Questa operazione deve essere effettuata da un technique autorizzato dal costruttore.

FIGURA 6

FIGURA 7
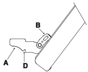
Smontaggio/montaggio della porta del forno
Per facilitare la pulizia all'interno del forno è possibile togliere la porta del forno, procedendo nel seguente modo (fig.6-7):
- Aprière complètement la porta e alzare le 2 levette "B" (fig.6);
- Ora, chiudendo parzialmente la porta, è possibile solleverla extraendo i ganci "A" come indicato in figura 7.
Per rimontare la porta:
- Con la porta in posizione verticale, inseire i 2 ganci "A" nelle feritoie;
- Assicurarsi che la sede "D" sia agganciata perfettamente al bordo della feritoia (muovero leggermente la porta avanti ed indietro);
- Tenere la porta completamente aperta, sganciare le 2 levette "B" verso il basso, quando chiudere la porta.
Sostituzione lampada forno
Assicurarsi che l'apparecchiatura non sia collegata elettricamente.
Dall'interno del forno svitare la calotta di protezione in vetro svitare la lampada e sostituirla con un'altra uguale, idonea per le alto temperature (300^) e con le seguenti caratteristiche:
- Tensione 230 V
- Potenza 15 W
- Attacco E 14.

I tempi di cottura possono variare secondo la natura dei cibi, la loro omogeneità e il loro volume. Alla prima cottura, scegliere pertanto i valori del tempo di cottura più bassi tra quelli indicati e successivement augmentarli se necessario.
Cottura al FORNO STATICO
Cottura al GRILL
| Tipo di pietanza | Temperatura °C | Tempo di cottura (minuti) | Tipo di pietanza | Temperatura °C | Tempo di cottura |
| Pasticceria | Carni | ||||
| Torta di frutta | 130 | 60-70 | Tacchino (4-8 kg.) | 160 | 3-4½ |
| Meringhe | 130 | 30-40 | Oca (4-5 kg.) | 160 | 4-4½ |
| Pan di Spagna | 150 | 20-30 | Anatra (2-4 kg.) | 170 | 1½-2½ |
| Torta dell'Angelo | 160 | 40-50 | Cappone (2½-3 kg.) | 170 | 2-2½ |
| Torta margherita | 160 | 40-50 | Bue brasato (1-1½ kg.) | 160 | 3-3½ |
| Torta al cioccolato | 170 | 30-40 | Cosciotto di agnello | 160 | 1-1½ |
| Focaccia | 170 | 40-50 | Lepre arrosto (2 kg.) | 160 | 1-1½ |
| Bignè | 200 | 15-20 | Fagiano arrosto | 160 | 1-1½ |
| Biscotti di sfoglia | 200 | 15-20 | Pollo (1-1½ kg.) | 170 | 1-1½ |
| Millefoglie | 200 | 15-20 | |||
| Pasta frolla | 200 | 15-20 | Pesce | 200 | 15-25 minuti |
| Tipo di pietanza | Tempo di cottura (minuti) | Posizione della griglia |
| Braciale (0.5 kg.) | 60 | 3a guida |
| Salsiccie | 15 | 2a guida |
| Pollo alla griglia (1 kg) | 60 | 1a guida |
| Arrosto di vitello allo spiedo(0.6 kg.) | 60 | - |
| Pollo allo spiedo (1 kg.) | 60 | - |
La 1^a guida è quella in posizione più Bassa.
Cottura al FORNO VENTILATO
| Tipodi di pietanza | N. guidadal basso | Quantitàkg. | Temperatura°C | Tempominuti |
| Dolci* Con impasto sbattuto in stamo* Con impasto sbattuto alla stamoPasta frolla fondo tortaPasta frolla con ripiano umidoPasta frolla con ripiano secco* Con impasto a lievitazione naturalePiccoli dolci | 1-31-3-41-3-41-3-41-3-41-3-4 | 11-3-40.51.51175117511751175 | 175175175175175160 | 60503070455030 |
| CarneArrosticotti su grigliaVitelloManzoRoast beef all'ingleseMaialePolloArrosticotti su tegliaVitelloManzoMaialePolloTacchino in tranciAnatraStracottiStracotto di manzoStracotto di vitello | 222222222 | 1111111111111 | 1801802202180200 | 6070507070 |
| Pescifletti, bistecche, merluazzo, nasellosogliolaSgombro, rombo, salmoniOstriche | 1-31.31-3 | 11-1.5111111 | 160160160180180180 | 80909090120120 |
| SfornatiSfornato di pastascuttaSfornato di verdura*Soufflèes dolci e salati* Pizza e calzoneToast | 1-31-31-31-3-41-3-4 | 11-1.51.51.51.51.5 | 180180180180 | 304520 |
| ScongelamentoPiatti prontiCarneCarneCarne | 1-31-31-31-3 | 10.50.751.5 | 200505050 | 455070110 |
Note:
1) Le cotture sono intese perché preriscaldamento del forno ad eccezione di quale contrassegnate con l'asterisco.
2) L'indicazione per l'uso dei gradini data nella tabella è quella preferenziale nel caso di cottura su più livelli.
3) I tempi dati si riferiscono alla cottura su un solo ripiano, per più livelli augmentare i tempi di 5 ÷ 10 minuti.
4) Per gli arrosti di carne di manzo, vitello, maiale e tacchino con osso o arrotolati aumento i tempi di 20 minuti.
Le istruzioni che seguono sono rivolte all'infallatore qualificato affinché compia le operazioni di installazione, regolazione e manutenzione technique nel modo più corretto e secondo le norme in vigore.
Importante: qualsiasi intervento di regolazione, manutenzione, ecc. delve essere eseguito con l'apparecchia-tura elettricamente disinserita. Qualora sia necessario mantenerla collegata elettricamente, si dovranno prendere le massime precauzioni. Le cucine hanno le seguenti caratteristiche tecniche:
- Cat. II2H3+

Classe 1

Classe 2 sottoclasse 1
Le dimensioni di massima della cucina sono indicate nella figura a pagna 2. Per un buon funzionamento dell'apparecchiatura installata nei mobili, devono essere rispetto le distance minime indicate in fig.8. Inoltre, le superfici adia-centi e la parete posteriore devono essere idonee per resistere ad una sovrattemperatura di 65^ .

fig.8

fig.9
Prima di installare la cucina è necessario fissare i piedini di supporto alto 95 ÷ 155 mm in dotazione nei fori predisposti nella parte inferiore della cucina (fig.9). Tali piedini sono regolabili a vite, quindi permettono di eseguire il livellamento della cucina quando è necessario.
Posizionamento
Questa apparecchiatura più essere installata e funzionare solo in locali permanentemente ventilati secondo le prescrizioni delle norme UNI-CIG 7129 e 7131 in vigore.
Devono essere osservati i seguenti requisiti:
- L'apparecchio deve scaricare i prodotti della combustione in una apposita cappa, che deve essere collegata ad un camino, canna fumaria o direttamente all'esterno (fig.10).
- Se non è possibile l'applicazione di una cappa, è permesso l'uso di un elettroventilatore, installato su finestra o su parete affacciate all'esterno, da mettere in funzione contemporaneamente all'apparecchio.

fig.10
In camino in canna fumaria ramificata (riservata agli apparecchi di cottura)

Direttamente all'esterno
Ventilazione ambiente cucina
É necessario che nell'ambiente dove viene installato l'apparecchio possa affliure una quantità di aria pari a quanta ne viene richiesta dalla regolare combustione del gas e dalla ventilazione dell'ambiente. L'afflusso naturale dell'aria deve avvenireattraversoaperture permanenti praticate su pareti del locale che danno verso l'esterno, oppure da condotti di ventilazione singoli o collettivi ramificati conformi alla norma UNI-CIG 7129. L'aria deve essere prelevata direttamente dall'esterno, lontana da fonti di inquinamento. L'apertura di aerazione dovrà averé le seguenti caratteristiche (fig.11A):
- ave una sezione libera totale netta di passaggio di almeno 6cm^2 per agli kW di portata termica nominale dell'apparecchio, con un minimo di 100cm^2 (la portata termica è rilevabile nella targhetto segnaletica);
- essere realizzata in modo che le bocche di aperture, sia all'interno che all'esterno della parete, non possano venire ostruite;
- essere protette ad esempio con griglie, reti metalliche, ecc. in modo da non ridurre la sezione utile suindicata;
- essere situate ad una altezza prossima al livello del pavimento.

fig. 11A
fig.11B
L'afflusso dell'aria può essere ottenutoanche da un locale adiacente perché questo locale non sia una camera da fatto o un ambiente con pericolò di incendio quali rimosse, garage, magazzini di materiale combustibile, ecc., e che si ventilato in conformità alla norma UNI-CIG 7129. Il flusso dell'aria dal locale adiacente a quello da ventilare deve avvenire liberamenteattraversoaperture permanenti,di sezione non minore di那一 della suindicata. Tali aperture potrannoanche essere ricavate maggiorando la fessura tra porta e pavimento (fig.11B).Se per l'évacuatione dei prodotti della combustione viene usato un elettroventilatore,l'apertura di ventilazione
dovr è essere augmentata in funzione della massima portata d'aria dello stesso. L'elettroventilatore dovr è avere una portata sufficiente a garantire un ricambio orario di aria pari a 3 ÷ 5 volte il volume del locale. Un utilizzo intensivo e prolongato dell'apparecchio può necessitarre di un'aerazione supplementare, per esempio l'apertura di una finestra o un'aerazione più efficaceimentando la potenza di aspirazione dell'elettroventilatore se"This esiste. I gas di petrólio liquefatti, più pesanti dell'aria, ristagnano verso il basso. Quindi i locali contententi bombole di GPL devono averere delle aperture verso l'esterno al livello del pavimento, cosi da permettere l'evacuatione dal basso delle eventuali fughe di gas. Inoltre non depositare bombole di GPL (anche vuote) in locali a livello più basso del suolo; è opportuno tenere nel locale solo la bombola inutilizzato, collegata lontana da sorgenti di calore che possano portarla ad una temperatura superiore a 50^ C .
Alimentazione gas
- Il collegamento dell'apparecchio alla tubazione o alla bombola del gas deve essere effettuato secondo le prescrizioni delle norme in vigore (UNI-CIG 7129 e 7131) solo dopo essersi accertati che l'apparecchiatura è regolata per il tipo di gas con cui sare alimentata.
- Questo apparecchio è predisporto per funzionare con il gas indicate nellan'etichetta posta sul piano. Nel caso che il gas distribuito non corrisponda a quello per cui l'apparecchio è predisporto, procedere alla sostituzione degli ugelli corrispondenti (in dotazione), consultando il paragrafo "Adattamento ai diversi tipi di gas".
- Per un sicuro funzionamento, per un adeguato uso dell'energia e maggiore durata dell'apparecchiatura, assicurarsi che la pressione di alimentazione rispetti i valori indicati nella tabella 1 "Caratteristiche dei brucatori ed ugelli", altrimenti installare sulla tubazione di ingresso un apposto regolatore di pressione secondo la norma UNICIG 7430.
- Effettuare Il collegamento in modo da non provocare sollecitazioni di nessun genere sull'apparecchio.
Collegare al raccordo filettato 12 "G maschio cilindrico "F" (fig.12) posto nel lato posteriore dell'apparecchio, utilizzando tubo metallico rigido con raccordi (fig.12-D) conforme alla norma UNI-CIG 7129, oppure tubo flessibile metallico a parete continua con raccordi (fig.12-C), conforme alla norma UNI-CIG 9891, la cui massima estensione non deve superare i 2000 mm. Verificare che il tubo non possa venire a contatto con parti mobili in grado di danneggiarlo o schiacciarlo. Se siutilizza tubo flessibile in gomma, applicare l'apposto portagomma per gas liquido (fig.12-A) oppure per gas naturale (fig.12-B). La guarnizione "G" (in dotazione) deve essere utilizzata in tutti i vari sistemi di collegamento. Fissare le due estremità del tubo con appositi collari stringitubo "E" secondo UNI-CIG 7141. Il tubo flessibile deve essere conforme alle norme UNI-CIG 7140 e specifico per il tipo di gas utilizzato. Inoltre:
- deve essere il più corto possibile, con una lunghezza massima di 1,5 metri;
- non delve presentare pieghe e strozzature;
-
non deve essere posto a contatto con la parete posterioriere dell'apparecchiatura, o comunque con parti che possono raggiungere i 50^ di temperatura;
-
Non delveattraversareforioro fessure adibitiallo scarico dei gas combusti delorno;
- non delve venire a contatto con parti taglienti o spigoli vivi;
- deve essere facilemente ispezionabile lungo tutto il suo percorso, allo scopo di controllare il suo stato di conservazione;
- delve essere sostituito entro la data stampigliata sul tubo stesso.
Important: Per effettuare l'allacciamento con gas liquido (in bombola), interporre tra la bombola ed il tubo un regolatore di pressione conforme alla norma UNI-CIG 7432-75.
Ad installmentione ultimata accertarsi che la tenuta del circuito gas sa perfetta impiegando una soluzione saponosa (mai una fiamma). Accertarsi che la conduittura del gas naturale sua sufficiente per alimentare l'apparecchio quando tutti i brucatori sono in funzione.
Adattamento ai diversi tipi di gas (Istruzioni per il piano)
Per adattare il piano ad un tipo di gas diverso da quello per il quale esse è predisistosto (indicato sulla etichetta fissata nella parte superiore del piano o sull'imballo), occorre sostituire gli ugelli dei brucatori effettuant lo seguenti operazioni:
- togliere le griglie del piano e sfilare i bruciatori dalle loro sedi.
- svitare gli ugelli (fig.13), servendosi di una chiave a tubo da 7 mm. e sostituirli con quelli adatti al nuovo tipo di gas (vedi tabella 1 "Caratteristiche dei brucitori ed ugelli"). Rimontare le parti eseguendo all'inverso le operazioni.
- al termine dell'operazione, sostituite la vecchia etichetta taratura con quella corrispondente al nuovo gas d'utilizzo, inserita nel kit ugelli.
Sostituzione degli ugelli su bruciatore a "doppie fiamme" independenti:
- togliere le griglie e sfilare i bruciatori dalle loro sedi. Il bruciatore è composto da due parti分开 (vedi Fig. C e Fig. D);
- svitare gli ugelli, servendosi di una chiave a tubo da 7 mm. Il bruciatore interno ha un ugello, il bruciatore esterno ne ha due (della stessa dimensione). Sostituire gli ugelli con quelli adattati al nuovo tipo di gas (vedi tabella 1).
- rimettere in posizione tutti i componenti seguito le operazioni inverse rispetto alla sequenza di cui sopra.

fig.12

fig.13

fig.14

Fig. C

Fig. D
Regolazione aria primaria dei brucitori
I bruciatori non necessitano di nessuna regolazione dell'aria primaria.
Regolazione minimi
- Portare il rubinetto sulla posizione di minimo;
- togliere la manopola ed agire sulla vite di regolazione posta sulla destra del rubinetto (fig.14) fino ad ottenere una piccola fiamma regolare, utilizzando un cacciavite (svitando la vite il minimo aumento, avvitandola diminuisce).
N.B.: nel caso dei gas liquidi, la vite di regolazione dovrè essere avvitata a fondo. - Verificare che ruotando rapidamente la manopola alla posizione di massimo a quella di minimo non si abbianno spegnimenti dei bruciatori.
- Negli appearecchi provvisti del dispositivo di sicurezza (termocoppia), in caso di mancato funzionamento del dispositivo con bruciatori al minimo aumento la portata dei minimi stessi agenda sulla vite di regolazione.
Effettuata la regolazione, ripristinate i sigilli posti sui bypass con ceralacca o materiali equivalenti.
Forno a gas (CP 057 GT - CP 058 GT (X) F - CP 857
GT):
- Aprire la porta del forno (per intervenire sul bruciatore forno, togliere il fondo);
- svitare le 2 viti che reggono il bruciatore delorno, toglierlo e sostuire l'iniettre "N" con quello adatto al nuovo tipo di gas secondo la tabella a pag.12.
- rimontare tutti i componenti, eseguire la regolazione dell'aria nel bruciatore e della portata minima del rubinetto.
Regolazione minimo
- Aprire la porta e togliere il fondo delorno;
- portare la manopola delorno in posizione 8 (massimo) ed accendere il bruciatore;
- Chiudere la porta ed attendere 15 minuti circa;
- portare la manopola in posizione 1 (minimo);
- togliere la manopola stessa ed agire sulla vite di regolazione posta sopra all'astina del termostato;
- Ottenuta la portata minima desiderata, con il bruciatore acceso verificare che non avvengano spegnimenti portando rapidamente da posizione massimo a minimo per alcune volte e chiudendo normalmente la porta del forno.
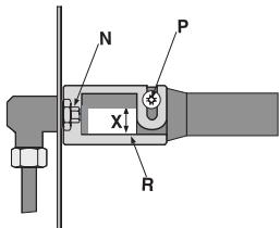
Controllo del flusso di aria primaria
I bruciatori forno e grill sono muniti di una boccola di regolazione dell'aria primaria "R" (fig.15: bruciatori del forno a gas). Il flusso di aria primaria è regolato in modo appropriato quando la fiamma risultta stabile ed omogenea, alla essere uno stacco di fiamma con bruciatore freddo né accensione all'ugello quando il bruciatore è caldo. La regolazione si esegue
svitando la vite “P” e spostando la boccola “R” in modo che l’apertura “X” corrisponda ai valori della tabella seguente. A regolazione avvenuta, bloccare la boccola “R” con la vite “P”.

fig.15
| Bruciatore | Apertura "X" (mm) gas naturale"G20" | Apertura "X" (mm) gas liquido"G30-G31" |
| Forno | 6.5 | 16 |
| Grill | 5 | 12 |
Collegamento elettrico
É OBBLIGATORIO IL COLLEGAMENTO A TERRA DELL'APPARECCHIATURA.
L'apparecchiatura è predisposta per il funzionamento con corrente alternata alla tensione e frequenza di alimentazione indicate sulla targhetta caratteristiche (posta sul retro o alla fine del libretto istruzioni). Accertarsi che il valore locale della tensione di alimentazione sia lo stesso di quello indicato sulla targhetta.
Allaccimento del cavo alimentazione elettrico alla rete
Per i modelli privi di spina, montare sul cavo una spina normalizzata per il carico indicate sulla targhetta caratteristiche e collegarla ad una adeguata presa di corrente. Desiderando un collegamento diretto alla rete è necessario interporre tra l'apparecchio e la rete un interruptore onnipolare con apertura minima tra i contatti di 3 mm., dimensionato al carico e rispondente alle norme in vigore. Il filo di terra gialloverde non deve essere interrotto dall'interruttore. Il cavo di alimentazione deve essere posizionato in modo che non raggiunga in nessun punto una temperatura superiore di 50 °C a quella ambiente. Tutti gli apparecchi devono essere collegati separamente.
Non utilizzato riduzioni, adattatori o derivatori in quanto essi potrebbero provocare riscaldamenti o bruciature.
Prima di effettuare l'allciamento accertarsi che:
- la valvola limitatrice e l'impianto domestico possano sostortare il carico dell'apparecchiatura (vedi targhetto caratteristiche);
- l'impiano di alimentazione sia munito di efficace collegamento a terra secondo le norme e le disposizioni di legge in vigore;
- la presa o l'interrottre onnipolare siano disponibile raggiungibili con il piano installato.
DECLINIAMO OGNI RESPONSASABILITA NEL CASO LE NORME ANTINFORTUNISTICHE NON VENGANO RISPETTATE.
Sostituzione del cavo
Utilizzare un carr o in gomma del tipo H05VV-F,di sezione 3× 1.5mm^2
Il conduittore giallo-verde dovrà essere più lungo di 2 ÷ 3 cm. degli altri conduttori.
Può accadere che il piano non funzioni o non funzioni bene. Prima di chiamare l'assistenza, vediamo che casa siouldo fare. Innanzi tutto verificare che non ci siano interruzioni nelle reti di alimentazione gas ed elettrica, ed in particolare i rubinetti gas a monte del piano siano aperti.
Il bruciatore non si accende o la fiamma non è uniforme
Avete controllato se:
- Sono ostruii i fori di uscita del gas del bruciatore.
- Sono montate correttamente tutte le parti mobili che compongono il bruciatore.
- Ci sono currenti d'aria nelle vicinanze del piano.
La fiamma non rimane accesa
Avete controllato se:
Non avete premuto a fondo la manopola.
- Non avete mantenuto premuta a fondo la manopola per un tempo sufficiente ad attivare il disposativo di sicurezza.
- Sono ostruii i fori di fuoriuscita del gas in corrispondenza del dispositivo di sicurezza.
Il bruciatore in posizione di minimo non rimane acceso
Avete controllato se:
- Sono ostruii i fori di fuoriuscita del gas.
- Ci sono currenti d'aria nelle vicinanze del piano.
- La regolazione del minimo non è corretta (Vedi paragraf o "Regolazione minimi").
I recipients sono instabili
Avete controllato se:
Il fondo del recipiente è perfettamente piano.
Il recipiente è centrato sul bruciatore o sulla piastra elettrica.
Se, nonostante tutti i controllingi, il piano non funziona e l'inconveniente da voi rilevato persiste, chiamate il Centro Assistenza Tecnica Indesit Company più vicino, comunicando queste informazioni:
-
Il tipo di quasto.
-
La sigla del modello (Mod. ...) riportata sul certificato di garanzia. Non ricorrete mai a tecnici non autorizzati e rifiutate sempre l'installazione di pezzi di ricambio non originali.
CARATTERISTICHE DEI BRUCIATORI ED UGELLI
| Tabella 1 | Gas liquido | Gas naturale | |||||||
| BRUCIatore | Diametro (mm) | Potenza termica kW (H.s.*) | By-pass 1/100 (mm) | Ugello 1/100 (mm) | Portata * g/h | Ugello 1/100 (mm) | Portata * l/h G20 | ||
| Nomin. | Ridot. | G30 | G31 | ||||||
| C. Rapido | 100 | 3.00 | 0.7 | 40 | 86 | 218 | 214 | 116 | 286 |
| B. Semirapido | 75 | 1.65 | 0.4 | 30 | 64 | 120 | 118 | 96 | 157 |
| A. Auxiliario | 55 | 1.0 | 0.3 | 27 | 50 | 73 | 71 | 71 | 95 |
| D. Tripla Corona | 130 | 3.25 | 1.3 | 57 | 91 | 236 | 232 | 124 | 309 |
| I. Doppie fiamme (DC DR Interno) | 30 | 0.90 | 0.4 | 30 | 44 | 65 | 64 | 74 | 86 |
| I. Doppie fiamme (DC DR Esterno) | 130 | 4.10 | 1.3 | 57 | 70 | 298 | 293 | 110 | 390 |
| Forno Gas | 4.00 | 0.8 | 45 | 95 | 291 | 286 | 142 | 381 | |
| Pressioni di alimentazione | Nominale (mbar) Minima (mbar) Massima (mbar) | 28-30 20 35 | 37 25 45 | 20 17 25 | |||||
- A 15°C e 1013 mbar-gas secco
Gas Propano G31 H.s. = 50,37 MJ/kg
Gas Butano G30 H.s. = 49,47MJ / kg
Gas Metano G20 H.s. = 37,78 MJ/m³
Gas Citta G110 H.s. = 15,87 MJ/m3
Questa apparecchiatura è conforme alle seguenti Direttive Comunitarie:
- 73/23/CEE del 19/02/73 (Bassa Tensione) e successive modificazioni;
89/336/CEE del 03/05/89 (Compatibilità Elettromagnetica) e successive modificazioni; - 90/396/CEE del 29/06/90 (Gas) e successive modificazioni;
- 93/68/CEE del 22/07/93 e successive modificazioni.

CARATTERISTICHE TECNICHE
ENERGY LABEL
Direttiva 2002/40/CE sull'etichetta dei forni elettrici
Norma EN 50304
Consumo energia convenzione Naturale:
funzione di riscaldamento: Statico
Consumo energia dichiarazione:
Classe convezione Forzata
funzione di riscaldamento: Ventilato
Premer a tecla , sera visualizzato:
ManualeFacile