LTE S121 O - Lavastoviglie SCHOLTES - Manuale utente e istruzioni gratuiti
Trova gratuitamente il manuale del dispositivo LTE S121 O SCHOLTES in formato PDF.
Scarica le istruzioni per il tuo Lavastoviglie in formato PDF gratuitamente! Trova il tuo manuale LTE S121 O - SCHOLTES e riprendi in mano il tuo dispositivo elettronico. In questa pagina sono pubblicati tutti i documenti necessari per l'utilizzo del tuo dispositivo. LTE S121 O del marchio SCHOLTES.
MANUALE UTENTE LTE S121 O SCHOLTES
Precauzioni, consigli e Assistenza, 35-36
Sicurezza generale
Smaltimento
Risparmiare e rispettare l'ambiente
Assistenza
Installazione, 37-38
Posizionamento e livellamento
Collegamenti idraulici ed elettrici
Dati tecnici
Avvertenze per il primo lavaggio
LTE S121
Descrizione dell'apparecchio, 39
Vista d'insieme
Pannello comandi
Caricare i cesti, 40-41
Cesto inferiore
Cesto superiore
Terzo cesto*
Regolazione cesto superiore
Stoviglie non idonee
Avvioeutilizzato,42
Avviare la lavastoviglie
Caricare il detersivo
Programmi, 43
Tabella dei programmi
Programmi speciali ed Opzioni, 44
Brillantante e sale rigenerante, 45
Caricare il brillantante
Caricare il sale rigenerante

Manutenzione e cura, 46
Escludere acqua e corrente elettrica
Pulire la lavastoviglie
Evitare icattivi odori
Pulire gli irroratori
Pulizia filtro entrata acqua
Pulire i filtrii
Se ci si assenta per lunghi periodi
Anomalie e rimedi, 47
| Scheda prodotto | |
| Marchio | SCHOLTES |
| Modello | LTE S121 |
| Capacità nominale in numero di coperti standard (1) | 15 |
| Classe di efficienza energetica su una Scala da A+++ (bassi consumi) a D (alti consumi) | A+ |
| Consumo energetico annuo in kWh (2) | 302.0 |
| Consumo energetico del ciclo di lavaggio standard in kWh | 1.07 |
| Consumo di potenza nel modo spento in W | 0.5 |
| Consumo di potenza nel modo lasciato accesso in W | 5.0 |
| Consumo di acqua annuo in litri (3) | 3080.0 |
| Classe di efficacia di asciugatura su una Scala da G (efficacia minima) ad A (efficacia massima) | A |
| Durata del programma per il ciclo di lavaggio standard in minuti | 195 |
| Durata del modo lasciato accesso in minuti | 10 |
| Rumore in dB(A) re 1 pW | 42 |
| Prodotto da incasso | SI |
| NOTE | |
| 1) L'informazione sull'etichetta e sulla schedafanno riferimento al programma standard di lavaggio, quello programma è adatto per lavare stoviglia che presentano un grado di sporco normale ed è il programma più efficiente in termini di consumo combinato di energia ed acqua. Il ciclo standard corrisponde al ciclo ECO. | |
| 2) Consumo di energia basato su 280 clici annui standard con acqua caricata fredda e sui consumi in modo di spento o di lasciato accesso durante la fine ciclo. Il consumo effettivo dipende da come viene usato l'elettrodomestico. | |
| 3) Basato su 280 clici di lavaggio standard. Il consumo effettivo dipende delle modalità di utilizzo dell'apparecchio. | |
L'apparecchio è stato progettato e costruito in conformità alle norme internazionali di sicurezza. Queste avvertenze sono fornite per ragioni di sicurezza e devono essere lette attendamente.
È importante conservare quello libretto per poterlo consultare in anni momento. In caso di vendita, di cessione o di trasloco, assicurarsi che resti insieme all'apparecchio.
Leggere attendamente le istruzioni: ci sono importanti informazioni sull'installazione, sull'uso e sulla sicurezza.
Questo appearecchio è progettato per l'uso domestico o per applicazioni simili, ad esempio:
- aree adibite a cucina per il personale in negoti, uffici ed altri ambienti di lavoro;
-case coloniche;
- utilizzato da parte di clienti in hotel, motel ed altri ambienti di tipo residenziale;
- bed and breakfast.
Sicurezza generale
- Questo elettrodomestico non può venire usato da persone (bambini compresi) con ridotte capacità fisiche, sensoriali o mentali, o mancanza di esperienza e conoscenza, a meno che non venga loro fornita supervisione o istruzioni riguardanti l'uso da una persona responsable della loro sicurezza.
- É necessaria la supervisione di un adulto per evitare che i bambini giochino con l'elettrodomestico.
- L'apparecchio è stato concepito per un uso di tipo non professionale all'interno dell'abitazione.
- L'apparecchio deve essere usato per il lavaggio delle stoviglia a uso domestico, solo da persona adulte e secondo le istruzioni riportate in quello libretto.
- L'apparecchio non va installato all'aperto, nemmeno se lo spazio è riparato, perché è molto pericoloso lasciarlo esposto a pioggia e temporali.
Non toccare la lavastoviglie a piedi nudi. - Non staccare la spina dalla presa della corrente tirando il cavo, pensi afferrando la spina.
- É necessario chiudere il rubinetto dell'acqua e staccare la spina dalla presa della corrente prima di effettuare operazioni di pulizia e manutenzione.
- In caso di guasto, in nessun caso accedere ai meccanismi interni per tentare una riparazione.
-
Non appoggiarsi o sedersi sulla porta aperta: l'apparecchio potrebbe ribaltarsi.
-
La porta non deve essere tenuta nella posizione aperta perché può rappresentare il pericolò di inciampare.
- Tenere il detersivo e il brillantante fuori alla portata dei bambini.
- Gli imballaggi non sono giocattoli per bambini.
Smaltimento
- Smaltimento del materiale di imballaggio: atteneri alle norme locali,osi gli imballaggi potranno essere riutilizzati.
- La direttiva Europea 2012/19/EU sui rifiuti di apparecchiature elettriche ed elettroniche (RAEE), prevede che gli elettrodomestici non debbano essere smaltiti nel normale flusso dei rifiuti solidi urbani. Gli apparecchi dismessi devono essere raccolti separatamente per ottimizzare il tasso di recupero e riciclaggio dei materiali che li compongono e impedire potenziali danni per la salute e l'ambiente. Il significolo del cestino barrato è riportato su tutti i prodotti per ricordare gli obblighi di raccolta separata.
Per ulteriori informazioni, sulla corretta dismissione degli elettrodomestici, i detentori potranno rivolgersi al servizio pubblico preposto o ai rivenditori.
Risparmiare e rispettare l'ambiente
Risparmiare acqua ed energia
- Avviare la lavastoviglie solo a piano carico. In attesa che la macchina sia piena, prevenir i cattivi odori con il ciclo Ammollo (vedi Programmi).
-
Selezionare un programma adatto al tipo di stoviglie e al grado di sporco consultando la Tabella dei programmi:
-
per stoviglia normalmente sporche utilizzare il programma Eco, che garantisce bassi consumi energetici e di acqua.
-
se il carico è ridotto attivare l'opzione Mezzo carico* (vedi Avvio e utilizzato).
- Se il proprio contratto di erogazione dell'energia elettrica preveDE fasce orarie di risparmio energetico, effettuare i lavaggi negli orari a tariffa ridotta. L'opzione Partenza Ritardata* (vedi Avvio e utilizzo)puo aiutare a organizzato i lavaggi in tal senso.
Detersiviswana fosfati, sensa cloro e contententi enzimi
- Si consiglia vivamente di usare i detersivi nella fosfati e essere cloro che sono i più indicati per la tutela dell'ambiente.
- Gli enzimi sviluppano un'azione particolaremente efficace con temperature prossime ai 50^ , per cui con i detersivi con enzimi si possono impostare lavaggi a basse temperature e ottenere gli stessi risultati che si avrebbero a 65^ .
- Dosare bene il detersivo in base alleindicazioni del produttore, alla durezza dell'acqua, al grado di sporco e alla quantità di stoviglie per evitare sprechi. Pur biodegradabili, i detersivi contengono elementi che alterano l'equilibrio della natura.
Assistenza
Prima di contattare l'Assistenza:
- Verificare se l'anomalia può essere risolta da soli (vedi Anomalie e Rimedi).
- Riavviare il programma per controllare se l'inconveniente è stato ovviato.
- In caso negativo, contattare il Servizio Assistenza Tecnica Autorizzato.
Non ricorrere mai a tecnici non autorizzati.
Comunicare:
- il tipo di anomalia;
- il modello della macchina (Mod.);
- il numero di serie (S/N).
Queste informazioni si trovano sulla targhetta caratteristiche posta sull'apparecchio (vedi Descrizione dell'apparecchio).
In caso di trasloco tenere l'apparecchio in posizione vertical; se fosse necessario, inclinarlo sul lato posteriore.
Posizionamento e livellamento
- Disimballare l'apparecchio e controllare che non abbia subito danni durante il trasporto. Se fosse danneggiato non collegarlo e contattare il rivenditore.
- Sistemare la lavastoviglia facendoaderire i bianchi o lo schienale ai mobili adiacenti o alla parete. L'apparecchio piùanche essere incassato sotto a un piano di lavoro continu* (vedi foglio di Montaggio).
- Posizione are la lavastoviglie su un pavimento piano e rigido. Compensare le irregularità svitando o avvitando i piedini anteriors finché l'apparecchio non sia orizzontale. Un accurato livellamento da stabilità ed evita vibrazioni, rumori e spostamenti.
4^ . Per regolare l'altezza del piedino posteriore, agire sulla boccola esagonale di colore rosso presente nella parte inferiore, frontale, centrale della lavastoviglia, con una chiave a bocca esagonale aperture 8 mm., girando in senso orario per;aumentare l'altezza e in senso antiorario per diminuirla. (vedere foglio istruzioni incasso allegato alla documentazione)
Collegamenti idraulici ed elettrici
L'adattamento degli impianti elettrici e idraulici per l'installazione deve essere eseguito solo da personale qualificato.
A La lavastoviglie non deve appoggiare sui tubi o sul cavo di alimentazione elettrica.
L'apparechio deve essere collegato alla rete di distribuzione dell'acqua utilizzando tubi nuovi. Non riutilizzare i vecchi tubi.
I tubi di carico e di scarico dell'acqua e il cavo di alimentazione elettrica possono essere orientati verso destra o sinistra per consentire la migliorare installmente.
Collegamento del tubo di carico dell'accua
- A una presa d'acqua fredda: avvitare bene il tubo di carico a un rubinetto con bocca filettata da 3/4 gas; prima di avvitare, far scorrere l'acqua finché non sia limpida affinché le eventuali impurità non intasino l'apparecchio.
- A una presa d'acqua calda: nel caso di impianto centralizzato di termosifoni, la lavastoviglie può essere alimentata con acqua calda di rete purché non superi la temperatura di 60^ .
A Avvitare il tubo al rubinetto come descripto per la presa d'acqua fredda.
A Se la lunghezza del tubo di carico non è sufficiente, rivolgersi a un negazio specializzato o a un technician autorizzato (vedi Assistenza).
La pressione dell'acqua deve essere compresa nei valori riportati alla tabella Dati tecnici (vedi a lato).
Fare attenzione che nel tubo non ci siano né pieghe né strozzature.
Collegamento del tubo di scarico dell'accua
Collegare il tubo di scarico, alla piegarlo, a una conduttura di scarico con diametro minimo di 4 cm.
Il tubo di scarico deve essere ad un'altezza compresa tra 40 e 80 cm. dal pavimento o piano d'appoggio della lavastoviglie (A).

Prima di collegare il tubo di scarico dell'acqua al sifone del lavandino, rimuovere il tappo di plastica (B).
Sicurezza antiallagamento
Per garantire che non si generino allagamenti, la lavastoviglie: - è dotata di un sistema che interrompe l'ingresso dell'acqua nel caso di anomalie o di perdite dall'interno.
Alcuni modelli sono dotati di un dispositivo supplementare di sicurezza New Acqua Stop*, che garantisce l'antiallagamentoanche in caso di rottura del tubo di alimentazione.
ATTENZIONE: TENSIONE PERICOLOSA!
Il tubo di carico dell'acqua, non delve in nessun caso, essere tagliato in quanto contiene parti sotto tensione.
Collegamento elettrico
Prima di insereire la spina nella presa della corrente, accertarsi che:
- la presa abbia la messa a terra e sua a norma di legge;
- la presa sia in grado di sostortare il carico massimo di potenza della macchina,indicato nella targhetta caratteristiche sulla controporta (vedi capitolo Descrizione della lavastoviglie);
- la tensione di alimentazione sia compresa nei valori indicati nella targhetto caratteristiche sulla controporta;
- la presa sia compatibile con la spina dell'apparecchio. In caso contrario richiedere la sostituzione della spina a un technician autorizzato (vedi Assistenza), non usare prolonghe o prese multiple.
Ad appearecchio installato, il cavo di alimentazione elettrica e la presa della corrente devono essere facilemente raggiungibili.
A Il cavo non deve subire piegature o compressioni.
A Se il cavo di alimentazione è danneggiato, delve essere sostituito dal costruttore o dal suo Servizio di Assistenza Tecnica, in modo da prevenir agli rischio. (Vedi Assistenza)
L'Azienda declina agli responsabilità qualora queste normen non vengano rispetto.
Striscia anticondensa*
Dopo aver incassato la lavastoviglie après la porta e incollare la striscia adesiva trasparente fatto al ripiano in legno per proteggerlo alla eventuale condensa.
| Dati Tecnici | |
| Dimensioni | Larghezza cm. 59,5 Altezza cm. 82 Profondità cm. 57 |
| Capacità | 15 coperti standard |
| Pressione acqua alimentazione | 0,05 ÷ 1MPa (0.5 ÷ 10 bar) 7,25 – 145 psi |
| Tensione di alimentazione | vedi targhetta caratteristiche |
| Potenza totale assorbita | vedi targhetta caratteristiche |
| Fusibile | vedi targhetta caratteristiche |
| CE | Questa apparecchiatura è conforme alle seguenti Direttee Comunitarie: -2006/95/EC (Bassa Tensione) -2004/108/EC (Compatibilità Elettromagnetica) -2009/125/EC (Comm. Reg. 1016/2010) (Ecodesign) -97/17/EC (Etichettatura) -2012/19/EU (RAEE) |
Avvertenze per il primo lavaggio
Dopo l'installazione, rimuovere i tamponi posizionati sui cesti e gli elastici di trattimento sul cesto superiore (ove presenti). Immediatamente prima del primo lavaggio, riempire completamente d'acqua il serbatoio del sale e solo dopo aggiungere circa 1 Kg di sale (vedi capitolo Brillantante e sale rigenerante); è normale che l'acqua trabocchi. Selezionale il livello di durezza dell'acqua (vedi tabella capitolo Brillantante e sale rigenerante). Dopio il caricamento del sale la spia MANCANZA SALE* si spegne.
Il mancato riempimento del contentatore del sale, vu provocare il danneggiamento del dolcificatore dell'acqua e dell'elemento riscaldante.
La macchina, è dotata di segnali acustici/toni (secondo il modello d'lavastoviglie) che avvisano dell'avvenuto lavoro: accensione, fine ciclo ecc..
I symboli/spie/led luminosi presenti sul pannello comandi/ display, possono variate di colore, pulsare o essere a luce fissa. (secondo il modello di lavastoviglia).
Il display, visualizza informazioni utili relative al tipo di ciclo impostato, alla fase di lavaggio/asciugatura, al tempo residuo, alla temperature ecc... ecc...

Vista d'insieme
- Cestello superiore
- Irroratore superiore
- Ribaltine
- Regolatore altezza cestello
- Terzo cesto*
- Cestello inferiore
- Irroratore inferiore
- Filtro lavaggio
- Serbatoio sale
- Vaschette detersivo, serbatoio brillante e disposativo Oxy tech*
- Targhetto caratteristica
- Pannello comandi***

Pannello comandi
Suggerimenti
Prima di caricare i cesti, eliminare delle stoviglie i residiui di cibo e vuotare bicchieri e i contentitori dei liquidi rimasti. Non è necessario un risciacquo Preventivo sotto acqua corrente.
Sistemare le stoviglie in modo che siano ben ferme e non si ribaltino, i contentitori siano disposti con l'apertura rivolta in basso e le parti concave o convesse in posizione obliqua, per permettere all'acqua di raggiungere tutte le superfici e di defluire.
Fate attenzione che coperchi, manici, padelle e vassoi non impediscano la rotazione degli irroratori. Disporre gli oggetti piccoli nel cestino delle posate.
Le stoviglie in plastica e le padelle in antiaderente, tendono a trattenere maggiornente le gocce d'acqua e quando il loro grado di asciugatura risulterà inferiore a quello delle stoviglie in ceramicà o acciaio.
Gli oggetti leggeri (come i recipienti in plastica) devono essere preferibilmente posizionati sul cesto superiore e disposti in modo da non potersi muovere.
Dopo aver caricato, assicurarsi che gli irroratori ruotino liberamente.
Cesto inferiore
Il cesto inferiore può containere pentole, coperchi, piatti, insalatiere, posate ecc... Piatti e coperchi grandi vanno sistemat di preferenza ai lati del cesto.


E' consigliabile disporre le stoviglie molto sporche nel cesto inferiore poichè in quello settore i getti d'acqua sono più energici e permettono di ottenerere migliorioni prestazioni di lavaggio.
*Presente solo in alcuni modelli e variabili per numero e posizione.
Alcuni modelli di lavastoviglie, dispongono di settori reclinabili*, gli stessi si possono usare in posizione verticale per la系統azione dei piatti oppure in posizione orizzontale (abbassati) per poter caricare più agevolmente pentole e insalatiere.

Cesto superiore
Caricare stoviglie delicate e leggere: bicchieri, tazze, piattini, insalatiereasse.

Alcuni modelli di lavastoviglie, dispongono di settori reclinabili*, utilizzabili in posizione verticale per sistemare piattini da theo o dessert o abbassati per caricare ciotole e contentitori per alimenti.
Ribaltine a posizione variabile*
Le ribaltine laterali sono posizionabili su tre altezza differenti per ottimizzare la disposizione delle stoviglie nello spazio del cesto. I calici possono essere positizonati stabilmente sulle ribaltine inserendo lo stelo del bicchiere nelle apposite asole.

Terzo cesto
Il terzo cesto è adibito alla disposizione delle posate. Sistemare le posate come migliorato in figura.

A "I coltelli e gli utensili con bordi affiliati devono essere sistemati con le lame rivolte verso il basso."
La disposizione separata delle posate, ne facilita il prelievo dopo il lavaggio e ne migliorara le prestazioni di lavaggio e asciugatura.
La geometria del cesto, permette di disporre nella zona centrale.
anche piccole stoviglie come tazzine da caffe.

Il terzo cesto è dotato di due vassoi laterali scorrevoli che permettono un miglior sfruttamento in altezza dello spazio sostostante.

Il cesto superiore è regolabile in altezza a seconda della necessità: in posizione alta quando nel cesto inferiore si vogliono系統are stoviglie ingombranti; in posizione Bassa, in modo da sfruttare gli spazi delle ribaltine o dei reclinabili creando più spazio verso l'alto.
Regolare l'altezza del cesto superiore
Per agevolare la sistematicione delle stoviglie, è possibile系統are il cesto superiore in posizione alta o bassa.
E' preferibile regolare l'altezza del cesto superiore a CESTO VUOTO.
Non sollevare o abbassare MAI il cesto su un solo lato.

Se il cesto è dotato di Lift-Up* (vedi figura), sollevare il cesto afferrandolo ai lati e muovero verso l'alto. Per tornare nella posizione Bassa, premere le leve (A) ai lati del cesto ed accompagnare la discesa verso il basso.
A Non è possibile utilizzato il cesto superiore in posizione alta e con le ribaltine chiuse in verticale.
Stoviglie non idonee
- Posate e stoviglie di legno.
- Bicchieri decorati delicati, stoviglia di artigianato artistico e di antiquariato. Le loro decorazioni non sono resistenti.
- Parti in materiale sintetico non resistenti alla temperatura.
- Stoviglie di rame e stagno.
- Stoviglie sporche di genere, cera, grasso lubricicante o inchiestro.
Le decorazioni su vetro, i peszi di alluminio e argento durante il lavaggio possono tendere aambiare colore ed a sbiancarsi. Anche alcuni tipi di vetro (per es. oggetti di cristallo) dopo molti lavaggi possono diventare opachi.
Danni al vetro ed alle stoviglie
Cause:
- Tipo di vetro e procedimento di produzione del vetro.
- Composizione chimica del detersivo.
- Temperatura dell'acqua del programma di risciacquo.
Consiglio:
- Utilizzare solo bicchieri e porcellana garantiti dal produttore come resistenti al lavaggio in lavastoviglie.
- Usare detersivo delicato per stoviglie.
- Estrarre bicchieri e posate alla lavastoviglie al più presto possibile après la fine del programma.
Avviare la lavastoviglie
- Aprire il rubinetto dell'acqua.
- Aprière la porta e premere il tasting ON-OFF.
- Dosare il detersivo. (vedi a lato).
- Caricare i cesti (vedi Caricare i cesti).
- Selezionare il programma in base alle stoviglie e al loro grado di sporco (vedi tabella dei programmi) premendo il tasto P.
- Selezionare le opzioni di lavaggio*. (vedi Progr. speciali ed Opzioni).
- Avviare chiudendo la porta.
- La fine del programma è segnalata da segnali acustici e lampeggia il numero del programma sul display. Aprire la porta, spegnere l'apparecchio premendo il tasto ON-OFF, chiudere il rubinetto dell'acqua e staccare la spina dalla presa di corrente.
- Aspettare alcuni minuti prima di togliere le stoviglia, per evitare di scottarsi. Scaricare i cestelli iniziando da quello inferiore.
A - Per ridurre il consumo di energia elettrica, in alcune condizioni di NON utilizzato prolongato, la macchina si spegne automaticamente.
A PROGRAMMI AUTO*: alcuni modelli di lavastoviglie sono dotati di un particolare sensore che può valutare il grado di sporco e impostare il lavaggio più efficente ed economico. La durata dei programmi Auto potrà variare per l'intervento del sensore.
A Se le stoviglia sono peu sporche o sono state sciacquate precedentamente molto l'acqua, ridurre sensibilmente la dose del detersivo.
Modificare un programme in corso
Se si è selezionato un programma sbagliato è possibile modificarlo, PURché appena iniziato: aprire la porta facendo attenzione alla fuoriuscita di vapore, con una pressione prolongata premere il tasting ON/OFF, la macchina si spegne. Riaccendere la macchina con il tasting ON/OFF e selezionare il nuovo programma e le eventuali opzioni; avviare chiudendo la porta.
Aggiungere alte stoviglie
Senza spegnere la macchina, après la porta facendo attenzione alla fuoriuscita di vapore e inserire le stoviglie. Chiudere la porta: il ciclo riprende.
Interruzioni accidentali
Se durante il lavaggio si après la porta o si verifica un'interruzione di corrente, il programma si interrompe. Riprende dal punto in cui si era interrotto quando si chiude la porta o torna la luce.
Caricare il detersivo
Il buon risultato del lavaggio dipendeanche dal corretto dosaggio del detersivo, eccedendo non si lava in modo più efficace e si inquina l'ambiente.
A seconda del grado di sporco, il dosaggio più essere adattato al singolo caso con un detersivo in polvere o liquido. Solitamente per uno sporco normale, utilizzato circa 35 gr. (detersivo in polvere), o 35ml (detersivo liquido). Se si impiegano le pastiglie ne basta una.
Se le stoviglie sono peu sporche o sono state sciacquate precedentamente molto l'acqua, ridurre sensibilmente la dose del detersivo.
Per un buon risultato di lavaggio osservareanche le istruzioni riportate sulle confezioni del detersivo.
In caso di ulteri o domande consiglio di rivolgersi agli uffici di consulenza dei produttori di detersivi.
Per après il contentitore del detersivo, azionare il dispositorio di aperture "A"

Introduire il detersivo solo nella vaschetta "B" asciutta. La quantità di detersivo adibita al prelimaggio, deve essere posizionata direttamente inVASCA.
- Dosare il detersivo consultando la Tabella dei programmiper introdurne la quantità corretta.
Nella vaschetta B è presente un livello che indica la quantità massima di detersivo liquido o in polvere inseribile per agli ciclo. - Eliminare i residui di detersivo dai bordi della vaschetta e chiudere il coperchio fino allo scatto.
- Chiudere il coperchio del contentatore detersivo spingendolo in alto, forn al corretto innesto del dispositivo di chiusura.
Il contentitore detersivo si après automaticamente in funzione del programma, al momento opportuno.
Se vengono utilizzati detersivi combinati, è consigliato utilizzato l'opzione TABS, che adegua il programma di lavaggio, in modo da raggiungere sempre il migliorare risultato di lavaggio e di asciugatura possibile.
Utilizzare solo detersivo per lavastoviglie.
NON UTILIZZARE detersivi per lavaggio a mano.
Unutilizzocecessivo di detersivo poto lasciare residui di schiuma a fine ciclo.
L'utilizzo delle pastiglie è consigliato solo nei modelli dove è presente l'opzione PASTIGLIE MULTIFUNZIONE.
Le migliorari prestazioni di lavaggio ed asciugatura, si ottengono solo con l'utilizzo di detersivo in polvere, brillantante liquido e sale.
I dati dei programmi sono misurati in condizioni di lavoratorioio secondo Norma europea EN 50242.
A seconda delle diverse condizioni di utilizzo, la durata e i dati dei programmi possono variare.
Il numero e il tipo di programmi ed opzioni variano in base al modello di lavastoviglie.
| Programma | Asciugatura | Opzioni | Durata delprogramma | Consumoacqua(I/ciclo) | ConsumoEnergia(KWh/ciclo) |
| 1. EcoECO | Si | Partenza Ritardata - Tabs - Extra Dry | 03:15' | 11 | 1,07 |
| 2. AutoIntensivo | Si | Partenza Ritardata - Tabs -Extra Dry - Localized Wash Tech 3 liv | 02:00' - 03:10' | 15,5 - 17,0 | 1,55 - 1,80 |
| 3. AutNormale | Si | Partenza Ritardata - Tabs -Extra Dry - Localized Wash Tech 3 liv | 01:30' - 02:30' | 15,0 - 16,5 | 1,25 - 1,40 |
| 4. Autofast wash | No | Partenza Ritardata - Tabs | 00:40' - 01:20' | 13,0 - 14,5 | 1,20 - 1,30 |
| 5. Trio wash | Si | Partenza Ritardata -Tabs - Extra Dry | 02:00' | 18,0 | 1,35 |
| 6. Delicato | Si | Partenza Ritardata - Tabs - Extra Dry | 01:40' | 11,5 | 1,15 |
| 7. Express 30' | No | Partenza Ritardata - Tabs | 00:30' | 9,0 | 0,55 |
| 8. Good Night | Si | Partenza Ritardata -Tabs - Extra Dry | 03:30' | 16,0 | 1,05 |
| 9. Ammollo | No | Partenza Ritardata | 00:12' | 4,5 | 0,01 |
| 10. Igienizzante | Si | Partenza Ritardata | 01:20' | 10,0 | 1,25 |
| 11. Autopolizia | No | Partenza Ritardata | 00:50' | 8,0 | 0,85 |
Indicazioni per la scelta dei programmi e dosaggio del detersivo
- Il ciclo di lavaggio ECO è il programma standard a cui si riferisce o dati dell'etichetta energetica; quello ciclo è adatto a lavare stoviglia normalmente sporche ed è il programma più efficente in termini di consumo energetico e di acqua per quello tipo di stoviglia. 32 gr/ml + 6 gr/ml* - 1 Tab (Qualità di detersivo del prelavaggio)
- Stoviglie e pentole molto sporche (non usare per pezzi delicati). 38 gr/ml - 1 Tab
- Stoviglie e pentole normalmente sporche. 32 gr/ml + 6 gr/ml** - 1 Tab
- Sporco quotidiano in quantità limitata. (Ideale per 4 coperti) 25 gr/ml - 1 Tab
- Lavaggio differenziato sui due cesti: delicato sul cesto superiore, energia per pentole sul cesto inferiore. 38 gr/ml - 1 Tab
- Ciclo per stoviglie delicate, più sensibili alle alto temperature. 35 gr/ml - 1 Tab
- Ciclo veloce da utilizzare per stoviglie poco sporche. (ideale per 2 coperti) 25 gr/ml - 1 Tab
- Garantisce ottime prestazioni. Adatto all'utilizzo notturno. 38 gr/ml - 1 Tab
- Lavaggio preliminare in attesa di completare il carico al pasto successivo. No detersivo
- Ciclo igienizzante ad elevate temperature. Ideale per lavare stoviglie e biberon. 30 gr/ml - 1 Tab
- Ciclo di pulizia per la lavastoviglia da utilizzato a VUOTO e con detergenti specifici.
Consumi di stand-by: Consumo di left-on mode: 5,0 W - consumo di off mode: 0,5 W
Programmi speciali ed Opzioni
Note:
le migliorie prestazioni dei programmi "Fast e Express 30", si ottengono preferibilmente rispetto il numero di coperti specificati.
Per consumare di meno usa la lavastoviglie a piano carico.
Nota per i laboratori di Prove: per informazioni sulle condizioni della prova comparativa EN, farne richiesta all'indirizzo: ASSISTENZA_EN_LVS@indsitcompany.com
Opzioni di lavaggio
Se un'opzione non è compatible con il programma selezionato, (vedi tabella programmi) il led relativo lampeggia velocemente 3 volte e si sentono dei segnali acustici.

Partenza ritadataata
E possible posticipare da 1 a 12 ore l'avvio del nma:
- Premere il tasting partenZA RITARDATA: il display visualizza il relativo symbolo; a agli successiva pressione viene incrementato il tempo (1h, 2h, ecc. fino ad un max. di 12h) dalla parte del programma selezionato.
-
Selezionare il programma e chiudere la porta: inizia il conto alla rovescia;
-
A tempo scaduto, la spia si spegne e il programma si avvia. Per modificare il ritardo e selezionare un tempo inferiore premere il tasto PARTENZA RITARDATA. Per annullario premere il tasto in successione finché non si spegne la spia del ritardo selezionato. Il programma si avvia alla chiusura della porta.
Non è possibile impostare la Partenza Ritardata a ciclo avviato.

Opzione OXY TECH
3 Questo dispositivo rilascia all'interno della lavastoviglie molecole di ozono, una sostanza presente in natura in grado di ridurre i cattivi odori. L'opzione deve essere utilizzata tra due cicli di lavaggio e SOLO quando sono state caricate le stoviglie sporche.
L' OXY TECH si attiva con una pressione prolongata del tasto O_3 , la opzione sare alla attiva per 24 ore o fino all'avvio del programma di lavaggio. E' possibile insere alte stoviglie in qualsiasi momento fino al completeness del carico.
All'interno della lavastoviglie potrebbe essere percepibile un lieve caratteristico odore, lo stesso che accompaniesna talvolta i temporali, dovuto proprio all'ozono prodotto dalle scariche dei fulmini; ciò è assolutamente normale. La quantità prodotta dal dispositorio è molto piccola e decade rapidamente.
Non è necessaria ricarica.

Opzione Pastiglie Multifunzione (Tabs)
Questa opzione ottimizza il risultato di lavaggio ed asciugatura.
Quando si usano le pastiglie multifunzione premere il tasto PASTIGLIE MULTIFUNZIONE, il symbolo/spia si illumina; un'ulteriore pressione la deseleziona.

opzione "Pastiglie Multifunzione", comporta segamento del programma.

utilizzo delle pastiglie è consigliato solo dove è, se tale opzione, ed è sconsigliata con i programmi non prevedono l'uso delle pastiglie multifunzione.

Opzione Extra Asciugatura
Per migliorare l'asciugatura delle stoviglie, premere il tasto EXTRA ASCIUGATURA il symbolo/spia si illumina, un'ulteriore pressione deselezionale l'opzione.
Una temperatura più alta durante il risciacquo finale e una fase di asciugatura prolongata, permettono di migliorare l'asciugatura.

Spzione EXTRA ASCIUGATURA, comportata
I'llungamento del programma.

10 Questa opzione permette di effettuire il lavaggio solo sul cesto selezionato. Selezionare il programma, premere il tasto LOCALIZED WASCH TECH 3 LIV in successione: il cesto selezionato si illumina e il lavaggio si attiva solo sul cesto selezionato; un ulteriore pressione del tasto deselezionale l'opzione.
L'opzione è disponibile con i programmi: Intensivo e Normale.
Selezionando l'opzione e il programma Intensivo, si attiva il lavaggio ULTRA INTENSIVE ZONE. Questo lavaggio è ideale per il carico misto più sporco come ad es. pentole e tegami, piatti incrostati o stoviglie difficili da lavare (grattugia, passaverdura, posate molto sporche). La pressione di spruzzo viene rafforzata, la temperatura di lavaggio AUGmente darve un lavaggio ottimale sullo sporco ostinato.
Selezionando l'opzione e il programma Normale, si attiva il lavaggio ECO ZONE. Con esta funzione si既可以 ridurre il consumo di energia. Il ciclo potrebbe subire variazioni di durata.
Ricordarsi di caricare le stoviglia solo sul cesto selezionato.
A Usare solo prodotti specifici per lavastoviglie.
Non usare sale alimentare o industriale nè detersivi per il lavaggio a mano.
Seguire leindicazioni riportate sulla confezione.
A Se si usa un prodotto multifunzione, non è necessario aggiungere brillantante, si consiglia invece di aggiungere sale, specie se l'acqua è dura o molto dura. (Seguire le indicazioni riportate sulla confezione).
Nonaggiungendo né sale né brillante è normale che le spie MANCANZA SALE e MANCANZA BRILLANTANTE rimangano accese.
Caricare il brillantante
Il brillantante facilita l'asciugatura delle stoviglie facendo scivolare l'acqua alla superficie, casi che non rimangano striature o macchie. Il serbatoio del brillantante va riempito:
- quando sul pannello si accende la spia MANCANZA BRILLANTANTE* è ancora disponibile una riserva di brillantante per 1-2 cicci;


- Aprire il contentatore "D" premendo e sollevando la linguetta sul coperchio;
- Introduire con precauzione il brillante fine al riferimento massimo dell'apertura di riempimento evitando che fuoriesca. Se accade, pulire subito con un panno asciutto.
- Chiudere il coperchio fino allo scatto.
Non versare MAI il brillantante direttamente all'interno della vasca.
Regalore la dose di brillantante
Se non si è soddisfatti del risultato dell'asciugatura, è possibile regolare la dose di brillantante. Accendere e spegnere la lavastoviglie con il tasto ON/OFF. Premere il tasto P per 3 volte. Accendere con il tasto ON/OFF, Il livello impostato compare sul display (impostato su livello di fabbrica).
Regolare il livello di erogazione del brillante tramite il tasto P.
Premere il tasting ON/OFF per salvare la regolazione impostata.
Il livello di brillantante può essere impostato a ZERO, in tal caso il brillantante non verrà erogato e non verrà accesa la spia di mancanza brillantante in caso di esaurimento dello stesso.
Si possono impostare fino ad un max. di 4 livelli in base al modello di lavastoviglie.
- se sulle stoviglia ci sono striature, impostare verso i numero bassi (1-2).
- se ci sono gobce d'acqua o macchie di calcare impostare versusi numeri alto (3-4).
Impostazione durezza dell'acqua
Ogni lavastoviglie è corredata di un dolcificatore dell'acqua che, utilizzato del sale rigenerante specifico per lavastoviglie, fornisce acqua priva di calcare per il lavaggio delle stoviglie.
Questa lavastoviglie, consente una regolazione che riduce l'inquinamento ed ottimizza le prestazioni di lavaggio in funzione
della durezza dell'acqua. Il dato è reperibile presso l'Entegerogatore dell'acqua potabile.
Accendere e spegnere la lavastoviglie con il tasto ON/OFF. Tenere premuto il tasto P per alcuni secondi fino al segnale acustico. Accendere la lavastoviglie con il tasto ON/OFF, Il livello impostato compare sul display (il decalcificatore è impostato su livello medio).
Regolare il livello della durezza acquatramite il tasto P, (1-2- 3-4-5* vedi tabella durezza acqua) fino ad un max. di 5 livelli.
Premere il tastingo ON/OFF per salvare la regolazione impostata. Se si utilizzano le pastiglie multifunzione, riempire comunique il serbatoio del sale.
| Tabella Durezze Acqua | Autonomia media** containitore sale | |||
| livello | °dH | °fH | mmol/l | mesi |
| 1 | 0 - 6 | 0 - 10 | 0 - 1 | 7 mesi |
| 2 | 6 - 11 | 11 - 20 | 1,1 - 2 | 5 mesi |
| 3 | 12 - 17 | 21 - 30 | 2,1 - 3 | 3 mesi |
| 4 | 17 - 34 | 31 - 60 | 3,1 - 6 | 2 mesi |
| 5* | 34 - 50 | 61 - 90 | 6,1 - 9 | 2/3 settimane |
| Da 0°f a 10°f si consiglia di non utilizzato sale. * con imposta-zione 5 la durata può prolongarsi. ** con 1 lavaggio al giorno | ||||
(^ dH)= durezza in gradi tedeschi - ^ fH = durezza in gradi francesi - mmol/l = millimol/litro)
Caricare il sale rigenerante
Per avere buoni risultati di lavaggio è indispensable verificare che il serbatoio del sale non sia mai vuoto.
Il sale rigenerante elimina il calcare dall'acqua, evitando che si depositi sulle stoviglie.
Il serbatoio del sale è posto nella parte inferiore della lavastoviglia (vedi Descrizione) e va riempito:
- quando sul pannello si accende la spia MANCANZA SALE*;

- Estrarre il cesto inferiore e svitare il tappo del serbatoio in senso antiorario.
- Solo per il primo utilizzato: riempire il serbatoio di acqua fino al bordo.
- Posizionale l'imbuto* (vedi figura) e riempire il serbatoio di sale fino al bordo (circa 1 kg); è normale che trabocchi un
po'd'acqua.
- Togliere l'imbuto, eliminare i residui di sale dall'imbocco; sciacquare tazzo sosto l'acqua corrente prima di avvitarlo, disponendolo a testa in giù e facendo defluire l'acqua dalle quattro fissure disposte a stella nella parte inferiore del tazzo. (tazzo con galleggiante verde)
E' consigliabile effettuare esta operazione ad agli caricamento del sale.
Chiudere bene il tappo, affinché nel serbatoio non entri detersivo durante il lavaggio (potrebbe danneggiarsi irrimediabilmente il dolcificatore).
A Quando si rende necessario, caricare il sale prima di un ciclo di lavaggio in modo da eliminare la soluzione saliva traboccata dal contentatore del sale.
- Presente solo su alcuni modelli.
Escludere acqua e corrente elettrica
- Chiudere il rubinetto dell'acqua dopo agli lavaggio per eliminare il pericolo di perdite.
- Staccare la spina dalla presa di corrente quando si pulisce la macchina e durante i lavori di manutenzione.
Pulire la lavastoviglie
- La superficie esterna e il pannello di controllo possono essere puliti con un panno inumidito con acqua non abrasivo. Non usare solventi o detersivi abrasivi.
- La vasca interna può essere pulita da eventuali macchie con un panno imbevuto di acqua e molto aceto.
Evitare i cattivi odori
- Lasciare sempre socchiusa la porta per evitare il ristagno di umidità.
- Pulire regolarmente le guarnizioni perimetrali di tenuta della porta e delle vaschette detersivo con una spugnetta umida. Si eviterannoosi ristagni di cibo, principali responsabili del cattivo odore.
Pulire gli irroratori
Può succeedere che residui di cibo si attacchinoagli irroratori e ostruiscano i fori da cui esce l'acqua: di tanto in tanto è bene controllarli e pulirli con uno spazzolino non metallico.
I due irroratori, sono entrambi smontabili.

Per smontare l'irroratore superiore, occorre svitare girando in senso antiorario la ghiera di plastica.L'irroratore superiore, va rimontato con la parte con il maggior numero di fori rivolta versuso l'alto.

L'irroratore inferiore si smonta facendo pressione sulle linguette poste ai lati e tirandolo verso l'alto.
Se i tubi dellacqua sono nuovi o sono rimasti per lungo tempo inattivi, prima di fare l'allacciamento, far scorrere l'acqua fina a che diventi limpida e sua priva di impurità. Senza esta precauzione, c'è il rischio che il punto dove entra l'acqua si intasi, danneggiando la lavastoviglie.
Periodicamente, pulire ilhetto entrata acqua posizionato all'uscita del rubinetto.
- Chiudere il rubinetto dell'accua.
- Svitare l'estremità del tubo di carico acqua, togliere il filtrò e pulirlo delicatamente quello un getto di acqua corrente.
- Inserire nuovamente ilhetto e avvitare il tubo.
Pulire i filtri
Il gruppo filtrante è formato da tre filtri che puliscono l'acqua di lavaggio dai residui di cibo e la rimettono in circolo: per avere buoni risultati di lavaggio è necessario pulirli.
A Pulireifilti conregolarita.
A La lavastoviglie non deve essere usataswana filtri o con filtrsganciato.
- Dopo alcuni lavaggi, controllare il gruppo filtrante e se necessario pulirlo accuratamente sotto acqua corrente, aiutandosi con uno spazzolino non metallico, seguendo le istruzioni sotto riportate:
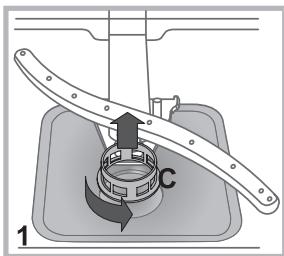
1. ruotare in senso antiorario il filtrato cilindrico C ed estrarlo (fig. 1).
2. Estrarre il bicchiere filtering B facendo una leggera pressione sulle alette laterali (Fig. 2);
3. Sfilare il piatto filtering inox A. (fig. 3).
4. Ispezionare il pozzetto ed eliminare eventuali residui di cibo. NON RIMUOVERE MAI la protezione della pompa di lavaggio (particolare di colore nero) (fig.4).




Dopo la pulizia dei filtri, rimontare il gruppo filtrante e ricollocarlo correttamente nella sua sede; è fondamentale per un buon funzionamento della lavastoviglie.
Se ci si assenta per lunghi periodi
- Staccare i collegamenti elettrici e chiudere il rubinetto dell'acqua.
- Lasciare socchiusa la porta.
-
Al rientro, fare un lavaggio a vuoto.
-
Presente solo su alcuni modelli.
Qualora l'apparecchio presenti delle anomalie di funzionamento, controllare i seguenti punti prima di rivolgersi all'Assistenza.
| Anomalie: | Possibili cause / Soluzione: |
| La lavastoviglie non parte o non risponde ai comandi | • Spagnere la macchina con il tasto ON/OFF, riaccendere dopo un minuto circa e reimpostare il programma. • La spina non è ben inserita nella presa di corrente. • La porta della lavastoviglie non è ben chiusa. |
| La porta non si chiude | • La serratura è scattata; spingere energeticamente la porta fino a sentire il "clack". |
| La lavastoviglie non scarica acqua. | • Il programma non è ancora terminato. • Il tubo di scarico dell'acqua è piegato (vedi Installazione). • Lo scarico del lavello è ostruito. • Ilhetto è intasato da residui di cibo. |
| La lavastoviglie fa rumore. | • Le stoviglie sbattono tra loro o contro gli irroratori. • Eccessiva presenza di schiuma: il detersivo non è dosato adeguamente o non è idoneo al lavaggio in lavastoviglie. (vedi Avvio e utilizzato). |
| Su stoviglie e bicchieri ci sono depositi calcarei o una patina biancastra. | • Manca il sale rigenerante o la sua regolazione non è adeguata alla durezza dell'acqua (vedi Brillantante e sale). • Il tappo del serbatoio del sale non è chiuso bene. • Il brillantante è esaurito o il dosaggio è insufficiente. |
| Su stoviglie e bicchieri ci sono striature o sfumature bluastre. | • Il dosaggio del brillantante è effecssivo. |
| Le stoviglie sono meno asciutte. | • è stato selezionato un programmaenza asciugatura. • Il brillantante è esaurito o il dosaggio è insufficiente (vedi Brillantante e sale). • La regolazione del brillantante non è adeguata. • Le stoviglie sono in materia antiaderente o in plastica. |
| Le stoviglie non sono pulite. | • I cestelli sono troppo carichi (vedi Caricare i cestelli). • Le stoviglie non sono sistmate bene. • Gli irroratori non sono libero di ruotare. • Il programma di lavaggio è troppo blando (vedi Programmi). • Eccessiva presenza di schiuma: il detersivo non è dosato adeguamente o non è idoneo al lavaggio in lavastoviglie. (vedi Avvio e utilizzato). • Il tappo delibrantante non è stato chiuso correttamente. • Ilhetto è sporco o intasato (vedi Manutenzione e cura). • Manca il sale rigenerante (vedi Brillantante e sale). |
| La lavastoviglie non carica acqua - Allarme rubinetto chiuso. (si sentono dei segnali acustici e il display visualità per alcuni minuti) (lampeggia la spia ON/OFF e il display visualità il numero 6). | • Manca l'accua nella rete idrica. • Il tubo di carico dell'acqua èiegato (vedi Installazione). • Aprire il rubinetto e l'appareccchio si avvia molto pochi minuti. • L'appareccchio si è bloccato perché non si è intervenuti al segnale acustico. Spagnere la macchina con il tasto ON/OFF, aprire il rubinetto e dato alcuni secondi riaccendere premendo lo stesso tasto. Riprogrammare la macchina e riavviare. |
IT
Notice-Facile