GS60BF221 - Lavastoviglie AEG-ELECTROLUX - Manuale utente e istruzioni gratuiti
Trova gratuitamente il manuale del dispositivo GS60BF221 AEG-ELECTROLUX in formato PDF.
Questions des utilisateurs sur GS60BF221 AEG-ELECTROLUX
0 question sur cet appareil. Repondez a celles que vous connaissez ou posez la votre.
Poser une nouvelle question sur cet appareil
Scarica le istruzioni per il tuo Lavastoviglie in formato PDF gratuitamente! Trova il tuo manuale GS60BF221 - AEG-ELECTROLUX e riprendi in mano il tuo dispositivo elettronico. In questa pagina sono pubblicati tutti i documenti necessari per l'utilizzo del tuo dispositivo. GS60BF221 del marchio AEG-ELECTROLUX.
MANUALE UTENTE GS60BF221 AEG-ELECTROLUX
48 INFORMAZIONI PER LA SICUREZZA
50 DESCRIZIONE DEL PRODOTTO
51 PANNELLO DEI COMANDI
52 PROGRAMMI
54 OPZIONI
55 PREPARAZIONE AL PRIMO UTILIZZO
58 UTILIZZO QUOTIDIANO
61 PULIZIA E CURA
62 RISOLUZIONE DEI PROBLEMI
65 INSTALLAZIONE
66 DATI TECHNICI
CONSIDERAZIONI AMBIENTALI
Riciclare i materiali con il significato. Buttare l'imballaggio negli appositi contentitori per il riciclaggio.
Aiutare a proteggere l'ambiente e la salute umana e a riciclare rifiuti derivanti da apparecchiature elettriche ed elettroniche. Non smaltire le apparecchiature che riportano il symbolo insieme ai normali rifiuti domestici. Portare il prodotto al punto di riciclaggio più vicino o contattare il comune di residenza.
Informazioni: Dove portare gli appearechi fuori uso? In qualsiasi negotio che vende appearechi nuovi oppure si restituiscono ai centri di raccolta ufficiali della SENS oppure ai riciclatori ufficiali della SENS. La lista dei centri di raccolta ufficiali della SENS è visibile nel site www.sens.ch.
Prodotti | Brochure | Libretto istruzioni
Risoluzione dei problemi | Informazioni sui servizi
www.aeg.com
LEGENDA
Aventenza - Importanti informazioni di sicurezza.
i Informazioni e consigli generali
Informazioni in materia di sicurezza ambientale
Con riserva di modifiche.
PER RISULTATI PERFETTI
Grazie per aver scelto di-acquistare questo prodotto AEG. Lo abbiamo创建工作 per fornirvi prestazioni impeccabili per molti anni, grazie a Tecnologie innovative che vi amplificHERanno la vita - funzioni che non troverete sui normali elettrodomestici. Vi invitiamo di dedicare quale minuto allagettura per sapere come trarre il massimo dal vostro elettrodomestico.
ACCESSORI E PRODOTTI DI CONSUMO
All'interno del webshop AEG troverete tutto ciò che vi serve per fare in modo che i vostri elettrodomestici AEG siano sempre perfettamente puliti e funzionanti. Non mancano inoltre una vasta gamma di accessori studiati e realizzati conformmenteagli elevati standard qualitativi che vi aspettate: pentole, scolaposate, portabottigliee sacchi biancheria delicati...





Visitate il webshop suwww.aeq.com/shop
SERVIZIO CLIENTI E MANUTENZIONE
Consiglio sempre l'impiego di ricambi originali.
Prima di contattare il centro di assistenza, assicurarsi di avere a portata di mano i seguenti dati. Le informazioni sono riportate sulla targhetto.
Modello
PNC
Numero di serie

INFORMAZIONI PER LA SICUREZZA
Leggere attendamente le istruzioni fornite prima di installare e utilizzato l'apparecchiatura. Il produttore non è responsabile se un'installazione ed un uso non corretto dell'apparecchiatura provocano lesioni e uomini. Tenere sempre le istruzioni a portata di mano in caso di necessità durante l'utilizzo.
SICUREZZA DEI BAMBINI E DELLE PERSONE VULNERABILI

AVVERTENZA!
Rischio di soffocamento, lesioni o invalidità permanente.
Non permettere alle persone, compresi i bambini, con capacité fisiche, sensoriali o mentali ridotte, o con mancanza di esperienza e conoscenza di utilizzato l'apparecchiatura, a meno che tale utilizzo non avenga sotto la supervisione o la guida di una persona responsabile della loro sicurezza. Non consentire ai bambini di giocare con l'apparecchiatura.
- Tenere i materiali di imballaggio fuori alla portata dei bambini.
- Tenere i detersivi fuori alla portata dei bambini.
- Tenere i bambini e gli animali domestici lontano alla porta dell'apparecchiatura quando è aperta.
INSTALLAZIONE

AVVERTENZA!
Questa apparecchiatura deve essere installata da persona qualificata o competente.
- Rimuovere tutti i materiali di imballaggio.
Non installment e'utilizzare l'apparecchia-tura se è danneggiata.
Non collocare o usare l'apparecchiatura in un luogo in cui la temperatura possa scendere al di sotto di 0^ - Attenersi alle instruzioni fornite insieme all'apparecchiatura.
Collegamento dell'acqua
- Accertarsi di non danneggiare i tubi di carico e scarico dell'acqua.
- Prima di collegare l'apparecchiatura a tubazioni nuove o non utilizzate per un lungo periodo, far scorrere l'acqua finché non è limpida.
- La prima volta che si usa l'apparecchia-tura, accertarsi che non vi siano perdite.


AVVERTENZA!
Pericolo di tensione.
Il tubo di carico dell'acqua dispone di una valvola di sicurezza e una guaina con un cavo elettrico interno.
- Se il tubo di carico è danneggiato, scollegare immediatamente la spina alla presa elettrica. Contattare il centro di assistenza per sostuire il tubo di carico dell'acqua.
Collegamento elettrico

AVVERTENZA!
Rischio di incendio e scossa eletrica.
- L'apparecchiatura deve disporre di una messa a terra.
- Verificare che i dati elettrici riportati sulla targhetta del modello corrispondano a quelli dell'impianto. In caso contrario, contattare un elettricista.
- Utilizzare sempre una presa antishock elettrico correttamente installata.
Nonutilizzare prese multiple e prolonghe. - Accertarsi di non danneggiare la spina e il cavo di alimentazione. Contattare il Centro di Assistenza o un elettricista
qualificato per sostuire un cavo danneggiato.
- Inserire la spina di alimentazione nella presa solo al termine dell'installazione. Verificare che la spina di alimentazione rimanga accessibile dopo l'installazione.
Non tirare il cavo di alimentazione per scollegare l'apparecchiatura. Tirare solo la spina.
USO
DELL'APPARECCHIATURA
L'apparecchiatura è destinata all'uso domestico e applicazioni simili, come:
- Cucine di negozi,UFFici e altri ambienti di lavoro
- Fattorie
- Clienti di hotel, motel e altri ambienti residenziali
- Bed and breakfast.

AVVERTENZA!
Rischio di lesions.
- Non apportare modifiche alle specifiche di但这a apparecchiatura.
- Sistemare i coltelli e le posate appuntite nel cestello portatosate con l'estre-mità rivolta verso il basso o in posizione orizzontale.
Non tenere la porta dell'apparecchiatura aperta alla supervisione per evitare di caderci.
Non sedersi o salire sulla porta aperta. - I detersivi per la lavastoviglie sono pericolosi. Osservare le struzioni di sicurezza riportate sulla confezione del deter-sivo.
Non bere o giocare con l'acqua all'interno dell'apparecchiatura.
Non rimuovere i piatti dall'apparecchia-tura sino al completeness del programma. Potrebbe rinanere del deter-sivo sulle stoviglie.

AVVERTENZA!
Rischio di scossa elettrica, incendio o uszioni.
Non appoggiare o tenere liquidi o materiali infiammabili, né oggetti facilmente incendiabili sull'apparecchiatura, al
suo interno o nelle immeditate vicinanze.
- Non usare acqua spray né vapore per pulire l'apparecchiatura.
L'apparecchiatura può rilasciare vapore caldo se si après la porta durante lo svolgimento del programma.
SMALTIMENTO

AVVERTENZA!
Rischio di lesions o soffocamento.
- Staccare la spina dall'alimentazione elettrica.
- Tagliare il cavo di alimentazione e smaltirlo.
Rimuovere il blocco porta per evitare che bambini e animali domestici riman-gano chiusi all'interno dell'apparecchia-tura.
DESCRIZIONE DEL PRODOTTO

1 Piano di lavoro
2 Mulinello sul cielo vasca
3 Mulinello superiore
4 Mulinello inferiore
5 Filtri
6 Targhetto data
7 Contenitore del sale
8 Selettore della durezza dell'acqua
9 Contenitore del brillantante
10 Contenitore del detersivo
11 Cestello per le posate
12 Cestello inferiore
13 Cestello superiore

PANNELLO DEI COMANDI

1 Tasto on/off
6 Tasto Delay
Guida programma
Tasto Start
3 Tasto Program
8 Spie
4 Spiedelprogramma
9 Tasto Option
5 Display
| Spie | Descrizione |
| ® | Spia della funzione Multitab. |
| + | Spia della funzione ExtraHygiene. |
| / | Spia fasi di lavaggio. |
| /· | Spia fase di risciacquo. |
| /·/· | Spia della fase di asciugatura. |
| →| | Spia di fine. |
| · | Spia del brillantante. La spia è spenta durante l'esecuzione del programma. |
| ·/ | Spia del sale. La spia è spenta durante l'esecuzione del programma. |
| ·/· | Spia della partenza ridarata. |
| ·/·/ | Spia porta. Si accende quando la porta non è chiu-sa. |
PROGRAMMI
| Programma | Grado di sporco Tipo di carico | Fasi dei programmi | Opzioni |
| AUTO 1) | Tutto Stoviglia miste, po-sate e pentole | Prelavaggio Lavaggio 45 °C o 70 °C Risciacqui Asciugatura | ExtraHygiene |
| PRO 2) | Sporco intenso Stoviglia miste, po-sate e pentole | Prelavaggio Lavaggio 70 °C Risciacqui Asciugatura | |
| SILENT 3) | Grado di sporco normale Stoviglia e posate | Prelavaggio Lavaggio 50 °C Risciacqui Asciugatura | |
| 30MIN 4) | Sporco fresco Stoviglia e posate | Lavaggio 60 °C Risciacquo | ExtraHygiene |
| ECO 5) | Grado di sporco normale Stoviglia e posate | Prelavaggio Lavaggio 50 °C Risciacqui Asciugatura | ExtraHygiene |
| 50MIN | Grado di sporco leggero Stoviglia e posate | Lavaggio 55 °C Risciacqui | ExtraHygiene |
| 6) | Tutto | Prelavaggio |
1) L'apparecchiatura rileva il grado di sporco e la quantità di stoviglie presenti nei cestelli. Regola automaticamente la temperature e quantità dell'acqua, il consumo di elettricità e la durata del programma.
2) Questo programma comprende l'opzione ExtraHygiene.
3) Questo è il programma di lavaggio più silenzioso. La pompa funzione a velocità ridotta per diminuire il livello di rumore. Data la bassa velocità, il programma viene allungato.
4) Con questo programma è possibile lavare un carico di stoviglia con sporco fresco. Garantisce buoni risultati di lavaggio in breve tempo.
5) Programma standard per gli istuti di prova. Questo programma consente un utilizzo più efficente di acqua ed elettricità per lavare stoviglie e posate con grado di sporco normale. Fare riferimento all'opuscolo in dotazione per le informazioni sulle condizioni di prova.
6) Utilizzare quello programma per un risciacquo veloce delle stoviglie. Ciò evita la formazione di cattivi odori all'interno dell'apparecchiatura. Non utilizzato il detersivo con quello programma.
Valori di consumo
| Programma1) | Energia elettrica (kWh) | Acqua (l) |
| AUTO | 0.9 - 1.7 | 8 - 15 |
| PRO | 1.5 - 1.6 | 13 - 14 |
| SILENT | 1.1 - 1.2 | 9 - 11 |
| 30MIN | 0.9 | 9 |
| ECO | 0.9 - 1.0 | 9 - 11 |
| 50MIN | 1.0 - 1.2 | 10 - 11 |
| 0.1 | 4 |
1) Il display indica la durata del programma.
I valori di consumo e di durata possono variar a seconda della pressione e della temperatura dell'acqua, delle variazioni dell'alimentazione elettrica, delle opzioni selezione e della quantità di stoviglie.
OPZIONI
FUNZIONE MULTITAB
Attivare la funzione solo quando si utilizza del detersivo in pastiglie multifunzione. La funzione disattiva l'erogazione di brillantante e sale. Le spie corrispondenti sono spente. La durata del programma può essere augmentare.
EXTRAHYGIENE
Questa funzione permette di svolgere una migliorione azione igienizzante. Durante la fase di risciacquo, la temperature viene mantenuta a 70^ per 10 - 14 minuti.
ATTIVAZIONE DELLE OPZIONI
- Attivare o disattivare le opzioni prima di avviare un programma. Non è possible attivare o disattivare le opzioni quando un programma è in corso.
| Premere il tasto Op-tion | ® | + |
| 1 volta | on | off |
| 2 volte | off | on |
| 3 volte | on | on |
| 4 volte | off | off |
Se si smette di utilizzato le pastiglie combinate, prima di iniziare ad utilizzato il detersivo, il brillantante e il sale per lavastoviglia separatamente, eseguire le seguenti operazioni:
- Disattivare la funzione Multitab.
- Impostare il decalcificatore dell'acqua sul livello più alto.
- Assicurarsi che i contentitori del sale e del brillantante siano pieni.
- Avviare il programma più breve con una fase di risciacquo,enza detersivo e alla piatti.
- Regolare il decalcificatore dell'acqua in base alla durezza dell'acqua locale.
- Regolare la quantità di brillantante ri-lasciata.
PREPARAZIONE AL PRIMO UTILIZZO
- Accertarsi che il livello del decalcificatore dell'acqua preimpostato alla fabbrica sua conforme alla durezza dell'acqua locale. In caso contrario, regolare il decalcificatore dell'acqua. Contattare l'ente locale di erogazione idrica per conoscere la durezza locale dell'acqua.
- Riempire il contentitore del sale.
- Riempire il contentitore del brillantante.
- Aprire il rubinetto dell'acqua.
- Potrebbero rimanere dei residi di la lavorazione all'interno dell'apparecchia-tura. Avviare un programma per eliminari. Non utilizzato il detersivo e non caricare stoviglie.

Se si utilizes del detersivo in pastiglie multifunzione, attivare la funzione Multitab. Queste pastiglie contengono agenti che incorporeno le funzioni di detersivo, brillante e sale. Assicurarsi che le pastiglie scelte siano adequate alla la durezza dell'acqua locale. Fare riferimento alleindicazioni riportate sulla confezione dei prodotti.
REGOLARE IL DECALCIFICATORE DELL'ACQUA
L'acqua dura contiene un' elevata quantità di minerali che sono causare danni all'apparecchiatura e risultati di lavaggio scadenti. Il decalcificatore dell'acqua neutralizza tali minerali.
Il sale per lavastoviglie mantiene il decalcificatore dell'acqua pulito e in buone condizioni. Fare riferimento alla tabella per regolare il decalcificatore dell'acqua sul livello corretto. Ciò assicurca che il decalcificatore dell'acqua utilizi l'esatta quantità di sale per lavastoviglie.

Il decalcificatore dell'acqua deve.
essere regolato manualmente ed.
elettronicamente.
| Durezza dell'acqua | Regolazione del decalcificatore dell'acqua | ||||
| Gradi tedeschi (°dH) | Gradi francesi (°fH) | mmol/l | Gradi Clarke | Manuale | Elettroni- ca |
| 51 - 70 | 91 - 125 | 9.1 - 12.5 | 64 - 88 | 2 1) | 10 |
| 43 - 50 | 76 - 90 | 7.6 - 9.0 | 53 - 63 | 2 1) | 9 |
| 37 - 42 | 65 - 75 | 6.5 - 7.5 | 46 - 52 | 21) | 8 |
| 29 - 36 | 51 - 64 | 5.1 - 6.4 | 36 - 45 | 21) | 7 |
| 23 - 28 | 40 - 50 | 4.0 - 5.0 | 28 - 35 | 21) | 6 |
| 19 - 22 | 33 - 39 | 3.3 - 3.9 | 23 - 27 | 21) | 51) |
| 15 - 18 | 26 - 32 | 2.6 - 3.2 | 18 - 22 | 1 | 4 |
| 11 - 14 | 19 - 25 | 1.9 - 2.5 | 13 - 17 | 1 | 3 |
| 4 - 10 | 7 - 18 | 0.7 - 1.8 | 5 - 12 | 1 | 2 |
| < 4 | < 7 | < 0.7 | < 5 | 12) | 12) |
1) Impostazione di fabbrica.
2) Nonutilizzareil saleaquesto livello.
Impostazione manuale

Ruotare il selettore della durezza dell'acqua nella posizione 1 o 2.
Impostazione elettronica
- Premere il tasto on/off per accendere l'apparecchiatura.
- Verificare che l'apparecchiatura sia in modalità impostazione. Fare riferimento a "IMPOSTAZIONE ED AVVIO DI UN PROGRAMMA".
- Tenere premuti contemporaneamente Delay e Start finché non lampeggiano le spie (A), (B) e (C).
4. Premere Program.
- Le spie (B) e (C) si spengono.
- La spia (A) continua a lampeggiare.
-
Il display visualizza l'impostazione del decalcificatore dell'acqua. Esempio: SL = livello 5.
-
Premere ripeturamente Program per modificare l'impostazione.
- Spagnere l'apparecchiatura per confermare.
RIEMPIRE IL CONTENITORE DEL SALE


ATTENZIONE
Utilizzare solo sale per lavastoviglie. Altri prodotti potrebbero danneggiare l'apparechiatura. Acqua e sale potrebbero fuori-scire dal contentatore del sale durante il riempimento. Rischio di corrosione. Per evitarla, avviare un programma dopo aver riempito il contentatore del sale.
- Ruotare il tappo in senso antiorario e aprire il contentatore del sale.
- Versare 1 litre d'acqua nel contento re del sale (solo la prima volta).
- Riempire il contentatore del sale.
- Togliere l'eventuale sale rimasto at-torno all'apertura del contentitore.
- Riavvitare il tappo in senso orario per chiudere il contentatore del sale.
Utilizzare solo prodotti brillantiti specifici per lavastoviglie. Altri prodotti potrebbero danneggiare l'apparecchiatura.

Durante l'ultima fase di risciacquo, il brillantante aiuta ad asciugare le stoviglieenersa lasciare striature e macchie.
- Premere il tasto di sgancio (D) per aprirè il coperchio (C).
- Riempire il contentitore del brillantante (A) non及其他 il segno di "max."
- Rimuovere l'eventuale brillantante fuoriuscito con un panno assorbente, per evitare che si formi troppa schiuma.
- Chiudere il coperchio. Assicurarsi che il tasto di sgancio si blocchi in posizione.

É possibile ruotare il selettore del dosaggio (B) tra la posizione 1 (quantità minima) e la posizione 4 (quantità massima).
UTILIZZO QUOTIDIANO
- Aprire il rubinetto dell'acqua.
-
Premere il tasting on/off per accendere l'apparecchiatura. Verificare che l'apparecchiatura sa in modalità impostazione. Fare riferimento a "IMPOSTAZIONE ED AVVIO DI UN PROGRAMMA".
-
Se la spia del sale è accesa, riempire il contentatore del sale.
-
Se la spia del brillante è accesa, riempire il contentatore del brillante.
-
Caricare i cestelli.
- Aggiungere il detersivo.
- Impostare e avviare il programma corretto per il tipo di carico ed il grado di sporco.
CARICARE I CESTELLI

Fare riferimento all'opuscolo in dotazione per gli esempi su come caricare i cestelli.
Utilizzare l'apparecchiatura esclusamente per lavare articoli idonei al lavaggio in lavastoviglie.
UTILIZZO DEL DETERSIVO

Non introdure nell'apparecchiatura articoli di legno, osso, alluminio, peltro o rame.
Non insere nell'apparecchiatura oggetti che possano assorbire acqua (spugne, panni).
- Eliminare i residui di cibo dalle stoviglie.
- Ammorbidire le trace di bruciato nelle stoviglie.
- Disporre gli utensili cavi (tazze, bicchieri e padelle) con l'apertura rivolta verso il basso
Assicurarsi che le posate e i piatti non aderiscano tra loro. Mescolare i cucchiai con le altre posate.
- Verificare che i bicchieri non si tocchino l'un l'altro.
- Disporre gli oggetti piccoli nel cestello per le posate.
- Sistemare gli oggetti leggeri nel cestello superiore in modo tale che non possano muoversi.
- Prima di avviare un programma, assicurarsi che i mulinelli possano ruotare liberamente.

ATTENZIONE
Utilizzare solo detersivi per lavastoviglie.
- Premere il pulsante di sgancio (B) per aprirè il coperchio (C).
- Mettere il detersivo nel contentatore (A).
- Se il programma ha una fase di prelimavaggio, mettere una piccola quantità di detersivo nella parte interna della porta dell'apparecchiatura.
- Se si usa detersivo in pastiglie, mettere la pastiglia nel contentitore (A).
- Chiudere il coperchio. Assicurarsi che il pulsante di sgancio si blocchi in posizione.

Non usare una dose di detersivo superiore alla quantità racommandata. Osservare le istruzioni riportate sulla confezione del detersivo.

Il detersivo in pastiglie non si scioglie durante i programmi brevi e i residui di detersivo possono rimanere sulle stoviglie.
Consigliamo diutilizzare il detersivo in pastiglie con i programmi lunghi.
IMPOSTAZIONE ED AVVIO DI UN PROGRAMMA
Modalità impostazione
L'apparecchiatura deve essere in modalità impostazione per poter avviare alcune operazioni.
L'apparecchiatura è in modalità impostazione quando, dopo l'accensione:
- Tutte le spie del programma si accendono.
- Sul display compaiono due barre di stato orizzontali.
Se il pannello dei comandi alla autre condizioni, tenere premuti contemporaneamente Delay e Start finché l'apparecchiatura non entra in modalità impostazione.
Avvio del programmaenza partenza ritardata
- Aprire il rubinetto dell'acqua.
- Premere il tasting On/Off per accendere l'apparecchiatura.
- Chidere la porta della lavastoviglie.
- Verificare che l'apparecchiatura sia in modalità impostazione.
-
Continuare a premere Program finché non si accende la spia del programma che si desidera impostare.
-
Sul display lampeggia la durata del programma.
-
Le spie delle fasi del programma selezionato si accendono.
-
Se lo si desidera, si possono impostare le opzioni.
-
Premere Start. Il programma si avvia.
-
Rimane accesa solo la spia della fase in corso.
- Il display indica la durata del programma che diminuisce con intervalli di 1 minuto.
Avvio del programma con partenza ritardata
- Selezionare il programma e le opzioni.
-
Continuare a preme Delay finché il display indica l'intervaldo desiderato per la partenza ritardata (da 1 a 24 ore).
-
Il tempo di partenza ritardata selezionato lampeggia sul display.
-
La spia della partenza ridartata è accesa.
-
Premere Start. Il conto alla rovescia incomincia.
-
Il display在哪? il conto alla rovescia che diminuisce con intervalli di 1 ora.
-
Le spie delle fasi del programma specificato si spengono.
-
Appena è completato il conto alla rovescia, il programma si avvia.
-
La spia della fase in corso si accende.
Apertura della porta durante il funzionamento dell'apparecchiatura
Se si après la porta, la macchina si blocca.
Quando si chiude nuovamente la porta, la macchina riprende dal punto in cui era stata interrotta.
Annullamento della partenza ridartdata quando è in corso il conto alla rovescia.
Premere Delay nuovamente finché:
- Il display indica la durata del programma.
- Le spie delle fasi del programma si accendono.
- Il programma si avvia.
Annullamento del programma
Premere a lungo Delay e Start contemporamente finché:
- Tutte le spie del programma si accendono.
- Sul display compaiano 2 barre di stato orizzontali.

Verificare che vi sia del detersivo nell'apposto contentitore prima di avviare un nuovo programma.
Al terminel delprogramma
Una volta terminato il programma di lavaggio, il display在哪 0 e si accende la spia di fine.
- Aprire la porta dell'apparecchiatura.
- Premere il tasting On/Off per spegnere l'apparecchiatura.
- Chiudere il rubinetto dell'acqua.

Se non si preme il tasting on/off, il dispositorio Auto Off spegne automaticamente l'apparecchiatura dopo alcuni minuti. Ciò contribui-sce a ridurre il consumo di energia.
- Per ottenere risultati di asciugatura migliorieri, lasciare la porta dell'apparecchia-tura socchiusa per alcuni minuti.
- Lasciare raffreddare le stoviglie prima di estrarle alla lavastoviglie. Le stoviglie calde possono essere più facilemente danneggiabili.
- Vuotare prima il cestello inferiore e quindi quello superiore

Sulle pareti laterali e sulla porta della lavastoviglie più formarsi della condensa perché l'acciaio inox si raffredda più velocemente della ceramica.
PULIZIA E CURA

AVVERTENZA!
Prima di eseguire qualunque intervento di manutenzione, spe-gnere l'apparecchiatura ed estrarre la spina alla presa.

Filtri sporchi e mulinelli ostruiti riducono i risultati di lavaggio. Eseguire controli periodici e pulirli, se necessario.
PULIZIA DEI FILTRI



PULIZIA DEI MULINELLI
Non rimuovere i mulinelli. Se i fori dei mulinelli sono ostrui da residui di sporco, liberarli servendosi di un oggetto a punta fine.
PULIZIA ESTERNA
Pulire l'apparecchiatura con un panno inumidito e morbido.
- Ruotare il filtrlo (A) in senso antiorario e rimuoverlo.
- Per smontare ilhetto (A), estrarre (A1) e (A2).
- Rimuovere il filtro (B).
- Sciacquare i filtri con acqua.
- Riccollocare il filtro (B) nella posizione iniziale. Verificare che sua montato correttamente除去 le due guide (C).
- Montare il filtrlo (A) e posizionarlo all'interno del filtrlo (B). Ruotarlo in senso orario finché non si blocca in posizione.

Un'errata posizione dei filtri più comportare scaden-ti risultati di lavaggio e danni all'apparecchiatura.
Utilizzare solo detergenti neutri. Non usare prodotti abrasivi, spugnette abrasive o solventi.
RISOLUZIONE DEI PROBLEMI
L'apparecchiatura non si avvia o si blocca durante il funzionamento.
Cercare daprima di risolvere il problema (fare riferimento alla tabella). Se non è possibile, contattare il Centro di Assistenza.
Il display visualizza un codice allarme in alcuni casi:
- 10 - L'apparecchiatura non carica l'acqua.
20 - L'apparecchiatura non scarica I'acqua.
- 30 - Il disposativo antiallagamento è attivo.

AVVERTENZA!
Specnere l'apparecchiatura prima di eseguire i controlli.
| Problema | Causa possibile | Possibile soluzione |
| Il programma non si avvia. | La spina non è inserita nella presa di alimentazione. | Inserire la spina nella presa. |
| La porta dell'apparecchiatura è aperta. | Chiudere la porta dell'apparecchiatura. | |
| Non è stato premuto Start. | Premere Start. | |
| Il fusabile è danneggiato. | Sostituire il fusabile. | |
| È stata impostata la parten-za ridardata. | Annullare la partenza ritar-data o attendere il termine delconto alla rovescia. | |
| L'apparecchiatura non carica acqua. | Il rubinetto dell'acqua è chiuso. | Aprire il rubinetto dell'ac-qua. |
| La pressione dell'acqua è troppo Bassa. | Contattare l'ente erogatore locale. | |
| Il rubinetto dell'acqua è ostruito o intasato dal calca-re. | Pulire il rubinetto dell'acqua. | |
| Il filtrlo nel tubo di carico dell'acqua è ostruito. | Pulire il filtrro. | |
| Il tubo di carico dell'acqua è strozzato o piegato. | Controllare che il tubo sia stato installato correttam-te. | |
| Il dispositivo antiallagamen-to è attivo. Ci sono perdite d'acqua nell'apparecchiatura. | Chiudere il rubinetto dell'ac-qua e contattare il Centro di Assistenza. | |
| L'apparecchiatura non scarica l'acqua. | Lo scarico del lavello è ostruito. | Pulire lo scarico del lavello. |
| Il tubo di scarico dell'acqua è strozzato o piegato. | Controllare che il tubo sia stato installato correttam-te. |
Una volta effettuati质疑i controlling, accendere l'apparecchiatura. Il programma riprende dal punto in cui era stato interrotto.
In caso di ricomparsa dell'anomalia, contattare il Centro di Assistance.
Se il display在哪另一些 codici di allarme, contattare il Centro di Assistenza.
I RISULTATI DI LAVAGGIO E DI ASCIUGATURA NON SONO SODDISFACENTI.
| Problema | Possible causa | Possible soluzione |
| Le stoviglia non so-no pulite. | I filtri sono ostruiti. | Pulire i filtri. |
| I filtri non sono montati e installati correttamente. | Controllare che i filtri siano montati e installati corretta-mente. | |
| I mulinelli sono ostruiti. | Rimuovere i residui di sporco servendosi di un oggetto ap-puntito. | |
| Il programma non era cor-retto per il tipo di carico ed il grado di sporco. | Accertarsi che il programma selezionato sia corretto per il tipo di carico e il grado di sporco. | |
| Sistemazione non corretta delle stoviglia nei cestelli.L'acqua non ha raggiunto tutte le stoviglia. | Assicurarsi che la posizione delle stoviglia nei cestelli si corretta e che l'acqua possa raggiungerle essere problema. | |
| I mulinelli non ruotavano liberamente. | Assicurarsi che la posizione delle stoviglia nei cestelli si corretta e non blocchi la ro-tazione dei mulinelli. | |
| È stata utilizzata una dose insufficiente di detersivo. | Assicurarsi di aver aggiunto la corretta quantità di deter-sivo nel contentatore prima di avviare un programma. | |
| Non era presente il detersivo nel contentatore. | Assicurarsi di aver aggiunto il detersivo nel contentatore pri-ma di avviare un programma. | |
| Ci sono depositi di calcare sulle stoviglie. | Il contentitore del sale è vuoto. | Assicurarsi che vi sia del sale per lavastoviglia nel contenti-tore. |
| Il livello impostato del de-calcificatore dell'acqua non è corretto. | Accertarsi che il livello del decalcificatore dell'acqua preimpostato alla fabbrica sua conformere alla durezza dell'acqua locale. | |
| Il tappo del contentitore del sale è lento. | Avvitare a fondo il tappo. | |
| Su bicchieri e stoviglie rimangono del-le striature bianca-stre o delle macchie o striature bluastre. | La quantità di brillantente erogata è eccessiva. | Ridurre il dosaggio del brillantante. |
| Problema | Possible cause | Possible soluzione |
| È stata utilizzata una dose eccessiva di detersivo. | Assicurarsi di aver aggiunto la corretta quantità di deter-sivo nel contentatore prima di avviare un programma. | |
| Tracce diGPCe d'acqua che si sono asciugate su bic-chieri e stoviglie. | La quantità di brillante erogata era insufficiente. | Aumentare il dosaggio del brillantante. |
| La causa potrebbe essere la qualità del detersivo. | Cambiare marca di detersi-vo. | |
| Le stoviglie sono bagnate. | Il programma non inclu-deva una fase di asciuga-tura. Il programma includeva una fase di asciugatura a bassa temperature. | Per ottenere risultati di asciu-gatura migliori, lasciare la porta socchiusa per alcuni minuti al termine del pro-gramma di lavaggio. |
| Le stoviglie sono bagnate ed apache. | Il contentitore del brillantan-te è vuoto. | Assicurarsi che sia presente del brillantante nel contenti-lore. |
| La causa potrebbe essere la qualità del brillantante. | Cambiare marca di brillan-tante. | |
| La causa potrebbe essere la qualità del detersivo in pa-stiglie multifunzione. | Cambiare marca di deter-sivo in pastiglia multifun-zione. Attivare il contentitore del brillantante e utilizzato il brillantante insieme al de-tersivo in pastiglia multi-funzione. |
Attivazione del contentatore del brillantante con la funzione Multitab attenuata
- Premere il tasting on/off per accendere l'apparecchiatura.
- Verificare che l'apparecchiatura sia in modalità impostazione. Fare riferimento a "IMPOSTAZIONE ED AVVIO DI UN PROGRAMMA".
- Tenere premuti contemporaneamente Delay e Start finché non lampeggiano le spie (A), (B) e (C).
-
Premere Option.
-
Le spié (A) e (C) si spengono.
- La spia (B) continua a lampeggiare.
-
Il display visualizza l'impostazione del contentatore del brillantante.
-
Premere Option perambiare l'impostazione.
- Spagnere l'apparecchiatura per con-fermare.
- Regolare il dosaggio del brillantante.
- Riempire il contentitore del brillantante.
INSTALLAZIONE

AVVERTENZA!
Fare riferimento alle "INFORMAZIONI PER LA SICUREZZA".
INSTALLAZIONE SOTTO IL PIANO DI LAVORO DELLA CUCINA


- Controllare che le dimensioni del vano coincidano con quello della figura.
- Collocare l'apparecchiatura vicino ad un rubinetto dell'acqua e ad uno scarico.
- Togliere il piano di lavoro dell'apparecchiatura.
- Livellare l'apparecchiatura ruotando i piedini regolabili in senso orario o antiorario. Un livellamento corretto del- l'apparecchio consente la corretta chiusura e tenuta della porta.
- Installare l'apparecchiatura除去 il piano di lavoro della cucina.
COLLEGAMENTO DEL TUBO DI SCARICO DELL'ACQUA


Collegare il tubo di scarico dell'acqua
- Il sifone del lavello. Collegare il tubo flessibile di scarico sotto il piano di lavoro della cucina. Ciò impedisce che l'acqua di scarico del lavandino reflui-sca nell'apparecchiatura.
- Un tubo fisso dotato di sfiato il cui diametro interno deve essere di minimo 40 mm.
Togliere il tappo del lavandino quando l'apparecchiatura scarica l'acqua per evitare che l'acqua rifluisca nell'apparecchiatura.
Una prolunga del tubo di scarico dell'acqua deve essere di lunghezza inferiore ai 2 metri e ave lo stesso diametro del tubo di scarico dell'apparecchiatura.
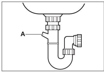
Se si collega il tubo di scarico a un sifoneippo sotto al lavello, togliere la membrana in plastica (A). Una rimozione incompleta della membrana provoca un'osluzione nel sifone e problemi di scarico del'acqua.
L'apparecchiatura è corredata di una valvola di non ritorno che impedisce all'acqua sporca di fluire nuovamente nell'apparecchiatura. In presenza di una valvola di non ritorno nel sifone del lavandino, toglierla per evitare che l'apparecchiatura scarichi in modo scorretto.
DATI TECNICI
| Dimensioni | Altezza x Larghezza x Profon-dità (mm) | 596 / 850 / 610 |
| Collegamento elettrico | Fare riferimento alla targhetta dati. | |
| Tensione | 220-240 V | |
| Frequenza | 50 Hz | |
| Pressione dell'acqua di alimentazione | Min. / max. (bar / MPa) | (0.5 / 0.05) / (8 / 0.8) |
| Collegamento dell'acqua 1) | Acqua fredda o calda2) | max. 60 °C |
| Capacità | Coperti | 12 |
1) Collegare il tubo di carico dell'acqua a un rubinetto con filettatura 3/4" .
2) Consigliamo il collegamento all'acqua calda se prodotta mediante utilizzo di fonti di energia代替a (per es. pannelli solari, impianti eolici) per ridurre il consumo di energia.
CONTENTS
69 SAFETY INFORMATION
71 PRODUCT DESCRIPTION
72 CONTROL PANEL
73 PROGRAMMES
75 OPTIONS
76 BEFORE FIRST USE
79 DAILYUSE
82 CARE AND CLEANING
83 TROUBLESHOOTING
86 INSTALLATION
87 TECHNICAL INFORMATION
ManualeFacile