RDNT230I20W - 179 BEKO - Notice d'utilisation et mode d'emploi gratuit

Retrouvez gratuitement la notice de l'appareil RDNT230I20W BEKO au format PDF.

Page 33
Voir la notice : Français FR English EN Bahasa Indonesia ID
Assistant notice
Powered by ChatGPT
En attente de votre message
Informations produit

Marque : BEKO

Modèle : RDNT230I20W

Catégorie : 179

Téléchargez la notice de votre 179 au format PDF gratuitement ! Retrouvez votre notice RDNT230I20W - BEKO et reprennez votre appareil électronique en main. Sur cette page sont publiés tous les documents nécessaires à l'utilisation de votre appareil RDNT230I20W de la marque BEKO.

MODE D'EMPLOI RDNT230I20W BEKO

• Never use the parts on your refrigerator such as the door as a means of support or step. EN

• Avoid causing damage on power cable when transporting the refrigerator. Bending cable may cause fire.

Never place heavy objects on power cable. Do not touch the plug with wet hands when plugging the product. EN

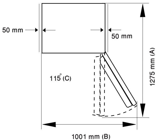
• When you have to place your product next to another refrigerator or freezer, the distance between devices should be at least 8cm.

Otherwise, adjacent side walls may be humidified. • The product shall never be used while the compartment which is located at the top or back of your product and in which electronic boards are available EN

• Use only potable water.

Child safety • If the door has a lock, the key should be kept away from reach of children. EN

5 Using your refrigerator

Please review this list before calling the service. It will save your time and money. This list includes frequent complaints that are not arising from defective workmanship or material usage. Some of the features described here may not exist in your product. The refrigerator does not operate. • The fridge temperature is adjusted to a very high value. >>>Fridge compartment temperature setting has an effect on the temperature of the freezer. Change the temperatures of the fridge or freezer and wait until the relevant compartments attain a sufficient temperature. • Doors are opened frequently or left ajar for a long time. >>>Do not open the doors frequently. • Door is ajar. >>>Close the door completely.