RDNT360I20W - 56 BEKO - Panduan pengguna gratis
Temukan panduan perangkat secara gratis RDNT360I20W BEKO dalam format PDF.
Unduh instruksi untuk 56 dalam format PDF gratis! Temukan panduan Anda RDNT360I20W - BEKO dan ambil kembali perangkat elektronik Anda. Di halaman ini diterbitkan semua dokumen yang diperlukan untuk penggunaan perangkat Anda. RDNT360I20W merek BEKO.
PANDUAN PENGGUNA RDNT360I20W BEKO
Bacalah petunjuk pengguna ini terlebih dahulu!
Yth. Pelanggan,
Kami berharap telah produk ini, yang telah diproduksi di pabrik modern dan diperiksa dengan prosedur kontral kualitas yang paling cermat, akan memberikan layanan yang efektif bagi Anda.
Karena itu, bacalah tersebut petunjuk pengguna ini dengan cermat sebelum untuk meng gunakan Produk dan simpanlah petunjuk ini sebagai acuan. Jika Anda memindahtangankan Produk ini kepada orang lain, berikanlah juga petunjuk pengguna ini.
Petunjuk pengguna ini akan membantu Anda meng gunakan Produk ini dengan cara yang cepat dan aman.
- Bacalah buku petunjuk sebelum memasang dan mengoperasikan Produk.
- Pastikan Anda membraca petunjuk untuk keselamatan.
- Simpanlah buku petunjuk ini di tempat yang mudah difangkau karena Anda mungkin membutuhkannya lagi nanti.
- Bacalah dokumen lain yang disertakan bersama Produk.
Ingatlah bahwa petunjuk pengguna ini juga berlaku untuk menjadi model lain. Perbedaan antara model akan diidentifikasi dalam buku petunjuk.
Penjelasan symbol-simbol
Dalam tersebut petunjuk pengguna ini, digunakan simbol-simbol berikut ini:
Informasi penting atau tips berguna.
Peringatan mengenai kondisi yang membahayakan hidup dan harta benda.
A Peringatan(OPengenai tegangan listrik.
1 Kulkas Anda 3
2 Peringatan Penting untuk Keselamatan 4
Keselamatan Umum............4
Untuk Produk dengan dispenser air;............10
Keselamatan anak-anak ......... 10
Anak-anak harus diawasi untuk mencegahmereka merusak produk.Kepatuhan terhadap Kebijakan WEEE dan Pembuangan
Produk Bekas:............10
Hal-hal yang perlu dilakukan untuk menghemat energia............12
Saran untuk ruang makanan segar............12
3 Pemasangan 13 Hal-hal yang perlu diperhatikan saat memindahkan kulkas .1 Sambungan kelistrikan .1. Pemuangan kemasan .1. Membuang kulkas lama Anda... 1. Penempatan dan Pemasangan 1. Menyesuaikan kaki-kaki .1. Peringatan Pintu Terbuka .1. Mengganti lampu pengenanang 1.
4 Persiapan 17
5 Menggunakan kulkas 19
Panel indicator. 19
Membekukan makanan segar... 21
Saran-saran untuk mengawetkan makanan beku. 21
Menarah makanan. 22
Informasi Deep-freeze. 22
Ice-matic PDT. 23
(Ini telah fitur opsional) 23
Wadah es. 23
Kipas 24
Crisper 24
Ruang pendingin 24
Deskripsi dan pembersihan filterbau: 25
opsional* 25
Membalik pintu 26
6 Pemeliharaan dan pembersihan 27
7 Pemecahan Masalah 28

- Rak pintu ruang lemari pendingin
- Tombol pengaturan suhu
- Rak pintu bergerak
- Bagian telur
- Rak botol
- Kaki yang dapat disesuaikan
- Crisper
-
Ruang pendingin
-
Kunci dan anak;kunci
- Rak botol
- Rak kaca ruang lemari pendingin
- Kipas
- Rak ruang freezer
- Kotak es / Ruang pembuatan es
- Ruang freezer
- Ruang lemari pending in *optional
Gambar yang ada dalam buku petunjuk ini adalah gambar skematik dan dapat tidak persis sama denganProduk Anda. Jika bagian topik tidak ada padaProduk yang sudahAnda beli, berarti bagianituanyak ada untuk model lain.
2 Peringatan Penting untuk Keselamatan
Bacalah informasi berikut ini. Lalai menaati informasi ini dapat说我yebabkan cedula kepada kerusakan material. Atau, semua garansi dan komitmen keandalan akan menjadi tidak berlaku. Masa pakai Produk Anda ini telah 10 tahun. Selama jangka waktu ini, suku cadang asli akan tersedia untuk mengoperasikanproduk dengan benar. Maksud Penggunaan Produkt ini dimaksudkan untuk digunakan
- di dalam ruangan dan area tertutupseperti rumah;
- di dalam lingkungan kerja yang tertutup speerti toko dan kantor;
di dalam area akomodasi yang tertutupseperti rumah
pertanian, hotel, rumah penginapan. pensions.
- Kulkas ini sebaiknya tidak digunakan di luar ruangan.
Keselamatan Umum
- Saat Anda ingin membruang/tidakLAGI mencGNUakan Produk, kami menyarankan agar Anda bertanya kepada servis resmi untuk mengetahui informasi yang dibutuhkan dan badan yang berwenang.
- Tanyakan kepada servis resmi semua pertanyaan dan masalah Anda yang terkait dengan kulkas ini. Jangan;mengutak-atik atau membiarkan seseorang mengutak-atik kulkas tanpa memberi tahun servis resmi.
- Untuk Produk yang dilengkapi ruang
freezer; Jangan
memakan es
krim cone dan es
batu langsung
setelah Anda
mengeluarkannya
dari ruang freezer! (Ini dapat说我yebabkan radang dingin pada mulut Anda.)
- Untuk Produk yang dilengkapi ruang freezer; Jangan menarah minuman cair dalam botol dan kaleng dalam ruang freezer. Jika dilakukan, minuman-minuman itu dapat pecah.
- Jangan menyentuh makanan beku dengan tangan; makanan demikian dapat melekat pada tangan Anda.
- Cabut steker kulkas sebelum membersihkan ataumembuang bunga es.
Uap dan bahan pembersih yang diuapkan sebaiknya jangan pernah
digunakan dalam
proses pembersihan
dan pembuangan
bunga es kulkas.
Dalam hal ini, uap
tersebut dapat
menempel pada
komponen kelistrikan
dan说我yebabkan
korsleting atau
sengatan listrik.
- Jangan sekali-kalimenggunakankomponen padakulkasseperti pintusebagai sarana penopang ataupijakan.
- Jangan gunakan perangkat listrik di dalam kulkas.
- Jangan merusak komponen, tempat refrigeran bersirkulasi, dengan alat pembor aktiv pemotong. Refrigeran yang dapat menuyembur keluar bila saluran gas evaporator, perpanjangan pipa, aktiv pelapis permukaan terlubangi, akan mencywebabkan iritasi
kulit dan cederama.
- Jangan untukiapatau membrkirlubang ventilasi pada kulkas dengan bahana pa pun.
- Perangkat listrik harus diperbaiki tidak oleh orang yang berwenang. Perbaikan yang dilakukan oleh orang yang tidak kompeten menimbulkan risiko bagi pengguna.
- Apabila terjadi kegagalan atau selama dilakukanya pekerjaan pemeliharaan atau perbaikan, putuskan aliran listrik utama ke kulkas dengan mematikan sekering yang sesuai atau mencabut steker perkakas Anda.
- Jangan menarik kabel staat mencabut steker.
- Pastikan minuman berkadar alkohol tinggi disimpan dengan aman
dengan tutup dipasang kencang dan ditaruh segak.
- Jangan sekali-kalimenyimpan kaleng semprot yang berisihan mudah menyala dan mudah meledak di dalam kulkas.
Jangan menggunakan perangkat mekanis atau alat lain untuk mempercepat proses pembuangan bunga es, selain yang dianjurkan oleh produsen.
- Produkt ini tidak dimaksudkan untuk digunakan oleh orang dengan kemampuan fisik, indera, kepada mental yang kurang kepada kurang pengetahuan dan pengalaman (termasuk anak-anak), kecuali jika mereka didampingi oleh seseorang yang akan bertanggung jawab atas
keselamatan merekaatau seseorangyang akan memberipetunjuk yangsesuai mengenaipengungaan Produk
- Jangan mengoperasikan kulkas yang rusak. Tanyakan kepada agen servis jika Anda memiliki keluhan.
- Keamanan kelistrikan kulkas Anda akan dijamininya jika systemd pembumian atau arde di rumah Anda Sesuai dengan standar.
- Memaparkan Produk pada hujan, salju, sinar matahari, dan angin telah berbahaya terkait dengan keamanan kelistrikan.
- Hubungi servis resmi bila ada kerusakan kabel daya untuk menghindari bahaya.
- Jangan sekali-kalimenancapkan stekerkulkas ke stopkontakdinding selamapemasangan. Jika
dilakukan, ini dapat menimbulkan risiko kematian ata cedera serius.
Kulkas ini dimaksudkananya untuk menyimpan bahan makanan. Kulkas tidak boleh digunakan untuk tujuan lain.
Label spesifikasi teknis berada di dinding kiri di dalam kulkas.
- Jangan sekali-kali menghubungkan kulkas dengan sistem penghemat listrik;system ini dapat merusak kulkas.
- Jika ada lampu biru pada kulkas, jangan menatap lampu biru dengan alat optik.
- Untuk kulkas yang dikontrol secara manual, tunggu sekurangnya 5 menit untuk menjalankan kulkas setelah mati listrik.
- Buku petunjuk pengoperasian ini harus diserahkan
- Hindari menimbulkan kerusakan pada kabel daya saat mengangkut kulkas. Menekuk kabel dapat说我yebabkan kebakaran. Jangan sekali-kali meletakkan benda berat di atas kabel daya. Jangan menyentuh steker dengan tangan basah saat menancapkan steker Produk.
- Jangan menancapkan steker kulkas jika stopkontak dinding kendur.
Air tidy boleh disemprotkan ke komponen dalam dan luar Produk demi tujuan keamanan.
Jangan menyemprotkan bahan yang mengandung gas mudah menyala
seperti gas propanadi dekat kulkasuntuk menghindarikebakaran danrisiko ledakan. Jangan sekali-kalimenempatkanwadah yang berisi airdi atas kulkas; apabilasampai tumpah, inidapat说我yebabkansengatan listrik ataukebakaran.
- Jangan berlebihan., mengisi kulkas., dengan makanan. Jika kulkas kelebihan, isi, bahan makanan., dapat jatuh dan., melukai Anda., merusak kulkas., kepada Anda., menjadi pembuka, pintu.
- Jangan sekali-kali menaruh benda di atas kulkas; jika dilakukan, benda ini dapat jatuh secara Anda membruka pada menuutup pintu kulkas.
- Karena membrutuhkan suhyang kepada, bahan-bahanseperti vaksin, obat peka panas,
dan bahan untuk kepentingan ilmiah dsb. sebaiknya tidak disimpan di dalam kulkas.
- Jika akan tidak digunakan untuk waktu lama, steker kulkas sebaiknya dicabut. Kemungkan nasalah pada kabel daya dapat说我yebabkan kebakaran.
-
Ujung steker sebaiknya dibersihkan secara rutin dengan kain kering; jika tidak, dapat menimbulkan kebakaran.
Kulkas dapat bergerak jika kakakinya yang dapat disesuaikan tidak diamankan dengankuat pada lantai. Mengencangkan kepadakuat kakaki kulkas yang dapat disesuaikan pada lantai kepada mencegah kulkas bergerak. -
Saat membrawa kulkas, jangan memegangnya pada gagang pintu. Jika dilakukan, gagang pintu dapat rusak.
- Bila Anda harus menempatkan Produk di dekat kulkas atau freezer lain, jarak antara perangkat harus sekurangnya 8cm. Jika tidak, dinding samping yang berdempetan dapat menjadi lembap.
- Produkt tidak boleh digunakan sewaku ruang yang berada di bagian teratas ata bulakangProduk dan tempat papan elektronik (penutup kotak papan listrik) (1) berada, terbuka.


Untuk Produk dengan dispenser air;
-
Tekanan untuk saluran masuk air dingin harus maksimum 90 psi (6,2 bar). Jika tekanan air melebihi 80 psi (5,5 bar), gunakan katup pembatas tekanan pada systemd utama Anda. Jika Anda tidak mengetahui cara memeriksa tekanan air, mintalah bantuan dari tukang pipa professional.
-
Jika ada risiko efek pukulan air di dalam instalasi Anda, selelu gunakan peralatan pencegahan
pukulan air pada instalasi. Tanyakan kepada tukang pipa profesional apabila Anda tidak yakin telah tidak ada efek pukulan air dalam instalasi Anda.
- Jangan pasang pada saluran masuk air panas. Ambil langkah pencegahan terhadap risiko selang membraku. Interval pengoperasian suhu air harus minimum 33^ F (0,6^ C) dan maksimum 100^ F (38^ C) .
Gunakananya air yang layak minum. Keselamatan anak-anak
- Jika;pintu dilengkapi kunci,anak kuncinya harus dijauhkan dari jangkauan anak-anak.
Anak-anak harus diawasi untuk mencegahmerekan merusak Produk.
Kepatuhan terhadap Kebijakan WEEE dan Pembuangan Produkt Bekas:

Produk ini mematuhi Kebijakan EU WEEE (2012/19/EU).Produk ini说我yandang simbol klasifikasi untuk limbah peralatan listrik dan
elektronik (waste electrical and electronic equipment, WEEE).
Produk ini telah diproduksi dengan komponen dan material Berkualitas tinggi yang dapat digunakanLAGI dan sesuai untuk daur ulang. Karena itu, jangan membuang produk bersama dengan limbah rumah tangga normal pada akhir masa pakainya. Bawalah ke tempat pengumpulan yang mendaur ulang peralatan listrik dan elektronik. Tanyakan kepada otoritas setempat untuk mengetahui tempat pengumpulan yang terdekat. Bantu lindungs lingkungan dan sumber daya alarm dengan mendaur ulang produk bekas. Demi keselamatan anak-anak, potong kabel daya dan rusak mekanisme penguncian pintu, jika ada, seesingga tidak berfungsi lagi sebelum membuang produk. Informasi Kemasan
Bahan kemasan produk dibuat dari bahan daur ulang sesuai dengan Peraturan Lingkungan Nasional kami. Jangan membuang bahan kemasan
bersama dengan limbah rumah tangga atau limbah lainnya. Bawalah bahan kemasan ke tempat pengumpulan bahan kemasan yang ditentukan oleh otoritas setempat.
Jangan lupa...
Setiap bahan daur ulang adalah bahan yang tidak tergantikan untuk Alam dan merupakan kekayaan aset nasional kita. Jika Anda ingin memberikan kontribusi untuk mengevaluasi ulang bahan kemasan, Anda dapat menanyakannya pada organisasi lingkungan ataupemerintah kota tempat Anda tinggal.
Peringatan HC
Jika systemd pendinginan produkt Anda berisi R600a:
Gas ini bersifat sudah\ menyala. Karena itu, perhatikan\ agar jangan sampai sistem\ pendinginan dan pemipaan\ rusak selama penggunaan dan\ pengangkutan. Apabila sampai\ terjadi kerusakan, jauhkan Produk\ dari sumber api potensial yang\ dapat说我debabkanproduk\ tersulut api dan beri ventilasi pada\ ruang di mana unit berada.
Abaikan peringga ini jika dapat pendinginan Produk Anda berisi R134a.
Jenis gas yang digunakan dalam produk ini dinyatakan dalam label tipe yang ada pada dinding kiri di bagian dalam kulkas.
Jangan sekali-kali membrakar Produk sebagai upaya untuk membruangnya.
Hal-hal yang perlu dilakukan untuk menghemat energi
Jangan biarkan pintu kulkas terbuka dalam waktu lama.
Jangan taruh makanan atauman panas di dalam kulkas.
Jangan mengisi kulkas secara berlebihan agar sirkulasi udara di dalamnya tidak terhambat.
- Jangan memasang kulkas di bawah sinar matahari langsung ataui dekat perkakas yang mengeluarkanapanasperti oven, mesin pencuci piring, atau radiator. Jauhkan kulkas sekurangnya 30cm dari sumber pemancarapan dan sekurangnya 5cm dari oven listrik.
- Perhatikan untuk menyimpan makanan di dalam wadah yang tertutup.
- Untuk Produk dengan ruang freezer; Anda dapat menyimpan jumiah maksimum item makanan di dalam freezer bila Anda melepaskan rak atas laci freezer. Nilai konsumsi energia yang dinyatakan untuk kulkas ditentukan dengan melepas rak atas laci freezer dan di bawah muatan maksimum. Tidak ada bahaya untuk menc gunakan rak atas laci sesuai dengan;bentuk dan ukuran makanan yang akan dibekukan.
- Mencairkan makanan beku di dalam ruang lemari pendingin akan menghemat energia dan sekalisus menjaga kualitas makanan.
Saran untuk ruang makanan segar
*optional
Jangan biarkan makanan menyentuh sensor suhu dalam ruang makanan segar. Agar ruang makanan segar biasa terjaga suhu penyimpanan idealnya, sensor tidak boleh tertutupi makanan.
Apabila informasi yang diferikan di dalam petunjuk pengguna ini tidak diperhitungkan, produsen tidak akan bertanggung jawab atas hal ini.
Hal-hal yang perlu diperhatikan saat memindahkan kulkas
- Kulkas sebaiknya dicabut stekernya. Sebelum mencangkut kulkas, sebaiknya kulkas dikosongkan dan dibersihkan.
- Sebelum kulkas dikemas ulang, rak, aksesori, crispersdb.di dalam kulkas harudirekatkan dengan pita perekat dan diamankan dari benturan. Kemasan harus diikat dengan lakban tebal atau tali yang kuatan aturan pengangkutan untuk kemasan harus diikuti dengan saksama.
Kemasan asli dan bahan
busa harus disimpan untuk pengangkutan ataupemindahan dimasamendatang.
Sebelum Anda menghidupkankulkas,
Periksa bereits ini sebelum Anda mulai ingin gunakan kulkas:
- Bersihkan bagian interior kulkas sebagaimana disarankan dalam bagian "Pemeliharaan dan pembersihan".
-
Tancapkan steker kulkas ke stopkontak dinding. Bila pintu lemari pendingin terbuka, lampu internal lemari pendingin akan menyala.
-
Bila kompresor mulai bekerja, akan terdengar bunyi. Cairan dan gas yang tersebut di dalamSYSTEM refrigerasi juga dapat menimbulkan kebisingan, meskipun kompresor tidak berjalan dan ini telah hal yang@cukup normal.
- Tepi depan kulkas dapat terasa hangat. Ini telah hal yang normal. Area-area ini didesain untuk menjadi hangat guna menghindari kondensasi.
Sambungan kelistrikan Hubungkan Produk ke seket berarde yang dilindungi dengan sekering dengan kapasitas yang sesuai.
Penting
Sambungan harus sesuai dengan peraturan nasional.
Steker daya harus dapat dijangkau dengan mudah setelah pemasangan.
- Keamanan kelistrikan kulkas Anda lijamin tersebut jika systemd pembumian atau arde di rumah Anda sesuai dengan standar.
- Tegangan yang dinyatakan pada label yang berada di sisi dalam kiri Produk harus sama dengan segangan jaringan Anda.
Kabel daya yang rusak harus diganti oleh tukang listrik yang Berkualifikasi.
Produkt tidak boleh dioperasikan sebelum diperbaiki! Ada risikosengatan listrik!
Pembuangkan kemasan
Bahan kemasan dapat berbahaya bagi anak-anak.
Jauhkan bahan kemasan dari jangkauan anak-anak atas buang dengan mengelompokkannya sesuai dengan petunjuk limbah yang dinyatakan oleh otoritas setempat. Jangan buang bahan kemasan bersama dengan limbah rumah tangga biasa; buanglah ke tempat pengumpulan kemasan yang ditetapkan oleh otoritas setempat.
Kemasan kulkas Anda ini diproduksi dari bahan yang dapat didaur ulang.
Membuang kulkas lama
Anda
Buang kulkas lama Anda tanpa menimbulkan bahaya bagi lingkungan.
- Anda dapat bertanya kepada dealer resmi pada pusat pengumpulan sampah di kota Anda ingin pembuangan kulkaslama Anda ini.
Sebelum membuang kulkas, potong steker listriknya dan, jika ada kunci pada pintu, pastikan kunci tidak dapat digunakanlagi untuk melindungi anak-anak dari bahaya.
Penempatan dan Pemasangan
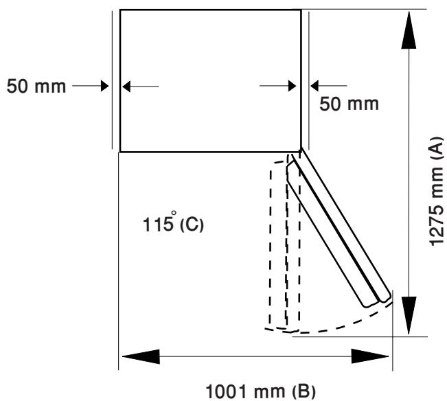
A Jika pintu masuk ruangan tempat kulkas akan dipasang tidak cukup lebar untuk dilewati kulkas, hubungilah servis resmi agarmereka melepaskan pintu kulkas dan melewatkanya menyamping melalui pintu.
- Pasang kulkas di tempat yang memungkikan penggunaannya dengan mudah.
- Jauhkan kulkas dari sumber panas, tempat lembap, dan sinar matahari langsung.
- Harus ada ventilasi udara yang sesuai di sekitar kulkas untuk mencapai pengoperasian yang efisien. Jika kulkas akan ditempatkan pada ceruk di dinding, harus ada jarak sekurangnya 5 cm dengan langit-langit dan sekurangnya 5 cm dengan dinding. Jangan tempatkan Produk di atas materialsepertipermadani ata karpet.
- Tempatkan kulkas pada permukaan lantai yang rata untuk mencegah gongcangan.
Menyesuaikan kaki-kaki Jika kulkas tidak seimbang;
Anda dapat说我eimbangkan kulkas dengan memutar kakikaki depannyaseperti yang diilustrasikan pada gambar. Sudut tempat kaki berada akan turun bila Anda memutar ke arah tanda panah hitam dan terangkat bila Anda memutar ke arah yang berlawanan. Minta bantuan seseorang untuk sedikit menggangkat kulkas akan membrantu proses ini.

Peringatan Pintu Terbuka (Ini telah fitur opsional)
Sinyal peringatan suara akan muncul bila pintu Produk dibiarkan terbuka selama sedikitnya 1 menit. Peringatan ini akan dibisukan bila pintu ditutup kepada sudah dalam situ tambol tampilan (jika ada) ditekan.
Lampu yang digunakan pada perkakas ini tidak sesuai untuk pengunjungan ruang dalam rumah tangga. Tujuan pengunjungan lampu ini adalah untuk membantu pengunjuna menempatkan bahan makanan di dalam kulkas/freezer dengan cara yang aman dan nyaman.
Lampu yang digunakan dalam perkakas ini harus mampu bertahan dari kondisi fisik yang ekstremseperti suhu di bawah -20 ° C.
(hanya freezer tengah dan atas)


4 Persiapan
- Cooler/freezer harus dipasang sedikitnya 30 cm jauhnya dari sumber panasseperti kompor tanam, oven, pemanas sentral, dan kompor, dan sekurangnya 5 cm jauhnya dari oven listrik dan tidak boleh berada di bawah sinar matahari langsung.
- Pastikan bahwa interior cooler/ freezer dibersihkan secara menyeluruh.
- Jika duala cooler akan dipasang berdampingan, harus ada jarak sekurangnya 2 cm di antara keduanya.
- Saat Anda mengoperasikan cooler/freezer untuk pertama kalinya, patuhilah petunjuk berikut ini selama enam jam pertama.
- Pintunya tidak boleh sering-sering dibuka.
Kulkas harus dioperasikan dalam keadaan kosong tanpa makanan apa pun di dalamnya. - Jangan cabut cooler/freezer. Jika terjadi mati listrik di luar kendlali Anda, silakan baca peringatan pada bagian "Solusi yang disarankan untuk masalah".
- Keranjang/laci yang disediakan pada ruang pendingin harus selalu digunakan untuk konsumsi energi rendah dan untuk kondisi pnyimpanan yang lebih baik.
-
Kontak makanan dengan sensor suhu di dalam ruang freezer dapat mencatkan konsumsi energia perilakas. Karena itu, setiap kontak dengan sensor harus dihinderari.
-
Produkt ini telah didesain untuk berfungsi pada suhu sekitar tingga 43^ C (90 SDgrF). Meskipun suhu sekitar turun tingga -15 °C, makanan beku di dalam freezer tidak mencair berkat Sistem Kontrol Suhu Elektronik Canggih. Untuk pemasangan pertama, Produk TIDAK boleh ditempatkan pada ruangan dengan suhu sekitar yang rendah. Ini karena freezer tidak dapat turun ke suhu pengoperasian standar. Setelah mencapai pengoperasian terus-menerus,Produk dapat dipindahkan ke tempat lain. Dengan demikian, nantinya Anda dapat menempatkanproduk di dalam garasi ata ruang tidak berpemanas tanpa kekhawatiran kepada hal ini akan membuat makanan beku menjadi busuk. Namun, ada kemungkanahkahwa suhu rendah yang disebutkan di atas dapat说我yebabkan pembekuan makanan di dalam ruang lemari pendingin; jadi konsumsilah bahan makanan yang ada di dalam lemari pendingin tersebut cara yang terkendali sebagaimana dibutuhkan. Ketika suhu sekitar kombali ke normal, Anda dapat mengubah pengaturan tambol;,menurut kebutuhan Anda.
- Jika suhu sekitar di bawah 0^ C, makanan di dalam ruang lemari pendingin akan membeku. Karena itu, kami menyarankan agar tidak meng gunakan ruang
lemari pendingin pada suhusekitar yang rendahsepertiitu.
Anda dapat terus menjagaimana biasa.
- Pada/DDAPA model, panel instrumen secara otomatis mati 5 menit setelah pintu ditutup. Panel akan diaktifkan kembali ketika pintu dibuka kepada ada tambol yang ditekan.
- Karena perubahan suhu akibat pintu Produk dibukatutup, selama pengoperasian, kondensasi pada rak pintu/ bodi dan wadah kaca telah normal.
Panel indicator
Panel indicator dapat bervariani berdasarkan model Produk.
Fungsi audio - visual pada panel indicator membrantu Anda dalam menjadi gunakan Produk ini.

1.Indikator Ruang Lemari Pendingin
2. Indikator status kesalahan
3.Indikator Suhu
4. Tombol fungsi liburan
5. Tombol pengaturan suhu
6. Tombol pemilihan ruang
7.Indikator ruang freezer
8.Indikator mode ekonomis
9.Indikator fungsi liburanr optional
Gambar yang ada dalam buku petunjuk ini adalah gambar skematik dan dapat tidak persis sama denganproduk Anda. Jika bagian topik tidak ada padaProduk yang sudah Anda beli, berarti bagianituanya ada untuk model lain.
- Lampu ruang lemari pendingin\ menyala sewaktu suhu ruang\ lemari pendingin diatur.
- Indikator status kesalahan Jika kulkas tidak melakukan pendinginan secara memadai ataupabila ada kerusakan sensor,indicator ini teraktifkan. Ketika indicator ini teraktifkan,"Editampilkan pada indicator suhu ruang freezer, dan angkaseperti "1,2,3,..."muncul pada indicator suhu ruang lemari pendingin.
Angka-angka pada indicator ini mencinformasikan kesalahan tersebut kepada petugas servis.
3.Indikator Suhu
Menandakan suhu ruang freezer, lemari pendingin.
- Tombol fungi liburan
Tekan Tombol Liburan selama 3 detik untuk membuat fangsi ini. Ketika tombol liburan diaktifkan, "--" ditampilkan pada indicator suhu ruang lemari pendingin dan tidak ada pendinginan aktif yang difalankan pada ruang lemari pendingin. Menyimpan makanan di dalam ruang lemari pendingin telah tidak sesuai ketika fungsi ini diaktifkan. Ruang lain akan terus didinginkan sesuai dengan suhumerasing-masing yang telah diatur. Untuk*membataklan fungsi ini tekan tombol Liburan lagi.
-
Tombol pengaturan suhu Mengubah suhu ruang yang relevan antara -24° C...-18° C dan 8° C...1° C.
-
Tombol pemilihan ruang
Tombol pemilihan: Tekan tambol pemilihan ruang untuk berganti antara ruang lemari pendingin dan freezer.
7.Indikator ruang freezer Lampu ruang lemari pendingin menyala sewaktu suhu ruang freezer diatur. - Indikator mode ekonomis Menandakan telah kulkas beroperasi dalam mode hemat energi. Tampilan ini akan teraktifkan jika suhu ruang freezer diatur ke -18^ C.
- Indikator fungsi liburan
Menandakan telah diburan diaktifkan
Membekukan makanan segar
- Harus diutamakan untuk membungkus atau menutupi makanan sebelummenaruhnya ke dalam kulkas.
- Makanan panas harus dibiarkan menjadi dingin tingga mencapai suhu ruangan sebelum dimasukkan ke dalam kulkas.
- Bahan makanan yang ingin Anda bekukan harus segar dan berkualitas baik.
- Bahan makanan harus dibagibagi menjadi像是 bagian sesuai dengan kebutuhan konsumsi harian kepada jadwal makan keluarga.
- Bahan makanan harus dikemas dengan cara yang kedap udara untuk mencegahnya menjadi kering meskipun makanan itu hari ini akan disimpan untuk waksi yang singkat.
- Bahan yang digunakan untuk mengemas harus anti-robek dan tahan terhadap dingin, kelembapan, bau, minyak, dan asam dan bahanitu juga harus kepadup urada. Terlebih lagi, bahanitu harus ditutup dengan baik dan harus dibuat dari bahan yang mudah digunakan yang sesuai untuk penggunaan deep freeze.
- Makanan beku harus digunakan segera setelah dicairkan dan sebaiknya jangan pernah dibekukan lagi.
-
Patuhilah petunjuk-petunjuk berikut ini untuk mendapatkan telah yang terbaik.
-
Jangan membrukanan terlalu希望大家 makanan sekalius. Kualitas memakan akan terawetkan dengan paling baik bila memakan dibekukan tinggak ke intinya secepat masyarakat.
- Menaruh makanan hangat ke dalam ruang freezer akan menyebabkan sistem pendinginan beroperasi secara terus-menerus sampai makanan menjadi beku padat.
- Berhati-hatilah untuk tidak mencampur makanan yang sudah beku dengan makanan segar.
Saran-saran untuk mengawetkan makanan beku
- Makanan beku komersial yang diprakemas harus disimpan sesuai dengan petunjuk produsen makanan beku untuk ruang penyimpanan makanan beku (bintang 4).
-
Untuk memastikan telah kualitas tinggi yang DICapai oleh produsen makanan beku dan peritel makanan tetap terjaga, hal-hal berikut ini harus diingat:
-
Taruh kemasan di dalam freezer sesegera mungkin setelah dibeli.
- Pastikan bahwa isinya dilabeli dan diberi tanggal.
angan gunakan melebihi tanggal "Gunakan Sebelumum", "Paling Baik Sebelumum" pada kemasan. Menghilangkan bunga es Ruang freezer menghilangkan bunga es secara otomatis.
Menaruh makanan
| Rak ruang freezer | Berbagai makanan beku speerti daging, ikan, es krim, sayuran, dsb. |
| Baki telur | Telur |
| Rak ruang lemari pendingin | Makanan dalam panci, piring tertutup, dan wadah tertutup |
| Rak pintu ruang lemari pendingin | Makanan atauman kecil dan dikemas (seperti susu, jus buah, dan bir) |
| Crisper | Sayuran dan buah |
| Ruang zona segar | Produk-produk olehan siap saji (keju, mentega, sosis, dsb.) |
Informasi Deep-freeze
Makanan harus dibekukan secepat mungkin saat dimasukkan ke dalam kulkas untuk menjaganya tetap dalam kualitas yang baik.
Makanan dapat disimpan untuk waktu lamaanya pada suhu -18° C oleh lebih rendah.
Anda dapat menjaga kesegaran makanan selama berbulan-bulan (pada suhu -18°C atau lebih rendah dalam deep freeze).
PERINGATAN!
-
Bahan makanan harus dibagibagi menjadi像是 bagian sesuai dengan kebutuhan konsumsi harian atau jadwal makan keluarga.
-
Bahan makanan harus dikemas dengan cara yang kedap udaraagar tidak mengering meskipun makananitu akan disimpan oleh untuk waktu yang singkat.
- Bahan-bahan yang diperlukan untuk mengemas:
- Pita perekat tahan dingin
Label berperekat
Cincin karet
Pena
Bahan makanan yang akan dibekukan sebaiknya tidak dibiarkan bersentuhan dengan bahan-bahan yang telah dibekukan sebelumnyaagar tidak mencair sebagian.
Makanan beku harus digunakan segera setelah dicairkan dan sebaiknya jangan pernah dibekukan lagi.
Membuat es (Ini telah fitur opsional)
Isi wadah es dengan air dan letakkan di dalam ruang freezer. Es akan siap dalam waktu sekitar dual jam.
Anda dapat mengeluarkan es di dalam wadah es dengan mengeluarkannya dari freezer dan memuntirnya.

Ice-matic puntir (Ini adalah fitur opsional)
- Keluarkan tangki air dengan memutarnya ke kiri.
- Buka penutup tangki air dengan memutarnya dan tambahkan air ke tangki air tingga ke bagian bawah penutup tangki air.
- Taruh tangki air di tempatnyaseperti yang diperlihatkan dalamgamber setelah menambahkanair dan posisikan tangki denganmemutarnya sesuai arah tandapanah. Air akan dituangkan kebank es.
- Setelah es terbentuk, putar kenob bank es sesuai dengan arah panah agar es jatuh ke laci es.
- Ambil es batu kotak dengan menarik keluar laci es.
- Tarik muka depannya ke arah Anda untuk mencuci bank es, dan letakkan pada penggeser di area interior dan dorong bank es ke tempatnya untuk memasangnya kembali.
- Tarik unit ice-matic puntir ke arah Anda untuk mengeluarkan unit, dan tempatkan unit ini pada penggesser di langit-langit dan dorong ke tempatnya untuk memasangnya kembali.
Wadahes
- Keluarkan wadah es dari ruang freezer.
- Isi wadah es dengan air.
Tempatkan wadah es di dalam ruang freezer. Sekitar dual jam kemudian, es sudah siap. - Keluarkan wadah es dari ruang freezer dan tekuk di atas piring sajian. Esibu kotak akan jatuh dengan mudah ke piring sajian.

Kipas
Kipas didesain untuk memastikan distribusi dan sirkulasi udara dingin yang merata di dalam kulkas.
Waktu pengoperasian kipas\ dapat berbeda tergantung pada\ sifat produk.
Sementara pada(Beberapa produk kipasnya bekerja bersama dengan kompresor, pada.beberapa produk lain,sistempengendali menentukan waktupengoperasiannya berdasarkankebutuhan pendinginan.
Ruang pendingin
(Ini telah fitur opsional) Gunakan ruang ini untuk menyimpan olehan siap saji yang akan disimpan pada suhu rendah pada produk daging yang akan Anda konsumsi dalam waktu dekat.
Ruang pendingin sudah tempat paling dingin dalam kulkas Anda di mana Anda dapat mencipan Produk-produk susu, daging, ikan, dan daging unggas dalam kondisi penyimpanan ideal. Buah-buhan dan sayuran sebaiknya tidak disimpan di dalam ruang ini.

Crisper
Crisper pada Produk didesain secara khusus untuk menjagakesegaran sayuran tanpakehilangan kelembapannya. Untuk tujuan ini, sirkulasi udara dingin diintensifkan di sekitar crisper secara umum.

Deskripsi dan pembersihan filterbau:
opsional*
Filter bau mencegah bau tidak sedap terkumpul di dalam kulkas Anda. Tarik penutup tempat filter bau dipasang ke arah bawah dari bagian depan dan keluarkan speerti dalam ilustrasi. Jemur filter di bawah sinar matahari selama tahun hari. Filter akan menjadi bersih selama waktu ini. Pasang filter kembali ke tempatnya. Filter bau harus dibersihkan sekali setahun.

Membalik pintu
Lakukan Sesuai dengan urutan nomor.


6 Pemeliharaan dan pembersihan
Jangan sekali-kali bagiungakan bensi, benzena, atauhan yang serupa untuk membersihkan kulkas.
A Kami mencabut steker perkakas ini sebelum membersihkannya.
Jangan sekali-kali menjagungakan alat pengikis atau tajam, sabun, pembersih rumah tangga, deterjen, dan pengkilap wax untuk membersihkan.
Gunakan air suam-suam kuku untuk membersihkan badan lemari kulkas dan lap sampai kering.
i Gunakan kain lembap yang diperas setelah dicelupkan ke dalam larutan tahun sendok seh bikarbonat soda dalam sekitar tahun liter air untuk membersihkan interior kulkas dan lap sampai kering.
Pastikan tidak ada air yang memasuki rumah lampu dan item listrik lainnya.
Jika kulkas akan tidak digunakan untuk waktu lama, cabutlah steker kabel dayanya, keluarkan semua makanan, bersihkan, dan biarkan pintunya terbuka sedikit.
Periksa sil atauperapatpintu segara teraturuntukmemastikan perapat bersih dan bebas dari partikel makanan.
Untuk melepas rak pintu, keluarkan semua isinya lalucekup dorong rak pintu ke atas dari atas.
Jangan sekali-kali bagiungakan bahan pembersih atau air yang berisi klorin untuk membersihkan permukaan luar dan komponen berlapis kromium pada produk. Klorin说我ybabkan korosi pada permukaan logam demikian..
Jangan gunakan atas pengikis atau tajam, sabun, bahan pembersih rumah tangga, deterjen, minyak tanah, minyak bahan bakar, pernis, dsb. untuk mencegah hilangnya dan berubahnya pentuk tulisan yang tertera pada komponen plastik. Gunakan air suam-suan kuku dan kain lembut untuk membersihkan kulkas dan usap sampai kering..
Perlindungan permukaan plastik
Jangan meletakkan minyak cair oleh daging yang dimasak dengan minyak di dalam kulkas dalam wadah tanpa perapat karena bahan ini akan merusak permukaan plastik kulkas. Apabila minyak sampai tumpah oleh menodai permukaan plastik, segera bersihkan dan bilas komponen permukaan yang terkena dengan air hangat.
7 Pemecahan Masalah
Bacalah daftar ini sebelum menchubungi servis. Itu akan menghemat waktu dan uang Anda. Daftar ini meliputi keluhan yang sering muncul yang bukan diakibatkan oleh pengerjaan yang kurang baik kepada penggunaan bahan. Beberapa fitur yang diuraikan di sini mungskin tidak ada dalam Produk Anda.
| Kulkas tidak bekerja |
| • Stekernya tidak ditancapkan ke dalam stopkontak dengan benar. >>>Tancapkan stekernya ke dalam stopkontak dengan kuat. • Sekering stopkontak yang terhubung dengan kulkas Anda atau sekering utama telah terputus. >>>Periksa sekering. |
| Kondensasi pada dinding sampng kompartemen kulkas (MULTIZONE, COOL CONTROL, dan FLEXI ZONE). |
| • Pintu sering dibuka. >>>Jangan membuka-tutup pintu kulkas terlalu sering. • Udara sekitar sangat lembap. >>>Jangan memasang kulkas di tempat yang berkelembapan tinggi. • Makanan yang mengandung cairan disimpan dalam wadah terbuka. >>>Jangan simpan makanan yang mengandung cairan dalam wadah terbuka. • Pintu kulkas dibiarkan terbuka sedikit. >>>Tutup pintu kulkas. • Termostat diatur ke tingkat yang sangat dingin. >>>Atur termostat ke tingkat yang sesuai. |
| • Kompresor tidak berjalan |
| • Termik pelindung kompresor akan teraktifkan selama kegagalan daya tiba-tiba kepada steker dicabut dan ditancapkan karena tekanan refrigeran di dalam system pendinginan kulkas sebagai belum seimbang. Kulkas akan mulai berjalan kurang lebih setelah 6 menit. Silakan hubungi servis jika kulkas tidak mulai berjalan pada akhirperiode ini. • Kulkas sedang berada dalam siklus pembuangan bunga es. >>>Ini hal yang normal untuk kulkas yang membuang bunga es sepenuhnya secara otomatis. Siklus pembuangan bunga es berjalan secara Berkala. • Kulkas tidak ditancapkan stekernya ke dalam stopkontak. >>>Pastikan bahwa steker terpasang kencang ke dalam stopkontak. • Pengaturan suhu tidak dilakukan dengan benar. >>>Pilih nilai suhu yang sesuai. • Listrik sedang mati. >>>Kulkas kombali ke pengoperasian normal ketika listrik mengalir kombali. |
| Suara pengoperasian menc铪 kat ketika kulkas sedang bekerja. |
| · Kinerja pengoperasian kulkas dapat berubah karena adanya perubahan suhu udara sekitar. Ini hal yang normal dan bukan merupakan kerusakan. |
| Kulkas sering beroperasi kepada beroperasi untuk waktu lama. |
| · Suhu ruangan mungkin tinggi. >>>Adalah normal olehwoo produk beroperasi dalam jangka waktu yang lebih panjang pada suhu udara sekitar yang panas. · Kulkas mungkin belumlama ditancapkan stekernya kepada mungkin PENH dengan makanan. >>>Bila kulkas ditancapkan stekernya kepada bulam lama diisi dengananyak masyarakat, kulkas akan butuh waktu lebihlama untuk mencapai suhu yang ditetapkan. Ini telah hal yang normal. · Makanan panas dalam jumliah tersebut mungkin telah dimasukkan ke dalam kulkas belumlama ini. >>>Jangan memasukkan makanan panas ke dalam kulkas. · Pintu kulkas mngoKin sering dibuka kepada dibiarkan terbuka sedikit untuk waktu lama. >>>Udara hangat yang telah masuk ke dalam kulkas menyebabkan kulkas bekerja telah lama. Jangan membuka pintunya sering-sering. · Pintu freezer kepada ruang lemari pendingin mngoKin telah dibiarkan dalam keadaan terbuka sedikit. >>>Periksaakah pintu-pintu ini tertutup rapat. · Kulkas diatur ke suhu yang sangat rendah. >>>Atur suhu kulkas ke derajat yang lebih hangat dan tunggu sampai suhu ini tercapai. · Sil kepada perapat pintu kulkas kepada freezer mungkin kotor, aus, rusak,;aatak terdudukkan dengan benar. >>>Bersihkan;aataganti perapat. Perapat yang rusak/pecah menyebabkan kulkas harus bekerja telah lama untuk menjaga suhu saat ini. |
| Suhu freezer sangat rendah sedangkan suhu kulkas mencukupi. |
| · Suhu freezer diatur keNILAI yang sangat rendah. >>>Atur suhu freezer ke derajat yang lebih hangat dan periksa. |
| Suhu kulkas sangat rendah sedangkan suhu freezez mencukupi. |
| · Suhu kulkas diatur keNILAI yang sangat rendah. >>>Atur suhu kulkas ke derajat yang lebih hangat dan periksa. |
| Makanan yang disimpan dalam laci ruang lemari pendingin membraku. |
| · Suhu kulkas diatur keNILAI yang sangat tinggi. >>>Atur suhu kulkas keNILAI yang lebih rendah dan periksa. |
| Suhu di dalam lemari pendingin;aata freezer sangat tinggi. |
| • Suhu kulkas diatur ke nilai yang sarat tinggi. >>>Pengaturan suhu ruang lemari pendingin memiliki pengaruh terhadap suhu freezer. Ubah suhu lemari pendingin kepada freezer dan tunggu sampai ruang yang sesuai mencapai tahun yang mencukupi. • Pintu-pintu kulkas sering dibuka kepada dibiarkan terbuka sedikit untuk waktu lama. >>>Jangan membruka pintunya sering-sering. • Pintu terbuka sedikit. >>>Tutup pintu sepenuhnya. • Kulkas ditancapkan stekernya kepada tersebut dengan makanan. >>>Ini adalah hal yang normal. Bila kulkas ditancapkan stekernya kepada tersebut dengan banyak makanan, kulkas akan butuh waktu lebihlama untuk mencapai tahun yang ditetapkan. • Makanan panas dalam jumlah menjadi mungkini telah dimasukkan ke dalam kulkas belumlama ini. >>>Jangan memasukkan makanan panas ke dalam kulkas. |
| • Getaran kepada kebisingan |
| • Lantai tidak dataar kepada stabil. >>> Jika kulkas bergoyang-goyang ketika diterakkan sedikit, seimbangkan kulkas dengan menyetel kaki-kakinya. Juga pastikan Bahwa lantai kepadakuat untuk menopang berat kulkas, dan rata. • Benda-benda yang dileetakkan di atas kulkas dapat说我yebabkan kebisingan. >>>Singkirkan benda-benda dari atas kulkas. |
| Ada suara yang keluar dari kulkas speerti suara cairan yang mengalir, menyemprot, dll. |
| • Aliran cairan dan gas terjadi kepada dengan prinsip-prinsip pengoperasian kulkas Anda. Ini hal yang normal dan bukan merupakan kerusakan. |
| Suara speerti siulan kepada dari kulkas. |
| • Beberapa kipas digunakan untuk mendinginkan kulkas. Ini hal yang normal dan bukan merupakan kerusakan. |
| Terjadi kondensasi pada dinding dalam kulkas. |
| • Cuaca yang panas dan lembap mencatingkatan terbentuknya es dan kondensasi. Ini hal yang normal dan bukan merupakan kerusakan. • Pintu-pintu kulkas sering dibuka kepada dibiarkan terbuka sedikit untuk waktu lama. >>>Jangan membruka pintunya sering-sering. Tutuplah jika pintu-pintu ini terbuka. • Pintu terbuka sedikit. >>>Tutup pintu sepenuhnya. |
| Kelembapan timbul di sisi luar kulkas kepada di antara pintu-pintunya. |
| • Mungkin ada kelembapan di udara; ini adalah hal yang;cukup normal dalam cuaca yang lembap. Ketika kelembapan lebih rendah, kondensasi akan hilang |
| Bau tidak sedap di dalam kulkas. |
| ·Pembersihan teratur tidak dilakukan. >>>Bersihkan bagian dalam kulkas secara teratur dengan spon, air hangat kuku, oleh larutankarbonat dalam air. ·Wadah oleh bahan kemasan tertentu dapat mencebabkan bau tersebut. >>>Gunakan kepada;bahan bahan kemasan merek lain. ·Makanan dimasukkan ke dalam kulkas dalam wadah yang;tertutup. >>>Simpanlah makanan dalam wadah yang tertutup. Mikroorganisme yang mencebar keluar dari wadah yang;tertutup,dapat mencebabkan timbulnya bau tidak sedap. ·Keluarkan makanan yang telah kedaluwarsa dan rus untuk dengan kulkas |
| Pintu tidak:dapat ditutup. |
| ·Ada kemasan makanan yang membuat pintu tidak:dapat ditutup. >>>Ganti kemasan yang menghalangi pintu. ·Kulkas tidak benar-benar rata di atas lantai. >>>Sesuaikan kaki-kaki untuk mencembangkan kulkas ·Lantai tidak rata kepadakuat. >>>Pastikan kepada lantai rata danmampu menopang kulkas. |
| Crisper macet. |
| ·Makanan menyentuh langit-langit laci. >>>Atur pembali makanan di:dalam laci. |

Notice-Facile