UE43NU7445U - Televisio SAMSUNG - Ilmainen käyttöohje ja opas
Löydä laitteen käyttöohje ilmaiseksi UE43NU7445U SAMSUNG PDF-muodossa.
Lataa ohjeet laitteellesi Televisio PDF-muodossa ilmaiseksi! Löydä käyttöohjeesi UE43NU7445U - SAMSUNG ja ota elektroninen laitteesi takaisin hallintaan. Tällä sivulla julkaistaan kaikki laitteidesi käyttöön tarvittavat asiakirjat. UE43NU7445U merkiltä SAMSUNG.
KÄYTTÖOHJE UE43NU7445U SAMSUNG
Ennen tämän käyttooppaan lukemista
Täm television mukana toimitetaan tamkaytloopas sek Televisoon sisänrakennettu e-Manual-opas.
Tarkasta ennen tämän käyttooppaan lukemista seuraavat seikat:
| Käytöopas | Lue tämä käytöopas nähdäksesi tietoja tuoteturvallisuudesta, asennuksesta lisävarusteista, alkuasetuksista ja tuotteen teknisistä tiedoista. |
| e-Manual | Lisätietoja tastä teilevisiosta on tuotteseen sisäänrakennetussa e-Manual-oppaassa. • e-Manualin avaaminen: Asetukset > Tuki > Avaa e-Manual |
Voit ladata kayttooppaan sivustolta ja katsoa sen sisalttoa tietokoneella tai mobililaitteella.
e-Manualin aputoimintojen oppiminen
- Joitakin valikkoja ei voi käyttaa e-Manualista.
| Q | Etsi | Avaa hakua vastaava sivu valitsemalla haluamasi kohta hakutulosluettelosta. |
| A-Z | Hakemisto | Siirry hakusanaan liittyvälle sivulle valitsemalla hakusana. - Valikot eivät välttämättä näy kaikilla alueilla. |
| ◎ | Viimeksi katsotut | Valitse aihe hiljattain näytettyjen aiheiden luettelosta. |
e-Manualin aihesivulla esiintyvien painikkeiden toimintojen oppiminen
| Yritä nyt | Siirry aihetta vastaavaan valikkoon ja kokeile toimintoa suoraan. |
| Liitä | Siirry suoraan alleviivattuun aiheeseen, johon e-Manualin sivulla viitataan. |
Varoitus! Tärkeitä turvallisuusohjeita
Lue turvallisuusohjeet ennen television kayttoa.
| HUOMIO | Luokan II laite: Tämä merkki tarkoittaa,etta laite ei edellytä maadoitusta. | ||
| SÄHKÖISKUN VAARA.ALÄ AVAA. | |||
| HUOMIO: ÄLÄ POISTA LAITTEEN SUOJUSTA (ÄLÄKÄ TAKAOSAA), JOTTA VOISIT VÄLTTYÄ SÄHKÖISKUILTA. LAITTEEN SISÄLLÄ EI OLE SELLAISIA OSIA, JOITA KÄYTTÄJÄ VOISI ITSE HUOLTAA. ANNA KAIKKI HUOLTOTOIMET KOULUTETUILLE TEKNIKOILLE. | ~ | AC-jännite: Tähän symboliin liittyvä nimellisjännite on vaihtovirtajännite. | |
| 4 | Tämä merkki tarkoittaa,体系建设的 | = | DC-jännite: Tähän symboliin liittyvä nimellisjännite on tasvirtajännite. |
| ! | Tämä merkki tarkoittaa,体系建设的 | i | Huomio. Tutustu käytöohjeisiin: Tämä merkki tarkoittaa,体系建设的 tulisi tutustua käytöoppaassa oleviinn turvallisuustietoihin. |
Kotelon, pohjan ja takaosan kolot ja aukot on tarkoitetu laitteen kannalta välttamattömaan ilmanvaihtoon. Näitä koloja ja aukkoja ei saa missän olosuheissa peittä eikä tukkia, jotta laite toimisi oikein eikä ylikuumenisi.
- Älä asenna laitetta suljettuun tilaan, esimerkiki sir jirjahyllyyn tai kaappiin, jollei riittävää ilmanvaihtoa voida taata.
- Älä asenna laitetta lampöpatterin tai -vastuksen lahelle tai paälle tai sellaiseen paikkaan, jossa se altistuu suoralle auringonvalolle.
- Älä aseta laitteen pälle mitään vettä sisäläviä astioita (maljakkoja yms.), sillä tämä voi aiheuttaa tulipalon tai sahköiskun.
- Alä altista laitetta sateelle aläkä pidä sitä veden lajeisyydessä (kylpyammeen, pesualtaan, tiskialtaan tai pesukoneen lahellä, kosteassa kellarissa tai uima-altaan tms. tuntumassa). Jos laite kastuu vahingossa, irrota se sahköverkosta ja ota valittomästi yhteyttä valtuutettuun jalleenmyyjän.
Tämä laite käyttaa paristoja tai akkuja. Alueellasi saattaa olla säädöksiä, joissa märataan akkujen ja paristojen havittämisesta. Pyyda paikallsilva viranomaisilta lisätietoja oikeanlaisesta havittämisesta tai kierratyksestä.
- Älä ylikuormita pistorasioita, jatkojohtoja tai verkkolaitteita, sillä tämä saattaa aiheuttaa tulipalon tai sähköiskun.
- Virtajohto tulee asettaa sellaiseen paikkaan, ettei sen yli tarvitse kavellä eivätkä terävat esineet päase osumaan sihen. Tarkista johdon pistorasian- ja laitteenupuoleiset paät.
- Irrota laitteen johto pistorasiasta ja kytke antenni tai kaapelijärjestelmä pois käytösta ukkosmyrskyn uhatessa tai silloin, kun laitetta ei valvota tai käytetä pitkään aikaan. Tämä suojaa salaman ja virtapiikkien aiheuttamilta laitevauroilta.
- Ennen kuin kytket virtajohdon verkkolaitteeseen, varmista, etta verkkolaitteen jannite vastaa kayttäalueen sahköverkon jannitettä.
- Älä työnnä mitään metalliesineita laitteen avoimiin osiin. Tämä saattaa aiheuttaa sähköiskun.
- Alä milloinkaan kosketa laitteen sisäosia, jotta et saisi sähköiskua. Vain ammattitaitoinen asentaja saa avata tämän laitteen.
- Kiinnitä virtajohto pistorasiaan tiiviisti. Kun irrotat virtajohdon pistorasiasta, vedä aina pistokkeesta. Älä milloinkaan vedä suoraan johdosta. Älä kosketa virtajohtoa märillä käsillä.
- Jos laite toimii poikkeavasti (erityisesti, jos siitä kuuluu epätavallisia aaniä tai havaitset outoa Hajua), irrota laite valittömästi sahköverkosta ja ota yhteyttä valtuutettuun jalleenmyyjän tai huoltoon.
-
Muista irrottaa pistoke pistorasiasta, jos et kaytä televisiota tai jos lahdet pois kotoa pitkäksi aikaa (erityisesti silloin, jos asuntoon jäa lapsia, vanhuksia tai vammaisia).
-
Laitteeseen keraantyvä poly saattaa aiheuttaa sahköiskun, sähkövuodon tai tulipalon tai saada sähköjohdon kipinoimään tai kuumenemaan. Myös laitteen eristys voi vaurioitua.
-
Ota yhteyttä valtuutettuun Samsungin huoltoliikkeeseen, jos television asennetaan erittäin polyiseen, kuumaan, kylmaan tai kosteaan paikkaan tai tiloihin, joissa on kemikaaleja tai joissa televisioniota käytetään ympäri vuorokauden, esim. lentokentälle tai rautatieasemalle. Jos et toimi nain, television saattaa vaurioitua pahoin.
- Käytä ainoastaan oikein maadoitettuja pistokkeita ja pistorasioita.
- Väärä maadoitus voi aiheuttaa sähköiskun tai vauroittaa laitetta. (Vain luokan laitteille.)
- Jos haluat sommuttaa laitteen täysin, irrota pistoke pistorasiasta. Varmista, ettā pistorasia ja pistoke ovat helposti tavoitettavissa, jotta voit tarvittaessa irrottaa pistokkeen nopeasti.
- Säilytä lisävarusteet (akut yms.) turvallisessa paikassa poissa lasten ulottuvilta.
- Älä pudota laitetta aläkä kohdista siihen iskuja. Jos laite vaurioituu, irrota virtajohto ja ota yhteyttä. Samsungin huoltoliikkeeseen.
-
Irrota pistoke pistorasiasta ennen puhdistamista ja pyyhi laite puhtaaksi pehmeallä, kuivalla liinalla. Alä käytä kemikaaleja, kuten vahaa, bentseeniä, alkoholia, ohenteita, hyönteismyrkkyjä, ilmanraikastimia tai voitelu- ja puhdistusaineita. Tällaiset kemikaalit voivat vaurioittaa laitteen ulkopintoja tai pinnoilla olevat merkinnät saattavat havità.
-
Älä altista laitetta roiskeille.
- Akkuja ja paristoja ei saa heitttä tuleen.
- Älä pura tai ylikuumenna akkuja ja paristoja aläkä aiheuta niissä oikosulkuja.
-
Jos vaihdat kaukosaatimen paristot vaarnlaisiin paristoihin, saadin saattaa rajahtaa. Vaihda akut ja paristot vain samanlaisiin tai vastaavantyyppisiin akkuihin ja paristoihin.
-
Tämän käyttooppaan kuvat ja piirrokset ovat vain viitteellisia ja ne saattavat olla erilaisia kuin varsinainen tuote. Laitteen ulkoasua ja teknisia tietoja voidaan muuttaa ilman erillistä ilmoitusta.
IVY-alueen kielet (venäjä, ukraina ja kazakki) eivat ole käytettävissä tassä laitteessa, koska laite on tarkoitettu EU-alueen kuluttajille.
Sisällysluettelo
Ennen tän kayttöoppaan lukemista 2
3
01 Pakkauksen sisälto
02 Television asentaminen
Television asentaminen seinälle 7
Television ilmankierron takaaminen 8
Television kiinnittäminen jalustaan 9
Varotoimenpide: Television kiinnittäminen seinään
putoamisen estamiseksi 9
03 Ulkoisten laitteiden hallinta television kaukosaätimellä (yleiskaukosaätimen asetukset)
04 Samsung Smart Remote
Tietoja Samsung Smart Remote -sätimen
painikkeista 11
Television ja Samsung Smart Remote -sättemen
välinen parikytkentä 12
Samsung Smart Remote paristojen asentaminen 12
05 Kayttoönotto
Television kaukosädin-oppaaan käytto 13
06 Verkkoyhteyden muodostaminen
Verkkoyhteys - langaton 14
Verkkoyhteys - kaapeli 14
07 Vianmaaritys ja huelto
Vianmäritys 15
Mitä etatuki tarkoittaa? 17
Ekotunnistin ja kuvaruudun kirkkaus 17
Television salasanan vaihtaminen 18
Television huoltaminen 18
08 Tekniset tiedot ja muita tietoja
Tekniset tiedot 19
Käytto- ja sailytysympäristö 20
Virrankulutuksen vahentäminen 20
Käyttooikeudet 20
01 Pakkauksen sisälto
Varmista, etta television mukana toimitetaan alla mainitut osat. Jos osia puuttuu, ota yhteyttä jalleenmyyjaän.
Samsung Smart Remote & -paristot (AAA x 2)
-
Takuukortti ja märäysopas (ei staatavissa kaikkialla)
-
Kayttoopas
- Television virtajohto

Seinatelineen sovitin COMPONENT IN / AV IN -sovitin CI-kortinlukija
- Osien vari ja muoto voivat vaihdella eri malleissa.
Voit hankkia erikseen sellaiset johdot, jotka eivat sisally toimitukseen. - Varmista lautikkoa avatessasi, ettei pakkausmaterialiaalien takana tai sisallä ole piilossa lisavarusteita.
Palvelumsku saatetaan veloittaa seuraavissa tapauksissa:
(a) Kutsut asentajan paikalle, mutta laitteesta ei lóydy vikaa (eli et ole lukenut käyttoopasta).
(b) Viet laitteen huoltoon, mutta siita ei lorydy vikaa (eli et ole lukenut kayttöopasta).
Sinulle kerrotaan palvelumaksuista ennen asentajan käntyä.

Varoitus: Jos kuvaruutua käsitellään värarin ja siihen kohdistuu suoraa painetta, se voi vaurioitua. Suosittelemme nostamaan televisiota pitamällä kiinni sen reunoista kuvan osoittamalla tavalla.

02 Television asentaminen
Television asentaminen seinälle

Jos asennat tämän television seinälle, noudata valmistajan antamia ohjeita tasmällisesti. Jollei televisiota asenneta oikein, se saattaa liukua tai pudota pois paikaltaan, vauroitua pahoin ja aiheuttaavakavia vammoja joko lapsille tai aikuisille.
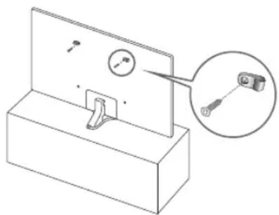
Jos kayttamassasi mallissa on seinatelinesovittimet, asenna ne alla olevassa kuvassa naytetyllä tavalla ennen seinatelineen asentamista.
- Saat lisātietoja Samsungin seinalātelineen mukana toimitetusta asennusoppaasta.

Samsung Electronics ei vastaa laitevauroista eikä itsellesi tai muille sattuvista henkilovahingoista, jos asennat seinatelineen itse.
- Asenna seinateline vankalle seinälle, joka on kohtisuorassa lattiaan nahden. Pyydä lahimmaltä jalleenmyyjälta lisätietoja, ennen kuin kiinnität seinatelineen johonkin muuhun materiaaliin kuin kipsilevyyn. Jos teilesisio asennetaan kattoon tai kaltevalle seinälle, se saattaa pudota ja aiheuttaavakavia henkilövahinkoja.
- Seinäinnikkeiden vakiomitat naytetaan seuraavan sivun taulukossa.
- Jos asennatjonkin ulkopuolisen valmistajan seinakiinnikkeen,tarkista television asentamiseen kaytettavien ruuvien pituudet seuraavan sivun taulukon sarakkesta C.
Kun asenna seinäkiinnikkeen, suosittelemme, etta kiinitat kaikki neljä VESA-ruuvia.
- Jos haluat asentaa seinään seinäkiinnittimen käyttramällä vain kahta ylaruuvia, käytä Samsungin seinäkiinnitintä, joka tukee tällaista asennusta. (Tallaista seinäkiinnitintä ei ehkä voi ostaa kaikilla alueilla.)
| Television koko tuumina | VESA-ruuvien reikien tiedot (A * B) millimetreinä | C (mm) Vakioruuvi Määrä | ||
| 43-55 200 x 200 | 43-45 M8 4 | |||
| 65 400 x 400 | ||||

Alä asenna seinatelenettä, kun television on kytketty virta. Tämä voi johtaa sahköiskun aiheuttamaan henkilövahinkoon.
-
Älä käytä vakioruuveja pidempiä ruuvejaalandaisia ruuveja, jotka eivat tayta VESA-ruuvistandardeja. Lian pitkät ruuvit saattavat vaurioittaa television sisäosia.
-
Jos asennettavassa seinäkiinnikkeessä ei käytetä VESA-standardin mukaisia ruuveja, kiinalitykseen käytettävien ruuvien pituus riippuu seinäkiinnikkeen teknisistä tiedoista.
-
Alä kiristä ruuveja liikaa. Laite saattaa vaurioitua tai pudota ja aiheuttaa henkilövahinkoja. Samsung ei ole vastuussa tamänkaltaisista vahingoista.
-
Samsung ei vastaa laitevauroiosta tai henkilovahingoista, jos muita kuin VESA-standardien mukaisia tai märitettyjä seinäkiinnikkeitä kaytetaän tai jos kayttäja ei noudata laitteen asennusohjeita.
-
Alä asenna televisiota yli 15 asteen kallistuskulmaan.
- Television asentamiseen seinälle tarvitaan kaksi henkiläa.
Television ilmankierron takaaminen
Kun asennat television, pidä vähintään 10 cm:n etäisyys television ja muiden kohteiden (seinät, kaapiston reunat jne.) valillä, jotta ilmanvaihto toimisi kunnolla. Puutteellinen ilmanvaihto saattaa aiheuttaa tulipalon tai laitteen sisäisestä kuumenemisesta johtuvan vian.
Kun asennat television, suosittelemme käyttämän vain Samsung Electronicsin toimitamia osia riippumatta siitä, käytätkö asennuksessa jalustaa vai seinätelinettä. Jos käytät muiden valmistajien toimitamia osia, laitteen kanssa voi esiinty öngelmia tai se saattaa pudota ja aiheuttaa henkilövahinkoja.

Asentaminen jalustan kanssa Asentaminen seinatelineen kanssa

Television kiinnittäminen jalustaan
Varmista, etta kaikki naytetyt lisatarvikkeet ovat kaytettavissäi ja etta olet koonnut jalustan sen mukana toimitettujen ohjeiden mukaisesti.
Varotoimenpide: Television kiinnittäminen seineän putoamisen estämiseksi

Huomio: Television vetäminen, työntäminen tai siinä kiipeily saattavat aiheittaa sen putoamisen. Varmista erityisesti, etteivät lapset leiki teileviolla tai kallista sitä. Muutoin teilevisio voi kaatua ja aiheittaavakavia henkilövahinkoja tai kuoleman. Noudata kaikkia television mukana toimitetun turvaoppaan turvallisuusohjeita. Saat lisäturvaa ja lisävakautta asentamalla putoamisenestolaitteen alla kuvatulla tavalla.

VAROITUS: Älä milloinkaan aseta televisiota epävakaalle alustalle. Televisio saattaa pudota ja aiheuttaavakavia henkilövahinkoja tai kuoleman. Monilta vammolita säästytään - erityisesti lasten kohdalla - seuraavien yksinkertaisten varotoimenpiteiden avulla:
- Käytä television valmistajan suosittelemia kaappeja tai jalustoja.
- Käytä vain sellaisia huonekaluja, jotka varmasti kestvät television painon.
- Varmista, etta tevisio on kokonaan huonekalun paallä.
- Älä aseta televisiota korkeiden huonekalujen (esimerkiki kaappien tai kirjahlyjen) pälle, jos huonekalua ja televisiota ei ole kiinnitety oikeanlaiseen tukeen.
- Alä laita television ja huonekalun valiin kankaita tai muita materiaialeja.
- Kerro lapsille, kuinka vaarallista niissä huonekaluissa on kiipeillä, joissa tevisio on.
Jos sailytät vanhan tevisiosi ja käytät sitä toisessa paikassa, noudata samoja varotoimia vanhan television kanssa.
Television putoamisen estäminen
- Kiinnä kiinnike varmasti seinälle käytämällä oikeita ruuveja.
Varmista, että ruuvit ovat lujasti kiinni seinässä.
-
Saatat tarvita seinan tyypista riippuen lisaa kiinnitystarvikkeita, esim. ruuvitulppia.
-
Kiinnitä kiinnike varmasti television käytämällä oikean kokoisia ruuveja.
-
Tarkista ruuvin tiedot "Television asentaminen seinälle" -osiossa olevan taulukon vakioruuveja käsittelevästa kohdasta.
-
Yhdistä television ja seinaan kiinnitetyt kiinnikkeet toisiinsa kestavallä vajerilla ja sido vajeri tiukasti kiinni.
-
Asenna televisio lahelle seinä, jotta se ei kaatuisi taaksepän.
- Kiinnitä vaijeri niin, etta seinaan kiinnitetyt pidikkeet ovat jokosamalla tasolla tai alempana kuin television pidikkeet.


- Laitteen vari ja muoto voivat vaihdella mallista riippuen.
03 Ulkoisten laitteiden hallinta television kaukosäätimellä (yleiskaukosäätimenasetukset)

Lähde > Yleiskaukosaadin
Televisiosa on yleiskaukosädintoiminto, Jonka avulla voit hallita kaapelivastaanottimia, Blu-ray-laitteita, kotiteatterijärkestelmiä ja muita television kytkettyjä ulkoisia laitteita television kaukosätimellä. Saat lisätietoja yleiskaukosädintoimin non käytösta e-Manualin luvusta Kaukosädin ja oheislaitteet > Ulkoisten laitteiden hallinta television kaukosätimellä - Yleiskaukosätimen käytäminen.
- Jotkin television kytketyt ulkoiset laitteet eivat saata tukea yleiskaukosäddintointoia.
04 Samsung Smart Remote
Tietoja Samsung Smart Remote -sätimen painikkeista
Samsung Smart Remote -kaukosaatimen kuvat, painikkeet ja toiminnot voivat vaihdella mallista toiseen.

Television ja Samsung Smart Remote -säätimen valinen parikytkentä

Kun käynnistät television ensimmäistä kertaa, Samsung Smart Remote muodostaa automaattisesti parikytkennän television kanssa. Jos Samsung Smart Remote ei muodosta parikytkentä television kanssa automaattisesti, osoita sillä television olevaan kaukosätimen anturiin ja paina vasemmalla olevassa kuvassa naytetyjä - ja blainikkeita samanaikaisesti vähintään 3 sekuntia.
Samsung Smart Remote paristojen asentaminen

-
Paina -painiketta Samsung Smart Remote -laitteen takasivun pässä. Runko irtoaa hieman rungon kotelosta.
-
Kännä kaukosaedin ympäri ja liu'uta sitten sen runkoa ylöspain, kunnes paristolokero tulee nakyviin.
-
Jos kaukosaatimessa on paristot, paina paristokotelon molemmilla sivuilla olevia ja -painikkeita poistaaksesi kaukosaatimessa olevat paristot.
-
Laita kaksi uutta paristoa (1,5 V AAA) paristolokeroon ja varmista, etta paristojen navat (+,-) ovat oikein pain. Kun olet valmis, liu'uta kaukosaatimen runkoa. kunnes se on lahes alkuperaisellpaikallaan.
-
Kaannä kaukosaedin ympäri, pidä sen takasivun paëssa olevaa ▲-painiketta painettuna samalla, kun liu'utat rungon paikalleen.
Alkaliparistojen kayttö on suositeltavaa, sillä ne kestavat pitempaan.
05 Kayttoönotto
Käytöönottotoiminto käynnistyy, kun käynnistät television ensimmäistä kertaa. Käytöönottotoiminnon avulla voit tehdä kerralla kaikki television perusasetukset eli valita lahetysten vastaanottotavan, tehdä kanavahaun ja asettaa verkkoyhteyden.
- Muista kytkea mahdolliset ulkoiset laitteet television ennen käytöönoton aloittamista.
Voit kayttä television altoimintoja vain, jos tevisio on yhdistetty Internetiiin. - Televisiosta voi tilapäisesti kuulua äntä, kun tevisio on yhteydssma mobililaitteisin.
- SmartThings-sovellus on-SAATAVILMAIITTEISIN, JODEN KAYTTOJARJESTELMANA ON Android 6.0 tai uudempi, tai iOS 10 tai uudempi.
- Alustaminen voidaan tehdä SmartThings-sovelluksella vain, jos mobilililaite on yhdistetty Internetiin Wi-Fi-yhteydella.
- Jos asetusikkuna ei avaudu automaattisesti mobililaitteen SmartThings-sovelluksessa, lisä teilevisio sovellukseen manuaaliseti käyttaen Lisälaite -toiminnolla SmartThings -sovelluksen koontinäytössä ja jatka käyttoönottoa sen jälkeen.
Voit aloittaa kayttöönoton myos television valikosta Asetukset > Yleiset > Käynnista märitys). Noudata kayttöönottoikkunassa annettuja ohjeita ja tee television perusasetukset katseluymparistön mukaisesti.
Television kaukosään-oppaan käytto
Voit käynistä television sen alareunassa olevalla Television kaukosädin -painikkeella ja käytta sitten ohjausvalikkoa. Ohjausvalikko tulee esille, kun painetaan television ohjainta television ollessa paallä. Saat lisātietoja toiminnon käytostä alla olevasta kuvasta.
- Nayttö voi olla himmeä, jos suojakalvoa SAMSUNG-logon pällä tai television pohjassa ei irroteta. Poista suojakalvo.


Ohjausvalikko
:Katkaisevirta:Aan.ytos
:Kan.ylos:Aa.n.alas
:Kanava alas:Lahde
Television kaukosädin / kaukosaatimen anturi
Paina: Siirra
Paina ja pidä: Valitse
Television kaukosädin television alareunassa.
06 Verkkoyhteyden muodostaminen
Jos yhdistat television verkkoon, voit käyttaa Smart Hub -palvelua ja muita verkkopalveluita sekä tehdä ohjelmistopäivityksiä.
Verkkoyhteys - langaton
Yhdistä tevisio Internetiin käytämälä ravallista reitintä tai modeemia.

Verkkoyhteys - kaapeli

Yhdistä tevisio verkkoon lahiverkkokaapelilla.
-
Käytä kytkennässä Cat 7 (*STP) -kaapelia.
-
Shielded Twist Pair
07 Vianmääritys ja huolto
Vianmäritys
Jos television käytön aikana esiintyy ongelmia, cokeile ensin tassä luettelossa annettuja ratkaisuja. Voit halutessasi myös tutustua e-Manualin vianmäritysosioon. Jos mikään näistä vianetsinnan vinkeista ei auta, käy osoitteessa "www.samsung.com", napsauta tukivalikkoa tai ota yhteyttä asiakaspalveluun, jonka yhteystiedot lótyvät tämän oppaan viimeiseltä sivulta.
- Tämä TFT LED -paneeli koostuu alipikseleista, joiden tuottaminen edellyttäa pitkälte kehitetyä tekniikkaa. Kuvaruudussa saattaa nakyä joitakin kirkkaita tai tummia pikseleita. Kyseiset piksilit eivat vaikuta laitteen suorituskykyn.
- Jotta telesio toimisi mahdollisimman hyvin, paivita sen ohjelmisto viimeisimpaan versoon. Käytä television valikon toimintojaPaivita nyt tai Automaattinen paivitys (setukset > Tuki > Ohjelmistopavitys > Paivita nyt tai Automaattinen paivitys).
Televisio ei käynnisty.
- Varmista, etta virtajohto on kunnolla kiinni sekä tevisiossa että pistorasiassa.
- Varmista, etta pistorasia toimii ja television pohjassa oleva virran merkkivalo palaa punaisena.
- Tarkista television alaosan virtapainiketta ( ) painamalla, ettei ongelma johdu kaukosäätimestä. Jos tevisio käynistyy, katso kohtaa "Kaukosäädin ei toimi".
Kuvaa/videoota/äntä ei ole tai ulkosen laitteen kuva/video/äani on väraristynyt tai kuvaruudussa naytetaan "Heikko signaali tai ei signaalia" tai kanavaa ei lóydy.
- Varmista, etta kytkentä laitteeseen on oikein ja kaikki johdot hyvin kytketty.
-
Irrota kaikki television ja ulkoisten laitteiden johdot ja kytke ne takaisin paikoilleen. Kokeile uusia johtoja, mikäi mahdollista.
-
Varmista, etta oikea lahde on valittu ()> Lahde).
-
Käynnistä television itsediagnoosi, jotta voisit selvittä, aiheuttaako ongelman televisio vai toinen laite ( Asetukset > Tuki > Itsediagnoosi > Aloita kuvatesti tai Aloita äänitesti).
- Jos testitulokset ovat normalit, kännistä kytketyt laitteet uudelleen irrottamalla kunkin laitteen virtajohto ja kytkemällä se uudelleen. Jos ongelma jatkuu, katso lisātietoja kytketyn laitteen käyttooppaan kytkentäohjeista.
-
Jos et käytä kaapeli- tai satelliittivastaanotinta ja teilevisio vastaanottaa lahetyssignaalia antenni- tai kaapeliliitannän kautta, tee kanavahaku käynistämällä Automaattinen viritys ( > setukset > Lähetys > (Automaattisen virityksen asetukset) > Automaattinen viritys).
-
Automaattisen virityksen asetukset -vaihtoehtoa ei välttämättä ole kaikissa malleissa tai kaikilla alueilla.
- Jos käytät kaapeli- tai satellittivastaanotinta, katso ojeet sen mukana toimitetusta käytöohjeesta.
Cl+ ei toimi.
Samsung TV on Cl+ 1.4-standardien mukainen.
- Jos Cl+ Common Interface -moduuli onyhteensopimaton tämän laitteen kanssa, poista moduuli ja ota yhteyttä Cl+-operaattoriin tuen saamiseksi.
Kaukosäädin ei toimi.
- Tarkista, vilkkuuko television pohjassa oleva virran merkkivalo, kun painat kaukosaatimen virtapainiketta. Jos se ei vilku, vaihda kaukosaatimen paristot.
-
Varmista, etta paristot on asetetu niin, etta niiden napaisuudet (+/-) ovat oikein.
-
Suuntaa kaukosädin 1,5-1,8 metrin etäisyydeltä suoraan television.
-
Jos television mukana tuli Samsung Smart Remote (Bluetooth-kaukosään), muista muodostaa pari sen ja television valille.
Kaapeli- tai satelliittivastaanottimen kaukosään in ei käynistä tai smmuta televisiota eikä säää äenenvoimakkuutta.
- Ohjelmoi kaapeli- tai satelliittivastaanottimen kaukosädin niin, etta sillä voi hallita televisiota. Tarkista SAMSUNG-television koodi kaapeli- tai satelliittivastaanottimen käytöoppaasta.
Television asetukset menetetaan 5 minuutin kuluttua.
- Televisio on Jällenmyntytila -tilassa. Muuta Käytötila Yleiset -valikossa arvoon Kotitila (Asetukset > Yleiset > Järestelmänhallinta > Käytötila > Kotitila).
Wi-Fi-signaali katkeilee
- Varmista, etta tevisio on verkkoyhteydessä (m > Asetukset > Yleiset > Verkko > Verkon tila).
- Varmista, etta Wi-Fi-salasana on annettu oikein.
- Tarkista television ja modeemin/reitittimen valinen etäisyys. Etäisyys ei saisi ollayli 15,2 m.
Vahennä häröitä välttamälla langattomien laitteiden käyttoa tai smuttamalla ne. Varmista myös, ettei television ja modeemin/reitittimen valillä ole esteita. (Laitteet, langattomat puhelimet, kiviseinät/takat jne. voivat heikentä Wi-Fi-signaalia.)

Yksikerroksinen Monikerroksinen
- Ota yhteyttä Internet-palveluntarjoajaasi ja pyydä sitä nollaamaan verkkosi, jotta uuden modeemin/reitittimen ja television Mac-osoitteetrekisteröidaaunudelleen.
Video-sovellusten ongelmat (Youtube jne.)
- Vaihda DNS-asetukseksi 8.8.8.8. Valitse > Asetukset > Yleiset > Verkko > Verkon tila > IP-aset. > DNS-asetus > Anna manuaalisesti > Nimipalvelin > syötä 8.8.8.8 > OK.
- Nollaa valitsemalla > Asetukset > Tuki > Itsdiagnoosi > Palauta Smart Hub.
Mita etatuki tarkoittaa?
Samsung in etatukipalvelu antaa sinulle henkilkohtaista tukea, jossa Samsungin teknikko auttaa sinua etaalkasin
- diagnosoimaan television
- saatamän television asetukset
palauttamaan television oletusasetuksiin - asentamaan suositellut laiteohjelmistopäivitykset.
Miten etatuki toimii?
Voit helposti saada tevisiollesi Samsungin etatukipalvelun:
- Soita Samsungin asiakaspalveluun ja pyyda etatukea sieltä.
- Ayaa television valikko ja sjirry osjoon Tuki. (setukset > Tuki)
- Valitse Etahallinta, lue palvelusopimus ja hyväksy se. Kun PIN-koodin syöttöikkuna avautuu, anna teknikolle PIN-koodi.
- Teknikko muodostaa yhteyden television.
Ekotunnistin ja kuvaruudun kirkkaus

Ekotunnistin säätä television kuvaruudun kirkkauden automaattisesti. Ekotunnistin mittaa huoneen valaistuksen ja optimoi television kirkkauden automaattisesti virran säastämiseksi. Jos haluat ottaa tän toiminnon pois käytösta, siirry kohtaan Asetukset >Yleiset > Ekoratkaisu > Vallitsevan valon tunnistus.
- Jos nayttö on liian tumma katsoessasi televisiota pimeässä, se voi johtua Vallitsevan valon tunnistus -toiminnosta.
- Ekotunnistin sijaitsee television pohjaosassa. Älä peita tunnistinta millään ravoin. Tämä voi vähentää kuvan kirkkautta.
Television salasanan vaihtaminen

Asetukset > Yleiset > Järkestelmänhallinta > Vaihda PIN-koodi
- Käynistä Vaihda PIN-koodi ja anna nykyinen salasana salasanakenttään. Oletussalasana on "0000". (Ranska: "1111").
- Anna uusi salasana ja vahvista se antamalla se uudelleen. Salasana on nyt vaihddetu.
- Jos unohdat PIN-koodin, voit palauttaa sen oletusnumerosarjaan "0000" painamalla kaukosaatimen painikkeita seuraavassa järjestyksessä (Ranska: "1111"):
Samsung Smart Remote -sätmessä: Valitse VOL-painike. > Aän. ylos > > Aän. alas > > Aän. ylos >
Television huoltaminen
- Jos television kuvaruudussa on ollut tarra, siitä saattaa jäädä pieniä jalkia sen irrottamisen jälkeen. Pyyhi jäljet pois ennen television käyttoä.
- Television ulkopinta ja kuvaruutu voivat naarmuuntua puhdistamisen aikana. Pyyhi ulkopinta ja kuvaruutu varovasti pehmeallä liinalla, jotta ne eivät naarmuuntuisi.
- Alä suihkuta vetta tai muita nesteitä suoraan television. Jos laitteen sisälle pääsee mitä tahansa nestettä, seurauktena voi olla laitevika, tulipalo tai sahköisku.
- Jos haluat puhdistaa nayton, sommuta tevisio ja pyyhi paneelissa olevat tahrat ja sormenjäljet varovasti pois mikrokuituinalla. Puhdista television runko tai paneeli ainoastaan pieneen märään vettä kostutetulla mikrokuituinalla. Poista sitten kosteus kuivalla liinalla. Älä kohdista paneelin pintaan voimaa puhdistaessasi sitä, koska se voisi vahingoittaa paneelia. Älä koskaan käytä syttyvä nesteitä (bentseenä, ohenteita yms.) tai puhdistusainetta. Vaikeiden tahrojen kanssa ruiskuta pieni märä naytonpuhdistusainetta mikrokuituinalle ja pyyhi sitten tahrat pois liinalla.

08 Tekniset tiedot ja muita tietoja
Tekniset tiedot
| Mallin nimi | UE43NU7445 / UE43NU7455 / UE43NU7475 | UE50NU7445 / UE50NU7455 / UE50NU7475 |
| Näytön erottelutarkkuus | 3840 x 2160 3840 x 2160 | |
| Kuvaruudun koko | 43 tuumaa | 50 tuumaa |
| Mitattuna diagonalisesti | 108 cm | 125 cm |
| Ääni (lähtö) | 20 W 20 W | |
| Mitat (L x K x S) | ||
| Runko | 970,2 x 563,2 x 58,8 mm | 1124,8 x 650,2 x 59,7 mm |
| Jalustan kanssa | 970,2 x 648,0 x 331,8 mm | 1124,8 x 735,8 x 336,2 mm |
| Paino | ||
| Ilman jalustaa | 9,5 kg | 13,8 kg |
| Jalustan kanssa | 12,1 kg | 16,5 kg |
| Mallin nimi | UE55NU7445 / UE55NU7455 / UE55NU7475 | UE65NU7445 / UE65NU7455 / UE65NU7475 |
| Näytön erottelutarkkuus | 3840 x 2160 3840 x 2160 | |
| Kuvaruudun koko | 55 tuumaa | 65 tuumaa |
| Mitattuna diagonalisesti | 138 cm | 163 cm |
| Ääni (lähtö) | 20 W 20 W | |
| Mitat (L x K x S) | ||
| Runko | 1238,6 x 714,2 x 59,3 mm | 1457,5 x 837,3 x 59,7 mm |
| Jalustan kanssa | 1238,6 x 800,0 x 350,1 mm | 1457,5 x 922,8 x 378,0 mm |
| Paino | ||
| Ilman jalustaa | 17,2 kg | 25,1 kg |
| Jalustan kanssa | 19,7 kg | 28,0 kg |
Käytto- ja säilytysympäristö
| Käytölämpötila | 10-40 °C (50-104 °F) |
| Käytötilan ilmankosteus | 10-80 %, tiivistymätön |
| Sälytyslämpötila | -20-45 °C (-4-113 °F) |
| Sälytystilan ilmankosteus | 5-95 %, tiivistymätön |
- Laitteen ulkoasua ja teknisä tietoja voidaan muuttaa ilman ennakkoilmoitusta.
- Saat lisātietaja virtalāhteestä ja virrankulutuksesta laitteseen kiinnitetysta tarrasta.
- Tyypillinen virrankulutus on mitattu IEC 62087-standardin mukaisesti.
- Tarra on kiinnitetty television taakse (Joissakin malleissa tarra on kiinnitetty liitinten kannen sisäpinnalle.)
Virrankulutuksen vahentäminen
Kun sammutat television, se siirtyy valmiustilaan. Valmiustilassa se kuluttaa edelleen jonkin verran virtaa. Jos haluat vahentäa virrankulutusta, irrota virtajohto pistorasiasta, kun televisiota ei käytetä pitkään aikaan.
Käyttoöikeudet
DOLBY AUDIO
POWERED BY QUICKSET
rovi guide
Samsung Electronics vakuuttaa, etta tämlaite tayttä direktiivin 2014/53/EU vaatumukset.
EU-vaatimustenmukaisuusvakuutuksen teksti on luettavissa kokonaisuudessaan oositteessa: http://www.
samsung.com Siirry kohtaan Tuki > Etsi tuotetukea ja syöta mallin nimi.
Tātā laitetta saa kāyttä kaikissa EU-maisa.
Laitteen 5 GHz:n WLAN(Wi-Fi)-toimintoa saa käyttaa ainoastaan sisätiloissa.
BT:n maks. lahetinteho: 100 mW, 2,4 GHz - 2,4835 GHz
Wi-Fi:n maks. lahetinteho: 100 mW, 2,4 GHz - 2,4835GHz, 5,15 GHz - 5,35 GHz & 5,47 GHz - 5,725 GHz

Tuotteen asianmukainen havittäminen (WEEE)
(Koskee maita, joissa on erilliset kierratysjärjestelmät.)
Tämä joko laitteessa, sen lisavarusteissa tai käyttooppaassa oleva merkintä osoittaa, etta laitetta ja sen sahköisä lisavarusteita (esim. laturi, kuulokkeet ja USB-kaapeli) ei saa havittä yhdessä muiden kotitalousjatteiden kanssa. Kun tällainen laite tulee elinkaarena sloppuun, alä havitta sitä yhdessä muiden jatteiden kanssa, vaan toimita se oikeaoppisesti kierrätettäväksi. Nain estät mahdolliset ympäristö- ja terveyshaitat ja edistät samalla materiaalien kierrätystä.
Kotitalousasiakkaat saavat tarvittaessa tarkempia kierratysohjeita jalleenmyyjaltatai paikallisesta jatehuollosta.
Yrityskäytäjien taas tulee ottaa yhteyttä tavarantoimittajaan ja tarkistaa hankantasopimuksen ehdot. Tätä laitetta ja sen sähköisä lisävarusteita ei saa havittä yhdessä muiden yritysjäteiden kanssa.

Laitteen akkujen ja paristojen oikea havittamistapa
(Koskee maita, joissa on erilliset kierratysjärjestelmät.)
Jos akussa tai paristossa, käyttooppaassa tai pakkauksessa on täm merkki, se tarkoittaa, etta akkuja ja paristoja ei saa havittä kotitalousjätteen joukossa, kun ne tulevat elinkaarenasa paähän. Kemiallinen symboli Hg, Cd tai Pb ilmaisee, etta paristo sisältae elohopeaa, kadmiemia tai lyijyä yli EU: n direktiivin 2006/66 viiterajoen. Jos paristoja ei havitet oikein, namä aineet voivat olla Haitallisia ihmisten terveydelle tai ympäristolle.
Luonnonvarojen suojelemiseksi ja materiaalien uudelleenkäytön edistämiseksi erottele akut tai paristot muusta jatteestä ja toimita ne maksuttomaan paikalliseen keräyspisteeseen.
Lisātietoja Samsungin ympäristösitoumuktista ja tuotekohtaisista sānnösvelvoitteista, kuten REACH, WEEE ja akut on osoitteessa http://www.samsung.com/uk/aboutsamsung/samsungelectronics/corporatecitizenship/data-corner.html
VAROITUS: VÄLTÄ TULIPALON VAARA PITÄMÄLLÄ LAITE AINA ETÄALLÄ KYNTTILOISTÄ JA AVOTULESTA.

Tämä sivu on jätetty tarkoituksella tyhjäksi.
Tämä sivu on jätetty tarkoituksella tyhjäksi.
Notice-Facile