UE43NU7445U - TV SAMSUNG - Free user manual and instructions
Find the device manual for free UE43NU7445U SAMSUNG in PDF.
Download the instructions for your TV in PDF format for free! Find your manual UE43NU7445U - SAMSUNG and take your electronic device back in hand. On this page are published all the documents necessary for the use of your device. UE43NU7445U by SAMSUNG.
USER MANUAL UE43NU7445U SAMSUNG
Thank you for purchasing this Samsung product.
To receive more complete service, please register your product at www.samsung.com
Model Serial No.
Before Reading This User Manual
This TV comes with this user manual and an embedded e-Manual.
Before reading this user manual, review the following:
| User Manual | Read this provided user manual to see information about product safety, installation, accessories, initial configuration, and product specifications. | |
| e-Manual | For more information about this TV, read the e-Manual embedded in the product. • To open the e-Manual, Settings > Support > Open e-Manual |
On the website, you can download the user manual and see its contents on your PC or mobile device.
Learning the e-Manual's assistance functions
Some menu screens cannot be accessed from the e-Manual.
| Q | Search | Select an item from the search results to load the corresponding page. |
| A-Z | Index | Select a keyword to navigate to the relevant page. - The menus may not appear depending on the geographical area. |
| ← | Recent pages | Select a topic from the list of recently viewed topics. |
Learning the functions of the buttons that appear on e-Manual topic pages
| Try Now | Access the associated menu item and try out the feature directly. |
| Link | Access an underlined topic referred to on an e-Manual page immediately. |
Warning! Important Safety Instructions
Please read the Safety Instructions before using your TV.
| CAUTION | ☐ | Class II product: This symbol indicates that a safety connection to electrical earth (ground) is not required. | |
| RISK OF ELECTRIC SHOCK. DO NOT OPEN. | |||
| CAUTION: TO REDUCE THE RISK OF ELECTRIC SHOCK, DO NOT REMOVE COVER (OR BACK). THERE ARE NO USER SERVICEABLE PARTS INSIDE. REFER ALL SERVICING TO QUALIFIED PERSONNEL. | ~ | AC voltage: Rated voltage marked with this symbol is AC voltage. | |
| 4 | This symbol indicates that high voltage is present inside. It is dangerous to make any kind of contact with any internal part of this product. | — | DC voltage: Rated voltage marked with this symbol is DC voltage. |
| ! | This symbol indicates that this product has included important literature concerning operation and maintenance. | ▲i | Caution. Consult instructions for use: This symbol instructs the user to consult the user manual for further safety related information. |
- The slots and openings in the cabinet and in the back or bottom are provided for necessary ventilation. To ensure reliable operation of this apparatus and to protect it from overheating, these slots and openings must never be blocked or covered.
- Do not place this apparatus in a confined space, such as a bookcase or built-in cabinet, unless proper ventilation is provided.
- Do not place this apparatus near or over a radiator or heat register, or where it is exposed to direct sunlight.
- Do not place vessels (vases etc.) containing water on this apparatus, as this can result in a fire or electric shock.
- Do not expose this apparatus to rain or place it near water (near a bathtub, washbowl, kitchen sink, or laundry tub, in a wet basement, or near a swimming pool, etc.). If this apparatus accidentally gets wet, unplug it and contact an authorised dealer immediately.
- This apparatus uses batteries. In your community, there might be environmental regulations that require you to dispose of these batteries properly. Please contact your local authorities for disposal or recycling information.
- Do not overload wall outlets, extension cords, or adaptors beyond their capacity, since this can result in fire or electric shock.
- Power-supply cords should be placed so that they are not likely to be walked on or pinched by items placed upon or against them. Pay particular attention to cords at the plug end, at wall outlets, and at the point where they exit from the appliance.
-
To protect this apparatus from a lightning storm, or when left unattended and unused for long periods of time, unplug it from the wall outlet and disconnect the antenna or cable system. This will prevent damage to the set due to lightning and power line surges.
-
Before connecting the AC power cord to the DC adaptor outlet, make sure that the voltage designation of the DC adaptor corresponds to the local electrical supply.
- Never insert anything metallic into the open parts of this apparatus. This may cause a danger of electric shock.
- To avoid electric shock, never touch the inside of this apparatus. Only a qualified technician should open this apparatus.
- Be sure to plug in the power cord until it is firmly seated. When unplugging the power cord from a wall outlet, always pull on the power cord's plug. Never unplug it by pulling on the power cord. Do not touch the power cord with wet hands.
- If this apparatus does not operate normally - in particular, if there are any unusual sounds or smells coming from it - unplug it immediately and contact an authorised dealer or service centre.
-
Be sure to pull the power plug out of the outlet if the TV is to remain unused or if you are to leave the house for an extended period of time (especially when children, elderly, or disabled people will be left alone in the house).
-
Accumulated dust can cause an electric shock, an electric leakage, or a fire by causing the power cord to generate sparks and heat or by causing the insulation to deteriorate.
-
Be sure to contact an authorised Samsung service centre for information if you intend to install your TV in a location with heavy dust, high or low temperatures, high humidity, chemical substances, or where it will operate 24 hours a day such as in an airport, a train station, etc. Failure to do so may lead to serious damage to your TV.
-
Use only a properly grounded plug and wall outlet.
-
An improper ground may cause electric shock or equipment damage. (Class l Equipment only.)
-
To turn off this apparatus completely, disconnect it from the wall outlet. To ensure you can unplug this apparatus quickly if necessary, make sure that the wall outlet and power plug are readily accessible.
- Store the accessories (batteries, etc.) in a location safely out of the reach of children.
- Do not drop or strike the product. If the product is damaged, disconnect the power cord and contact a Samsung service centre.
-
To clean this apparatus, unplug the power cord from the wall outlet and wipe the product with a soft, dry cloth. Do not use any chemicals such as wax, benzene, alcohol, thinners, insecticide, aerial fresheners, lubricants, or detergents. These chemicals can damage the appearance of the TV or erase the printing on the product.
-
Do not expose this apparatus to dripping or splashing.
- Do not dispose of batteries in a fire.
-
Do not short-circuit, disassemble, or overheat the batteries.
-
There is danger of an explosion if you replace the batteries used in the remote with the wrong type of battery. Replace only with the same or equivalent type.
-
Figures and illustrations in this User Manual are provided for reference only and may differ from the actual product appearance. Product design and specifications may change without notice.
CIS languages (Russian, Ukrainian, Kazakhs) are not available for this product, since this is manufactured for customers in EU region.
Contents
Before Reading This User Manual 2
Warning! Important Safety Instructions 3
01 What's in the Box?
02 TV Installation
Mounting the TV on a wall 7
ProvidingproperventilationforyourTV 8
Attaching the TV to the Stand 9
Safety Precaution: Securing the TV to the wall to
prevent falling 9
03 Controlling External Devices with the TV Remote (Universal Remote Setup)
04 The Samsung Smart Remote
About the Buttons on the Samsung Smart Remote 11
Pairing the TV to the Samsung Smart Remote 12
12
05 Running the Initial Setup
Using the TV Controller 13
06 Connecting to a Network
Network Connection - Wireless 14
Network Connection - Wired 14
07 Troubleshooting and Maintenance
Troubleshooting 15
What is Remote Support? 17
Eco Sensor and screen brightness 17
Changing the TV's password 18
Caring for the TV 18
08 Specifications and Other Information
Specifications 19
Environmental Considerations 20
Decreasing power consumption 20
Licences 20
01 What's in the Box?
Make sure the following items are included with your TV. If any items are missing, contact your dealer.
Samsung Smart Remote & Batteries (AAA x 2)
-
Warranty Card / Regulatory Guide (Not available in some locations)
-
User Manual
TV Power Cable

X4



SV ONLY
Wall Mount Adapter COMPONENT IN / AV IN Adapter CI Card Adapter
- The items' colours and shapes may vary depending on the models.
- Cables not included can be purchased separately.
- Check for any accessories hidden behind or in the packing materials when opening the box.
An administration fee may be charged in the following situations:
(a) An engineer is called out at your request, but it is found that the product has no defect (i.e., where the user manual has not been read).
(b) You bring the unit to a repair centre, but it is found that the product has no defect (i.e., where the user manual has not been read).
You will be informed of the administration fee amount before a technician visits.

Warning: Screens can be damaged from direct pressure when handled incorrectly. We recommend lifting the TV at the edges, as shown.

02 TV Installation
Mounting the TV on a wall

If you mount this TV on a wall, follow the instructions exactly as set out by the manufacturer. Unless it is correctly mounted, the TV may slide or fall and cause serious injury to a child or adult and serious damage to the TV.
For models providing wall mount adapters, install them as shown in the figure below before installing the wall mount kit.
Refer to the installation manual included with the Samsung wall mount kit.

Samsung Electronics is not responsible for any damage to the product or injury to yourself or others if you choose to install the wall mount on your own.
- You can install your wall mount on a solid wall perpendicular to the floor. Before attaching the wall mount to surfaces other than plaster board, contact your nearest dealer for additional information. If you install the TV on a ceiling or slanted wall, it may fall and result in severe personal injury.
- Standard dimensions for wall mount kits are shown in the table on the next page.
- If you are installing a third-party wall mount, note that the length of the screws you can use to attach the TV to the wall mount is shown in column C in the table on the next page.
- When installing a wall mount kit, we recommend you fasten all four VESA screws.
- If you want to install a wall mount kit that attaches to the wall using two top screws only, be sure to use a Samsung wall mount kit that supports this type of installation. (You may not be able to purchase this type of wall mount kit, depending on the geographical region.)
| TV size in inches | VESA screw hole specs (A * B) in millimetres | C (mm) | Standard Screw Quantity | A B | |
| 43-55 200 | x 200 | 43-45 M8 4 | |||
| 65 400 | x 400 | ||||

Do not install your wall mount kit while your TV is turned on. This may result in personal injury from electric shock.
- Do not use screws that are longer than the standard dimension or do not comply with the VESA standard screw specifications. Screws that are too long may cause damage to the inside of the TV set.
- For wall mounts that do not comply with the VESA standard screw specifications, the length of the screws may differ depending on the wall mount specifications.
-
Do not fasten the screws too firmly. This may damage the product or cause the product to fall, leading to personal injury. Samsung is not liable for these kinds of accidents.
Samsung is not liable for product damage or personal injury when a non-VESA or non-specified wall mount is used or when the consumer fails to follow the product installation instructions. -
Do not mount the TV at more than a 15 degree tilt.
Always have two people mount the TV onto a wall.
Providing proper ventilation for your TV
When you install your TV, maintain a distance of at least 10 cm between the TV and other objects (walls, cabinet sides, etc.) to ensure proper ventilation. Failing to maintain proper ventilation may result in a fire or a problem with the product caused by an increase in its internal temperature.
When you install your TV with a stand or a wall mount, we strongly recommend you use parts provided by Samsung Electronics only. Using parts provided by another manufacturer may cause difficulties with the product or result in injury caused by the product falling.

Attaching the TV to the Stand
Make sure you have all the accessories shown, and that you assemble the stand following the provided assembly instructions.
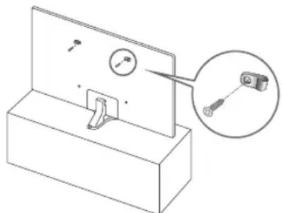
Safety Precaution: Securing the TV to the wall to prevent falling

Caution: Pulling, pushing, or climbing on the TV may cause the TV to fall. In particular, ensure your children do not hang on or destabilise the TV. This action may cause the TV to tip over, causing serious injuries or death. Follow all safety precautions provided in the Safety Flyer included with your TV. For added stability and safety, you can purchase and install the anti-fall device as described below.

WARNING: Never place a television set in an unstable location. The television set may fall, causing serious personal injury or death. Many injuries, particularly to children, can be avoided by taking simple precautions such as
- Using cabinets or stands recommended by the manufacturer of the television set.
- Only using furniture that can safely support the television set.
- Ensuring the television set is not overhanging the edge of the supporting furniture.
- Not placing the television set on tall furniture (for example, cupboards or bookcases) without anchoring both the furniture and the television set to a suitable support.
- Not placing the television set on cloth or other materials that may be located between the television set and supporting furniture.
- Educating children about the dangers of climbing on furniture to reach the television set or its controls.
If you are retaining and relocating the television set that you are replacing with this new set, you should apply the same precautions to the old set.
Preventing the TV from falling
-
Using the appropriate screws, firmly fasten a set of brackets to the wall. Confirm that the screws are firmly attached to the wall.
-
You may need additional material such as wall anchors depending on the type of wall.
-
Using the appropriately sized screws, firmly fasten a set of brackets to the TV.
-
For the screw specifications, refer to the standard screw part in the table under "Mounting the TV on a wall".
-
Connect the brackets fixed to the TV and the brackets fixed to the wall with a durable, heavy-duty string, and then tie the string tightly.
-
Install the TV near the wall so that it does not fall backwards.
- Connect the string so that the brackets fixed to the wall are at the same height as or lower than the brackets fixed to the TV.


The product colour and shape may vary depending on the model.
03 Controlling External Devices with the TV Remote (Universal Remote Setup)

> Source > Universal Remote
The universal remote control feature lets you control cable boxes, Blu-ray players, home theatres, and other external devices connected to the TV using the TV's remote control.
For more information on using the Universal Remote function, see the e-Manual chapter, "Remote Control and Peripherals > Controlling External Devices with the TV Remote - Using the Universal Remote."
- Certain external devices connected to the TV may not support the universal remote feature.
04 The Samsung Smart Remote
About the Buttons on the Samsung Smart Remote
- The images, buttons, and functions of the Samsung Smart Remote may differ depending on the model.

Pairing the TV to the Samsung Smart Remote

When you turn on the TV for the first time, the Samsung Smart Remote pairs to the TV automatically. If the Samsung Smart Remote does not pair to the TV automatically, point it at the remote control sensor of the TV, and then press and hold the buttons labelled and shown in the figure on the left simultaneously for 3 seconds or more.
Installing batteries into the Samsung Smart Remote

- Press the button at the top rear of the Samsung Smart Remote. The body will pop out slightly from the body cover.
- Turn the remote over, and then slide the body of the remote upwards until the battery compartment is revealed.
- If there are batteries in the remote, press the and buttons on both sides of the battery compartment to remove the existing batteries.
- Insert two new batteries (1.5V AAA type) into the battery compartment making sure that the batteries' polarities (+, -) are oriented correctly. When done, slide the body of the remote until it is nearly in its original position.
- Turn the remote over, press and hold the button on the top rear, and then slide the body of the remote down into place.
Alkaline batteries are recommended for longer battery life.
05 Running the Initial Setup
When you turn on your TV for the first time, it immediately starts the Initial Setup. The Initial Setup allows you to configure the basic settings for the TV to operate, such as broadcast reception, channel search, and network connection, at one time.
- Before starting the Initial Setup, be sure to connect external devices first.
- To use the TV's smart features, the TV must be connected to the Internet.
- Noise may occur temporarily when the TV communicates with mobile devices.
- The SmartThings app is available on mobile devices for Android 6.0 or higher and iOS 10 or higher.
- To perform initialisation by using the SmartThings app, the mobile device must have been connected via Wi-Fi.
- When the pop-up for setup does not appear automatically on the SmartThings app of your mobile device, proceed with the process after manually adding the TV using Add Device on the dashboard of the SmartThings app.
You can also start the Initial Setup using the TV's menu (Settings > General > Start Setup).
Follow the instructions displayed on the Initial Setup screen and configure the TV's basic settings to suit your viewing environment.
Using the TV Controller
You can turn on the TV with the TV Controller button at the bottom of the TV, and then use the Control Menu. The Control menu appears when the TV Controller is pressed while the TV is On. For more information about its usage, refer to the figure below.
- The screen may dim if the protective film on the SAMSUNG logo or the bottom of the TV is not detached. Please remove the protective film.

Control menu
:Poweroff:VolumeUp
: Channel Up : Volume Down
: Channel Down : Source
TV Controller / Remote control sensor

The TV Controller is located on the bottom of the TV.
06 Connecting to a Network
Connecting the TV to a network gives you access to online services, such as Smart Hub, as well as software updates.
Network Connection - Wireless
Connect the TV to the Internet using a standard router or modem.

Network Connection - Wired
Connect your TV to your network using a LAN cable. Use Cat7 (*STP Type) cable for the connection. * Shielded Twist Pair
07 Troubleshooting and Maintenance
Troubleshooting
If the TV seems to have a problem, first review this list of possible problems and solutions. Alternatively, review the Troubleshooting Section in the e-Manual. If none of these troubleshooting tips apply, please visit "www.samsung.com" and click on Support, or contact the call centre listed on the back cover of this manual.
- This TFT LED panel is made up of sub pixels which require sophisticated technology to produce. There may be, however, a few bright or dark pixels on the screen. These pixels will have no impact on the performance of the product.
- To keep your TV in optimum condition, upgrade to the latest software. Use the Update Now or Auto update functions on the TV's menu (Settings > Support > Software Update > Update Now or Auto update).
The TV won't turn on.
- Make sure that the AC power cord is securely plugged in to the TV and the wall outlet.
- Make sure that the wall outlet is working and the power indicator at the bottom of the TV is lit and glowing a solid red.
- Try pressing the Power() button at the bottom of the TV to make sure that the problem is not with the remote control. If the TV turns on, refer to "Remote control does not work".
There is no picture/video/sound, or a distorted picture/video/sound from an external device, or "Weak or No Signal" is displayed on the TV, or you cannot find a channel.
- Make sure the connection to the device is correct and that all cables are fully inserted.
-
Remove and reconnect all cables connected to the TV and the external devices. Try new cables if possible.
-
Confirm that the correct input source has been selected at > Source).
-
Perform a TV self diagnosis to determine if the problem is caused by the TV or the device (Settings > Support > Self Diagnosis > Start Picture Test or Start Sound Test).
-
If the test results are normal, reboot the connected devices by unplugging each device's power cord and then plugging it in again. If the issue persists, refer to the connection guide in the user manual of the connected device.
-
If you are not using a cable box or satellite box, and your TV is receiving TV signals from an antenna or a cable wall connector, run Auto Tuning to search for channels > Settings > Broadcasting > (Auto Tuning Settings) > Auto Tuning).
-
The Auto Tuning Settings may not appear depending on the model or geographical area.
-
If you are using a cable box or satellite box, please refer to the cable box or satellite box manual.
The Cl+ does not work.
- Your Samsung TV conforms to the CI+ 1.4 standards.
- Where a Cl+ Common Interface module is incompatible with this device then please remove the module and contact the Cl+ operator for assistance.
The remote control does not work.
- Check if the power indicator at the bottom of the TV blinks when you press the remote's Power button. If it does not, replace the remote control's batteries.
- Make sure that the batteries are installed with their poles (+ / -) in the correct direction.
Try pointing the remote directly at the TV from 1.5 1.8m away.
- If your TV came with a Samsung Smart Remote (Bluetooth Remote), make sure to pair the remote to the TV.
The cable box or satellite box remote control doesn't turn the TV on or off or adjust the volume.
- Programme the cable box or satellite box remote control to operate the TV. Refer to the cable box or satellite box user manual for the SAMSUNG TV code.
The TV settings are lost after 5 minutes.
- The TV is in the Retail Mode. Change the Usage Mode in the General Menu to Home Mode (Settings >General >System Manager >Usage Mode >Home Mode).
Intermittent Wi-Fi
Make sure the TV has a network connection (Settings > General > Network > Network Status).
Make sure the Wi-Fi password is entered correctly.
- Check the distance between the TV and the Modem/Router. The distance should not exceed 15.2m .
- Reduce interference by not using or turning off wireless devices. Also, verify that there are no obstacles between the TV and the Modem/Router. (The Wi-Fi strength can be decreased by appliances, cordless phones, stone walls/fireplaces, etc.)

Single story Multi story


Wireless router

Wireless repeater
- Contact your Internet Service Provider (ISP) and ask them to reset your network circuit to re-register the Mac addresses of your new Modem/Router and the TV.
Video App problems (Youtube etc)
-
Change the DNS to 8.8.8.8. Select Settings > General > Network > Network Status > IP Settings > DNS setting > Enter manually > DNS Server > enter 8.8.8.8 > OK.
-
Reset by selecting > Settings > Support > Self Diagnosis > Reset Smart Hub.
What is Remote Support?
Samsung Remote Support service offers you one-on-one support with a Samsung Technician who can remotely:
Diagnose your TV
Adjust the TV settings for you
Perform a factory reset on your TV
Install recommended firmware updates
How does Remote Support work?
You can easily get Samsung Remote Support service for your TV:
- Call the Samsung Contact Centre and ask for remote support.
- Open the menu on your TV and go to the Support section. (Settings > Support)
- Select Remote Management, then read and agree to the service agreements. When the PIN screen appears, provide the PIN number to the technician.
- The technician will then access your TV.
Eco Sensor and screen brightness

Eco Sensor adjusts the brightness of the TV automatically. This feature measures the light in your room and optimises the brightness of the TV automatically to reduce power consumption. If you want to turn this off, go to Settings > General > Eco Solution > Ambient Light Detection.
- If the screen is too dark while you are watching TV in a dark environment, it may be due to the Ambient Light Detection function.
- The eco sensor is located at the bottom of the TV. Do not block the sensor with any object. This can decrease picture brightness.
Changing the TV's password

Settings > General > System Manager > Change PIN
- Run Change PIN and then enter the current password in the password field. The default password is "0000" (France: "1111").
- Enter a new password and then enter it again to confirm it. The password change is complete.
- If you forgot your PIN code, press the buttons in the following sequence to reset the PIN to "0000" (France: "1111"):
On the Samsung Smart Remote: Select VOL button. > Volume Up > Volume Down > Volume Up >
Caring for the TV
- If a sticker was attached to the TV screen, some debris can remain after you remove the sticker. Please clean the debris off before watching TV.
- The exterior and screen of the TV can get scratched during cleaning. Be sure to wipe the exterior and screen carefully using a soft cloth to prevent scratches.
- Do not spray water or any liquid directly onto the TV. Any liquid that goes into the product may cause a failure, fire, or electric shock.
- To clean the screen, turn off the TV, then gently wipe away smudges and fingerprints on the panel with a micro-fiber cloth. Clean the body or panel of the TV with a micro-fiber cloth dampened with a small amount of water. After that, remove the moisture with a dry cloth. While cleaning, do not apply strong force to the surface of the panel because it can damage the panel. Never use flammable liquids (benzene, thinner, etc.) or a cleaning agent. For stubborn smudges, spray a small amount of screen cleaner on a micro-fiber cloth, and then use the cloth to wipe away the smudges.

08 Specifications and Other Information
Specifications
| Model Name | UE43NU7445 / UE43NU7455 / UE43NU7475 | UE50NU7445 / UE50NU7455 / UE50NU7475 |
| Display Resolution | 3840 x 2160 3840 x 2160 | |
| Screen Size | 43 inches | 50 inches |
| Measured Diagonally | 108 cm | 125 cm |
| Sound (Output) | 20 W 20 W | |
| Dimensions (W x H x D) | ||
| Body | 970.2 x 563.2 x 58.8 mm | 1124.8 x 650.2 x 59.7 mm |
| With stand | 970.2 x 648.0 x 331.8 mm | 1124.8 x 735.8 x 336.2 mm |
| Weight | ||
| Without Stand | 9.5 kg | 13.8 kg |
| With Stand | 12.1 kg | 16.5 kg |
| Model Name | UE55NU7445 / UE55NU7455 / UE55NU7475 | UE65NU7445 / UE65NU7455 / UE65NU7475 |
| Display Resolution | 3840 x 2160 3840 x 2160 | |
| Screen Size | 55 inches | 65 inches |
| Measured Diagonally | 138 cm | 163 cm |
| Sound (Output) | 20 W 20 W | |
| Dimensions (W x H x D) | ||
| Body | 1238.6 x 714.2 x 59.3 mm | 1457.5 x 837.3 x 59.7 mm |
| With stand | 1238.6 x 800.0 x 350.1 mm | 1457.5 x 922.8 x 378.0 mm |
| Weight | ||
| Without Stand | 17.2 kg | 25.1 kg |
| With Stand | 19.7 kg | 28.0 kg |
Environmental Considerations
| Operating Temperature | 10°C to 40°C (50°F to 104°F) |
| Operating Humidity | 10% to 80%, non-condensing |
| Storage Temperature | -20°C to 45°C (-4°F to 113°F) |
| Storage Humidity | 5% to 95%, non-condensing |
- The design and specifications are subject to change without prior notice.
- For information about the power supply, and more information about power consumption, refer to the label-rating attached to the product.
Typical power consumption is measured according to IEC 62087. - You can see the label-rating attached to the back of the TV. (For some models, you can see the label-rating inside the cover terminal.)
Decreasing power consumption
When you shut the TV off, it enters Standby mode. In Standby mode, it continues to draw a small amount of power. To decrease power consumption, unplug the power cord when you don't intend to use the TV for a long time.
Licences
DOLBY AUDIO
POWERED BY QUICKSET
rovi guide
HEVCAvance™ Covered by Patents at patentlist.hevcAdvance.com
HOMI
The terms HDMI and HDMI High-Definition Multimedia Interface, and the HDMI Logo are trademarks or registered trademarks of HDMI Licensing LLC in the United States and other countries.
Recommendation - EU Only
C E
Hereby, Samsung Electronics, declares that this equipment is in compliance with Directive 2014/53/EU. The full text of the EU declaration of conformity is available at the following internet address: http://www.samsung.com go to Support > Search Product Support and enter the model name. This equipment may be operated in all EU countries.
The 5 GHz WLAN(Wi-Fi) function of this equipment may only be operated indoors.
BT max transmitter power : 100mW at 2.4GHz - 2.4835GHz
Wi-Fi max transmitter power : 100mW at 2.4GHz-2.4835GHz, 5.15GHz-5.35GHz & 5.47GHz-5.725GHz

Correct Disposal of This Product (Waste Electrical & Electronic Equipment)
(Applicable in countries with separate collection systems)
This marking on the product, accessories or literature indicates that the product and its electronic accessories (e.g. charger, headset, USB cable) should not be disposed of with other household waste at the end of their working life. To prevent possible harm to the environment or human health from uncontrolled waste disposal, please separate these items from other types of waste and recycle them responsibly to promote the sustainable reuse of material resources.
Household users should contact either the retailer where they purchased this product, or their local government office, for details of where and how they can take these items for environmentally safe recycling.
Business users should contact their supplier and check the terms and conditions of the purchase contract. This product and its electronic accessories should not be mixed with other commercial wastes for disposal.

Correct disposal of the batteries in this product
(Applicable in countries with separate collection systems)
This marking on battery, manual or packaging indicates that the batteries in this product should not be disposed of with other household waste at the end of their working life. Where marked, the chemical symbols Hg, Cd or Pb indicate that the battery contains mercury, cadmium or lead above the reference levels in EC Directive 2006/66. If batteries are not properly disposed of, these substances can cause harm to human health or the environment.
To protect natural resources and to promote material reuse, please separate batteries from other types of waste and recycle them through your local, free battery return system.
For information on Samsung's environmental commitments and product-specific regulatory obligations, e.g. REACH, WEEE, Batteries, visit http://www.samsung.com/uk/aboutsamsung/samsungelectronics/corporatecitizenship/data-corner.html
WARNING - TO PREVENT THE SPREAD OF FIRE, KEEP CANDLES OR OTHER ITEMS WITH OPEN FLAMES AWAY FROM THIS PRODUCT AT ALL TIMES.

HEVCAAdvance ™ Covered by Patents at patentlist.hevcAdvance.com
HOMI
The terms HDMI and HDMI High-Definition Multimedia Interface, and the HDMI Logo are trademarks or registered trademarks of HDMI Licensing LLC in the United States and other countries.
CE
HEVCAvance™ Covered by Patents at patentlist.hevcAdvance.com
HOMI
The terms HDMI and HDMI High-Definition Multimedia Interface, and the HDMI Logo are trademarks or registered trademarks of HDMI Licensing LLC in the United States and other countries.
CE
uk/aboutsamsung/samsungelectronics/corporatecitizenship/data-corner.html
ADVERTENCIA - PARA IMPEDIR QUE EL FUEGO SE PROPAGUE, MANTENG A ENTodo MOMENTO
HEVCAvance™ Covered by Patents at patentlist.hevcAdvance.com
HOMI
The terms HDMI and HDMI High-Definition Multimedia Interface, and the HDMI Logo are trademarks or registered trademarks of HDMI Licensing LLC in the United States and other countries.
CE
HEVCAvance™ Covered by Patents at patentlist.hevcAdvance.com
HOMI
The terms HDMI and HDMI High-Definition Multimedia Interface, and the HDMI Logo are trademarks or registered trademarks of HDMI Licensing LLC in the United States and other countries.
CE
HEVCAvance™ Covered by Patents at patentlist.hevcAdvance.com
HOMI
The terms HDMI and HDMI High-Definition Multimedia Interface, and the HDMI Logo are trademarks or registered trademarks of HDMI Licensing LLC in the United States and other countries.
CE
Härmed intygar Samsung Electronics attenna utrustning uppyller direktiv 2014/53/EG.
HEVCAvance™ Covered by Patents at patentlist.hevcAdvance.com
HOMI
The terms HDMI and HDMI High-Definition Multimedia Interface, and the HDMI Logo are trademarks or registered trademarks of HDMI Licensing LLC in the United States and other countries.
Adapter for COMPONENT IN / AV IN

Cl kort-adapter
Forhindre at TV-en faller
HEVCAvance™ Covered by Patents at patentlist.hevcAdvance.com
HOMI
The terms HDMI and HDMI High-Definition Multimedia Interface, and the HDMI Logo are trademarks or registered trademarks of HDMI Licensing LLC in the United States and other countries.
HEVCAvance™ Covered by Patents at patentlist.hevcAdvance.com
HOMI
The terms HDMI and HDMI High-Definition Multimedia Interface, and the HDMI Logo are trademarks or registered trademarks of HDMI Licensing LLC in the United States and other countries.
If you have any questions or comments relating to Samsung products, please contact the SAMSUNG customer care centre.
| Country | Customer Care Centre | Web Site |
| AUSTRIA | 0800-SAMSUNG (0800-7267864) [Only for Dealers] 0810-112233 | www.samsung.com/at/support |
| BELGIUM 02-201-24-18 | www.samsung.com/be/support (Dutch) www.samsung.com/be_fr/support (French) | |
| BOSNIA 055 233 999 www.samsung.com/support | ||
| ALBANIA 045 620 202 www.samsung.com/al/support | ||
| BULGARIA | *3000 Ukraine в міржата 0800 111 31, Беллatinga телегонь линя | www.samsung.com/bg/support |
| CROATIA 072 726 786 www.samsung.com/hr/support | ||
| CZECH | 800 - SAMSUNG (800-726786) www.samsung.com/cz/support | |
| Samsung Electronics Czech and Slovak, s.r.o. V Parku 2323/14, 148 00 - Praha 4 | ||
| DENMARK 707 019 70 www.samsung.com/dk/support | ||
| FINLAND 030-6227 515 www.samsung.com/fi/support | ||
| FRANCE 01 48 63 00 00 www.samsung.com/fr/support | ||
| GERMANY | 06196 77 555 77 | www.samsung.com/de/support |
| CYPRUS | 8009 4000 only from landline, toll free | www.samsung.com/gr/support |
| GREECE | 80111-SAMSUNG (80111 726 7864) only from land line (+30) 210 6897691 from mobile and land line | |
| HUNGARY | 0680SAMSUNG (0680-726-7864) | www.samsung.com/hu/support |
| ITALIA | 800-SAMSUNG (800.7267864) | www.samsung.com/it/support |
| LUXEMBURG | 261 03 710 | www.samsung.com/be_fr/support |
| MONTENEGRO | 020 405 888 | www.samsung.com/support |
| SLOVENIA | 080 697 267 (brezplačna številka) | www.samsung.com/si/support |
| NETHERLANDS | 088 90 90 100 | www.samsung.com/nl/support |
| NORWAY | 815 56480 | www.samsung.com/no/support |
| POLAND | 801-172-678* lub +48 22 607-93-33* *(koszt poloczenia wedlug taryfy operadora) | www.samsung.com/pl/support |
| PORTUGAL | 808 207 267 | www.samsung.com/pt/support |
| ROMANIA | *8000 (apel in retea) 08008-726-78-64 (08008-SAMSUNG) Apel Gratisuit | www.samsung.com/ro/support |
| SERBIA | 011 321 6899 | www.samsung.com/rs/support |
| SLOVAKIA | 0800 - SAMSUNG (0800-726 786) | www.samsung.com/sk/support |
| SPAIN | 0034902172678 | www.samsung.com/es/support |
| SWEDEN 0771 726 786 | www.samsung.com/se/support | |
| SWITZERLAND | 0800 726 78 64 (0800-SAMSUNG) | www.samsung.com/ch/support (German) www.samsung.com/ch_fr/support (French) |
| UK | 0330 SAMSUNG (7267864) | www.samsung.com/uk/support |
| IRELAND (EIRE) | 0818 717100 www.samsung.com/ie/support | |
| LITHUANIA | 8-800-77777 | www.samsung.com/lt/support |
| LATVIA | 8000-7267 | www.samsung.com/lv/support |
| ESTONIA | 800-7267 | www.samsung.com/ee/support |
| TURKEY | 444 7711 | www.samsung.com/tr/support |
ManualGo.com