DCF921B - Destornillador DEWALT - Manual de uso y guía de instrucciones gratis
Encuentra gratis el manual del aparato DCF921B DEWALT en formato PDF.
Descarga las instrucciones para tu Destornillador en formato PDF gratis! Encuentra tus instrucciones DCF921B - DEWALT y toma tu dispositivo electrónico nuevamente en la mano. En esta página están publicados todos los documentos necesarios para el uso de su dispositivo. DCF921B de la marca DEWALT.
MANUAL DE USUARIO DCF921B DEWALT
Llave de Impacto Compacta 20 V Max*

Fig. A

DCF922

DCF923
1 Interruptor de gatillo
2 Botón de avance/reversa
3 Yunque
4 Botón de liberación de batería
5 Paquete de bateria
6 Luz de trabajo
7 Selector de modo
8 Gancho de cinturón
9 Tornillo
10 Manija principal
11 Interruptor de luz de trabajo

ADVERTENCIA: Lea todas las advertencias de seguridad, instrucciones, ilustraciones y espécificaciones de este manual, incluyendo las
secciones sobre la batería y el cargador proportionadas en un manual original de la herramipta o en elmanualdeBateriasy
Cargadores por分开. Los manuales se pueda tener poniedose en contacto con el Servicio de atencion al cliente como se describe en other parte de este manual. La falla en seguir las advertencias e instrucciones puede resultar en descarga electrica, incendio y/o lesiones serias.
Definiciones: Simbolos y Palabras de Alerta de Seguidad
Este manual de instruciones utilizes los siguientesvinculos ypalabras de alerta deseguidarparaalertarles de situacionespeligrosas y del riesgo de lesiones corporales o daños materiales.
RELIGRO: Indica una situacion de peligro inminente que, si no se evita, provocar la muerte o lesiones graves.
ADVERTENCIA: Indica una situacion de peligro potencial que, si no se evita, podria provocar la muerte o lesiones graves.
ATENCLON: Indica una situacion de peligro potencial que, si no se evita, posiblemente provocaria lesiones leves o moderadas.
Utilido sin palabras) indica un mensaje de seguridad relacionado. AVISO: Se refiere a una practica no relacionada a lesiones corporales que de no evitarse pueda resultar en danos a la propidad.
Espanol (traducido de las instrucciones originales) 14

Fig.B Fig.C


Fig. D Fig. E

English
Intended Use
Esta llave de impacto ha sido disnada para aplicaciones profesionales de ajuste y perforacion de impacto. La。,funcion de percusion hace que esta herramienta resulte particularmenteutilparaclavar susjetadores en madera, metal y hormigón.
nO utilise la herramienta en conditiones de humedad o en presencia de liquidos o gases inflamables.
nO permittedayeslosniotstoquenlaherramienta.Sieloperadorno tienexperienciaoperandoesta herramienta, suusodeberasersupervisado.
ADVERTENCIAS GENERALES DE SEGURIDAD PARA HERRAMIENTAS ELECTRICAS
ADVERTENCIA: Lea todas las advertencias de seguidad, instrucciones, ilustraciones y specifications incluidas con esta herramipta electrica. La falla en seguir todas las instrucciones
siguientes peuvent resultar en descarga electrica, incendio y/o lesiones serias.
CONSERVE TODAS LAS ADVERTENCIAS E INSTRUCCIONES PARA FUTURAS CONSULTAS.
ElTERMINO "herramienta eletrica" incluido en las advertencias.
hace referencia a las herramrientas eletricas operadas con corriente (con cable eletrico) o a las herramrientas eletricas operadas con baterias (inalambricas).
1) Seguidad en el Area de Trabajo
a) Mantenga el area de trabajo limpio y bien iluminada. Las areas abarrotadas y oscuras propician accidentes.
b) No opere las herramientos electricas en atmósferas explosivas, como ambientes sobre haya polvo, gases o liquidos inflamables. Las herramientos electricas originan chispas que pueda encender el polvo o los vapeores.
c) Mantenga alejados a los niños y a los expectadores de la herramienta electrica en funcionaimiento. Las distrractiones peuvent provocar la perdida de control.
2) Seguridad Eléctrica
a) Los enchufes de la herramienta electrica deben adaptarse al tomacorriente. Nunca modifique el enchufe de网通unaforma. No utilize ningún enchufe adaptador con Herramrientas electricas con connexion a tierra. Los enchufes no modificados y que se adaptan a los tomacorrientes reducirán el riesgo de descarga electrica.
b) Evite el contacto corporal con superficies con descargas a tierra como, por exemple, tuberias, radiadores, cocinas electricas y Refrigeradores. Existe mayor riesgo de descarga electrica si su cuerpo está(puede a tierra.
c) No exponga las herramientos electricas a la lluvia o a conditiones de humedad. Si entra agua a una herramipta electrica, aumento el riesgo de descarga electrica.
d) No maltrate el cable. Nunca utilise el cable para transporte, tirar o desenchufar la herramipta electrica. Mantenga el cable alejado del calor, el aceite, los bordes filosos y las piezas móvil. Los cables dañados o enredadosurrentan el riesgo de descarga electrica.
e) Al operar una herramiento electrica en el exterior, utilise un cable prolongador adecuado para tal uso. Utilice un cable adecuado para uso en exteriores a fin de reducir el riesgo de descarga electrica.
f) Si el uso de una herramienta electrica en un lugar humedo es imposible de evaporar, utilise un suministro protegido con un interruptor de circuito por falla a tierra (GFCI). El uso de un GFCI reduce el riesgo de descargas electricas.
3) Seguridad Personal
a) Permanezca alerta, controle lo que está haciendo y utilizes el sentido común cuando emplee una herramienta electrica. No utilizes una herramienta electrica si está cansado o bajo el efecto de drogas, alcohol o medicamentos. Un momento de descuido,msteadas se opera una herramienta electrica pueda provocarlesiones personales graves.
b) Utilice equipos de proteccion personal. Siempre utilise proteccion para los ojos. En las conditiones adecuadas, el uso de equipos de proteccion, como mascaras para polvo, calzado de seguridad antideslizante, cascos o proteccion auditiva, reducir a las lesiones personales.
c) Evite el encendido por accidente. Asegürese de que el interruptor está en la posicion de apagado antes de conectarlo a la fuente de energia o paque de baterias, o antes de levantar o transporte la herramenta. Transportar Herramentas electricas con el dedo apoyado en el interruptor o enchufar Herramentas electricas con el interruptor en la posicion de encendido可以使 propicair accidentes.
d) Retire la clavija de ajuste o la llave de tuercas antes de encender la herramienta electrica. Una llave de tuercas o una clavija de ajuste que quede connectada a una pieza giratoria de la herramienta electrica可以使 provocar lesiones personales.
e) No se estire. Conserve el equilibrio y párese adequadamente en todo momento. Esto permite un mejor control de la herramienta electrica en situaciones inesperadas.
f) Use la vestimenta adecuada. No use ropas holgadas ni joyas. Mantenga el cabello, la ropa y los quantes alejados de las piezas en movimiento. Las ropas holgadas, las joyas o el cabello largeuen que dar atrapados en las piezas en movimiento.
g) Si se suministran dispositivos para la connexion de accesorios con fines de recoleccion y extracion de polvo, asegurese de que esten connectados y que seutilicen correctamente. El uso de dispositivos de recoleccion de polvo peut reducir los peligos relacionados con el polvo.
h) No permitted that the familiaridad obtenida a partir del uso frecuente de Herramientos le permitan volverse descuidado e ignorear los principios de seguridad de la herramipta. Una'actiondescuidadapuedecausarlesiones severas enuna fracionde segundo.
4) Uso y Mantenimiento de la Herramienta Eléctrica
a) No fuerce la herramienta electrica. Utilice la herramienta electrica correcta para el trabajo que realizar. Si se le usa a la velocidad para la que fue disenada, la herramienta electrica correcta permitteeworkar mejor y deforma mas segura.
b) No utilise la herramienta electrica si no pueda encenderla o apagarla con el interruptor. Toda herramienta electrica que no pueda ser controlada mediante el interruptor es peligrosa y deben repararse.
c) Desconecte el enchufe de la fuente de alimentacion y/o retire la bateria, o paquete si es desmontable, de la herramienta electrica antes de realizarrialquier
ajuste, Cambiar accesorios o almacenar herramrientas electricas. Estas medidas de seguidad preventivas reducen el riesgo de encender la herramipta electrica en forma accidental.
d) Guarde la herramipta eletrica que no este en uso fuera del alcance de los niños y no permita que otheras personas no familiarizadas con ella o con estas instrucciones operen la herramipta. Las herramiptas eletricas son peligrosas si son operadas por sistemas no capacitados.
e) Dé mantenimiento a las herramrientas electricas y accesorios. Revise que no haya piezas en movimiento mal alineadas o trabadas, piezas rotas o cualquier other situación que pueda afectar el funcionaimiento de la herramipta electrica. Si encontrar daños, Hera reparar la herramipta electrica antes de utilizesra. Se producen muchos accidentes a causa de las herramrientas electricas carecen de unostenimiento adecuado.
f) Mantenga las herramrientas de corte aflidas y limpias. Las herramrientas de corte con mantenimiento adecuado y con los bordes de corte aflidos son menos propensas a trabarse y son más fáciles de controlar.
g) Utilice la herramienta electrica, los accesos y las brocas de la herramienta, etc. de acuerdo con estas instructaciones y teniendo en cuenta las conditiones de trabajo y el trabajo que deben realizarse. El uso de la herramienta electrica para operaciones importantes de aquellas para las que fue disnada podra Originar una situacion peligrosa.
h) Mantenga las manijas y superficies de sujecion secas, limpias y libres de aceite y-grasa. Las manijas y superficies de sujecion resbalosas no permiten el manejo control seguros de la herramienta en situaciones inesper
5) Uso y Mantenimiento de la Herramienta con Baterías
a) Recargue solamente con el cargador especialido por el fabricante. Un cargador adecuado para un tipo de paquete de baterias puede originar riesgo de incendio sutiliza con other paquete de baterias.
b) Utilice herramientos electricas solo con paquetes de baterias especialmente diseñados. El uso de cualquier(other paquete de baterías pueda producir riesgo de incen y lesiones.
c) Cuando no utilise el paquete de baterias, manténgalo lejos deOthers objectos metálicos como sujetapapeles,monedes,llaves,clavos,tornillos uothers objetos metálicos pequeños que pueda realizar una conexión desde un terminal alotro.Los cortocircuitos en los terminales de la bateria poden provocar quemaduras o incendio.
d) En conditiones abusivas, el liquido pueda ser expelled de la bateria. Evite su contacto. Sionga en contacto accidentalmente, enjuague con agua. Si el liquidoenta en contacto con los ojos, busque atencion medica. El liquido expelled de la bateria可以使 provocar irritacion o quemaduras.
e) No use un paquete de bateria o herramiente que esten danados o modificados. Las baterias danadas o modificadas peuvent presentar un comportamento impredecible que的结果在 incendios, explosión o riesgo de lesiones.
f) No exponga un paquete de batería o una herramienta a fuego o temperatura excessiva. La
a. exposión a fuego o temperatasas mayores a 130~^ C (26.4).
b.紊�能arse una explosión.
g) Siga todas las instrucciones de cargo y no cargue el paquete de bateria o la herramenta fuera del rango de temperatura asignificado en las instrucciones.
Cargar inadequamente o en una temperatura fuera del rango de temperatura especialico pueda darar la bateria e incrementar el riesgo de incendio.
6) Mantenimiento
a) Solicite a una persona calificada en reparaciones que realize el mantenimiento de su herraminta electrica y que solo utilize piezas de repuestos identicas.
Esto garantizará la seguridad de la herramienta electrica.
b) Nunca de service a paquetes de bateria dañados. El service de paquetes de bateria sólo debe ser realizado por fabricante o proveedores de service autorizados. que
- Advertencias de Seguidad para Llaves de Impacto - Todas las Operaciones
- Sostenga la herramienta electrica por las superficies de sujeccion aislladas cuando realice una operation en la que el sujetador pueda tener contacto con cableado oculto. Los accesorios de corte o susjetadores que hagan contacto con cable "vivo" peuvent tener partes de metal expuestos de la herramienta electrica "viva" y podrian dar operador una descarga electrica.
- Use protectores auditivos durante el uso. La exposión al ruido pueda causar perdida de audición.
ADVERTENCIA: Las llaves de impacto no son torquimetros. NO USE esta herramienta para apretar sujetadores a pares de apriete especialicos. Se debe usar dispositivo de medicacion de par de apriete independiente calibrado tal como un torquimetro cuando sujetadores con bajo o excesso de apriete能把an guiar a la falla de la unio
- Use gafas de seguridad u othere proteccion para los ojos. Las operaciones de martillo y perforacion可以更好causar que vuelen rebabas. Las particulas expulsadas queden causar daño permanente a los ojos.
- No opere esta herramienta por largos periodos de tiempo. La vibración causada por la做的事情 de la herramienta puede ser danina para sus manos y brazos. Use guantes para proportionscar un amortiguamente adicional y limite la exposión tomando periodos de descanso freqentes.
- Los accesos y la herramienta pueda calentarse durante la operación. Use guantes si realizará aplicaciones que generan calor.
Información de Seguidad Adicional
ADVERTENCIA: Nunca modifique la herramienta electrica o ninguna parte de ella. Podria resultar en daño o lesiones personales.
ADVERTENCIA: SIempre use gafas de seguridad. Las gafas de uso diario NO son gafas decurity. Temblo use una careta o mascara de polvo si la operation de corte produce polvo. SIempre USE EQUIPO DE SEGUI CERTIFICADO:
- Proteccion para los ojos ANSI Z87.15, (CAN/CSA Z94.3),
- Proteccion auditiva ANSI S12.6 (S3.19),
- Protección respiratoria NIOSH/OSHA/MSHA.
EsPAnOI
ADVERTENCIA: Algún polvo createo por lijado, aserrado, pulido, perforación electricos y otherasactividades de construccion contienen químicos conocidos por el Estado de California como causantes de cancer, defectos de nacimiento u other dos reproductivos. Algunos ejemplos de这些东西 químicos son:
- plomo a partir de pinturas a base de plomo,
- silice cristalino de ladrillos y cemento y otros productos de mamposteria, y
- arsenico y cromo a partir de madera tratada químicosamente. Su ríesgo a partir de estas exposiones varía,dependiendo de qué tan a dato realice este tipo de trabajo. Para reducir su exposión a这些东西 químicos: trabajo en un area bien ventilada,y trabajo con equipo de seguridad aprobado,tal como máscaras de polvo que estén disnadas asignificmente para filtrar partículas microscóicas.
- Useropa de proteccion y lave las areas expuestos con agua y jabon. Permitir que el polvo entre en su boca, ojos, o que quede sobre la piel pueda promover la absorccion de químicos peligrosos. Dirija las partículas lejos de la cara y el cuerpo.
- Use la aspiradora de extracción de polvo adecuada para retirar la mayoría de polvo estático y transporte por aire. La falla en retirar el polvo estático y transporte por aire podra contaminar el ambiente de trabajo y presentar un riesgo de salute mayor al operador y personas en las cercanías.
- Use abrazaderas u或其他omanas practicas para asegurar y soportar la pieza de trabajo a una plataforma estable. Sostener el trabajo a mano o contra su cuerpo es inestable y pueda guiar a la perdida de control y lesiones.
- Las ventilas de aire a bajo cubren las partes moviles y se deben estar. La ropa sueña, Joyeria, o caballo largo podrán estar atrapados en las partes moviles.
ATENCLON: Cuando no este en uso, coloque la herramienta en su lado sobre una superficie estable donde no cause un peligro de tropiezo o caida. Algunas herramientos con paquetes de bateria grandesuen queDar verticals sobre el paquete de bateria pero se pueen voltear fácilmente.
La etiqueta en su herramienta peute incluir los seguidentes辊olos. Los辊olos y sus definiones son los seguidentes:
V..... voltios
Hz .........hertz
min.........minutos
-
-
- ou CD....corriente directa
-
ConstruccionClase I (conectada a tierra)
.../min.....por minuto
BPM............golpes por minuto
IPM............impactospor minuto
OPM............oscilacionesspor minuto
RPM.......revolucionespor minuto
sfpm .pies de superficie por minuto
SPM............carreras por minuto A............ampères
W.....watts
Wh.....Watt Horas
Ah.. amperios hora
o CA... corriente alterna
≈ o CA/CD.... corriente alterna o directa
ConstruccioneI (aislamento doble)
n_0 .sin cargo velocidad
n .velocidad nominal
PSI....... . libras por pulgada cuadrada
terminal de tierra
A. ....simbolo de alerta de seguidad
radiaciónvisible no mirar directamente a la luz
useproteccion respiratoria
... use proteccion para los ojos
O useproteccion auditiva
... lea toda la documentacion
ENSAMBLE Y AJUSTES
ADVERTENCIA: Para reducir el riesgo de lesiones personales severas, apague launidad y retire el paquete de bateria antes de realizarrialquier ajuste o retiring/instalar conexiones o accesorios. Un arranque accidentaluedecausarlesiones.
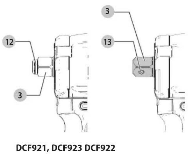
Yunque (Fig. C)
ADVERTENCIA: Utilice solo accesos de impacto. Los accesos que no sean de impacto podran romperse y provocar conditiones peligrosas. Revise el accesorio antes de uso para asegurar que noonga rajaduras.
ATENCLON: Inspeccion el yunque, las clavijas de retencion y los anillos abiortos antes de使用者. Los articulos danados o que falten deben ser sustituidos antes del uso. Coloque el interruptor en la posicion de desbloqueo (centro) o retire el paquete de pilas antes de cambiar los accesorios.
Yunque con Clavija de Detencion (Fig. C) DCF922
Para instalar un accesorio en el yunque, alinee el orificio en el lateral de la toma con la clavija de detencion 13 del yunque 3. Presione el accesorio hasta que la clavija de detencion quede introducida en el orificio. Puede ser necessario presionar la clavija de detencion para poderla instalacion del accesorio.
Paraunar accesorio, presione la clavija de detencion hasta introducirla totalmente en el orificio y tire del accesorio para sacarlo.
Yunque con Anillo Abierto (Fig. C)
DCF921, DCF923
Para instalar un accesorio en el yunque de anillo abierto, empujé firmamente el accesorio en el yunque 3. El anillo abierto 12 se comprime permitiendo que el accesorio se deslice hacía dentro. Después de instalar el accesorio, el anillo abierto ejercce presión reteniendo el accesorio.
Para extraer un accesorio, aferrelo y tire con fuerza.
Gancho para Cinturón (Fig. A)
Incluido con Algunos Modelos
ADVERTENCIA: Para reducir el riesgo de lesiones graves, SOLO use el gancho para cinturón de la herramienta para colgar la herramienta de un cinturón de trabajo. NO use el gancho para cinturón para colgar o sujetar la herramienta a una persona u的对象o durante el uso. NO suspenda la herramienta de objetivos en alta ni suspenda objetivos del gancho para cinturón.
ADVERTENCIA: Para reducir el riesgo de lesión corporal grave, verifique que el tornillo que sujeta el gancho para cinturón está ajustado.
IMPORTAnTE: Al añadir o reemplazar el gancho para cinturón, utilise solamente el tornillo que se suministra. Cerciórese de apretarfirmamenteel tornillo.
El gancho para cinturón 8 pueda ser adosado a cualquier lugar de la herramienta utilizing solamente el tornillo 9 provisto, para adaptarse a sistemas zurdos oarethchos. Si nunca va a necessitar el gancho, pueda extraerlo de la herramienta.
Para mover el gancho para cinturón al otro lado, quite el tornillo 9 que sostiene el gancho para cinturón en su lugar y vuélvalo a ensamblar en el(other lado. Asegürese de ajustar bien el tornillo.
Selector de Modo (Fig. A, B)
Su ferramenta está equipada con un selector de modo 7 que le permite selectionar una de dos velocidades, el modo Timber Screw™ o el modo Precision Wrench™. Seccione el modo en base a la velocidad/torqueolestimos y controle la velocidad de la ferramenta utilizing el interruptor de gatillo de velocidad variable 1.
Modo Timber ScrewTM (Fig. B)

El modo Timber Screw™ optimiza el desempo de la herramienta para poder a incrementar la velocidad de aplicaciones de insertion en madera como con pernos tirafondo, tornillos de cabeza cuadrada y tornillos de madera eststructural.
Modo Precision WrenchTM (Fig. B)

Además de los发展模式 de impacto normales, esta herramienta presente el modo Precision Wrench™ que otorga al usuario más control para aplicaciones de apriete como para aflojar. Cuando ajuste en avance, la herramienta aplará a 2500 RPM hasta que comience el impacto. La herramienta entones hará una pausa por 0,5segundos antes deContinuar el impacto en una velocidad de 3550 IPM,proporcionando al usuario mayor control y reduciendo la OPPUNITY de apriete excessivo o dañar el material.
Cuando se ajusta en reversa, la herramienta realizará el impacto en una velocidad normal y tasa de 3550 IPM. Al detector que el sujétador se liberó, la herramienta detendra el impacto y reducirá la velocidad para poder a prevenir el "deslizamente" de hardware sueño.
Especificaciones
| ModoAplicaciónRPM | |
| Precision Wrench™ Precision Wrench™ 0-2500 avance | 0-2500 reversa |
| Timber Screw™ Timber Screw™ 0-2500 avance | 0-2500 reversa |
| Velocidad 1 Impacto de bajo velocidad 0-1400 avance | 0-2500 reversa |
| Velocidad 2 Impacto de alta velocidad 0-2500 avance | 0-2500 reversa |
OPERACION
ADVERTENCIA: Para reducir el riesgo de lesiones personales, apague la unidad y retire el paquete de bateria antes de realizarrialquierajuste o retirar/ instalar conexiones o accesos. Una activacion de arranque accidental可以使causal lesiones.
Instalación y Desinstalación de Paquete de Bateria (Fig. D)
NOTA: Paraolestados, aseguresque su paquete de bateria estecompletamente cargado.
Para instalar el paquete de bateria 5 en la manija de la herramienta, alinee el paquete de la bateria con los rieles bajo el centro de la manija de la herramienta y deslicateo en la manija hasta que el paquete de bateria está asentado firmamente en la herramienta y asegúrese que no se desconecte.
Para retirar el paque de bateria de la herramienta, presione el boton de liberacion 4 y jale firmamente el paque de bateria fuera de la manija de la herramienta. Insertelo en el cargador.
Posión Adecuada de las Manos (Fig. E)
ADVERTENCIA: Para reducir el riesgo de lesion personal grave,onga SIempre las manos en una posicion adeuada como se muestra.
ADVERTENCIA: Para reducir el riesgo de lesión personal grave, sujete SIempre bien en caso de que haya una reacción repentina.
La posicón correcta de la mano requiere una mano en el mango principal 10.
Interruptor de Gatillo de Velocidad Variable (Fig. A)
Para encender la herramienta, apriete el interruptor tipo gatillo 1. Para apagar la herramienta, suele el interruptor de gatillo. Su herramienta está equipada con un freno. El porta brocas se detendra apenas se suele totalmente el interruptor de gatillo. El interruptor de velocidad variable permite selectionar la mejor velocidad para una aplicacion en particular. Mientras mas apiree a gatillo, masrapido operar la herramienta. Para la duracion maxima de su herramienta, use la velocidad variable solo para perforar el comienzo de orificios o para establecer el lugar de insertion de sujetadores.
NOTA: No se recomienda el uso continuo de esta herramenta en el rango de velocidad variable. Este podra做不到 el interruptor y deben evitarse.
Botón de Control de Avance y Reversa (Fig. A)
El botón de control de avance y reversa 2 determina la direccion de la herramienta y también sive como botón de bloqueo.
Para seleccionar la rotacion hacia delante, suele el interruptor de gatillo y apriete el boton de control hacia delante/hacia atras, situado en el lado derecho de la herramienta.
Para seleccionar la rotacion hacía atras, suelete el interruptor tipo gatillo y apriete el botón de control de avance y reversa, situado en el lado izquierdo de la herramienta.
La posicón del botón de control en el centro bloquea la herramienta en off. Cuando cambie la posicón del botón de control, asegúrese de soltar el gatillo.
NOTA: Es possible que oiga un click al起初 la operation la prima vez que utilise la herramienta antes de partir la direccion de rotacion. Esto es normal y no representa ningún problema.
Luz de Trabajo (Fig. A, B)
La luz de trabajo 6 se activa cuando el gatillo de velocidad variable 1 es的优势. Presionar el interruptor de luz de trabajo 11 repetidamente cambiará a工程技术 de iluminación baja, iluminación alta y apagado.
NOTA: La luz de trabajo es para iluminar la superficie de trabajo inmediata y no se pretende que se use como una interna.
Uso (Fig. A)
ATENCLON: Aseguese que el sujetador y/o el systematoleraran el nivel de par de apriete generado por la
ESPANOL
herramienta. Un par de apriete excessivo podra causar rompimiento y posibles lesiones corporales.
- Coloque el accesorio en la cabeza del sujetador. Mantenga la herramienta apuntada directamente al sujetador.
- Presione el interruptor 1 para inicia la operation. Suelte el interruptor para detener la operation. Siempre revise el par torsor con una llave de ajuste dinamometrica ya que el par de ajuste es afectado por muchos factores, incluyendo los siguientes:
- Voltaje: El bajo voltaje por una batería o pila casi Completely descargada reducirá el par de ajuste.
- Tamanodel accesorio: El no utilizes el tamanode accesorio correcto causara una reduccion en el par de ajuste.
- Tamanó del perno: Los diametros mayores de pernos generalmente requiren un mayor par de ajuste. El par de ajuste también varía de acuerdo a largo, grado y coeficiente de par de apriete.
- Perno: Asegürese que todos los hilos estén libres de oxido y otros desechos para permitir un par de ajuste apropiado.
- Material: El tipo de material y acabado de la superficie del material afectará el par de ajuste.
- Tiempo de ajuste: Un tiempo mayor de ajuste aumento el par de ajuste. Un tiempo de ajuste mayor al recommendado podraponerdemasiada tension sobre los sutetadores o hacer que se ruedo o danen.
Especificaciones
| Torque de apriete max. 300 pie-lbs, 406 Nm (Velocidad 2, Timber Screw™, Precision Wrench™) 150 pie-lbs, 203 Nm (Velocidad 1) |
| Torque de ruptura max. 450 pie-lbs, 610 Nm (todos los modos) |
| Velocidad sinarga 0-2500 rpm |
| Impactos por minuto 0-3550 ipm |
| Longitud 126 mm (4,95") |
| Peso 1,1 kg (2,47 lbs) |
MANTENIMIENTO
ADVERTENCIA: Para reducir el riesgo de lesiones personales serias, apague la unidad y retire el paquete de bateria antes de realizarrialquierajuste o retirar/ instalar conexiones o accesorios o antes de la limpieza.
Un arranque accidental puede causar lesiones. Su DEWALT ha sido disnada para funciona durante un长大o periodo de tiempo con un minimum de mantenimiento. La operation satisfactoria continua depende del cuidado adecuado de la herramienta y la limpieza regular.
Limpieza
ADVERTENCIA: Sople lalicted y el polvo de todos los conductos de ventilacion con aire seco, al menos una vez pormana. Para reducir el riesgo de lesiones, utilise siempre proteccion para los ojos aprobada ANSI Z87.1 al realizar estaarea.
ADVERTENCIA: Nunca utilise solventes ni altri químicos abrasivos para limiar las piezas no metálicas de la herramienta. Estos produits químicos peuvent debiliar los materiales plácicos realizados en estas piezas. Utilice un paño humedecido solo con agua y jabón neutro. Nunca permita que penete liquido bajo de la herramienta nisumerja ninguna de las piezas en un liquido.
Accesorios
ADVERTENCIA: Ya que los accesos, differs a los ofrecidos por DEWALT, no han sido probados con este producto, el uso de tales accesos con esta herramienta podra ser peligioso. Para reducir el riesgo de lesiones, solo se deben usar accesos recomendados por DEWALT con este producto.
Los accesos recommendados para uso con su herr模板 está disponible por un costo adicional a partir de su distribuidor local o centro de service autorizzato. Si necesita asistencia para localizar cualquier accesorio,pongase en contacto con DEWALT. Llame al 1-800-4-DEWALT (1-800-433-9258) o visite nuestro situ web: www.dewalt.com.
Accesorios de Impacto
ADVERTENCIA: Utilice solamente accesos de impacto. Los accesos sin impacto peuvent romperse y causar una situacion peligrosa. Inspeccione los accesos antes de utiliserlos para asegurarde que no contengan rajas.
Reparaciones
El cargador y las unidades de bateria no peuvent ser reparados. El cargador y la unidad de bateria no contienen piezas reparables.
ADVERTENCIA: Para asegurar la SEGURIDAD y la CONFIABILIDAD del producto, las reparaciones, el mantenimiento y los ajustes (inclusive la inspections y el cambio de las escalillas, cuando proceda) deben ser realizados en un centro de mantenimiento en la fabrica DEWALT u en un centro de mantenimiento autorizzato DEWALT. Utilice siempre piezas de repuesto identicas.
Para reparación y servicios de sus herramrientas electricas, favor de dirigirse al Centro de Servicio más cercano
CULIACAN, SIN
Blvd. Emiliano Zapata 5400-1 Poniente Col. (667) 717 89 99 San Rafael
GUADALAJARA, JAL
Av. La Paz #1779 - Col. Americana Sector (33) 3825 6978 Juarez
MEXICO, D.F.
Eje Central Lázaro Cardenas No. 18 - Local (55) 5588 9377 D, Col. Obrera
MERIDA, YUC
Calle 63 #459-A-Col.Centro (999) 928 5038
MONTERREY, N.L.
Av. Francisco I. Madero 831 Poniente - Col. (818) 375 23 13 Centro
PUEBLA, PUE
17 Norte #205 - Col. Centro (222) 246 3714
QUERETARO, QRO
Av. San Roque 274 - Col. San Gregorio (442) 217 63 14
SAN LUIS POTOSI, SLP
Av. Universidad 1525 - Col. San Luis (444) 814 2383
TORREON, COAH
Blvd. Independencia, 96 Pte. - Col. Centro (871) 716 5265
VERACRUZ,VER
Prolongacion Diaz Miron #4280-Col. Remes (229) 921 7016
VILLAHERMOSA, TAB
Constitución 516-A-Col. Centro (993)312 5111
PARA OTRAS LOCALIDADES:
Si se encuesta en Mexico, por favor llame
al (55) 5326 7100
Si se encuesta en U.S., por favor Ilame al
1-800-4-DEWALT (1-800-433-9258) o visite{nuestro
sitio web: www.dewalt.com
Póliza de Garantía
IDENTIFICACION DEL PRODUCTO:
Sello o firma del Distribuidor.
Nombre del produit:
Mod./Cat.:
Marca:
Ném. de série:
(Datos para ser llenados por el distribuidor)
Fecha de compray/o entrega del producto:
Nombre y domicile del distribuidor donte se adquirido el producto:
Este producto está garantizo por un año a partir de la Fecha de entrega, contra cualquier defecto en su configuracion, asi como en materiales y manos de obr empleados para su fabricacion. Nuestra garantia incluye la reparacion o reposacion del producto y/o componentes sin cargo algo nuo para el cliente, incluyendo manos de obr, asi como los gastos de transporte razonablemente erogados derivados del complimiento de este certificado. Para hacer efectiva esta garantia deben estar sus Herramienta y esta póliza sellada por el establishimiento commercialonde se adquirido el producto, de no contear con esta,bastar la factura de compra.
Exceptiones
Esta garantía no sera valida en los siguientes casos:
- Cuando el producto se hubiese utilisé en conditiones distinctas a las normales;
- Cuando el producto no hubiese sido operado de acuerdo con el instructivo de uso que se accompanies;
- Cuando el producto hubiese sido alterado o reparado por personas distinctas a las enlistadas al final de este certificado.
Anexo encontrará una relacion de sucur Sales de service de fabrica,centros de service autorizados y franquiciados en la Republica Mexicana,onde podra hacer efectiva su garantia y adquirir partes, refactiones y accesorios originales.
Importado por: DEWALT S.A de C.V.
Antonio Dovali Jaime #70 Torre C Piso 8
Gracias por su compra. Registre su producto ahora para:
- SERVICIO EN GARANTÍA: Si Completea esta tarjeta, pode Obtener un serviceo en garantía más eficiente, en caso de que existe un problema con su producto.
- CONFIRMACION DE PROPIEDAD: En caso de una perdida que cubra el seguro, como un incendio, una inundacion o un robo, el registrar de propidad servira como comprobante de compra.
- PARA SU SEGURIDAD: Si registra el producto, podremos comunicamos con usted en el caso improbable que se deba enviar una Notification de seguridad conforme a la Federal Consumer Safety Act (Ley Federal de Seguidad de Productos para el Consumidor).
Registrar en linea en www.dewalt.com/account-login.
Garantía Limitada de Tres Años
Para los关键时刻 de garantía, visite www.dewalt.com/support/warranty.
Para solicitar una copa escrita de los tiérinos de garantía,pongase en contacto con: Servicio al Nombre en DEWALT Industrial Tool Co., 701 East Joppa Road, Towson, MD 21286 o Ilame al 1-800-4-DEWALT (1-800-433-9258).
AMÉRICA LATINA:Esta garantía no aplica a produits vendidos en América Latina. Para produits vendidos en América Latina, consulte la información de garantía española contentada en el empaque, llama a la compañero local o consulte la頁ina de Internet respecto a la información de garantía.
REEMPLAZO GratisITO DE ETIQUETA DE ADVERTENCIA:
Si sus etiquetas de advertencia se vuelven ilegibles o faltan, Ilame al 1-800-4-DEWALT (1-800-433-9258) para reemplazo Gratis.
Compatible battery packs and chargers / Blocs-piles et chargeurs compatibles / Baterías y cargadores compatibles
| Battery Packs Blocs-piles Baterías | DCB201, DCB203, DCB203G, DCB204, DCB204BT, DCB205, DCB205G, DCB205BT, DCB206, DCB208, DCB210, DCB230, DCB240, DCBP034, DCBP520, DCB606, DCB609, DCB609G, DCB612, DCB615 |
| Chargers Chargeurs Cargadores | DCB094, DCB102, DCB103, DCB104, DCB107, DCB112, DCB113, DCB115, DCB118, DCB132, DCB1102, DCB1104, DCB1106, DCB1112 |
WARNING: Use of any other battery packs may create a risk of injury and fire.
A VERTISSEMENT :utiliser d'autres blocs-piles peut creer un risque de blessure ou d'incendie.
ADVERTENCIA: El uso de cualquier other paquete de batería pueda create un riesgo de lesiones e incendio.
NOTE: DO NOT charge when the battery pack is below 40^ F (4.5^) or above 104^ F (40^) . Do not store or use the tool and battery pack in locations where the temperature may reach or exceed 104^ F (40^) .
ManualFacil