F 379 - Calefacción Jøtul - Manual de uso y guía de instrucciones gratis
Encuentra gratis el manual del aparato F 379 Jøtul en formato PDF.
Preguntas de los usuarios sobre F 379 Jøtul
0 pregunta sobre este aparato. Responde a las que conoces o haz la tuya.
Hacer una nueva pregunta sobre este aparato
Descarga las instrucciones para tu Calefacción en formato PDF gratis! Encuentra tus instrucciones F 379 - Jøtul y toma tu dispositivo electrónico nuevamente en la mano. En esta página están publicados todos los documentos necesarios para el uso de su dispositivo. F 379 de la marca Jøtul.
MANUAL DE USUARIO F 379 Jøtul
ES - Instrucciones para instalación y mantenimiento 42
1.0 Relación con las autoridades .....42
2.0 Información técnica ......42
3.0 Seguridad 43
4.0 Instalación 48
5.0 Uso diario 58
6.0 Mantenimiento .....58
7.0 Conservación ....59
8.0 Problemas de funcionamiento : solución de problemas ......60
9.0 Equipo opcional 61
10.0 Garantía....61
Todos nuestros productos disponen de una etiqueta que indica su número de serie y año. Escriba este número en el lugar indicado para ello en las instrucciones de instalación.
Indique siempre este número cuando se ponga en contacto con su distribuidor o con Jøtul.
Serial no.
1.0 Relación con las autoridades
La instalación de una estufa debe efectuarse con arreglo a la normativa legal de cada país. La instalación del producto debe cumplir toda la normativa local en vigor, incluyendo la que se aplica a nivel nacional y europeo.
La instalación sólo puede utilizarse una vez que haya sido revisada por un inspector cualificado.
Una placa de identificación del material resistente al calor está fijada en el producto. La placa contiene información de identificación y documentación del producto.
2.0 Información técnica
| Material: | Hierro fundido |
| Acabado: | Esmalte negro o gris |
| Combustible: | Madera |
| Longitud máxima de los troncos: | 30 cm |
| Salida del tubo de humos: | Superior, posterior |
| Dimensión del tubo de humos: | 150 mm/min.177cmsección transversal |
Peso con:
- con base de hierro fundido: Aprox. 163 kg
- con pedestal de hierro fundido: Aprox. 156 kg
- con pie de hierro fundido: Aprox. 154 kg
- con base de hierro fundido con puerta de cristal: Aprox. 165 kg
- con base de cristal: Aprox. 158 kg
- Jøtul F 377 con saponita: aprox. 220 kg
- Jøtul F 377 HT con saponita: aprox. 270 kg
- Jøtul F 377 con sistema de almacenaje de calor y saponita: aprox. 330 kg
- con tres patas: Aprox. 149 kg Suplementos opcionales: Placas de decoración - juncos/ cubierta para las ventanas laterales, decoración de estealita, decoración de cristal - superior, laterales y delantero, conjunto giratorio (Jøtul F 373), leñera, puerta de hierro fundido para base (Jøtul F 371), High Top, Jøtul F 377 saponita, Jøtul F 377 HT saponita, kit convección, sistema de almacenaje de calor.
Dimensiones, distancias: Vea la figura 1
Información técnica conforme a EN 13240:
Producción térmica nominal: 5,5 kW
Flujo másico de los gases
de combustión: 5,9 g/s
Tiro de chimenea recomendado: 12 Pa
Rendimiento: 73%@5,8kW
Emisión de CO (13% O): 0,12%
Temperatura de los gãses
de combustión: 330°C
Tipo de funcionamiento: Intermitente*
*La combustión intermitente, en este contexto, se refiere al uso normal de la estufa, es decir, el combustible se añade a medida que se ha consumido a un número de brasas adecuado.
Suministro de aire externo
Con la F 370 es posible aspirar aire externo directamente en el producto a través de la base/pedestal, o bien a través de un tubo flexible de suministro desde el exterior/chimenea* y hacia la salida del producto.
* Esto sólo es aplicable si la chimenea dispone de su propio tubo para aire externo.
A través de una pared exterior

A través de la placa de piso y el suelo

A través del suelo y el zócalo

Indirectamente a través de una pared exterior

N. B.: para garantizar un rendimiento y seguridad óptimos, las estufas Jøtul deben ser instaladas por un instalador cualificado.
Cualquier modificación del producto por parte del distribuidor, instalador o usuario puede motivar que el producto y sus prestaciones de seguridad no funcionen del modo previsto. Esto también se aplica a la instalación de accesorios o extras opcionales suministrados por terceros. Lo mismo puede suceder si se desmontan o retiran componentes esenciales para el funcionamiento y la seguridad de la estufa.
En cualquier caso, el fabricante no se hará responsable del producto y el derecho a realizar una reclamación quedará anulado y sin validez.
3.1 Medidas de prevención de incendios
Existe un cierto elemento de riesgo cada vez que se usa la estufa. Por lo tanto, deben respetarse las siguientes instrucciones:
- Las distancias mínimas de seguridad al utilizar la estufa se muestran en la fig. 1.
- Asegúrese de que no haya muebles ni otros elementos inflamables demasiado cerca de la estufa. Los elementos inflamables no deberían estar a menos de 1000 mm de la estufa.
- Deje que el fuego se consuma por sí solo. Nunca apague las llamas con agua.
- La estufa se calienta cuando está encendida y puede causar quemaduras si se toca.
- Saque las cenizas solo con la estufa fría. Las cenizas pueden contener rescoldos calientes y, por lo tanto, deberán ponerse en un recipiente no inflamable.
- Las cenizas deberán sacarse al exterior o vaciarse en un lugar donde no supongan un riesgo de incendio.
Si se produce un incendio en la chimenea
• Cierre todas las trampillas y los respiraderos.
• Cierre la puerta de la estufa.
- Compruebe si hay humo en el sótano y en la buhardilla.
- Llame a los bomberos.
- Después de producirse un incendio, un experto deberá comprobar la estufa y la chimenea antes de utilizarse para asegurar que funciona correctamente.
Jøtul F 370
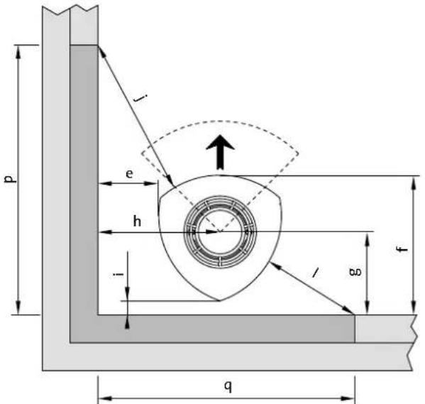
Distancias minimas a paredes hechas de material combustible, fig. 1a
| Configuración | Distancias | a | b | c | d | e | f | g | h | i |
| Modelo básico | 440 | 1125 | 920 | 650 | 480 | 612 | 407 | 701 | 160 | |
| Con placas de decoración, cubierta para las ventanas laterales | 340 | 982 | 777 | 550 | 380 | 612 | 407 | 601 | 160 | |
| Con chimenea de acero, semi-aislada | 440 | 1125 | 920 | 650 | 480 | 552 | 347 | 701 | 100 | |
| Con decoración de cristal, laterales | 190 | 771 | 566 | 400 | 280 | 558 | 353 | 501 | * 160 | |
| Jøtul F 370 C (producto con kit de convección, cristal laterales y chimenea semi-aislada) | 150 742 | 537 380 400 | 524 319 641 50 | |||||||
| Jøtul F 377 (producto con piedra esteatita – laterales y superior) | 250 915 | 710 502 400 | 539 334 647 | 50 | ||||||
* Si utiliza chimeneas semi-aislada la distancia será 100 mm.
Fig. 1a
Jøtul F 371 / F 373 / F 374 / F 375 / F 376 / F 377 / F 379 / F 370 C
Distancia mínima a una pared de material combustible:
véase el cuadro anterior
Distance a la pared de material combustible
con pedestal giratorio: véase el cuadro anterior

text_image
1025
text_image
740 1150 410

text_image
a b c d 9Jøtul F 371, F 374, F 375, F 376, F 377, F 379
Modelo básico:
Orificios en el piso para aire externo
∅100 mm conexión
2017年1月1日
Orificios en el piso para aire externo
∅100 mm conexión
Jøtul F 373
[Non-Text]

text_image
Modelo básico: 66 442 181 205 452 221
text_image
Jøtul F 370 C: 88 482 181 205 474 241
text_image
Jøtul F 377: 100 494 181 205 489 247Dimensiones mínimas de la placa de piso X/Y = De conformidad con las leyes y reglamentos nacionales.

Jøtul F 370
Distancias minimas a una pared de material combustible protegida con cortafuegos, fig. 1b
| Configuración\Distancias | a | b | c | d | e | f | g | h | i | j | k | l | m | n | o | p | q | sr | t | |
| Modelo básico | 100 | 643 | 438 | 310 | 200 | 492 | 287 | 421 | 40 | 550 | 480 | 440 | 735 | 799 | 773 | 934 | 999 | 962 | 756 | 1156 |
| Con placas de decoración,cubierta para las ventanas laterales | 100 | 643 | 438 | 310 | 200 | 492 | 287 | 421 | 40 | 550 | 380 | 340 | 735 | 669 | 659 | 934 | 884 | 841 | 556 | 930 |
| Jøtul F372, F 375, F 376, F 379 con suministrode aire a través de una pared exterior | 100 | 643 438 | 310 | 200 | 552 347 | 421 | 100 | 550 | -- 795 -- 994 ---- | |||||||||||
| Modelos C (producto con kit deconvección y chimenea semi-aislada) | 100 | 671 466 | 330 200 | 524 | 319 | 441 | 50 | 550 | 400 | 200 | 888 | - | 807 | 956 | - | 897 | - | - | ||
| Jøtul F 377 (producto con piedraesteatita – laterales y superior) | 100 | 703 498 | 354 200 | 539 | 334 | 447 | 50 550 | 400 | 250 | 892 | - | 885 | 961 | - | 960 | - | - | |||
Fig. 1C
Jøtul F 375, F 376 og F 379 : Distancia minima con suministro de aire a través de una pared exterior

text_image
min 100 min 347 min 100Fig. 1b
| Jótul F 371/ F 373/ F 374/ F375/ F 376/ F377/ F 379/ F370 C | Distancia mínima a una pared de material combustible protegida con cortafuegos: véase el cuadro anterior. | ||
| Externo | Pared de material combustible | ||
| Muro cortafuegos | |||
![]() | ![]() | ![]() | |
| Integrado | |||
![]() | ![]() | ![]() | |
ESPAÑOL
3.2 Suelo
Anclaje, base
Debe verificar que la base se adecue a la instalación de una estufa. Compruebe el peso especificado en «2.0 Especificaciones técnicas».
Se recomienda retirar el revestimiento del suelo que no vaya fijado a la superficie correspondiente («suelos flotantes»).
Protección de suelos de madera
La Jøtul F 370 Series (excepto Jøtul F 374) dispone de una pantalla térmica en la parte inferior que protege el suelo de la radiación. El producto dispone de protector de suelo integrado de forma que se puede colocar directamente sobre un suelo de madera.
El suelo de material combustible, como linóleo, moqueta, etc., debe retirarse de debajo de la placa del suelo.
Requisitos de protección del suelo combustible de delante de la estufa
La placa frontal debe cumplir la normativa legal nacional.
Póngase en contacto con el organismo local regulador de la construcción para informarse sobre las restricciones y los requisitos de la instalación.
3.3 Paredes
Distancia a paredes de material combustible
La estufa puede usarse con un tubo de humos sin aislamiento respetando las distancias con la pared de material inflamable indicadas en la figura 1.
3.4 Techo
Entre la estufa y el techo combustible debe mediar una distancia mínima de 1.000 mm.
4.0 Instalación
Nota: antes de comenzar la instalación, compruebe que la estufa no presenta daños.
La estufa pesa mucho, por lo que necesitará ayuda para levantarla e instalarla.
4.1 Para la instalación
- El producto estándar se suministra en dos paquetes. Uno contiene la propia estufa y el otro una base opcional de hierro fundido/hormigón/cristal o pedestal de hierro fundido.
- Cuando se desembala el producto, se retiran los quemadores, la placa deflectora, el deflector de escape, la placa base, la bandeja de ceniza y la parrilla de cribado. También se deben retirar los pequeños quemadores laterales y la junta del conducto de humos que se encuentran en la bandeja de ceniza.
Fig. 3

text_image
A B C- Retire la placa superior con la rejilla superior (fig. 3 A) y la cazoleta (fig. 3 B).
- Compruebe que los mandos de regulación funcionan (fig. 29 A, B y C).
- Si se utiliza la salida posterior del conducto de humos, taladre orificios (fig. 5 A) en las cubiertas extraíbles para el conducto de humos antes de retirarlas.
- Coloque el bloque de madera (fig. 5 B) que mantiene los deflectores de escape en su sitio, de forma que las placas laterales queden apoyadas cuando se retiren las cubiertas.
- Extienda el embalaje de cartón en el suelo. Coloque la estufa cuidadosamente sobre un lado.
Fig. 4

text_image
Front B A B A C D E- Si desea utilizar el juego decorativo de cristal (suplemento opcional), deberá quitar los 4 tornillos de cabeza ahuecada de la parte inferior (fig. 4 B) mediante la llave que se incluye con el juego decorativo.
4.2 Montaje
Jøtul F 371 - la base de hierro fundido
Nota: si el tubo flexible se va a conectar a través de un orificio practicado en el suelo, no será necesario retirar las cubiertas extraíbles.
Fig. 5

text_image
A B C- Si el tubo flexible de 100 mm de diámetro que suministra aire externo se va a conectar al respiradero de aire externo (fig. 4 C) debajo de la cámara de combustión, taladre un orificio (fig. 5 C) en las cubiertas extraíbles antes de retirarlas. Nota: Asegúrese de que la placa posterior de la base (fig. 6 A) esté colocada cuando vaya a taladrar las cubiertas.
ESPAÑOL
Fig. 6

- Retire la rejilla y la placa posterior de la base (fig. 6 A). Asegúrese de que el asa del respiradero de aire externo (fig. 4 D) esta en la posición delantera.
- Monte la base con la cámara de combustión del producto mediante los 4 tornillos (M8x30 mm) de la bolsa (fig. 4 A).
- Solicite ayuda a otra persona para levantar el producto cuidadosamente.
Fig. 7

text_image
A B C C C C- Ajuste el producto mediante los4 tornillos de ajuste (consulte la fig.7 C).
- Introduzca el tubo flexible por el orificio y fijelo a la salida con un clip. Nota: asegúrese de que el tubo es suficientemente largo para evitar tener que hacer empalmes.
- El área de la base debe protegerse de la radiación térmica del producto mediante la pantalla térmica suministrada (fig. 7A). Asegúrela con los 2 tornillos como se muestra en la fig. 7B.
- Vuelva a montar la rejilla y la placa posterior de la base.
¡Importante! Si es necesario montar el conjunto giratorio, deberá hacerse antes de asegurar el pedestal al hogar. Consulte las instrucciones de montaje suministradas con el conjunto giratorio.
Fig. 11

- Ajuste el producto mediante los 3 tornillos de ajuste (fig. 11 A).
- Monte la columna en la placa inferior del hogar mediante los 4 tornillos (fig. 4 A).
- Si se va a utilizar el suministro de aire externo a través del respiradero de aire externo, el tubo flexible de 100 mm de diámetro se conecta ahora al respiradero del producto (fig. 4 C).
- Empuje el asa del respiradero de aire externo hasta la posición delantera (fig. 4 D).
- Sujete el tubo al respiradero de aire externo mediante un clip. Nota: asegúrese de que el tubo es suficientemente largo para evitar tener que hacer empalmes.
- Si se va a suministrar aire externo a través del suelo, coloque la junta de la columna en la parte inferior de la columna, en la abertura. Introduzca el tubo flexible por la junta (fig. 11 B) desde la parte inferior de la columna. Nota! El agujero coincide con el centro del pedestal.
- Empuje el asa del respiradero de aire externo hasta la posición posterior (consulte la fig. 4E).
- Solicite ayuda a otra persona para levantar el producto cuidadosamente y colóquelo justo encima del suministro de aire externo.
¡Importante! Si el aire externo no va a pasar por el pedestal, compruebe que el asa del respiradero de aire externo se encuentra en la posición delantera.
Jøtul F 374 - Pie de hierro fundido
Si se utiliza aire externo suministrado por el respiradero de aire externo, conecte un tubo flexible, de ∅ 100 mm, al respiradero de aire externo(fig. 4 C) del producto.
Instalación con aire externo
- Empuje la palanca del respiradero de aire externo hacia adelante (fig. 4D).
- Sujete el tubo flexible al respiradero de aire externo con una abrazadera. ¡Atención! Asegúrese de que el tubo sea de longitud suficiente para no tener que hacer empalmes.
Fig. 12

- Desplace el pie de hierro fundido hacia la cámara de combustión a medida que pase el tubo de aire externo por el pie y, si es necesario, por la abertura que tiene en la parte trasera (fig. 12).
Fig. 13

- Fije la base a la cámara de combustión con los 4 tornillos (M8 x 30 mm) que encontrará en la bolsa de tornillos (fig. 13 A).
- Con ayuda de otra persona, levante cuidadosamente el producto y colóquelo en la posición correcta sobre el suministro de aire externo.
ESPAÑOL
Fig. 14

- Si es necesario, ajuste la altura del producto con los tornillos de ajuste que hay debajo del pie (fig. 14 A).
Fig. 15

- Vuelva a colocar la tapa del suministro de aire externo (fig. 15 A).
Instalación sin aire externo
- Fije la base a la cámara de combustión con los 4 tornillos (M8 x 30 mm) que encontrará en la bolsa de tornillos (fig. 13 A).
- Con ayuda de otra persona, levante cuidadosamente el producto y colóquelo en la posición correcta sobre el suministro de aire externo.
- Si es necesario, ajuste la altura del producto con los tornillos de ajuste que hay debajo del pie (fig. 14 A).
- Vuelva a colocar la tapa (fig. 15 A).
Jøtul F 375 - Base de hierro fundido con puerta de cristal
- Monte la base de hierro fundido como se indica en el apartado Jøtul F 371 - base de hierro fundido.
Fig. 16

- Fije la bisagra de la puerta de cristal a la base con los tornillos M6 x 20 mm que encontrará en la bolsa de tornillos para la puerta (fig. 16 A).
- Inserte el muelle entre los orificios roscados y la bisagra antes de apretar los tornillos (fig. 16 B).
Fig. 17

text_image
A C B- Atornille bien el otro extremo del muelle en posición (fig.17 A).
- Fije el regulador de tiro de la puerta por la parte interior de la puerta, en la esquina inferior derecha (fig. 17 B).
¡Atención! La distancia entre la puerta y la base debe ser uniforme para que la puerta cuelgue recta. Si es necesario, ajuste la puerta apretando o aflojando los dos tornillos (fig. 17 C).
Jøtul F 376 - Base de cristal
Nota: si conecta el manguito flexible a través de un agujero en el piso, no retire las placas de cubierta desmontables (Fig. 18 A).
Fig. 18

text_image
A B C D- Afloje los tornillos sujetando los clips de la mirilla superior a cada lado (Figs. 18 B y C). Compruebe que la palanca del respiradero de aire externo esté en la posición hacia delante (Fig. 4 D).
- Si conecta un manguito flexible ( 100 mm) para el suministro de aire externo al respiradero/toma de aire externo(Fig. 4 C) bajo la cámara de combustión, practique primero un orificio (Fig. 18 A) en las placas de cubierta desmontables antes de retirarlas.
Nota: mantenga la placa trasera de la base (Fig. 18 D) en su lugar al retirar las placas de cubierta.
3 Retire la placa trasera (Fig. 18 D) de la base.
Fig. 19

text_image
A B B- Coloque la base en la posición correcta sobre la placa del piso (si procede). Nivele el producto mediante los cuatro tornillos de ajuste (Fig. 19 A).
-
Fije la base a la cámara de combustión con los 4 tornillos (M8 x 30 mm) que encontrará en la bolsa de tornillos (Fig. 19 B).
-
Eleve cuidadosamente el producto con la ayuda de otra persona.
- Ajuste la mirilla con los tornillos en caso necesario, como se indica en la Fig. 17 C. La distancia entre la puerta y la base debe ser uniforme para que la puerta cuelgue recta.
Fig. 20

- Instale los paneles laterales de cristal colocándolos en los clips inferiores (Fig. 20 A). Levante los clips superiores y apriételos contra el cristal lateral. Asegúrese de que el espacio sea uniforme entre el cristal y la placa lateral tanto delante como detrás. Apriete el tornillo delantero para el cristal lateral (Fig. 18 B). Debe aflojarse el tornillo trasero (Fig. 18 C) lo suficiente como para que pueda levantarse el clip del cristal sin retirar el tornillo (esto facilita después la sustitución del cristal).
- Pase el manguito flexible (si procede) a través del orificio en el piso o por detrás de la base (Fig. 18 A) y sujételo a la salida con una abrazadera.
Nota: compruebe que el manguito sea lo bastante largo como para que no sea necesario empalmarlo.
- Vuelva a colocar la placa trasera (Fig. 18 D).
- El área de la base debe protegerse de la radiación térmica del producto mediante la pantalla térmica suministrada (fig. 7A). Asegúrela con los 2 tornillos como se muestra en la fig. 7B.
Jøtul F 377 – con saponita
Consulte las instrucciones de instalación separadas (n.º cat. 10043560).
ESPAÑOL
Jøtul F 379 – con tres patas
Nota: si el tubo flexible se va a conectar a través de un orificio practicado en el suelo, no es necesario quitar las chapas de cierre desmontables (fig. 21 A).
Fig. 21

- Si conecta un tubo flexible (∅ 100 mm) de entrada de aire exterior al respiradero de aire exterior (Fig. 4 C) bajo la cámara de combustión, practique un orificio (Fig. 21 A) en las chapas de cierre desmontables antes de retirarlas. Nota: ponga las piezas sobre una superficie adecuada antes de retirar las chapas de cierre.
Fig. 22

text_image
Fig. 22 F D G C A B G F-
La pantalla térmica incluida se debe usar para proteger la base del calor que irradia el producto (Fig. 22 A). Sujétela con un tornillo (Fig. 22 B).
-
Monte el soporte acodado (Fig. 22 C) con un tornillo (Fig. 22 D), sin apretarlo demasiado.
-
Fije la base a la cámara de combustión con los 4 tornillos (M8 x 30 mm) que encontrará en la bolsa de tornillos (Fig. 4A).
-
Atornille las patas juntas al borde trasero con 2 tornillos que encontrará en la bolsa de tornillos (Fig. 22 E).
-
Fije los dos extremos del soporte acodado (Fig. 22 C) con un tornillo (Fig. 22 F) y una tuerca.
-
Con ayuda de otra persona, levante con cuidado el producto.
-
Nivele el producto con los 4 tornillos de ajuste (Fig. 22 G).
-
Si las patas no están bien alineadas, afloje los tornillos (Fig. 22 F) de ambos extremos. Ajuste las patas y vuelva a apretar los tornillos.
-
Apretar el tornillo (Fig. 22 D).
-
Pase el tubo flexible por el orificio y sujételo a la salida con una abrazadera. Nota: asegúrese de que el tubo flexible sea suficientemente largo para no tener que hacer empalmes.
Fig. 23

- Monte la tapa (Fig. 23 A). Asegúrese de que la contera (saliente) B quede hacia abajo.
4.3 Chimeneas y tubos de humos
- La estufa se puede conectar a una chimenea y a un tubo de humos aprobados para estufas de combustibles sólidos con las temperaturas de los gases de combustión que se detallan en la sección «2.0 Información técnica».
- La sección transversal de la chimenea debe ser al menos tan grande como la del tubo de humos. Para ver la sección transversal adecuada de la chimenea, consulte la sección «2.0 Información técnica».
- Si la sección transversal de la chimenea es suficientemente grande, se pueden conectar varias estufas de combustibles sólidos a la chimenea.
- La conexión a la chimenea debe realizarse de acuerdo con las instrucciones de instalación del proveedor de la chimenea.
- Antes de hacer el orificio en la chimenea, se debe efectuar una instalación de prueba de la estufa para marcar correctamente la posición de ésta y del orificio. Para ver las dimensiones mínimas, consulte la figura 1.
- Compruebe que el tubo de humos alcanza la chimenea.
- Utilice un codo de tubo de humos con una trampilla de deshollinado que permita deshollinar el tubo.
Es particularmente importante que los empalmes tengan cierta flexibilidad para evitar que la instalación se mueva y se produzcan fisuras.
El tiro de la chimenea; consulte también «2.0 Información técnica».
Si el tiro es demasiado fuerte, puede instalar y utilizar un regulador de salida de humos para controlarlo.
Montaje de la salida de humos con la salida superior
El producto se entrega de fábrica con la salida de humos instalada para la salida superior.
- Coloque la placa superior (fig.3 C) sobre el producto.
- Solicite ayuda a otra persona para levantar la parrilla superior (fig. 3 A) y sujetarla mientras se fija la salida de humos.
- Pase el tubo de humos por la parrilla de la placa superior y colóquelo sobre la salida de humos de la salida superior.
- Apriételo bien con la junta.
Montaje de la salida de humos con la salida trasera
El producto se entrega de fábrica con la salida de humos instalada para la salida superior. Si desea utilizar una salida trasera, realice el procedimiento siguiente:
- Coloque el producto en la posición correcta (consulte la fig. 1).
Fig. 24

- Cuando se cambia a la salida trasera, la salida de humos se desenrosca de la salida superior (fig. 24 B).
- Desenrosque la cubierta de la salida trasera desde el interior de la cámara de combustión (fig. 24 A).
Fig. 25

- Coloque la junta en el extremo del conducto de humos (fig. 25 A).
- Monte la salida de humos (fig. 25 B) en el extremo del conducto de humos que está equipado con la junta.
- Monte el conducto de humos y la salida de humos desde el interior de la cámara de combustión y fije la salida de humos con los tornillos M8 de 30 mm. Nota: Si la tubería de humos es mayor de 350 mm, se deberá conectar en la salida de humos desde el exterior del producto.
- Fije la cubierta a la salida superior (fig. 24) mediante los tornillos que sujetan la salida de humos.
Nota: es importante que las juntas/tubos de humos estén correctamente sellados. Las fugas de aire pueden impedir que el tubo de humos funcione correctamente.
4.4 Montaje del producto
Fig. 26

- Coloque la placa deflectora con la barra en la ranura sobre los rebordes (fig. 26 A).
- Pase la placa base por la abertura y colóquela en la parte inferior.
ESPAÑOL
Fig. 27

- Coloque la parrilla de cribado en su lugar sobre la placa base. Compruebe que la ranura de la parrilla de cribado del lado derecho se introduce en la barra de cribado (fig. 27 A).
- Coloque la bandeja de ceniza en la parte inferior del producto.
- Coloque el quemador posterior en la ranura posterior de la placa base.
- Coloque los quemadores laterales a cada lado de las ranuras laterales de la placa base. Coloque la placa deflectora en su lugar de forma que quede apoyado sobre los quemadores laterales y posteriores.
- Pose la placa deflectora sobre los quemadores.
Fig. 28

- Coloque los quemadores pequeños (fig. 28 A) en la ranura de la placa base debajo de los cristales laterales.
- Vuelva a colocar la placa superior con la rejilla superior y el tazón.
- Coloque la placa de características del producto, que encontrará en el cenicero, bajo la cámara de combustión.
4.5 Control de los mandos
Tras instar el producto, compruebe siempre que los mandos de control se mueven con facilidad y funcionan correctamente.
Jøtul F 370 está equipada con los siguientes mandos:
Fig. 29

Empujado hacia dentro: cerrado
Sin pulsar: abierto
Respiradero de encendido, fig. 29 B
Empujado hacia dentro: cerrado
Sin pulsar: abierto
Parrilla de cribado (el mismo asa que para el respiradero de encendido) (fig. 29 B).
El asa derecha se pulsa hacia dentro y hacia afuera.
Asa de la puerta fig. 29 C:
se abre tirando del asa hacia fuera
4.6 Encendido inicial
- Abra el respiradero de aire y el respiradero de encendido tirando de los manillares (Fig. 29 A y B) hasta el tope. (Use un guante o algo similar para protegerse la mano en caso de que los manillares estén calientes).
- Coloque dos troncos en la parte inferior de la cámara de combustión y apile las astillas para encender en capas (fig. 30).
- Por último, ponga un tronco de tamaño medio en la parte superior de la pila.
- Ponga 2 ó 3 briquetas o astillas para encender debajo de la capa superior de astillas y encienda el fuego. Nota: La altura máxima de la pila de madera debe estar justo debajo de los orificios horizontales (Fig. 29 H). No deben cubrirse los orificios.
- Cierre el respiradero de encendido (Fig. 29 B) cuando la madera se haya encendido y arda bien.
• Cierre la puerta. - Entonces podrá regular el régimen de combustión para obtener el calor que desee ajustando el respiradero (Fig. 29 A).
- Compruebe que se inicia la postcombustión (combustión secundaria). Se indica mediante llamas amarillas que bailan delante de los agujeros debajo de la placa deflectora.
- Si el caudal de aire es normal, podrá cerrar la puerta y el fuego se mantendrá por sí mismo.
Fig. 30

Avive la estufa con frecuencia pero añada solo una pequeña cantidad de leña en cada ocasión. Si la estufa está demasiado llena, el calor generado podría causar una elevada tensión en la chimenea. Añada combustible al fuego con moderación. Evite el fuego sin llama, pues es el que produce más contaminación. El fuego irá mejor cuando arda bien y el fuego que salga por la chimenea sea casi invisible.
4.7 Peligro de sobrecalentamiento
La estufa no debe usarse nunca de manera que se sobrecaliente
Se produce sobrecalentamiento cuando hay demasiado combustible y/o demasiado aire y se produce demasiado calor. Un signo seguro de sobrecalentamiento es cuando partes de la estufa se ponen al rojo. Si sucede esto, reduzca de inmediato la abertura del respiradero.
Solicite la ayuda de un profesional si sospecha que la corriente de la chimenea no es correcta (demasiada corriente o demasiado poca). Para más información, consulte «4.0 Instalación» (chimenea y tubo de tiro).
ESPAÑOL
4.8 Eliminación de la ceniza
Jøtul F 370 está equipado con una bandeja que facilita la eliminación de cenizas.
- Esto debe ocurrir cuando la chimenea es fría.
- Sacuda la ceniza para que caiga a través de la parrilla de la placa base a la bandeja para la ceniza. Utilice un guante o un trapo para sujetar el tirador de la bandeja para ceniza y retirar la ceniza.
- Asegúrese de que la bandeja para ceniza no se llena hasta el punto de impedir que la ceniza caiga a la bandeja a través de la parrilla.
5.º Uso diario
5.1 Funcionamiento
Olores al usar la estufa por primera vez
Cuando se usa la estufa por primera vez, puede emitir un gas irritante que huela ligeramente. Esto ocurre debido a que se seca la pintura. El gas no es tóxico, pero la habitación deberá ventilarse completamente. Deje que el fuego arda con mucha corriente hasta que haya desaparecido todo rastro del gas y no sea posible detectar humo ni olores.
Consejos de calentamiento
Nota: Los troncos que se hayan almacenado en el exterior o en una habitación fría deberán meterse al interior 24 horas antes de usarlos para que alcancen la temperatura ambiente.
Hay varias formas de calentar la estufa, pero siempre es importante tener cuidado con lo que introduce en ella. Consulte la sección sobre "Calidad de la madera".
Calidad de la madera
Por madera de calidad nos referimos a los tipos más conocidos de madera, como abedul, picea y pino.
Los troncos deben secarse de forma que su contenido en humedad no supere el 20 %.
Para esto, los troncos deben cortarse a finales del invierno. Deben partirse y apilarse de forma que se garantice una buena ventilación. Las pilas de madera deben estar cubiertas para proteger los troncos de la lluvia. Los troncos deben ponerse a cubierto a principios del otoño y apilarse para utilizarlos en el próximo invierno.
Tenga cuidado especialmente de no usar nunca los siguientes materiales como combustible en su estufa:
- Basura doméstica, bolsas de plástico, etc.
- Madera pintada o impregnada (que es extremadamente tóxica).
- Planchas de madera laminada.
- Restos de madera
Pueden dañar el producto y también son contaminantes.
Nota: Nunca use gasolina, parafina, alcohol desnaturalizado o líquidos similares para encender el fuego. Puede sufrir lesiones graves y ocasionar serios daños al producto.
Madera
Jøtul F 370 tiene una producción de calor nominal de 5,5 kW. Uso de madera, con la emisión de calor nominal: Aprox. 1,9 Kg/h. Otro factor importante para optimizar el consumo de combustible es que los troncos tengan el tamaño correcto. El tamaño de los troncos debe ser:
Astillas:
Longitud: 30 cm
Diámetro: 2-5 cm
Cantidad por fuego: 6-8 trozos
Leña (troncos partidos):
Longitud: ca 20 - 30 cm
Diámetro: Aprox. 8 cm
Intervalos de adición de madera: cada 45 minutos aprox.
Tamaño del fuego: 1,4 kg
Cantidad por carga: 2 piezas
La emisión de calor nominal se alcanza cuando el respiradero de inyección de aire (fig. 29 A) está abierto aproximadamente el 100% y el asa del respiradero de encendido sacada aproximadamente 1-2 cm (fig. 29 B).
6.o Mantenimiento
6.1 Limpieza del cristal
El producto está equipado con un sistema de inyección de aire para el cristal. El aire se introduce a través del respiradero de la parte superior del producto y se desplaza hacia abajo a lo largo de la cara interior del cristal.
Aunque siempre se adhiere algo de hollín al cristal, la cantidad dependerá de las condiciones de tiro locales y del ajuste del respiradero de ventilación. La mayor parte de la capa de hollín se suele quemar cuando se abre completamente el respiradero de ventilación y arde un fuego vivo en la estufa.
Un buen consejo! Para la limpieza normal humedezca una toalla de papel en agua caliente y añádale cenizas de la cámara de combustión. Frote el cristal con la toalla de papel y, a continuación, enjuáguelo con agua limpia. Séquelo bien. Si es necesario limpiar el cristal más a fondo, recomendamos el empleo de un limpiacristales (siga las instrucciones de uso del envase).
6.2 Limpieza y eliminación del hollín
Pueden acumularse depósitos de hollín sobre las superficies internas de la estufa durante su uso. El hollín es un buen aislante y, por lo tanto, reduce la producción de calor de la estufa. Si dichos depósitos de hollín se acumulan durante el uso del producto, pueden eliminarse fácilmente con el limpiador de hollín.
Para evitar que en la estufa se forme una capa de agua y de alquitrán, es necesario dejar regularmente que el fuego arda con fuerza. Para obtener la máxima producción calorifica del producto, es necesario limpiar el interior del producto una vez al año. Es una buena idea hacerlo cuando desholline la chimenea y los tubos de humos.
6.3 Deshollinar los tubos de humos a la chimenea
En determinadas estufas autoestables, la placa superior puede retirarse, deshollinando el tubo por la parte superior.
En caso contrario, se deben deshollinar los tubos de humos a través de una trampilla de deshollinamiento del tubo de humos o a través de la puerta del producto. Deberá retirarse la placa deflectora.
6.4 Inspección de la estufa
Jótul le aconseja que inspeccione personalmente la estufa de forma minuciosa después de deshollinar o limpiar. Compruebe si existen fisuras en las superficies visibles. Compruebe también que todas las uniones están selladas y que las juntas están bien colocadas. Las juntas que muestren signos de desgaste o deformación deben sustituirse.
Limpie a fondo las ranuras de la junta, aplique adhesivo cerámico (disponible en su proveedor Jøtul local) y presione sobre la junta para que encaje en posición. La unión se secará en poco tiempo.
6.5 Mantenimiento exterior
Tras algunos años de utilización es posible que el color de los productos pintados se altere. Debe cepillarse la superficie para limpiarla de partículas sueltas antes de aplicar la nueva pintura.
Los productos esmaltados deben limpiarse únicamente con un paño limpio y seco. No utilice agua y jabón. Las manchas pueden eliminarse con un líquido de limpieza (un producto para limpiar hornos, etc.).
7.0 Conservación
Advertencia: la modificación no autorizada del producto es ilegal. Utilice únicamente repuestos originales.
7.1 Sustitución del deflector/deflector de escape
(Nota: tenga en cuenta que el uso de herramientas puede dañar las placas de vermiculita.)
- Levante el borde delantero de la placa deflectora e inclínela para sacarla (fig. 29 G). Retire los quemadores laterales (fig. 29 F) y el quemador posterior (fig. 29 E).
- El deflector de escape de hierro fundido que está situado encima de la placa deflectora queda apoyado con la barra sobre los rebordes de la salida de humos posterior (fig. 26 A). Levante ligeramente el deflector de escape, tire hacia fuera, inclínelo ligeramente y retírelo.
- Para volver a montar las piezas, siga el mismo procedimiento pero a la inversa.
7.2 Sustitución de los quemadores/placa base
(Nota: tenga en cuenta que el uso de herramientas puede dañar las placas de vermiculita.)
- Levante el borde delantero de la placa deflectora e inclínela para sacarla. Retire los quemadores laterales (fig. 29 F) y el quemador posterior (fig. 29 E).
- A continuación, levante la rejilla y la placa base y retírelas (fig. 29 D).
- Para volver a instalarlos, realice este mismo procedimiento pero a la inversa.
- Cuando vuelva a montar la parrilla y la placa base, asegúrese de que la barra de cribado que mueve la parrilla de cribado está introducida en la ranura del borde derecho de la parrilla. (Vea la fig. 27 A).
ESPAÑOL
7.3 Sustitución del cristal lateral interior/exterior
- Levante el borde delantero de la placa deflectora e inclínela para sacarla. Retire los quemadores laterales (fig. 29 F) y el quemador posterior (fig. 29 E).
- El deflector de escape de hierro fundido que está situado encima de la placa deflectora queda apoyado con la barra sobre los rebordes de la salida de humos posterior (fig. 26 A). Levante ligeramente el deflector de escape, tire hacia fuera, inclínelo ligeramente y retírelo.
- Retire la parrilla de cribado, la placa base y la bandeja de ceniza (fig. 29 D).
Fig. 31

- Retire los tornillos superior e inferior (fig. 31 A & 32 A) e incline cuidadosamente el soporte del cristal junto con el cristal para sacarlo por la puerta. Nota: el soporte del cristal también mantiene el cristal exterior en su lugar.
- Retire el cristal y, si es necesario, cambie las juntas. Si es necesario, cambie el cristal exterior.
- Para volver a montar las piezas, siga el mismo procedimiento pero a la inversa.
8.o Problemas de funcionamiento: solución de problemas
Poco tiro
- Compruebe la longitud de la chimenea y que cumple los requisitos y normativas nacionales. (Consulte también la información de la secciones «2.0 Información técnica» y «4.0 Instalación» (Chimenea y tubo de humos) del manual de instalación.)
- Compruebe que la sección transversal mínima de la chimenea corresponde a lo indicado en la sección «2.0 Información técnica» del manual de instalación.
- Cerciórese que no hay ningún obstáculo que impida el escape de los gases: ramas, árboles, etc.
- Si sospecha que el tiro de la chimenea es excesivo o escaso, solicite ayuda profesional para su medición y ajuste.
La llama se extingue transcurrido un tiempo
- Asegúrese de que la leña está suficientemente seca.
- Averigüe si existe presión negativa en la vivienda, apague los sistemas de ventilación mecánicos y abra una ventana cercana a la estufa.
- Compruebe que el respiradero está abierto.
- Compruebe que la toma de la salida de humos no está obstruida con hollín.
Se acumula una cantidad anormal de hollín en el cristal
Siempre se adherirá algo de hollín al cristal, pero la cantidad depende de:
- Humedad del combustible.
- Las condiciones de tiro locales.
- Apertura del respiradero de ventilación.
La mayor parte del hollín se suele quemar cuando se abre completamente el respiradero de ventilación y arde un fuego vivo en la estufa.(Consulte la sección «6.1 Limpieza del cristal - un buen consejo!».)
9.0 Equipo opcional
9.1 Placas de decoración
Placas de decoración, cubierta para las ventanas laterales (2 unidades), pintura negra
- n° de catálogo 50037271 (350990)
Placas de decoración, cubierta para las ventanas laterales (2 unidades), pintura gris
- n° de catálogo 50037272 (350991)
Cubierta superior de saponita, una pieza de 25 mm
- n° de catálogo 50012988 (350992)
Cubierta superior de saponita, tres piezas de 25 mm
- n° de catálogo 50013013 (361011)
sustitución para 50012988 (350992) con chimenea de acero instalada
9.2 Decoración de cristal, superior, laterales y delantero
(con instrucciones de montaje especiales)
Juego de cristal para salida de humos trasera, pintura negra,
- n° de catálogo 51012250 (350993)
Juego de cristal para salida de humos trasera, pintura gris,
- n° de catálogo 51012251 (350994)
Juego de cristal para salida de humos superior, pintura negra,
- n° de catálogo 51012252 (350995)
Juego de cristal para salida de humos superior, pintura gris,
- n° de catálogo 51012253 (350996)
9.3 Conjunto giratorio
Consulte las instrucciones de instalación correspondientes.
Conjunto giratorio para Jøtul F 373, - n° de catálogo 51012254 (350997)
9.4 Leñera
Pintura negra - n° de catálogo 50012995 (351160)
Pintura gris - n° de catálogo 50013037 (351161)
9.5 Puerta de hierro fundido para base (Jøtul F 371)
Pintura negra - n° de catálogo 51036917 (361115)
Pintura gris - n° de catálogo 51036918 (361116)
9.6 High Top
N.° cat. 51012304
9.7 Sistema de almacenaje de calor
N.° cat. 10026701
9.8 Saponita
Jøtul F 377 kit saponita, N°. cat. 21043545
Jøtul F 377 HT kit saponita, N°. cat. 21043546
9.9 Kit Convección
Jøtul F 370 C kit convección, laterales, BP, N°. cat. 50043647
Jøtul F 370 C kit convección, superior, BP, N°. cat. 50043642
10.0 Garantía
Jøtul AS ofrece a sus clientes una garantía de diez años, con derecho a devolver los elementos externos de hierro fundido si presentan defectos como resultado de materiales y/o mano de obra defectuosa después de la compra/instalación original de la estufa. El comprador tendrá derecho a devolver el producto, siempre que la estufa haya sido instalada de conformidad con las normativas y leyes vigentes, y de acuerdo con las instrucciones de instalación y funcionamiento de Jøtul.
La garantía no cubre:
La instalación de accesorios opcionales, por ejemplo la rectificación del estado del tiro o el suministro de aire ni otras circunstancias fuera del control de Jøtul. La garantía no cubre los consumibles, como las placas de combustión, deflectores de humos, rejillas, ladrillos refractarios, amortiguadores ni juntas, puesto que se deterioran con el tiempo debido al uso normal. La garantía no cubre los daños provocados como resultado del uso de combustible inapropiado para encender el fuego, como restos de madera, madera pintada o impregnada, recortes de tablas, aglomerado, etc. Si se usa un combustible inapropiado puede producirse un sobrecalentamiento: la estufa se pone al rojo, lo que produce el descoloramiento de la pintura y el agrietamiento de las piezas de hierro fundido.
La garantía no será válida para los daños ocasionados mientras el producto está en tránsito entre el distribuidor y el lugar de entrega. La garantía tampoco será válida para los daños ocasionados por la utilización de piezas no originales.
ITALIANO
Indice generale
Peso approssimativo:
ManualFácil 




