TEA - Estufa de leña EXTRAFLAME - Manual de uso y guía de instrucciones gratis
Encuentra gratis el manual del aparato TEA EXTRAFLAME en formato PDF.
| Tipo de dispositivo | Estufa de leña |
| Potencia nominal | No especificado |
| Rendimiento | No especificado |
| Capacidad de la cámara | No especificado |
| Dimensiones (AlxAnxPr) | No especificado |
| Peso | No especificado |
| Material principal | Hierro fundido y acero |
| Tipo de puerta | Vitrocerámica |
| Salida de humos | Trasera o superior |
| Consumo de leña | No especificado |
| Autonomía de combustión | No especificado |
| Normas | Conforme a normas europeas |
| Color | Negro |
| Instalación | Fija |
| Uso | Calefacción doméstica |
| Fabricación | Italia |
Preguntas de los usuarios sobre TEA EXTRAFLAME
0 pregunta sobre este aparato. Responde a las que conoces o haz la tuya.
Hacer una nueva pregunta sobre este aparato
Descarga las instrucciones para tu Estufa de leña en formato PDF gratis! Encuentra tus instrucciones TEA - EXTRAFLAME y toma tu dispositivo electrónico nuevamente en la mano. En esta página están publicados todos los documentos necesarios para el uso de su dispositivo. TEA de la marca EXTRAFLAME.
MANUAL DE USUARIO TEA EXTRAFLAME
Durante la combustión se emana energia tírmica que compara un notable calentimiento de las superficies, de las puertas, manijas, mandos, vidrios, tubo de humos y eventualmente de la parte delantera del aparato.
Eviten el contacto con这些东西 elementos sin la adecuada indumentaria protectora (guantes de proteccion en dotacion).
Asegurense que los niños sean conscientes de these peligos y mantenerlos alejados del fogon durante su functiOnamento.
ESPÁÑOL -ÍNDICE
ADVERTENCIAS 61
SEGURIDAD 61
ADVERTECIAS GENERALES 62
DECLARACION DE CONFORMIDAD DEL FABRICANTE 62
NORMAS PARA LA INSTALLACION 62
SEGURIDAD ANTIINCENDIO 63
INTERVENTION RAPIDA 63
DATOS TECNICOS 64
DESCRIPCION TECNICA 64
CONDUCTO DE HUMO 65
POSICION DEL CAPUCHON 65
CONEXION CON LA CHIMENEA 65
CONEXION CON EL CONDUCTO DE HUMO DE UNA CHIMENEAO DE UN HOGAR ABIERTO 66
VENTILACION Y AIREACIOn DE LOS LOCALES DE INSTALLACION 66
COMBUSTIBLES ADMITIDOS / NO ADMITIDOS 67
ENCENDIDO 68
ENCENDIDO DE BAJAS EMISSIONS 68
MANTENIMIENTO ORDINARIO REALIZADO POR LOS TECNICOS HABILITADOS 71
JUNTAS 71
CONEXIONA LA CHIMENEA 71
DETERMINACION DE LA POTENCIA TÉRMICA 71
CONDICIONES DE GARANTIA 72
DIMENSIONES 78
Le agradecemos por habereggido nuestra empressa; nuestro producto es una optima solucion de calefacion nacia de la technologia mas avanzada, con una calidad de trabajo de altoim novel y un diseño siempre actual, con el objetivo de hacerle disfurar sempre, con toda seguridad, la fantstica sensacion que el calor de la llama le pueda dar.
ADVERTENCIAS
Este manual de instrucciones constitue parte integrante del producto, asegúrese de que acomañe siempre el equipo, incluso en caso de cesión a otro propietario o usuario, o bien al transferirlo a otro lugar. En caso de daño o perdida solicite除外 ejemplar al serviceño Tecnico de la zona. Este producto se debe designar al uso para el que ha sido realizado. Se excluye qualquier responsabilidad contractual y extracontractual del fabricante por daños causados a personas, animales o cosas, por erros de instalación, de regulación, de mantenimiento y por usos inapropiados.
La instalación la debe realizar personalístico综合素质 y habilido, el qual asumirá toda la responsabilidad por la instalación definitiva y por el consiguiente buena functonimiento del producto instalado. Es necessario considerar también todas las leyes y las normativas naciales, regionales, provinciales y municipales presentes en el País en el que se instala el equipo, además de las instrucciones containidas en el presente manual
El fabricante no se responsabiliza en caso de violación de estas precauciones.
Després de quitar el embalaje, asegúrese de la integridad del contenido. En caso de no correspondencia, dirijase al revendedor donde ha comprado el equipo. Todos los componentes electricos que forman parte de la estufa, garantizando su funciona correcto, se deben sustituir con piezas originales, y la sustitución debe realizarla un centro de asistencia技术水平a autorizzato.
SEGURIDAD
EL APARATO PUEDE SER USADO POR NINOS DE EDAD NO INFERIOR A 8 ANOS Y POR PERSONAS CON REDUCIDAS CAPACIDADES FISICAS, SENSORIALES O MENTEALES, O SIN EXPERIENCIA O SIN EL NECESARIO CONOCIMIENTO, SIempre QUE ESTEN BAJO VIGILANCIA O DESPUES QUE LAS MISMAS HAYAN RECIBIDO INSTRUCCIONES RELATIVAS AL USO SEGULO DEL APARATO Y A LA COMPRENSION DE LOS PELIGROS INHERENTES AL MISMO.
SE PROHÍBE EL USO DEL GENERADOR POR PARTE DE PERSONAS (INCLUIDOS LOS NÍÑOS) CON CAPACIDADES FÍSICAS, SENSORIALES Y MENTALES REDUCIDAS, O A PERSONAS INEXPERTAS, A MENOS QUE NO SEAN SUPERVISADAS Y CAPACITADAS EN EL USO DEL APARATO POR UNA PERSONA RESPONSABLE DE SU SEGURIDAD.
LA LIMpieZA Y EL MANTENIMIENTO QUE DEBE REALizar EL USUARIO NO DEBE SER EFFECTUADO POR NINOS SIN VIGILANCIA.
CONTROLE A LOS NINOS PARA ASEGURARSE DE QUE NO JUEGUEN CON EL EQUIPO.
NO TOQUE EL GENERADOR CON LOS PIES DESCALZOS Y CON PARTES DEL CUERPO MOJADAS O HUMEDAS.
SE PROHÍBE MODIFICAR LOS DISPOSITIVOS DE SEGURIDAD O DE REGULACION SIN LA AUTORIZACION O LAS INDICACIONES DEL FABRICANTE.
NO HALE, DESCONECTE O TUERZA LOS CABLES ELECTRICOS QUE SALEN DE LA ESTUFA AUNQUE ESTÉ DESCONECTADA DE LA RED DE ALIMENTACION ELECTRICA.
SE RECOMIENDA COLOCAR EL CABLE DE ALIMENTACION DE MODO TAL QUE NO ENTRE EN CONTACTO CON PARTES CALIENTES DEL EQUIPO.
EVITE TAPAR O REDUCIR LAS DIMENSIONES DE LAS ABERTURAS DE VENTILACION DEL LOCAL DE INSTALLACION,LAS ABERTURAS DEVENTILACION SON INDISPENSABLES PARA UNA COMBUSTION CORRECTA.
NO DEJE LOS ELEMENTOS DEL EMBALAJE AL ALCANCE DE LOS NINOS Y DE PERSONAS INCAPACITADAS SIN SUPERVISION.
DURANTE EL FUNCIONAMIENTO NORMAL DEL PRODUCTO LA PUERTA DEL HOGAR DEBE PERMANECER SIEMPRE CERRADA.
- TENGÀ CUIDADO SOBRETodo CON LAS SUPERFICIES EXTERNAS DEL EQUIPO, YA QUE ÉSTE SE CALIENTA CUANDO ESTÁ EN FUNCIONAMIENTO.
CONTROLE LA PRESENCIA DE POSIBLES OBSTRUCCIONES ANTES DE ENCENDER EL EQUIPO, DESPUES DE
UN PERÍODO PROLONGADO DE INUTILIZACION.
EL GENERADOR SE HA DISENADO PARA FUNCIONAR EN CUALQUIER CONDIDO CLIMATICA, EN CASEO DE CONDICIONES PARICULARMENTE DIFICILES (VIENTO FUERTE, HIELO) PODRIAN INTERVENIR SISTemas DE SEGURIDAD QUE APAGAN EL GENERADOR. SI ESTO SUCEDE, CONTACTE CON EL SERVICIO DE ASISTENCA TECNICA Y, EN CUALQUIER CASO, NO DESHABILITE LOS SISTemas DE SEGURIDAD.
EN CASEO DE INCENDIO DEL CONDUCTO DE SALIDA DE HUMOS, USE LOS SISTemas ADECUADOS PARA ELIMINAR LAS LLAMAS O REQUIERA LA INTERVENTION DE LOS BOMBEROS.
ESTE EQUIPO NO SE DEBE UTILIZAR COMO INCINERADOR DE RESIDUOS.
NO UTILICE LQUIDOS INFLAMABLES PARA EL ENCENDIDO
LAS MAYÓLICAS SON PRODUCTOS DE ALTA FACTURA ARTESANAL Y PORT TANTO PUEDEN ENCONTRARSE EN LAS MISMAS MICRO-PICADURAS, GRIETAS E IMPERFECCIONES CROMÁTICAS. ESTAS CARACTERÍSTICAS DEMUESTRAN SU ELEVADA CALIDAD. EL ESMALTE Y LA MAYÓLICA PRODUCEN, DEBIDO A SU DIFERENTE COEFICIENTE DE DILATACION, MICROGRIETAS (CRAQUELADO) QUE DEMUESTRAN SU AUTENTICIDAD. PARA LA LIMpieZA DE LAS MAYÓLICAS, ES RECOMENDABLE UTILIZAR UN PANO SUAVE Y SECO; SI SE UTILIZAN DETERGENTES O LIQUIDOS, ESTOS PODRIAN PENETRAR EN EL INTERIOR DE LAS GRIETAS, PONIÉNDOLAS EN EVIDENCIA.
ADVERTECIAS GENERALES
La responsabilidad de La NORDICA S.p.A. se limita al suministro del aparato.
Su instalación de ser efectuada en conformidad con las prescrições de estas instrucciones y las reglas de la profesión, por personalrial, que representa las entreprises que pueda asumirse la responsabilidad total de la instalación.
A Empresa La NORDICA S.p.A. no se responsabiliza de modificaciones del producto efectuadas sin autorizacion, asi como del uso de repuestos no originales.
Es obligatorio respectar las normas nationales y europeas, las dispositions locales o en materia de construccion, asi como las reglamentaciones antiincendio.

NO DEBEN APORTARSE MODIFICACIONES AL APARATO. AEmpresa La NORDICA S.p.A. no se responsabilizará en caso de incumplimiento de estas precauciones.
DECLARACION DE CONFORMIDAD DEL FABRICANTE
Asunto: ausencia de amIENTO y cadmio
Se declara que todos nuestros aparatos se ensamblan con materiales que no presentan partes de amiente o sus derivados y que en el material正常使用 para las soldaduras no se oculta presente y no ha sido utilisé de ninguna forma el cadmium, según lo establecido por la norma de referencia.
Asunto: Reglamento CE n.° 1935/2004
Se declar que en todos los aparatos fabricados por nosotros, los materiales destinados a estar en contacto con comida son adecuados para uso alimentario, y está en conformidad con el Reglamento CE en cuestion.
NORMAS PARA LA INSTALLACION
La instalacion del termoproducto y de los equipos auxiliares, correspondientes a la instalacion de calefacion, deben complir con las normas y reglamentos vigilentes y con todas las dispositionses existecidas por la ley.
La instalación, las respectivas conexiones de la instalación, la puesta en servicios y el control del functionamento correcto deben ser llvados a cabo a la perfeccion por personal profesionalmente autorizzato, conforme a las normas vigentes, ya Sean nacionales, regionales, provinciales y locales, del Pais en el que se ha instalado el equipo, asi como a estas instruetiones.
La instalación de ser realizada por personal autorizo, que debeentarunadeclaraciondeconformidadde la instalacional comprador, elcual asumirá toda la responsabilidad de la instalacion definitiva y del consiguiente buena functiomento del producto instalado.
La estufa se enquiryra ensamblada y lista para la conexion y debe ser connectada mediante un racor al conducto de salute de humos presente en la casa. El racor debe ser, si es posible, corto, rectilineo, horizontal o colocado en un tramo ligeramente hacia arriba. Las conexiones deben ser estancas.
Antes de la instalación, realizar los controlles薷:
- calidad de humos SUPERIOR - POSTERIOR - LATERAL;
compruebe si la capacidad de la estructura es adecuada para el peso de su equipo. En caso de capacidad insufiente es requisiteo tomar oportunas medidas. La responsabilitad de La NORDICA S.p.A. se limita al suministro del aparato. - Asegurar de que el sueño pueda sostener el peso del aparato y realizar un aislamiento adecuado caso de estar fabricado en material inflamable (DIMENSIONES SEGUN CADA NORMA LOCAL).
- Asegurarse de que en el ambiente donde se instale haya una ventilación adecuada (presencia de toma de aire), es por tanto fundamental prestar atencion a ventanas y puertas estancas (juntas estancas).
- Evitar la instalacion en ambientes con presencia de conductos de ventilacion colectiva, campanas con o sin extractor, aparatos de gas de tipo B, bombas de calor o la presencia de aparatosswithofunctionamento simultaneocouldponer en depresion el ambiente(ref.Norma UNI 10683).
- Asegurar de que el numero y los tubos a los que se conecte el aparato Sean idoneos, NO está permitida la connexion de mas de un equipo a la mesma chimenea.
El diametro de la aperture para la connexion al conducto de salute de humos debe correspond por lo menos al diametro del conducto de humos. La aperture deben estar provista de una connexion de pared para introducir el tubo de descarga y una aro. - La instalación debe permitir el acceso para la limpieza y elostenimiento del producto y de la chimenea.

A Empresa LaNORDICA S.p.A. declina toda responsabilidad por dáños, causados por la instalación, a cosas y/o personas. Además no se responsabiliza de modificaciones del producto efectuadas sin autorización, asi como del uso de repuestos no originales.
Informe al deshollinador habitual local acerca de la instalacion del producto, para que pueda comprobar la correcta instalacion y la eficiencia de la connexion al conducto de salute de humos.
SEGURIDAD ANTIINCENDIO
Durante la instalación del producto se deben cumplir las siguientes medidas de seguridad:
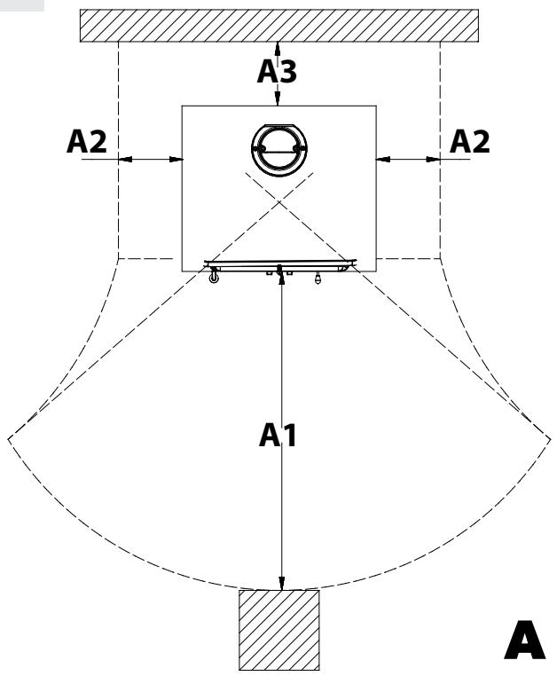
a) para asegurar un aislamento tírmico adecuado, debe respetarse la distancia minima de seguidad desdela parte trasa y desde ambos lados de construcciones y objetos inflamables y sensibles al calor (muebles, revestimientos de madera, telas, etc.) (vease Figura 4 - A-C-D). Todlas las distancias minimas de seguidad se muestran en la plac tcnica del producto y NO deben ser empleadas medidas inferiores a estas (Vexe DECLARACION DE PRESTACION).
b) Delante de la puerta del fogón, en el aire de radiación de laquia no debe haber ningún objeto o material de construction inflamable y sensible al calor a menos de véase Figura 4 - A de distancia. Dicha distancia peut reducirse a 40 cm si se instalara una protección, ventilada en el respaldo y resistente al calor, que cubra por complete el objerto entero que se ha de proteger.
c) En caso el producto sea instalado sobre un piso de material inflamable, deben ser aplicada una subcapa ignifuga. Pisos echos en material inflamable, como moquette, parquet o corcho etc, deben ser cubiertos por una capa de material no inflamable, por exemple cerámica o piedra, vidrio o acero etc. (dimensiones según cada norma local). La subcapa debe sobresalir por atraz de almenos 30 cm por lado y por adelante 50 cm mas alla de la abertura de la puerta dearga (Figura 4 - B).
d) No deben colocarse encima del producto componentes inflamables (como muebles o armarios suspendidos (vexe Figura 4 - C-D)).
El producto debe configurar siempre con el cincero introducido. Los residuos solidos de la combustion (cenizas) deben recogerse en un recipienthe hermético y resistente al fuego. Nunca encienda la estufa si hay emisiones de gas o vapores (como cola para linoleo, gasolina etc.). No deposite materiales inflamables circa de ella.

Durante la combustión se desarrolla una energia tírmica que implica un marcado calentimiento de las superficies, de la puerta y del cristal del hogar, asi como de las manillas de las puertas o de los mandos, del tubo de humos y de la parte anterior del aparato. Evite el contacto con dichos elementos sin el adecuado vestuario o accesorios de protección (guantes resistentes al calor, dispositivos de mando). Informe a los niños acerca de这些东西 peligros y manténgalos lejos del hogar cuando está的功能ando.
Si se utilizes un combustible equivocado o demasiado humedo, pueda formarse sedimentos (creosota) en el conducto de salute de humos, y porARRYUE el possible incendio del conducto itself.
INTERVENTION RAPIDA
Si se produce un incendio en la connexion o en el conductor de salute de humos:
a) Cierre la puerta de cargo y del cenicero.
b) Cierre los reguladores del aire comburente.
c) Apáguelo realizando extintores de anhídido carbónico (CO₂ en polvo).
d) Solicite la intervención inmediata de los Bomberos.

NO APAGUE EL FUEGO UTILIZANDO CHORROS DE AGUA.
Cuando el conductor de humos termina de quemar, pida a un especialista que lo revise para detectar posibles grietas o+puntos permeables.
DATOS TECNICOS
| TEA | |
| Definisión según : | EN 13240 |
| Sistema constructivo | 1 |
| Potencia nominal (útil ) en kW | 6,6 |
| Rendimiento en % | 82 |
| Diámetro tubo salute homo in mm | 120 |
| Conducto de salute de humos: Altura ≥ (m) dimensiones min (cm) | 4 - 200x200 Ø200 |
| Depresión a rendimiento calorífico nominal en Pa / (mm H2O) | 12 (1,2 mm H2O) |
| Consumo horario en kg/h (leña seca contenido de agua máximo. 20%) | 1,8 |
| CO medio al 13% de oxígeno en % | 0,07 % - 888 mg/m3 |
| Emisión de gases de descarga en g/s - leña | 5,1 |
| Temperatura de gases de descarga en °C - leña | 258 |
| Dimensiones de la aperture del fogón en mm (L x P) | 220 x 215 |
| Dimensiones del cuerpo de fogón/plano fogón en mm (LxHxP) | 228 x 365 x 278 |
| Dimensiones del hora in mm (L x H x P) | / |
| Tipo de rejilla | Plana, giratoria desde exterior |
| Altura estufa en mm | 832 |
| Ancho estufa en mm | 414 |
| Profundidad estufa en mm | 419 |
| Peso en kg | 77 |
| Distancias de seguridad antiincendios | Capitulo SEGURIDAD ANTIINCENDIO |
| m3 con posibiliidad de calentimiento (30 kcal/h x m3) | 190 (**) |
() Los values propuestos son indicativos. De cualquier�性a la instalacion se debe dimensional y controlar segun该如何 general de calculo de la UNI EN13384-1 u otheros métodos de eficiencia probada.
() Para edificios@cuyos aislamiento tere mico no corresponda a los requisitos del Reglamento sobre la proteccion del calor, la capacidad de calefacion de los locales es: tipo de construccion favorable (30 kcal/h x m³); tipo de construccion menos favorable (40 kcal/h x m³); tipo de construccion desfavorable (50 kcal/h x m³).
El volumen de calefacción augmente con un aislamento tírmico que sea conforme con las dispositionses sobre la proteccion del calor. En caso de interruptions superiores a 8 horas, con calefacion temporal, la calidad de calefacion disminuye el 25% aproximamente.
Los datos技术和ecos declared s obtuvieron usando mader de hay de catogia "A1" de acuerdo a la norma UNI EN ISO 17225-5 y a la humedad inferior del 20% . El uso de other especies podria requireir de ajustes speciicos y podria causar differentes rendimentos del producto.
DESCRIPCION TECNICA
Las estuas chimenea de La NORDICA son adecuadas para calentar viviendas por algunos periodos. Como combustibles se utilizen cepas de leña. La estufa es un aparato de combustión de forma intermitente.
La estuía está constituida por placas de chapa de acero pintada y galvanizada, fusiones de aleación (rejilla y portarejilla del hogar, anillo homo). El hogar está revestido internamente con placas individuales de fundación y refractario. En su interior, se.Encuentran un portarejilla y una rejilla plana de fundación con espesor grueso, que pueda ser extraída fácilmente.
El deflector interior refleja la irradiación del fuego yurrenta aun mas la temperatura en el interior de la camar de combustion. De esta forma,aprovechando los flujos de los gases de descarga,se optimiza la combustion y se aumenta el grado de eficiencia.
El vidrio cerámico de la puerta, en una sola pieza (resistente hasta 700^ ), permite una fascinante vista sobre las llamas ardientes e impide cualquier salute de chispas y humano.
Debajo de la rejilla del fogón está ubicado un cincero extraíble (Figura 8 - A).
| ACCESORIOS | ATIZADOR | GUANTE |
| DE SERIE | DE SERIE |
El calentimiento del ambiente se realiza por radiación: El calor se irradia en el ambiente a工程技术 del cristal panoramic y de las superficies externas calientes de la estufa.
La estuca cunr reguladoes para el aire primario y secundario, por medio de los cuales se regula el aire de combustion.
1A - Regulador de aire PRIMARIO (Figura 6)
El registrar (válvula giratoria), ubicado bajo de la puerta del hogar, regula el pasaje de aire primario a工程技术 del cenicero y de la rejilla, en direccion del combustible. El aire primario esnecessary para el procesode combustion. El cenicero debe servacido regularmente, de manera que la ceniza no impida la entrada de aire primario para la combustion. El aire primario permite tambiénmantener vivoel fuego.
El regulator de aire primario se debe abrir por bajo tiempo durante la combustion de la leña, de lo contrario la leña arde demasiado rápido y la estufa se suepe sobrecalentar (ver capitulo FUNCIONAMENTO NORMAL).
2A - Regulador de aire SECUNDARIO (Figura 6)
Sobre la puerta del hogar está ubicado el regulator del aire secundario. Este regulator se debe DVR (desplazado hacia la derecha) de manera particular, para la combustion de la leña.
La regulación de los reguladores nécessaria para Obtener un rendimiento calorífico nominal es laARRYEE:
| Consumo horas en kg/h | Aire PRIMARIO | Aire SECUNDARIO | Aire TERZIARIO |
| 1,8 | 5 mm ABIERTO Figura 6 - B | ABIERTO | PRE-REGULADO |
CONDUCTO DE HUMO
Requisitosfundamentalesparauncorrectofunacionamento delaparato:
- la sección interna tiene que ser, preferiblemente, circular;
- tiene que estar temricamente aislada y ser impermeable, tiene que estar construida con materiales idoneos para la resistencia al calor, a los productos de la combustión y a eventuales condensaciones;
- no tiene que presenterar estrangulamente y tener una marcha vertical con desviaciones no superiores a los 45^
-
si ya se la ha utilisé, hay que limpiarla;
-
Todos los tramos del conducjo se deben poder inspeccionar;
-
Deben contaç con bocas de inspeccion para la limpieza.
-kestar los datos技术水平 del manual de instruetiones;
En el caso que las chimeneas tuvieren la sección cuadrada o rectangular, las aristas internas tienen que ser redondeadas con radio no inferior de 20 mm. Para la sección rectangular, la relacion maximizinga entre los lados tiene que ser ≤ 1,5 .
Unasecion demasiadopequea provoca una disminuacion del tiraje.Es aconsejable consideraruna alta minima de 4 m.
Están PROHIBIDOS y, por lo tanto, perjudican el buena funciona del aparato: fibrocimiento, acero cincato, superficies internas asperas y porosas. En la Figura 1 se presentan algunos ejemplos de solución.

Para una correcta instalacion, respetar las dimensiones del conducto de humos indicadas en la tabla de DATOS TECNICOS. Para instalaciones con medias differentes, dimensionar el mesmo segun la Norma EN13384-1.
El tiraje que create su chimenea Tiene que ser suficiente, excepte no excessivo.
Unasecion de la chimenea demasiado importante pueeae prcear un volumen demasiado grande a calentar y, por lo tanto, puee devocar dificultades de functiomento en el aparato; a fin de evitar this situacion, hay que proveer a entubar la chimenea a lo largo de toda su altura. Una seccion demasiado petite provoca una disminuacion del tiraje.

ATENCL: para realizar la conexion al tubo de homo y los materiales inflamables complir con la Norma UNI10683. La chimenea tiene que estar a una distancia adecuada de los materiales inflamables o combustibles, utilizingo para elo unopportuno aislamento o un intersticio de aire.
Está PROHIBIDO hacer transitar en el interior de la chimenea tuberías de instalaciones o canales de aduccion de aire. Está prohibido, además, realizar en la mesma aperturas moviles o fijas para conectar ulteriores aparatos distinctos (ver capitulo CONEXION CON EL CONDUCTO DE HUMO DE UNA CHIMENEA O DE UN HOGAR ABIERTO).
POSICION DEL CAPUCHON
El tiraje de la chimenea depende también de la idoneidad del capuchón de la chimenea.
Es indispensable, por lo tanto, que, en el caso que hubiere sido construido artesanalmente, la sección de salute sea, como minimum, dos veces más grande que la sección interna de la chimenea (Figura 2).
El capuchón de la chimenea siempre tiene que superar la cumbrera del tejado, por lo que tendrá asegurar la descarga inclusive en presencia de viento (Figura 3).
El capuchón de la chimenea tiene que responder a los siguientes requisitos:
- Debe presentar una sección interna equivalente a la de la chimenea.
- Debe presentar una secciónutil de salute doble con disrespecta aquella interna de la chimenea.
- Debe estar construido deundry tal que impida la penetracion en la chimenea de la lluvia, la nieve y deequalquier other cuero extraño.
- Debe ser fácil de inspeccionar, paraellar a cabo eventuales operaciones deostenimiento y limpieza.
CONEXION CON LA CHIMENEA
El aparato con cierre automatico (como 1) de la portezuela tiene que functionar obligatoriamente, por motivos de seguidad, con la portezuela del hogar cerrada; (excepto para las fases de energia de combustible o la eventual remocacion de cenizas).
El aparato con las portezuelas con cider no automatico (esto 2), tener que estar connectadas con su propia chimenea.
El funciona con portezuela abierta está permitido solamente previa supervisión.
El tubo de conexión con la chimenea tiene que ser lo más corto possible, rectilíneo y hermético.
La connexion se debe realizar con tubos estables y robustos, debe cumplir con las normas y replantes vigentes y con todas las disponeciones establecidas por la ley, e los cuales tienen que fjarse herméticamente en la chimenea. El diametro interno del tubo de connexion Tiene que corresponder con el diametro externo del tronco de descarga humos de el producto (DIN 1298).

ATENCL: para realized la connexion al tubo de homo y los materiales inflamables complir con la Norma UNI10683. El conducto de salida de humos se debe colocar a una distancia adecuada de materiales inflamables o combustibles mediante un adeudoaislamento o una camar aire. Distancias minimales de segudad 25 cm.
La depresion en la chimenea (TIRAJE)iene que ser de, por lo menos (ver capitulo FICHA TECNICA) Pascal. La medida se debe realizar sempre con el aparato caliente (rendimiento calorifico nominal).
Cuando la depresión supera los 17 20 Pa (=1.7 =2 mm de columna de agua), esnecessary reducir la misma instalando un regulator de tiro suplementario (valvula de palomilla) posicionado en el tubo de descarga o en la chimenea, según las normativas vigentes.

Para lograr un buena funcionamento del aparato es esencial que en el lugar de la instalacion haya suficiente aire para la combustion (vease el parrafo VENTILACIOn Y AIREACION DE LOS LOCALES DE INSTALACION).
CONEXION CON EL CONDUCTO DE HUMO DE UNA CHIMENEA O DE UN HOGAR ABIERTO
El canal humos es el trayecto de tubo que conecta el producto con la chimenea; en la connexion hay que Respectar these simples principios,
aunque importantisos:
- Por ningún motivo hay que utiliser el canal humano con un diametro inferior oacular del collarin de salute del cui está dotado el termoproducto;
- Cada metro recorro en horizontal del canal humano provoca una sensible perdida de energia, que, eventualmente, se deben compensar con un aumento de la &,a,ura de la chimenea;
- El trayecto horizontal no tendrá que superar nunca, de todasomanas,los2m.(UNI 10683);
- Cada curva del canal humos reduce sensiblemente el tiraje de la chimenea, que tendrá que ser compensada, eventualmente, alzando su alta de manière adecuada;
- la Normativa UNI 10683 - ITALIA préve que las curvas o variociones en ningún caso tienen que ser superiores a 2, incluida la inmisión en la chimenea.
Si se desea utilize la chimenea de un hogar abierto, seranecessary cerrar herméticamente la campana que se ocundra por bajo del punto de entrada del canal homo, pos. A - Figura 5.
Si fue lo chieema resultare muy grande, (por exemple: cm. 30 x 40, o, sino, 40 x 50), es necessario entubarla con un tubo de acero inoxidable de, por lo menos, 200 mm. de diametro, pos. B, prestando atencion de cerrar bien el espacio que queda entre el tubo itself y la chimenea, inmediamente por debajo del capuchon de la chimenea, pos. C.
VENTILACION Y AIREACIOn DE LOS LOCALES DE INSTALLACION
Considerando que el producto toma el aire de combustión del localdonde han sido instaladas,es OBLIGATORIO que en el lugar甚么 entre unacantidad de aire sufiente.Enel caso de ventanas y puertas herméticas (porejemplo:casas construidassiguiendo el criterio de ahorro energetico),es possible que el ingresso de aire fresco no este garantizo,y elo compromete el tiraje del aparato, su proprio bienestar y su propia segudad.
IMPORTANTE: Para un mejor bienestar y para la relativa oxigenacion del ambiente, el aire de combustion se pueda extraer directamente desde el exterior mediante un racor de connexion a un tubo flexible. El tubo de connexion (NO suministrado) debe ser liso y tener un diametro minimo de Figura 6, una longitudonda de 3m y no tener mas de tres curvas. Si se conecta directamente con el exterior, el tubo depeseur un cortaviento.
Para el funciona correcto del aparato es OBLIGATORIO introducir en el lugar de instalacion suficiente aire para la combustion y la reoxigenacion del ambiente.
Esto quere decir que, a trovés de correspondentes aperturas comunicantes con el exterior, debe poder circular aire para la combustion también con las puertas y las ventanas cerradas.
Las tiomas de aire deben satisfacer los requisitos siguientes:
- estar protegidas con rejillas, redes metálicas, etc., sin reducir su sección neta;
- estar realizadas de forma tal que Sean posibles las operaciones de mantenimiento;
- colocadas de manière tal que no pueda ser obstruidas;
- Si en el local en el que ha sido instalado el aparato, está presentes capas de aspiración, estas no deben estar configurar simultáneamente. De hecho estas你能 causar la calidad de humos en los locales, excepta la puerta del hogar está cerrada.
La afluencia de aire puro y no contaminado se pueda Obtener también desde un local adyacente al de la instalacion (aireacion y ventilacion indirecta),siempre que este flujo coulda realizarse libremente mediante aberturas permanentes que comuniquen con el exterior.
El local adyacente no pueda estar destinado a garaje, almacén de material combustible ni a activités con peligro de incendio, bajo, dormitorio o local común del inmueble.
La ventilación se considera suficiente cuando el local Tiene tomas de aire en base a la tabla:
| Categorías de aparatos | Norma de referencia | Porcentaje de la sección neta de aperture respecto a la sección de salute de humos del equipo | Valorminimum netode aperture del conductodeventilación |
| Chimineas | UNI EN 13229 | 50% | 200 cm2 |
| Estufas | UNI EN 13240 | 50% | 100 cm2 |
| Cocinas | UNI EN 12815 | 50% | 100 cm2 |

Se prohíbe la instalación bajo el control de los agentes de control del alcoa. Además, se prohíbe la instalación bajo el control de los agentes de control del alcoa. En los que la depresión medida en ella entre ambiente externo e interno sea mayor que 4 Pa - referencia para Italia según la normativa UNI10683.
Se deben Respectar todas las leyes y las normativas naciales, regionales, provinciales y municipales presentes en el pais en el que se instale el equipo.
Los combustibles admitidos son cepas de leña. Debe ser realizada exclusivamente leña seca (como do agua max. 20%).
Deberian ser cargados como Tmaxo 2 o 3 cpos de leña por vez. Los troncos de leña deben poseer una longitud de unos 20 - 30 cm y una circumferencia de 30 - 35 cm max.
Los niños tronos de madera prensados no resinados, deben utiliser con cautela para evaporar sobrecalentimientos perjudiciales para el aparato, bajo que tienen un poder calorífico elevado.
La leña realizada como combustible debe tener un contenido de humedad inferior al 20% , que se obtiene ubicandola en un lugar seco y ventilado (por exemple bajo de un tinglado), con un tiempo de secado de al menos un año (leña tierna) o de dos años (leña dura).
La leña humeda dificultla la combustión, porque se necesita una mayorcantidad de energia para hacer evaporar el agua presente. El contentido humedo tiene además la desventaja, al disminuir la temperatura, de hacer condenser el agua primero en el hogar y bajo en la chimenea. La madera fresca contiene alrededor del 60% de H_2O , por lo tanto no es adecuada para ser quemada.
Hay que guardar dicha leña en un lugar seco y ventilado (por exemple, debajo de un tinglado) durante por lo menos dos años antes de suutilización. No se pueda quemar: residuos de carbón, recortes, residuos de corteza y paneles, madera humeda o tratada con pinturas, materiales de plástico; en este caso no tiene validez la garantía del aparato. Carta y cartón deben ser realizados solo para el encendido.
Está PROHIBIDA la combustión de los residuos ya queURTDA dar a el producto y el conducto de salute de humos, causando daños a la.
salud y reclamaciones por parte de la vecidad debido al olor que produce.
La leña no es un combustible de larga duración y por tanto no es possible un calentimiento continuo del producto durante la noche.
| Especie | kg/mc | kWh/kg Humedad 20% |
| Haya | 750 | 4,0 |
| Rebollo | 900 | 4,2 |
| Olmo | 640 | 4,1 |
| Álamo | 470 | 4,1 |
| Alerce europeo* | 660 | 4,4 |
| Abeto rojo* | 450 | 4,5 |
| Pino albar* | 550 | 4,4 |
- MADERAS RESINOSAS POCO ADECUADAS PARA EL PRODUCTO

ATENCL: El uso continu y prolongado de madera muy rica de aceites aromaticos (p.ej. Eucalipto, Mirto, etc.) causa el deterioro (exfoliacion) rrado de los componentes de fundacion del producto.
Los datos技术和ecos declared s obtuvieron utilizing mader de hay de catogia "A1" de acuerdo a la norma UNI EN ISO 17225-5 y a la humedad inferior del 20% . El uso de otheras espocies podria requerir de ajustes especificos y podria causar differentes rendimientos del producto.
ENCENDIDO

IMPORTANTE: Durante el primer encendido es inevitable que se produzca un olor desagradable (debido al secado de las colas presentes en la junta o a las pinturas de proteccion), que desaparece tras un breve uso. De todasomanasdebesergarizada una adecuadaventilacion delambiente.Duranteelprimerencendidoasconsejableintroducirunacantadreducidade combustibley augmentarlentamenteledrendimientocalorificodelaporato.EstadoPROHIBIDOtodaslasustanciasliquidascomo porejemploalcohol,gasolina,petróleoysimilares. Nuncaencenderelaporatowhenaya gasscombustiblesenelambiente.
Para efectuar un correcto primer encendido de los productos tratados con pintura para elevadas temperatas, es besoino saber lo seguiente:
- los materiales de fabricacion de los productos realizados no son homogeneos, tienen partes defundacion, de acero, de refractario y de mayolica;
- la temperatura a la cuales está sujeto el cuerpo del producto no es homogenea: de una zona a la othera se detectan temperatas variables desde los 300^ hasta los 500^ ;
durante su vida utl, el producto se somete a ciclo alternados de encendido y de apagado durante el mismo dia y a ciclo de uso intenso o de reposo total con el cambio de estacion; - la estufa nuevo, antes de poderse considerar lista para el uso, deben ser sometida a différentes ciclos de encendido para permitir a todos los materiales y a la pintura de completar los differentes esfuerzos elásticos;
especialmente al principio PODrnan haber olores típicos de los metales sometidos a un gran esfuerzo tmeimo y de pintura todavia fresca. Dicha pintura, aoque en fase de fabricacion sea cocida a 250^ por的一些as, debera superar mas vces y poruna certa duracion la temperatura de 350^, ante deser incorpora perfectamente a las superficies metalicas.
Por tanto es muy importante CFRPL, en la fase de encendido, con lo suiviente:
- Comprobar que sea garantizo un fuerte intercambio de aire en el lugar donde está instalado el aparato.
- En los primeros encendidos, no cargas excessivamente la camar de combustion (mitad de la cantidad indicada en el manual de instrucciones) ymantener el producto encendido por al menos 6-10 horas seguidas con los reguladores abierto menos de como indicae en el manual de instrucciones.
- Repetir esta operation por lo menos 4-5 o más vezes, según su disponibiliad.
- Sucesivamente cargasiempe mas (siguiendo de todos modos lo que se muestra en el manual de instruiones en relationa la carga maxima) ymantenerencendido,si espossible,por un tiempo largo evitando,por lo menos en la fase inicial,ciclos de encendido-apagado de breve duracion.
- No apoyar, durante los primeros encendidos, nunca objecto arriba de la estufay y specialmente sobre las superficies esmaltadas. No tocar las superficies esmaltadas durante el calentimiento.
- Una vez superado el "rodaje", el productooulda serutilrado como el motor de un vehiculo,evitando bruscos calentamenteconcargas excessivas.
Para encender el fuego aconsejamos el uso de微量元素 listones de madera con papel others products de encendido en commercio. Las aperturas para el aire (primario y secundario) deben abrirse simultaneamente pero de manière parcial (debe abrirse, si está presente, también la valvula de palomilla, ubicada en el tubo de descarga de humos). Cuando la leña empieza a arder, se pueda cargar other combustible regulando el aire para la combustión según las indicaciones del párrafo DESCRIPCION TÉCNICA. Durante esta fase, noCEEDarunca la estufadesatendida.

No sobrecargar nunca o produits (ver párafo DESCRIPCION TÉCNICA / consumo horario leña). Demasiado combustible y demasiado aire para la combustión pueda cause un sobrecalentimiento y por tanto dar a la estufa. Se excluyen de la garantía los días debidos al sobrecalentimiento.
ENCENDIDO DE BAJAS EMISIONES
La combustión sin humano es un método de encendido para reducir de modo significativo las emisiones de sustancias nocivas. La leña quema gradualmente de arriba hacía bajo, asi la combustión se realiza más lentamente y de modo más controlado. Los gases producidos por la combustión se queman casi Completely al atravesar las elevadas temperatas de la llama.
Ponga los troncos de leña en el hogar a una cierta distancia el uno del(other, como pueda verse en la Figura 7. Coloque los más gruesos en la parte inferior y los más delgados en la parte superior, o en posición vertical si se tratate de cámaras de combustión estrechas y altas. Coloque el modulo de encendido encima de la pila,pongla los primeros troncos del modulo perpendicularmente a la pila de leña.
MÓDULO DE ENCENDIDO. Estemerican de encendido sustituya al de papel o cartón.
Prepare 4 troncos con una seccion transversal de 3cm× 3cm y una longitud de 20~cm Figura 7. Póngalos cruzados encima de la pila de leña, transversalmente a la mesma, y en el centro del modulo colque la tea, que peut ser lana de madera impregnada de cera. Basta un fosforo para encender el fuego. Si lo desea possible using piezas de madera mas pequeñas: en dicho caso se necessitiesa una mayorcantidad. Tenga abierta la valvula de evacuation de humos y el registrar para el aire comburente.
Después de haber encendido el fuego, deja el registrar que regula el aire para la combustión en la posición que se indica:
| Combustible | Aire PRIMARIO | Aire SECUNDARIO | Aire TERZIARIO |
| Leña | CERRADO | 1/2 ABIERTO | PRECALIBRADO |
IMPORTANT:
no anada lena entre dos cargas completas;
no apague el fuego cerrando las tomas de aire;
- la limpieza regular realizada por un deshollinador reduce las emisiones de polvos finos.
- Estas indicaciones proceden de ENERGIA Legno SVIZZERA (Energia madera Suiza) www.energia-legno.ch
Después de positionalar los reguladores correctamente introduzca la carga horaria indicada, evitando sobrecargas que provocan desgastes anomalos y deformaciones(segun las indicaciones del párrafo DESCRIPCION TECNICA).El Producto debe usesieme con la puerta cerrada, para evaciar daños debidos al excessivo calentamento (efcto forja). El incumplimiento de dicha regla hace caducar la garantía. Los aparatos con cierre automatico de la puerta (esto 1) deben functionar obligatoriamente, por razones de seguidad, con la puerta del hogar cerrada (excepto en la fase de carga del combustible o de la eliminacion de la ceniza).
Los aparatos con las puertas que noienen cierre automatico (como 2) deben ser connectados a un conductor de salute de humos propio. Está permitted el funciona con la puerta abierta solamente bajo vigilancia.

IMPORTANTE: Por razones de seguidad, la puerta del hogar可以选择 estar abierta solo durante la fase de carga del combustible. El hogar debe ester cerrado durante el functiomento y los periodos en los que no se utilize.
Los reguladores en la parte delantera del aparato regularan la emisión de calor del hogar. DebenAbrirse segun la necessities calorifica.
La mejor combustión (emisiones minimas) se obtiene cuando, al cargas la leña, la mayor parte del aire para la combustión pasa a工程技术 de regulator de aire secundario. No sobrecargar nunca el aparato.
Demaisto combustible y demasiado aire para la combustion你能 causar un sobrecalentamento y por tanto dañar la estufa. Se excuyen de la garantía los daños debidos al sobrecalentamento.
Por tanto, hay que utiliser siempre la estufa con la puerta cerrada(baja) para evaporar el efecto forja.
La regulación de los reguladores nécessaria para Obtener un rendimiento calorífico nominal con una depresión en la chimenea de 12 Pa (1,2 mm de columna de agua) es la asignante: vexe cap. DESCRIPCION TÉCNICA. L'aparato es un aparato de combustión de forma intermitente. Además de la regulación del aire para la combustión, la chimenea también afecta a la intensidad de la combustión y bajo el rendimiento calorífico de su aparato. Un buena tiro de la chimenea necesita una regulación más reducida del aire para la combustión, cuando que un tiro escaso, necesita aun más una regulación exacta del aire para la combustión.
Para comprobar si la combustion es buena, controlar si el humano que sale de la chimenea es transparente.
Si es blanco, significa que el aparato no está regulado correctamente o la leña está demasiado mojada; si, en cambio, es gris o negro, significa que la combustión no es complete (es necesaria una mayorcantidad de aire secundario).

ATENCL: Cu do agre austi bla, en ausc de Iamas, se podria vericar un eleva produccion de hmo. Si estu cuediera, se podria formar una mezcla explosiva de gas y aire y, en casos extremos, se podria vericaruna explosiono. Por motivos de segudad, se aconseja efectuar un nuevo proceso de encendido, atrav es de la utilizacion de pequeños listones.
USO DEL HORNO (DONDE ESTÉ PRESENTE)
Gracias al aporte de aire de combustión, la temperatura del hora pueda ser sensiblemente influenciada. Un sufiente tiro de la chimenea y los canales bien limpios para el flujo de humos calientes alrededor del hora sonfundamentales para un Buen resultado de la cocción. El registrar de humos debe colocarse Completely hacer el exterior.
La parrilla del hora y la rejilla de hora cromada pueda colocarse a distinctas alturas. Tortas altas y carnes de gran tamaño deben colocarse en el nivel más bajo. Tortas bajas y galletas van en el nivel medio. El nivel superior se pueda usar para calentar o dorar (vease cap. Descripción Técnica - ACCESORIOS).
Cuando cocinamos alimentos con alta humedad, pasteles con fruta o solo fruta se produce agua de condensacion.
Durante la cocción se pueda tener vapor de agua que se deposita en la parte superior o lateral de la puerta, formando gotas de agua de condensación. Es un fenómenoístico.
Al partir la puerta brevemente y con cuidado (1 o 2 vces, con mayor fecuencia en el caso de tiempos de coccion mas largos) se possibledefer salir el vapor de la camera de coccion y reducir considerablemente la condensacion.
FUNCIONAMIENTO EN LOS PERÍODOS DE TRANSICón
Durante el periodo de transicion, cuando las temperatas externas son mas elevadas, en caso de un aumento repentino de la temperatura, se pueda produir problemas en el conducto de salute de humos que implican la incompleta aspiracion de los gases de combustion. Los gases de descarga no salen totalmente (olor fuerte a gas).
En este caso, sacuda más frecuentemente la rejoilla y aumento el aire para la combustión. Luego introducir unacantidad reducida de combustible hacer que queme más rápido (condesarrollo de llamas), de estaforma el tiro del conducto de salute de humos se mantiene estable. Después, controlar que todas las aperturas para la limpieza y las conexiones a la chimenea se encontrarren herméticas. En el caso en que tengan dudas, renuncien al functionamento de la estufa.
- La clavija del cable de alimentación está desconectada (donde está presente).
- Que el generator está frío en cada parte.
Las cenizas estén Completely frías. - Garantizar un eficaz recambio de aire del ambiente durante las operaciones de limpieza del producto.
- Una limpieza insufficiente perjudica el correcto funciona y la seguridad!
LIMPieZA PERIODICA A CARGO DEL USUARIO
Las operaciones de limpieza periodica, como se indica en el presente manual de uso y mantenimiento, deben ser realizadas prestando la maxima atencion despues de haber leido las indicaciones, los procedimientos y los tiempos descritos en el presente manual de uso y mantenimiento.
Controlar, realizando su limpieza, por lo menos una vez al a, la toma de aire exterior. Hacer controlar a su deshollinador responsable de la zona, la correcta instalacion del producto, la connexion a la chimenea y la ventilacion.

IMPORTANTE: EL MANTENIMIENTO Y CUIDADO DEBE SER EFFECTUADA EXCLUSIVAMENTE CON EL APARATO FRIÓ.
Se pueda usar exclusivamente piezas de repuestos autorizadas y entrega por La NORDICA S.p.A. En caso de necessities dirijase a su revendedor especializzato. jEL APARATO NO SE DEBE MODIFICAR!
LIMpieZA DEL CRISTAL
Una española entrada de aire secundario reduce la formación de sedimento de suciedad en el cristal de la puerta. En todo caso dicha formación no pueda ser evitada cuando el uso de combustibles solidos (sobre todo de leña humeda), lo que no debe ser considerado como un defecto del aparato.

IMPORTANTE: La limpieza del cristal panorálico se Tiene que realizar una y exclusivamente con el aparato frío, para evitar la explosión del mesmo. Para la limpieza se pueda usar productos españlicos, o bien una bola de papel de periodico (diario) humedecida, pasado en la ceniza, fregando el cristal. No utilizear páns, productos abrasivos o químicosamente agresivos.
El procedimiento correcto de encendido, el uso de cantidades y temas de combustibles adecuados, la correcta colocacion del regulator de aire secundario, el sufiente tiro de la chimenea y la presencia de aire comburente son indispensablees para el optimo funciona del aparato y para tener el cristal limpio.

ROTURA DE CRISTALES: Los cristales, al ser de vitroceramica, resistentes hasta un saltoTERMico de 750^ , no está susjetos a choques termicos. Su rotura,sole la pueda causar los choques mecánicos (choques o cierre violento de la puerta, etc.). Por lo tanto, su sustitución no está incluida en la garantía.
LIMPieZA DEL CENICERO
Todoos aparatos tienenuna rejilla de hogar y un cenicero para la recogida de la ceniza Figura 8.
Le aconsejamos vaciar periodically el cenicero yeating alllado total del mimo para no sobrecalentar la rejilla. Ademas le aconsejamos dejar sempre 3-4 cm de ceniza en el hogar.

ATENCL: recoger la ceniza del hogar en un recipiente de material ignifugo provisto de una tapa hermetica. El recipiente debe ser colocado sobre un pavimento ignifugo, lejos de materiales inflamables hasta que la ceniza no se haya apagado y enfiado totalmente.
LIMPIEZA DEL CONDUCTO DE SALIDA DE HUMOS
El procedimiento correcto de encendido, el uso de cantidades y temas de combustibles adecuados, la correcta colocacion del regulator de aire secundario, el sufiente tiro de la chimenea y la presencia de aire comburette son indispensablees para el optimo funciona del aparato y para tener el cristal limpio.
El equipo sedeaheria limpiar complemente al menos una vez al año o cada vez que sea necesario. Un sedimento de hlln (creosota) excessivo suece daar problemas en la descarga de humos y el incendio del conducto de salute de humos.

La limpieza debe ser efectuada exclusivamente con el aparato frio. esta operation la debe realizar un deshollinador, que puea inspeccionar al mismo tiempo.
Durante la limpieza, es necessario quitar del aparato el cajón de la ceniza, la rejilla y los deflectores de humos, para favorecer la caía del hollín. Los deflectores se pueda sacar fácilmente de sus alojamente,PECTO que no está fjados con tornillos.
Una vez realizada la limpieza, seienen que volver a colocar en sus alojamente.(Figura 9)

ATENCL: La ausencia del deflector causa una fuerte depresion, con una combustiOn demasiado rapiida, excesivo consumo de lena y consequente sobrecalentamento del aparato.
LAS MAYÓLICAS (DONDE ESTÉ PRESENTE)
Las mayólicas La NORDICA Sp.p.A. son produits de alta factura artesanal y por tanto pueda encontrar en las malmas micro-picaduras, grietas e imperfecciones cromáticas. Estas caracteristicas demuestran su preciadaestructura.
El esmalte y la mayólica producen,upon a su differente coeffiente de dilatabacion, microgrietas (craquelado) que demuestran la autenticidad efectiva.

Para la limpieza de las mayólicas, es recomendable usar un paño suave y seco; si se utilizes deterentes o liquidos, estas mismos podrán penetrar en el interior de las grietas, poniendolas en evidencia de forma permanente.
PRODUCTOS EN PIEDRA OLLAR (DONDE ESTÉ PRESENTE)
La piedra ollar Tiene que ser limpiada con papel abrasivo muy fino o una esponja abrasiva. NO utilizear algo n detergente o liquido.
PRODUCTOS BARNIZADOS (DONDE ESTÉ PRESENTE)
Luego años de uso del producto, la variación de color en particulares barnizados es un fenómeno normal. Ese fenómeno se debe a las considerables excursiones de temperadura que el producto sujeta cuando encendido y al envejecimiento de la misma barniz con elasar del tiempo.

AVISO: Antes de la possible aplicacion de nuevo barniz, hay que limiar y quitar cada residuo desde la superficie de barnizacion.
PRODUCTOS ESMALTADOS (DONDE ESTÉ PRESENTE)
Usar agua con jabón o detergentes no abrasivos o químicosamente agresivos para limpar las partes esmaltadas.

Luego de la limpieza NO se deje secar el agua enjabonada o el detergente, proveer enseguida a la remocion. NO utilize papel de lija o lana de acero.
COMPONENTES CROMADOS (DONDE ESTÉ PRESENTE)
Si los componentes cromados quedaran azulados a causa de un recalentamento, se pueda utiliser un producto spécifique para su limpieza.
PARADA DEVERANO
Despues de haber efectuado la limpieza del hogar, de la chimenea y del conducto de salute de humos, eliminar totalmente la ceniza y otherposibles residuos, cerrar todas las puertas del hogar y los reguladores correspondentes. En el caso en que el aparato sea desconectado de la chimenea, hay que cerrar el hueco de la salute de modo que other chimeneas connectadas al本身就是 numero能把an funcional igualmente. iAconsejamos efectuar la operacion de limpieza del conducto de salute de humos al menos una vez al a; controlar las condiones efectivas de las juntas, porque si no estan perfectamente integras, no garantizan el functionamento correcto del aparato!
En este caso esnecessary sustituiñas.

En caso de humedad en el ambienteonde está instalado el aparato, colocar sales absorbentes en el interior del hogar. Proteger las partes defundacion con vaselina neutral, paramantener invariado en el tiempo el aspecto estetico.
MANTENIMIENTO ORDINARIO REALIZADO POR LOS TECNICOS HABILITADOS
El mantenimiento ordinario de ser realizado al menos una vez al año.
El generador utilizing leña como combustible sólido nécessita una intervención anual de mantenimiento ordinario que debe ser efectuado por un Técnico fácilado, utilizing exclusivamente recambios originales.
La inobservancia pueda compensar la calidad del equipo y poder hacer decaer el derecho de las conditiones de garantía.
Respetando las frequencies de limpieza reservadas al usuario descritas en el manual de uso y mantenimiento, se garantiza al generator una correcta combustión en el tiempo, evitando posibles anomalías y/o malos functionamenti que podráear requerir mayores intervenciones del的技术ico Las solicitudes de intervencimientos ordinario no está contempladas en la garantía del producto.
JUNTAS
Las juntas garantizan la hermeticidad de la estufa y por consiguiente el funcionacorrecto de la mesma.
Es requisite que estas seen periodicamente controladas: en el caso que estuvieran desgastadas o dañadas es requisite sustituiñas inmediamente.
Estas operacionesdeferan ser realizadas por parte de un先进技术abilitado.
CONEXION A LA CHIMENEA
Realice la limpieza y la aspiracion del conducto que se dirige a la chimenea una vez al ano o, en todo caso, cuando sea requisite. Si existen tramos horizontales hay que eliminar los residuos para que no obstaculien el pasaje de los humos.
DETERMINACION DE LA POTENCIA TÉRMICA
No existe una regla absoluta que permitteda calcular la potencia correcta necessitiesia. esta potencia varia en funcion del espacio a calentar, pero también depende en gran parte del aislamento. De promedio, la potencia calorifica necessitiesia para un ambiente adeuadamente aislado, sera 30kcal / h por ^3 (con una temperatura exterior de 0^ ).
Puesto que 1kW corresponde a 860 kcal/h,edomos adoptar un valor de 35W / m^3
Suponiendo que ustedes quieran calentar un ambiente de 150m^3 (10 x 6 x 2,5 m.) en una vivienda aislada, necessitarán 150m^3 x 35W / m^3 = 5250W o 5,25 kW. Por lo tanto, como calefacción principal, un aparato de 8 kW sera suficiente.
| Valor indicativo de combustión | Cantidad necesaria en relacion a 1 kg de leña seca | |||
| Combustible | Unidad | kcal/h | kW | |
| Leña seca (15% de humedad) | kg | 3600 | 4.2 | 1,00 |
| Leña mojada (50% de humedad) | kg | 1850 | 2.2 | 1,95 |
| Briquetas de leña | kg | 4000 | 5.0 | 0,84 |
| Briquetas de lignito | kg | 4800 | 5.6 | 0,75 |
| Antracita normal | kg | 7700 | 8.9 | 0,47 |
| Coke | kg | 6780 | 7.9 | 0,53 |
| Gas natural | m³ | 7800 | 9.1 | 0,46 |
| Nafta | L | 8500 | 9.9 | 0,42 |
| Electricidad | kW/h | 860 | 1.0 | 4,19 |
CONDICIONES DE GARANTÍA
- Los productos La Nordica S.p.A. está garantizados, en el marco de la Comunidad Europea, durante un periodo de 24 meses desde la Fecha de comprar.
La compra debe acreditarse mediate un documento fiscalmente valido emitido por el distribuidor (recibo, factura o albaran de transporte) que identifique el producto adquirido y la Fecha de compra o entrega del mesmo.
ATENCL: this garantia convencional no sustituye la garantia prevista por las normas europeas de proteccion de los consumidos.
La garantía convencional se entiende limitada al territorio italiano y a los territorios de la Comunidad Europea cubiertos por el service de los centres de asistencia技术水平ica autorizados (consulte la página web www.lanordica-extraflame.com).
Tambien dee tendente delimitada territorialmente al pais de residencia o domicilio del consumidor, que debe ser el mmo donde el vendedor del producto La Nordica S.p.A.onga su sede legal oonga domiciliada su actividad.
Estas normas no se aplican en caso de compra del producto en el ambito de本次活动as commerciales, empressarias o profesionales. En these cases, la garantia del producto está limitada a un periodo de 12 meaes a partir de la fecha de compra.
GARANTÍA EN ITALIA
Que hacer en caso de funciona anomalo del producto:
Consulte el manual de instrucciones para ver si la anomía pueda ser resuelta mediante la aplicación correcta de las functions del producto en cuestion. Asegúrese de que el defecto se incluye en el tipo de anomalías cubiertas por la garantía; de lo contrario, el COSTE de la intervención correrá en su totalidad a cargo del consumidor. Cuando Solicite la intervención del Servicio de Asistencia, indique siempre al Centro de Asistencia Autorizado: - la naturaleza del defecto - el modelo de su aparato - la direccion completa - el número de téléphone.
GARANTÍA EN EUROPA
Que hacer en caso de funciona anomalo del producto:
Consulte el manual de instrucciones para ver si la anomía pueda ser resuelta mediante la aplicación correcta de las functions del producto en cuestion. Asegúrese de que el defecto se incluye en el tipo de anomalías cubiertas por la garantía; de lo contrario, el COSTE de la intervención correda en su totalidad a cargo del consumidor. Solicite la intervención del Servicio de Asistencia o la dirección del Centro de Asistencia Técnica Autorizzato al vendedor, indicando siempre: la naturaleza del defecto, el modelo de su aparato, la dirección completa y el número de téléphone.
En caso de falta de conformidad que se manifiesto en los 6 primeros meSES de vida del producto, el consumidor tiene derecho a la reparacion del defecto de forma Gratisita.
Del septimo al vigésimo cuarto mes, en caso de que se compruebe una falta de conformidad, el consumidor tendrá que asumir el coste de la llamada,@mñtras que el vendedor seguiráHCIendose cargo del coste de la mano de obr y de posibles recambios functionales Utilizados.
- Si el defejo observado es atribuible a conditiones o eventos externos, tales como, a modo de exemple y sin ser exhaustivos, la insufficiente capacities de las instalaciones; la instalacion o mantenimiento erroneo llama a cabo por personal que no cumple los requisitos establescidos por la legislacion vigente en el pais de residencia del consumidor; la negligencia; la imposibidad de uso y elostenimiento incorrecto por parte del consumidor respecto a lo indicado y recommendado en el manual de instrucciones del producto, que forma parte del contrato de venta, se anula la presente garantia.
Tampoco se incluyen en esta garantía los dáños sufridos por el producto en ausencia de causas comprobadas imputables a defectos de fabricación. Del mesmo modo, queden excluidos de la presente garantía los defectos atribuidos al functionamento incorrecto del conducto de humos, en virtud de la legislación vigente en el País en el momento de la compra, como todos los defectos del producto debidos a desidia, rotura accidental, Manipulación o dáños en el transporte (arañazos, abolladuras, etc.), intervenciones realizadas por personal no autorizzato yotiros daños causados por intervenciones erroneas del consumidor en un intento de remediar la avería inicial.
Se excluyen de la garantía los siguientes consumables: juntas, cristales cerámicos o Templados, revestimientos y rejillas de hierro fundido, materiales refractarios (p. ej., Nordiker u除外), componentes pintados, cromados o dorados, elementos de mayólica, manillas, brasero y componentes relacionados. En los productos Idro, el intercambiador de calor está excluido de la garantía si no se realiza un circuito anticonducción adecuado que garantice una temperatura de returno del aparato de al menos 55 grados. Por lo general, se excluyen de la garantía todos los componentes externos al producto en los que el consumidor pueda intervenir directamente durante el uso o mantenimiento, o que pueda estar susertos a desgaste, o la formación de oxido y manchas en el acero debido al uso de productos de limpieza agresivos.
En caso de indicar defectos no observados afterwards en la fase de comprobacion por parte de un technician autorizzato, la intervencion correrá en su totalidad por conta del consumidor.
- Si no fuera posible restablecer la conformidad mediante la reparacion del producto/componente, se proceder a su sustitucion, sin alterar el periodo de vencimiento y los关键时刻 de garantia adquiridos en el momento de la compra del producto/componente a sustituir.
- La Nordica S.p.A. declina toda responsabilidad por posibles daños que pueda sufrir, directa o indirectamente, personas, animales y objetivos como consecuencia del incumplimiento de todas las prescrições indicadas en el correspondiente manual de instrucciones y relativas advertencias en@cuestion de instalacion,uso ymantenimiento del producto,que también,puede descargarse de la pagsa web.
-
Se excluyen de la garantía las intervenciones para el calibrado o regulación del producto en relacion con el tipo de combustible u除外.
-
Si el producto fuese reparado en uno de los Centros de Asistencia Técnica Autorizados indicados por La Nordica S.p.A. y en caso de sustitución del producto, el transporte sera gratis. En los casos en los que el的技术ico fuera capaz de reparar el producto en el domicilio del usuario y esteultimate se negara a el, el transporte al laboratorio y la devolucion estar an a su cargo.
- Tras el periodo de 24 meSES de garantia, qualier intervencion de reparacion sera abonada en su totalidad por el consumidor.
- En caso de litigio, el organo judicial de competencia sera exclusivamente el foro de la sede legal de La Nordica S.p.A. (Vicenza-Italia).
- Utilice solo el combustible recommendado por el fabricante. El producto no debe ser utilizado como incinerador.
No utilise el producto como escalera o estructura de apoyo.
No ponga a secar lenceria sobre el producto. Posibles tendederos o similares deben mantenerse a una distancia adecuada del producto. Peligro de incendio y daños al revestimiento.
Cualquier responsabilidad por un uso inadequado del producto recae en su totalidad en el usuario, declinando el fabricanteequalquier responsabilidad civil y penal.
Cualquier tipo de manipulacion o sustitucion no autoriza de piezas no originales del producto可以更好 resultar peligrosa para la integridad del operario, declinando la Empresa toda responsabilitad civil y penal.
Gran parte de las superficies del producto está muy calientes (puerta, manilla, cristal, tubos de salute de humos, etc.). Asípus, debe evitarseentar en contacto con estas partes sin indumentaria de protección o medios adecuados, como por exemple guantes de protección térmica. - Queda prohibido poder en functionamento el producto con la puerta abierta o el cristal roto.
- El producto debe connectarse el Electricamente a una instalacion provista de un systema de tierra eficaz.
- Apague el producto en caso de avería o mal funciona.
No lave el producto con agua. El agua podra penetrar en el interior del aparato y dañar el aislamento electrico, provocando descargas electricas.
Las instalaciones que no cumplen las normas vigentes anularan la garantia del producto, asi como el uso inadequado y la falta de mantenimiento según lo previsto por el fabricante.
Figure 1 Picture 1 Abbildung 1 Figure 1 Figura 1

1

2

3

4
| 1* | Canna fumaria in acciaio con doppiia camera isolata con materiale resistente a 400°C. Efficienza 100% ottima. Steel flue with double chamber insulated with material resistant to 400°C. Efficiency 100% excellent. Schornsteinrohr aus Stahl mit doppelter mit 400°C beständigem Material verkleideter Kammer. Wirkungsgrad 100 % ausgezeichnet. Conduit de fumée en acier avec double chamble isolée avec matériel résistant à 400°C. Efficience 100% excellent. Conducto de salute de humos de acero con doble-cameraaislada con material resistente a 400 °C. Eficiencia 100% optima. |
| 2* | Canna fumaria in refrattario con doppiia camera isolata e rivestimento esterno in calcestruzzo alleggerito. Efficienza 100% ottima. Refractory flue with double insulated chamber and external coating in lightweight concrete. Efficiency 100% excellent. Schornsteinrohr aus feuerfestem Material mit doppelter isolierter Kammer und Außenverkleidung aus Halbdichtbeton. Wirkungsgrad 100 % ausgezeichnet. Conduit de fumée en réfractaire avec double chamble isolée et revêtement externe en béton allégé. Efficience 100% excellent. Conducto de salute de humos de refractario con doble-cameraaislada y revestimiento exterior de hormigon alivianado. Eficiencia 100% optima. |
| 3* | Canna fumaria tradizionale in argilla sezione quadrata con intercapedini. Efficienza 80% buona. Traditional clay flue square section with cavities. Efficiency 80% good. Traditionelles Schornsteinrohr aus Ton - viereckiger Querschnitt mit Spalten. Wirkungsgrad 80 % gut. Conduit de fumée traditionnel en argile section carrée avec séparations. Efficience 80%arbonate. Conducto de salute de humos tradicional de arcilla de sección cuadrada con crujas. Eficiencia 80% buena. |
| 4 | Evitare canne fumarie consezione rettangolare interna il cui rapporto sa diverso dal disegno. Efficienza 40% mediocre. Avoid flues with rectangular internal section whose ratio differs from the drawing. Efficiency 40% poor. Schornsteinrohr mit rechteckigem Innenquerschnitt sind zu vermeiden, dessen Verhältnis von der Zeichnung abweicht. Wirkungsgrad 40% Éviter conduits de cheminée avec section rectangulaire interne dont le rapport soit différent du dessin. Efficience 40% mediocre. No utilizes conductos de salute de humos con sección rectangulare interior cuya relacion sea Differente de la del dibujo. Eficiencia 40% mediocre. |
-
- Materiale conforme alle Norme e Regolamentazioni attuali ed a quanto previsto alla Legge.
- Material comply with all current Standards and Regulations and to those envisioned by the Law.
- Material sämtlichen geltenden und vom Gesetz vorgesehenen Normen und Vorschriften entsprechen.
- Matériau conforme à toutes les Normes et aux Réglementations actuelles prévues par la Loi.
- Material cumplir con las normas y replamentos vigilentes y con todas las disponeciones existables por la ley.
Figure 2 Picture 2 Abbildung 2 Figure 2 Figura 2

1

2

3


4
| 1 | Comignolo industriale ad elementi prefabbricati, consente un ottimo smaltimento dei fumi. Industrial chimney cap with pre-fabricated elements – it allows an excellent discharge of the smokes. Industrialschornstein mit Fertigieleelemente - er gestattet eine ausgezeichnete Abgasentsorgung. Tête de cheminée industrielle à éléments préfabriqués, elle permet une excellente évacuation des fumées. Sombrerete industrial de éléments préfabricados, permite una optima eliminación de los humos. |
| 2 | Comignolo artigianale. La giusta sezione di uscita deve essere minimo 2 volte la sezione interna della canna fumaria, ideale 2,5 volte. Handicraft chimney cap. The right output section must be at least twice as big as the internal section of the flue (ideal value: 2.5 times). Handwerklicher Schornstein. Der richtige Ausgangsquerschnitt muss mindestens 2 Male des Innenquerschnittes des Schornsteinrohrs betragen, idealäre: 2,5 Male. Tête de cheminéeartisanale. La juste section de sortie doit être minimum 2 fois la section interne du conduit de fumée, idéal 2,5 fois. Sombrerete artesanal. La sección correcta de salute debe ser como miniimo 2 vezes la sección interior del conduit de salute de humos, idéal 2,5 vezes. |
| 3 | Comignolo per canna fumaria in acciaio con cono interno deflettore dei fumi. Chimney cap for steel flue with internal cone deflector of smokes. Schornstein für Schornsteinrohr aus Stahl mit einer Kegelförmigen Rauchumlenkplatte. Tête de cheminée pour conduit de fumée en acier avec cône interne déflecteur des fumées. Sombrerete para conducto de salute de humos de acero con cono interno deflector de humos. |
| 4 | In caso di canne fumarie affancate un comignolo dovrà sobrastare l'alto d'almeno 50 cm al fine d'évitare trasferimenti di pressione tra le canne stesse. In case of flues side by side, a chimney cap must be higher than the other one of at least 50 cm in order to avoid pressure transfers between the flues themselves. Im Falle von naheliegenden Schornsteinrohren muss ein Schornstein den anderen um mindestens 50cm übbragen, um Druckübertragungen unter den Schornsteinrohren selbst zu vermeiden. En cas de conduits de cheminée à côté, une tête de cheminée devra surmonter l'autre d'au moins 50 cm dans le but d'éviter transferts de pression parmi les conduits mêmes. Em caso de conduits de evacuation de fumos paralelas, um dos cones de chaminé deve ser instalado em uma posção mais elevada (50 cm, pelo menos,) para impeder a transference de pressão entre asproprias conduitas. |

Figura 3
Picture 3
Abbildung 3
Figure 3
Figura 3
5
Las imagenes sirven solo como ejemplo ilustrativo.
5
El sombrero e no debe enarobstaculos en un radio de 10 m de muros, faldones y arboles. De lo contrario elvelo por lo menos de 1 metro por encima del obstaculo. El sombrero de be superar la cumbrera del techo de por lo menos 1 m.
| COMIGNOLI DISTANZE E POSIZIONAMENTO UNI 10683 CHIMNEY CAPS - DISTANCES AND POSITIONING UNI 10683 SCHORNSTEINE ABSTÄNDE UND STELLUNG UNI 10683 TETES DE CHEMINEE ET POSITIONNEMENT UNI 10683 SOMBRERETES DISTANCIAS Y UBICACION UNI 10683 | |
| Inclinazione del fatto Inclination of the roof Dachneigung Inclinaison du toit Inclinación del techo | a >10° |



Figura 4
Picture 4
Abbildung 4
Figure 4
Figura 4


A

B
| cm | A1 | A2 | A3 | B1 | B2 | C1 | C2 | C3 | C4 | C5 | D1 | D2 |
| TEA | 100 | 30 | 20 | 50 | 30 | - | - | - | - | - | - | - |
Todas las distacias minimas de seguidad (cm) se muestran en la plac tcnica del producto y NO deben ser empleadas medidas inferiores a estas (vease DECLARACION DE PRESTACION).
Las imagenes sirven solo como ejemplo ilustrativo.
| A | Chiusura ermetica | Hermetic closure | Hermetischer Verschluss | Fermeture hermetique | Cierre hermético |
| B | Acciaio Inox | Stainless steel | Stainless steel | Acier Inox | Acero inoxidable |
| C | Tamponamento | Plugging | Abdichtung | Tamponnement | Tampón |
| D | Sportello di ispezione | Inspection hatch | Inspektionsklappe | Porte inspection | Portezuela de inspeccion |

Figura 5
Picture 5
Abbildung 5
Figure 5
Figura 5

Figura 6
Picture 6
Abbildung 6
Figure 6
Figura 6
Figura 7
Picture 7
Abbildung 7
Figure 7

Figura 7
MODULO DI ACCENSIONE
FIRE STARTER MODULE
ANFEUERMODUL
MODE D'ALLUMAGE
MÓDULO DE ENCENDIDO



Figura 8
Picture 8
Abbildung 8
Figure 8
Figura 8
CASSETTO RACCOLTA CENERE
DRAWERCOLLECTIONASHES
ASCHENKASTEN
TIROIR DES CENDRES
CENICERO

Figura 9
Picture 9
Abbildung 9
Figure 9
Figura 9
DEFLETTORE FUMO
SMOKE DEFLECTOR
RAUCHUMLENKPLATTE
DEFLECTEUR FUMEE
DEFLECTOR DE HUMOS
PARA CONOCER EL CENTRO DE ASISTENCIA MÁS CERCANO CONTACTAR A SU REVENDEDOR O CONSULTAR EL SITIO WWW.LANORDICA-EXTRAFLAME.COM
IL FABBRICANTE SI RIServa DI VARIARE LE CARATTERISTICHE I DATI RIPORTATE NEL PRESENTE FASCICOLO IN QUALUNQUE MOMENTO E SENZA PREAVVISO, AL FINE DI MIGLIORARE I PROPRI PRODOTTI.
QUESTO MANUALE, PERTANTO, NON PUÖ ESSERE CONSIDERATO COME UN CONTRATTO NEI CONFRONTI DI TERZI.
ManualFácil