PES6061E - Cooker PROGRESS - Free user manual and instructions
Find the device manual for free PES6061E PROGRESS in PDF.
Questions des utilisateurs sur PES6061E PROGRESS
0 question sur cet appareil. Repondez a celles que vous connaissez ou posez la votre.
Poser une nouvelle question sur cet appareil
Download the instructions for your Cooker in PDF format for free! Find your manual PES6061E - PROGRESS and take your electronic device back in hand. On this page are published all the documents necessary for the use of your device. PES6061E by PROGRESS.
USER MANUAL PES6061E PROGRESS
Get usage advice, brochures, trouble shooter, service and repair information:
Subject to change without notice.
1. ⚠SAFETY INFORMATION
Before the installation and use of the appliance, carefully read the supplied instructions. The manufacturer is not responsible for any injuries or damages that are the result of incorrect installation or usage. Always keep the instructions in a safe and accessible location for future reference.
1.1 Children and vulnerable people safety
- This appliance can be used by children aged from 8 years and above and persons with reduced physical, sensory or mental capabilities or lack of experience and knowledge if they have been given supervision or instruction concerning the use of the appliance in a safe way and understand the hazards involved.
- Do not let children play with the appliance.
- Keep all packaging away from children and dispose of it appropriately.
- Keep children and pets away from the appliance when it operates or when it cools down. Accessible parts are hot.
2 ENGLISH
- If the appliance has a child safety device, this should be activated.
- Children shall not carry out cleaning and user maintenance of the appliance without supervision.
- Children aged 3 years and under must be kept away from this appliance when it is in operation at all times.
1.2 General Safety
- WARNING: The appliance and its accessible parts become hot during use. Care should be taken to avoid touching heating elements. Children less than 8 years of age shall be kept away unless continuously supervised.
- Do not operate the appliance by means of an external timer or separate remote-control system.
- WARNING: Unattended cooking on a hob with fat or oil can be dangerous and may result in fire.
- NEVER try to extinguish a fire with water, but switch off the appliance and then cover flame e.g. with a lid or a fire blanket.
- CAUTION: The cooking process has to be supervised. A short term cooking process has to be supervised continuously.
- WARNING: Danger of fire: Do not store items on the cooking surfaces.
- Metallic objects such as knives, forks, spoons and lids should not be placed on the hob surface since they can get hot.
- Do not use a steam cleaner to clean the appliance.
- If the glass ceramic surface / glass surface is cracked, switch off the appliance and unplug it from the mains. In case the appliance is connected to the mains directly using junction box, remove the fuse to disconnect the appliance from power supply. In either case contact the Authorised Service Centre.
- If the supply cord is damaged, it must be replaced by the manufacturer, an authorized Service or similarly qualified persons in order to avoid a hazard.
- WARNING: Use only hob guards designed by the manufacturer of the cooking appliance or indicated by the manufacturer of the appliance in the instructions for use as suitable or hob guards incorporated in the appliance. The use of inappropriate guards can cause accidents.
2. SAFETY INSTRUCTIONS
2.1 Installation

WARNING!
Only a qualified person must install this appliance.

WARNING!
Risk of injury or damage to the appliance.
- Remove all the packaging.
- Do not install or use a damaged appliance.
- Follow the installation instructions supplied with the appliance.
- Keep the minimum distance from other appliances and units.
• Always take care when moving the appliance as it is heavy. Always use safety gloves and enclosed footwear. - Seal the cut surfaces with a sealant to prevent moisture to cause swelling.
- Protect the bottom of the appliance from steam and moisture.
- Do not install the appliance adjacent to a door or under a window. This prevents hot cookware falling from the appliance when the door or the window is opened.
- If the appliance is installed above drawers make sure that the space, between the bottom of the appliance and the upper drawer, is sufficient for air circulation.
- The bottom of the appliance can get hot. Make sure to install a separation panel made from plywood, kitchen carcass material or other non-flammable materials under the appliance to prevent access to the bottom.
2.2 Electrical Connection

WARNING!
Risk of fire and electric shock.
- All electrical connections should be made by a qualified electrician.
• The appliance must be earthed. - Before connecting the hob to an oven and before every wiring make sure the main terminals of both appliances are not live.
- Make sure that the parameters on the rating plate are compatible with the electrical ratings of the mains power supply.
- Make sure the appliance is installed correctly. Loose and incorrect electricity mains cable or plug (if applicable) can make the terminal become too hot.
- Use the correct electricity mains cable.
- Do not let the electricity mains cable tangle.
- Make sure that a shock protection is installed.
- Use the strain relief clamp on the cable.
- Make sure the mains cable or plug (if applicable) does not touch the hot appliance or hot cookware, when you connect the appliance to the near sockets.
- Do not use multi-plug adapters and extension cables.
- Make sure not to cause damage to the mains plug (if applicable) or to the mains cable. Contact our Authorised Service Centre or an electrician to change a damaged mains cable.
- The shock protection of live and insulated parts must be fastened in such a way that it cannot be removed without tools.
-
Connect the mains plug to the mains socket only at the end of the installation. Make sure that there is access to the mains plug after the installation.
-
If the mains socket is loose, do not connect the mains plug.
- Do not pull the mains cable to disconnect the appliance. Always pull the mains plug.
- Use only correct isolation devices: line protecting cut-outs, fuses (screw type fuses removed from the holder), earth leakage trips and contactors.
- The electrical installation must have an isolation device which lets you disconnect the appliance from the mains at all poles. The isolation device must have a contact opening width of minimum 3 mm.
2.3 Use

WARNING!
Risk of injury, burns and electric shock.
- Remove all the packaging, labelling and protective film (if applicable) before first use.
- Use this appliance in a household environment.
- Do not change the specification of this appliance.
- Make sure that the ventilation openings are not blocked.
- Do not let the appliance stay unattended during operation.
- Set the cooking zone to "off" after each use.
- Do not put cutlery or saucepan lids on the cooking zones. They can become hot.
- Do not operate the appliance with wet hands or when it has contact with water.
- Do not use the appliance as a work surface or as a storage surface.
- If the surface of the appliance is cracked, disconnect immediately the appliance from the power supply. This to prevent an electrical shock.
- When you place food into hot oil, it may splash.

WARNING!
Risk of fire and explosion
- Fats and oil when heated can release flammable vapours. Keep flames or heated objects away from fats and oils when you cook with them.
- The vapours that very hot oil releases can cause spontaneous combustion.
• Used oil, that can contain food remnants, can cause fire at a lower temperature than oil used for the first time.
- Do not put flammable products or items that are wet with flammable products in, near or on the appliance.

WARNING!
Risk of damage to the appliance.
- Do not keep hot cookware on the control panel.
- Do not put a hot pan cover on the glass surface of the hob.
- Do not let cookware to boil dry.
- Be careful not to let objects or cookware fall on the appliance. The surface can be damaged.
- Do not activate the cooking zones with empty cookware or without cookware.
- Do not put aluminium foil on the appliance.
- Cookware made of cast iron, aluminium or with a damaged bottom can cause scratches on the glass / glass ceramic. Always lift these objects up when you have to move them on the cooking surface.
- This appliance is for cooking purposes only. It must not be used for other purposes, for example room heating.
2.4 Care and cleaning
- Clean the appliance regularly to prevent the deterioration of the surface material.
- Deactivate the appliance and let it cool down before you clean it.
- Disconnect the appliance from the electrical supply before maintenance.
- Do not use water spray and steam to clean the appliance.
- Clean the appliance with a moist soft cloth. Only use neutral detergents. Do not use any abrasive products, abrasive cleaning pads, solvents or metal objects.
2.5 Service
• To repair the appliance contact the Authorised Service Centre. Use original spare parts only.
- Concerning the lamp(s) inside this product and spare part lamps sold separately: These lamps are intended to withstand extreme physical conditions in household appliances, such as temperature,
vibration, humidity, or are intended to signal information about the operational status of the appliance. They are not intended to be used in other applications and are not suitable for household room illumination.
2.6 Disposal

WARNING!
Risk of injury or suffocation.
- Contact your municipal authority for information on how to discard the appliance correctly.
- Disconnect the appliance from the mains supply.
- Cut off the mains electrical cable close to the appliance and dispose of it.
3. INSTALLATION

WARNING!
Refer to Safety chapters.
3.1 Hob and oven connection type
This appliance has an orange 1x14 pole connector and can be connected to an oven with an orange 1x14 pole connector.
3.2 Before the installation
Before you install the hob, write down the information bellow from the rating plate. The rating plate is on the bottom of the hob.
3.4 Assembly

Only use the built-in hobs after you assemble the hob into correct built-in units and work surfaces that align to the standards.

text_image
R 5mm min. 55mm 490+1mm 560+1mm
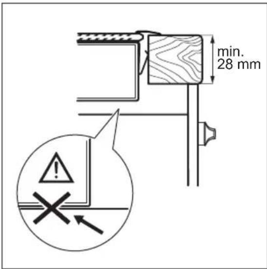
text_image
min. 28 mm !4. PRODUCT DESCRIPTION
4.1 Cooking surface layout

text_image
145 mm 265 mm 170 mm 120/210 mm 180 mm 1 2 11 Cooking zone
2 Residual heat indicator
4.2 Residual heat indicator

WARNING!
There is a risk of burns from residual heat.
The indicator comes on when a cooking zone is hot.
5. DAILY USE

WARNING!
Refer to Safety chapters.
5.1 Operating the hob
You operate the hob with the knobs of the oven. The "Daily use" chapter for the oven tells how to operate the hob.
6. HINTS AND TIPS

WARNING!
Refer to Safety chapters.
6.1 Cookware

The bottom of the cookware must be thick and flat as possible.

Cookware made of enamelled steel and with aluminium or copper bottoms in cause the colour change on the ss-ceramic surface.
7. CARE AND CLEANING

WARNING!
Refer to Safety chapters.
7.1 General information
- Clean the hob after each use.
• Always use cookware with clean bottom. - Scratches or dark stains on the surface have no effect on how the hob operates.
- Use a special cleaner applicable for the surface of the hob.
- Use a special scraper for the glass.
7.2 Cleaning the hob
- Remove immediately: melted plastic, plastic foil, sugar and food with sugar. If
not, the dirt can cause damage to the hob. Take care to avoid burns. Put the special scraper on the glass surface at an acute angle and move the blade on the surface.
- Remove when the hob is sufficiently cool: limescale rings, water rings, fat stains, shiny metallic discoloration. Clean the hob with a moist cloth and non-abrasive detergent. After cleaning, wipe the hob dry with a soft cloth.
- Remove shiny metallic discoloration: use a solution of water with vinegar and clean the glass surface with a moist cloth.
8. TROUBLESHOOTING

WARNING!
Refer to Safety chapters.
8.1 What to do if...
Problem Possible cause Remedy
| You cannot activate or operate the hob. |
| The fuse is blown. Make sure that the fuse is the |
cause of the malfunction. If the fuse is blown again and again, contact a qualified electrician.
Problem Possible cause Remedy
| Residual heat indicator does not come on. | The zone is not hot because it operated only for a short time or the sensor is damaged. | If the zone operated sufficiently long to be hot, speak to an Authorised Service Centre. |

There is a dark area on
the multiple zone.
It is normal that there is a dark area on the multiple zone.
8.2 If you cannot find a solution...
If you cannot find a solution to the problem yourself, contact your dealer or an Authorised Service Centre. Give the data from the rating plate. Make sure, you operated the hob correctly. If not the servicing by a service
technician or dealer will not be free of charge, also during the warranty period. The instructions about the Service Centre and conditions of guarantee are in the guarantee booklet.
9. TECHNICAL DATA
9.1 Rating plate
Model PES6061E PNC 949 594 403 02
Typ 60 AAD 65 ZO 220 - 240 V 50 - 60 Hz
Made in Germany
Ser.Nr. 7.6 kW
PROGRESS

9.2 Cooking zones specification
| Cooking zone | Nominal Power (Max heat setting) [W] | Cooking zone diameter [mm] |
| Left front 750 / 2200 120 / 210 | ||
| Left rear 1200 145 | ||
| Right front 1800 180 | ||
| Right rear 1500 / 2400 170 / 265 | ||
For optimal cooking results use cookware not larger than the diameter of the cooking zone.
10. ENERGY EFFICIENCY
10.1 Product information according to EU 66/2014
Model identification PES6061E
Type of hob Built-In Hob
| Number of cooking zones 4 | ||
| Heating technology Radiant Heater | ||
| Diameter of circular cooking zones (∅) | Left front | 21.0 cm |
| Left rear | 14.5 cm | |
| Right front | 18.0 cm | |
| Lenght (L) and width (W) of non circular cooking zone | Right rear L 26.5 cm | W 17.0 cm |
| Energy consumption per cooking zone (EC electric cooking) | Left front | 185.8 Wh / kg |
| Left rear | 185.8 Wh / kg | |
| Right front | 191.2 Wh / kg | |
| Right rear | 191.2 Wh / kg | |
| Energy consumption of the hob (EC electric hob) | 188.5 Wh / kg | |
EN 60350-2 - Household electric cooking appliances - Part 2: Hobs - Methods for measuring performance
10.2 Energy saving
You can save energy during everyday cooking if you follow below hints.
- When you heat up water, use only the amount you need.
-
If it is possible, always put the lids on the cookware.
-
Before you activate the cooking zone put the cookware on it.
- The cookware bottom should have the same diameter as the cooking zone.
- Put the smaller cookware on the smaller cooking zones.
- Put the cookware directly in the centre of the cooking zone.
- Use the residual heat to keep the food warm or to melt it.
11. ENVIRONMENTAL CONCERNS
Recycle materials with the symbol Put the packaging in relevant containers to recycle it. Help protect the environment and human health by recycling waste of electrical and electronic appliances. Do not dispose of
appliances marked with the symbol ☒ with the household waste. Return the product to your local recycling facility or contact your municipal office.
VISITEZ NOTRE SITE WEB POUR :

EasyManual