MODERN CEL 110 DUAL FUEL - Kitchen FALCON - Free user manual and instructions
Find the device manual for free MODERN CEL 110 DUAL FUEL FALCON in PDF.
User questions about MODERN CEL 110 DUAL FUEL FALCON
0 question about this device. Answer the ones you know or ask your own.
Ask a new question about this device
Download the instructions for your Kitchen in PDF format for free! Find your manual MODERN CEL 110 DUAL FUEL - FALCON and take your electronic device back in hand. On this page are published all the documents necessary for the use of your device. MODERN CEL 110 DUAL FUEL by FALCON.
USER MANUAL MODERN CEL 110 DUAL FUEL FALCON
PROFESSIONAL 110 Dual Fuel
&
Falcon 110 Dual Fuel
Users Guide and Installation Instructions
U1 238 01
2 Minute Tour
The hotplate burners
The griddle
The Warmer
The grill
The Ovens
The Handyrack
The Browning Element
Cooking using the timer
The clock
Oven cooking guide Page 12
Cleaning your cooker
Moving your cooker
Troubleshooting Page 18
Troubleshooting Page 19
General Safety Instructions
Service and spares
Installation
Servicing Notes
Conversion to another gas
Technical Data
2 Minute Tour
Be safe
You need clean fresh air - so does your cooker. Burner flames produce exhaust gases, heat and moisture. Make sure that the kitchen is well ventilated: keep natural ventilation holes open or install a powered cooker hood that vents outside. If you have several burners on or use the cooker for a long time, open a window or turn on an extractor fan. For more detail see the Installation Instructions. We recommend you read pages 19 & 20 if you have not used a gas cooker before. We describe some basic guidelines on how to use a gas cooker safely.
Gas and Electricity on
Make sure that the gas supply is turned on and that the cooker is wired in and switched on. The cooker needs electricity.
Peculiar smells
When you first use your cooker it may give off a slight odour. This should stop after a little use.
HOTPLATE BURNERS More about the burners on page 8

1 The drawing by each knob indicates which burner that knob controls. Push in and turn a knob to the large flame symbol (A) and press the igniter button or light with a match.

Adjust the flame height to suit by turning the knob. On this cooker the low position is beyond high, not between high and off. The small flame marks the 'low position'. Turn the knob towards it after the contents of a pan have boiled.

Make sure flames are under the pans. Using a lid will help the contents boil more quickly.
Pans and kettles with concave bases or down turned base rims should not be used.

3 Simmering aids, such as asbestos or mesh mats, are NOT recommended. They will reduce burner performance and could damage the pan supports.

Avoid using unstable and misshapen pans that may tilt easily and pans with a very small base diameter e.g. milk pans, single egg poachers. The minimum pan diameter recommended is 120mm.

5 The Wok burner is designed to provide even heat over a large area. It is ideal for large pans and stir frying. For heating smaller pans the smaller burners may be more efficient.
2 Minute Tour continues over the page…
Australia
GRIDDLE More about the griddle on page 8

1 The griddle fits a single pan support, front to back. It is designed for cooking food on directly. Don't use pans of any kind on it. The griddle surface is non-stick and metal cooking utensils (e.g. spatulas) will damage the surface. Use heat resistant plastic or wooden utensils.

Don't put it crossways - it will not fit properly and will be unstable.
Don't put it on the Wok burner - it is not designed to fit the Wok burner pan support.

3 Position the griddle over the hotplate burners resting on the pan support. The griddle can be lightly brushed with cooking oil before use. Light the hotplate burners. Adjust the flame heights to suit.

4 Preheat the griddle for a maximum of 5 minutes before adding food. Leaving it longer may cause damage. The controls can be turned to a lower position simply by turning the control knobs towards the lower position marked with the small flame symbol.

Always leave space around the griddle for the gases to escape. Never fit two griddles side by side. Large pans should also be spaced well apart. The maximum pan base diameter is 250mm .
GRILL More about the grill on page 8
CAUTION: Accessible parts may be hot when the grill is in use. Young children should be kept away.

1 Remove the pan from the bottom of the grill compartment.

After placing your food on the grill tray pan, slide the grill pan onto the side supports just below the elements. Make sure it is pushed right in and touches the backstop.

The grill has two elements that allow either the whole area of the pan to be heated or only the right hand half of the grill pan to be heated.
Turn the knob to position 3.

4 For best results preheat for 2 minutes with the grill pan in position. After placing your food on the grill pan grid, slide the grill pan onto the side supports. Adjust the grill heat to suit by turning the knob.

5 The grill pan grid can be turned over to give two grilling positions.
Make sure it is pushed right in and touches the back stop.
Never close the grill door when the grill is on.
2 Minute Tour continues over the page…
Australia
THE OVENS More about the oven on page 9

1 Turn the oven knob to the temperature you need.

The oven indicator light will glow until the oven has reached the temperature you selected. It will then cycle on and off during cooking.

3 When cooking foods with high water content (e.g. oven chips) there may be some steam visible at the grille at the rear of the hotplate. This is perfectly normal
THE LEFT HAND OVEN

4 The left hand conventional oven is fitted with two heating elements, one visible in the top of the oven and the second under the oven base.
Be careful to avoid touching the top element and element deflector when placing or removing items from the oven.
The fan in the right hand oven circulates hot air continuously which means faster more even cooking.
The recommended cooking temperatures for a fanned oven are generally lower than a non-fanned oven.

The fan only setting. The fan circulates air inside the oven but the heating element is not turned on. This setting is useful for defrosting frozen foods.
Whole chickens and large joints of meat should be defrosted in the refrigerator. Do not defrost in a warm oven or whilst the adjoining oven is hot.
The Timer Clock
More about the clock on page 11

You can use the timer to turn the main oven on and off. Check clock is set to time of day.
To set the time of day

Press and hold as above. At the same time, press (-) or (+) until the correct time shows. Don't forget it's a 24 hour clock. If you make a mistake or press the wrong button, turn off the power supply for a minute or two and start again.
Handyrack
More about the Handyrack on page 9.

The Handyrack fits to the left hand oven door only and should only be used with the supplied meat tin; any other vessel could be unstable.
Food cooking on it is easy to attend to, because it's accessible when the door is open. It can be fitted at two different heights. One of the oven shelves must be removed and the other positioned to suit.
To fit the Handyrack, locate one side of it on the door bracket.

Then spring the other side out to clip it onto the other bracket.
Oven light



Press the appropriate button to turn on one of the oven lights.
Warning - if one of the oven lights fail, turn off the power supply before you change the bulb to avoid the possibility of electric shock. See the 'Troubleshooting' section for details on how to change an oven light bulb.
Warmer

Use the warmer for keeping food warm while the final touches are put to a meal. Turn the control knob anticlockwise to the on position. The 'HOT' indicator lights up. For best results, pre-heat a covered serving dish for 10 minutes before adding food to it.

Storage

The bottom drawer is for storing oven trays and other cooking utensils. It can get very warm, don't store anything in it which may melt or catch fire. The drawer can be removed completely by pulling it right out and up.
Australia
The hotplate burners
You should read 'hotplate burners' in the '2 Minute Tour' before all the following information
If a burner flame goes out, turn the control knob off and leave it for one minute before relighting it.
You can remove the burner parts for cleaning, see page 14.
You should wipe the enamel top surface of the cooker around the hotplate burners as soon as possible after spills occur. Try to wipe them off while the enamel is still warm.
Avoid using unstable and misshapen pans that may tilt easily and pans with a very small base diameter e.g. milk pans, single egg poachers.
The minimum pan diameter recommended is 120mm. Smaller pans will be unstable.
Pans and kettles with down turned base rims should not be used.
The griddle
You should read 'griddle' in the 2 Minute Tour before all the following information

Use the following heat settings as a guide for griddle cooking.
High/medium: Drop scones, Bacon, Chops, Steak, Burgers.
Medium/low: Potato cakes, Eggs, Fish cakes.
Experience will soon familiarise you with the correct setting to use for cooking.
After cooking allow the griddle to cool before cleaning.
Don't put it on the Wok burner - it is not designed to fit the Wok burner pan support.
The Warmer
The Warmer can be used for keeping food warm while the final touches are put to a meal. For best results preheat a covered serving dish for 10 minutes on the Warmer before adding the food.
Turn the control knob clockwise to the 'On' position. The 'HOT' indication light glows on the Warmer.
CAUTION: If a crack in the Warmer surface becomes visible, due to accidental damage etc., isolate the appliance from the electricity supply immediately by turning it off at the wall and arrange for its repair.
DO NOT RECONNECT THE COOKER TO THE ELECTRICITY SUPPLY UNTIL AFTER REPAIR!
The grill
You should read 'grill' in the 2 Minute Tour before all the following information
Never close the grill door while the grill is on.
Don't leave the grill on for more than a few moments, without the grill pan underneath it.

The grill door has a rest position, just before it is fully open. Use this when you want to open the left hand oven door and use the grill at the same time.
For best results, especially on toast, preheat the grill with the grill pan in the cooking position for two minutes before use.
The grill trivet can be removed and the food placed on it while you are waiting for the grill to preheat.
The grill pan grid can be turned over to give two grilling positions.
You can brown the top of dishes cooked in the oven, under the grill. Remove the grill trivet and place the dish onto the base of the grill pan. Slide the grill pan along the floor of the grill cavity.
The Ovens
You should read 'the ovens' in the '2 Minute Tour' before all the following information.
The two ovens in your cooker are of different types.
- The right hand oven is a fanned oven. The fan circulates hot air continuously which results in faster heat transfer to the food.
- The left hand conventional oven is fitted with two heating elements, one visible in the top of the oven and the second under the oven base. Take care to avoid touching the top element and element deflector when placing or removing items from the oven.
Before using for the first time, heat the ovens to 200^ for 30 minutes to dispel manufacturing odours.
The wire shelves should always be pushed firmly to the back of the oven.
Baking trays meat tins etcetera should be placed level centrally on the oven's wire shelves. Keep all trays and containers away from the sides of the oven, as overbrowning of the food may occur.
For even browning, the maximum recommended size of a baking tray is 320mm by 305mm .
Cooking high moisture content foods can create a 'steam burst', when the oven door is opened. When opening the oven stand well back and allow any steam to disperse.
When the oven is on, don't leave the door open for longer than necessary, otherwise the knobs may get very hot.

- Always leave a 'fingers width' between dishes on the same shelf This allows the heat to circulate freely around them.
- The Cook & Clean oven liners (see Cleaning your cooker) work better when fat splashes are avoided. Cover meat when cooking.

- To reduce fat splashing when you add vegetables to hot fat around a roast, dry them thoroughly or brush lightly with cooking oil.
- Sufficient heat rises out of the oven while cooking to warm plates in the grill compartment.
- If you want to brown the base of a pastry dish, preheat the baking tray for 15 minutes before placing the dish in the centre of the tray.
- Where dishes may boil and spill over during cooking, place them on a baking tray.
The Handyrack
You should read 'the Handyrack' in the '2 Minute Tour' before all the following information
The maximum weight which can be held by the Handyrack is 5.5kg (12lb). It should only be used with the supplied meat tin which is designed to fit the Handyrack. Any other vessel could be unstable.
When the Handyrack is used in its highest position, other dishes can be cooked on the bottom shelf position of the oven.
When the Handyrack is used in its lowest position, other dishes can be cooked on the second shelf position of the oven or standing on the base of the oven.

the shelf guard should be at the back pointing upwards
The oven shelves can be easily removed and refitted.

Pull the shelf forward until the back of the shelf is stopped by the shelf stop bumps in the oven sides

Lift up the front of the shelf so the back of the shelf will pass under the shelf stop and then pull the shelf forward

To refit the shelf, line up the shelf with a groove in the oven side and push the shelf back until the ends hit the shelf stop. Lift up the front so the shelf ends clear the shelf stops, and then lower the front so that the shelf is level and push it fully back.
The Browning Element
The Browning Element is positioned in the top of the left hand oven. It can be used at the end of a normal cooking period to give extra browning to au gratin dishes or give a crisp finish to meat.
After the normal cooking is finished turn the left hand oven thermostat knob clockwise to the browning position, indicated by ( ) on the facia panel.
Only the browning element will operate when the thermostat is turned to this position. The top and base cooking elements will automatically switch off.
Cooking using the timer
The timer can be used to turn just one oven or both on and off automatically. The start and stop time must be the same for both ovens but different cooking temperatures can be set.
If you want to turn one of the ovens on at the same time as the timer is set for automatic cooking, you must wait until the timer has turned on the oven/ ovens first. Then you can adjust either of them manually in the normal way.
You can set the oven to turn on any time over the following 24 hour period
If you want to cook more than one dish, choose dishes which require approximately the same time. However, dishes can be 'slowed down' slightly by using small containers and covering them with aluminium foil, or 'speeded up' slightly by cooking smaller quantities or placing in larger containers.
Very perishable foods such as pork or fish should be avoided if a long delay period is planned, especially in hot weather.
Don't place warm food in the oven.
Don't use an oven already warm.
Don't use if an adjoining oven is warm.
Avoid using wine or beer if there is a delay period, as fermentation may take place.
To avoid curdling, cream should be added to dishes just before serving.
Fresh vegetables which may discolour during a delay period should be coated in melted fat or immersed in a water and lemon juice solution.
Many frozen foods are ideal for delayed cooking and can be placed in the oven while still frozen.
Fruit pies, custard tarts or similar wet mixtures on top of uncooked pastry are only satisfactory if there is a short delay period. Dishes containing leftover cooked meat or poultry should not be cooked automatically if there is a delay period.
Whole poultry must be thoroughly defrosted before placing in the oven.
Check that meat and poultry are fully cooked before serving.
To set the correct time of day.
See the '2 Minute Tour' at the beginning of this guide.
To time something that's cooking (minute minder)
0.00
- +

Press and hold as above. At the same time press (-) or (+) until the time you want to cook for is shown, as below.
0.20

You can check time remaining by pressing , and cancel the beeper by pressing .
To stop automatically
Use when you have started the oven manually.
0.00

Press and hold as above. At the same time press (-) or (+) until your required 'Stop Time' shows. AUTO will show in the display. When your cooking is finished the beeper sounds. TURN THE OVEN KNOB TO 0 FIRST, then press once to stop the beep, press again to return to manual cooking.
To start and stop the oven automatically
Before you set the clock, you must have two numbers clearly in mind.
The 'cook period', which is the period of time you want the oven to cook.
The 'stop time', which is the time of day you want the oven to stop cooking.
You cannot set a start time directly - this is set automatically by setting the cooking period and stop time.
0:20

Press and hold as above. At the same time press (-) or (+) until your required 'cook period' shows.
14:20

Then press and hold as above. At the same time press (-) or (+) until your required 'stop time' shows.
AUTO will show in the display.
Set the oven to the required temperature.
When your cooking is finished the beeper sounds. TURN THE OVEN KNOB TO 0 FIRST, then press once to stop the beep, press again to return to manual cooking.
If you are out, don't worry about the beeper going off, it stops after a while. When you return, TURN THE OVEN KNOB TO 0 FIRST, then press twice, to return to manual cooking.
AUTO is showing, you want to reset to manual cooking.
When cancelling an automatic setting, any cooking time already set must be returned to 0.00 before you can return to manual, by pressing the button.
Oven cooking guide
| Food | LH Convection Oven | RH Fan Oven Temp | Approximate Cooking Time | |
| Temp | Shelf Position | |||
| Fish | ||||
| 190°C | 3 | 180°C | Filletts 15-20mins. Whole 15-20mins. Steaks according to thickness. | |
| ROAST MEATS | ||||
| Beef with bone | 160°C | 2-3 | 150°C | 20-25mins. per 500g + 20-25mins. |
| 200°C | 2-3 | 190°C | 15-20mins. per 500g + 15-20mins. | |
| Beef without bone | 160°C | 2-3 | 150°C | 30-35mins. per 500g + 30-35mins. |
| 200°C | 2-3 | 190°C | 20-25mins. per 500g + 20-25mins. | |
| Lamb | 160°C | 2-3 | 150°C | 30-35mins. per 500g + 30-35mins. |
| 200°C | 2-3 | 190°C | 25-35mins. per 500g + 25-30mins. | |
| Pork | 160°C | 2-3 | 150°C | 35-40mins. per 500g + 35-40mins. |
| 200°C | 2-3 | 190°C | 25-30mins. per 500g + 25-30mins. | |
| Stuffed and rolled - Add approx. 10 mins. per 500g to above cooking times or cook at 200°C for 20mins. then 160°C for remainder. | ||||
Thoroughly thaw frozen joints and poultry before cooking.
| POULTRY | ||||
| Chicken | 160°C | 2-3 | 150°C | 20-25mins. per 500g + 20-25mins. |
| 200°C | 2-3 | 190°C | 15-20mins. per 500g + 15-20mins. | |
| Turkey | 160°C | 1-3 | 150°C | 20-25mins. per 500g + 20-25mins. |
| 200°C | 1-3 | 190°C | 15-20mins. per 500g + 15-20mins. | |
| Stuffed Poultry - Cook at 200°C or at 200°C for 20mins. then 160°C for remainder. Prepacked (fresh or frozen) follow packers cooking times | ||||
| THOROUGHLY THAW FROZEN POULTRY BEFORE COOKING | ||||
| CASSEROLE | 140-150°C | 2-3 | 140°C | 2-4hrs according to recipe. |
| YORKSHIRE PUDDING | 220°C | 4 | 200°C | Large tin 30-35mins. Individual 10-20mins. |
| CAKES | ||||
| Very Rich Fruit | 140°C | 2 | 140°C | 45-50mins. per 500g mixture |
| Rich fruit (180mm) | 150°C | 2 | 145°C | 2½-3hrs. |
| Madeira (180mm) | 160°C | 2 | 150°C | 80-90mins. |
| Queen Cakes | 190°C | 3 & 5 or 3 | 180°C | 15-25mins. |
| Scones | 220°C | 2 & 4 or 3 | 210°C | 10-15mins. |
| Victoria Sandwich | 180°C | 2 & 4 or 3 | 170°C | 20-30mins. |
| PASTRIES | ||||
| Plate Tart | 200°C | 2 & 4 | 190°C | 45-50mins. Interchange after 25mins. |
| Fruit Pie | 200°C | 2 & 4 | 190°C | 35-40mins. |
| Tartlets | 200°C | 4 | 190°C | 15-20mins. according to size. |
| Puff Pastry | 220°C | 2, 3 or 4 | 200°C | 20-40mins. according to size. |
| BREAD | 220°C | 2 & 4 | 200°C | 20-30mins. |
| MERINGUES | 110°C | 3 | 100°C | 2-2¹/₂hrs |
| PUDDINGS | ||||
| Baked Egg Custard | 160°C | 3 | 150°C | 45mins.-1hr. |
| Baked sponge pudding | 190°C | 3 | 180°C | 40-45mins. |
| Milk pudding | 140-150°C | 3 | 150°C | 2-3hrs. |
The oven control settings and cooking times given in the table over the page are intended to be used only as a guide. Individual tastes may require the temperature to be altered to provide a preferred result.
When baking in the right hand fanned oven, use the minimum cooking time shown in the table. Food is cooked at lower temperature in a fan oven than in a conventional oven. When using recipes, reduce the temperature by 10^ and the cooking time by 5-10 minutes. The temperature in the fanned oven does not vary with height in the oven - so you can use any shelf.
Always leave at least one runner space between shelves when 2 tier cooking. Place baking trays, individual cake tins or baking dishes centrally on the oven shelf. For best results pre-heat the oven until the oven indicator light goes out.
Australia
Cleaning your cooker
Essential information
Before thorough cleaning isolate the electricity supply. Remember to switch on the electricity supply before use.
Never use paint solvents, washing soda, caustic cleaners, biological powders, bleach, chlorine based bleach cleaners, coarse abrasives or salt. Don't mix different cleaning products - they may react together with hazardous results. Recommended cleaning materials are shown in the chart below.
If you want to move your cooker for cleaning, see the section called 'Moving your cooker'.
All parts of the cooker can be cleaned with hot soapy water - but take care that no surplus water seeps into the appliance.
| Cream Cleaner Nylon Scourer Aerosols (*VEA) Dishwasher | ||||
| GRILL | ||||
| Grill pan | ✓ | ✓ | ✓ | ✓ |
| Grill pan grid | ✓ | ✓ | ✓ | |
| Grill chamber | ✓ | ✓ | ||
| HOTPLATE | ||||
| Pan supports | ✓ | ✓ | ✓ | ✓ |
| Enamel burner caps | ✓ | ✓ | ✓ | ✓ |
| Burner trim rings | ✓ | |||
| Burner head | ✓ | ✓ | ||
| Hotplate top | ✓ | ✓ | ||
| OVEN | ||||
| Inside oven ÷ | ✓ | ✓ | ✓ | |
| Door surround | ✓ | ✓ | ✓ | |
| Oven shelves | ✓ | ✓ | ✓ | |
| Handyrack | ✓ | ✓ | ✓ | |
‡ Indicates how to clean after the oven linings have been removed. See the oven cleaning section for how to remove the oven linings.
- VEA is the Vitreous Enamel Association. Look for aerosols with the VEA label.
Hotplate burners
Some models have a separate trim ring, which fits on the burner head.
The burner heads and caps can be removed for cleaning. Make sure they are absolutely dry before replacing.
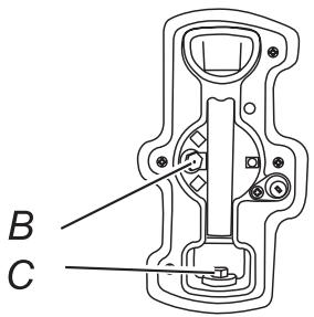
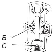
The LH hotplate

A cap, B head, C notch, D base, E electrode
When refitting the burner head, make sure that the notch lines up with the electrode or hole in the base. Check that the burner head is level and that the cap is fitted centrally on the burner head.
The Wok burner
The Wok burner is a little more complicated but it also can be taken apart for cleaning.

Wok burner
A inner burner cap, B outer burner cap
C inner burner head D outer burner head
E Wok burner base
When reassembling the Wok burner, turn over the large base ring and find the 'D' shaped area.

D

burner base
underside of burner head
Turn the head until the 'D' matches the one on the burner base. Turn the head over and place it on the burner base. To fit the small inner burner, find the larger electrode notch in the burner rim. Line this up with the white ignition electrode and place the inner burner on the large base ring.

A electrode notch
B ignition electrode
Now fit the two trim rings, making sure that they are sitting down properly.
Griddle
Always clean the griddle after use. Allow to cool completely before removing. Immerse the griddle plate in hot soapy water. Use a soft cloth or, for stubborn stains, a nylon washing up brush.
NEVER USE CAUSTIC OR ABRASIVE CLEANERS AS THESE WILL DAMAGE THE SURFACE.
Grill
The grill pan and grid should be washed in hot soapy water. After grilling meats or any foods that soil, leave to soak for a few minutes in the sink immediately after use. Stubborn particles may be removed from the grid by using a nylon brush.
Control Panel and Doors
Avoid using any abrasive cleaners including cream cleaners, e.g. Jif, on brushed Stainless Steel surfaces. For best results use a liquid detergent.
The control panel and control knobs should only be cleaned with a soft cloth wrung out in clean hot soapy water - but take care that no surplus water seeps into the appliance. Wipe with a clean dampened cloth then polish with a dry cloth. The oven doors should only be cleaned with a soft cloth wrung out in clean hot soapy water.
Stainless Steel Cookers with window doors If the inside face of the glass on window door model becomes marked, the oven door front panel can be taken off so that the glass panels can be cleaned.
Move the cooker forward to gain access to the sides (see the 'Moving the cooker' section of these instructions).
Open the oven door slightly and remove the front panel fixing screws from the door sides (two each side).

stainless steel window doors only
Carefully lift off the outer door panel. The inside face of the glass panels can now be cleaned - take care not to disturb or wet the door insulation. Please note that the door is triple glazed but the inner two panels are fixed and should not be separated. After cleaning carefully refit the outer door panel and replace the side fixing screws.
Australia
The Ovens
The ovens have a removable panels which have been coated with a special enamel that partly cleans itself. This does not stop all marks on the lining, but helps to reduce the amount of manual cleaning needed.
The Cook & Clean panels work better above 200^ . If you do most of your cooking below this temperature, occasionally remove the panels and wipe with a lint free cloth and hot soapy water. The panels should then be dried and replaced and the oven heated at 200^ for about one hour. This will ensure the Cook & Clean panels are working effectively.
Don't use steel wool (Brillo) or any other materials which will scratch the surface. Don't use oven cleaning pads.
Removing the Oven Linings
Some of the lining panels can be removed for cleaning and for cleaning behind. Remove the shelves first.
The right hand fanned oven has a removable oven roof - slide the roof liner forward and remove.

The side panels of either oven can be removed. Each side of the oven is fixed with four fixing screws. You don't have to remove the screws to remove the oven linings. Lift each side panel upwards and they will slide off the screws. Then pull them forwards.

Once the linings are removed, the oven enamel interior can be cleaned.
When replacing the linings fit the side linings first.
Make sure you fit the oven roof with the slot at the front.
Moving your cooker
Switch off the electricity supply.
The cooker is heavy, two people may be required to move it. The cooker is fitted with one roller at the front and two at the back. There are also two screw down levelling feet at the front.
The front roller, designed for moving the cooker can be wound down. The levelling tool which controls this roller is in the storage drawer compartment.
Remove the storage drawer (by pulling it right out and lifting it up slightly) and you should see the levelling tool.

Your installer may not have left the levelling tool in place. If not, locate it as shown. If you cannot find the levelling tool, contact your installer. See the inside front cover of your INSTALLATION GUIDE.

Turn the levelling tool clockwise, two full (180^) turns. It will be stiff. The front of the oven will rise slightly as the roller drops down.

Open the grill door and right hand oven door so that you can get a good grip on the bottom of the fascia panel as you move the oven.
Do not move the oven by pulling the hand rail, door handles or knobs.
Move the oven a bit at a time, checking behind it to make sure the gas hose is not caught. Make sure both electricity and gas cables have sufficient slack to move the cooker forward as you go along.

A restraining chain should have been fitted by your installer. This is intended to prevent stressing the connection hose and will limit the amount the cooker can move forward.
When you replace the cooker, wind it down off the rollers by turning the levelling tool anticlockwise. This is important. It will stop the cooker moving accidentally, while in use.
Steam is coming from the oven
When cooking foods with a high water content (e.g. oven chips) there may be some steam visible at the rear grille. Take care when opening the oven door as there may be a momentary puff of steam when the oven door is opened. Stand well back and allow any steam to disperse.
The oven fan is noisy
The note of the oven fan may change as the oven heats up - this is perfectly normal.
What cleaning materials are recommended for the cooker?
See the 'Cleaning' section of the Easy Guide for a full list of recommended cleaning materials. We do not recommend Mr. Muscle, as it contains chemicals that may damage the surfaces of your cooker.
The knobs get hot when I use the oven or the grill, can I avoid this?
Yes, this is caused by heat rising from the oven or the grill, and heating them up. Don't leave the oven door open. Make sure that the grill pan is pushed right back to the 'back stop' when grilling.
If there is an installation problem and I don't get my original installer to come back to fix it who pays?
You do. Service organisations will charge for their call outs if they are correcting work carried out by your original installer. It's in your interest to track down your original installer.
Current Operated Earth Leakage Breakers
Where the cooker installation is protected by a 30 milliamp sensitivity residual current device (RCD), the combined use of your cooker and other domestic appliances may occasionally cause nuisance tripping. In these instances the cooker circuit may need to be protected by fitting 100mA device. This work should be carried out by a qualified electrician.
Food is cooking too slowly, too quickly, or burning
Cooking times may differ from your previous oven. Check that you are using the recommended temperatures and shelf positions. See page 12. The oven control settings and cooking times are intended to be used only as a guide. Individual tastes may require the temperature to be altered either way, to get the results you want. Try cooking at a higher temperature setting. Is the oven roof in? Is it the right way round? Is it pushed back fully back? Is it resting on the liners?
The oven is not cooking evenly.
Do not use a tin or tray larger than the baking tray we supply (320mm x 305mm).
If you are cooking a large item, be prepared to turn it round during cooking.
If two shelves are used, check that space has been left for the heat to circulate. When the baking tray is put into the oven, make sure it is placed centrally on the shelf.
Check that the door seal is not damaged and that the door catch adjusted so that the door is held firmly against the seal.
NB the seal is intended to have a gap at the bottom of the door
A dish of water when placed on the shelf should be the same depth all over. (For example, if it is deeper at the back, then the back of the cooker should be raised up or the front lowered). If the cooker is not level arrange for your supplier to level it for you.
| Oven not coming on when turned on manually Is the power on? Is the clock illuminated? If not there may be something wrong with the power supply. Is the cooker supply on at the isolator switch? Is the clock flashing 0.00? If so set it to the correct time of day. Has the Timer been set to AUTO by mistake. If AUTO is showing on the clock display, press the 'cook period' button and reduce any set cooking time showing to 0.00, with the (+) and (-) buttons. Press the button twice. If this does not solve the problem contact a service person. | |
| Oven not coming on when automatic cooking Timer set correctly but oven knob left OFF by mistake? | |
| Oven temperature getting hotter as the cooker gets older If turning the knob down has not worked or only worked for a short time then you may need a new thermostat. This should be fitted by a service person. | |
| Grill not cooking properly Are you using the pan and trivet supplied with the cooker? Is the pan being used on the runners, not the floor of the compartment? Is the grill tray pushed fully back to stop? | |
| The oven light is not working The bulb has probably blown. You can buy a replacement bulb (which is not covered under the guarantee) from a good electrical shop. Ask for an Edison screw fitting 15w 230v lamp, FOR OVENS. It must be a special bulb, heat resistant to 300 °C. See the HELP leaflet for spares by mail order. Open the oven door and remove the Handyrack (if fitted) and oven shelves. Turn off the power supply. Unscrew the bulb cover by turning anticlockwise. Unscrew the old bulb. Screw in the new bulb, screw back the bulb cover. Turn on the electricity supply and check that the bulb now lights. | |
| A crack has appeared in the Warmer plate's surface Disconnect the cooker immediately from the power supply and arrange for its repair. Don't use the cooker until after the repair. See the HELP leaflet for how to contact a service person. | |
| Hotplate ignition or hotplate burners faulty Is the power on? Is the clock illuminated? If not there maybe something wrong with the power supply. See 'power supply' section further on. Are the sparker (ignition electrode) or burner slots blocked by debris? Is the burner trim correctly located? Are the burner caps correctly located? See the section entitled 'Cleaning' | |
| Hotplate burners will not light If only one or all the hotplate burners will not light, make sure that the parts have been replaced correctly after wiping or removing for cleaning. Check that there is not a problem with your gas supply. You can do this by making sure that other gas appliances you may have are working. Do the burners spark when you push the button? If not check the power is on - is the clock illuminated? | |
| Power failure In the event of a failure in the electrical supply the hotplate may be lit using a match. |
This appliance must be installed by a Authorised Person in accordance with the installation instructions. The installation must comply with the relevant regulations and also the local gas and electricity supply companies requirements.
If you smell gas
Don't turn electric switches on or off.
Don't smoke
Don't use naked flames
Do turn off the gas at the meter or cylinder
Do open doors and windows to get rid of the gas
Call your gas supplier.
Guidelines in case of Abnormal Operation
The burners flames should be a blueish colour with, at most, a slight yellowish fringe.
If the flame burns with a long white tip you should call an Authorised Gas Service Centre.
DO NOT SPRAY AEROSOLS IN THE VICINITY OF THIS APPLIANCE WHILE IT IS IN OPERATION.
WHERE THIS APPLIANCE IS INSTALLED IN MARINE CRAFT OR IN CARAVANS, IT SHALL NOT BE USED AS A SPACE HEATER.
This appliance is designed for domestic cooking only. Use for any other purpose could invalidate any warranty or liability claim.
The use of a gas cooking appliance results in the production of heat and moisture in the room in which it is installed. Ensure that the kitchen is well ventilated: keep natural ventilation holes open or install a mechanical ventilation device, (mechanical extractor hood).
Prolonged intensive use of the appliance may call for additional ventilation, for example opening a window, or more effective ventilation, for example increasing the level of mechanical ventilation where present.
The cooker should be serviced by a Authorised Person and only approved spare parts used. Have the installer show you the location of the cooker control switch. Mark it for easy reference. Always allow the cooker to cool and then switch off at the mains and before cleaning or carrying out any maintenance work, unless specified otherwise in this guide.
All parts of the cooker become hot with use and will retain heat even after you have stopped cooking.
Take care when touching cooker, to minimize the possibility of burns, always be certain that the controls are in the OFF position and that it is cool before attempting to clean the cooker. Avoid touching heating elements.
Use dry oven gloves when applicable - using damp gloves might result in steam burns when you touch a hot surface. Never operate the cooker with wet hands.
Do not use a towel or other bulky cloth in place of a glove. They might catch fire if they touch a hot surface.
Clean with caution. If a wet sponge or cloth is used to wipe spills on a hot surface, be careful to avoid steam burns. Some cleansers can produce noxious fumes if applied to a hot surface.
Do not use unstable saucepans and position the handles away from the edge of the hotplate.
The appliance is not intended for use by young children or infirm persons without supervision. Babies, toddlers and young children should not be allowed near the cooker at any time. They should never be allowed to sit or stand on any part of the appliance. Teach them not to play with controls or any other part of the cooker.
Never store anything of interest to children in cabinets above a cooker - children climbing on the cooker to reach them could be seriously injured.
Clean only parts listed in this guide.
In the interests of hygiene and safety the cooker should be kept clean at all times as a build up in fats and other food stuff could result in a fire.
Australia
Always keep combustible wall coverings or curtains etc. a safe distance away from your cooker. For more detail see the Installation section of these instructions.
Do not store or use flammable liquids or materials in the vicinity of this appliance. This includes some cleaning solvents and chemicals used in dry cleaning.
Do not use water on grease fires. Never pick up a flaming pan. Turn the controls off. Smother a flaming pan on a surface unit by covering the pan completely with a well fitting lid or baking tray. If available use a multipurpose dry chemical or foam-type fire extinguisher.
Never leave the hotplate unattended at high heat settings. Pans boiling over can cause smoking and greasy spills may catch on fire.
Never wear loose-fitting or hanging clothes while using the appliance. Be careful when reaching for items stored in cabinets over the hotplate. Flammable material could be ignited if brought in contact with a hot surface unit and may cause severe burns.
Take great care when heating fats and oils, as they will ignite if they get too hot.
Use a deep fat thermometer whenever possible to prevent overheating fat beyond the smoking point.
Never leave a chip pan unattended. Always heat fat slowly, and watch as it heats. Deep fry pans should be only one third full of fat. Filling the pan too full of fat can cause spill over when food is added. If you use a combination of oils or fats in frying, stir them together before heating, or as the fats melt.
Foods for frying should be as dry as possible. Frost on frozen foods or moisture on fresh foods can cause hot fat to bubble up and over the sides of the pan. Carefully watch for spills or overheating of foods when frying at high or medium high temperatures. Never try to move a pan of hot fat, especially a deep fat fryer. Wait until the fat is cool.
When the grill is on, do not use the top of the flue (the slot along the back of the cooker) for warming plates, dishes, drying tea towels or softening butter.
When using an electrical appliance near the hotplate, be sure that the cord of the appliance does not come into contact with the hotplate.
If you find a crack in the Warmer surface immediately disconnect the appliance from the supply and arrange for its repair.
Take care that no water seeps into the appliance
Only certain types of glass, glass-ceramic, earthenware or other glazed containers are suitable for hotplate cooking; others may break because of the sudden change in temperature.
Do not allow anyone to climb, stand or hang on any part of the cooker.
Do not use aluminium foil to cover shelves, linings or the oven roof.
Make sure that your kitchen is well ventilated at all times. Use extractor fans or hoods when fitted.
Never heat unopened food containers. Pressure build up may make container burst and cause injury.
The cooker is designed for cooking foods only and must not be used for any other purpose.
The oven should NOT be used for heating the kitchen, not only does this waste fuel but the control knobs may become overheated.
When the oven is on DO NOT leave the oven door open for longer than necessary.
The specification of this cooker should not be altered.
This appliance is heavy, take care when moving it.
When the cooker is not in use ensure that the control knobs are in the off position.
Australia
Service and spares
Firstly, please complete the appliance details below and keep them safe for future reference - this information will enable us to accurately identify your particular appliance and help us to help you. Filling this in now will save you time and inconvenience if you later have a problem with your appliance. It may also be of benefit to keep your purchase receipt with this leaflet. You may be required to produce the receipt to validate a warranty field visit.
| Retailers Name & Address Andi Appliances Pty Ltd. 1 Stamford Road, Oakleigh, VIC 3166. Tel No: (03) 9569 1255 Fax No: (03) 9569 1450 Email: Service@andico.com.au |
| Name of Appliance & Colour* |
| Appliance Serial Number * |
| Fuel Type* Gas □ Dual Fuel □ Electric □ |
| Date of Purchase |
| Installers Name & Address |
| Date of Installation |
- This information is on the appliance data badge.
If you have a problem
In the unlikely event that you have a problem with your appliance, please refer to rest of this booklet, especially the problem solving section, first to check that you are using the appliance correctly.
If you are still having difficulty, contact you retailer
Please note
If your appliance is outside the 12-month warranty period, our service provider may charge for this visit. If you request an engineer to visit and the fault is not the responsibility of the manufacture, our service provider reserves the right to make a charge.
Appointments not kept by you may be subject to a charge.
Out of Warranty
We recommend that our appliances are serviced regularly throughout their life to maintain the best performance and efficiency. The frequency of service will depend on usage - for normal usage once a year should suffice.
Service work should only be carried out by an Authorised Person.
Spare Parts
To maintain optimum and safe performance, we recommend that only genuine spare parts are used. Do not use re-conditioned or unauthorised gas controls. Contact your retailer.
Installation
Dear Installer
Before you start your installation, please complete the details BELOW.
If your customer has a problem relating to your installation they will be able to contact you easily.
Thank you
Installer's Name
Installer Company
Installer's Telephone number
Australia
You must be aware of the following safety requirements & regulations
Safety Requirements/Regulations
The cooker must be installed in accordance with these instructions by an authorised person.
The installation must be in accordance with AS 5601/AG 601 - Gas Installations, local gas fitting regulations, municipal building codes, electrical wiring regulations and any other relevant statutory regulations.
Install in a well-ventilated space. Read the instructions before installing or using this appliance.
In your own interest and that of safety, it is law that all gas appliances be installed by an authorised person. Failure to install the appliance correctly could invalidate any warranty or liability claims and lead to prosecution.
Before installation, ensure that cooker is suitable for your gas type and supply voltage. See the data badge. This appliance can be converted for use on Propane.
Warning: Where this appliance is installed in marine craft or in caravans, it shall not be used as a space heater.
This appliance is designed for domestic cooking only. Use for any other purpose could invalidate any warranty or liability claim.
Ventilation Requirements
Ventilation must be as specified by 'AS 5601/AG 601 - Gas Installations'.
The room containing the appliance should have an adequate air supply.
An appliance should be installed in a location for complete combustion of gas, proper flueing and to maintain ambient temperature of the immediate surrounding at safe limits, under normal operation condition.
Failure to install appliances correctly is dangerous and could lead to prosecution.
Location of Cooker
The cooker may be installed in a kitchen/ kitchen diner but NOT in a room containing a bath or shower.
Conversion
If the appliance is to be converted to another gas we recommend that this is done before installation. See the Conversion section of this instruction for more details.
You will need the following equipment to complete the cooker installation satisfactorily




STABILITY BRACKET
If the cooker is to be supplied with gas through a flexible hose, a stability bracket and reschain must be fitted (both are supplied with the cooker).
GAS PRESSURE TESTER
FLEXIBLE GAS HOSE
A suitable hose and restraining chain are supplied with the cooker. If a different hose is used it must be in accordance with the relevant standards.
MULTIMETER (for electrical checks)
You will also need the following tools:
- Electric drill
- Masonry drill bit (only required if fitting the cooker on a stone or concrete floor)
- Rawlplugs (only required if fitting the cooker on a stone or concrete floor)
- Steel tape measure
- Cross head screwdriver
- Flat head screwdriver
- Spirit level
- Pencil
- Adjustable spanner
- Screws for fitting stability bracket
Australia
Positioning the Cooker
Clearances (see AS 5601/AG 601)

1 Overhead - Measurement A
The minimum height of any surface above the cooker is 650mm above the hotplate
Range hoods and exhaust fans shall be installed in accordance with the manufacturer's instructions.
However, in no case shall the clearance between the highest part of the hob of the cooking appliance and a range hood be less than 650~mm or, for an overhead exhaust fan, 750~mm .
2 Side clearances - Measurements B & C
Where B, measured from the periphery of the nearest burner to any vertical combustible surface, or vertical combustible surface covered with toughened glass or sheet metal, is less than 200mm , the surface shall be protected to ensure that the combustible surface does not exceed 65^ above ambient*. Even with the surface protected the dimension B should not be less than 135mm above hotplate level.
*The fixing of 5mm thick ceramic tiles to the surface or attaching fire resistant material to the surface and covering with sheet metal with a minimum thickness of 0.4mm to a height C of not less than 150 mm above the hotplate should satisfy this requirement.

NOTE: In this case, any vertical combustible surface needs to be protected. See * below
3 Side clearances - Measurement E
3 Where D, the distance from the periphery of the nearest burner to a horizontal combustible surface is less than 200mm , then E shall be 10mm or more, or the horizontal surface shall be above the trivet. See insets above.
For safety reasons curtains must not be fitted immediately behind the cooker.
We recommend a gap of 1110mm between units to allow for moving the cooker. If a flush fit is required, fit the cooker up to the unit at one side then fit the unit the other side.
A clearance of 130mm is required if the cooker is near a corner of the kitchen to allow the oven doors to open.

Unpacking the Cooker
Do not take any packaging off the cooker until it is directly in front of the place it is to be installed (unless it will not fit through a door in its outer packaging).
Cut the banding straps and lift the cardboard box off the cooker, LEAVING THE COOKER STANDING ON THE BASE PACKAGING. See the loose unpacking sheet.
Checking the parts







Moving the Cooker
The cooker is very heavy. Take great care.
We recommend two people manoeuvre the cooker.
Ensure that the floor covering is firmly fixed, or removed to prevent it being disturbed when moving the cooker around. You will need the levelling tool.
From the back tilt the cooker forward and remove the rear half of the polystyrene base pack.

Repeat from the front and remove the front half of the poly base. Pull the drawer out to its furthest point. Lift it up and out.

Fit the levelling tool on the rectangular adjuster as shown below.

LOWER THE FRONT ROLLER by doing 14 complete (360^) turns clockwise. (This means turning and removing the levelling tool 56 times).
First fit the levelling tool on the hexagonal adjusting nut as shown below.

Make 10 complete (360^) turns clockwise. (This means turning and removing the levelling tool 20 times).

Make sure you lower BOTH REAR ROLLERS. There are two adjusting nuts, one for each roller, at both the front bottom corners of the cooker.
Australia
Unfold the rear edge of pack base tray. Carefully push the cooker backwards along the hardboard strips and into position. Take care not to damage the power cable. Push the cooker close to its final position, leaving just enough space to get behind it.

Levelling
You are recommended to use a spirit level on a shelf in one of the ovens to check for level.
Place the cooker in its intended position taking care not to twist it within the gap between the kitchen units as damage may occur to the cooker or the units.
The rollers can be adjusted to level the cooker. To adjust the height of the rear of the cooker use the levelling tool supplied to turn the adjusting nuts at the front bottom corners of the cooker.
Adjust the height of the front roller to level the cooker. Turn clockwise to raise the cooker and anticlockwise to lower.
When you are satisfied with the height and level raise the front of the cooker by one turn of the front roller adjuster. Screw down the front feet to meet the floor. Screw the front roller adjuster anticlockwise to raise the front roller so that the front of the cooker is supported on the feet, not the front roller, to prevent accidental movement of the cooker.
Leave the levelling tool on the adjuster with the handle of the tool facing the rear of the cooker, so that the customer can use it if they wish to move the cooker.
Replace the drawer by locating on side runners and push in.
Fitting the stability bracket
A stability bracket and chain should be fitted when the cooker is connected to a flexible gas supply. When fitting a stability bracket read these instructions together with the leaflet supplied with the bracket.

- Place the cooker in its intended position and level the cooker.
- Draw a pencil line 100mm from the front edge of the levelling feet.
3.Mark the centre line for the bracket by measuring 550mm from the left hand side of the cooker. - Lower the front roller and move the cooker forward.
5.Measure back from the pencil line 550mm to locate the front edge of the bracket. Fix the bracket to the floor.
6.Measure the height from floor level to engagement edge in back of cooker. Add 3mm to this dimension and assemble the stability bracket to this height. (i.e. from floor level to underside of the top member) and ensure the bracket does not foul the oven burner assembly.

stabilitybcket

Gas Connection
The Gas supply needs to terminate with a down facing connection. The rear cover boxes limit the position of the supply point.

A position for gas supply connector
B appliance gas inlet

Because the height of the cooker can be adjusted and each connection is different it is difficult to give precise dimensions. Ideally the house supply connection should be in the shaded area shown in the diagram. Means of isolation must be provided at the supply point by either an approved quick-connect device or a Type 1 manual shut-off valve. The hose should be fitted so that both inlet and outlet connections are vertical so that the hose hangs downwards in a 'U' shape.
The connector is located just below the hotplate level at the rear of the cooker.
A flexible connection is supplied with the cooker. If it is necessary to use another hose it must be to A.S. 1869 class B and suitable for your gas type. If in doubt contact, your supplier.
To prevent strain on the connections to the cooker the restraining chain should be used. Securely fix the supplied wall bracket to the fabric of the building and clip the supplied restraining chain to the bracket.

After completing the gas connection, check the cooker is gas sound with a pressure test. When checking for gas leaks do not use washing up liquid - this can corrode. Use a product specifically manufactured for leak detection.
Natural Gas
The adjustable spring loaded governor is pre-set to give a nominal pressure of 1kPa on NG. Connect to the Rp^1/2 inlet on the underside of the governor.
Propane
This cooker is supplied ready for use on natural gas. A conversion kit for Propane gas is supplied with the cooker - see the conversion instructions in the next section.
Pressure testing
Pull the cooker forward, if necessary, to gain access to the rear.
The pressure test point is accessible on the connector block at the upper right hand rear. Remove the test nipple screw and fit a pressure gauge to the test point.
See Technical data section at the back of this book for test pressures.
Australia
Electrical Connection
This appliance must be installed by a qualified electrician to comply with the relevant regulations and also the local electricity supply company requirements.


Make sure that the mains characteristics (voltage, nominal, power, etc.) match the ratings indicated on the data plate affixed to the lower right hand cooker upright (remove storage drawer). The cooker is preset for a single-phase earthed electrical connection. It is essential to install a multi-pole circuit breaker that completely disconnects the appliance from the mains, with a minimum contact break distance of 3mm .
WARNING: THIS APPLIANCE MUST BE EARTHED
The appliance must be connected to an efficient earthing circuit. If the electricity network is not equipped with an earth connection, then it must be installed separately in compliance with local regulations. Earthing is a safety measure required by law, and must be performed with particular care by a qualified technician, who must also check that the electricity supply characteristics are correct.
The cable size used should be suitable for the appliance load and in accordance with local regulations. Please note the maximum cable sizes are 6mm^2 for the screw terminals and 10mm^2 for the 3 pronged links.
Access to the mains terminal is gained by removing the electrical terminal cover box on the back panel. Connect the mains cable to the correct terminals for your electrical supply type (see fig.). You may need to move the links to suit you connection type. Check that the links are correctly fitted and that the terminal screws are tight. Secure the mains cable using the cable clamp.

This shows the single-phase connection. For 3 phase connection the 3-pronged links can be removed and the links underneath used to configure the connections as required.

These appliances are of type X with regard to protection against over heating of the surrounding surfaces.
Fixed Wiring.
For connection to fixed wiring i.e. flexible conduit, remove the electrical terminal cover box on the back panel. Remove two screws and blanking plate from the bottom flange of the cover box, so as to allow the conduit through.

mains terminal
Fix conduit to conduit mounting bracket on the back panel. Connect mains cable to correct terminals for your electrical supply type. Check that the links are correctly fitted and the terminal screws are tight. Replace electric terminal cover box making sure that the conduit is clear of the bottom flange.
Current Operated Earth Leakage Breakers
Where the installation is protected by a 30 milliamp sensitivity residual current device (RCD), the combined use of your cooker and other domestic appliances may occasionally cause nuisance tripping. In these instances the cooker circuit may need to be protected by fitting 100mA device. This work should be carried out by a qualified electrician.
Hotplate check
Check each burner in turn. Push in tap and turn to the large flame symbol (A). Press ignition switch on facia panel.
Grill
Open the grill compartment door. Turn on the grill control and check that the grill heats up.
Oven check
The clock must be set to the time of day before the ovens will work.

Press and hold as above.
At the same time, press - or + until the correct time shows.
Don't forget it's a 24 hour clock.
If you make a mistake or press the wrong button, turn off the power supply for a minute or two and start again.
Turn on the oven and check that the oven fan starts to turn and that the oven starts to heat up. Turn off the oven.
Fitting the plinth
Loosen the 3 screws along the front bottom edge of the cooker. Hook the central keyhole over the central screw. Twist and fit each end keyhole over their respective screws. Tighten the fixing screws.

Oven Light
Press the oven light switch and check that the light is working.
NB. The oven light bulb is not included in the guarantee.
Customer care
Please complete your details in the inside cover of this Guide. Then replace this Installation Guide back in the Customer Care Pack in the correct position. Please inform the user how to operate the cooker and hand over the Customer Care Pack.
Thank you
Servicing Notes
When servicing or replacing gas carrying components disconnect from gas before commencing operation and check appliance is gas sound after completion. When checking for gas leaks do not use washing up liquid - this can corrode. Use a product specifically manufactured for leak detection.
Do not use re-conditioned or unauthorised gas controls.
Disconnect from electricity supply before commencing servicing, particularly before removing any of the following: facia panel, side panels, hotplate tray, or any of the electrical components or cover boxes. Before electrical reconnection check that the appliance is electrically safe.
1. To Remove Facia Panel
Disconnect from electricity supply.
Pull off all the control knobs.
Open the grill door and R H oven door and remove the 6 fixing screws underneath the control panel. NB some models have a plate under the facia held in place by the bottom fixing screws.

Slide the facia panel to the right and then pull forward. Disconnect leads from back of switches and timer. Lift facia panel clear of cooker.
Reassemble in reverse order. When replacing leads refer to the wiring diagram. Check operation of timer, ignition, and oven light switches.
2. To Remove Hotplate Trays
Disconnect from electricity supply.
Pull the cooker forward to gain access to the rear
Left hand tray
From the rear remove the 3 screws securing the flue grille to the hotplate tray. Remove pan supports, burner heads and caps. Remove the 4 screws and washers holding the hotplate tray to the frame. Raise the front of the hotplate then withdraw.
Right hand tray
From the rear remove the screws securing the flue grille to the hotplate tray. If the LH hotplate has not been removed, slacken the screws holding the L H tray. Remove pan support, burner head, caps and trim rings. Remove the 4 screws holding the Wok burner to the hotplate. Remove the two screws and washers holding the RH tray to the frame. Press the Wok burner down slightly and, taking care not to damage the Wok burner electrode, slide the tray about 30mm to right to clear the locating brackets on the R H side. Lift tray slightly at the front and taking care not to stress the Warmer/lead junction, disconnect the leads to the Warmer neon and separate the leads at the piggybacks. Withdraw the hotplate.
Reassemble in reverse order ensuring that the leads are reconnected. When replacing the RH hotplate take care not to damage the ignition electrode of the Wok burner.
It is important that the rear fixing screws are refitted as they from part of the cooker earthing.
On some models there is a separate plate.

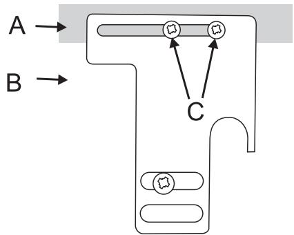
A flue grill, B cooker backsheet, C earthing/fixing screws
On others it is a tag on the cooker backsheet. It is important that the tag is on the outside and that both fixing screws are fitted.

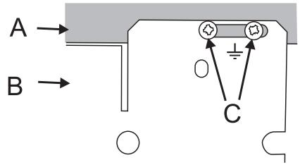
A flue grill, B cooker backsheet, C earthing/fixing screws
Check for correct burner operation.
3. To Remove a Side Panel
Disconnect from electricity supply.
Remove facia panel (see 1). Pull the cooker forward. Remove the 4 retaining screws for each panel (2 at the front and 2 at the rear). The lower front retaining screws (one each side) are situated beneath the lower edge at the front corners of the side panels
Reassemble in reverse order.
4. To Remove Ignition or Oven Light Switch
Remove facia panel (see 1).
NB The old switch may be destroyed during removal.
Remove switch button and old switch from its bezel by gripping the switch body behind the facia and twisting sharply.
The switch bezel can then be removed by folding back its locking wings and pushing forward. Fit the new bezel to the facia by first lining up the raised key on its body with the cutout in the facia and pushing it in from the front. Assemble the new switch to the bezel by lining up the key sections and pushing home. Fit the new button by pushing in from the front.
Replace facia panel in reverse order and test for correct operation.
5. To Remove Electronic Timer
Disconnect from electricity supply.
Pull off the timer control buttons and remove the facia panel (See 1). Remove the timer/mounting bracket assembly from the facia by removing the two fixing screws. Remove the timer from its mounting bracket by depressing the plastic lugs on the timer case, at the same time pulling the unit forward.
Reassemble in reverse order. When replacing leads refer to the wiring diagram. Check operation of timer.
6. To Remove a Thermostat
Remove facia panel (see 1). Open appropriate oven door and remove oven furniture.
RH oven
Remove RH hotplate tray. (see 2) Remove thermostat phial cover (2 screws). Unclip the thermostat phial from the clips in the oven back.
LH oven
Pull cooker forward to gain access to the cover box at the rear of the cooker. Remove the screws securing the cover and lift clear.
Feed the thermostat capillary out of the oven. Disconnect wiring from thermostat. Remove 2 screws holding thermostat to mounting panel. Fit new thermostat and reassemble in reverse order. Ensure that the phial is clipped to the oven back with the phial centrally positioned between the clips.
Check operation of thermostat.
7. To Change Grill Controller
Remove the facia panel (see 1). Disconnect wiring from controller. Remove 2 screws holding controller to mounting panel. Fit new controller and reassemble in reverse order. Check for correct operation.
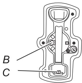
8. To Change Warmer Switch

Remove RH hotplate tray. (see 2). Disconnect wiring from Warmer switch. Remove 2 screws holding switch to mounting panel, taking care not to lose the switch rotation limiter. Fit new switch and reassemble in reverse order. Check for correct operation.
BEFOREServICINGANYGAS CARRYING COMPONENTS TURNOFF GAS SUPPLY.
9. To Change Hotplate Control Tap
Remove the facia panel, see 1. Lift up the LH hotplate tray front (see 2). Remove the heat shield (2 screws). Undo the nut at rear of the tap and remove the screw(s) securing tap to gas rail. Remove old tap, discard old gasket/seal. Fit new gasket/seal to new tap.
Reassemble in reverse order. Check tap is adjusted for correct gas. Check appliance is gas sound.
10. To Change Hotplate Burner Injector
Standard burner
Wok burner

A

B
C
A jet, B internal injector, C external injector
Remove burner cap and head. Remove old jet. Fit new injector. Note the Wok burner has 2 injectors.
Reassemble in reverse order. Check appliance is gas sound.
11. To Change Hotplate Burner Electrode
Lift off pan supports, remove burner cap. Remove the screw holding the electrode. Pull electrode vertically up sufficiently to grip the lead between thumb and forefinger. Pull off the electrode, but keep hold of the
lead. Fit new electrode to the lead. Fix electrode in burner with screw. Replace burner cap. Check the burner ignition. Replace pan supports.
12. To Remove or Change a Hotplate Burner.
Remove the hotplate tray (see 2).
LH hotplate burners
Remove heat shield (2 screws). The burners are mounted in 2's on cross supports. Disconnect the burner feed pipes at the burners. Remove the screw on the right holding the cross support. Slide the support to the right to release in from the left hand location. Lift the cross support and burners clear. The burners are fixed to the cross supports with 2 screws Remove the appropriate burner and fit the new one. Reassemble in reverse order. Check burner operation is satisfactory.
RH Wok burner
Disconnect the burner feed pipes at the burner. Fit the new one and reassemble in reverse order. Check burner operation is satisfactory.
13.To Remove Grill Door
Remove the left hand side panel (see 3). Remove the centre cover strip (5 screws, 2 top, 2 bottom, 1 in middle). Remove the two countersunk screws (1 each side) securing the grill hinge arms to the front of the grill chamber.
NOTE: The arms are spring tensioned. Carefully remove the grill door. Retain the gaskets.
Reassemble in reverse order ensuring that the gasket is fitted between the hinge arm and the front of the grill chamber.
14.To Remove an Oven Door
Open oven door and remove Handyrack (where fitted) by springing one side out of the bracket on the door and sliding the other side free. Support the door and remove the two screws securing the upper hinge and packing to the cooker front. Remove the door from the lower hinge by lifting slightly and moving outwards.
Reassemble in reverse order.
15.To Change Oven Door Outer Panel
Move the cooker forward to gain access to the sides.
Open the oven door slightly and remove the front panel fixing screws from the door sides (two each side).

Carefully lift off the outer door panel.
Remove door handle from panel by unscrewing 2 retaining nuts. Fit door handle to new panel
Fit panel to door. Reassemble in reverse order.
16. To Change Oven Door Latch
Remove outer door panel (see 15). Remove screws 'B' holding latch assembly to inner door panel. Fit new catch and reassemble in reverse order.
Check correct door operation.

17. To Change Oven Door Seal
Open oven door. The seal is held in place by small hooks on the rear face. At the corner pull seal diagonally away from the door centre until that hook is released. Proceed to the next hook and release it in a similar way, and so on. Use force if the hooks are stiff, as the old seal will be discarded.

When fitting new seal, position the seal join at the bottom. Hook the new seal in one of the corner holes of the door, and proceed round the door snapping in each hook in turn.
WARNING - SERVICING TO BE CARRIED OUT ONLY BY AN AUTHORISED PERSON
Disconnect from electricity and gas before servicing. Check appliance is safe when you have finished.
18. To Adjust Oven Door Catch Keep
Open oven door, slacken off locknut at base of keep, and screw in or out as required until required fit is obtained. Retighten locking nut.
19. To Change Ignition Generator
Disconnect from electricity supply.
Pull cooker forward to gain access to the cover box at the rear of the cooker. Remove the screws securing the cover and lift clear. Pull off all the leads to the generator noting their positions. Slacken the two screws holding generator to cooker and remove generator.
Fit new generator to cooker and replace leads.
Reassemble in reverse order. Refer to wiring diagram. Check ignition performance.
20. To Remove RH Oven Inner Back.
Open RH oven door and remove 4 screws and washers securing the inner back to the back of the oven. Carefully lift away the inner back. Reassemble in reverse order making sure that the 4 screws and washers are fully tightened.
21. To Change Fan in RH Oven.
Disconnect from electricity supply.
Pull cooker forward to gain access to the rear. Remove 4 screws securing the electric cover to the back sheet and remove cover. Disconnect the 3 terminals connected to the fan noting their position.
Remove oven inner back (see 20). Hold the fan blade and remove the centre nut (left hand thread) 2 brass washers, fan blade and circlip. Unscrew fan retaining nuts and washers (3 off each) and lift the fan away from the rear of the cooker. Fit new fan and reassemble in reverse order. Check operation of oven.
22. To Remove RH Oven Element.
Disconnect from electricity supply.
Pull cooker forward to gain access to the rear. Remove 4 screws securing the electric cover to the back sheet and remove cover. Disconnect the 3 terminals connected to the element noting their position. Remove oven inner back (see 20). Remove 2 screws from the top of the element and 1 from the bottom of the element in side the oven. Lift out carefully, refit new element, reassemble in reverse order. Check operation of oven.
23. To Remove Grill Element.
Disconnect from electricity supply.
Pull cooker forward to gain access to the rear. Remove 4 screws securing the electric cover to the back sheet and remove cover. Remove the 4 terminals connected to the elements noting their position. Remove grill pan from grill chamber. From inside grill compartment remove enamelled front shield from grill roof, 2 screws and washers. Remove
2 screws and washers securing the grill element front support. Remove 1 screw from each of the grill elements and withdraw grill elements from grill chamber. Fit new elements, reassemble in reverse order. Check operation of grill.
24. To Remove LH Oven Elements.
Disconnect from electricity supply.
Pull cooker forward to gain access to the rear. Remove 4 screws securing the electric cover to the back sheet and remove cover. Remove the 4 terminals connected to the top element noting their position. Remove 2 screws and washers securing the bottom element cover. Remove the 2 terminals connected to the bottom element noting their position. Remove 2 screws and washer from the bottom element support. Remove 2 screws and washer from the element bracket and withdraw the element. Fit new element, reassemble in reverse order. Open LH oven door and remove 2 screws and washers securing the top element heat shield. Remove 2 screws and washers from the top element bracket and withdraw. Fit new element, reassemble in reverse order. Check operation of oven.
25. To Change Warmer Neon
Remove RH hotplate (see 2). Carefully place hotplate upside down on a suitable flat surface. Remove 2 screws holding neon bracket to Warmer frame. Fit new neon and bracket assembly.
Reassemble in reverse order and check for correct operation.
26. To Change Warmer
Disconnect from electricity supply.
Pull the cooker forward to gain access to the rear.
Remove RH hotplate, see 2. Fit the new hotplate and reassemble in reverse order.
Warmer operation is satisfactory.
27. To change oven light bulb.
LH Oven
Remove the oven furniture and side linings. Remove the oven rear liner (3 screws)
RH Oven
Remove the oven inner back (see 22). The oven light cover is now accessible. Unscrew the cover. Unscrew the bulb.
Fit an Edison screw fitting 15w 240v lamp, FOR OVENS. It must be a special bulb, heat resistant to 300^ .
Conversion to another gas
Conversion from Natural gas (1.0kPa) to LPG X Propane (2.75kPa)
This conversion must be performed by a competent person. After conversion the installation must comply with the relevant regulations and also the local electricity supply company requirements. Read the instructions before converting this appliance.
Failure to convert the appliance correctly could invalidate any warranty or liability claims and lead to prosecution.
This instruction must be used in conjunction with the rest of the appliance instruction, in particular for information on Standards, cooker positioning, connection hose suitability etc.
When servicing or replacing gas-carrying components disconnect from gas before commencing operation and check appliance is gas sound after completion.
Do not use re-conditioned or unauthorised gas controls.
Jets

Standard burner

Wok burner
A jet, B internal injector, C external injector
Remove burner caps and heads. Remove old jets. Fit new jets (see Technical Data section at the back of the book for correct jets). Reassemble in reverse order.
Tap adjustment
Pull off all the control knobs.
Open the grill door and R H oven door and remove the fixing screws underneath the control panel. NB some models have a plate under the facia held in place by the bottom fixing screws.

Slide the facia panel to the right and then pull forward. Disconnect leads from back of switches and timer. Lift facia panel clear of cooker.

Remove the tap bypass screw and fit the correct new one. See table for correct screws.
Gas connection
Unscrew the inlet governor from the gas inlet and reconnect the gas hose with a 1 / 2" female/female connector. A 1 / 2" BSP flexible connection is supplied with the cooker. If it is necessary to use another hose it must be to A.S. 1869 1869 class B and suitable for your gas type. If in doubt contact, your supplier.
Stick on label
Stick the appropriate label on to the data badge to indicate the gas the appliance is now set for.
Pressure Testing
Connect the appliance to the gas supply. Check the appliance is gas sound.
See Technical data section at the back of this book for test pressures.
Pull the cooker forward, if necessary, to gain access to the rear.
The pressure test point is accessible on the connector block at the upper right hand rear. Remove the test nipple screw and fit a pressure gauge to the test point.
Stick on label
Stick the gas type label over the correct gas part of the appliance data label. Check the appliance is gas sound.
Check the appliance is gas sound.
Check operation of all the burners.
Bypass screws
Natural gas Propane
| Hotplate | ||
| Wok burner | 90 | 54 |
| Large Burner | 80 | 41 |
| Medium Burners | 56 | 33 |
| Small Burner | 48 | 25 |
For jet sizes see the Technical Data page
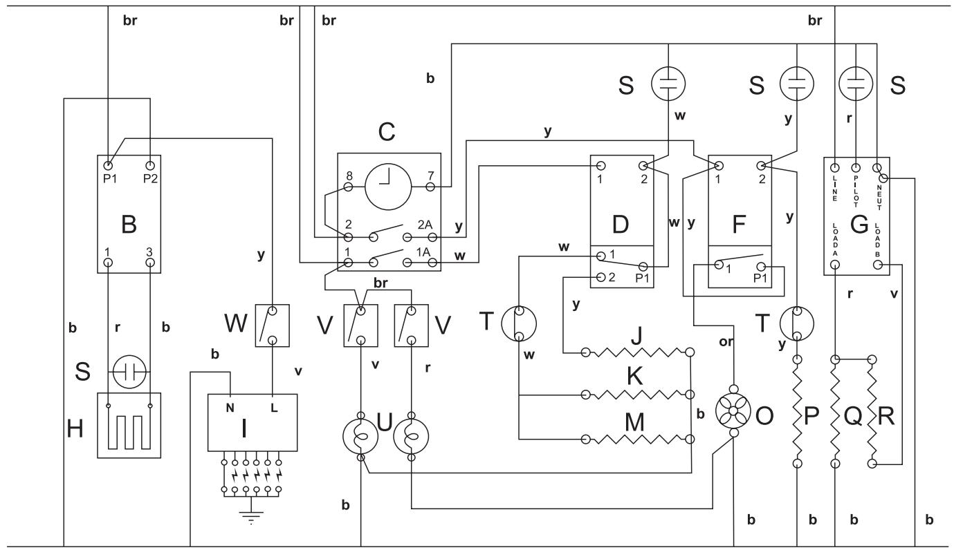
Circuit Diagram

A
N

B

C

G
Connection shown in circuit diagram is for single phase. Ratings are for 230V 50Hz
A Active
BWarmer Switch
C Clock
D Left hand oven thermostat
F Right hand oven thermostat
G Grill energy regulator
HWarmer 147W
I Spark generator
J Base element 1.0kW
K Top element 1.2kW
L Browning element 1.15kW
N Neutral
O Right hand oven fan
P Fan oven element 2.5kW
Q Right hand grill element 1.15kW
R Left hand grill element 1.15kW
S Neon
T Cutouts
U Oven light bulbs
V Oven light switches
W Ignition switch
Wire colours
b blue
br brown
red
or orange
violet
w white
y yellow
Australia
Technical Data
This cooker is designed for use on Natural Gas:-
A conversion for LP (LPG X Propane (2.75kPa) ) gas is available.
INSTALLER: Please leave these instructions with the User.
DATA BADGE LOCATION: LOWER RIGHT HAND COOKER URIGHT (Remove storage drawer)
Country of Destination: Australia
Gas
Natural gas
0.95kPa (1kPa nominal)
Electric
220 - 240V 50Hz
Propane
2.75kPa
(See appliance data badge for test pressures)
Dimensions
Connections
| Overall height | minimum | 893mm | maximum 920mm |
| Overall width | 1100mm | See ‘Positioning of Cooker’ | |
| Overall depth | 648mm | ||
| Space for fixing | See ‘Positioning of Cooker’ | ||
| Minimum space above hotplate | 650mm | ||
Gas:
Electric
Rp 1 / 2 at rear right-hand side
220 - 240V 50Hz

Standard burner
Wok burner

A injector,
B internal injector,
C external injector
Ratings
| Natural gas 1.0kPa | Propane 2.75kPa | |||
| Injector | Injector | |||
| Hotplate | ||||
| Wok burner | 15.2MJh-1 | internal 112 | 15.2MJh-1 | internal 66 |
| external 164 | external 91 | |||
| Large Burner | 12.3MJh-1 | 165 | 12.0MJh-1 | 89 |
| Medium Burners | 6.2MJh-1 | 115 | 6.2MJh-1 | 67 |
| Small Burner | 3.7MJh-1 | 92 | 3.3MJh-1 | 48 |
| Gas burner inputs based on Gross Calorific Value | ||||
| Ovens | Conventional Oven | Fan Oven | ||
| Oven | Browning Element | |||
| 2.2kW | 1.15kW | 2.5kW | ||
| Grill | 2.3kW | |||
| Warmer | 160W | |||
Maximum total electrical load at 230V 7.3kW*
*approximate total including oven lights, oven fan etc.
AGA CONSUMERPRODUCTS
Clarence Street, Royal Leamington Spa,
Warwickshire, CV31 2AD, England.
Tel: +44 (0) 1926 457400 Fax: +44 (0) 1926 450526
E-mail: consumers @rangemaster.co.uk
EasyManual