DHD 1149X - Basket DE DIETRICH - Free user manual and instructions
Find the device manual for free DHD 1149X DE DIETRICH in PDF.
Questions des utilisateurs sur DHD 1149X DE DIETRICH
0 question sur cet appareil. Repondez a celles que vous connaissez ou posez la votre.
Poser une nouvelle question sur cet appareil
Download the instructions for your Basket in PDF format for free! Find your manual DHD 1149X - DE DIETRICH and take your electronic device back in hand. On this page are published all the documents necessary for the use of your device. DHD 1149X by DE DIETRICH.
USER MANUAL DHD 1149X DE DIETRICH
- RELATIONS CONSOMMATEURS
Dear valued customer,
To discover a De Dietrich product is to experience the range of unique emotions which only high-value items can produce.
The attraction is immediate, from the moment you set eyes on the product. The sheer quality of the design shines through thanks to the timeless style and outstanding finishes which make each appliance an elegant and refined little masterpiece in its own right, each in perfect harmony with the others.
Next, comes the irresistible urge to touch it. De Dietrich's design makes extensive use of robust and prestigious materials. The accent is placed firmly upon authenticity.
By combining state-of-the-art technology with top quality materials, De Dietrich produces beautifully crafted products to help you get the most from the culinary arts, a passion shared by all lovers of cooking and fine food.
We hope that you enjoy using this new appliance and we would love to receive your suggestions and to answer any questions you may have. Please feel free to contact our customer service department via our website.
To benefit from the many advantages offered by the brand, we recommend that you register your product at: www.de-dietrich.com.
Thank you for choosing a De Dietrich product.
De Dietrich
You can find a full range of information about the brand at www.de-dietrich.com
Visit the De Dietrich Gallery, 6 rue de la Pétinière (Paris eighth district) Open from Tuesday to Saturday from 10 am to 7 pm
Customer service department: 0892 02 88 04
1/NOTICESTO THEUSER
- Safety recommendations 20
- Environmental protection 21
- Description of your appliance 22
2 / INSTALLING YOUR APPLIANCE
- Using the evacuation mode 23
- Using the recycling mode 23
- Electrical connections 24
-Assembling the hood 25
Assembling the ventilation shaft ^ Outdoor evacuation 26
^ Recycling 27
3 / USING YOUR APPLIANCE
- Description of control panel 28
4 / CARING FOR AND CLEANING YOUR APPLIANCE
- Cleaning the filter cartridges 30
- Changing the carbon filter 30
- Cleaning the outer surfaces 30
- Changing the light bulb 30
- Maintaining your appliance 31
5/TROUBLESHOOTING 32
6/ AFTER-SALES SERVICE 32
As part of our commitment to constantly improving our products, we reserve the right to make changes to them based on technical advances to their technical and functional features and appearance

Warning:
Before installing and using your appliance, please carefully read this Guide to Installation and Use, which will allow you to quickly familiarise yourself with its operation.

Attention
Keep this user guide with your appliance. If the appliance is ever sold or transferred to another person, ensure that the new owner receives the user guide. Please become familiar with these recommendations before installing and using your appliance. They were written for your safety and the safety of others.
SAFETY RECOMMENDATIONS
-
This oven was designed for use by private persons in their homes.
-
This appliance is not designed to be used by people (including children) with reduced physical, sensorial or mental capacity or people lacking in experience or knowledge, except if they have the benefit, through the intermediary of a person responsible for their safety, of preliminary supervision or instruction concerning the use of the appliance. It is advisable to supervise children to make sure that they do not treat the appliance as a toy.
- When you receive the appliance, unpack or have it unpacked immediately. Give it an overall general inspection. Make note of any concerns or reservations on the delivery slip and make sure to keep a copy of this form.
- Your appliance is intended for standard household use. Do not use it for commercial or industrial purposes or for any other purpose than that for which it was designed.
- Do not modify or attempt to modify any of the characteristics of this appliance. This would be dangerous to your safety.
- Repairs must only be carried out by an approved specialist.
- Always unplug the hood before cleaning it or performing other maintenance acts.
-
Provide adequate ventilation for the room in the case of simultaneous use of the hood and other appliances powered by an energy source other than electricity. This will prevent the hood from aspirating the combustion gases.
-
You should never "flambé" dishes under the hood or operate gas rings under the hood without placing cookware on them (the flames sucked up into the hood can damage the appliance).
- When frying food under the appliance, you must carefully monitor the preparation at all times. Oils and grease brought to very high temperatures can catch fire.
- Respect the recommended frequency of cleaning and filter replacements. The accumulation of grease deposits may cause a fire.
- The hood should never be used over a combustible fuel burning stove (wood, coal, etc.).
- Never use steam or high-pressure devices to clean your appliance (requirement imposed by electrical safety).
- With a view to constantly improving our products, we reserve the right to modify their technical, functional or aesthetic characteristics, making any changes to their features considered necessary or desirable in view of technical progress.
- In order to easily locate the reference information for your appliance, we recommend that you note these data on the "After-Sales Service Department and Customer Relation

Warning
In the case of a kitchen heated by a device connected to a chimney (a stove, for example) the "recycling" version of the hood should be installed. Do not use the hood without metal filters.
Suitable ventilation should be provided in the room when the hood is used at the same time as appliances operated by gas or another combustible fuel.
ENVIRONMENTAL PROTECTION
- This appliance's packaging material is recyclable. Help recycle it and protect the environment by dropping it off in the municipal receptacles provided for this purpose.
- Your appliance also contains a great amount of recyclable material. It is marked with this label to indicate the used appliances that should not be mixed with other waste. This way, the appli

ance recycling organised by your manufacturer will be done under the best possible conditions, in compliance with European Directive 2002/96/EC on Waste Electrical and Electronic Equipment. Contact your town hall or your retailer for the used appliance collection points closest to your home.
- We thank you doing your part to protect the environment.

Warning
Installation should only be performed by installers and qualified technicians.

Warning
Remove the protective film from the filter cartridge before use.

Important
The accessible parts of this appliance may become hot if it is used with a cooking appliance.
DESCRIPTION OF YOUR APPLIANCE

A Vents
Top surface
B Ventilation shaft
D Control panel
- The appliance must be unplugged during installation or when any repair or maintenance work is being performed.
- Ensure that the network voltage corresponds to the voltage noted on the identification plate located inside the hood.
- If the electrical installation at your residence requires any changes in order to hook up your Appliance, call upon a professional electrician.
- If the hood is being used in evacuation mode, do not connect the appliance to a combustion gas exhaust duct (boiler, chimney, etc.) or to a CMV (controlled mechanical ventilation) system.
- Under no circumstances should the exhaust duct empty into the attic.
- Install the hood at a safe distance of at least 70~cm from an electric, gas or combined cooking hob.
- USING THE EVACUATION MODE
If you possess an outlet to the exterior
(fig. 1)
Your hood can be connected to this outlet using a flue (minimum diameter 125mm that is enamelled, in aluminium, flexible or made of inflammable material). If your flue is less than 125mm in diameter, you must use the recycling mode.
- USING THE RECYCLING MODE
If you do not possess an outlet to the exterior (fig. 2)
All of our appliances can be used in recycling mode.
In this case, you should add an active carbon filter which will keep in odours.
(See Chapter 4: Changing the carbon filter.)


ELECTRICAL CONNECTIONS
During installation and maintenance operations, the appliance must be unplugged from the electrical grid; fuses must be cut off or removed.
Carry out the electrical connection after assembly and mounting are completed.
Ensure that:
- the electrical installation has sufficient voltage,
- the electrical wires are in good condition,
- the diameter of the wires complies with the installation requirements.

Warning
This appliance is delivered with a H 05 VVF power cord that has three-0.75 mm2 conductors (neutral, phase and ground). It must be connected to the main power supply (which should be a 220-240 V single phase current) via a CEI 60083 standardised socket that should remain accessible after installation, in keeping with installation guidelines.
We cannot be held responsible for any accident resulting from an inexistent, defective or incorrect ground lead. The fuse for your installation must be 10 or 16A. If the power cable is damaged, call the after-sales service department in order to avoid danger.

Warning
If the electrical installation at your residence requires any changes in order to hook up your appliance, call upon a professional electrician.

Warning
If the hood displays any malfunctions, unplug the appliance or remove the fuse corresponding to the electrical socket where your appliance is plugged in.
ASSEMBLING THE HOOD

Warning
The hood must be installed in compliance with all applicable regulations concerning the ventilation of premises. In France these regulations are described in DTU 61.1 from the CSTB. In particular, the evacuated air should never be conveyed to a duct used to evacuate smoke from appliances that use gas or other combustible fuels. Unused ducts may only be used after approval from a competent specialist.
The minimum distance between the cooking surface and the lowest part of the hood must be 70~cm . If the instructions for the hob installed under the hood specify a distance of more than 70~cm , this requirement must be respected.
- Draw a horizontal line 70~cm minimum from the cooker top (A/fig. 1).
- Draw a vertical line (B/fig. 1) on the wall that is centred over the cooker top and that extends from the horizontal line drawn in the previous step (A) to the ceiling.
- Place the drilling template (C/fig. 1) on the wall. In the case of a hollow wall, use suitable wall plugs and screws.
- Drill the two holes. Insert the 2 wall plugs.
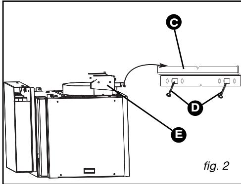
Screw the fastening bar to the wall (C/fig. 2), with the 2 screws (D/fig. 2) - Hang the suction hood by its hooks (E/fig. 2).
-
Adjust the height and level by moving the clamping screws (E/fig. 2) of the supports (the top screw for horizontal fit and the bottom screw for fitting to the wall).
-
Fit the anti-lifting screw (D/fig. 1)
- Remove the adhesive tape from the component unit (F/fig. 3).
- Lift the unit around 2cm then release it. Give it a quarter turn then slide it and fasten it using 2 screws above the motor (fig. 3).
Warning: do not damage the cables while rotating and fastening.



ASSEMBLING THE VENTILATION SHAFT
- Outdoor evacuation
-
Using the two screws (fig. 1), attach the metal chimney bracket against the wall, flush with the ceiling for support.
-
Mount the back-flow valve near the motor outlet (fig. 2). This back-flow valve makes it possible to block the entry of air from the outside.
-
If a 125mm flue is being installed, use the adapter provided (fig. 3). If the diameter of your exterior flue is less than 125mm , you must connect your hood in recycling mode.
-
Slide the end of the flue over the motor outlet (fig. 4).
-
Prepare your telescoping ventilation shaft, taking care not to block the vents (B/fig. 4).
Fit the chimney to the hood and lift the upper portion to adjust the height and then screw it (G/fig.4) on the metal chimney bracket (A/fig. 4).
A Chimney bracket
Telescoping ventilation shaft
C Flue
D Adapter
Back-flow valve
Motor outlet
G Chimney holding screw

For optimal use of your appliance, we recommend that you connect the hood to a 150 mm-diameter flue (not delivered with the appliance). Minimise the number of angles and bends and the lengths of the flue. In the event that the hood will be operated using outdoor evacuation, you should ensure a sufficient inflow of fresh air to avoid a pressure deficiency in the room.




Recycling
- Remove the back-flow valve (fig. 1).
- Using the two screws (fig. 2), attach the plastic smoke deflector against the wall, flush with the ceiling for support. Be careful to centre the deflector in relation to the vertical line drawn on the wall (fig. 2).
For models up to 700mm add the 2 struts supplied in the pocket (A/fig. 2)
- Slide one end of the flue over the deflector and the other end over the motor outlet (fig. 3).
- Prepare your ventilation shaft, taking care to face the vents upward so that they are visible (B/fig. 3).
- Attach the assembled chimney (C/fig. 3) to the hood and lift the upper portion to adjust the height, then screw it to the smoke deflector (A/fig. 3) using the two screws (F/fig. 3).


A Smoke deflector
B Vents
Telescoping ventilation shaft
D Flue
Motor bracket
F Chimney holding screw

DESCRIPTION OF CONTROL PANEL

- AUTOMATIC MODE (depending on model)
This type of hood has a smart capability. Fitted with sensors, it switches on automatically when it detects heat or steam and adjusts its suction speed accordingly. Once all fumes have been removed, the hood switches itself off.
Selection of the hob type in automatic mode *
To select your hob type, the hood should be switched off.
Press and hold ICS for longer than 2 seconds, to enter configuration mode.
Press to select the hob type: The default setting I (induction hob) flashes; another press and the display shows U for a ceramic hob and another press displays G for gas. A short press ICS confirms the selection.
The symbols (minimum sensitivity), (medium sensitivity) and (maximum sensitivity) flash simultaneously. After 10 seconds, medium sensitivity will be selected automatically.
To alter the sensitivity, press ⑥ briefly.
To confirm the selection, press ^ICS briefly.
Your selection will be confirmed automatically after 10 seconds.

Tip
This Guide to Installation and Use is valid for several models. Minor differences in Is and fittings may emerge between your appliance and the descriptions provided.
Changing to automatic mode
Press ICS briefly. A dot appears in the display. A R flashes. As soon as heat is detected, the hood starts to run. At the end of cooking, the hood will continue to run for between 40 seconds and 10 minutes.
A short press on ICS deactivates automatic mode.
A short press on ① deactivates automatic mode and the hood remains in position 1.
- SWITCHING ON THE HOOD IN MANUAL MODE.
Pressing the ① button starts the hood at speed 1.
Speed selection
- Every time the speed selection button is pressed, the following cycle is defined: speed 1, 2, 3 or 4 then return to speed 1.
- Every time the hood is used it will start up at the last selected speed.
- Timer selection
- Pressing 10^ will activate the timer; the hood will shut down after 10 minutes. The speed will flash on the display to tell you that the hood is in timer mode.
- LIGHT
Press the button briefly to switch the hood's halogen light on or off. If you forget to turn off the light on your hood, it will turn itself off automatically after 9 hours.
. SWITCHING OFF THE HOOD
A long press on the ① button turns the hood off.
If you forget to turn the hood off, it will turn itself off automatically after 9 hours.
- FILTER CARTRIDGE SATURATION INDICATOR
The F symbol will flash on the display after 30 hours of operation of the hood. This message tells you that that it is necessary to clean your filter cartridge.
After cleaning the filter cartridge, press button ① for 3 seconds to stop the warning light F

Warning
Always unplug the hood before cleaning it or performing other maintenance acts.
Regular maintenance of your appliance is a guarantee of proper functioning, good performance and durability.

Warning
Failure to respect the guidelines for cleaning the appliance and filters may cause fires.
Please carefully adhere to the maintenance recommendations.
- CLEANING THE FILTER CARTRIDGES
They must be cleaned after approximately 30 hours of use or at least once a month.
Rinse and dry them thoroughly before returning them to the hood.
- Dismantling the filter cartridge (fig. 1)
- Replace it after approximately 120 hours of use.
- Remove the filter cartridge by unclipping it (fig. 1).
- CHANGING THE CARBON FILTER (depending on model)
Replace it after approximately 120 hours of use.
- Remove the filter cartridge by unclipping it (fig. 1).

- CLEANING THE OUTER SURFACES
To clean the outside of your hood, use soapy water, but do not use abrasive creams or scrubbing sponges.
- CHANGING THE LIGHT BULB
Model with halogen bulb
- Remove the lighting port (fig. 2).
- Change the G4-20W-12V halogen bulb.
- Replace the bulb by repeating these steps in reverse order.


Warning
Before carrying out any work, the power supply to the hood must be turned off, either by unplugging it or by using the circuit breaker switch.
MAINTAINING YOUR APPLIANCE
| MAINTENANCE TO USE | WHAT TO DO | PRODUCTS/ACCESSORIES |
| Top surface and accessories | Never use metal scouring pads, abrasive products or excessively stiff brushes. | To clean the body and the lighting port, you should use only commercial household cleaning products diluted in water and then rinse using clean water, drying with a soft cloth. |
| Filter cartridge | This filter traps fatty vapours and dust. This component plays an important role in ensuring the effectiveness of your hood. In the event of tough stains, use a non-abrasive cream, then rinse with clean water. | Use a commercial household cleaning product then rinse abundantly and dry. |
| Activated carbon filter (Depending on model or optional) | This filter traps odours and must be changed at least once a year depending on your level of use. You should order these filters from your dealer and note the date the filter was changed. |
To preserve your appliance, we recommend that you use Clearit cleaning products.

Professional expertise serving individuals
Clearit offers you professional products and solutions designed for the daily care of your household appliances and kitchens.
They are on sale at your regular retailer, along with a complete line of accessories and consumable products.
EN 5 / TROUBLESHOOTING
| SYMPTOMS | SOLUTIONS |
| The hood is not working... | Ensure that: · The power is not cut off. · A speed has been selected. |
| The hood is not operating effectively... | Ensure that: · The selected motor speed is sufficient for the quantity of smoke and vapours to be cleared. · The kitchen is sufficiently ventilated to allow for fresh air intake. · The carbon filter is not worn (hood operating in recycling mode). |
| The hood stopped work- ing | Ensure that: · The power is not cut off. · The single-pole cut-off device was not activat- ed. |
EN | 6 / AFTER-SALES SERVICE
Any maintenance on your equipment should be undertaken by a qualified mechanic who is an authorised agent for the brand appliances. When making an appointment, state the full reference of your equipment (model, type and serial number). This information appears on the manufacturer's nameplate attached to your equipment (Fig. 1).

- USO EN VERSION RECICLAJE
Aberta de terca-feira a sabado, das 10h as 19h.
EasyManual