JSI1341B - Dishwasher JUNO - Free user manual and instructions
Find the device manual for free JSI1341B JUNO in PDF.
Questions des utilisateurs sur JSI1341B JUNO
0 question sur cet appareil. Repondez a celles que vous connaissez ou posez la votre.
Poser une nouvelle question sur cet appareil
Download the instructions for your Dishwasher in PDF format for free! Find your manual JSI1341B - JUNO and take your electronic device back in hand. On this page are published all the documents necessary for the use of your device. JSI1341B by JUNO.
USER MANUAL JSI1341B JUNO
Warnings 45
Installation 46
Positioning, levelling, water supply connections, water outlet connection, electrical connections 46
Use 47
Control panel . page 47
The water softener, filling with salt 48
Use of rinse aid, use of detergent 49
Loading the machine, use of the lower basket, use of the upper basket 50
Helpful hints 51
Washing programmes. 52
Operating sequence 53
Maintenance and cleaning 54
Cleaning the central filters, cleaning the large filter, internal and external cleaning 54
Prolonged periods of Non-Operation 54
Servicing .55
Building-in instructions 56
TECHNICAL SPECIFICATIONS
| DIMENSIONS | Width | 44,6 cm |
| Height | 81,8 ÷ 87,8 cm | |
| Max depth | 57 cm | |
| Max depth with door open | 115 cm | |
| ELECTRICAL CONNECTION | Voltage | 220-230 V/50Hz |
| POWER OF HEATING ELEMENT | 2800 W | |
| OVERALL POWER | 3000 W | |
| WATER SUPPLY PRESSURE | minimum | 5 N/cm² |
| maximum | 80 N/cm² | |
| CAPACITY (STANDARD IEC PLACE SETTINGS) | 8 | |
| CONSUMPTION: | Water | 17 lt |
| Electricity | 1.1 kW/h |

This appliance complies with the following E.E.C. Directives:
- 73/23 of 19.2.73 (Low Voltage Directive) and subsequent modifications;
- 89/336 of 3.5.89 (Electromagnetic Compatibility Directive) and subsequent modifications.
It is most important that this instruction book should be retained with the appliance for future reference.
Should the appliance be sold or transferred to another owner, or should you move house and leave the appliance, always ensure that the book is left with the appliance in order that the new owner can get to know the functioning of the appliance and the relevant warnings.
These warnings are provided in the interest of safety. You MUST read them carefully before installing or using the appliance.
- Unplug the appliance and turn off the water after use.
If the appliance is supplied with obvious damage, consult the supplier before installing it. - Any plumbing work required to install this appliance should be carried out by a qualified plumber or competent person.
- Any electrical work required to install this appliance should be carried out by a qualified electrician or competent person.
This appliance is designed to be operated by adults. Children should not be allowed to tamper with controls or play with the product. - Care must be taken to ensure that the appliance does not stand on the electrical supply cable or on the water inlet and drain hoses.
These dishwashers are designed to be used for washing normal household utensils. Items that are contaminated by petrol, paint, steel or iron debris, corrosive, acidic or alkaline chemicals are not to be washed in a dishwasher. - Under no circumstances should you open the door whilst, the appliance is in operation. Always turn off the appliance before opening the door.
- However, the dishwasher features a special safety device which cuts off the water inlet, should the door be accidentally opened, thus avoiding water leaks.
- Never touch the heating element during or immediately after the end of the washing cycle.
- When finishing loading or unloading close the door, as an open door can be a hazard.
It is dangerous to lean or to sit on the dishwasher door: the appliance could tip over.
■ Built-in dishwashers only: the appliance must be secured to the underside of the worktop using the brackets provided. Failure to do this could result in an unstable appliance which may cause damage or injury.
Under no circumstances should you attempt to repair the machine yourself. Repairs carried out by inexperienced persons may cause injury or serious malfunctioning.
This appliance should be serviced only by an authorised Service Centre.
Before disposing of the appliance, disconnect the water hose, cut the electrical cable and ensure that the door cannot close.
For proper disposal of the appliance, contact your local waste collection service.
Remove all packaging before positioning the machine.
Positioning
If possible, position the machine next to a water tap and a drain.
The dishwasher features fill and drain hoses which can be turned either to the left or the right to suit the installation.
Levelling
Good levelling is essential for correct closure and sealing of the door.
Loosen or tighten the adjustable support feet, until the machine is perfectly level.
Water Outlet Connection
The end of the drain hose can be connected as follows:
to the sink outlet siphon, securing it if necessary with a clip;
to a wall outlet provided with vent-hole, minimum internal diameter 4 cm;
The waste connection must be at a height of between 30 cm (minimum) and 100 cm (maximum) from the floor.
It makes no difference which way the drain hose faces, either to the right or left of the dishwasher.
Avoid bending or kinking the hose as this could prevent or slow down the discharge of water.
If you use a drain hose extension it must be no longer than 2 metres and its internal diameter must be no smaller than the diameter of the hose provided.
Likewise the internal diameter of the couplings used for connection to the waste outlet must be no smaller than the diameter of the drain hose.

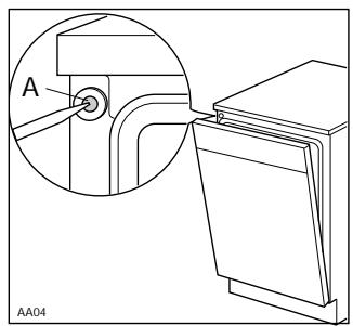
Water Supply Connections
This dishwasher must be plumbed into a cold water supply and it is preferable for it to be permanently plumbed in.
The water pressure must be within the limits given in the technical specifications, as it will not function correctly if outside these specifications.
For making the connection itself, the coupling nut fitted to the machine's supply hose is designed to screw onto either a 3/4 inch gas thread spout, or to a purpose made quick-coupling tap such as the Press-Block.

This hose is fitted with a safety device which stops the water inflow in the event of the internal tube breaking due to wear. The problem is signalled by the appearance of a red marker in the window (B). If this happens, shut the water tap and have
the hose replaced.
Be sure to incorporate the strainer (A) supplied with the machine into the joint.
The water pressure must be within the limits given in the technical specifications, as it will not function correctly if pressure is outside these specifications.

Note: the end of the hose connected to the machine can be positioned as required, by simply slackening the retaining ring.
Caution: the retaining ring must be properly fitted so as to avoid water leaks.
Re-tighten the ring securely to avoid water leaks. Avoid bends or kinks in the hose, which could prevent or slow down the flow of water.
If the machine is connected to new pipes or pipes which have not been used for a long time, you are advised to run the water for a few minutes before connecting the inlet hose. This will prevent deposits of sand or rust clogging the inlet hose filter.
Electrical connection
Electrical connection 220 - 230V (50 Hz).
Maximum power absorbed 3.00kW ca.
The domestic wiring system (including wall sockets, interior wiring, fuses and electricity meters) should therefore be adequate and suitable to carry such a load.
Safety standards require the appliance to be earthed.
The Manufacturer accepts no liability for failure to observe the above safety precautions.
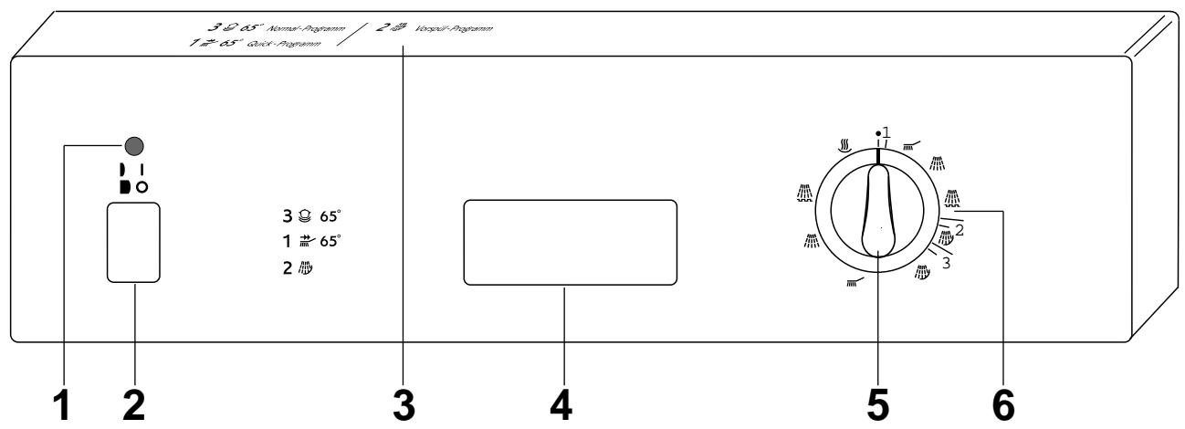
Control panel

1 «Mains-on» indicator light
This comes on when the ON/OFF button (2) is depressed, indicating that the appliance is switched on.
2 On/Off button
On
When this button is depressed, the machine starts operating and, at the same time, the «mains on» indicator light (1) comes on.
Off
When the washing programme has finished, the machine stops automatically and the «mains on» indicator light (1) remains on. To switch the indicator light off or to stop the machine at any time, press the same button again.
Before selecting a washing programme or changing an operating programme, switch off the machine pressing the On/Off button.
3 Programme guide
This is a summary of the «washing programme chart» which will help you to select the correct programme.
4 Door handle
To open the door, press the catch in the top of the recess and pull the door towards you at the same time.
To close the door, simply push it.
5 Programme selector knob
This allows you to select the required washing programme. Turn the knob clockwise until the number of the programme required is opposite the mark on the knob.
6 Programme sequence indicator
This continuously indicates what phase in the washing programme the appliance has reached. Each phase is represented by a symbol:

Prewash - Hold

Wash

Cold rinse

Hot rinse

Hot air drying
The Water Softener
Water contains varying amounts of lime and mineral salts depending on the area in which you live: these are deposited on the dishes leaving white marks.
The higher the content of these salts, the harder your water will be. The «hardness» level is measured on 2 equivalent scales: German degrees or French degrees. Contact your local Water Authority to find the exact water hardness level for your area.
The dishwasher is equipped with a softener which uses special dishwasher salt to provide lime-free (softened) water. The softener can treat water hardness up to 90 French degrees via 5 adjustment levels.
Find on the table below the level corresponding to the hardness of your water and the required adjustments:
| Water hardness | Use of salt | Water softener adjustment | Adjustment on the machine | ||
| °dH German degrees | °TH French degrees | Level | |||
| 0-7 | 0-14 | 1 | **NO | NO | NO |
| 8-21 | 15-39 | *2 | YES | NO | NO |
| 22-28 | 40-50 | 3 | YES | YES | NO |
| 29-39 | 51-70 | 4 | YES | NO | YES |
| 40-50 | 71-90 | 5 | YES | YES | YES |
- The water softener is factory set at level 2 as this suits most users.
** If you use phosphate free detergents containing enzymes, use salt starting from 4^ ( 7^ ).
Level 1
If your water is «level 1» it is already soft and therefore there is no need to use salt.
Levels 3 and 5 (water softener adjustment)
If your water is level 3 or 5, proceed as follows:
slide out the lower basket and unscrew the cap of the salt container; turn the two-position selector anticlockwise from position - to position + with the aid of a knife or a screwdriver.

Levels 4 and 5 (adjustment on the machine)

If your water is level 4 or 5, open the door and drill membrane (A) on the upper left-hand corner of the machine.
With a water hardness of level 5 both adjustments must be made.
Important
Salt MUST be used regularly from level 2 upward.
Filling with Salt
Only use salt designed specifically for use in dishwashers. Other types of salt contain high percentages of other substances which may reduce the efficiency of the softener.
Unscrew the cap of the salt container.
Fill the container with 1 litre of water (this operation is necessary only the first time).
Place approximately 1kg of dishwasher salt inside using the funnel provided (see figure).

Replace the cap making sure that there is no trace of salt on the screw thread or on the gasket.
Screw the cap on tightly.
When this has been done, all that is required is to periodically add salt to the container. You are reminded of this by a green refill indicator on the cap of the salt container. When the green indicator disappears, the water softener needs refilling with salt.
The salt container has always some water inside which will normally overflow when refilling with salt.
Caution
Only fill with salt just before starting one of the complete washing programmes (not Rinse and Hold programme). This will prevent any grains of salt or salty water, which may have been spilled, remaining on the bottom of the machine for any period of time. This could cause corrosion.
Rinse Aid
The use of this liquid ensures thorough rinsing, spot and streak free drying, making the water run quickly off the dishes for sparkling results. It is automatically added during the hot rinse. The dispenser, which is positioned inside the door, holds about 110ml of rinse aid, which is sufficient for 16-40 dishwashing programmes, depending upon the dosage setting.
Filling with Rinse Aid
Open the container by turning the lid (A) anticlockwise.
Add rinse aid until the container is completely full (approx. 110ml ). The indicator (B) will be completely dark.
Top up with rinse aid when the indicator (B) becomes clear
Remember to CLOSE the lid after every refill.
Caution
Clean up any rinse aid spilt during filling with an absorbent cloth to avoid excess foaming during the next wash.
Adjusting the Dose
According to the finish and drying results obtained, adjust the dose of rinse aid by means of the 6 position selector (C) (position 1 - minimum dose, position 6 - maximum dose).

Gradually increase the dose if there are drops of water or lime spots on the dishes after washing. Reduce it if there are sticky whitish streaks on the dishes.
Caution: Do not put liquid detergent into the rinse aid compartment.
Use of Detergent
Before starting any of the dishwashing programmes, except for the rinse and hold programme, load the detergent in the dispenser.
Use only tablets, powder or liquid detergents specifically designed for domestic dishwashers.
Unsuitable detergents (such as those for washing by hand) do not contain the right ingredients for machine washing and hamper correct functioning of the machine.
To open the dispenser lid, pull the catch (D). This will open it.

To help you to correctly dose the right amount of detergent, inside the container there are two reference marks:
$$ \begin{array}{l} - \text {M I N} = 1 5 \mathrm {m l} \ - \text {M A X} = 3 0 \mathrm {m l} \ \end{array} $$
The amount of detergent to be used varies depending on how soiled the dishes are and the type of dishes being washed. We recommend the amounts shown in the programme chart on the next pages.
After filling the dispenser with detergent, close the lid.

All the programmes with prewash require a small extra amount of detergent of approximately 5g to be poured over the lid of the dispenser, as shown on the picture.
At the end of any washing programme the lid is always open, ready for the next wash.
Since not all detergents are the same, you should also consult the instructions on the packet.
Remember that insufficient quantities of detergent will produce poor washing results whereas an excessive amount of detergent does not improve washing results and is also wasteful.
Using no more than the correct amount of detergent also contributes to reducing pollution.
Phosphate free detergents with enzymes
These new detergents, although welcome from an ecological point of view, react far more susceptibly to water hardness than conventional products. Therefore, in order to avoid white lime deposits on crockery and the inner tub, you should add salt in the water softener even if the hardness of your water is as low as 4^ ( 7^ ), when using these new detergents.
Loading your Machine
Before placing dishes in the machine, remove any scraps of food from the plates (small bones, toothpicks, fish bones, scraps of meat and vegetables, fruit skins etc.) to avoid clogging the filters and consequently reducing performance.
Open the door and slide out the baskets to load the dishes.
Use of the Lower Basket
The lower basket is designed to take saucepans, lids, plates (up to 27 cm in diameter), salad bowls, cutlery etc.
Serving dishes and large lids should be arranged around the edge of the basket, ensuring that the upper spray arm can turn freely.


Cutlery should be placed in the removable cutlery basket with the handles facing downwards. If the handles protrude from the bottom of the basket, obstructing the lower spray arm, load the cutlery with the handles facing upward.
Mix spoons with the other cutlery to prevent them sticking together.
Use of the Upper Basket
The upper basket is designed for plates (dessert plates, saucers, dinner plates up to 20 cm in diameter), salad bowls, cups and glasses; these should be arranged as shown in the pictures. Glasses with long stems can be placed upside-down in the raised cup-racks.



Caution
When loading the dishes, ensure that you do not cover the water inlet funnel in the middle of the upper basket.
Before closing the door, ensure that the spray arms can rotate freely.
Adjusting the Height of the Upper Basket
If washing very large plates (over 27 cm and up to 31 cm in diameter) you can load them in the lower basket after moving the upper basket to the higher position as follows:

Move the front runner stops (A) of the upper basket outward and slide the basket out.
Refit the basket in the higher position and replace the stops (A) in their original position.
When the top basket is in the higher position it will only take plates up to 20~cm in diameter and you will not be able to use the raised cup racks.
HELPFUL HINTS
For Best Washing Results:
Before loading, remove all scraps of food and soak very heavily soiled pots and pans.
Always arrange saucepans, cups and glasses etc. up side-down.
Tilt items with convex or concave surfaces so that the water drains off easily.
Long items of cutlery such as ladles, carving knives etc. should be positioned horizontally in the upper basket.
Avoid contact between the dishes as far as possible; correct arrangement of the items will give better washing results.
Light items (plastic bowls etc.) should be loaded in the upper basket and arranged so that they do not move during washing.
You will improve drying results by leaving the dishwasher door ajar for at least 15-30 minutes as soon as the programme finishes.
To Save Energy
Do not prewash dishes under running water.
Place dishes in the machine immediately after every meal and wait until the dishwasher is full before washing.
If necessary run the Rinse and Hold programme (see Programme Chart on the following pages), so that any food scraps do not become caked on the dishes while you are waiting to run the complete wash programme.
Care must be taken when opening the door, as steam will escape.
Items not Suitable for Dishwashers
The following should not be washed in the dishwasher:
Cutlery or dishes with wooden or horn handles or glued parts.
Handmade items, wooden objects, antiques or hand-painted china.
Certain types of decoration can discolour when washed in a dishwasher.
Crystal-ware and plastic objects, if not guaranteed dishwasher-proof, should be washed by hand. You are advised to place them in the upper basket.
Certain types of glass can also become opaque after being washed several times in a dishwasher.
Silver cutlery tends to go black if mixed with steel cut- lery. Place it in the cutlery basket separated from the others.
Iron and cast iron objects can rust and stain other items.
Aluminium tends to go black; copper, pewter and brass tend to stain.
Caution: You are advised not to load very small or plastic items which can fall through the baskets.
Note: When buying new dishes, ensure that they are dishwasher-proof.
Washing programmes
| Programmes | Type of load | Degree of soil | Starting position of the programmer | Required push- button | Recommended quantity of detergent | Cycle description | Approximate consumption values *** | |||
| in the dispenser on the door | on the dispenser lid | Programme duration in minutes | Energy consumption in kWh | Water consumption in litres | ||||||
| * Normal Programme 65° | Pots - Pans Crockery | Normally or heavily soiled, also dried up and/or containing starch (i.e. pasta, rice, semolina, potatoes, egg, sauces, roast). | 3 | 2 level dessert spoons (20 g) | 1/2 dessert spoon (5 g) | Cold prewash Main wash up to 65°C 1 cold rinse 1 hot rinse up to 65°C Hot air drying | 64 | 1,1 | 17 | |
| ** Quick Programme 65° | Crockery, cutlery | Lightly soiled, not dried up (i.e. meat, cooked or uncooked vegetables, milk coffee, drinks). Due to the shortness of this programme, no drying phase is provided. | 1 | 1 heaped dessert spoon (15 g) | / | Main wash up to 65°C 1 cold rinse 1 hot rinse up to 65°C | 42 | 1,0 | 16 | |
| Rinse & Hold | Partial load to be completed later. This programme does not require any detergent. | 2 | / | / | 1 cold rinse (to avoid food scraps from sticking to the crockery). | 10 | 0,1 | 11 | ||
- This programme is equivalent to IEC 436/DIN44990.
Recommended quantity of detergent: 20 g in the dispenser
5 g over the dispenser lid
Standard place settings: 8
Operating Sequence
1 Check that the filters are clean
(see cleaning instructions)
2 Check that there is salt and rinse aid
3 Load the dishes
Remove larger scraps of food.
Pull the lower basket out and arrange the saucepans, plates and cutlery in it.
Pull the upper basket out and arrange the plates, saucers, glasses and cups etc. in it.
Slide the baskets back into the machine. Ensure that the spray arms can rotate freely.
4 Measure out detergent
Pour the required amount of detergent into the dispenser according to the indications in the Washing Programmes chart and close the lid.
Close the dishwasher door.
5 Set the programme
Turn the selector knob clockwise until the number of the required programme is opposite the mark on the knob.

6 Start the programme
Insert the plug into the wall socket.
Open the water tap.
Depress the ON/OFF pushbutton 1. The «mains on» indicator light will come on and the machine will start.
If you wish to interrupt the wash at any time press button again.
To restart the machine, depress the same button again and the programme will continue from the point where it was interrupted.
7 At the end of the washing programme
The machine will stop and the « mains on»indicator light remains on until ON/OFF button is depressed.
Turn off the water tap.
Open the door and wait a few minutes before removing the dishes; in this way you will avoid burning your fingers and drying will be improved.
Empty the lower basket first and then the upper one; this will avoid water dripping from the upper basket onto the dishes in the lower one.
Caution
In general it is not advisable to open the door while the machine is working; if the door is opened however, a safety device ensures that the machine stops.
If you have to open the door while the machine is working, always switch off the appliance first by pressing the ON/OFF button.
Care must be taken if opening the door, as steam will escape.
Cleaning the Central Filters (After each wash)
Inspect the central filters (B) and (C) and remove any scraps of food with a brush, under running water.
Filters (B) and (C) are both removed by lifting up the outer one (B) (pulling the central funnel upwards); the smaller filter (C) can then be removed by pressing the two tongues (D).


Once cleaned, refit the filters by pressing them down until they click into place.
Cleaning the Large Filter (Once a month)
Clean the large filter (A) on both sides under running water, using a brush.
To take it out, remove the spray arm by pressing the two tongues (E), turn the ring (F) anticlockwise (towards the left) and then slide the whole part out. Refit the filter following the above instructions in reverse order.

Caution: the dishwasher must not be used without filters.
Incorrect repositioning of the filters will produce poor washing results.
Cleaning of the filters is vital to ensure correct operation of the machine.
Internal and External Cleaning
You must ensure that the seals around the door, the detergent and rinse aid dispensers are cleaned regularly with a damp cloth.
We recommend you carryout a maintenance wash every 3 months, by running a 65^ C wash programme without dishes or using a specific dishwasher cleaner.
Check that the spray arm nozzles are not obstructed.
To remove the bottom spray arm, release it from its securing catches and pull it out.
To clean the nozzles of the top spray arm, slide out the top basket whereby the spray arm will become accessible. To remove it, withdraw the central funnel by pressing the two side tabs and unscrewing the retaining ring.
- Wash the spray arms under running water and refit them in place.
Clean the external surfaces of the machine and control panel with a soft damp cloth. If necessary use only neutral detergents. Never use abrasive products, scouring pads or solvents (acetone, trichloroethylene etc...).
Prolonged Periods of Non-Operation
If you are not using the machine for any period of time, you are advised to:
unplug the appliance and turn off the water;
fill the rinse aid dispenser;
leave the door ajar to prevent the formation of unpleasant smells;
leave the inside of the machine clean.
Frost Precautions
Avoid placing the machine in a location where the temperature is below 0^ .
If this is unavoidable, empty the machine, close the water inlet tap, disconnect the water inlet pipe and empty it.
Moving the Machine
If you have to move the machine (you are moving house etc...):
unplug it;
turn off the water tap;
remove the water inlet and discharge hoses;
pull the machine out together with the hoses.
Caution: avoid over tilting the machine during transport.
Certain problems are due to lack of simple maintenance or oversights and can be solved easily without having to call out an engineer.
The machine will not start
The door has not been properly closed.
The plug is not properly inserted in the power socket.
There is no current at the socket. Check the fuse.
The machine will not fill with water
The water tap is shut.
The water supply has been cut off.
The inlet hose is kinked.
The water inlet hose filter is clogged.
The machine will not drain
The drain hose is kinked.
The sink drain is blocked.
The drain hose extension is not correct.
There is no air vent in the end of the drain hose.
The dishes are not clean (poor wash)
The baskets are too full.
The dishes have not been arranged properly.
The spray arms do not rotate.
The spray arm holes are clogged.
The water inlet funnel in the centre of the upper basket is covered by dishes.
The end of the drain hose is submerged in waste water (in the sink).
The filters are clogged.
The filters are not in position.
Not enough detergent has been used or it is unsuitable.
The detergent is old or has gone hard.
The washing programme selected is too gentle.
Visible lime deposits or white film on the dishes
The rinse aid has run out or too little is being used.
The machine is noisy
The dishes are rattling against each other.
The spray arms are knocking against the dishes.
The dishes are not quite dry
The dishes have been left too long inside the machine.
The door is difficult to close
The dishwasher is not level or is not properly built-in.
If, after the above checks, the fault persists, call your local Service Centre. Please make sure you give the model and serial number of the appliance. This information can be found on the rating plate located on the right-hand side of the dishwasher door (see picture).

Original spare parts can be purchased from Service Centres.
Protection against flooding
In order to prevent water floods, the machine has been provided with two additional devices, having the following characteristics:
- In the water inlet hose (see water connection): the device comes into operation as a result of any damage to the water inlet hose and stops the water inflow. It functions even with the machine off.
- In the bottom of the machine: the device comes into operation as a result of any water leaks in the machine and it functions only with the machine on.
To repair the machine, call the Service Centre.
Building-in features
This dishwasher is designed to be fitted under a kitchen counter or sink.
In either case, it is essential that the recess dimensions indicated in the picture are followed.
No further openings for venting of the dishwasher are required, but only to let the water inlet and drain hoses and power supply cable pass through.


The recess height may be anywhere between 820 and 880~mm from the floor since the dishwasher incorporates levelling feet adjustable over a wide range (max 60~mm ).
Adjust the height of the appliance by turning these feet.
A distance of 2mm should be allowed between the top of the dishwasher and the counter top.
Fitting under a counter (kitchen worktop or sink)
It is absolutely essential that the dishwasher is disconnected from the electricity supply before gaining access to any internal component.
Fit the dishwasher into the appropriate housing space and connect it. Make sure that the water fill and drain hoses and the power supply cable are not bent or kinked.
Fitting the panel to the door
The door which comes with this model is designed for the overlay of a panel having the following dimensions:
Width: 446 mm
Height: 594 mm
Thickness: 20 mm max
Weight: 1.5 to 6kg max
Note: The panel height should not be more than that indicated, otherwise complete opening of the door will no longer be possible as the panel hits against the dishwasher plinth.
Furthermore, it is possible to fine up the control panel to correspond with the height of the drawers of the adjacent pieces of furniture, thus perfectly co-ordinating with the style of the rest of the unit furniture in your kitchen.

Add one or more of the fillets provided until you reach the desired height. Secure the fillets as shown in the picture, by means of two screws 4,2 × 38 provided therewith.
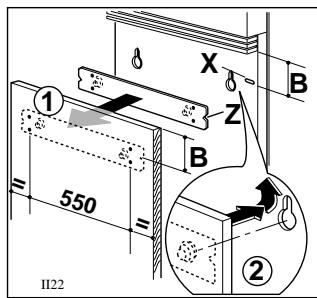
Prepare the panel as follows:

Measure the distance (B) between the part below the control panel (or fillets) and the reference notch (X) on the door.
Measure the same distance (B) on the wooden panel starting from the upper edge.
At this distance position the supporting cross-bar provided, in correspondence with the reference (Z). Keep the same distance between the centre of the support's fastening holes and the lateral edges of the wooden panel.
On the panel sign the seats for the four fastening screws. Drill the panel with a 2 × 12 bit and fix the supporting cross-bar onto the wooden panel with the 3,5 × 16 screws provided.
Mount the decor panel by inserting the two pivots of the cross-bar into the slotted holes of the door.
Lift the decor panel until the perfect alignment with the facia panel is obtained.
Securing under a counter

Secure the dishwasher to the counter on the front part by means of two 4,2x13 screws provided (see fig. - point A).
Important!
The dishwasher must be secured against tilting. Therefore, make sure that the counter it is fitted under, is suitably secured to a fixed structure (adjacent kitchen cabinets, wall).
Attention!
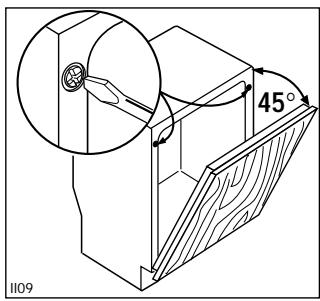
When the dishwasher is secured to the kitchen cabinets, do not drill any holes into the sides of the machine.
Adjusting the door balance
After fitting the door panel, the adjustment of the door balance may be necessary.
The door of the dishwasher is balanced when it is open in any position.

For this purpose use the two front screws. Open the door, remove the caps and screw or unscrew the screws.
In this way the tension of the door balancing springs is increased or decreased respectively. Insert the caps again.
Attention!
The weight of the panel should be within the limits given in the "dimensions of the panel", otherwise balancing the door will not be possible.
Levelling
Make sure that the dishwasher door closes properly, without rubbing on sides. Otherwise level the machine by slightly screwing or unscrewing the two front feet until perfect closure of the door is reached.
Kitchen plinth adjustment

To allow correct opening of the door it is sometimes necessary to cut the kitchen plinth. Refer to the cutting table below.

According to dimensions of (a) and (b) as shown on the figure, you will find on the following table the depth (x) of the cut to be made on the plinth.
The dimensions (a) and (b) of the table are those more frequently used in the kitchen furnitures.

EasyManual