CS-340 - Brush cutter ECHO - Free user manual and instructions
Find the device manual for free CS-340 ECHO in PDF.
User questions about CS-340 ECHO
0 question about this device. Answer the ones you know or ask your own.
Ask a new question about this device
Download the instructions for your Brush cutter in PDF format for free! Find your manual CS-340 - ECHO and take your electronic device back in hand. On this page are published all the documents necessary for the use of your device. CS-340 by ECHO.
USER MANUAL CS-340 ECHO
The muffler or catalytic muffler and surrounding cover may become extremely hot.
Always keep clear of exhaust and muffler area, otherwise serious personal injury may occur.

WARNING

The engine exhaust from this product contains chemicals known to the State of California to cause cancer, birth defects or other reproductive harm.

WARNING DANGER
Read rules for safe operation and instructions carefully. ECHO provides an Instruction Manual and a Safety Manual. Both must be read and understood for proper and safe operation.
A. Kickback Safety Precaution for Chain Saw Users
WARNING!
KICKBACK may occur when the nose or tip of the guide bar touches an object, or when the wood closes in and pinches the saw chain in the cut.
Tip contact in some cases may cause a lightning fast reverse REACTION, Kicking the guide bar up and back towards the operator. Pinching the saw chain along the top of the guide bar may push the guide bar rapidly back towards the operator. Either of these reactions may cause you to lose control of the saw which could result in serious personal injury.
The Kick Guard® device is not installed on the guide bar when you purchase your ECHO chain saw. The Kick Guard® can be used in a majority of cutting operations, and is especially recommended for beginners, homeowners, or chain saw novices. Most cutting operations can be accomplished with the Kick Guard® in place.
Do not rely exclusively upon the safety devices built into your saw. As a chain saw user, you should take several steps to keep your cutting jobs free from accident or injury.
- With a basic understanding of kickback, you can reduce or eliminate the element of surprise. Sudden surprise contributes to accidents.
- Keep a good firm grip on the saw with both hands, the right hand on the rear handle, and the left hand on the front handle, when the engine is running. Use a firm grip with thumbs and fingers encircling the chain saw handles. A firm grip will help you reduce kickback and maintain control of the saw. Don't' let go.
- Make sure that the area in which you are cutting is free from obstructions. Do not let the nose of the guide bar contact a log, branch, or any other obstruction which could be hit while you are operating the saw.
- Cut at high engine speeds.
- Do not overreach or cut above shoulder height.
- Follow manufacturer's sharpening and maintenance instructions for the saw chain.
- Only use replacement bars and chains specified by the manufacturer or the equivalent.
B. Other Safety Precautions
- Do not operate a chain saw with one hand! Serious injury to the operator, helpers, bystanders, or any combination of these persons may result from one-handed operation. A chain saw is intended for two-handed use.
- Do not operate a chain saw when you are fatigued.
-
Use safety footwear; snug-fitting clothing; protective gloves; and eye, hearing and head protection devices.
-
Use caution when handling fuel. Move the chain saw at least 3m (10 feet) from the fueling point before starting the engine.
- Do not allow other persons to be near the chain saw when starting or cutting with the chain saw. Keep bystanders and animals out of the work area.
- Do not start cutting until you have a clear work area, secure footing, and a planned retreat path from the falling tree.
-
Keep all parts of your body away from the saw chain when the engine is running.
-
Before you start the engine, make sure that the saw chain is not contacting anything.
- Carry the chain saw with the engine stopped, the guide bar and saw chain to the rear, and the muffler away from your body.
- Do not operate a chain saw that is damaged, improperly adjusted, or not completely and securely assembled. Be sure that the saw chain stops moving when the throttle control trigger is released.
- Shut off the engine before setting the chain saw down.
- Use extreme caution when cutting small size brush and saplings because slender material may catch the saw chain and be whipped toward you or pull you off balance.
- When cutting a limb that is under tension, be alert for spring back so that you will not be struck when the tension in the wood fibers is released.
-
Keep the handles dry, clean, and free of oil or fuel mixture.
-
Operate the chain saw only in well-ventilated areas.
- Do not operate a chain saw in a tree unless you have been specifically trained to do so.
- All chain saw service, other than the items listed in the Instruction Manual maintenance instructions, should be performed by competent chain saw service personnel. (For example, if improper tools are used to remove the flywheel or if an improper tool is used to hold the flywheel in order to remove the clutch, structural damage to the flywheel could occur and could subsequently cause the flywheel to burst.)
- When transporting your chain saw, use the appropriate guide bar scabbard.
- Spark arrester mufflers approved to SAE Standard J335b are Standard on ECHO Chain saws to reduce the possibility of forest fires. Do not operate the chain saw with a loose or defective muffler. Do not remove the spark arrester screen.
CONTENTS
Page
Rules for Safe Operation 2
Technical Data 4
Emission Data 5
Description 5
Nomenclature of Parts 6
Preparation for Use 7
Fuel and Lubricant 8
Operation 10
Cutting Instructions 12
Maintenance and Care 16
Chain and Guide Bar Combinations 19
Setting the Saw Chain 19
Troubleshooting 21
Storage 22
Correct Use of Chain Brake 23
Servicing Information 24
TECHNICAL DATA
| Model | CS-300 | CS-340 | CS-345 | ||
| Dimension | L x W x H | mm | 260 x 235 x 220 | 380 x 235 x 245 | |
| inch | 10.2 x 9.2 x 8.7 | 15.0 x 9.2 x 9.6 | |||
| Weight | Power head, dry | kg | 3.2 (7.1 lb) | 3.3 (7.3 lb) | 3.4 (7.5 lb) |
| Without chain and guide bar | |||||
| Engine | Type | ml | Air-cooled, two-stroke, single cylinder | ||
| Displacement | 30.1 (1.83 cu.in.) | 33.4 (2.03 cu.in.) | |||
| Carburetor Magneto Spark Plug Starter Power transmission | Diaphragm type Flywheel magneto : CDI system NGK BPM-8Y Recoil starter Automatic centrifugal clutch | ||||
| Fuel | Mixture ratio | 50:1 ratio with Echo Power Blend ™ 2-stroke oil. 89 octane unleaded. Do not use fuel containing methyl alcohol, more than 10% ethyl alcohol or 15% MTBE. | |||
| Tank Capacity | L | 0.25 (8.6 fl oz U.S.) | |||
| Oil | Bar and chain | ECHO bar and chain oil (or motor oil) | |||
| Tank Capacity | L | 0.15 (5 fl. oz. U.S.) | |||
| Guide bar Saw chain | 12 in. Standard | 14 in. Standard | 16 in. Standard | ||
| 14, 16 in. Optional | 12, 16 in. Optional | 12, 14 in. Optional | |||
| Lubrication | Adjustable automatic oil pump | ||||
| Standard features | Top Handle | Conventional handle Rear hand guard | |||
| Front hand guard, Anti-vibration device, Throttle control lockout, Chain brake, Chain catcher, Spark arrestor muffler | |||||
| Engine RPM | Idle | 2800 - 3500 | |||
| Wide Open Throttle (WOT) | 10000 - 12000 | ||||
- Technical data subject to change without notice.
EMISSION DATA
EMISSION CONTROL
EPA Phase II
The emission control system for these engines are EM (Engine Modification).
An Emission Control Label is located on the engine. (This is an EXAMPLE ONLY, information on label varies by engine FAMILY).

PRODUCT EMISSION DURABILITY
The 300 hour emission durability compliance period is the time span selected by the manufacturer certifying the engine emissions output meets applicable California and/or U.S. EPA emissions regulations, provided that approved maintenance procedures are followed as listed in the Maintenance Section of this manual.
DESCRIPTION
The ECHO product you purchased has been factory pre-assembled for your convenience. Due to packaging restrictions, guide bar and saw chain installation and other assembly may be necessary.
After opening the carton, check for damage. Immediately notify your retailer or ECHO Dealer of damaged or missing parts. Use the contents list to check for missing parts.
CONTENTS
1 - PowerHead
1 - Guide Bar
1 - Kick Guard
1 - Hex Head Bolt
1 - Hex Nut
1 - Saw Chain
1 - Instruction Manual
1 - Safety Manual
1 - Warranty Registration Card
1 - Limited Warranty Statement
1-T-Wrench
1 - Echo Power Blend™ 2-stroke oil sample






NOMENCLATURE OF PARTS
CS-300, CS-340


- Hand guard
(Chain brake actuating lever) - Throttle control lockout
- Throttle control trigger
- Sprocket guard
- Chain catcher
-
Air cleaner cover
-
Purge bulb
- Guidebar
- Saw chain
- Fronthandle
- On/Off switch
- Rearhand guard
-
Fuel tank cap
-
Pull starter
- Oil tank cap
- Throttle control latch
- Tip guard
- Muffler
- Lanyardring
- Spark Plug

CS-345

PREPARATION FOR USE

KICK GUARD® TO BAR INSTRUCTIONS
For saws with Kick Guard® P/N 2894901 and symmetrical or asymmetrical low-kick type guide bars.
- Install bolt (A) in rear hole (B) of Kick Guard® and through front hole (C) in guide bar.
- IMPORTANT: Dimple in Kick Guard® (D) must engage recess in guide bar (E).
- Tighten nut (F) and bolt (A) until snug. Make certain Kick Guard® is flush against guide bar.
WARNING

DANGER
Saw Chain is sharp! Always wear gloves when handling assembly, otherwise serious personal injury may result.

- Remove two guide bar nuts and remove sprocket guard (J).
- Mount guide bar (G) on studs, and slide toward sprocket to make saw chain installation easier.
- Install saw chain (H) as shown, with cutters on top of guide bar facing forward.
IMPORTANT
Be certain tensioner (I) fits into lower adjuster hole before tightening guide bar nuts.
NOTE
Move chain brake lever fully rearward to install sprocket guard to saw.
- Install sprocket guard (J), and tighten guide bar nuts finger tight.
- Adjust saw chain tension, as instructed in "Adjustment, Chain Tension."


ADJUSTMENT, CHAIN TENSION
- Remove spark plug lead.
- Loosen two guide bar nuts, if necessary.
- Hold the bar nose up, and turn the adjuster screw (L) clockwise until the chain touches the bottom of the bar.
- Tighten both guide bar nuts with bar nose held up.
IMPORTANT!
Tighten guide bar nuts to 90 - 110 kgf/cm (80 - 95 in. lbs.) DO NOT over-tighten nuts. Damage to saw may result.
- Pull the saw chain around the guide bar by hand. Reduce chain tension, if you feel tight spots.
- Keep chain properly tensioned at all times.
NOTE
All chains require frequent adjustments.
FUEL AND LUBRICANT
FUEL STATEMENT
GASOLINE - Use 89 Octane [R+M/2] (mid grade or higher) gasoline or gasohol known to be good quality. Gasohol may contain up to 10% Ethyl (grain) alcohol or 15% MTBE (methyl tertiary-butyl ether). Gasohol containing methyl (wood) alcohol is NOT approved.
Two Stroke Oil - A two-stroke engine oil meeting ISO-L-EGD (ISO/CD 13738) and J.A.S.O. FC Standards must be used. Echo brand premium Power Blend™ Universal 2-Stroke Oil meets these standards. Engine problems due to inadequate lubrication caused by failure to use an ISO-L-EGD and J.A.S.O. FC certified oil, such as Echo premium Power Blend™, will void the two-stroke engine warranty. (Emission related parts only are covered for two years, regardless of two-stroke oil used, per the statement listed in the Emission Defect Warranty Explanation.)
IMPORTANT
Echo premium Power Blend™ Universal 2-Stroke Oil may be mixed at 50:1 ratio for application in all Echo engines sold in the past regardless of ratio specified in those manuals.

Mixing Instructions
- Fill an approved fuel container with half of the required amount of gasoline.
- Add the proper amount of 2-stroke oil to gasoline.
- Close container and shake to mix oil with gasoline.
- Add remaining gasoline and remix.
- Install fuel container cap and wipe any spilled fuel from container and surrounding area.
IMPORTANT
Stored fuel ages. Do not mix more fuel than you expect to use in thirty (30) days, ninety (90) days when a fuel stabilizer is added.
Stored two-stroke fuel may separate. ALWAYS shake fuel container thoroughly before each use.
IMPORTANT
Spilled fuel is a leading cause of hydrocarbon emissions. Some states may require the use of automatic fuel shut-off containers to reduce fuel spillage. Contact your ECHO dealer for ordering information.
Fuel Mix Chart
50:1
| (U.S.) | (METRIC) | ||
| GAS | OIL | GAS | OIL |
| Gal. | Fl. oz. | Liter | cc. |
| 1 | 2.6 | 4 | 80 |
| 2 | 5.1 | 8 | 160 |
| 5 | 12.8 | 20 | 400 |
CHAIN LUBRICANT
Proper lubrication of the chain while in operation reduces friction between the chain and the guide bar to a minimum and assures a longer service life.
- use bar and chain oil of high quality for this purpose.
- Do not use used or reclaimed oil to avoid various oiler problems.
- Use ECHO bar and chain oil.
- When ECHO bar and chain oil is not available: Use motor oil, etc.
- Use bar and chain oil of the following grades: SAE NO. 30 .... in summer SAE NO. 10 .... in winter or when cutting resinous trees.
- When refueling, also refill chain oil.

TANK INDICATION
FUEL TANK

OIL TANK
WHEN THE ENGINE IS COLD
WARNING

DANGER
Make sure bar and chain are not touching anything when starting the saw.
- Move chain brake lever fully forward to engage chain brake before starting.
- Fill the fuel tank with fuel.
- Fill the chain oil tank with lubricant.
- Turn switch (A) to "RUN" position (I).
- Pull choke (B) all the way out (closed position).
- Push purge bulb (C) 10 times.
- Pull starter handle several times until first firing sound is heard. (Secure unit on ground with your knee or foot.) (5 - 6 pulls maximum.)
- Push choke (B) all the way in. (open position)
- Pull starter handle again.
NOTE
If engine does not start after 5 pulls, repeat instructions.
WHEN ENGINE IS HARD TO START
WARNING

DANGER
Clutch engages and chain may rotate when engine is started with throttle control latch engaged. Never use the throttle control latch for cutting. Use only when starting the engine.
- Press throttle control lockout down, squeeze throttle trigger, and push in throttle control latch.
- Pull starter handle.
- When engine starts, immediately squeeze throttle trigger to release the latch otherwise damage to clutch may result.
NOTE
Do not pull starter rope out to the maximum possible position.
Do not allow recoil handle to snap back against the casing.

CS-345

CS-300
CS-340


Securely hold the saw.
STARTING WARM ENGINE
- Ensure that there is fuel and chain oil in the tanks. (If fuel tank was emptied during previous operation, refill tank and push purge bulb 10 times.)
- Turn switch (A) to "RUN" position (I).
Pull starter handle. - Choke may be used if necessary, but be sure to push it back on first firing sound.
NOTE
If engine does not start after 5 pulls, use cold start procedure.
RUNNING
WARNING

DANGER
The saw chain should not move at idle, otherwise serious personal injury may result.
NOTE
If saw chain moves adjust carburetor according to "Carburetor Adjustment" instructions in this manual, or see your dealer.
- After engine starts, allow it to return to idle.
- Move chain brake lever fully rearward to release chain brake.
- Press throttle control lockout then gradually squeeze throttle trigger to increase engine speed.
- Saw chain starts moving when the engine reaches approximately 4200 rpm.
- Ensure proper acceleration and lubrication of chain and bar.
- Do not run the engine at high speed unnecessarily.
- Be sure that saw chain stops moving when throttle trigger is released.
STOPPING
- Release throttle trigger and turn switch (A) to STOP (O) position.
NOTE
If engine does not stop, pull choke out fully to stop engine.
Check and repair stop switch before starting the engine again.


CS-300
CS-340

CUTTING INSTRUCTIONS

GENERAL
WARNING

DANGER
Read the ECHO "CHAIN SAW SAFETY MANUAL" included with your chain saw for additional cutting and safety instructions. Failure to obey all instructions may result in serious or fatal injuries.
In all circumstances the operation of the chain saw is a one-man job. It is difficult at times to take care for your own safety, so don't assume the responsibility for a helper as well. After you have learned the basic techniques of using the saw, your best aid will be your own good common sense...
The accepted way to hold the saw is to stand to the left of the saw with your left hand on the front handlebar and your right hand on the rear handle so you can operate the throttle trigger with your right index finger.
Before attempting to fell a tree, cut some small logs or limbs. Become thoroughly familiar with the controls and the responses of the saw.
Start the engine, see that it is running properly. Squeeze the trigger to open the throttle wide open and start the cut. If the chain is properly sharpened, the cutting should be relatively effortless. It is not necessary to press down hard to make the saw cut. Pushing the saw too hard will slow the engine and cutting will actually be more difficult.
NOTE
Some material may adversely affect the housings of your ECHO chain saw.
(Example: Palm Tree Acid, fertilizer, etc.) To avoid housing deterioration, carefully remove all packed saw dust around clutch and guide bar area and wash with water.
WARNING

DANGER
Do not let the tip of the bar touch anything while the engine is running. At cutting speed the chain is moving at a high rate of speed. Should the tip contact a limb or log while the chain is moving, the tip will be pushed upward with considerable force. This is known as kickback. Avoid it!
FELLING A TREE




LIMBING
WARNING

DANGER
A falling tree can seriously damage anything it may hit - a car, a house, a fence, a power line, or another tree. There are ways to make a tree fall where you want it, so first decide where that is!
Before cutting, clear the area around the tree. You will need good footing while working and you should be able to work the saw without hitting any obstacles. Next, select a path of retreat. When the tree begins to fall you should retreat away from the direction of fall at a 45 degree angle to avoid the trunk kicking back over the stump.
Begin the cut on the side to which the tree is to fall. Cut a notch about 1/3 of the way into the tree as shown. The position of this notch is important since the tree will try to fall "into" the notch. The felling cut is made on the side opposite the notch and at a level about 2" above the bottom of the notch. Do not try to cut through to the notch with the felling cut. The remaining wood between the notch cut and felling cut (about 2") will act as a hinge when the tree falls, guiding it in the desired direction. When the tree starts to fall, kill the engine, place the saw on the ground and make your retreat quickly.
To fell big trees with a diameter exceeding twice the bar length, start the notching cuts from one side and draw the saw through to the other side of the notch. Start the back cut on one side of the tree, pivoting the saw through to form the desired hinge on that side.
Then remove the saw for the second cut. Insert the saw in the first cut, very carefully so as not to cause kickback. The final cut is made by drawing the saw forward in the cut to reach the hinge.
Limbing a fallen tree is much the same as bucking. Never limb on the tree that you are standing. When limbing, caution is the word. Be careful of the tip touching other limbs. Always use both hands.



KICKBACK

Improper thrust cutting.
When the bar nose hits another tree, etc.
Don't cut with the saw overhead or the bar in a vertical position. If the saw should kick back you may not have good enough control to prevent possible injury.
Bucking is the sawing of a log or fallen tree into smaller pieces. There are a few basic rules which apply to all bucking operations.
Keep both hands on the handles at all times.
Support logs if possible.
When cutting on a slope or hillside, always stand uphill.
Keep in mind that the wood is heavy and that it will bend and pinch the saw if improperly supported.
The trunk will weaken at the point where you make the cut unless the tree is lying on perfectly flat ground or supported as shown.
If you make the cut with the tree on the ground, don't let the saw's chain dig into the earth; it is harmful for the saw, and you stand a good chance of being struck by flying debris. To cut the trunk, use the bucking and two-cut sequence shown. The first cut should be no deeper than one-third the trunk diameter.
WARNING

DANGER
Kickback is generated when the rotation of the chain is arrested for some reason. The most dangerous effect of this action occurs when the nose of the bar contacts another object, the chain is momentarily stopped and all the energy of the engine throws the bar upwards and backwards towards the operator.
The chain saw industry and government agencies have attempted to prescribe various safety devices, but the best protection is to avoid kickback.
Comply with the Safety Precautions as listed on page 2 of this manual.
INFORMATION
Kickback Safety Features
The following features are standard for this model as Kickback Safety Features.
- Double Guard Low Kick Type Guide Bar or Asymmetrical Low Kick Type Guide Bar
NOTE:
Your saw chain can be equipped with either of these bars.

Double Guard Bar
NOTE
Use ECHO replacement guide bars.
These guide bars may be considered to have equivalent kickback reduction:
- Sprocket nose guide bars of the same length and nose radius, same pitch and having the same number of teeth.
-
A hard nose guide bar having the same length and nose radius as a sprocket nose bar.
-
Low Kick Guard Link Type Saw Chain
The low kick, guard link chain must be maintained correctly. Follow instruction "SETTING THE CHAIN" in this Instruction Manual.
- Front Hand Guard (Chain Brake Actuating Lever)
The front handle guard must be installed correctly and kept in good condition.
- Chain Brake
Chain brake must be maintained correctly. Follow instruction "CORRECT USE OF CHAIN BRAKE" in this Instruction Manual.
Kick Guard
Kick guard must be installed properly. Follow instructions.
WARNING

DANGER
Using improper replacement components or removing safety devices may result in serious or fatal injury.
MAINTENANCE AND CARE





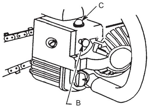
AIR FILTER
- Check before every use.
- Pull choke (A) all the way out (close position).
- Loosen bolt and remove air cleaner (B) cover and filter (C).
- Lightly brush dust off filter, and inspect for damage.
AUTOMATIC OILER
- The discharge volume of the automatic oiler is adjusted to 3 to 4cc / mm (@ 7000~rpm ) prior to shipment from the factory.
- Always check oil discharge when in use.
- Turn adjusting screw (D) counter-clockwise to increase oil volume, clockwise to decrease oil volume.
OIL STRAINER
-
Check periodically.
-
Do not allow dust to enter into oil tank.
- Clogged oil strainer will affect the normal lubricating system.
Pick it up through oil port. - If the strainer (E) is dirty, wash it in gasoline.
- When the inside of the tank gets dirty, rinsing the tank out with gasoline will clean it.
FUEL STRAINER
-
Check periodically.
-
Do not allow dust to enter fuel tank.
- Clogged strainer will cause difficulty in starting engine or abnormalities in engine performance.
Pick up the fuel strainer (F) through fuel inlet port with a piece of steel wire, or the like. - When the strainer is dirty, wash it in suitable cleaning fluid.
- When the inside of the fuel tank is dirty, rinsing the tank out with suitable cleaning fluid will clean it.
GUIDE BAR AND OIL HOLES
Clean after each use
- Clean the grooves (G) of the guide bar with, for example, a small screwdriver.
- Clean oil holes (H) with a wire.
Reverse guide bar periodically.
SPROCKET
- A damaged sprocket (J) will cause premature damage on wear of saw chain.
- When the sprocket has worn out 0.5 ~mm (.020") or more, replace it.
- Check sprocket when you install new chain. Replace it if worn.
- Clean sprocket, clutch and bar mount area before installation of bar.
IMPORTANT
Some tree sap and resins are corrosive. Thoroughly wash the guide bar and sprocket areas after each use, then coat metal parts with light oil.



SPARK PLUG
- Check periodically
- Gap = 0.65mm (.026 in.)
- Replace if either electrode is worn, or if the insulator is fouled by oil or other deposits.
- Torque = 145 - 155 kg ’cm (125 – 135 in. lb.)
IMPORTANT Do not over-torque.
COOLING SYSTEM CLEANING
- Remove spark plug lead.
- Remove two (2) muffler cover screws and muffler cover.
- Remove four (4) recoil starter housing screws and starter housing.
- Use a stiff bristle cleaning brush (do not use a metal brush) to remove dirt from cylinder fins in muffler and ignition coil areas.
CARBURETOR ADJUSTMENT
Engine Break-In
New engines must be operated a minimum duration of two tanks of fuel break-in before carburetor adjustments can be made. During the break-in period your engine performance will increase and exhaust emissions will stabilize. Idle speed can be adjusted as required.
BEFORE MAKING ADJUSTMENTS:
- The correct spark plug must be clean and properly gapped.
- The air filter element must be clean and properly installed.
- The muffler spark arrestor screen and exhaust port must be clear of carbon.
- The standard bar and chain combination (see page 4) must be installed to the power head, and properly tensioned.
LOW ALTITUDE ADJUSTMENT
Engines that have been adjusted to operate at high altitudes must be readjusted to operate properly at altitudes below 2000 feet.


- Start engine and run for several minutes to reach operating temperature.
- Stop engine. Remove grommet cover (A) over “H” and “L” limiter needles.
- Start engine and turn the high-speed needle rich (CCW) until the engine runs between 10,000 and 12,000 RPM. Then turn the low-speed needle rich (CCW) until the engine does not hesitate when accelerated. DO NOT REMOVE LIMITER CAPS!
-
Idle Speed Adjustment.
-
Turn "idle" speed adjustment screw (B) CW until the saw chain begins to move, then turn the screw CCW until saw chain stops moving. Turn screw CCW an additional 1/4 turn.
- Accelerate to full throttle for 2-3 seconds to clear excess fuel from engine then return to idle. Accelerate to full throttle to check for smooth transition from idle to full throttle. If engine stops or stalls after full warm up return the unit to your authorized ECHO dealer for adjustment.
- Install grommet cover (A) over "H" and "L" limiter needles.
HIGH ALTITUDE ADJUSTMENT
High altitude adjustment may be required for proper operation of this engine above 2000 feet.
- Start engine and run for several minutes to reach operating temperature.
- Stop engine. Remove grommet cover (A) over "H" and "L" limiter needles.
-
Start engine and turn the HI speed needle lean (CW) until the engine runs between 10,000 and 12,000 RPM. Then turn the LO speed needle lean (CW) until the engine does not hesitate when accelerated. DO NOT REMOVE LIMITER CAPS!
-
Idle Speed Adjustment.
-
Turn "idle" speed adjustment screw (B) CW until the saw chain begins to move, then turn the screw CCW until saw chain stops moving. Turn screw CCW an additional 1/4 turn.
- Accelerate to full throttle for 2-3 seconds to clear excess fuel from engine then return to idle. Accelerate to full throttle to check for smooth transition from idle to full throttle. If engine stops or stalls after full warm up return the unit to your authorized ECHO dealer for adjustment.
- Install grommet cover (A) over "H" and "L" limiter needles.
CHAIN AND GUIDE BAR COMBINATIONS
The following combinations may be used on CS-300, CS-340 or CS-345.
| MODEL | BAR LENGTH | DOUBLE GUARD BAR | SAW CHAIN | KICK GUARD | ||||
| ECHO P/N (OEM P/N) | ECHO PART NO. | LINKS | TYPE | PITCH | GAUGE | ECHO P/N (OEM P/N) | ||
| CS-300 | 12" | 120374501 | 917045 | 45 | ||||
| 14" | 140375201 | 917052 | 52 | |||||
| CS-340 | 16" | 160375701 | 917057 | 57 | 91VG | 3/8" | .050 | 2894901 |
| CS-345 | 12" IntenzTM | 122374501 | 917045 | 45 | 28949 | |||
| 14" IntenzTM | 142375201 | 917052 | 52 | |||||
| 16" IntenzTM | 162375701 | 917057 | 57 | |||||
*Reduced nose radius symmetrical bars (OREGON name — Double Guard)
WARNING

DANGER
Use of replacement saw chain and/or guide bar other than that specified, or operation without the "tip guard" in place, may cause severe kickback resulting in serious injury.
Only use saw chain designated as, "LOW-KICKBACK," that meets the ANSI B175.1-2000 Standard, and the Echo guide bar specified.
IMPORTANT
Chain and guide bar gauge size must be identical. Use Bar/Chain combinations shown in table above.
IMPORTANT
If your kick guard is damaged or lost, contact your Echo dealer for a replacement. For the name of the Echo dealer nearest you, Call: 1-800-432-ECHO (3246) or on the web at www. Echo-usa.com.
Refer to your Chain Saw Safety Manual for kick guard application information.
SETTING THE SAW CHAIN
For setting saw chains, round file (4 mmø: 5/32") and flat file are used.
- To keep correct position and correct angle, use the file holder.
- Round file and flat file are available from your Echo Dealer.
- File cutters as below.

PUSH FILE AS SHOWN
To sharpen other type chain, follow chain manufacturer's instructions

Type:91VG
HOLD FILE HOLDER LEVEL

Depth gauge
ONE FIFTH OF FILE DIAMETER REMAINS ABOVE CUTTER EDGE
- Place the depth gauge tool firmly on guide bar so that depth gauge protrudes. Then file top of depth gauge with flat file until flat with top of the gauge tool.
- Be sure to round off the front edge of the depth gauge.

Depth gauge tool

- Properly filed cutters are shown below.

(Top plate angle)

(Side plate angle)

(Top plate cutting angle)
- When setting of the chain is finished, soak it in oil and wash away filings completely before using.
- When chain has been filed on the bar, supply sufficient oil to it, rotate the chain slowly to wash away the filings before using again.
- If the chain saw is operated with filings clogged in the groove, the saw chain and the guide bar will be damaged prematurely
- If the saw chain becomes soiled with resin, for instance, clean it with kerosene and soak it in oil.
CHAIN TYPE AND SPROCKET PITCH
Saw chain should be used with corresponding pitched sprocket. To identify chain type and pitch of sprocket, check as follows.
- Chain type number (A) is stamped on drive link.
- Sprocket pitch (B) is stamped on clutch drum.


(SPROCKET)
TROUBLESHOOTING
Poor performance of the engine and/or cutting mechanism can normally be prevented by carefully following these instructions.
Poor performance can easily be corrected even by a beginner.
When the engine does not function properly check the following three (3) points first.
Is the engine compression adequate?
- Is fuel system in good condition and is enough fuel being supplied?
- Is electrical system in good condition and is spark plug operating normally?
When there is serious trouble with the unit, do not try to repair it yourself but have your distributor or dealer do it for you. For detailed TROUBLESHOOTING refer to tables 1 and 2. Locate the problem on the following charts and repair as necessary.


Table 2
STORAGE
- Inspect and adjust every part of the chain saw.
- Completely clean every part, and repair, if necessary.
- Apply thin coating of oil on metal parts to prevent rust.
- Remove chain and guide bar, apply sufficient oil coating and wrap them up in plastic.
- Drain fuel tank, pull starter slowly a few times to drain fuel from carburetor.
- Pour a small amount of clean two-stroke oil into spark plug hole, pull starter and crank engine until the piston is at TOP DEAD CENTER.
- Store in a dry area, free from dust.
CORRECT USE OF CHAIN BRAKE
The installation of a chain brake may be mandatory by law or as stipulated by insurance regulations in your area of operation. You should inquire through local government offices, your employer or your local dealer to ensure that your chain saw conforms to the required safety standard. Echo chain brakes have been designed and tested to comply with international safety standards as follows.
USA: ANSI Standard B175.1-2000 Safety Requirement for chain saws
Canada: CSA Standard Z 62.1 CHAIN SAWS
WARNING

DANGER
ANSI Standard B175.1-2000 stipulates that the brake shall stop the chain in 0.15 seconds maximum (.12 sec avg) at full throttle. It is the responsibility of the Owner/Operator to ensure that the brake is serviced, adjusted and tested strictly in accordance with the instructions as detailed herein in order to ensure that the brake performance is maintained in compliance with the Standard B175.1-2000.

Kickback Motion:
- When the bar nose hits another tree, etc.

- Improper thrust cutting.
INSTALLATION
- Echo recommends that the chain brake should be serviced by an authorized Echo servicing dealer.
OPERATION
- Set the lever in the released position before starting to cut.
- If the brake is tripped by kick back reaction, the chain will stop. Immediately release the throttle to avoid possible damage to the engine or clutch.
- Do not attempt to operate the engine with the brake engaged.

Function:
- When the lever is pushed forward, chain brake instantly works to stop the chain.

Release:
- When the lever is fully pulled toward the operator, brake is released.
TESTING THE BRAKE
- Start the engine on a solid level surface and run at a fast idle until warm.
- Hold the saw firmly by the handles and accelerate the engine to a fast idle.
- Slowly operate the chain brake lever while holding the saw firmly on the ground. When the brake lever trips, the chain should stop. Immediately release the throttle trigger.
IMPORTANT
Do not allow the saw to tip forward in order to avoid damage to the chain.
If the chain does not stop, immediately return the saw to your authorized Echo dealer for repair.
SERVICING INFORMATION
PARTS
Genuine ECHO Parts and ECHO REPOWER™ Parts and Assemblies for your ECHO products are available only from an Authorized ECHO Dealer. When you do need to buy parts always have the Model Number and Serial Number of the unit with you. You can find these numbers on the engine housing. For future reference, write them in the space provided below.
Model No. SN.
SERVICE
Service of this product during the warranty period must be performed by an Authorized ECHO Service Dealer. For the name and address of the Authorized ECHO Service Dealer nearest you, ask your retailer or call: 1-800-432-ECHO. When presenting your unit for Warranty service/repairs, proof of purchase is required.
ECHO CONSUMER PRODUCT SUPPORT
If you require assistance or have questions concerning the application, operation or maintenance of this product you may call the ECHO Consumer Product Support Department at 1-800-673-1558 from 8:30 am to 4:30 pm (Central Standard Time) Monday through Friday. Before calling, please know the model and serial number of your unit to help your Consumer Product Support Representative.
WARRANTY CARD
This card is our means of registering all original owners of ECHO equipment. The card plus proof of purchase provides you the assurance that authorized warranty work will be done. It also provides a direct link between you and ECHO if we find it necessary to contact you.
ADDITIONAL OR REPLACEMENT MANUALS
Safety Manuals in English/Spanish or English/French are available, free of charge, from your ECHO dealer or at www.echo-usa.com.
Instruction and Parts Manuals are available by:
- Downloading free from www. echo-usa.com
- Purchasing from your Echo Dealer.
- Manuals are available by sending a written request stating the model number and serial number of your Echo unit, part number of the manual, your name and address, and mail to the address below.
Safety Videos are available from your Echo dealer. A $5.00 shipping charge will be required for each video.

DEALER?
Call
1-800-432-ECHO
or
www. echo -usa.com
CONSUMER PRODUCT SUPPORT
1-800-673-1558
8:30 - 4:30 Mon - Fri C.S.T.

EasyManual