PHN1320W - Built-in oven PROGRESS - Free user manual and instructions
Find the device manual for free PHN1320W PROGRESS in PDF.
Download the instructions for your Built-in oven in PDF format for free! Find your manual PHN1320W - PROGRESS and take your electronic device back in hand. On this page are published all the documents necessary for the use of your device. PHN1320W by PROGRESS.
USER MANUAL PHN1320W PROGRESS
Warnings and important safety instructions 3
Description of the appliance 5
Operation 6
Before using for the first time 8
Using the oven 9
Cooking tables 13
Cleaning and maintenance 15
Troubleshooting 20
Technical data 21
Instructions for the installer 22
Installation instructions 24
Customer service 25
Applicable Directives

Safety information

Step-by-step instructions

Practical tips

Environmental information

This appliance conforms to the following EEC Directives:
- 2006/95 (Low-voltage Directive);
- 89/336 (EMC Directive);
- 93/68 (General Directive);
and subsequent amendments.
MANUFACTURER:
ELECTROLUX HOME PRODUCTS ITALY S.p.A.
VialeBologna,298
47100 FORLl (Italy)

Warnings and important safety instructions
Always keep these user instructions with the appliance. If the appliance is given or sold to a third party, or if you move house and leave the appliance in a former residence, it is extremely important that the new owner is provided with these user instructions.
These warnings are provided for the safety of the users and co-residents. So read them carefully before connecting and/or using the appliance.
Installation
Installation must be undertaken by a qualified engineer in compliance with the current regulations. The individual steps for installing the appliance are described under the instructions for the installer.
Installation and connection of the appliance should only be carried out by a qualified engineer who will be aware of the currently applicable Directives.
- Any modifications to the power supply, which may be necessary to install the appliance, must also be carried out by a qualified engineer.
Depending on the version, this oven has been manufactured as a single appliance or as a combination appliance with electric hotplate for connection to 1, 2 or 3 phases (without groups) of a 230V supply. Connection to multiple phases without a neutral (400V) will lead to destruction of the oven and the connected hotplates.
Operation
This oven is designed for food preparation; never use it for any other purpose.
- Use the oven with care. Owing to the extreme heat generated by the heating elements, the oven shelf and other parts become very hot.
If, for any reason, aluminium foil is to be used in food preparation, it should never come into direct contact with the floor of the oven.
- When cleaning the oven, proceed with care: never spray anything onto the grease filter (if fitted), the heating elements or the thermostat sensor.
It is dangerous to modify this appliance or any of its features.
During baking, roasting and grilling the oven window and other parts become very hot. Children should therefore be kept away from the appliance. When connecting other electrical appliance to sockets near the oven, ensure that the cables do not come into contact with hot cooking surfaces or become jammed in the hot oven door.
Always use oven gloves to remove fire-resistant hot dishes and pans from the oven.
- Regular cleaning prevents deterioration of the surface materials.
Before cleaning the oven, either switch the power off or pull out the plug.
Ensure that the oven is switched to the "OFF" position when not in use.
- The appliance should never be cleaned using a superheated steam or steam jet cleaner.
- Never use abrasives or sharp metal scrapers. You might scratch the door panels and cause the glass to shatter.
People safety
This appliance is intended for use by adults. It is dangerous to allow children to use or play with it.
- Keep children away from the oven while it is in use. Even when you have switched the oven off, the door remains hot for some time.
This appliance is not intended for use by children or other persons whose physical,
sensory or mental capabilities or lack of experience and knowledge prevents them from using the appliance safely without supervision or instruction by a responsible person to ensure that they can use the appliance safely.
Disposal

Packaging material
- The packaging materials are environmentally friendly and recyclable. The plastic parts are coded, e. g. >PE , >PS< etc. Dispos of the packaging materials according to their code in the collection bins provided at communal waste disposal centres.

Old appliances
The symbol on the product or on its packaging indicates that this product may not be treated as household waste. Instead it should be taken to the appropriate collection point for the recycling of electrical and electronic equipment. By ensuring this product is disposed of correctly, you will help prevent potential negative consequences for the environment and human health, which could otherwise be caused by inappropriate waste handling of this product. For more detailed information about recycling of this product, please contact your local council, your household waste disposal service or the shop where you purchased the product.

Warning: Before disposing of an old appliance, ensure it no longer represents any danger by making it unus- able.
To do so, disconnect from the mains and remove the power cable from the appliance.
Customer service
- The appliance must only be serviced and/ or repaired by our authorised service centres. Only original replacement parts may be used.
- Never attempt to repair the appliance yourself in the event of a malfunction or damage. Repairs carried out by untrained persons may cause damage or injury.

- Control panel
- Knob switch for front left hotplate
- Knob for left rear hotplate
- Temperature regulator indicator
- Temperature regulator
- Oven regulator
-
Mains on indicator
-
Knob switch for right rear hotplate
- Knob for right front hotplate
- Ventilations slots for cooling fan
- Grill
- Interior light
- Oven fan
- Rating plate
Accessories

Baking tray

Dripping pan

Oven shelf
Retractable knobs
This model is fitted with retractable knobs. They operate according to the push-pull system. They can be completely retracted in the control panel when the oven is not in use.
Operating knobs
Set the most suitable temperature by turning the thermostat knob and turn the function knob to select the preferred cooking system:

Oven is switched off

Hot air

Top and bottom heating element

Bottom oven element

Thermal grill

Grill

Defrosting
Mains on indicator
The mains on indicator illuminates when the oven regulator is set.
Temperature regulator indicator
This indicator illuminates when the temperature regulator is turned. The indicator will remain illuminated until the required temperature is reached. It then cycles on and off to indicate that the temperature is being maintained.
Control knobs for hob
The selector knobs for the four hob heating elements are located on the switch panel. The hotplates are controlled by a 9-position switch, from which the following working levels can be used:
0 = OFF
1 = Minimum
9 = Maximum




Dual-circuit switching
(see list of appliances in the "Technical data" section)
The two heating circuits are switched on by turning the cooking zone knob from position 9 to position (clockwise); an audible click is heard. Both heating circuits are now switched on simultaneously. Then set the required level (turn the knob anti-clockwise).

Never leave the appliance unsupervised when preparing food with oil or fat, like chips, for example, as oil and fat can easily catch fire if overheated.
Safety thermostat
To prevent dangerous overheating (through incorrect use of the appliance or defective components), the oven is fitted with a safety thermostat, which interrupts the power supply. The oven switches back on again automatically when the temperature drops.
Should the safety thermostat trigger due to incorrect use of the appliance, simply remedy the error after the oven has cooled down. However, if the thermostat has been triggered by a faulty component, please contact customer services.
Cooling fan
The oven is equipped with a cooling fan, which cools the control panel, the operating knobs and the oven door handle. The cooling fan is activated automatically when the oven is in use. The warm air is blown through the opening next to the oven door handle. The cooling fan shuts down when the oven function switch is in the "0" position.


Remove all packaging materials in and outside the oven before use.
Before using for the first time, the empty oven should be heated up.
During this time, an unpleasant odour may be emitted. This is absolutely normal. It is caused by manufacturing residues.
Ensure that the kitchen is well ventilated.

- Turn the oven regulator to hot air

- Turn the temperature regulator to 250^ .
- Open a window for ventilation.
- Allow the oven to run empty for approximately 45 minutes.
Repeat the procedure for top and bottom heating and thermal grill for about 5-10 minutes.

Then let the oven cool down. Now dampen a soft cloth with warm water and mild washing-up liquid and clean the oven cavity.

Before using for the first time, carefully wash the oven accessories as well.

Always grasp the handle in the middle to open the door.


Important! - Do not line the oven with aluminium foil and do not place a baking tray etc. on the oven floor as the oven enamel may be damaged by the build up of heat. Always place dishes and pans, heat-resistant dishes and pans and aluminium sheets on the shelf inserted in one of the shelf runners. As food is heated, steam is released as in a kettle. When the steam comes into contact with the glass in the oven door, it condenses and creates water droplets.
To reduce condensation, always preheat the empty oven for 10 minutes.
We recommend you wipe the water droplets away after every cooking process.

The oven door must be closed during cooking.
Open the oven door with care. Never let the oven door "fall open", but use the door handle until the door is completely opened.

The oven has four shelf levels.
The shelf positions are counted from the floor of the oven upwards, as shown in the diagram.
It is essential that the shelves are inserted properly (see diagram).
Never put dishes and pans directly on the oven floor.

Top and bottom heating element
- Turn the oven regulator to the required function
- Turn the temperature regulator to the required temperature.
- Heat circulates best around the middle shelf level. If foods should be browned underneath, simply select a lower shelf level. If the food is to be browned on the top, choose a higher shelf level.
- The material and finish of the baking tray and the dishes used will affect the degree of base browning. The bottom of dishes cooked in enamelled, dark, heavy and uncoated tins and cookware will brown more than those in glass, shiny aluminium or polished steel containers as these reflect the heat and therefore permit only minimum browning on the underside.
- Place dishes in the middle shelf position to get even browning.
Always use baking trays of adequate size so that no liquids can leak on to the oven floor. This will also save on cleaning. - Never put dishes, tins or trays directly on to the oven floor as this becomes very hot and damage may occur. On this setting, heat is generated by the upper and lower heating elements. You therefore only require one shelf level for the cooking process. This setting is particularly suitable for dishes which must also be browned underneath, like quiches and pies.
This setting is also excellent for lasagne and other dishes cooked au gratin, which have to be browned on top.
Bottom oven element
- Turn the oven regulator to switch on the oven
- Turn the temperature regulator to the required temperature.
This function is particularly useful when pastry has to be baked blind. It can also be used for quiches and pies because it guarantees that the pastry base is cooked through.
i
The temperature regulator LED lights up until the correct temperature has been reached. It then cycles on and off to indicate that the temperature is being maintained.
Hot air

- Turn the oven regulator to switch on the oven
-
Turn the temperature regulator to the required temperature.
-
The food is cooked by convection, with hot air distributed evenly round the oven interior by a fan in the oven rear wall.
- The heat reaches all oven zones quickly and evenly. This means you can simultaneously bake, roast and stew different foods on several levels. Cooking by convection quickly eliminates moisture; the dry oven air prevents the different flavours and aromas of one dish being transmitted to the others.
- Being able to cook on several levels means that you can simultaneously bake different dishes and up to three types of cake or mini-pizzas for eating or freezing.
- Naturally, you can also use just one shelf in the oven. In this case, you should use the lowest shelf position so that you can keep a closer eye on the baking process.
- The oven is also particularly suitable for sterilising preserves, cooking homemade jams and - drying mushrooms and fruit.
Using the grill
The grill rapidly provides direct heat to the middle section of the grill pan. The grill is ideal for cooking smaller amounts. This also helps to save energy.
- Turn the oven regulator to switch on the oven
- Turn the temperature regulator to the required temperature.
- Select the right shelf position for the grid and grill pan, depending on whether the food to be grilled is flat or thick. Then follow the grilling instructions.
The grill element is regulated by the thermostat. During grilling, the grill switches itself on and off at regular intervals to avoid overheating.
Grilling
Most foods should be placed on the grid in the grill pan to ensure the best possible air circulation and to ensure that the food is not lying in fat and its own juices. Fish, liver and kidneys can also be laid directly in the grill pan if required.
- The food should be as dry as possible before it is grilled to avoid spitting. Coat lean meat or fish lightly with oil or melted butter so that the grilled food remains moist during cooking.
- Accompanying vegetables like tomatoes and mushrooms can be laid underneath the grid when grilling meat.
- Bread should be toasted on the highest shelf setting.
The food should be turned from time to time during grilling.
Thermal grill
!
When using the thermal grill set a maximum temperature of 200^ .
- Turn the oven regulator to switch on the oven
- Turn the temperature regulator to the required temperature.
This function offers an alternative method of cooking food items normally cooked on a conventional grill. The grill element and the fan function alternately so that hot air circulates in the oven.
Defrosting

The fan works without heat and circulates the air at room temperature in the cooking chamber.
Make sure that the temperature regulator is set to the OFF position.

Practical tips
Baking:
Most baking is done at a medium temperature (150°C - 200°C). The oven must therefore be preheated for about 10 minutes.
Do not open the oven door before 3/4 of the baking time has expired.
Short-crust pastry is baked in a springform tin or on a tray for up to 2/3 of the baking time and then garnished before being fully baked. This further baking time depends on the type and amount of topping or filling. Sponge mixtures must be of slow dropping consistency. Too much liquid would prolong the baking time unnecessarily.
If two baking trays with pastries or biscuits are inserted into the oven at the same time, there must be a gap of one shelf level between the trays.
If two loaded baking trays are inserted in the oven at the same time, the positions of the top and bottom trays must be swapped and turned about 2/3 through the baking time.
Roasting:
Do not roast joints weighing less than 1 kg. Smaller pieces could dry out when roasting. Dark meat that should be well cooked on the outside but remain medium to rare on the inside must be roasted at a higher temperature (200°C - 250°C).
White meat, poultry and fish, on the other hand, require a lower temperature (150°C - 175°C). For shorter cooking times, the ingredients for sauces are added to the roasting tin right at the beginning. Otherwise add them in the last half hour.
You can use a spoon to test whether the meat is cooked: If it makes no indent, the meat is cooked through. Roast beef and fillet of beef, which should remain pink inside, must be roasted at a higher temperature for a shorter time.
If meat is to be cooked directly on the oven shelf, insert the roasting pan in the shelf level below to catch the juices.
Before carving, leave the joint to rest for at least 15 minutes, so that the meat juices do not run out.
To reduce the build up of smoke in the oven, it is recommended to pour a little water in the roasting pan. To prevent condensation forming, add water several times. The plates can be kept warm in the oven at minimum temperature until required for serving.

Important!
Do not line the oven with aluminium foil and do not place baking trays, cookware, etc. on the oven floor, as the heat that builds up will damage the oven enamel.
Cooking times
Cooking times may vary, depending on the composition, ingredients and amount of liquid in the individual dishes.
Make a note of the settings you used during your first cooking and roasting attempt so that you can record your experiences for the next time you want to prepare the same foods.
Based upon your own experiences, you will be able to modify the values given in the tables.
Top and bottom heating element and hot air.
Timings do not include pre-heating. Always preheat the oven for 10 minutes.
| TYPE OF DISH | Top and bottom heating element | Hot air | Cooking time in minutes | NOTE | ||
| Level 4/3 | Temp. (°C) | Level 4/3 | Temp. (°C) | |||
| CAKES | ||||||
| Cake mixture | 2 | 170 | 2 (1und3)* | 160 | 45-60 | Cake tin |
| Short-crust pastry | 2 | 170 | 2 (1und3)* | 160 | 20-30 | Cake tin |
| Buttermilk cheesecake | 1 | 175 | 2 | 165 | 60-80 | Cake tin |
| Apple cake | 1 | 170 | 2 (1und3)* | 160 | 90-120 | Cake tin |
| Strudel | 2 | 180 | 2 | 160 | 60-80 | Baking tray |
| Jam tart | 2 | 190 | 2 (1und3)* | 180 | 40-45 | Cake tin |
| Fruit cake | 2 | 170 | 2 | 150 | 60-70 | Cake tin |
| Sponge cake | 1 | 170 | 2 (1und3)* | 165 | 30-40 | Cake tin |
| Stollen | 1 | 150 | 2 | 150 | 120-150 | Cake tin |
| Plum cake | 1 | 175 | 2 | 160 | 50-60 | Bread tin |
| Small cakes | 3 | 170 | 2 | 160 | 20-35 | Baking tray |
| Biscuits | 2 | 160 | 2 (1und3)* | 150 | 20-30 | Baking tray |
| Meringue | 2 | 135 | 2 (1und3)* | 150 | 60-90 | Baking tray |
| Cookies | 2 | 200 | 2 | 190 | 12-20 | Baking tray |
| Pastries Choux pastry | 2 or 3 | 210 | 2 (1und3)* | 170 | 25-35 | on the baking tray |
| Tartlets | 2 | 180 | 2 | 170 | 45-70 | In cake tins |
| BREAD AND PIZZA | ||||||
| White bread | 1 | 195 | 2 | 185 | 60-70 | |
| Rye bread | 1 | 190 | 1 | 180 | 30-45 | Bread tin |
| Rolls | 2 | 200 | 2 (1und3)* | 175 | 25-40 | Baking tray |
| Pizza | 2 | 200 | 2 | 200 | 20-30 | Baking tray |
| FLANS, Soufflés | ||||||
| Pasta flan | 2 | 200 | 2 (1und3)* | 175 | 40-50 | Baking tin |
| Vegetable flan | 2 | 200 | 2 (1und3)* | 175 | 45-60 | Baking tin |
| Quiches | 1 | 210 | 1 | 190 | 30-40 | Baking tin |
| Lasagne | 2 | 200 | 2 | 200 | 25-35 | Baking tin |
| Cannelloni | 2 | 200 | 2 | 200 | 25-35 | Baking tin |
| MEAT | ||||||
| Beef | 2 | 190 | 2 | 175 | 50-70 | Shelf |
| Pork | 2 | 180 | 2 | 175 | 100-130 | Shelf |
| Veal | 2 | 190 | 2 | 175 | 90-120 | Shelf |
| English roast beef, medium rare | 2 | 210 | 2 | 200 | 50-60 | Shelf |
| medium | 2 | 210 | 2 | 200 | 60-70 | Shelf |
| well done | 2 | 210 | 2 | 200 | 70-80 | shelf |
| Shoulder of pork | 2 | 180 | 2 | 170 | 120-150 | with crackling |
| Knuckle of pork | 2 | 180 | 2 | 160 | 100-120 | 2 pieces |
| Lamb | 2 | 190 | 2 | 175 | 110-130 | Leg |
| Chicken | 2 | 190 | 2 | 200 | 70-85 | Whole |
| Turkey | 2 | 180 | 2 | 160 | 210-240 | Whole |
| Duck | 2 | 175 | 2 | 220 | 120-150 | Whole |
| Goose | 2 | 175 | 1 | 160 | 150-200 | Whole |
| Rabbit | 2 | 190 | 2 | 175 | 60-80 | In pieces |
| Hare | 2 | 190 | 2 | 175 | 150-200 | In pieces |
| Pheasant | 2 | 190 | 2 | 175 | 90-120 | Whole |
| Meat loaf | 2 | 180 | 2 | 170 | 150 in total | Bread tin |
| FISH | ||||||
| Trout / sea bream | 2 | 190 | 2 (1und3)* | 175 | 40-55 | 3-4 Fish |
| Tuna / salmon | 2 | 190 | 2 (1und3)* | 175 | 35-60 | 4-6 Files |
The temperatures given are guidelines. The temperature must be modified as necessary to suit your personal requirements.
(*) If you are cooking several foods at the same time, we recommend that you place them on the levels given in brackets.

Timings do not include pre-heating.
Always preheat the empty oven for 10 minutes.
Grilling
| TYPE OF DISH | Quantity | Grilling | Cooking time in minutes | |||
| Pieces | g | Level | Temp. (°C) | 1st side | 2nd side | |
| Fillet steaks | 4 | 800 | 3 | 250 | 12~15 | 12~14 |
| Beef steak | 4 | 600 | 3 | 250 | 10~12 | 6~8 |
| Grilled sausage | 8 | / | 3 | 250 | 12~15 | 10~12 |
| Pork cutlets | 4 | 600 | 3 | 250 | 12~16 | 12~14 |
| Chicken (in 2 halves) | 2 | 1000 | 3 | 250 | 30~35 | 25~30 |
| Kebabs | 4 | / | 3 | 250 | 10~15 | 10~12 |
| Chicken breast | 4 | 400 | 3 | 250 | 12~15 | 12~14 |
| Hamburgers* | 6 | 600 | 2 | 250 | 20-30 | |
| *Preheat 5'00" | ||||||
| Fillet of fish | 4 | 400 | 3 | 250 | 12~14 | 10~12 |
| Toasted sandwiches | 4~6 | / | 3 | 250 | 5~7 | / |
| Slices of white bread | 4~6 | / | 3 | 250 | 2~4 | 2~3 |
Thermal grill

When using the thermal grill, set a maximum temperature of 200^ .
The temperatures given are guidelines. Temperatures must be modified as necessary to suit your personal requirements.
| TYPE OF DISH | quantity(g) | Level | Temp. °C | Cooking time in minutes | |
| bottom side | top side | ||||
| Rolled joints (Turkey) | 1000 | 3 | 200 | 30 ~ 40 | 20 ~ 30 |
| Chicken (in 2 halves) | 1000 | 3 | 200 | 25 ~ 30 | 20 ~ 30 |
| Chicken drumsticks | - | 3 | 200 | 15 ~ 20 | 15 ~ 18 |
| Quail | 500 | 3 | 200 | 25 ~ 30 | 20 ~ 25 |
| Vegetables au gratin | - | 3 | 200 | 20 ~ 25 | - |
| pieces. Scallops | - | 3 | 200 | 15 ~ 20 | - |
| Mackerel | - | 3 | 200 | 15 ~ 20 | 10 ~ 15 |
| Fish slices | 800 | 3 | 200 | 12 ~ 15 | 8 ~ 10 |


Before cleaning, switch the oven off and let it cool down.

The appliance must not be cleaned with a superheated steam cleaner or a steam jet cleaner.
Important: Before cleaning the appliance must be disconnected from the mains.
To prolong the service life of your appliance, follow the cleaning procedure below:
Only perform when the oven has cooled down.
- Clean the enamelled parts with soapy water.
- Do not use abrasive cleaners.
- Dry the stainless steel parts and glass with a soft cloth.
- If there are stubborn stains, use commercially available cleaning agents for stainless steel or warm vinegar.
The oven's enamel is extremely durable and stain-resistant. Nevertheless, hot fruit juices (lemons, plums etc.) can leave dull, rough stains if left on the surface of the enamel. However, such marks in the brightly polished surface of the enamel do not affect the operation of the oven. Clean the oven thoroughly after every use. Dirt is then easy to clean off. It prevents dirt being burnt on.
Detergents
Before using any detergents, always ensure that they are suitable for your oven and recommended by the manufacturer.
Cleaners that contain bleach should not be used as they may dull the surface finishes. Harsh abrasives should also be avoided.
External cleaning
Regularly wipe over the control panel, oven door and door seal using a soft cloth well wrung out in warm water to which a little liquid detergent has been added.
To avoid damage to the oven glass door, never use any of the following:
Household cleaners and bleaches
- Impregnated cleaning pads that are unsuitable for non-stick coated saucepans.
- Brillo/Ajax pads or steel wool pads
Chemical oven cleaners or aerosols
Rustremovers
- Stain removers for sinks / wash basins
Clean the outer and inner surfaces of the glass door using warm soapy water. If the inner surface of the glass door is very dirty, use cleaning products such as "Hob Brite". Do not use paint scrapers to remove soilage.

DO NOT clean the oven door while the glass panels are warm. If this precaution is not observed the glass panels may shatter.

If the glass panel has cracks or deep scratches, the structure of the glass is compromised. The panel must be replaced to avoid any risk of shattering. Contact your local customer services who will be pleased to advise further.
Oven cavity
It is best to clean the enamelled floor of the oven cavity while the oven is still warm.
Wipe the oven with a soft cloth which should be washed in warm, soapy water after every use. The oven must be cleaned thoroughly from time to time. Use a conventional oven cleaner for this.
Oven door
The oven door comprises two glass panels. For easy cleaning, the oven door can be unhinged and the internal panels removed.

Caution: the oven door must be disassembled before cleaning. The oven door may suddenly slam shut if you attempt to remove the inner panels while the oven door is still in position.

To remove the door, proceed as follows:
- Open the door completely.
- Locate the two door hinges.
- Lift the levers on the hinges and fold them forwards.
- Hold the door by the two outside edges and close the door by about 45^ only.
- Pull the door forwards out of its seat.
- Lie the door on a firm surface and protect the surface of the handle with a soft cloth.




- Use the bolts to remove the inner panels.
- Turn both locking screws by 90^ and remove them.
- Carefully lift the top panel slightly and remove the panel which is framed on all 4 sides by an ornamental border.
Clean the oven door with luke-warm water and a soft cloth. Do not use metal pads, metal wool, abrasive pads or acids to clean the oven door as they will damage the special heat-reflective surfaces of the inner panels.
After cleaning the inner panels, re-insert them in the door. Refit the oven door; to do so, repeat the above sequence in reverse. Ensure the panels are the right way round.

Then, proceed as follows:
a) The inner panel with the frame on 4 sides must be inserted so that the printing on the screen is facing to the outside of the oven. You will know the panel is properly in place if, when you touch the visible surface with your fingers, it doesn't feel rough where the printing is.
The inner panel must be inserted in position as shown in the diagram. After inserting the panel in the oven door, fix in position as described under point 8.

Never clean the oven door when it is warm as the panels might shatter. If you can see scratches or cracks in the glass panel, call your nearest service centre immediately to have the panel replaced.





Models in stainless steel or aluminium:
Clean the oven door and operating panel in stainless steel or aluminium with a damp sponge and then dry carefully with a soft cloth. Never use metal pads, metal wool, acids or abrasives for cleaning because they may scratch the surfaces.
Cleaning the oven door seal
A seal is attached around the opening of the oven.

Regularly check the condition of the seal. Clean the seal if necessary without using any abrasive materials or objects. If you find that the seal is damaged, call your nearest service centre immediately. Do not use the oven until the seal has been changed.
Grill heating element
This model has been fitted with a hinged grill element to enable you to clean the roof of the oven easily.

First ensure that the oven has cooled down and has been disconnected from the mains.
- Loosen the screw that fixes the grill element in position. When carrying out this operation for the first time, we recommend using a screwdriver.
- Carefully lower the grill element so that the oven roof becomes accessible.
- Clean the oven roof with a suitable cleaner and wipe dry before replacing the hinged grill element.
- Gently push the grill element back into place and firmly screw into position with the retaining nut.

Ensure the retaining nut on the grill element is properly tightened so that it does not fall down when in use.


Changing the interior light bulb

Separate the appliance from the power supply by switching off the fuse.
If the oven light needs replacing, the new bulb must have the following specifications:
- Electric power: 15 W / 25 W
- Electric voltage: 230 V( 50 Hz)
- Heat resistance to 300 °C
Type of connection: E14
These replacement bulbs can be purchased from your dealer.

To change the oven light:
- First ensure that the oven has cooled down and has been disconnected from the mains.
- Turn the glass cover of the light counterclockwise.
- Remove the used bulb and insert a new one.
- Replace the glass cover and reconnect the oven to the mains.
Oven shelves and shelf supports
Immerse the oven shelves in warm soapy water to clean them and remove stubborn dirt with a sponge thoroughly impregnated with soap.
Rinse well and dry with a soft cloth.
The shelf supports are to be removed for cleaning.

Proceed as follows:
- First ensure that the oven has cooled down and has been disconnected from the mains.
- Remove the front screw, holding the grill support with the other hand.
- Disengage the rear hook and take off the shelf support.
- Re-insert the shelf supports after cleaning; to do so, reverse the above sequence.
Before inserting the oven shelves, ensure that the retaining nuts have been properly tightened.



Troubleshooting
If the appliance is not working properly, please check the following before contacting the Electrolux service centre.
| PROBLEM | SOLUTION |
| ■ The oven does not come on. | ◆ Check whether a cooking function and temperature have been selected or ◆ make sure the appliance is properly connected and the plug switch or mains supply to the oven is set to ON. |
| ■ The LED for the oven temperature does not light up. | ◆ Select a temperature using the temperature regulator, or ◆ select a function using the oven regulator. |
| ■ The interior oven light does not come on. | ◆ select a function using the oven regulator. or ◆ check the light bulb and replace it if necessary (see "Changing the interior light bulb"). |
| ■ The foods take too long to cook, or are cooking too quickly. | ◆ Change the temperature if necessary, or ◆ consult the content of this user manual for advice, especially the chapter "Using the oven". |
| ■ Steam and condensation are collecting on the foods and in the oven cavity. | ◆ Do not leave foods in the oven after the cooking process for longer than 15 - 20 minutes. |
| ■ The oven fan is too noisy. | ◆ Check that shelves and bake-ware are not vibrating in contact with the oven back panel. |
Heat output
Bottom oven element 1000 W
Top and bottom heating element 1800 W
Grill 1650W
Hot air 1825W
Thermal grill 1675 W
Oven light 25W
Total mains rating 1875 W
Operating voltage (50 Hz) 230 V-400 V 3N~
Dimensions of the recess
Height 600 mm
Width 560 mm
Depth 550 mm
Built-in oven
Height 335 mm
Width 395 mm
Depth 400 mm
Oven capacity 531
The appliance can be combined with the following built-in hobs and built-in glass ceramic hobs:
Glass ceramic hob types:
PEM 6000 E
Total connected load 6,0 kW
Supply voltage(50 Hz) 230V
Glass ceramic hob types:
PES 6000 E
Total connected load 5,8 kW
Supply voltage(50 Hz) 230V
Glass ceramic hob types:
PES 6060 E
Total connected load 7,6 kW
Supply voltage(50 Hz) 230V
Maximum rated heating capacity
Oven + glass ceramic hob 9,475 kW
!
Installation and connection must be done in strict compliance with the regulations in force. Any interventions must be carried out when the appliance is switched off. Repairs must only be carried out by qualified service engineers.
The manufacturer accepts no liability if the safety measures are not observed.
Connecting to the electrical supply
Please take note of the following requirements before connecting:
- The fuse or other protective device and the domestic electrical installation must be designed for the max. load of the appliance (see rating plate).
- The domestic electrical installation must be equipped with a proper earth connection in accordance with the regulations in force.
- The socket or multi-pole off switch must be easily accessible, even after completed installation of the appliance.
The appliance is shipped without a mains cable, as - depending on the type of supply available - a mains lead with a standard plug designed for the load specified on the rating plate is required. Insert the plug into a socket that satisfies the regulations.
The following cable types are suitable for use as mains cables, taking into account the respective rated cross-section required:
H07RN-F, H05RN-F, H05RR-F, H05VV-F, H05V2V2-F (T90), H05BB-F.
If the appliance is connected without a plug, or if the plug is not accessible, a multipole off switch (e.g. fuses, circuit breaker) with a minimum gap of 3mm between the contacts must be installed between the appliance and mains connection. The switch must not interrupt the protective conductor at any point. The yellow/green protective conductor must be 2-3 cm longer than all other cables.
In any case, the mains cable must be designed in such a way that it never reaches
50^ C (above room temperature) at any point along its length.
After the connection has been carried out, the heating elements must be tested by being operated for about. 3 minutes.
Terminal block
The appliance is fitted with an easily-accessible 6-way terminal block, with its links already set for operation on a 400V supply with neutral (see illustration).
In the case of a different supply voltage, the terminal block links must be turned in line with the schemes shown in the illustration. The protective conductor is connected to the terminal. After connection, secure the cable to the terminal block with strain relief.
Electrical connection to the hob

Attention - observe the installation instructions for hob, built-in cooker or control box!
This appliance can be connected to the hob models specified in the «Technical data» section. The socket for connecting the hob is located on the cooker housing. The connecting cables of the heating elements and the protective conductor cable are brought out from the built-in hob; these cables are fitted with plug connections. Insert the plugs and connecting cables in the appropriate sockets. This prevents any possible wrong connection.
The manufacturer accepts no liability if the safety measures are not observed.


To ensure trouble-free operation of the built-in appliance, the kitchen units or recess that the appliance is built into must have suitable dimensions.
In accordance with the regulations in force, all parts which ensure protection against accidental contact with live parts and parts with basic insulation must be secured in such a way that they cannot be removed without tools.
These also include the fixing of any end panels at the beginning or end of a line of built-in units.
In any case, the accidental contact protection must be ensured by the building in of the appliance.
The appliance can be positioned with its back or side wall against higher kitchen units, appliances or walls. However, only other appliances or units of the same height as the appliance can be placed against the other side wall.
Oven dimensions (see illustration)
Instructions for building in
To ensure trouble-free operation of the built-in appliance, the kitchen units or recess that the appliance is built into must have suitable dimensions.
Securing in the unit
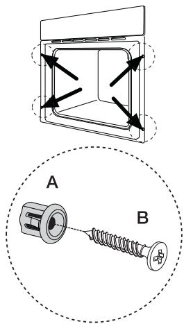
- Open the oven door.
- Secure the oven in the unit using the four spacers (see illustration - A). These fit exactly in the holes in the frame. Then screw in the four woodscrews (supplied) tightly (see illustration - B).



Customer service
If the problem persists after the checks described, contact your nearest service centre and describe the fault, appliance model (Mod.), product number (Prod. No.) and series number (Ser. No.) which you will find on the oven rating plate.

Indices
Mandos escamoteables
Potencia total 6,0 kW
EasyManual