SEAFINDER 480DF - Fish Finder EAGLE - Free user manual and instructions
Find the device manual for free SEAFINDER 480DF EAGLE in PDF.
Download the instructions for your Fish Finder in PDF format for free! Find your manual SEAFINDER 480DF - EAGLE and take your electronic device back in hand. On this page are published all the documents necessary for the use of your device. SEAFINDER 480DF by EAGLE.
USER MANUAL SEAFINDER 480DF EAGLE
FishMark™ 480 and SeaFinder™ 480DF Fish-finding & Depth Sounding Sonars Installation and Operation Instructions
Copyright © 2003 - Eagle Electronics
All rights reserved.
Eagle® is a registered trademark of Eagle Electronics
Marine-Tex™ is a trademark of Illinois Tool Works Inc.
Eagle Electronics may find it necessary to change or end our policies, regulations, and special offers at any time. We reserve the right to do so without notice. All features and specifications subject to change without notice. All screens in this manual are simulated. On the cover: SeaFinder 480DF shown. Other models covered in the manual are similar.
For free owner's manuals and other information, visit our web site:
www.eaglesonar.com
Eagle Electronics
P.O.Box 669
Catoosa, OK USA 74015
Printed in USA.
Table of Contents
Sec. 1: Read Me First! 1
Capabilities and Specifications 2
How Sonar Works 4
How to Use this Manual: Typographical Conventions. 4
Sec. 2: Installation & Accessories 7
Preparations. 7
Transducer Installation. 7
Recommended Tools and Supplies 8
Selecting a Transducer Location 8
How Low Should You Go? 10
Shoot-Thru-Hull vs. Transom Mounting 10
Transom Transducer Assembly and Mounting. 11
Trolling Motor Bracket Installation (Single-Frequency only)..17
Transducer Orientation and Fish Arches 18
Shoot-Thru-Hull Preparation and Installation 19
Speed/Temperature Sensors. 21
Power Connections. 24
Mounting the Unit: Bracket, in-Dash or Portable 26
Face Cover. 30
Sec. 3: Basic Sonar Operation 31
Keyboard 31
Power/Lights (Turn Unit On and Off) 32
33
Main Menu 33
Sonar Menu 35
Pages 36
Basic Sonar Quick Reference 39
Sonar Operations 40
Fish Symbols vs. Full Sonar Chart 43
Other Free Training Aids 43
Sec. 4: Sonar Options & Other Features 45
ASPTM (Advanced Signal Processing) 45
Alarms 46
Depth Alarms 46
Zone Alarm 47
Fish Alarm. 48
Brightness 48
Calibrate Speed. 49
Chart Speed. 49
Contrast. 50
Depth Cursor 50
Depth Range - Automatic. 51
Depth Range - Manual 51
FasTrackTM 52
Fish I.D. ^TM (Fish Symbols & Depths) 52
FishTrackTM 55
FishRevealTM 55
Frequency (Change Transducer Frequency) 57
Grayline 58
HyperScrollTM 60
Noise Rejection 60
Overlay Data 60
Ping Speed & HyperScrollTM 62
Pop-Up Help 64
Reset Options 64
Reset Water Distance 65
Screen Contrast and Brightness 65
Sensitivity & Auto Sensitivity 65
To Turn Auto Sensitivity Back on: 67
Set Keel Offset 67
Set Language 69
Software Version Information 69
Sonar Color Mode 69
Sonar Chart Display Options 70
Full Sonar Chart. 70
Split Zoom Sonar Chart. 71
Split Frequency Sonar Chart (Seafinder 480df only)............ 71
Digital Data/Chart 72
Customizing the Digital Data/Chart Screen. 73
Sonar Simulator. 74
StopChart. 74
Surface Clarity 75
Units of Measure. 76
Zoom & Zoom Bar 76
Zoom Pan. 77
Sec. 5: Troubleshooting 79
Sec. 6: Supplemental Material 83
Notes
Section 1: Read Me First!
How this manual can get you out on the water, fast!
Welcome to the exciting world of digital sonar! We know you're anxious to begin finding fish, but we have a favor to ask. Before you grab your unit and begin installing it, please give us a moment or two to explain how our manual can help you get the best performance from your compact, wide-screen, fish finder.
First, we want to thank you for buying an Eagle sonar. Whether you're a first time user or a professional fisherman, you'll discover that your unit is easy to use, yet capable of handling demanding sonar tasks. You won't find another sonar unit with this much power and this many features for this price!
Our goal for this book is to get you on the water fast, with a minimum of fuss. Like you, we'd rather spend more time boating or fishing and less time reading the manual!
So, we designed our book so that you don't have to read the whole thing from front to back for the information you want. At the start (or end) of each segment, we'll tell you what content is coming up next. If it's a concept you're already familiar with, we'll show you how and where to skip ahead for the next important topic. We've also made it easy to look up any tips you may need from time to time. Here's how:
The manual is organized into 6 sections. This first section is an introduction to the sonar unit. It tells you the basics you need to know before you can make the unit look below the surface to find some fish.
Section 2 will help you install your unit and the transducer. We'll also tell you about some of the available accessories.
Section 3 covers Basic Sonar Operation. It will show you how easy it is to run your sonar, right out of the box. This section features a one-page Sonar Quick Reference. (If you've already jumped ahead and figured out how to install the unit yourself, and you just can't wait any longer, turn to the Quick Reference on page 39 and head for the water with your sonar unit!)
After you've gained some experience with your sonar, you'll want to check out Section 4, which discusses more advanced Sonar Options and Other Features.
When you come to a sonar menu command on the unit's screen, you can look it up in the manual by skimming over the table of contents, just flipping through Section 3 or scanning through the sonar options in Section 4.
If you're having difficulty with your sonar, you can find an answer to the most common problems in Section 5, Sonar Troubleshooting.
Finally, in Section 6, we offer Supplemental Material, including a list of warranty and customer service information.
Now, if you're into the fine details, glance over the next segment on specifications to see just how much sonar power your unit contains. It's important to us (and our power users), but, if you don't care how many watts of power the unit has, skip ahead to important information on how sonar works, on page 4.
Capabilities and Specifications: FishMark™ 480, SeaFinder™ 480DF
General
Display: 5.0" (12.7 cm) diagonal high contrast Film SuperTwist; programmable to viewing preference.
Resolution: 480 pixel x 480 pixel resolution; 230,400 total pixels.
Backlighting:............ Incandescent backlit screen with multiple lighting levels; backlit keypad.
Input power: 10 to 15 volts DC.
Case size: 5.4" H x 6.9" W x 3.4" D (13.8 x 17.6 x 8.6 cm); sealed and waterproof; suitable for saltwater use.
Back-up memory:....... Built-in memory stores sonar records for decades.
Languages: 10; menu languages selectable by user.
Sonar
Frequency: 50/200 kHz for SeaFinder 480DF; 200 kHz for FishMark 480.
Transducers: A dual-frequency Skimmer® transducer with built-in temperature sensor is packed with the SeaFinder 480DF. It has 35^ / 12^ cone angles. A single-frequency Skimmer transducer with built-in temperature sensor is packed with the FishMark 480. It has a 20^ cone angle. Transducers operate at speeds up to 70 mph (61 kts)
Watts: 1,500 watts peak-to-peak/188 watt RMS.
Sonar sounding
depth capability: SeaFinder 480DF: 1,500 feet (450 meters). FishMark 480: 800 feet (244 meters). Actual capability depends on transducer configuration and installation, bottom composition and water conditions. All sonar units typically read deeper in fresh water than in salt water.
Depth display:............ Continuous display.
Audible alarms: Deep/shallow/fish/zone.
Automatic ranging:...... Yes, with instant screen updates.
Auto bottom track:...... Yes.
Zoom bottom track: .... Yes.
Split-screen zoom:...... Yes.
Surface water temp:.... Yes.
Speed/distance log: ....... Optional (requires optional speed sensor).
NOTICE!
The storage temperature range for your unit is from -4 degrees to +167 degrees Fahrenheit (-20 degrees to +75 degrees Celsius). Extended storage in temperatures higher or lower than specified will damage the liquid crystal display in your unit. This type of damage is not covered by the warranty. For more information, contact the factory's Customer Service Department; phone numbers are listed on the last page.
How Sonar Works
Sonar has been around since the 1940s, so if you already know how it works, skip ahead to the next segment on the typographical conventions used in this manual. But, if you've never owned a sonar fish finder, this segment will tell you the under water basics.
Sonar is an abbreviation for SOund NAVigation and Ranging, a technology developed during World War II for tracking enemy submarines. A sonar consists of a transmitter, transducer, receiver and display. In simple terms, here's how it finds the bottom, or the fish:
The transmitter emits an electrical impulse, which the transducer converts into a sound wave and sends into the water. (The sound frequency can't be heard by humans or fish.) The sound wave strikes an object (fish, structure, bottom) and bounces back to the transducer, which converts the sound back into an electrical signal.
The receiver amplifies this return signal, or echo, and sends it to the display, where an image of the object appears on the scrolling sonar chart. The sonar's microprocessor calculates the time lapse between the transmitted signal and echo return to determine the distance to the object. The whole process repeats itself several times each second.
How to use this manual: typographical conventions
Many instructions are listed as numbered steps. The keypad and arrow " keystrokes" appear as boldface type. So, if you're in a real hurry (or just need a reminder), you can skim the instructions and pick out what
menu command to use by finding the boldface command text. The following paragraphs explain how to interpret the text formatting for those commands and other instructions:
Arrow Keys
The arrow keys control a horizontal line depth cursor on the sonar screen. The arrow keys also help you move around the menus so you can execute different commands. They are represented by symbols like these, which denote the down arrow key, the up arrow, the left arrow and the right arrow: .
Keyboard
The other keys perform a variety of functions. When the text refers to a key to press, the key is shown in bold, sans serif type. For example, the "Enter/Icons" key is shown as ENT and the "Menu" key is shown as MENU.
Menu Commands
A menu command or a menu option will appear in small capital letters, in a bold sans serif type like this: DEPTH CURSOR. These indicate that you are to select this command or option from a menu or take an action of some kind with the menu item. Text that you may need to enter or file names you need to select are show in italic type, such as data type.
Instructions = Menu Sequences
Most functions you perform with the sonar unit are described as a sequence of key strokes and selecting menu commands. We've written them in a condensed manner for quick and easy reading.
For example, instructions for turning on the Fish ID™ feature would look like this:
1.From the Sonar Page,press MENU to SONAR FEATURES|ENT.
2. Press or to FISH ID SYMBOLS | ENT | EXIT | EXIT.
Translated into complete English, step 1 above would mean: "Start on the Sonar Page. Press the Menu key then repeatedly press (or press and hold) the down arrow key to scroll down the menu and select (highlight) the Sonar Features menu command. Then press the Enter key."
Step 2 would mean: "Press the right arrow key (for dual-frequency units) or press the right arrow key followed by the down arrow key (for single-frequency units) to select (highlight) the Fish ID symbols command. Next, press the Enter key, then press the Exit key twice."
Section 2:
Installation & Accessories
Preparations
You can install the sonar system in some other order if you prefer, but we recommend this installation sequence:
Caution:
You should read over this entire installation section before drilling any holes in your vessel!
- Determine the approximate location for the sonar unit, so you can plan how and where to route the cables for the transducer and power. This will help you make sure you have enough cable length for the desired configuration.
- Determine the approximate location for the transducer and its cable route.
- Determine the location of your battery or other power connection, along with the power cable route.
- Install the transducer and route the transducer cable to the sonar unit.
- Install the power cable and route it to the sonar unit.
- Mount the sonar unit.
Transducer Installation
These instructions will help you install your Skimmer® transducer on a transom, on a trolling motor or inside a hull. These instructions cover both single- and dual-frequency Skimmer transducers. Please read all instructions before proceeding with any installation.
The smaller single-frequency Skimmers typically use a one-piece, stainless steel mounting bracket. The larger dual-frequency Skimmers typically use a two-piece, plastic mounting bracket. The trolling motor mount uses a one-piece plastic bracket with an adjustable strap.
These are all "kick-up" mounting brackets. They help prevent damage if the transducer strikes an object while the boat is moving. If the transducer does "kick-up," the bracket can easily be pushed back into place without tools.
Read these instructions carefully before attempting the installation. Determine which of the mounting positions is right for your boat. Use extreme care if mounting the transducer inside the hull, because once it is epoxied into position, the transducer usually cannot be removed. Remember, the transducer installation is the most critical part of a sonar installation.
Recommended Tools and supplies
If you prefer the option of routing the cable through the transom, you will need a 5/8 drill bit. A transom mount requires use of a high quality, marine grade above- or below-waterline caulking compound. The following installation types also call for these recommended tools and required supplies (supplies are not included):
Single-frequency transom installations
Tools include: two adjustable wrenches, drill, #29 (0.136") drill bit, flat-head screwdriver. Supplies: none.
Dual-frequency transom installations
Tools: two adjustable wrenches, drill, #20 (0.161") drill bit, flat-head screwdriver. Supplies: four, 1" long, #12 stainless steel slotted wood screws.
Single-frequency trolling motor installations
Tools: two adjustable wrenches, flat-head screwdriver. Supplies: plastic cable ties.
Shoot-through hull installations
Tools: these will vary depending on your hull's composition. Consult your boat dealer or manufacturer. Supplies: 100 grit sandpaper, good quality epoxy adhesive.
Selecting a Transducer Location
- The transducer must be placed in a location that has a smooth flow of water at all times. If the transducer is to be mounted inside the hull,
then the chosen location must be in the water at all times. If the transducer is not placed in a smooth flow of water, interference caused by bubbles and turbulence will show on the sonar's display in the form of random lines or dots whenever the boat is moving.
NOTE:
Some aluminum boats with strakes or ribs on the outside of the hull create large amounts of turbulence at high speed. These boats typically have large outboard motors capable of propelling the boat at speeds faster than 35 mph. Typically, a good location on aluminum boats is between the ribs closest to the engine.
- The transducer should be installed with its face pointing straight down, if possible.
- If the transducer is mounted on the transom, make sure it doesn't interfere with the trailer or hauling of the boat. Also, don't mount it closer than approximately one foot from the engine's lower unit. This will prevent cavitation (bubble) interference with propeller operation.
- If possible, route the transducer cable away from other wiring on the boat. Electrical noise from engine wiring, bilge pumps and aerators can be displayed on the sonar's screen. Use caution when routing the transducer cable around these wires.
CAUTION: Clamp the transducer cable to transom near the transducer. This will help prevent the transducer from entering the boat if it is knocked off at high speed.


How low should you go?
For most situations, you should install your Skimmer transducer so that its centerline is level with the bottom of the boat hull. This will usually give you the best combination of smooth water flow and protection from bangs and bumps.

Align transducer centerline with hull bottom.
However, there are times when you may need to adjust the transducer slightly higher or lower. (The slots in the mounting brackets allow you to loosen the screws and slide the transducer up or down.) If you frequently lose bottom signal lock while running at high speed, the transducer may be coming out of the water as you cross waves or wakes. Move the transducer a little lower to help prevent this.
If you cruise or fish around lots of structure and cover, your transducer may be frequently kicking up from object strikes. If you wish, you may move the transducer a little higher for more protection.
There are two extremes you should avoid. Never let the edge of the mounting bracket extend below the bottom of the hull. Never let the bottom – the face – of the transducer rise above the bottom of the hull.
Shoot-thru-hull vs. Transom Mounting
Typically, shoot-thru-hull installations give excellent high speed operation and good to excellent depth capability. There is no possibility of damage from floating objects. It can't be knocked off when docking or loading on the trailer.
However, the shoot-thru-hull installation does have its drawbacks. First, some loss of sensitivity does occur, even on the best hulls. This varies from hull to hull, even from different installations on the same hull. This is caused by differences in hull lay-up and construction.
Second, the transducer angle cannot be adjusted for the best fish arches. This can be a problem on some hulls that sit with the bow high when at rest or at slow trolling speeds. Follow the procedure listed in the shoot-thru-hull installation section at the end of this lesson to determine if you can satisfactorily shoot through the hull.
TRANSOM TRANSDUCER ASSEMBLY AND MOUNTING
The best way to install these transducers is to loosely assemble all of the parts first, place the transducer's bracket against the transom and see if you can move the transducer so that it's parallel with the ground.
The following instructions sometimes vary depending on the mounting bracket that came with your transducer. Single-frequency Skimmers come with a one-piece stainless steel bracket, while dual-frequency Skimmers come with a two-piece plastic mounting bracket. Use the set of instructions that fits your model.
1. Assembling the bracket.
A. One-piece bracket: Press the two small plastic ratchets into the sides of the metal bracket as shown in the following illustration. Notice there are letters molded into each ratchet. Place each ratchet into the bracket with the letter "A" aligned with the dot stamped into the metal bracket. This position sets the transducer's coarse angle adjustment for a 14^ transom. Most outboard and stern-drive transoms have a 14^ angle.

B. Two-piece bracket: Locate the four plastic ratchets in the transducer's hardware package. Press two ratchets into the sides of the plastic bracket and two on either side of the transducer as shown in the following illustrations. Notice there are letters molded into each ratchet.
Place the rackets into the bracket with the letter "A" aligned with the alignment mark molded into the bracket. Place the rackets onto the transducer with the letter "A" aligned with the 12 o'clock position on the transducer stem. These positions set the transducer's coarse angle adjustment for a 14^ transom. Most outboard and stern-drive transoms have a 14^ angle.



Addratchets tobracketand transducer.
2. Aligning the transducer on the transom.
A. One-piece bracket: Slide the transducer between the two ratchets. Temporarily slide the bolt though the transducer assembly and hold it against the transom. Looking at the transducer from the side, check to see if it will adjust so that its face is parallel to the ground. If it does, then the "A" position is correct for your hull.
If the transducer's face isn't parallel with the ground, remove the transducer and ratchets from the bracket. Place the ratchets into the holes in the bracket with the letter "B" aligned with the dot stamped in the bracket.
Reassemble the transducer and bracket and place them against the transom. Again, check to see if you can move the transducer so it's parallel with the ground. If you can, then go to step 3A. If it doesn't, repeat step 2A, but use a different alignment letter until you can place the transducer on the transom correctly.

Insert bolt and check transducer position on transom.
B. Two-piece bracket: Assemble the transducer and bracket as shown in the following figure. Temporarily slide the bolt though the transducer assembly but don't tighten the nut at this time. Hold the assembled transducer and bracket against the transom. Looking at the transducer from the side, check to see if it will adjust so that its face is parallel to the ground. If it does, then the "A" positions are correct for your hull.
If the transducer's face isn't parallel with the ground, remove and disassemble the transducer and ratchets. Place the ratchets into the
bracket holes with the letter "B" aligned with the bracket alignment mark. Place them on the transducer aligned with the 12 o'clock position on the transducer stem.
Reassemble the transducer and bracket and place them against the transom. Again, check to see if you can move the transducer so it's parallel with the ground. If you can, then go to step 3B. If it doesn't, repeat step 2B, but use a different alignment letter until you can place the transducer on the transom correctly.

Assemble transducer and bracket.
3. Assembling the transducer.
A. One-piece bracket: Once you determine the correct position for the ratchets, assemble the transducer as shown in the following figure. Don't tighten the lock nut at this time.

Assemble transducer and bracket.
B. Two-piece bracket: Once you determine the correct position for the ratchets, assemble the transducer as shown in the figure in step 2B. Don't tighten the lock nut at this time.
4. Drilling mounting holes.
Hold the transducer and bracket assembly against the transom. The transducer should be roughly parallel to the ground. The
transducer's centerline should be in line with the bottom of the hull.
Don't let the bracket extend below the hull!
Mark the center of each slot for the mounting screw pilot holes. You will drill one hole in the center of each slot.
Drill the holes. For the one-piece bracket, use the #29 bit (for the #10 screws). For the two-piece bracket, use the #20 bit (for the #12 screws).

Position transducer mount on transom and mark mounting holes. Side view shown at left and seen from above at right.
5. Attaching transducer to transom.
A. One-piece bracket: Remove the transducer from the bracket and re-assemble it with the cable passing through the bracket over the bolt as shown in the following figures.


For single-frequency Skimmer, route cable over bolt and through bracket. Side view shown at left and seen from above at right.
Both bracket types: Attach the transducer to the transom. Slide the transducer up or down until it's aligned properly with the bottom of the hull as shown in the preceding and following figures. Tighten the bracket's mounting screws, sealing them with the caulking compound.
Adjust the transducer so that it's parallel to the ground and tighten the nut until it touches the outer washer, then add 1/4 turn. Don't over tighten the lock nut! If you do, the transducer won't "kick-up" if it strikes an object in the water.

Align transducer centerline with hull bottom and attach transducer to transom. Rear view of dual-frequency Skimmer shown.
- Route the transducer cable through or over the transom to the sonar unit. Make sure to leave some slack in the cable at the transducer. If possible, route the transducer cable away from other wiring on the boat. Electrical noise from the engine's wiring, bilge pumps, VHF radio wires and cables, and aerators can be picked up by the sonar. Use caution when routing the transducer cable around these wires.
WARNING:
Clamp the transducer cable to the transom close to the transducer. This can prevent the transducer from entering the boat if it is knocked off at high speed.
If you need to drill a hole in the transom to pass the connector through, the required hole size will be 5/8 .
Caution:
If you drill a hole in the transom for the cable, make sure it is located above the waterline. After installation, be sure to seal the hole with the same marine grade above- or below-waterline sealant used for the mounting screws.
- Make a test run to determine the results. If the bottom is lost at high speed, or if noise appears on the display, try sliding the transducer bracket down. This puts the transducer deeper into the water, hopefully below the turbulence causing the noise. Don't allow the transducer bracket to go below the bottom of the hull!
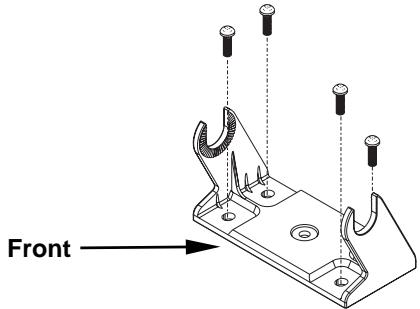
TROLLING MOTOR BRACKET INSTALLATION (single-frequency only)
- Attach the optional TMB-S bracket to the transducer as shown in the following figure, using the hardware supplied with the transducer. (Note: The internal tooth washer is supplied with the TMB-S.)

Attach motor mounting bracket to transducer.
-
Slide the adjustable strap supplied with the TMB-S through the slot in the transducer bracket and wrap it around the trolling motor. Position the transducer to aim straight down when the motor is in the water. Tighten the strap securely.
-
Route the transducer cable alongside the trolling motor shaft. Use plastic ties (not included) to attach the transducer cable to the trolling motor shaft. Make sure there is enough slack in the cable for the motor to turn freely. Route the cable to the sonar unit and the transducer is ready for use.

Transducer mounted on trolling motor, side view.
TRANSDUCER ORIENTATION AND FISH ARCHES
If you do not get good fish arches on your display, it could be because the transducer is not parallel with the ground when the boat is at rest in the water or at slow trolling speeds.



Transducer aimed too far back

Partial fish arches
Transducer aimed too far forward


Full fish arch
Proper transducer angle
Transducer angles and their effects on fish arches.
If the arch slopes up - but not back down - then the front of the transducer is too high and needs to be lowered. If only the back half of the arch is printed, then the nose of the transducer is angled too far down and needs to be raised.
NOTE:
Periodically wash the transducer's face with soap and water to remove any oil film. Oil and dirt on the face will reduce the sensitivity or may even prevent operation.
SHOOT-THRU-HULL PREPARATION
The transducer installation inside a fiberglass hull must be in an area that does not have air bubbles in the resin or separated fiberglass layers. The sonar signal must pass through solid fiberglass. A successful transducer installation can be made on hulls with flotation materials (such as plywood, balsa wood or foam) between layers of fiberglass if the material is removed from the chosen area.

For example, some (but not all) manufacturers use a layer of fiberglass, then a core of balsa wood, finishing with an outer layer of fiberglass. Removing the inner layer of fiberglass and the balsa wood core exposes the outer layer of fiberglass. The transducer can then be epoxied directly to the outer layer of fiberglass. After the epoxy cures, the hull is watertight and structurally sound. Remember, the sonar signal must pass through solid fiberglass. Any air bubbles in the fiberglass or the epoxy will reduce or eliminate the sonar signals.
WARNING:
Do not remove any material from your inner hull unless you know the hull's composition. Careless grinding or cutting on your hull can result in damage that could sink your boat. Contact your boat dealer or manufacturer to confirm your hull specifications.
To choose the proper location for thru-hull mounting, anchor the boat in 60 feet of water. Add a little water to the sump of the boat. Plug the transducer into the sonar unit, turn it on, then hold the transducer over the side of the boat. Adjust the sensitivity and range controls until a second bottom echo is seen on the display. (You will need to turn off both automatic and ASPTM .) Don't touch the controls once they've been set.
Next, take the transducer out of the water and place it in the water in the sump of the boat. Observe the sonar signal to see if there is a noticeable decrease in sensitivity. The second bottom signal may disappear and the bottom signal may decrease in intensity.
Move the transducer around to find the best location. If the sensitivity control must be increased greatly to compensate, then the transducer should be mounted on the outside of the hull. If not, then mark the location that shot through the hull the best and follow the instructions on the following pages for a shoot-thru-hull mounting.

Shoot-thru-hull transducer locations for high speed or trolling speed operation.
Shoot-thru-hull Installation
- Make sure the area is clean, dry and free of oil or grease, then sand both the inside surface of the hull and the face of the transducer with
100 grit sandpaper. The surface of the hull must be flat so the entire transducer face is in contact with the hull prior to bonding.

- Follow the instructions on the epoxy package and mix it thoroughly. Do not mix it too fast, because it will cause bubbles to form in the epoxy. Apply a small amount on the face of the transducer as shown above, then spread a small amount onto the sanded area on the hull. Place the transducer into the epoxy, twisting and turning it to force any air bubbles out from under the transducer face. The face of the transducer should be parallel with the hull, with a minimum amount of epoxy between the hull and transducer. After the epoxy dries, route the cable to the sonar unit.
Speed/Temperature Sensors
This unit can accept as many as two temperature sensors, which can be used to monitor the temperature of surface water, a live well or some other location. These units can also accept an optional speed sensor for showing speed and distance traveled. However, you can only use one accessory at a time. If you would like to use a speed sensor and a second temperature sensor at the same time, you will need a combination device.
NOTE:
This unit is packed with a transducer containing a built-in temp sensor. The SeaFinder package also includes a speed sensor. If you have a FishMark 480 and want a speed sensor or additional temp sensor, see the Accessory Ordering Information in the back of this manual.
If a second temp sensor is used, it must be the model TS-2U. This model has a fixed electronic "address" which designates it as the second of two temp sensors. Dual temperatures are only displayed on the Full Chart page. The Large Digital page will only display the primary temperature sensor. See the following wiring diagram for temperature and speed sensor combinations.

Sonar unit with secondary external temperature sensor.

Sonar unit with external speed sensor or combo speed/temp sensor. The primary temperature sensor is built into the transducer.
Optional Speed Sensor Installation
All the units in this series can display speed and distance traveled, but only the SeaFinder 480DF comes packed with a speed sensor. If you wish to purchase an optional additional sensor for your unit, refer to the accessory ordering information inside the back cover of this manual. The following instructions describe how to install the speed sensor.
Recommended tools for this job include: drill, 5/8" drill bit, 1/8" drill bit for pilot holes, screwdriver. Required supplies for this job include: four #8 stainless steel wood screws (3/4" long), high quality, marine grade above-or below-waterline caulking compound.
First find a location on the boat's transom where the water flow is smoothest. Don't mount the sensor behind strakes or ribs. These will disturb the water flow to the speed sensor. Make sure the sensor will remain in the water when the boat is on plane. Also make sure the location doesn't interfere with the boat's trailer. Typically, the sensor is mounted about one foot to the side of the transom's centerline.
Once you've determined the proper location for the unit, place the sensor on the transom. The bottom of the bracket should be flush with the hull's bottom. Using the sensor as a template, mark the hull for the screws' pilot holes. Drill four 1/8" holes, one in each end of the slots.
Mount the sensor to the hull using #8 stainless steel wood screws (not included). Use a high quality, marine grade above- or below-waterline caulking compound to seal the screws. Make sure the sensor is flush with the bottom of the hull and tighten the screws.

Stern view showing good location for mounting sensor on transom.
If the base of the transom has a radius, fill the gap between the transom and the sensor with the caulking compound. This will help ensure a smooth water flow.

Speed sensor mounting configuration: side view (left) and rear view (right.)
Route the sensor's cable through or over the transom to the sonar unit. If you need to drill a hole in the transom to pass the connector through, the required hole size is 5/8 .
Caution:
If you drill a hole in the transom for the cable, make sure it is located above the waterline. After installation, be sure to seal the hole with the same marine grade above- or below-waterline sealant used for the screws.
The sensor is now ready for use. Connect the sensor to the accessory socket on the back of your unit. If you have any questions concerning the installation of the sensor, please contact your local boat dealer.
Power Connections
The unit works from a 12-volt battery system. For the best results,
attach the power cable directly to the battery. You can attach the power cable to an accessory or power buss, however you may have problems with electrical interference. Therefore, it's safer to go ahead and attach the power cable directly to the battery.
CAUTION:
When using the unit in a saltwater environment, we strongly recommend that you shut off the power supply to the power cable when the unit is not in use. When the unit is turned off but still connected to a power supply, electrolysis can occur in the power cable plug. This may result in corrosion of the plug body along with the electrical contacts in the cable and the unit's power socket.
In saltwater environments we recommend you connect the power cable to the auxiliary power switch included in most boat designs. If that results in electrical interference, or if such a switch is not available, we recommend connecting direct to the battery and installing an inline switch. This will let you shut off power to the power cable when the unit is not in use. When you are not using the unit, you should always shut off power to the power cable, especially when the power cable is disconnected from the unit.
If possible, keep the power cable away from other boat wiring, especially the engine's wires. This will provide the best isolation from electrical noise. If the cable is not long enough, splice #18 gauge wire onto it. The power cable has two wires, red and black. Red is the positive lead, black is negative or ground. Make sure to attach the inline fuse holder to the red lead as close to the power source as possible.
For example, if you have to extend the power cable to the battery or power buss, attach one end of the fuse holder directly to the battery or power buss. This will protect both the unit and the power cable in the event of a short. It uses a 3-amp fuse.

Power connections for the sonar unit.
CAUTION:
Do not use this product without a 3-amp fuse wired into the power cable! Failure to use a 3-amp fuse will void your warranty.
This unit has reverse polarity protection. No damage will occur if the power wires are reversed. However, the unit will not work until the wires are attached correctly.
An optional 8-foot, CA-4 external power cable with a cigarette lighter adapter is available from Eagle.

Sonar unit cable connections.
Mounting the Unit: Bracket, In-Dash or Portable
You can install the sonar unit on the top of a dash with the supplied gimbal bracket. It can also be installed in the dash or mounted on a portable power supply.
If you use the supplied bracket, you may be interested in the optional R-A-M® bracket mounting system. This converts the unit's gimbal bracket to a swivel mount, which can be used on the dash or overhead mounting positions. Installation instructions are supplied with the R-A-M mounting kits.
Bracket Installation
Mount the unit in any convenient location, provided there is clearance behind the unit when it's tilted for the best viewing angle. You should also make sure there is enough room behind the unit to attach the power and transducer cables. (A drawing on the next page shows the dimensions of a gimbal-mounted sonar unit.)
Holes in the bracket's base allow wood screw or through-bolt mounting. You may need to place a piece of plywood on the back side of thin fiberglass panels to reinforce the panel and secure the mounting hardware.

Install the gimbal bracket. Orient the bracket so the arms slope toward the front of your unit.
Drill a 1-inch (25.4 mm) hole in the dash for the power and transducer cables. The best location for this hole is immediately under the gimbal bracket location. This way, the bracket can be installed so that it covers the hole, holds the cables in position and results in a neat installation. Some customers, however, prefer to mount the bracket to the side of the cable hole — it's a matter of personal preference.
After drilling the hole, pass the transducer connector up through the hole from under the dash. Pass the power cable's bare-wire end down though the hole from the top.
If you wish, you can fill in the hole around the cables with a good marine caulking compound. (Some marine dealers stock cable hole covers to conceal the opening.) No matter what type of installation you prefer, be sure to leave enough slack in the cables to allow tilting or swiveling the unit. If you choose to fill in the hole, be sure to position the cables against the rear edge of the hole as you apply the fill material.

Front view (left) and side view (right) showing dimensions of the sonar unit when mounted on gimbal bracket.
Before positioning the bracket, be sure to hold the cables against the rear edge of the hole. Then, slide the bracket over the hole and butt the rear of the bracket base firmly against the cables, thus pinning them in
place against the side of the hole. Finally, fasten the bracket to the dash. Attach the unit to the gimbal bracket using the supplied gimbal knobs and washers.
In-Dash Installation
You can mount the unit in the dash with an optional FM-5 In-Dash Adapter Kit. The kit includes mounting hardware, a template for cutting the hole and an instruction sheet, part 988-0147-43.

In-dash mounting template for the sonar unit, showing dimensions. NOTE: The figure above is not printed to scale. A scaled template (FM-5 In-Dash Adapter Kit instructions) is available for free download from our web site, www.eaglesonar.com.
Portable Installation
Like many Eagle products, this sonar unit is capable of portable operation by using the optional PPP-13 portable power pack. The power pack and an optional portable transducer expand the uses for your sonar unit. The PPP-13 makes it easy to use the unit on your boat or take it to the dock, on a float tube, on an ice fishing trip or use it as a second sonar in a friend's boat.
The PPP-13 Portable Power Pack can be used with eight "D" cell alkaline batteries or an optional sealed, rechargeable battery. For setup directions, refer to the pack's instruction sheet, part 988-0147-601.

Install batteries in power pack battery adapter.
Face Cover
Your unit comes with a white protective cover that snaps on and off the front of the unit. This cover is intended for use when your unit and the vehicle it's mounted in are idle.
WARNING:
When the unit is mounted in an unprotected area, such as an open boat cockpit, the protective face cover must be removed when the vehicle is moving at high speed. This includes towing a boat on a trailer at highway speeds. Otherwise, wind blast can pop off the cover.
Section 3: Basic Sonar Operation
This section addresses the unit's most basic sonar operations. The instructions presented here in Sec. 3 follow a chronological order. Sec. 4, Sonar Options & Other Features, will discuss options and other more advanced functions and utilities. The material in Sec. 4 is arranged in alphabetical order.
Before you turn on the unit, it's a good idea to learn about the different keys, the Main Menu, the Sonar Menu, the four Page options and how they all work together. BUT, if you just can't wait to get on the water, turn to the one-page Quick Reference on page 39.
Keyboard

Sonar unit, front view, with keyboard. SeaFinder 480DF shown.
- PWR/LIGHT (Power & Light) - The PWR key turns the unit on and off and activates the backlight.
- PAGES - Pressing this and the arrow keys switches the unit between the four different page options. (Full Sonar Chart, Split Zoom Sonar Chart, Split Frequency Sonar Chart and Digital Data.)
- MENU - Press this key to show the menus and submenus, which allow you to select a command or adjust a feature.
- ARROW KEYS - These keys are used to navigate through the menus, make menu selections, move the sonar chart cursor and enter data.
- ENT (Enter) - This key allows you to accept values or execute menu commands.
- EXIT - The Exit key lets you return to the previous screen, clear data or erase a menu.
- ALARM - The Alarm key is a quick shortcut to the sonar alarms menu. It allows you to choose which alarms to use and when.
- ZOUT - (Zoom Out) - This key lets you zoom the screen out. This key returns you to a full sonar chart display, showing the entire water column from surface to bottom.
- ZIN - (Zoom In) - This key lets you zoom the screen in. It enlarges fish signals, bottom detail and other sonar returns.
Power/lights on and off
To turn on the unit, press PWR.
To change the backlight, press PWR again. This unit has two backlight levels to select from. Repeatedly pressing PWR will cycle through the backlight settings, turn off the backlight, then turn it back on again.
Turn off the unit by pressing and holding the PWR key for about 3 seconds.
Menu
Your sonar unit will work fine right out of the box with the factory default settings. You only need to learn a few basic functions to enhance your viewing. We'll discuss them briefly here, then talk about them and all the other commands in more detail in the next section, which begins on page 45.
Your unit has three primary menus that control its operation. They are the Main Menu, the Sonar Menu and the Pages Menu.
Main Menu
The Main Menu contains some basic function commands and some setup option commands. You access the Main Menu by pressing MENU|MENU. You run a command by using the or to highlight the command and then pressing ENT. To clear the Main Menu screen and return to the Page display, press EXIT. (Remember, our text style for "MENU|MENU" means "press the Menu key twice." See a full explanation of our instruction text formatting on page 4, Instructions = Menu Sequences.)

Main Menu.
Main Menu Commands
There are four "basic" Main Menu commands that you'll really want to read more about. They are:
- Screen command: changes the contrast or brightness of the display screen. Use this command to adjust how the screen looks under various lighting conditions.
- Sounds command: enables or disables the sounds for key strokes and alarms, controls the volume and sets the alarm style. If you don't like to hear a beep each time you press a key, you can turn this off, or select tunes or sound effects instead. The sounds are especially useful when used with the Fish I.D. ^TM fish symbol feature and fish alarm feature.
- Sonar Alarms command: turns alarms on or off and changes alarm thresholds. The fish alarm, used with Fish I.D., is the most popular use. It tells you when the sonar sees a fish. You can also set deep or shallow depth alarms and zone alarms.
- Popup Help command: turns the pop-up help boxes on or off. When you select a menu command, these information boxes appear to tell you what the command does or how to use the command. The default setting is on, which is really handy while you're learning.
The remaining Main Menu commands are for more advanced functions, mostly setting various sonar options. (They're all detailed in Sec. 4.) - Units of Measure command: selects the units of measure used for showing speed/distance, depth and temperature.
- Set Keel Offset command: calibrates the unit to show depth under the keel or actual depth from the surface.
- Calibrate Water Speed command: adjusts how a speed sensor measures water speed.
- Reset Water Distance command: resets water distance log to zero.
-
Sonar Simulator command: turns the simulator feature on and off. Useful for learning how to operate the unit and all its functions.
-
Reset Options command: returns all options and auto functions to their original factory settings. It's a great safety net while you're learning and experimenting with various settings.
- Set Language command: your unit has menus in 10 different languages. This command switches from one language to another.
- Software Information command: tells you which version of the operating software is loaded in your unit.
Sonar Menu
The Sonar Menu contains commands for the major sonar features and options. You access the Sonar Menu by pressing the MENU key one time. You run a command by using the ↑ or ↓ to highlight the command and then pressing ENT. To clear the menu screen and return to the Page display, press EXIT.

Sonar Page Menu. Most of these functions are discussed in Sec. 4.
Sonar Menu Commands
The Sonar Menu contains commands for the major sonar features and options. Most of them are only described in detail in Sec. 4, but
Sensitivity and Auto Sensitivity are important basic functions that are discussed both here and in Sec. 4. The other Sonar Menu commands include:
- Grayline® command: separates fish and structure near the bottom from the actual bottom, and defines bottom composition/hardness.
- Depth Range command: manually sets the depth range shown on the sonar chart.
- Auto Depth Range command: automatically sets the depth range shown on the sonar chart to always keep the bottom in view.
- Stop Chart command: stops the sonar chart from scrolling. Used when you want to "freeze" the image for closer study.
- Chart Speed command: sets the scrolling speed of the sonar chart.
- Depth Cursor command: displays a cursor line on the sonar chart which allows you to accurately measure the depth of a sonar target.
- Overlay Data command: chooses what types of information (such as water temperature) to show overlaid on the sonar chart screen.
- Sonar Features command: launches the Sonar Features menu which controls many functions and options, including frequency selection, screen color mode, auto depth and sensitivity, surface clarity, noise rejection, Fish I.D.™ symbols, the zoom bar and zone bar.
- Ping Speed command: sets the rate at which sonar pings are made.
Pages
The Pages Menu controls the four major display options. They are the Full Sonar Chart, Split Zoom Sonar Chart, Split Frequency Sonar Chart and Digital Data.
You access the Pages Menu by pressing the PAGES key. You select a display option by using or to highlight the option and then pressing ENT. (You can clear the Pages Menu by pressing EXIT.)


Pages Menu showing some Sonar display options (at left, dual-frequency menu; at right, single-frequency menu).
The Full Sonar Chart is the main display option. This is a "cross-section" view of the water column beneath the boat. The chart moves across the screen, displaying sonar signal echoes that represent fish, structure and the bottom.



Sonar chart display options (from left) split zoom (all models) and split frequency (SeaFinder 320DF only).

Digital data sonar chart display option.
You can customize how the Sonar Page pictures and other data are displayed in many ways. We'll discuss all of those features and options in Section 4, but to show you how easy the sonar unit is to operate, see the following 10-step quick reference that will cover most fish finding situations. The quick reference describes how your unit will operate with all the sonar features in their automatic modes, which are set at the factory.
Basic Sonar Quick Reference
- Mount the transducer and unit. Connect the unit to electric power and the transducer.
- Launch your boat.
- To turn on the unit, press and release PWR key.
- Head for your fishing grounds. Your unit automatically displays digital depth and surface water temperature in the corner of the screen.
The auto settings will track the bottom, displaying it in the lower portion of the screen. The full sonar chart will scroll from right to left, showing you what's under the boat as you cruise across the water.
5. As you're watching the sonar returns, you can change the display by:
Zoom in to enlarge the chart for more detail: press ZIN.
Zoom out to return to full chart mode: press ZOUT.
- If necessary, adjust sensitivity to improve chart readability. Press MENU|ENT and the Sensitivity Menu will appear on the left of your screen. Use and to change the setting.
Boosting sensitivity will show more information on your screen, which may cause clutter. Reducing sensitivity will filter out some information, but could omit important images. We recommend adjusting sensitivity until the background is lightly "peppered" — that is, scattered dots appear, but individual objects (like fish arches or bottom structure) can be easily picked out of the background. - Watch the display for the appearance of fish arches. When you see arches, you've found fish! Stop the boat and get your lure or bait into the water at the depth indicated on the sonar chart.
-
Gauge the fish depth by visually comparing the fish arches with the depth scale on the right side of the screen, or get a more accurate measure with the Depth Cursor. Press MENU to DEPTH CURSOR | ENT. Press (or ↑) to align the cursor line with the fish arch. The exact depth appears in a box at the right end of the cursor line. To clear the cursor, press EXIT.
-
If you are drifting at a very low speed or anchored, you are not moving fast enough for a fish to return the tell-tale fish arch signal. As you drift over a fish, or as a fish swims through the transducer's signal cone, the fish echo will appear as a straight line suspended between the surface and the bottom.
-
To turn off the unit, press and hold PWR key for three seconds.
Sonar Operations
As you can see from the quick reference, basic operation is pretty easy, right out of the box. If you are a sonar novice, try operating the unit with the factory defaults until you get a feel for how it's working.
As you're learning the basics, there is one setting you might want to tinker with from time to time — Sensitivity.
Sensitivity controls the unit's ability to pick up echoes. If you want to see more detail, try increasing the sensitivity, a little at a time. There are situations when too much clutter appears on the screen. Decreasing the sensitivity can reduce the clutter and show the strongest fish echoes, if fish are present. As you change the sensitivity setting, you can see the difference on the chart as it scrolls.
You can change the sensitivity level whether you are in Auto Sensitivity mode or Manual Sensitivity mode. The adjustment method works the same in both modes, but it gives you slightly different results.
Adjusting sensitivity in Auto Sensitivity Mode is similar to manually adjusting a car's speed with the accelerator pedal while cruise control is on. You can tell the car to run faster, but when you let off the gas the cruise control automatically keeps you from running slower than the minimum speed setting. In the sonar unit, auto mode will let you increase sensitivity to 100 percent, but the unit will limit your minimum setting. This prevents you from turning sensitivity down too low to allow automatic bottom tracking. When you change the setting with auto turned on, the unit will continue to track the bottom and make minor adjustments to the sensitivity level, with a bias toward the setting you selected.
Adjusting sensitivity in Manual Sensitivity Mode is similar to driving a car without cruise control — you have complete manual control of the car's speed. In the sonar unit, manual mode allows you to set sensitivity at 100 percent (maximum) or zero percent (minimum.) Depending on water conditions, the bottom signal may completely disappear from the screen when you reduce sensitivity to about 50 percent or less!

Fig. 3

Fig. 4


These figures show results of different sensitivity levels on the same location. Fig. 1: Sensitivity at 88 percent, determined by Auto Sensitivity. Typical of full auto mode. Fig. 2: Sensitivity set at 75 percent. Fig. 3: Sensitivity set at 50 percent. Fig. 4: Sensitivity set at 100 percent.
Try adjusting sensitivity in both auto and manual modes to see how they work.
To adjust sensitivity:
-
Press MENU|ENT.
-
The Sensitivity Control Bar appears. Press to decrease sensitivity; press to increase sensitivity. When it's set at the desired level, press EXIT. (When you reach the maximum or minimum limit, a tone sounds.)


At left, Sonar Menu with Sensitivity command selected. At right, the Sensitivity Control Bar.
NOTE:
If you want to change the sensitivity in Manual Mode, first turn off Auto Sensitivity: from the Sonar Page, press MENU| to AUTO SENSITIVITY |ENT| to SENSITIVITY |ENT. Press or to pick a different sensitivity setting. When it's set at the desired level, press EXIT.
Important Tip:
While you are experimenting and learning, it's possible to scramble the settings so that the sonar picture disappears from your screen. If that happens, remember that it's easy to switch back to full automatic operation by simply restoring the factory auto settings. Here's how:
To Restore Factory Settings
-
Press MENU|MENU| to RESET OPTIONS|ENT.
-
The unit asks if you want to reset all the options. Press to Yes|ENT. All options are reset, and the unit reverts back to the original settings.
Fish Symbols vs. Full Sonar Chart
You may have noticed in the quick reference that we used fish arches in full sonar chart mode for our example, and not the popular Fish I.D.™ fish symbol feature. Here's why.
Fish I.D. is an easier way for a sonar novice to recognize a fishy signal return when he sees it. However, locating fish by symbol only has some limitations.
Your sonar unit's microprocessor is remarkably powerful, but it can be fooled. Some of the echoes calculated to be fish could be tree limbs or turtles! To see what's under your boat in maximum detail, we recommend you turn off Fish I.D. and begin learning to interpret fish arches.
Fish I.D. is most handy when you're in another part of the boat or performing some task that prevents you from watching the sonar screen. Then, you can turn on Fish I.D. and the audible fish alarm. When that lunker swims under your boat, you'll hear it!
Fish I.D. can also be useful when you want to screen out some of the sonar detail gathered by your unit. For example, in one case fishermen in San Francisco Bay saw clouds of clutter in the water but no fish arches. When a down rigger was pulled up, it brought up several small jellyfish. The fishermen switched their sonar to Fish I.D., which screened out the schools of jellyfish and clearly showed the game fish there as fish symbols.
Other Free Training Aids
The sonar options section discusses Fish I.D., fish alarms and other features in greater detail. If you or a friend has Internet access, you can also learn more about interpreting what you see on your sonar screen. Visit our web site, WWW.EAGLESONAR.COM. Be sure to check out the free Sonar Tutorial, which includes animated illustrations and more pictures of actual sonar returns, all described in detail. There's even a
"printer friendly" version of the tutorial available on our web site...it makes a great supplement to this operation manual!
For the ultimate training aid, be sure to download the free emulator software for your unit. Aside from being just plain fun, this program can help you learn both basic and advanced operations without burning boat fuel! Eagle is one of the first sonar manufacturers to provide this type of training tool for customers.
This PC application simulates the actual sonar unit on your computer. You can run it from your computer keyboard or use your mouse to press the virtual keys. Easy download and installation instructions are available on our web site.

Free training emulator is available for your unit on our web site.
The emulator works exactly like your real sonar unit. Using the Sonar Simulator feature, it allows you to play the demo sonar log, and practice changing the various settings available in your Eagle sonar unit!
Section 4: Sonar Options & Other Features
Material in this section is arranged in alphabetical order.
ASPTM (Advanced Signal Processing)
The ASPTM feature is a noise rejection system built into the sonar unit that constantly evaluates the effects of boat speed, water conditions and interference. This automatic feature gives you the best display possible under most conditions.
The ASP feature is an effective tool in combating noise. In sonar terms, noise is any undesired signal. It is caused by electrical and mechanical sources such as bilge pumps, engine ignition systems and wiring, air bubbles passing over the face of the transducer, even vibration from the engine. In all cases, noise can produce unwanted marks on the display.
The ASP feature has four settings — Off, Low, Medium and High. If you have high noise levels, try using the "High" ASP setting. However, if you are having trouble with noise, we suggest that you take steps to find the interference source and fix it, rather than continually using the unit with the high ASP setting.
There are times when you may want to turn the ASP feature off. This allows you to view all incoming echoes before they are processed by the ASP feature.

At left, Sonar Menu with Sonar Features selected. In the Sonar Features menu, Noise Rejection is selected with ASP in the default low setting (center, dual-frequency menu; at right, single-frequency menu).
To change the ASP level:
1.From the Sonar Page,press MENU to SONAR FEATURES|ENT.
2. Press ↓ or ↓ to Noise REJECTION | ENT.
3. Press or to select a setting, then press ENT.
4. To return to the previous page, press EXIT|EXIT.
Alarms

This unit has three different types of sonar alarms. The first is the Fish Alarm. It sounds when the Fish I.D. ^TM feature determines that an echo is a fish.
Another alarm is the Zone Alarm, which consists of a bar on the side of the screen. Any echo on the chart that appears inside this bar triggers this alarm.
The last alarm is the Depth Alarm, which has both a Shallow and a Deep setting. Only the bottom signal will trigger this alarm. This is useful as an anchor watch, a shallow water alert or for navigation.
Depth Alarms
The depth alarms sound a tone when the bottom signal goes shallower than the shallow alarm's setting or deeper than the deep alarm's setting. For example, if you set the shallow alarm to 10 feet, the alarm will sound a tone if the bottom signal is less than 10 feet. It will continue to sound until the bottom goes deeper than 10 feet.
The deep alarm works just the opposite. It sounds a warning tone if the bottom depth goes deeper than the alarm's setting. Both depth alarms work only off the digital bottom depth signals. No other targets will trip these alarms. These alarms can be used at the same time or individually.
To adjust and turn on the shallow alarm:
- Press ALARM.
- Press to SHALLOW ALARM DEPTH | ENT.
- Press or to change the first number, then press to move the cursor to the next number and repeat until the depth is correct, then press ENT.
- Press to SHALLOW ALARM ENABLED|ENT|EXIT.
- To turn off the alarm, press ALARM|ENT|EXIT.
To switch to a different depth setting, open the Sonar Alarms menu and repeat the instructions in step 3 above.
To adjust and turn on the deep alarm:
- Press ALARM.
- Press to DEEP ALARM ENABLED | to DEEP ALARM DEPTH |ENT.
- Press or to change the first number, then press to move the cursor to the next number and repeat until the depth is correct, then press ENT.
- Press to DEEP ALARM ENABLED | ENT | EXIT.
- To turn off the alarm, press ALARM|↓ to DEEP ALARM ENABLED|ENT|EXIT.
To switch to a different depth setting, open the Sonar Alarms menu and repeat the instructions in step 3 above.
Zone Alarm
The zone alarm is triggered when any echo passes inside the zone alarm bar, shown on the right side of the screen.
To adjust and turn on the zone alarm:
- Press ALARM.
- Press to ZONE ALARM ENABLED | to ADJUST ZONE | ENT.

Adjust Zone Alarm selection box, with Upper selected.
- To set the upper boundary for the Zone Alarm, use or to select UPPER, then press or to move the top of the bar to the desired depth.
- To set the lower boundary for the Zone Alarm, use or to select LOWER, then press or to move the bottom of the bar to the desired depth.
- Press EXIT|← to ZONE ALARM ENABLED|ENT|EXIT. Now, any echo — fish, bottom, structure — within the zone alarm's depth range will trigger the zone alarm.
- To turn off the alarm, press ALARM|to ZONE ALARM ENABLED|ENT|EXIT.
To switch to a different depth setting, open the Sonar Alarms menu and repeat the instructions in steps 3 and 4 above.
Fish Alarm
Use the fish alarm for a distinctive audible alarm when fish or other suspended objects are detected by the Fish I.D.™ feature (Fish I.D. must be turned on for the Fish Alarm to work). A different tone sounds for each fish symbol size shown on the display.
To turn the fish alarm on:
- Press ALARM.
- Press to FISH ALARM|ENT|EXIT.
- To turn off the alarm, press ALARM | ↓ to FISH ALARM | ENT | EXIT.
Brightness
See the entry in this section for Screen Contrast and Brightness.
Calibrate Speed
The speed sensor can be calibrated to compensate for inaccuracies. Before you change the setting, first calculate the percentage that the speed is off. You will enter this percentage in a moment.
For example, if you figure the sensor is reading 10 percent faster than actual speed, you will enter - 10 in the calibration window. If the sensor is reading 5 percent slower than true speed, you will enter + 5 in the window.
Perform your test in relatively calm water free of current, if possible. (Unless, of course, you are taking the current speed into consideration when making your calculation.) After you have a correction figure, here's how to enter it:
- Press MENU|MENU|to CALIBRATE WATER SPEED |ENT.
- Enter the number you calculated earlier: press or to change the first character (+ or -), then press to move the cursor to the next number and repeat until the percentage is correct, then press EXIT.
Chart Speed

The rate that echoes scroll across the screen is called the chart speed. The default is maximum; we recommend that you leave the speed set there for virtually all fishing conditions.
However, you might consider experimenting with chart speed when you are stationary or drifting very slowly. You may sometimes achieve better images as you slow down the chart speed to match how fast you are moving across the bottom.
If you are at anchor, ice fishing or fishing from a dock, experiment with a chart speed around 50 percent. If you are drifting slowly, try a chart speed around 75 percent. When you are stationary and a fish swims through the sonar signal cone, the image appears on the screen as a long line instead of a fish arch. Reducing the chart speed may result in a shorter line that more closely resembles a regular fish return.
If you do experiment with chart speed, remember to reset it to maximum when you resume trolling or moving across the water at higher speed. To change chart speed:
- From the Sonar Page, press MENU| to CHART SPEED | ENT.
- The Chart Speed Control Bar appears. Press to decrease chart speed; press to increase chart speed.
- When it's set at the desired level, press EXIT.
Contrast
See the entry in this section for Screen Contrast and Brightness.
Depth Cursor
The depth cursor consists of a horizontal line with a digital depth box on the right side. The numbers inside the box show the depth of the cursor.

Sonar chart with the depth cursor active. The line indicates the large fish is 34.64 feet deep.
The cursor can be moved to any location on the screen, letting you pinpoint the depth of a target.
- From the Sonar Page, press MENU | ↓ to Depth Cursor | ENT.
- The depth cursor appears. Press to lower the cursor line; press to raise the cursor line.
- To clear the depth cursor, press EXIT.
Depth Range - Automatic
When turned on for the first time, the bottom signal is automatically placed in the lower half of the screen. This is called Auto Ranging and is part of the automatic function. However, depending upon the bottom depth and the current range, you can change the range to a different depth. To do this:
1.From the Sonar Page,press MENU| to DEPTH RANGE|ENT.
2. The Depth Range Control Scale appears. Press or to select a different depth range. A black bar highlights the selected range. Range numbers in gray cannot be selected.
3. When the new range is selected, press EXIT to clear the menu.
Depth Range - Manual

menu.
You have complete control over the range when the unit is in the manual mode. There are 16 depth ranges, from 5 feet to 4,000 feet.
To switch to Manual Depth Range:
- First, turn off automatic depth range. From the Sonar Page, press MENU| to AUTO DEPTH RANGE|ENT.
- Press to DEPTH RANGE|ENT and the Depth Range Control Scale appears.
- Press or to select a different depth range. A horizontal black bar highlights the selected range.
- When the new range is selected, press EXIT to clear the
To turn Auto Depth Range on again:
- From the Sonar Page, press MENU|↓ to AUTO DEPTH RANGE | ENT | EXIT.
NOTE:
The sonar's depth capability depends on the transducer installation, water and bottom conditions, and other factors.
FasTrackTM
This feature automatically converts all echoes to short horizontal lines on the display's far right side. The graph on the rest of the screen continues to operate normally. FasTrack gives you a rapid update of conditions directly under the boat. This makes it useful for ice fishing, or when you're fishing at anchor. When the boat is not moving, fish signals are long, drawn out lines on a normal chart display. FasTrack converts the graph to a vertical bar graph that, with practice, makes a useful addition to fishing at a stationary location.

Fish I.D.™ (Fish Symbols & Depths)
The Fish I.D. feature identifies targets that meet certain conditions as fish. The microcomputer analyses all echoes and eliminates surface clutter, thermoclines, and other signals that are undesirable. In most instances, remaining targets are fish. The Fish I.D. feature displays fish symbols on the screen in place of the actual fish echoes.
There are several fish symbol sizes. These are used to designate the relative size between targets. In other words, Fish I.D. displays a small fish symbol when it thinks a target is a small fish, a medium fish symbol on a larger target and so on.
The sonar's microcomputer is sophisticated, but it can be fooled. It can't distinguish between fish and other suspended objects such as trotlines, turtles, submerged floats, air bubbles, etc. Individual tree limbs extending outwards from a group of limbs is the hardest object for the Fish I.D. feature to distinguish from fish.
You may see fish symbols on the screen when actually, there are no fish. The reverse is also true. The illustrations on the next page show how Fish I.D. can actually miss fish that are present.
Does that mean Fish I.D. is broken? No — the feature is simply interpreting sonar returns in a specific way to help take some of the work out of reading the screen. Remember: Fish I.D. is one of the many tools we provide so you can analyze your sonar returns for maximum fish finding information. This and other features can help you successfully "see" beneath the boat under varied water and fishing conditions. So, practice with the unit in both the Fish I.D. mode and without to become more familiar with the feature. The default for Fish I.D. is off.


Sonar Features menu with Fish I.D. Symbols selected (at left, dual-frequency menu; at right, single-frequency menu). When the check box to the left is checked, the feature is on.

Fig. 1 A

Fig. 1 B

Fig. 2 A

Fig. 2 B
At left, figures 1A and 2A show Sonar Page in normal chart mode. At right, figures 1B and 2B show the same underwater scene with Fish I.D. turned on. Note how arches are replaced with symbols.
To turn the Fish I.D. feature on:
- From the Sonar Page, press MENU | ↓ to SONAR FEATURES | ENT.
- Press or to FISH ID SYMBOLS | ENT | EXIT | EXIT.
To turn off Fish I.D., repeat the instructions in step 1.
FishTrackTM
The FishTrack feature shows the depth of a fish symbol when it appears on the display. This lets you accurately gauge the depth of targets. This feature is available only when the Fish I.D. feature is on. The default setting for FishTrack is off.
To turn on FishTrack:
(Note: These instructions will turn on FishTrack and Fish I.D. at the same time.)
- From the Sonar Page, press MENU| to SONAR FEATURES | ENT.
- Press ↓ to Fish ID DEPTHs | ENT | EXIT | EXIT.
To turn off FishTrack, repeat the instructions in step 1. Turning off FishTrack in this manner will not turn off Fish I.D. symbols.



Sonar Features menu with Fish I.D. Depths selected (at left, dual-frequency menu; center, single-frequency menu). When the check box to the left is checked, the feature is on. At right, Sonar Page showing Fish I.D. symbols and FishTrack depths turned on.
FishRevealTM
When displaying actual sonar returns, the FishReveal feature uses 10 levels of gray tones to show fish targets hidden by surface clutter, thermoclines, weed beds and other cover.
The normal mode of operation (with FishReveal turned off) shows the weakest echoes as black and the strongest echoes in light gray. Since all weak echoes are black, fish arches show boldly against the white background. The drawback is that all weak echoes - such as thermoclines - are also emphasized. This can make it hard to distinguish fish signals inside thermoclines or other cover.
In FishReveal mode, the weakest echoes are white and the strongest echoes are black. Echoes in between vary in gray in proportion to their signal strength. The Grayline control determines the range for black to white. Also note that when using FishReveal, we recommend that you turn off Auto Sensitivity and turn up Sensitivity to near maximum.


Sonar Color Mode command with FishReveal selected (at left, dual-frequency menu; at right, single-frequency menu).
To turn FishReveal on:
1.From the Sonar Page,press MENU to SONAR FEATURES|ENT.
2. Press to SONAR COLOR MODE | ENT | to FISHREVEAL | ENT.
3. Press EXIT | ↑ to AUTO SENSITIVITY | ENT | ↑ to SENSITIVITY | ENT.
4. Press ↑ until the Sensitivity Control Bar reads 100% (or close to it), then press EXIT. (If you reach the maximum limit, a tone sounds.)

Sonar chart in regular grayscale mode, left, and in FishReveal mode, right. Notice how shallow fish formerly hidden in the surface clutter become visible in FishReveal mode.
NOTE:
Water conditions vary greatly, and that affects sonar performance. Under certain conditions, FishReveal will show you more fish than normal grayscale mode, but the reverse will be true in other circumstances. We suggest you become familiar with both modes so you can best match your sonar's performance to the current water conditions.
Frequency (Change Transducer Frequency) (SeaFinder 480DF only)
The "DF" in your unit's name refers to its dual-frequency transducer, which operates with both 200kHz and 50kHz . The 200kHz frequency has a 12^ cone angle and the 50kHz frequency has a 35^ cone angle.
The default frequency is 200kHz , which is best for use in shallow water (about 300 feet or less). This frequency is the best choice for about 80 percent of the fresh and salt water sport fishing applications. When you get into very deep salt water, 300 to 500 feet or deeper, the 50kHz frequency is the best choice.
The 200kHz transducer will give you better detail and definition, but less depth penetration. The 50kHz transducer will give you greater depth penetration, but a little less detail and less definition. (Remember,
all sonar units typically read deeper in fresh water than in salt water.) There is a common exception to these rules of thumb. Some fishermen on freshwater lakes (or the ocean) using downriggers like to see them on the sonar. In many of those cases, you'll see a 50kHz transducer frequency in use because the wider cone angle lets them watch the bait.

Sonar Features menu with a frequency of 200kHz selected.
To change the frequency setting to 200kHz :
- From the Sonar Page, press MENU|↓ to SONAR FEATURES | ENT | ENT.
- Press EXIT | EXIT to clear the menu.
To change the frequency setting to 50kHz
- From the Sonar Page, press MENU| to SONAR FEATURES | ENT.
- Press to 50 kHz | ENT|.
- Press EXIT | EXIT to clear the menu.
Grayline®

Grayline lets you distinguish between strong and weak echoes. It "paints" gray on targets that are stronger than a preset value. This allows you to tell the difference between a hard and soft bottom. For example, a soft, muddy or weedy bottom returns a weaker signal which is shown with a narrow or no gray line. A hard bottom returns a strong signal which causes a wide gray line.
If you have two signals of equal size, one with gray and the other without, then the target with gray is the stronger signal. This helps distinguish weeds from trees on the bottom, or fish from structure.
Grayline is adjustable. Experiment with your unit to find the Grayline setting that's best for you.
To adjust the Grayline level:
1.From the Sonar Page,press MENU toGRAYLINE|ENT.
2. The Grayline Control Bar appears. Press to decrease Grayline; press to increase Grayline.
3. When it's set at the desired level, press EXIT.

Fig. 1A

Fig. 1B

Fig. 2A

Fig. 2B

Fig. 3A

Fig. 3B
Grayline
This series of figures shows how different Grayline settings can reveal more information. The "A" figures to the left show locations with Grayline set at the factory level of 64 percent. At right, the "B" figures show the same locations with Grayline increased to 84 percent. In Figure 1B, no fish are near the left structure, but the right structure shows fish holding next to the structure. Notice in figures 2B and 3B how Grayline displays a hard, rocky bottom (the drop-offs) with a wider gray line. The muddier bottom below those drop-offs appears as a narrower gray line.
HyperScrollTM
See the entry on Ping Speed, which controls the HyperScroll feature.
Noise Rejection
See the entry on Advanced Signal Processing in this section.
Overlay Data
To change the digital data shown on top of the sonar page:
- Press MENU|↓ to OVERLAY DATA | ENT.
- Press or to select Data Type|ENT.
When selected, the data type shifts to the top of the data list and a check mark appears beside the data type. (If you wish, you may now use or to select other Data Types for display.)


At left, we scrolled down the data list to highlight "Water Speed." At right, data list showing "Water Speed" selected to display on Sonar Page.
- To return to the previous page, press EXIT|EXIT.
To turn off displayed data:
- Press MENU| to OVERLAY DATA|ENT.
- Press or to select Data Type|ENT. The selected data type disappears from the top of the list and reverts to its previous, unchecked position. (If you wish, you may now use or to select other Data Types to turn off.)
- To return to the previous page, press EXIT|EXIT.
To change displayed data font size:
- Press MENU| to OVERLAY DATA|ENT.
- Press or to select Data Type|press or to Data Size|EXIT.
The selected data type will be displayed in the new size. (To change the font size for another Data Type, press ENT and repeat these steps, beginning with step two above.)
- To return to the previous page, press EXIT.
Tip:
If you wish, you can change the displayed data font size when you select a data type:
- Press MENU|↓ to OVERLAY DATA | ENT.
- Press or to select Data Type|press or to select Data Size|ENT.
The data will be shown in the new font size. To return to the previous page, press EXIT|EXIT.
NOTE:
Some data types can be displayed in only one font size. If that is the case, the Data Size box will not be displayed for that data type.

Sonar chart with Overlay Data turned on. This example shows Depth, Water Temperature and the Water Speed of the boat.
Ping Speed & HyperScroll™

Ping Speed controls the rate at which the transmitter and transducer broadcast sonar sound waves — pings — into the water. The unit has a default ping speed of 50 percent. At normal boating speeds, this automatically provides enough return echoes to refresh the screen and scroll the chart at maximum chart speed.
However, when you are running at high speeds, or just want the fastest possible screen update, you may want to use the
HyperScroll™ feature. When you change the Ping Speed to any setting greater than 50 percent, the unit automatically enters HyperScroll mode.
These faster ping rates allow you to maintain a high-detail picture on the screen, and the screen refresh rate and chart scroll speed can keep pace with the boat as it moves quickly over the bottom terrain.
When using HyperScroll, you may also need to manually decrease the sensitivity for optimum performance. Depending on water depth and other conditions, HyperScroll may cause a second bottom echo to return to the transducer during the next ping cycle, or sounding. This can result in a large amount of clutter appearing on the screen. If this occurs, just decrease the sensitivity to a level that eliminates the clutter. When you turn HyperScroll off, you can return to your original sensitivity level.
To change Ping Speed:
1.From the Sonar Page,press MENU|to PING SPEED|ENT.
- The Ping Speed Control Bar appears. Press to increase ping speed; press to decrease ping speed. When it's set at the desired level, press EXIT.
To adjust Sensitivity:
1.From the Sonar Page,press MENU|ENT.
- The Sensitivity Control Bar appears. Press to decrease sensitivity; press to increase sensitivity. When it's set at the desired level, press EXIT. (When you reach the maximum or minimum limit, a tone sounds.)
To turn off HyperScroll:
- From the Sonar Page, press MENU | ↓ to PING SPEED | ENT.
- The Ping Speed Control Bar appears. Press to decrease ping speed to 50 percent. When it's set at the desired level, press EXIT.
When you boost ping speed and switch into HyperScroll, the width of the FasTrack bar graph display doubles in width at the right side of the screen. The allows you to better see the virtually instantaneous sonar returns, just as you would on a flasher sonar unit. For more information on FasTrack, see it's entry in this section.
Pop-up Help
Help is available for virtually all of the menu labels on this unit. By highlighting a menu item and leaving it highlighted for a few seconds, a "pop-up" message appears that describes the function of the menu item. This feature is on by default.
To set up Popup Help: Press MENU|MENU| to POPUP HELP. With the option highlighted, press ENT to check it (turn on) and uncheck it (turn off.) After the option is set, press EXIT to return to the page display.

Pop-up Help message for the Calibrate Water Speed command.
Reset Options

This command is used to reset all features, options and settings to their original factory defaults. This is useful when you have changed several settings and want to return the unit to
basic automatic operation.
- Press MENU|MENU| to RESET OPTIONS|ENT.
- Press to Yes | ENT.
- All the menus are cleared and all options are returned to the factory settings.
Reset Water Distance
The sonar chart's Digital Data display option includes a window that shows distance traveled, called Water Distance ("W Distance"). This information is calculated from an optional water speed sensor. The Water Distance window can be reset to zero using the Reset Water Distance command.
- Press MENU|MENU| to RESET WATER DISTANCE|ENT. The menus are cleared and the water distance is reset to 0.00.
Screen Contrast and Brightness

To access the Screen menu, press MENU|MENU|ENT.
Once in the Screen menu:
To adjust the display's contrast:
- The CONTRAST slider bar is already selected.
Press or to move the bar. The left end of the scale is minimum contrast; the right end is maximum contrast.
To adjust the display's brightness:
- Press to BRIGHTNESS. Press or to move the bar. The left end of the scale is minimum contrast; the right end is maximum contrast.
To adjust the screen's display mode: - Press to DISPLAY MODE | ENT|press or to select mode | EXIT.
Sensitivity & Auto Sensitivity

The sensitivity controls the ability of the unit to pick up echoes. Sensitivity can be adjusted, because water conditions vary greatly. A low sensitivity level (from zero to 50 percent) excludes much of the bottom information, fish signals, and other target information.
High sensitivity levels let you see this detail, but it can also clutter the screen with many undesired signals. Typically, the
best sensitivity level shows a good solid bottom signal with Grayline and some surface clutter.
Automatic Sensitivity
The default sensitivity mode is automatic. The unit bases the sensitivity level on water depth and conditions. When the unit is in the automatic mode, sensitivity is automatically adjusted to keep a solid bottom signal displayed, plus a little more power. This gives it the capability to show fish and other detail.
However, situations occur when it becomes necessary to increase or decrease the sensitivity. This typically happens when you wish to see more detail, so an increase in sensitivity is indicated. Or, wave action and boat wakes can create enough tiny air bubbles to clutter much of the water column. In that case, a decrease in sensitivity is indicated to reduce some of the clutter.
The control bar used to adjust sensitivity up or down is the same whether the unit is in the automatic or manual mode. In automatic you can adjust sensitivity up to 100 percent but the unit will limit your minimum setting. In auto, the unit will continue to make small adjustments, allowing for the setting you selected.
In manual mode, you have complete control over sensitivity, with the ability to set it anywhere from zero to 100 percent. Once you select a level in manual, the unit will continue to use that exact sensitivity setting until you change it or revert to auto mode.
To adjust sensitivity in auto mode:
-
Press MENU|ENT.
-
The Sensitivity Control Bar appears. Press to decrease sensitivity; press to increase sensitivity. When it's set at the desired level, press EXIT. (When you reach the maximum or minimum limit, a tone sounds.)
To adjust sensitivity in manual mode:
- First, turn off Auto Sensitivity: from the Sonar Page, press MENU|↓ to AUTO SENSITIVITY|ENT.
- Press to SENSITIVITY|ENT and the Sensitivity Control Bar appears. Press or to pick a different sensitivity setting. When it's set at the desired level, press EXIT.
To turn Auto Sensitivity back on:
- From the Sonar Page, press MENU| to AUTO SENSITIVITY | ENT | EXIT.
NOTE:
To return to the original factory setting for Auto Sensitivity, see the entry in this section on Reset Options. If sensitivity is in manual mode, the Reset Options command will switch back to Auto and reset the factory setting at the same time.
Tip:
For quicker sensitivity adjustments, try leaving the Sensitivity Control Bar on the screen as the chart scrolls. You can see the changes on the screen as you press the up or down arrows. This is handy when there's a lot of clutter in the water, and you are matching the sensitivity to rapidly changing water conditions.
Set Keel Offset
This unit measures water depth from the face of the transducer. Since the transducer is installed below the water surface, the distance displayed by the digital depth, chart depth scale, chart cursor or fish symbols is not the exact water depth. If the transducer is 1 foot below the surface, and the screen shows the water depth as 30 feet, then the actual depth is 31 feet.
On sailboats or other large vessels with deep drafts, the distance between the transducer installation and the keel or lower engine unit can be several feet. In those cases, an inexact depth reading could result in grounding or striking underwater structure. The Keel Offset
feature eliminates the need for the navigator to mentally calculate how much water is under his keel.
Keel Offset lets you calibrate the digital depth: chart depth scale, chart cursor depth and fish symbol depth displayed on the screen. To calibrate the depth indicators, first measure the distance from the face of the transducer to the lowest part of the boat. In this example, we will use 3.5 feet. This will entered as a negative 3.5 feet, which makes the depth indicators perform as if the transducer's lower in the water than it really is.
- Press MENU|MENU|to SET KEEL OFFSET |ENT.
- The Keel Offset dialog box appears. Press to change the plus (+) sign to a minus (-) sign.
- Press to the first number, then press to change the number to 3
- Press to the second number, then press to change the number to 5, then press EXIT. The depth indicators now accurately show the depth of water beneath the keel.
NOTE:
If knowing the exact depth of water beneath the keel is less important, you can calibrate the depth indicators so that they show the actual water depth from surface to bottom. To do this, first measure the distance from the face of the transducer up to the surface (the water line on the boat). In this example, we will use 1.5 feet. This will be entered as a positive 1.5 feet, which makes the depth indicators perform as if the transducer's higher in the water than it really is.
- Press MENU|MENU|to SET KEEL OFFSET|ENT.
- The Keel Offset dialog box appears with a plus (+) sign at the front of the box.
-
Press to the first number, then press to change the number to 1.
-
Press to the second number, then press to change the number to 5, then press EXIT. The depth indicators now accurately show the water depth from surface to bottom.
Set Language
This unit's menus are available in 10 languages: English, French, German, Spanish, Italian, Danish, Swedish, Russian, Dutch and Finnish. To select a different language:
- Press MENU | MENU | ↓ to SET LANGUAGE | ENT.
- Use or to select a different language and press ENT. All menus now appear in the language you selected.
Software Version Information
From time to time, Eagle updates the operating system software in some of its products. These software upgrades are usually offered to customers as free downloads from our web site, www.eaglesonar.com. These upgrades make the unit perform better or introduce a new feature or function. You can find out what software version is running in your sonar unit by using the Software Information command.
- Press MENU | MENU | ↓ to SOFTWARE INFO | ENT.
- Read the information displayed on the screen.
- To return to the last page displayed, press EXIT|EXIT.
Sonar Color Mode
The default color scheme for the sonar chart is grayscale, but we offer other variations to suit your viewing preferences. You can select the chart to be displayed in reverse grayscale, bottom black or FishReveal mode. (For more information on FishReveal, see the entry on that topic elsewhere in this section.)
To change the chart mode color scheme:
1.From the Sonar Page,press MENU to SONAR FEATURES|ENT.
- Press to SONAR COLOR MODE | ENT.
- Press or to Mode Name|ENT.
- Press EXIT|EXIT to return to the Sonar Page.
Sonar Chart Display Options
The Pages Menu offers four chart display options for dual-frequency models and three options for single-frequency models. To access them, press PAGES | ↓ to Option Name | EXIT.


Pages Menu showing sonar chart display options (at left, dual-frequency menu; at right, single-frequency menu).
Full Sonar Chart
This is the default mode used when the unit is turned on for the first time or when it's reset to the factory defaults.
The bottom signal scrolls across the screen from right to left. Depth scales on the right side of the screen aid in determining the depth of targets. The line at the top of the screen represents the surface. The bottom depth and surface temperature (if equipped with a temperature sensor or a transducer with a temp sensor built in) show at the top left corner of the screen.
The FasTrack™ display shows just to the right of the scale. This changes all echoes into short horizontal bars, replicating a flasher sonar. The zoom bar on the far right shows the area that's zoomed when the zoom is in use. (See the Zoom section for more information.)

Full Sonar Chart. The Overlay Data (depth and water temperature) are both set to the small text size.
Split Zoom Sonar Chart
A split chart shows the underwater world from the surface to the bottom on the right side of the screen. The left side shows an enlarged version of the right side. The zoom range shows at the bottom left corner of the screen.


Split Zoom Sonar Chart. Image at left shows the left window zoomed to 2X. The right image shows the left window zoomed to 4X.
Split Frequency Sonar Chart
(SeaFinder 480DF only)
This page shows sonar data from the 50kHz transducer element on the left side of the screen and data from the 200kHz transducer on the right side. All other functions and features are the same as the Full Chart page.

Split Frequency Sonar Chart page, with 50kHz view at left and 200kHz view at right.
You can adjust the sensitivity in each window.
To adjust sensitivity in auto mode:
- Press MENU|ENT.
- The unit asks which you wish to adjust. Press or to select the one you want | ENT.
- The Sensitivity Control Bar appears. Press to decrease sensitivity; press to increase sensitivity. When it's set at the desired level, press EXIT. (When you reach the maximum or minimum limit, a tone sounds.)

The Split Frequency page allows you to adjust sensitivity separately for each window.
Digital Data/Chart
This mode shows the chart on the right side of the screen. The left side has six large digital boxes or windows containing: Water Depth; Water Speed (from an optional speed sensor); Water Distance (distance traveled or log, it also requires a speed sensor); Surface Water Temperature; Temperature #2
and Voltage used. (Note: Temperature #2 requires an additional optional temperature sensor.)

Digital Data/Chart
Customizing the Digital Data/Chart Screen
The Digital Data/Chart screen can be customized to show digital data different from the defaults first shown. To customize this screen:
- From the Sonar Page (in Digital Data mode), press MENU|↓ to CUSTOMIZE|ENT.
- The W Speed window title bar flashes, indicating the window contents can be changed. Press ENT|↑ or ↓ to select data type|ENT|EXIT.


Options List for customizing Digital Data windows. At left, the list first appears with Water Speed selected. At right, Temperature 3 has been picked to replace Water Speed in the top digital data window.
Tip:
You can customize other digital data windows before returning to the Sonar Page. After changing the first window by selecting the
Data Type and pressing Enter, use the key to select another window to change. When the selected window title bar flashes, press ENT|↑ or to select data type|ENT. Repeat these steps until you're finished customizing, then press EXIT to return to the Sonar Page.
Sonar Simulator
This unit has a built-in simulator that lets you run it as if you were on the water. All sonar features and functions are useable. When in simulator mode, you will see [Simulator Mode] in the Sonar Page title bar. To use the simulator:
- From the Sonar Page, press MENU|MENU|to SONAR SIMULATOR|ENT.
- Turn off Sonar Simulator by pressing MENU|MENU| to SONAR SIMULATOR|ENT|EXIT.
NOTE:
If you turn on your unit before attaching a transducer, it may enter a demo mode. The words "demo mode" flash on the bottom of the screen and a sonar chart plays much like the simulator. Unlike the simulator, the demo mode is for demonstration only, and will automatically stop as soon as you turn on the unit with a transducer attached. The simulator will continue to function normally.
StopChart
If you are running multiple units on a boat, there are times when you may want to turn off the sonar. This command turns off the sonar and stops the chart from scrolling. Sonar restarts automatically each time you turn on your unit.
- Press MENU | ↓ to STOP CHART | ENT | EXIT.
To turn on sonar and start the chart scrolling again, repeat the above step.
Surface Clarity
The markings extending downward from the zero line on the chart are called "surface clutter." These markings are caused by wave action, boat wakes, temperature inversion and more.
The surface clarity control reduces or eliminates surface clutter signals from the display. It does this by changing the sensitivity of the receiver, decreasing it near the surface and gradually increasing it as the depth increases.
There are three levels of surface clarity available: low, medium, or high. It can also be turned off. The default level is off.
To adjust the Surface Clarity level:
1.From the Sonar Page,press MENU to SONAR FEATURES|ENT.


Sonar Features menu with Surface Clarity selected (at left, dual-frequency menu; at right, single-frequency menu).
- Press to SURFACE CLARITY|ENT. (For single-frequency units, just press ENT).
- Press or to select clarity level|EXIT|EXIT|EXIT.


In the illustration at left, Surface Clarity is turned off. The right view shows Surface Clarity set at High.
Units of Measure

This menu sets the speed and distance (statute or nautical miles, meters), depth (feet, fathoms, or meters) and temperature (degrees Fahrenheit or Celsius). To change the units:
Press MENU|MENU|to UNITS OF MEASURE|ENT.
To set Speed/Distance Unit of Measure: Press ↑ or ↓ to change the Speed/Distance, then press ENT. After the option is set, press EXIT|EXIT|EXIT to return to the page display.
Zoom & Zoom Bar
"Zooming" the display is a common, fast and easy method used to enlarge small detail, fish signals and the bottom with its associated structure. This unit lets you zoom the display quickly and easily by pressing the Zoom In key, ZIN.
Pressing ZIN once doubles the size (2X) of all echoes on the screen. Pressing it again quadruples the size of the echoes (4X). The zoom bar on the far right side of the screen shows which echoes will be displayed on the screen when the ZIN key is pressed.
For example, pressing the ZIN key once will enable a 2X zoom which will show all echoes that are between the top and bottom of the 2X zoom bar. Pressing the key again will give a 4X zoom and only the echoes between the top and bottom of the 4X bar will show on the screen.
Press the Zoom Out key, ZOUT, to return the display to the normal mode.



At left, Sonar Page, normal view. Center, same view zoomed to 2X. Right, same view zoomed to 4X
Zoom Pan
Your unit has the handy ability to quickly zoom in on any portion of the water column with just the touch of an arrow key. The Zoom Pan feature lets you rapidly move the zoomed area up and down to different depths. By "pointing" your zoom at different portions of the chart as it scrolls, you can get a good, close-up look at structure or cover below you.
To use Zoom Pan, switch to a manual depth Range setting (see page 51) and turn on 2X or 4X Zoom. Then, simply press or to pan up and down the water column.
Notes
Section 5: Troubleshooting
If your unit is not working, or if you need technical help, please use the following troubleshooting section before contacting the factory customer service department. It may save you the trouble of returning your unit for repair. For contact information, refer to the last page, just inside the back cover of this manual.
Unit won't turn on:
- Check the power cable's connection at the unit. Also check the wiring.
- Make certain the power cable is wired properly. The red wire connects to the positive battery terminal, black to negative or ground.
- Check the fuse.
- Measure the battery voltage at the unit's power connector. It should be at least 11 volts. If it isn't, the wiring to the unit is defective, the battery terminals or wiring on the terminals are corroded, or the battery needs charging.
Unit operates only in demo mode:
- The transducer has not yet been connected or has been disconnected. To leave demo mode, make sure the transducer is securely connected before turning the unit on.
Unit freezes, locks up, or operates erratically:
- Electrical noise from the boat's motor, trolling motor, or an accessory may be interfering with the sonar unit. Rerouting the power and transducer cables away from other electrical wiring on the boat may help. Route the sonar unit's power cable directly to the battery instead of through a fuse block or ignition switch
- Inspect the transducer cable for breaks, cuts, or pinched wires.
- Check both the transducer and power connectors. Make certain both are securely plugged in to the unit.
Weak bottom echo, digital readings erratic, or no fish signals:
- Make certain the transducer is pointing straight down. Clean the face of the transducer. Oil, dirt and fuel can cause a film to form on the transducer, reducing its effectiveness. If the transducer is mounted inside the hull, be sure it is shooting through only one layer of fiberglass and that it is securely bonded to the hull. Do NOT use RTV silicone rubber adhesive or Marine-Tex™ epoxy.
- Electrical noise from the boat's motor can interfere with the sonar. This causes the sonar to automatically increase its Discrimination or noise rejection feature. This can cause the unit to eliminate weaker signals such as fish or even structure from the display.
- The water may be deeper than the sonar's ability to find the bottom. If the sonar can't find the bottom signal while it's in the automatic mode, the digital sonar display will flash continuously. It may change the range to limits far greater than the water you are in. If this happens, place the unit in the manual mode, then change the range to a realistic one, (for example, 0-100 feet) and increase the sensitivity. As you move into shallower water, a bottom signal should appear.
- Check the battery voltage. If the voltage drops, the unit's transmitter power also drops, reducing its ability to find the bottom or targets.
Bottom echo disappears at high speeds or erratic digital reading or weak bottom echo while boat is moving
- The transducer may be in turbulent water. It must be mounted in a smooth flow of water in order for the sonar to work at all boat speeds. Air bubbles in the water disrupt the sonar signals, interfering with its ability to find the bottom or other targets. The technical term for this is cavitation.
- Electrical noise from the boat's motor can interfere with the sonar. This causes the sonar to automatically increase its Discrimination or noise rejection feature. This can cause the unit to eliminate weaker signals such as fish or even structure from the display. Try using resistor
spark plugs or routing the sonar unit's power and transducer cables away from other electrical wiring on the boat.
No fish arches when the Fish I.D. feature is off:
- Make certain the transducer is pointing straight down. This is the most common problem if a partial arch is displayed.
- The sensitivity may not be high enough. In order for the unit to display a fish arch, it has to be able to receive the fish's echo from the time it enters the cone until it leaves. If the sensitivity is not high enough, the unit shows the fish only when it is in the center of the cone.
- Use the Zoom feature. It is much easier to display fish arches when zoomed in on a small range of water than a large one. For example, you will have much better luck seeing fish arches with a 30 to 60 foot range than a 0 to 60 foot range. This enlarges the targets, allowing the display to show much more detail.
- The boat must be moving at a slow trolling speed to see fish arches. If the boat is motionless, fish stay in the cone, showing on the screen as straight horizontal lines.
NOISE
A major cause of sonar problems is electrical noise. This usually appears on the sonar's display as random patterns of dots or lines. In severe cases, it can completely cover the screen with black dots, or cause the unit to operate erratically, or not at all.
To eliminate or minimize the effects of electrical noise, first try to determine the cause. With the boat at rest in the water, the first thing you should do is turn all electrical equipment on the boat off. Make sure the engine is also off. Turn your sonar on, then turn off Noise Reject [also known as the ASP feature (Advanced Signal Processing)]. Sensitivity should be set at 90-95 percent. There should be a steady bottom signal on the display. Now turn on each piece of electrical equipment on the boat and view the effect on the sonar's display. For example, turn on the bilge pump and view the sonar display for noise. If
no noise is present, turn the pump off, then turn on the VHF radio and transmit. Keep doing this until all electrical equipment has been turned on, their effect on the sonar display noted, then turned off.
If you find noise interference from an electrical instrument, trolling motor, pump, or radio, try to isolate the problem. You can usually reroute the sonar unit's power cable and transducer cable away from the wiring that is causing the interference. VHF radio antenna cables radiate noise when transmitting, so be certain to keep the sonar's wires away from it. You may need to route the sonar unit's power cable directly to the battery to isolate it from other wiring on the boat.
If no noise displays on the sonar unit from electrical equipment, then make certain everything except the sonar unit is turned off, then start the engine. Increase the RPM with the gearshift in neutral. If noise appears on the display, the problem could be one of three things; spark plugs, alternator, or tachometer wiring. Try using resistor spark plugs, alternator filters, or routing the sonar unit's power cable away from engine wiring. Again, routing the power cable directly to the battery helps eliminate noise problems. Make certain to use the in-line fuse supplied with the unit when wiring the power cable to the battery.
When no noise appears on the sonar unit after all of the above tests, then the noise source is probably cavitation. Many novices or persons with limited experience make hasty sonar installations which function perfectly in shallow water, or when the boat is at rest. In nearly all cases, the cause of the malfunction will be the location and/or angle of the transducer. The face of the transducer must be placed in a location that has a smooth flow of water at all boat speeds. Read your transducer owner's manual for the best mounting position.
Section 6: Supplemental Material FCC Compliance
This device complies with Part 15 of the U.S. Federal Communications Commission (FCC) Rules. Operation is subject to the following two conditions: (1) this device may not cause harmful interference, and (2) this device must accept any interference received, including interference that may cause undesired operation.
Changes or modifications not expressly approved by the manufacturer could void the user's authority to operate the equipment.
Note:
This equipment has been tested and found to comply with the limits for a Class B digital device, pursuant to Part 15 of the FCC Rules. These limits are designed to provide reasonable protection against harmful interference in a residential installation. This equipment generates, uses and can radiate radio frequency energy and, if not installed and used in accordance with the instructions, may cause harmful interference to radio communications. However, there is no guarantee that interference will not occur in a particular installation. If this equipment does cause harmful interference to radio or television reception, which can be determined by turning the equipment off and on, the user is encouraged to try to correct the interference by one or more of the following measures:
- Reorient or relocate the receiving antenna.
- Increase the separation between the equipment and receiver.
- Connect the equipment into an outlet on a circuit different from that to which the receiver is connected.
- Consult the factory customer service department for help.
Notes
EAGLE DATABASES LICENSE AGREEMENT
THIS IS A LEGAL AGREEMENT BETWEEN THE END-USER WHO FIRST PURCHASES THIS PRODUCT AS A CONSUMER ITEM FOR PERSONAL, FAMILY, OR HOUSEHOLD USE ("YOU") AND EAGLE ELECTRONICS, A DIVISION OF LEI, THE MANUFACTURER OF THIS PRODUCT ("WE", "OUR", OR "US"). USING THE PRODUCT ACCOMPANIED BY THIS LICENSE AGREEMENT CONSTITUTES ACCEPTANCE OF THESE TERMS AND CONDITIONS. IF YOU DO NOT ACCEPT ALL TERMS AND CONDITIONS, PROMPTLY RETURN THE PRODUCT WITHIN 30 DAYS OF PURCHASE. PLEASE RETURN USING THE ENCLOSED UPS SHIPPING LABEL AND INCLUDE: PROOF OF PURCHASE, NAME, ADDRESS, AND PHONE NUMBER. YOUR PURCHASE PRICE AND ANY APPLICABLE TAXES WILL BE REFUNDED. PLEASE ALLOW 4-6 WEEKS TO PROCESS YOUR REFUND.
- This License Agreement applies to the one or more databases that your product may contain. We refer to these singly as a "Database" and together as the "Databases." Your product may thus include the "WBS Database" which contains worldwide background surface mapping data, the "SmartMap Database" which contains inland mapping data, or other Databases.
- The Databases that your product may contain are licensed, not sold. We grant to you the nonexclusive, nonassignable right to use these Databases for supplemental navigation reference purposes, but only as long as you comply with the terms and conditions of this License Agreement. We reserve the right to terminate this license if you violate any aspect of this License Agreement. You are responsible for using official government charts and prudent navigation for safe travel.
- The Databases housed in your product are protected by the copyright notices appearing on the product or its screen(s). You may NOT modify, adapt, translate, reverse engineer, decompile, disassemble, rent, lease, or resell any Database, and you may NOT create derivative works based upon any Database or its contents.. Any unauthorized reproduction, use, or transfer of a Database may be a crime and may subject you to damages and attorney fees.
- This License Agreement will terminate immediately without prior notice from us if you fail to comply with or violate any of the provisions of this Agreement. Upon termination, you will promptly return all products containing one or more Databases to us.
- Prices and programs are subject to change without notice.
- This License Agreement shall be governed by the laws of the State of Oklahoma and comprises the complete and exclusive understanding between you and us concerning the above subject matter.
DATABASES LIMITED WARRANTY
"We", "our", or "us" refers to Eagle Electronics, a division of LEI, the manufacturer of this product. "You" or "your" refers to the first person who purchases the product as a consumer item for personal, family, or household use. The Databases Limited Warranty applies to the one or more databases that your product may contain. We refer to each of these as a "Database" or together as the "Databases." Your product may thus include the "WBS Database" which contains worldwide background surface mapping data, the "SmartMap Database" which contains inland mapping data, or other Databases.
We warrant to you that we have accurately compiled, processed, and reproduced the portions of the source material on which the Databases are based. However, we are under no obligation to provide updates to the Databases, and the data contained in the Databases may be incomplete when compared to the source material. WE MAKE NO EXPRESS OR IMPLIED WARRANTY OF ANY KIND ABOUT THE ACCURACY OF THE SOURCE MATERIAL ITSELF, INCLUDING BUT NOT LIMITED TO IMPLIED WARRANTY OF MERCHANTABILITY OR FITNESS FOR A PARTICULAR PURPOSE.
If there is a defect in any Database, your exclusive remedy shall be, at our option, either a refund of the price you paid for the product containing the defective Database or a replacement of such product. WE WILL NOT UNDER ANY CIRCUMSTANCES BE LIABLE TO ANYONE FOR ANY SPECIAL, CONSEQUENTIAL, INCIDENTAL, OR OTHER INDIRECT DAMAGE OF ANY KIND.
Some states do not allow the exclusion or limitation of incidental or consequential damages, so the above limitations or exclusions may not apply to you.
This warranty does NOT apply in the following circumstances: (1) when the product has been serviced or repaired by anyone other than us, (2) when the product has been connected, installed, combined, altered, adjusted, or handled in a manner other than according to the instructions furnished with the product, (3) when any serial number has been effaced, altered, or removed, or (4) when any defect, problem, loss, or damage has resulted from any accident, misuse, negligence, or carelessness, or from any failure to provide reasonable and necessary maintenance in accordance with the instructions of the owner's manual for the product.
We reserve the right to make changes or improvements in our products from time to time without incurring the obligation to install such improvements or changes on equipment or items previously manufactured.
This warranty gives you specific legal rights and you may also have other rights which may vary from state to state.
Your remedies under this warranty will be available so long as you can show in a reasonable manner that the defect occurred within one (1) year from the date of your original purchase, and we must receive your warranty claim no later than 30 days after such 1-year period expires. Your claim must be substantiated by a dated sales receipt or sales slip.
EAGLE ELECTRONICS FULL ONE-YEAR WARRANTY
"We," "our," or "us" refers to EAGLE ELECTRONICS, a division of LEI, the manufacturer of this product. "You" or "your" refers to the first person who purchases this product as a consumer item for personal, family, or household use.
We warrant this product against defects or malfunctions in materials and workmanship, and against failure to conform to this product's written specifications, all for one (1) year from the date of original purchase by you. WE MAKE NO OTHER EXPRESS WARRANTY OR REPRESENTATION OF ANY KIND WHATSOEVER CONCERNING THIS PRODUCT. Your remedies under this warranty will be available so long as you can show in a reasonable manner that any defect or malfunction in materials or workmanship, or any non-conformity with the product's written specifications, occurred within one year from the date of your original purchase, which must be substantiated by a dated sales receipt or sales slip. Any such defect, malfunction, or non-conformity which occurs within one year from your original purchase date will either be repaired without charge or be replaced with a new product identical or reasonably equivalent to this product, at our option, within a reasonable time after our receipt of the product. If such defect, malfunction, or non-conformity remains after a reasonable number of attempts to repair by us, you may elect to obtain without charge a replacement of the product or a refund for the product. THIS REPAIR, OR REPLACEMENT OR REFUND (AS JUST DESCRIBED) IS THE EXCLUSIVE REMEDY AVAILABLE TO YOU AGAINST US FOR ANY DEFECT, MALFUNCTION, OR NON-CONFORMITY CONCERNING THE PRODUCT OR FOR ANY LOSS OR DAMAGE RESULTING FROM ANY OTHER CAUSE WHATSOEVER. WE WILL NOT UNDER ANY CIRCUMSTANCES BE LIABLE TO ANYONE FOR ANY SPECIAL, CONSEQUENTIAL, INCIDENTAL, OR OTHER INDIRECT DAMAGE OF ANY KIND.
Some states do not allow the exclusion or limitation of incidental or consequential damages, so the above limitations or exclusions may not apply to you.
This warranty does NOT apply in the following circumstances: (1) when the product has been serviced or repaired by anyone other than us; (2) when the product has been connected, installed, combined, altered, adjusted, or handled in a manner other than according to the instructions furnished with the product; (3) when any serial number has been effaced, altered, or removed; or (4) when any defect, problem, loss, or damage has resulted from any accident, misuse, negligence, or carelessness, or from any failure to provide reasonable and necessary maintenance in accordance with the instructions of the owner's manual for the product.
We reserve the right to make changes or improvements in our products from time to time without incurring the obligation to install such improvements or changes on equipment or items previously manufactured.
This warranty gives you specific legal rights and you may also have other rights which may vary from state to state.
REMARKER: You must retain the sales slip or sales receipt proving the date of your original purchase in case warranty service is ever required.
EAGLE ELECTRONICS
PO BOX 669, CATOOSA, OK 74015 (800) 324-1354
How to Obtain Service...
...in the USA:
We back your investment in quality products with quick, expert service and genuine Eagle replacement parts. If you're in the United States and you have technical, return or repair questions, please contact the Factory Customer Service Department. Before any product can be returned, you must call customer service to determine if a return is necessary. Many times, customer service can resolve your problem over the phone without sending your product to the factory. To call us, use the following toll-free number:
800-324-1354
8 a.m. to 5 p.m. Central Standard Time, M-F
Eagle Electronics may find it necessary to change or end our shipping policies, regulations, and special offers at any time. We reserve the right to do so without notice.
...in Canada:
If you're in Canada and you have technical, return or repair questions, please contact the Factory Customer Service Department. Before any product can be returned, you must call customer service to determine if a return is necessary. Many times, customer service can resolve your problem over the phone without sending your product to the factory. To call us, use the following toll-free number:
800-661-3983
905-629-1614 (not toll-free)
8 a.m. to 5 p.m. Eastern Standard Time, M-F
...outside Canada and the USA:
If you have technical, return or repair questions, contact the dealer in the country where you purchased your unit. To locate a dealer near you, visit our web site, www.eaglesonar.com and look for the Dealer Locator.
Accessory Ordering Information for all countries
To order Eagle accessories such as power cables or transducers, please contact:
Shipping Information
1) Your local marine dealer or consumer electronics store. Most quality dealers that handle marine electronic equipment or other consumer electronics should be able to assist you with these items.
To locate an Eagle dealer near you, visit our web site, www.eaglesonar.com and look for the Dealer Locator. Or, you can consult your telephone directory for listings.
2) U.S. customers: LEI Extras Inc., PO Box 129, Catoosa, OK 74015-0129
Call 1-800-324-0045 or visit our web site www.lei-extras.com.
3) Canadian customers can write:
Lowrance/Eagle Canada, 919 Matheson Blvd. E. Mississauga, Ontario L4W2R7 or fax 905-629-3118.
If it becomes necessary to send a product for repair or replacement, you must first receive a return authorization number from Customer Service. Products shipped without a return authorization will not be accepted. When shipping, we recommend you do the following:
1. Always use the original shipping container and filler material the product was packed in.
2. Always insure the parcel against damage or loss during shipment. Eagle does not assume responsibility for goods lost or damaged in transit.
3. For proper testing, include a brief note with the product describing the problem. Be sure to include your name, return shipping address and a daytime telephone number.
Visit our web site:

www.eaglesonar.com

Successful Fishing Made Simple™
Eagle Pub. 988-0143-711
Printed in USA 103103
© Copyright 2003
All Rights Reserved
Eagle Electronics
EasyManual