FISHEASY 2 - Fish finder EAGLE - Free user manual and instructions
Find the device manual for free FISHEASY 2 EAGLE in PDF.
Questions des utilisateurs sur FISHEASY 2 EAGLE
0 question sur cet appareil. Repondez a celles que vous connaissez ou posez la votre.
Poser une nouvelle question sur cet appareil
Download the instructions for your Fish finder in PDF format for free! Find your manual FISHEASY 2 - EAGLE and take your electronic device back in hand. On this page are published all the documents necessary for the use of your device. FISHEASY 2 by EAGLE.
USER MANUAL FISHEASY 2 EAGLE
FishEasy™ 2, FishEasy™ 2T, FishEasy™ 2 Portable, SeaFinder™ 240DF
Fish-finding & Depth Sounding Sonars Installation and Operation Instructions
Copyright © 2002 Eagle Electronics
All rights reserved.
Eagle® is a registered trademark of Eagle Electronics
Marine-Tex™ is a trademark of Illinois Tool Works Inc.
Eagle Electronics may find it necessary to change or end our policies, regulations, and special offers at any time. We reserve the right to do so without notice. All features and specifications subject to change without notice. All screens in this manual are simulated.
For free owner's manuals and other information,
visit our web site:
www.eaglesonar.com
Eagle Electronics
P.O.Box 669
Catoosa, OK USA 74015
Printed in USA.
Table of Contents
Introduction 1
Capabilities and Specifications 1
Installation 3
Transducer Installation 3
selecting a transducer location 4
shoot-thru-hull vs. transom mounting 6
transom transducer assembly and mounting. 6
trolling motor bracket installation. 12
transducer orientation and fish arches 13
shoot-thru-hull preparation and installation 13
Speed and temperature sensors 16
Optional speed sensor installation 19
Power connections 20
Mounting sonar unit: in-dash, bracket or portable 21
In-Dash installation 21
Bracket installation. 22
Portable installation. 23
Operation and features 27
Keyboard basics 27
Turn on and off 27
27
Display opening screen 28
Chart scroll (stop or start scroll) 29
Screen Display Modes (Page Menu) 30
FullChart. 30
SplitChart. 31
Dual Frequency (Dual Freq — SeaFinder™ 240DF only)……31
Large Digital (Lrg Digital) 32
Range - automatic and manual 33
Zoom. 33
Sensitivity. 35
Grayline 37
Fish I.D. ^TM 38
FishTrackTM 39
FishRevealTM chart mode 40
Chart scroll speed and HyperScrollTM 41
Noise reject and ASPTM (Advanced Signal Processing). 42
Alarms. 43
Fish alarm 43
Shallow alarm. 44
Deep alarm 45
System Setup 46
Display backlights. 46
Display contrast 46
Depth units of measure 47
Temperature units of measure 48
Speed and distance log units of measure 48
Reset distance log. 49
Preset unit (reset all options) 49
System Info (operating software version) 50
Simulator 50
Chart Setup 51
Limit Search 51
Change Frequency (SeaFinder 240DF only).52
Digital data size for depth, temperature, speed and distance log. 53
Scales 54
Chart Mode (see FishReveal) 40
Troubleshooting. 55
Warranty and service information 61
Introduction
Thank you for buying an Eagle® sonar! Your unit is a high-quality sonar designed for both professional and novice fishermen. All Eagle sonars have an automatic mode that finds and displays the bottom, fish, underwater structure and more - right out of the box. All you have to do is press the on (PWR) key.
However, if you want to fine-tune your unit, press the MENU UP key. The FishEasy™ 2 family has several powerful features you can control by scrolling through easy-to-use menus with the arrow and menu keys.
To get started with your Eagle sonar, first read the installation section. It contains instructions for mounting the sonar unit, the transducer and any optional accessories, such as a speed sensor.
Following recommended installation practices will pay off in optimum performance of your Eagle sonar. Improper installation can cause problems down the road, especially if the transducer is badly mounted.
After you've read the installation instructions, install the unit and accessories. Then, read the rest of the manual. The more you know about your sonar, the better it will work for you.
Take advantage of the Simulator feature. It allows you to practice operating your sonar before you get it in the water. And when you finally head for your favorite fishing hole, take this manual along for reference.
Capabilities and Specifications: FishEasy 2 Family General
Case size: 5.2" H x 5.4" W x 2.6" D (13.2 cm H x 13.6 cm W x 6.6 cm D) sealed, waterproof; suitable for saltwater use.
Display: High-contrast Film SuperTwist LCD; 4.0" (10.2 cm) diagonal viewing area.
Resolution: 240 pixels (vert.) x 160 pixel (horiz.) resolution; 38,400 total pixels
Backlighting: Backlit screen and keypad for night use.
Input power: 10 to 17 volts DC.
Current drain: 300 ma lights off; 400 ma lights on.
Back-up memory: ....... Built-in memory stores sonar settings when unit is turned off.
Sonar
Frequency: 200 kHz (or 50/200 kHz - SeaFinder only).
Transducers: A Skimmer® transducer comes packed with your sonar unit. Single frequency models have a 20^ cone angle; dual frequency models have 35^ / 12^ cone angles. Both models offer a wide fish detection area of up to 60^ with high sensitivity settings.
Transducers for FishEasy™ 2 family:
FishEasy™ 2: HS-WSX Skimmer®
FishEasy™ 2T: HST-WSX Skimmer®
FishEasy™ 2 Portable: PT-WSX Skimmer®
SeaFinder™ 240DF: HST-WSU Skimmer®
Transmitter: 1500 watts peak-to-peak power (typical); 188 watts RMS power (typical).
Sonar sounding
depth capability: 800 feet (244 meters); 1300 feet (390 meters) at 50kHz (SeaFinder 240DF only). Actual capability depends on transducer configuration and installation, bottom composition and water conditions. All sonar units typically read deeper in fresh water than in salt water.
Depth display:............ Continuous digital readout.
Audible alarms: Deep/shallow/fish.
Automatic ranging:...... Yes, with instant screen updates.
Zoom bottom track: ....... Yes.
Split-screen zoom:...... Yes.
Surface water temp: .... Yes, with optional external temperature sensor, combo speed/temp sensor or transducer with built-in temp.
Speed/distance log:...... Yes, with optional speed sensor.
Key features: FishReveal™; HyperScroll™; Grayline®; ASP™; Fish I.D.™ symbols; FishTrack™; full one-year warranty.
Differences among the FishEasy 2 Family
The FishEasy 2 ships with a single-frequency transducer. The FishEasy 2T ships with a transducer containing a built-in temperature sensor. The FishEasy 2 Portable includes a portable transducer and other items that enable portable use. The SeaFinder 240DF includes a dual-frequency transducer with built-in temp sensor and is the only unit with dual-frequency capability.
NOTICE!
The storage temperature for your unit is from -4 degrees to +167 degrees Fahrenheit (-20 degrees to +75 degrees Celsius). Extended storage in temperatures higher or lower than specified will damage the liquid crystal display in your unit. This type of damage is not covered by the warranty. For more information, contact the factory's Customer Service Department; phone numbers are inside the manual's back cover.
Transducer Installation
These instructions will help you install your Skimmer® transducer on a transom, on a trolling motor or inside a hull. These instructions cover both single- and dual-frequency Skimmer transducers. Please read all instructions before proceeding with any installation.
The smaller single-frequency Skimmers typically use a one-piece, stainless steel mounting bracket. The larger dual-frequency Skimmers typically use a two-piece, plastic mounting bracket. The trolling motor mount uses a one-piece plastic bracket with an adjustable strap.
These are all "kick-up" mounting brackets. They help prevent damage if the transducer strikes an object while the boat is moving. If the transducer does "kick-up," the bracket can easily be pushed back into place without tools.
Depending on your sonar unit's connectors, your transducer cable may also have the sonar unit's power cable attached to it. If that is the case, be sure to install the transducer first, before connecting the power cable to a power source. See the instructions later in this manual for connecting the power cable to a battery or other power supply.
Read these instructions carefully before attempting the installation. Determine which of the mounting positions is right for your boat. Use extreme care if mounting the transducer inside the hull, because once it is epoxied into position, the transducer usually cannot be removed. Remember, the transducer installation is the most critical part of a sonar installation.
Recommended Tools and supplies
If you prefer the option of routing the cable through the transom, you will need a 5/8" drill bit. Each transom mount requires use of a high quality, marine grade above- or below-waterline caulking compound. The following installation types also call for these recommended tools and required supplies (supplies are not included):
Single-frequency transom installations
Tools include: two adjustable wrenches, drill, #29 (0.136") drill bit, flat-head screwdriver (for mounting screws and their pilot holes). Supplies: none.
Dual-frequency transom installations
Tools: two adjustable wrenches, drill, #20 (0.161") drill bit, flat-head screwdriver (for mounting screws and their pilot holes). Supplies: four, 1" long, #12 stainless steel slotted wood screws.
Single-frequency trolling motor installations
Tools: two adjustable wrenches, flat-head screwdriver. Supplies: plastic cable ties.
Shoot-through hull installations
Tools: these will vary depending on your hull's composition. Consult your boat dealer or manufacturer. Supplies: 100 grit sandpaper, good quality epoxy adhesive.
Selecting a Transducer Location
- The transducer must be placed in a location that has a smooth flow of water at all times. If the transducer is to be mounted inside the hull, then the chosen location must be in the water at all times. If the transducer is not placed in a smooth flow of water, interference caused by bubbles and turbulence will show on the sonar's display in the form of random lines or dots whenever the boat is moving.
NOTE:
Some aluminum boats with strakes or ribs on the outside of the hull create large amounts of turbulence at high speed. These boats typically have large outboard motors capable of propelling the boat at speeds faster than 35mph . Typically, a good location on aluminum boats is between the ribs closest to the engine.
-
The transducer should be installed with its face pointing straight down, if possible.
-
If the transducer is mounted on the transom, make sure it doesn't interfere with the trailer or hauling of the boat. Also, don't mount it closer than approximately one foot from the engine's lower unit. This will prevent cavitation (bubble) interference with propeller operation.
-
If possible, route the transducer cable away from other wiring on the boat. Electrical noise from engine wiring, bilge pumps and aerators can be displayed on the sonar's screen. Use caution when routing the transducer cable around these wires.
CAUTION: Clamp the transducer cable to transom near the transducer. This will help prevent the transducer from entering the boat if it is knocked off at high speed.


Good and poor transducer locations.
How low should you go?
For most situations, you should install your Skimmer transducer so that its centerline is level with the bottom of the boat hull. This will usually give you the best combination of smooth water flow and protection from bangs and bumps.

Align transducer centerline with hull bottom. A dual frequency transducer is shown at left and a single frequency transducer at right.
However, there are times when you may need to adjust the transducer slightly higher or lower. (The slots in the mounting brackets allow you to loosen the screws and slide the transducer up or down.) If you frequently lose bottom signal lock while running at high speed, the transducer may be coming out of the water as you cross waves or wakes. Move the transducer a little lower to help prevent this.
If you cruise or fish around lots of structure and cover, your transducer may be frequently kicking up from object strikes. If you wish, you may move the transducer a little higher for more protection.
There are two extremes you should avoid. Never let the edge of the mounting bracket extend below the bottom of the hull. Never let the bottom – the face – of the transducer rise above the bottom of the hull.
Shoot-thru-hull vs. Transom Mounting
Typically, shoot-thru-hull installations give excellent high speed operation and good to excellent depth capability. There is no possibility of damage from floating objects. It can't be knocked off when docking or loading on the trailer.
However, the shoot-thru-hull installation does have its drawbacks. First, some loss of sensitivity does occur, even on the best hulls. This varies from hull to hull, even from different installations on the same hull. This is caused by differences in hull lay-up and construction.
Second, the transducer angle cannot be adjusted for the best fish arches. This can be a problem on some hulls that sit with the bow high when at rest or at slow trolling speeds. Follow the procedure listed in the shoot-thru-hull installation section at the end of this lesson to determine if you can satisfactorily shoot through the hull.
TRANSOM TRANSDUCER ASSEMBLY AND MOUNTING
The best way to install these transducers is to loosely assemble all of the parts first, place the transducer's bracket against the transom and see if you can move the transducer so that it's parallel with the ground.
The following instructions sometimes vary depending on the mounting bracket that came with your transducer. Single frequency Skimmers come with a one-piece stainless steel bracket, while dual frequency Skimmers come with a two-piece plastic mounting bracket. Use the set of instructions that fits your model.
1. Assembling the bracket.
A. One-piece bracket: Press the two small plastic ratchets into the sides of the metal bracket as shown in the following illustration. Notice there are letters molded into each ratchet. Place each ratchet into the bracket with the letter "A" aligned with the dot stamped into the metal bracket. This position sets the transducer's coarse angle adjustment for a 14^ transom. Most outboard and stern-drive transoms have a 14^ angle.

Align plastic ratchets in bracket.
B. Two-piece bracket: Locate the four plastic ratchets in the transducer's hardware package. Press two ratchets into the sides of the plastic bracket and two on either side of the transducer as shown in the following illustrations. Notice there are letters molded into each ratchet.
Place the rackets into the bracket with the letter "A" aligned with the alignment mark molded into the bracket. Place the rackets onto the transducer with the letter "A" aligned with the 12 o'clock position on the transducer stem. These positions set the transducer's coarse angle adjustment for a 14^ transom. Most outboard and stern-drive trans-soms have a 14^ angle.



Addratchets tobracketand transducer.
2. Aligning the transducer on the transom.
A. One-piece bracket: Slide the transducer between the two ratchets. Temporarily slide the bolt though the transducer assembly and hold it against the transom. Looking at the transducer from the side, check to see if it will adjust so that its face is parallel to the ground. If it does, then the "A" position is correct for your hull.
If the transducer's face isn't parallel with the ground, remove the transducer and ratchets from the bracket. Place the ratchets into the holes in the bracket with the letter "B" aligned with the dot stamped in the bracket.
Reassemble the transducer and bracket and place them against the transom. Again, check to see if you can move the transducer so it's parallel with the ground. If you can, then go to step 3A. If it doesn't, repeat step 2A, but use a different alignment letter until you can place the transducer on the transom correctly.

Insert bolt and check transducer position on transom.
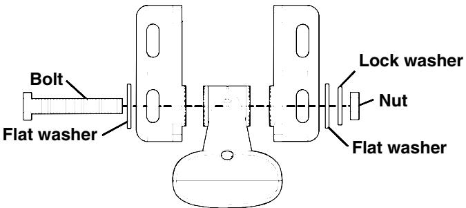
B. Two-piece bracket: Assemble the transducer and bracket as shown in the following figure. Temporarily slide the bolt though the transducer assembly but don't tighten the nut at this time. Hold the assembled transducer and bracket against the transom. Looking at the transducer from the side, check to see if it will adjust so that its face is parallel to the ground. If it does, then the "A" positions are correct for your hull.
If the transducer's face isn't parallel with the ground, remove and disassemble the transducer and ratchets. Place the ratchets into the bracket holes with the letter "B" aligned with the bracket alignment mark. Place them on the transducer aligned with the 12 o'clock position on the transducer stem.
Reassemble the transducer and bracket and place them against the transom. Again, check to see if you can move the transducer so it's
parallel with the ground. If you can, then go to step 3B. If it doesn't, repeat step 2B, but use a different alignment letter until you can place the transducer on the transom correctly.

Assemble transducer and bracket.
3. Assembling the transducer.
A. One-piece bracket: Once you determine the correct position for the ratchets, assemble the transducer as shown in the following figure. Don't tighten the lock nut at this time.

Assemble transducer and bracket.
B. Two-piece bracket: Once you determine the correct position for the ratchets, assemble the transducer as shown in the figure in step 2B. Don't tighten the lock nut at this time.
4. Drilling mounting holes.
Hold the transducer and bracket assembly against the transom. The transducer should be roughly parallel to the ground. The transducer's centerline should be in line with the bottom of the hull. Don't let the bracket extend below the hull!
Mark the center of each slot for the mounting screw pilot holes. You will drill one hole in the center of each slot.
Drill the holes. For the one-piece bracket, use the #29 bit (for the #10 screws). For the two-piece bracket, use the #20 bit (for the #12 screws).


Position transducer mount on transom and mark mounting holes. Side view shown at left and seen from above at right.
5. Attaching transducer to transom.
A. One-piece bracket: Remove the transducer from the bracket and re-assemble it with the cable passing through the bracket over the bolt as shown in the following figures.


For single frequency Skimmer, route cable over bolt and through bracket. Side view shown at left and seen from above at right.
Both bracket types: Attach the transducer to the transom. Slide the transducer up or down until it's aligned properly with the bottom of the hull as shown in the preceding and following figures. Tighten the bracket's mounting screws, sealing them with the caulking compound.
Adjust the transducer so that it's parallel to the ground and tighten the nut until it touches the outer washer, then add 1/4 turn. Don't over tighten the lock nut! If you do, the transducer won't "kick-up" if it strikes an object in the water.

Align transducer centerline with hull bottom and attach transducer to transom. Rear view of dual frequency Skimmer shown.
6. Route the transducer cable through or over the transom to the sonar unit. Make sure to leave some slack in the cable at the transducer. If possible, route the transducer cable away from other wiring on the boat. Electrical noise from the engine's wiring, bilge pumps, VHF radio wires and cables, and aerators can be picked up by the sonar. Use caution when routing the transducer cable around these wires.
WARNING:
Clamp the transducer cable to the transom close to the transducer. This can prevent the transducer from entering the boat if it is knocked off at high speed.
If you need to drill a hole in the transom to pass the connector through, the required hole size be 5/8 .
Caution:
If you drill a hole in the transom for the cable, make sure it is located above the waterline. After installation, be sure to seal the hole with the same marine grade above- or below-waterline sealant used for the mounting screws.
- Make a test run to determine the results. If the bottom is lost at high speed, or if noise appears on the display, try sliding the transducer bracket down. This puts the transducer deeper into the water, hopefully below the turbulence causing the noise. Don't allow the transducer bracket to go below the bottom of the hull!
TROLLING MOTOR BRACKET INSTALLATION (single-frequency only)
- Attach the optional TMB-S bracket to the transducer as shown in the following figure, using the hardware supplied with the transducer. (Note: The internal tooth washer is supplied with the TMB-S.)

Attach motor mounting bracket to transducer.
- Slide the adjustable strap supplied with the TMB-S through the slot in the transducer bracket and wrap it around the trolling motor. Position the transducer to aim straight down when the motor is in the water. Tighten the strap securely.
- Route the transducer cable alongside the trolling motor shaft. Use plastic ties (not included) to attach the transducer cable to the trolling motor shaft. Make sure there is enough slack in the cable for the motor to turn freely. Route the cable to the sonar unit and the transducer is ready for use.

Transducer mounted on trolling motor, side view.
TRANSDUCER ORIENTATION AND FISH ARCHES
If you do not get good fish arches on your display, it could be because the transducer is not parallel with the ground when the boat is at rest in the water or at slow trolling speeds.

Transducer angles and their effects on fish arches.
If the arch slopes up – but not back down – then the front of the transducer is too high and needs to be lowered. If only the back half of the arch is printed, then the nose of the transducer is angled too far down and needs to be raised.
NOTE:
Periodically wash the transducer's face with soap and water to remove any oil film. Oil and dirt on the face will reduce the sensitivity or may even prevent operation.
SHOOT-THRU-HULL PREPARATION
The transducer installation inside a fiberglass hull must be in an area that does not have air bubbles in the resin or separated fiberglass layers. The sonar signal must pass through solid fiberglass. A successful
transducer installation can be made on hulls with flotation materials (such as plywood, balsa wood or foam) between layers of fiberglass if the material is removed from the chosen area.

Epoxy the transducer to a solid portion of the hull.
For example, some (but not all) manufacturers use a layer of fiberglass, then a core of balsa wood, finishing with an outer layer of fiberglass. Removing the inner layer of fiberglass and the balsa wood core exposes the outer layer of fiberglass. The transducer can then be epoxied directly to the outer layer of fiberglass. After the epoxy cures, the hull is watertight and structurally sound. Remember, the sonar signal must pass through solid fiberglass. Any air bubbles in the fiberglass or the epoxy will reduce or eliminate the sonar signals.
WARNING:
Do not remove any material from your inner hull unless you know the hull's composition. Careless grinding or cutting on your hull can result in damage that could sink your boat. Contact your boat dealer or manufacturer to confirm your hull specifications.
To choose the proper location for thru-hull mounting, anchor the boat in 60 feet of water. Add a little water to the sump of the boat. Plug the transducer into the sonar unit, turn it on, then hold the transducer over the side of the boat. Adjust the sensitivity and range controls until a second bottom echo is seen on the display. (You will need to turn off both automatic and ASPTM .) Don't touch the controls once they've been set.
Next, take the transducer out of the water and place it in the water in the sump of the boat. Observe the sonar signal to see if there is a noticeable decrease in sensitivity. The second bottom signal may disappear and the bottom signal may decrease in intensity.
Move the transducer around to find the best location. If the sensitivity control must be increased greatly to compensate, then the transducer should be mounted on the outside of the hull. If not, then mark the lo
cation that shot through the hull the best and follow the instructions on the following pages for a shoot-thru-hull mounting.

Shoot-thru-hull transducer locations for high speed or trolling speed operation.
Shoot-thru-hull Installation
- Make sure the area is clean, dry and free of oil or grease, then sand both the inside surface of the hull and the face of the transducer with 100 grit sandpaper. The surface of the hull must be flat so the entire transducer face is in contact with the hull prior to bonding.

Epoxy transducer to hull.
- Follow the instructions on the epoxy package and mix it thoroughly. Do not mix it too fast, because it will cause bubbles to form in the epoxy. Apply a small amount on the face of the transducer as shown above, then spread a small amount onto the sanded area on the hull.
Place the transducer into the epoxy, twisting and turning it to force any air bubbles out from under the transducer face. The face of the transducer should be parallel with the hull, with a minimum amount of epoxy between the hull and transducer. After the epoxy dries, route the cable to the sonar unit.
Speed/Temperature Sensors
The FishEasy 2 family can accept as many as two temperature sensors, which can be used to monitor the temperature of surface water, a live well or some other location. These units can accept an optional speed sensor for showing speed and distance traveled. However, you can only use one accessory at a time. If you would like to use a speed sensor and a temperature sensor at the same time, you will need a combination device.
NOTE:
The FishEasy 2T and SeaFinder 240DF are packed with transducers containing built-in temp sensors. The SeaFinder package also includes a speed sensor. If you have another model and want a speed or temp sensor, see the Accessory Ordering Information in the back of this manual.
If a second temp sensor is used, it must be the model TS-2U. This model has a fixed electronic "address" which designates it as the second of two temp sensors. Dual temperatures are only displayed on the Full Chart page. The Large Digital page will only display the primary temperature sensor.

Full Chart page showing dual temperature display.
See the following charts for sample sensor combinations and cable connections.

Sonar unit with external temperature sensor. Transducer lacks a built-in temperature sensor.

Sonar unit with external combination speed and temperature sensor. The transducer has no temperature sensor.

Sonar unit with secondary external temperature sensor. Primary temp sensor is built into the transducer.

Sonar unit with external speed sensor.
The temperature sensor is built into the transducer.
Speed Sensor Installation
If you wish to purchase an optional sensor for your unit, refer to the accessory ordering information inside the back cover of this manual. The following instructions describe how to install the speed sensor.
Recommended tools for this job include: drill, 5/8"drill bit, 1/8" drill bit for pilot holes, screwdriver. Required supplies for this job include: four #8 stainless steel wood screws (3/4" long), high quality, marine grade above-or below-waterline caulking compound.
First find a location on the boat's transom where the water flow is smoothest. Don't mount the sensor behind strakes or ribs. These will disturb the water flow to the speed sensor. Make sure the sensor will remain in the water when the boat is on plane. Also make sure the location doesn't interfere with the boat's trailer. Typically, the sensor is mounted about one foot to the side of the transom's centerline.
Once you've determined the proper location for the unit, place the sensor on the transom. The bottom of the bracket should be flush with the hull's bottom. Using the sensor as a template, mark the hull for the screws' pilot holes. Drill four 1/8" holes, one in each end of the slots.
Mount the sensor to the hull using #8 stainless steel wood screws (not included). Use a high quality, marine grade above- or below-waterline caulking compound to seal the screws. Make sure the sensor is flush with the bottom of the hull and tighten the screws.

Stern view showing good location for mounting sensor on transom.

Speed sensor mounting configuration: side view (left) and rear view (right.)
If the base of the transom has a radius, fill the gap between the transom and the sensor with the caulking compound. This will help ensure a smooth water flow.
Route the sensor's cable through or over the transom to the sonar unit. If you need to drill a hole in the transom to pass the connector through, the required hole size is 5/8 .
Caution:
If you drill a hole in the transom for the cable, make sure it is located above the waterline. After installation, be sure to seal the hole with the same marine grade above- or below-waterline sealant used for the screws.
The sensor is now ready for use. Connect the sensor to the accessory socket on the back of the unit. If you have any questions concerning the installation of the sensor, please contact your local boat dealer.
POWER CONNECTIONS
(permanent mount units only)
The unit works from a 12-volt battery system. You can attach the power cable to your boat's accessory or power buss (or directly to the battery). If you use an accessory buss but have problems with electrical interference, attach the power cable directly to the battery. If the cable is not long enough, splice #18 gauge wire onto it.

Power connections for the FishEasy 2 family sonar units (direct battery connection shown).
If possible, keep the power cable away from other boat wiring, especially the engine's wires. This will provide the best isolation from electrical noise. The power cable has two wires, red and black. Red is the positive lead, black is negative or ground. Make sure to attach the inline fuse holder to the red lead as close to the power source as possible.
For example, if you have to extend the power cable to the battery or power buss, attach one end of the fuse holder directly to the battery or
power buss. This will protect both the unit and the power cable in the event of a short. It uses a 3-amp fuse.
CAUTION:
Do not use this product without a 3-amp fuse wired into the power cable! Failure to use a 3-amp fuse will void your warranty.
This unit has reverse polarity protection. No damage will occur if the power wires are reversed. However, the unit will not work until the wires are attached correctly.
MOUNTING THE SONAR UNIT: In-Dash, Bracket or Portable
You can install the sonar unit on the top of a dash with the supplied bracket. It can also be installed in the dash with an optional FM-4 mounting kit.
In-Dash Installation
The following figure shows dimensions for in-dash mounting. The indash adapter kit includes a template for cutting the mounting hole and complete installation directions on instruction sheet 988-0147-44.

In-dash mounting template for FishEasy 2 family, showing dimensions. NOTE: The preceding figure is not printed to scale. A scaled template is available for free download from our web site, www.eaglesonar.com.
If you use the supplied gimbal bracket, you may be interested in the optional GBSA- 1 swivel bracket kit. This converts the unit's gimbal bracket to a swivel mount which can be used on the dash or overhead
mounting positions. Installation instructions for the in-dash and swivel mounting kits are supplied with the adapter kits.
Bracket Installation
Mount the unit in any convenient location, provided there is clearance when it's tilted for the best viewing angle. Holes in the bracket's base
allow wood screw or through-bolt mounting.


Front view (left) and side view (right) showing dimensions of FishEasy 2 family sonar units when mounted on gimbal bracket.
It may be necessary to place a piece of plywood on the back side of thin panels to reinforce the panel. Make sure there is enough room behind the unit to attach the power and transducer cables.
Drill a 1-inch (25.4 mm) hole in the dash for the power and transducer cables. The best location for this hole is immediately under the gimbal bracket location. This way, the bracket can be installed so that it covers the hole, holds the cables in position and results in a neat installation. Some customers, however, prefer to mount the bracket to the side of the cable hole — it's a matter of personal preference.
After drilling the hole, pass the transducer connector up through the hole from under the dash. Drop the power cable's bare-wire end down though the hole from the top.
If you wish, you can fill in the hole around the cables with a good marine caulking compound. (Some marine dealers stock cable hole covers to conceal the opening.) No matter what type of installation you prefer,
be sure to leave enough slack in the cables to allow tilting or swiveling the unit. If you choose to fill in the hole, be sure to position the cables against the rear edge of the hole as you apply the fill material.
Before positioning the bracket, be sure to hold the cables against the rear edge of the hole. Then, slide the bracket over the hole and butt the rear of the bracket base firmly against the cables, thus pinning them in place against the side of the hole. Finally, fasten the bracket to the dash.
Attach the unit to the gimbal bracket using the supplied gimbal knobs and washers. Slide the rubber washers onto the gimbal knobs then loosely screw the knobs into their sockets. Slide the unit into the bracket with the rubber washers to the outside of the bracket arms. Tilt the unit to the desired viewing angle and tighten the knobs finger tight
Portable Sonar Installation
Like many Eagle products, the FishEasy 2 sonar family is capable of portable operation by using the optional PPP-13 portable power pack. In fact, the FishEasy 2 Portable package includes the PPP-13 and the transducer necessary for portable use.
The power pack and portable or floating transducers expand the uses for your sonar. You can use your FishEasy 2 or FishEasy 2 Portable on your boat or take it to the dock, on a float tube, on an ice fishing trip or use it as a second sonar in a friend's boat.
The PPP-13 package includes the power pack, battery adapter and a portable transducer. Batteries are not included. The power pack has a storage compartment for the portable transducer. The pack can be used with eight "D" cell alkaline batteries or an optional sealed, rechargeable battery.
To use the portable power pack, you simply install the batteries and then attach the sonar unit to the power pack's bracket. Plug in the power and transducer cables and you're ready to fish.
Attach the sonar unit to the bracket with the supplied washers and knobs.
Installing the Power Pack
Recommended tools for installation include a slotted screw driver and two adjustable wrenches. The following figure shows the proper arrangement for the washers.

For a secure portable mount, attach the unit to the portable power pack's gimbal bracket using the supplied gimbal knobs and washers as shown above.
Installing the Batteries
Release the latch on the front of the battery case. Open the compartment and install either an optional rechargeable battery or eight "D" cell batteries into the adapter. For the longest life, we recommend you use alkaline batteries.
After installing the batteries, close the case and plug the sonar unit's power cable into the socket on the battery case.
Turn the sonar unit on. If it doesn't work, make sure the battery terminals are making good contact against the battery contacts. Also check the wiring connections on the D-cell battery adapter. The red wire on the power cable should be attached to the red wire on the D-cell battery adapter and the power cable's black wire should be connected to the black wire on the D-cell battery adapter.
If it still doesn't work, check the battery voltage. Most of the complaints we receive about portable units result from stale batteries. Make sure the ones you buy are fresh. Always remove batteries from the battery compartment before storing the unit because dead batteries can leak and corrode the contacts.

Install batteries in power case battery adapter.
In cold weather the efficiency of dry cell batteries drops with the temperature. We find it a good idea to have the sonar unit good and warm along with the batteries before we leave home.
If the batteries do lose a charge, you can sometimes restore them by placing them in a warm room or car interior. A better way is to replace them with batteries that have been kept warm.
WARNING:
Never heat the batteries over an open flame or direct hot air onto them. A fire or explosion could result.
Portable Transducer Assembly
Assemble the transducer and bracket as shown in the following figure. Attach the transducer to the bracket with the supplied hardware.
Make sure there is one washer on each side of the transducer, inside the bracket. Slide the other washer over the end of the bolt and thread the nut onto it.
Screw the suction cup onto the bracket using the supplied screw and flat washer. Tie the nylon cord through the hole in the top of the bracket. When using this transducer, tie the other end of the nylon cord to the boat. This will help prevent the loss of the transducer if it comes off the boat.

Portable transducer assembly: rear view (left) and side view (right.)
Clean the chosen area of the hull before attaching the suction cup. Locate the transducer on the hull as shown in the following figure. Don't allow the bracket to extend below the hull, because water pressure against it can cause the suction cup to come off at speed.
Moisten the cup, then press it onto the hull as firmly as possible. Tie the nylon cord to the boat and route the transducer cable to the sonar unit. Your portable sonar is now ready for use.

Portable transducer installed on boat transom.
NOTE:
For optimum operation, the portable transducer should be adjusted so that it is parallel to the ground. For more information on this, see the earlier segment on Transducer Orientation and Fish Arches.
Operation
KEYBOARD BASICS
The unit sounds a tone when you press any key. This tells you the unit has accepted a command. Numbers in the photo correspond to key explanations below:

Eagle FishEasy 2 Sonar, front view, showing screen and keyboard.
1. PWR/CLEAR (power and clear)
This key appears in the manual text simply as PWR. Press this key to turn the unit on and off. It also clears menu selections and the menus from the screen.
NOTE:
You must hold the PWR key down for a countdown of five in order to turn the unit off.
2. MENU UP (menu up)
3. MENU DOWN (menu down)
These keys appear in the manual text as MENU UP or MENU DOWN. (In some units, the keys may appear as MENU FWD or MENU REV, respec
tively.) Most of the time, the instructions require you to press either menu key, so the text simply uses the word MENU. Usually, when we say MENU, you can simply press the MENU UP key for consistency.
This sonar unit has many features that are accessed with the menu keys. The MENU UP key moves up or forward through the menus, the MENU DOWN key moves down or backward. To see the first menu, simply press either MENU key. To see the other menus, press a MENU key repeatedly to cycle through the menu list.
4. UP and DOWN ARROWS
These keys appear in the manual text as DOWN ARROW or UP ARROW. Use these keys to adjust virtually every feature and function on the sonar unit.
MEMORY
This unit has permanent memory that saves all user settings, even when power is removed. It does not require, nor does it use an internal backup battery, so you never have to worry about replacement batteries.
MENUS
This unit uses menus to guide you through the various functions and features. Menu names and settings appear in the manual text as small capital letters like SENSITIVITY, which represents the Sensitivity menu. The menu keys access these features, allowing you to customize the unit to your particular needs and water conditions. All you have to do to leave one menu and enter another is press MENU repeatedly. If you ever get lost in the menus, simply press the PWR key. This clears the menus from the screen.
Menu change depending on the mode the unit is in. Messages may appear in menu boxes or new menus can appear, depending on previous selections.

This screen shows a typical menu, the Scroll Speed menu.
DISPLAY - Opening Screen
The lights flash for about 10 seconds when the unit is turned on. The backlight menu first appears on the screen. To turn the lights on, press
UP ARROW. If you don't press a key, the menu will disappear after a few seconds. If you don't want to wait, press PWR to clear the menus from the screen.
When the sonar unit is first turned on and the backlight menu disappears, the display screen shows the Full Chart Page, or mode. The Fish I.D. ^TM feature is off. The depth range shows on the depth scale on the right side of the screen. On the screen below, the range is from 0 to 60 feet and the bottom depth is 33.2 feet, shown by the digital sonar.

Opening screen, Full Chart page, or mode.
CHART SCROLL (stopping and starting)
In normal operation, the sonar chart will scroll from right to left across the screen. You can stop the chart from scrolling across the screen. This is useful when you want to "freeze" the picture to study it more closely. To stop or start the chart, press MENU until the CHART menu appears. Use the arrow keys to select or highlight the desired setting, then press PWR to clear the menu.


Chart menu. Chart is running or scrolling normally at left.
Chart is stopped at right, and "Stopped" warning message appears.
SCREEN DISPLAY MODES or PAGES
The FishEasy 2 series has three screen display modes, or "Pages:" Full Chart page, Split Chart page and Large Digital page. The SeaFinder 240DF also has a Dual Frequency page.


The Page menu lets you select among the display modes, or pages. Left, FishEasy 2 series Page menu. Right, SeaFinder 240DF Page menu.
To switch from one page to another page, press MENU until the PAGE menu appears. Press UP ARROW or DOWN ARROW to select the desired page. (The screen changes as you move through the menu.) When the page you want is selected, press PWR to clear the menu.
FULL CHART
This shows all echoes scrolling across the full screen. This is the default page. The bottom signal scrolls across the screen from right to left. Depth scales on the right side of the screen make it easy to determine the depth of fish, structure, and other targets. The line at the top of the screen represents the surface. The bottom depth (as determined by the digital sonar) shows in the upper left corner.

Full Chart page, showing digital depth at top and speed at bottom.
If an optional speed or temperature sensor is connected, digital displays for speed and/or temperature will also be shown.
SPLIT CHART
This shows the normal view of the underwater world from the surface to the bottom on the right side of the screen. The left side shows an enlarged or "zoomed" version of the echoes appearing on the right side. A zoom message, such as "2X," appears at the bottom of the "zoomed" side of the screen.

Split Chart page with normal view at right; zoomed view at left.
DUAL-FREQUENCY SPLIT CHART
(SeaFinder 240DF only)
This page shows sonar data from the 50kHz transducer element on the left side of the screen and data from the 200kHz transducer on the right side. All other functions and features are the same as the Full Chart page.

Dual-Frequency Split Chart page, with 50 kHz view at left and 200 kHz view at right.
You can adjust the sensitivity in each window. To change the 200kHz window's sensitivity, press MENU until the SENSE 200k menu appears. Press UP ARROW to increase the sensitivity, DOWN ARROW to decrease it. When it's set at the desired level, press PWR to clear the menu. Change the 50 kHz window sensitivity in the same way, but use the SENSE 50k menu.


Dual-Frequency Split Chart page. The 50kHz sensitivity menu is shown at left and the 200kHz sensitivity menu is shown at right.
Lrg DIGITAL (Large Digital)
The Large Digital page shows all information in big numbers. The digital depth display is at the top of this screen, followed by the temperature, speed, and distance readings.
NOTE:
Temperature, speed, and distance require a temperature or speed sensor. These may be optional equipment, depending on the sonar model you purchased.

Large Digital page.
RANGE
When turned on for the first time, the unit automatically adjusts the depth range according to water conditions. It always keeps the bottom displayed in the lower portion of the screen. You can over-ride the automatic range control and manually select a range.
To do this, press MENU until the RANGE menu appears. Use the arrow keys to select the desired range. When you're finished, press PWR to clear the menu from the display.

Range Select menu.
This unit has the following ranges:
10, 15, 20, 30, 40, 60, 80, 100, 150, 200, 300, 500, 800 and 1,000 feet.
ZOOM
The zoom feature enlarges all echoes on the screen. The 2X zoom doubles the size of the echoes on the display; the 4X zoom quadruples the echo size.

Zoom screen, showing Zoom menu and the 2X zoom indicator at the top right of the screen.
To zoom the display, first press the MENU key until the ZOOM menu appears. Use the arrow keys to select either 2X or 4X zoom, then press PWR to clear the menu.
When the display is in Zoom mode, the screen will show a zoom indicator box at the top right corner of the screen. This is a reminder that the display is zoomed, and it tells what level of zoom is in effect.
To turn the zoom feature off, press the MENU key until the ZOOM menu appears. Use the arrow keys to select OFF, then press PWR to clear the menu.
Important Tip:
Your unit has the handy ability to quickly zoom in on any portion of the water column with just the touch of an arrow key. The Zoom Pan feature lets you rapidly move the zoomed area up and down to different depths. By "pointing" your zoom at different portions of the chart as it scrolls, you can get a good, close-up look at structure or cover below you.
To use Zoom Pan, switch to a manual depth Range setting (see page 33) and turn on 2X or 4X Zoom. Then, simply press the UP ARROW or DOWN ARROW to pan up and down the water column.

Fig. 1

Fig. 2

Fig. 3
In 34 feet of water, with the Range set manually at 60 feet, the unit shows the entire water column in Fig. 1. To get a closer look, turn around and follow your wake to troll over the structure again. With the unit in 4X zoom, press the down arrow key to look at the six fish along the ledge, then press the up arrow to pan up the water column to see four game fish threatening a school of forage fish.
NOTE:
Using the Zoom command while in auto Range mode will always enlarge the echoes near the bottom, because auto Range always keeps the bottom displayed in the lower portion of the screen.
When you Zoom in manual Range mode, echoes are enlarged near the middle of the displayed range. For example, with a manual depth Range of 100 feet, your screen shows the water column from zero at the top of the screen to 50 feet in the middle to 100 feet at the bottom of the screen. Select 2X Zoom and the screen will show the water column from zero to 50 feet, with 25 feet shown in the middle of the screen. Select 4X Zoom and the screen shows the water column from 13 feet to about 39 feet, with 25 feet still in the middle of the screen.
SENSITIVITY
Sensitivity controls the unit's ability to pick up echoes. If you want to see more detail, try increasing the sensitivity, a little at a time. There are situations when too much clutter appears on the screen. Decreasing the sensitivity can reduce the clutter and show the strongest fish echoes, if fish are present. As you change the sensitivity setting, you can see the difference on the chart as it scrolls.


These figures show results of different sensitivity levels on the same location. Fig. 1: Sensitivity at 87 percent, determined by Auto Sensitivity. Typical of full auto mode. Fig. 2: Sensitivity set at 50 percent. Fig. 3: Sensitivity set at 20 percent. Fig. 4: Sensitivity set at 100 percent.
You can change the sensitivity level whether you are in Auto Sensitivity mode or Manual Sensitivity mode. The adjustment method works the same in both modes, but it gives you slightly different results.
Adjusting sensitivity in Auto Sensitivity Mode is similar to manually adjusting a car's speed with the accelerator pedal while cruise control is on. You can tell the car to run faster, but when you let off the gas the cruise control automatically keeps you from running slower than the minimum speed setting. In your unit, auto mode will let you increase sensitivity to 100 percent, but the unit will limit your minimum setting. This prevents you from turning sensitivity down too low to allow automatic bottom tracking. When you change the setting with auto turned on, the unit will continue to track the bottom and make minor adjustments to the sensitivity level, with a bias toward the setting you selected.
Adjusting sensitivity in Manual Sensitivity Mode is similar to driving a car without cruise control — you have complete manual control of the car's speed. In your unit, manual mode allows you to set sensitivity at 100 percent (maximum) or zero percent (minimum.) Depending on water and bottom conditions, the bottom signal may completely disappear from the screen when you reduce sensitivity to about 20 percent or less!
Try adjusting sensitivity in both auto and manual modes to see how they work.


Sensitivity menu screens. Left, automatic or manual menu. Right, Sensitivity Adjustment menu.
To adjust sensitivity:
Press MENU until the SENSITIVITY ADJUSTMENT menu appears. Press UP ARROW to increase the sensitivity, DOWN ARROW to decrease it. When it's set at the desired level, press PWR to clear the menu.
The sensitivity percentage in use shows in this menu. As you change the setting, echoes scrolling onto the screen will show the effects of the change. If you reach the maximum or minimum sensitivity level, a tone sounds alerting you to the limits.
NOTE:
If you want to change the sensitivity in Manual Mode, first turn off Auto Sensitivity: press MENU until the SENSITIVITY AUTOMATIC/MANUAL menu appears. Press DOWN ARROW to select MANUAL, then press PWR to clear the menu. To adjust the sensitivity, follow the same steps used for adjusting sensitivity in auto mode above.
GRAYLINE
Grayline® lets you distinguish between strong and weak echoes. It "paints" gray on targets that are stronger than a preset value. This allows you to tell the difference between a hard and soft bottom. For example, a soft, muddy or weedy bottom returns a weaker signal which is shown with a narrow or no gray line. A hard bottom returns a strong signal which causes a wide gray line.
If you have two signals of equal size, one with gray and the other without, then the target with gray is the stronger signal. This helps distinguish weeds from trees on the bottom, or fish from structure.
Grayline is adjustable. The factory default for this unit is 69 percent. Since Grayline shows the difference between strong and weak signals, adjusting the sensitivity may also require a different Grayline level. The level chosen by the sonar unit at power on is usually adequate for most conditions. Experiment with your unit to find the Grayline setting that's best for you.
To change the Grayline level, press MENU until the GRAYLINE menu appears.
Press UP ARROW to increase the level or press DOWN ARROW to decrease it. The percentage of Grayline in use shows in this menu. Echoes scrolling onto the screen will also show the effects of the Grayline change. If you reach the maximum or minimum level, a tone sounds alerting you to the limits. Press PWR to clear the menu.



At left, Grayline menu screen. Center, little Grayline indicates a soft bottom, probably sand or mud. At right, the wider Grayline indicates a harder, rocky bottom.
FISH I.D.
The Fish I.D. ^TM feature identifies targets that meet certain conditions as fish. The microcomputer analyses all echoes and eliminates surface clutter, thermoclines and other signals that are undesirable. In most instances, remaining targets are fish.
The Fish I.D. feature displays symbols on the screen in place of the actual fish echoes. There are three symbol sizes: small, medium, and large. These show the relative size between targets. In other words, it displays a small fish symbol when it thinks a target is a small fish, a medium fish symbol on a larger target and so forth.


At left, underwater scene in normal fish arch mode. Right, Fish I.D. menu with the feature turned on.
Fish I.D. is an easier way for a sonar novice to recognize a fishy signal return when he sees it. However, locating fish by symbol only has some limitations.
Your sonar unit's microcomputer is sophisticated, but it can be fooled. It can't distinguish between fish and other suspended objects such as trotlines, turtles, submerged floats, air bubbles, etc. Individual tree limbs extending outward from a group of limbs are the hardest objects for the Fish I.D. feature to distinguish from fish.
To see what's under your boat in maximum detail, we recommend you turn off Fish I.D. and begin learning to interpret fish arches.
You may see Fish I.D. symbols on the screen when actually, there are no fish. The reverse is also true — Fish I.D. can actually miss fish that are present.
Does that mean Fish I.D. is broken? No — the feature is simply interpreting sonar returns in a specific way to help take some of the work out of reading the screen. Remember: Fish I.D. is one of the many tools we provide so you can analyze your sonar returns for maximum fish finding information. This and other features can help you successfully "see" beneath the boat under varied water and fishing conditions. So, practice with the unit in both the Fish I.D. mode and without to become more familiar with the feature. The default for Fish I.D. is off.
Fish I.D. is most handy when you're in another part of the boat or performing some task that prevents you from watching the sonar screen. Then, you can turn on Fish I.D. and the audible fish alarm. When that lunker swims under your boat, you'll hear it!
Fish I.D. can also be useful when you want to screen out some of the sonar detail gathered by your unit. For example, it can help cut through the clutter of suspended bubbles caused by wave action or boat wakes.
To turn Fish I.D. on, press MENU until the FISH ID menu appears. Press UP ARROW to select ON, then press PWR. To turn it back off, repeat the above steps, but press DOWN ARROW to select OFF.
FISHTRACKTM
The FishTrack™ feature shows the depth of a fish symbol when it appears on the display. To turn it on, press MENU until the FISH ID menu appears. Press UP ARROW to select TRACK ON, then press PWR. To turn it off, repeat the above steps, but press DOWN ARROW to select OFF. (If you want to turn off FishTrack depths but leave Fish I.D. on, press DOWN ARROW to select ON, then press PWR.) Remember, Fish I.D. must be on in order to use the FishTrack feature.

Fish ID menu and symbol with FishTrack on. The fish is 44 feet deep.
FISHREVALETM
When displaying actual sonar returns, the FishReveal™ feature helps show fish targets hidden by surface clutter, thermoclines, weed beds and other cover with 10 levels of gray tones.
Normal operation (with FishReveal turned off) shows the weakest echoes as black and the strongest in light gray. Since all weak echoes are black, fish arches show boldly against the white background. The drawback is that all weak echoes — such as thermoclines — are also accentuated. This can make it hard to distinguish fish signals inside thermoclines or other cover.


At left FishReveal menu screen. The feature is off and screen is in normal mode. Right, Fish Reveal is on, in standard mode.
There are two FishReveal modes: standard and inverted. In standard mode, the weakest echoes are white and the strongest echoes are black. Echoes in between vary in gray in proportion to their signal strength.
In Inverted FishReveal mode, the weakest echoes are black and the strongest echoes are white. Again, echoes in between vary in gray in proportion to their signal strength. In all modes, the Grayline control determines the range for black to white.


At left, standard FishReveal mode. Right, Inverted Fish Reveal mode.
To turn FishReveal on, press MENU DOWN until CHART SETUP appears, then press UP ARROW. Press MENU DOWN until CHART MODE appears. Press DOWN ARROW to select the desired FishReveal mode. Press PWR to clear the menu. To return to normal operation, repeat the above steps, but select NORMAL before clearing the menu.
CHART SCROLL SPEED and HYPERSCROLLTM
The rate that echoes scroll across the screen is called the chart scroll speed. The default for this unit is 60 percent; we recommend that you leave the scroll speed set there for virtually all fishing conditions.
However, you might consider experimenting with chart speed when you are stationary or drifting very slowly. You may sometimes achieve better images as you slow down the chart speed to match how fast you are moving across the bottom.
Switching to a scroll speed faster than 60 percent can be helpful when running at high speed. Any setting greater than 60 switches the unit to HyperScroll™. This feature scrolls the echoes at an extremely high rate of speed, giving you the maximum screen update.
If you are at anchor, ice fishing or fishing from a dock, experiment with a chart speed of 20 percent. If you are drifting slowly, try a chart speed of 40 percent. When you are stationary and a fish swims through the sonar signal cone, the image appears on the screen as a long line instead of a fish arch. Reducing the chart speed may result in a shorter line that more closely resembles a regular fish return.


At right, Scroll Speed menu at default 60 percent setting. At left, Scroll Speed menu, with unit set to HyperScroll mode.
If you are running fast, try a HyperScroll setting of 80 to 100 percent. When using HyperScroll, you may also need to manually decrease the sensitivity for best performance. Depending on water conditions, HyperScroll may cause a second bottom echo and large amounts of clutter to appear on the screen. If this occurs, just decrease the sensitivity to a level that eliminates the clutter. When you turn HyperScroll off, you can return to your original sensitivity level.
Adjust scroll speed by pressing MENU until SCROLL SPEED appears. Press UP ARROW to increase it and press DOWN ARROW to decrease it. Press PWR to clear the menu.
To return to the original setting, repeat the above steps, but use the arrow keys to set the speed at 60 percent before clearing the menu.
NOISE REJECT and ASPTM (Advanced Signal Processing)
The ASPTM (Advanced Signal Processing) feature is a noise rejection system built into the sonar unit. It constantly evaluates the effects of boat speed, water conditions and electrical interference and automatically gives you the best display possible under most conditions.
ASP is an effective tool in combating noise. In sonar terms, noise is any undesired signal. It is caused by electrical and mechanical sources such as bilge pumps, engine ignition systems and wiring, air bubbles passing over the face of the transducer, even vibration from the engine. In all cases, noise can produce unwanted marks on the display.
The ASP noise rejection feature is especially useful because it typically lets you operate the boat at all speeds without adjusting the sensitivity or other controls.

Noise Reject menu.
The ASP feature has four settings — Off, Low, Medium and High. When first turned on, noise rejection is set on low. If you have high noise levels, try using the medium or high ASP setting. However, if you are having trouble with noise, we suggest that you take steps to find the interference source and fix it, rather than continually using the unit with the high ASP setting.
There are times when you may want to turn ASP off. This allows you to view all incoming echoes before they are processed by the ASP feature.
To change the ASP setting, press MENU DOWN until NOISE REJECT appears. Use the up and down arrow keys to select the desired setting, then press PWR to clear the menu.
ALARMS
The sonar unit has two different types of alarms, fish and depth.
Fish Alarm
The Fish Alarm sounds a tone when a fish symbol appears on the screen. The default setting is on, but the Fish I.D. feature must be turned on for fish alarms to work.
To turn Fish I.D. on, press MENU until the FISH ID menu appears. Press UP ARROW to select ON, then press PWR.
To turn off the fish alarm without turning off fish symbols, press MENU DOWN until FISH ALARM appears. Press DOWN ARROW to select OFF, then press PWR to clear the menu. Repeat the above steps to turn the alarm back on, but press UP ARROW to select ON before clearing the menu.

Fish Alarm menu.
Depth Alarms
The depth alarms are triggered only by the bottom signal. No other echoes will activate these alarms. The depth alarms consist of a shallow and a deep alarm. The shallow alarm sounds an alarm tone when the bottom goes shallower than the alarm's setting. The deep alarm sounds a tone when the bottom goes deeper than its setting. Both alarms adjust the same way, although through different menus.
Shallow Alarm
To set the shallow alarm depth, press MENU DOWN repeatedly until SHALLOW ALARM appears.

Shallow Alarm menu.
Press UP ARROW to increase the shallow alarm's depth setting or press DOWN ARROW to decrease it. The number in the shallow alarm's menu box shows the current shallow alarm setting. When the number reaches the desired setting, press PWR to clear the menu. When the bottom depth goes shallower than the alarm's setting, an alarm tone sounds and a message box appears on the screen.
Press UP ARROW to silence the alarm. This turns the alarm sound off until the shallow alarm is triggered again.
To turn the alarm off, press MENU DOWN repeatedly until SHALLOW ALARM appears. Press DOWN ARROW until the words OFF FEET appear, then press PWR to clear the menu.
Deep Alarm
To set the deep alarm depth, press MENU DOWN repeatedly until DEEP ALARM appears.
Press UP ARROW to increase the deep alarm's depth setting or press DOWN ARROW to decrease it. The number in the deep alarm's menu box shows the current deep alarm setting. When the number reaches the desired setting, press PWR to clear the menu. When the bottom depth goes deeper than the alarm's setting, an alarm tone sounds and a message box appears on the screen.

Deep Alarm menu.
Press UP ARROW to silence the alarm. This turns the alarm sound off until the deep alarm is triggered again.
To turn the alarm off, press MENU DOWN repeatedly until DEEP ALARM appears. Press DOWN ARROW until the words OFF FEET appear, then press PWR to clear the menu.
SYSTEM SETUP
To customize the display, press MENU DOWN until the SYSTEM SETUP menu appears, then press UP ARROW. The display contrast, units of measure, temperature, and system information screens are all under this menu. The Contrast menu appears first. Press the MENU UP or MENU DOWN keys to cycle through the menus. When you're finished, press the PWR key to clear the menus.

System Setup menu.
DISPLAY ADJUSTMENTS
BACKLIGHTS
The display is backlit for night use. To turn the backlight on or off, press MENU repeatedly until the BACK LIGHT menu appears. Press UP ARROW to turn the light on or the DOWN ARROW to turn it off.

Backlight menu.
DISPLAY CONTRAST
The unit's display contrast is adjustable to suit different lighting conditions. This will help you see the screen from different angles or at vari-
ous times of the day. The default setting is 50 percent.
To adjust the contrast, press MENU DOWN until the SYSTEM menu appears, press UP ARROW, and the CONTRAST menu appears. To decrease screen contrast, press the DOWN ARROW key. Press the UP ARROW key to increase screen contrast. The bar graph in the Contrast menu box shows a graph of the contrast. The screen will also show the effects of the change. If you reach the maximum or minimum level, a tone sounds alerting you to the limits. Press the PWR key to clear the menu.

Display Contrast menu.
DEPTH UNITS OF MEASURE
This unit can show the depth in feet, fathoms or meters.
To change the depth units of measure, press MENU DOWN until the SYSTEM menu appears, press UP ARROW, then press MENU until the DEPTH menu appears. Use the arrow keys to select the desired unit of measure, then press the PWR key to clear the menu.

Depth menu controls the unit of measure used to show depth.
TEMPERATURE UNITS OF MEASURE
This unit can show the temperature (if a temperature sensor is attached) in degrees Fahrenheit or Celsius. To change the unit of measure, press MENU DOWN until the SYSTEM menu appears. Press UP ARROW, then press MENU until the TEMPERATURE menu appears. Use the arrow keys to select the measurement unit, then press PWR to clear the menu.

Temperature unit of measure menu.
SPEED and DISTANCE LOG UNITS OF MEASURE
The speed and distance log can be displayed in statute miles (MPH), Nautical miles (knots), or Metric (kilometers per hour) if a speed sensor is attached. To change the unit of measure, press MENU DOWN until the SYSTEM menu appears. Press UP ARROW, then press MENU until the SPEED/LOG menu appears. Use the arrow keys to select the desired measurement unit, then press PWR to clear the menu.

Speed menu.
RESET DISTANCE LOG
You can reset the distance log to zero with this command. Press MENU DOWN until SYSTEM appears, then press UP ARROW. Press MENU until the RESET LOG menu appears. Press UP ARROW and the log returns to zero. Press PWR to clear the menu.

Reset Log menu.
PRESET UNIT (reset all options)
This command is used to reset all features, options and settings to their original factory defaults. This is useful when you have changed several settings and want to return the unit to basic automatic operation.
Press MENU DOWN until SYSTEM appears, then press UP ARROW. Press MENU DOWN until the PRESET UNIT menu appears. Press UP ARROW and the unit will turn itself off and reset all options. Turn the unit back on by pressing PWR.

Preset Unit menu resets all options to the factory settings.
SYSTEM INFO
To show the operating software system information, press MENU DOWN until the SYSTEM menu appears, then press UP ARROW. Press MENU DOWN until the SYSTEM INFO screen appears. Press PWR to clear the screen.

System Info screen.
SIMULATOR
This unit has a built-in simulator that shows a simulated bottom signal with fish signals. This lets you practice with the unit as if you were on the water; all features and functions of the unit are usable. A message appears occasionally to remind you that the simulator is on.
To use the simulator, press DOWN MENU repeatedly until the SYSTEM menu appears, then press UP ARROW. Press DOWN MENU until the SIMULATOR menu appears. Now press UP ARROW to turn it on, and press PWR to clear the menu. Repeat the above steps to turn it off, or you can simply turn the unit off and back on again.

Simulator menu.
NOTE:
If you turn on your unit before attaching a transducer, it may enter a demo mode. The words "demo mode" flash on the bottom of the screen and a sonar chart plays much like the simulator. Unlike the simulator, the demo mode is for demonstration only, and will automatically stop as soon as you turn on the unit with a transducer attached. The simulator will continue to function normally.
CHART SETUP
The Chart Setup menu lets you further customize the display. The size of the digital numbers for the depth, temperature, speed and distance log can be customized from this menu. The depth scales shown on the right side of the screen can be modified, and the Fish Reveal modes can be turned on or off.
To enter the Chart Setup menu sequence, press MENU DOWN until the CHART SETUP menu appears. Press UP ARROW and then you can use the menu keys to cycle through the chart setup menus.

Chart Setup menu.
LIMIT SEARCH
The Limit Search command helps you maintain maximum chart detail when you are moving fast in deep water (about 200 feet.) When turned on, Limit Search prevents the digital sonar from over-riding the sonar chart's depth range setting.
Limit Search does this by preventing the digital sonar from slowing down the ping speed as it automatically searches for and tracks the bottom. The default setting is off, and this should fit most freshwater fishing situations.
High boat speed and slow ping speed (caused by the deeper bottom) can reduce the screen refresh rate. This in turn can reduce the amount of detail seen on the sonar chart. Try this command only if you are in deep water, traveling at high speed, and notice a reduction in detail on the sonar chart. When Limit Search is turned on, the digital sonar will limit its search for the bottom to the depth range you have set for the sonar chart.
NOTE:
Turning Limit Search on can cause the digital sonar to lose the bottom in some situations. The digital depth will flash if that occurs.
The sonar chart must be in manual depth range mode to use the Limit Search command. To switch from auto depth range to manual, press MENU until the RANGE menu appears. Use the arrow keys to select the desired range. When you're finished, press PWR to clear the menu from the display.
Next, press MENU DOWN until the CHART SETUP menu appears, then press UP ARROW to enter the list of Chart Setup commands, where the LIMIT SEARCH menu appears. Press UP ARROW to turn it on and press PWR to clear the menu.

Limit Search menu.
To turn Limit Search off, repeat the above steps but press the DOWN ARROW to select "Off." Also remember to switch the depth range setting back to automatic. This will restore the digital sonar's ability to automatically track the bottom.
FREQUENCY (Change Transducer Frequency) (SeaFinder 240DF only)
The SeaFinder 240DF transducer operates with both 200kHz and 50kHz . The 200kHz frequency has a 12^ cone angle and the 50kHz frequency has a 36^ cone angle.
The default frequency is 200kHz , which is best for use in shallow water (about 300 feet or less). This frequency is the best choice for about 80 percent of the fresh and salt water sport fishing applications. When you get into very deep salt water, 300 to 500 feet or deeper, the 50kHz frequency is the best choice.
The 200kHz transducer will give you better detail and definition, but less depth penetration. The 50kHz transducer will give you greater depth penetration, but a little less detail and less definition. (Remember, all sonar units typically read deeper in fresh water than in salt water.)
There is a common exception to these rules of thumb. Some fishermen on freshwater lakes (or the ocean) using downriggers like to see them on the sonar. In many of those cases, you'll see a 50kHz transducer frequency in use because the wider cone angle lets them watch the bait.

Frequency menu with 200kHz selected.
To change the frequency setting, press MENU DOWN until the CHART SETUP menu appears, then press UP ARROW to enter the list of Chart Setup commands. Press MENU UP until the FREQUENCY menu appears. Press DOWN ARROW to select 50 KHz, then press the PWR key to clear the menu. To return to 200 kHz, repeat the steps above, but use the UP ARROW to select 200 KHz.
DIGITAL DATA SIZE FOR DEPTH, TEMPERATURE, SPEED, and DISTANCE LOG
The size of the digital numbers for the depth, temperature, speed and distance log can individually be changed to any one of three sizes. The digital displays can also be turned off or on.
To change any of these options, press MENU DOWN until CHART SETUP appears, then press UP ARROW. Use the MENU keys to cycle through the list and display the desired menu, then use the ARROW keys to select the desired number size or turn the numbers off. Press the PWR key to clear the menus.




Menu for changing digital number size.
SCALES
The depth scale between the upper and lower limit on the right side of the screen can be turned on or off. The default is on.


Scales menu, with scale on (left) and off (right). With the scale off, only the upper and lower limits (zero and 60 in this case) are displayed
To turn the scale off, press MENU DOWN until CHART SETUP appears, then press UP ARROW. Press MENU DOWN until SCALES appears, then press DOWN ARROW to select UPPER LOWER ONLY. Press the PWR key to clear the menus.
To turn scale on, press MENU DOWN until CHART SETUP appears, then press UP ARROW. Press MENU DOWN until SCALES appears, then press UP ARROW to select SHOW INTERMEDIATE. Press the PWR key to clear the menus.
Troubleshooting
If your unit is not working, or if you need technical help, please use the following troubleshooting section before contacting the factory customer service department. It may save you the trouble of returning your unit for repair. For contact information, refer to the last page, just inside the back cover of this manual.
Unit won't turn on:
- Check the power cable's connection at the unit. Also check the wiring.
- Make certain the power cable is wired properly. The red wire connects to the positive battery terminal, black to negative or ground.
- Check the fuse.
- Measure the battery voltage at the unit's power connector. It should be at least 11 volts. If it isn't, the wiring to the unit is defective, the battery terminals or wiring on the terminals are corroded, or the battery needs charging.
Unit operates only in demo mode:
- The transducer has not yet been connected or has been disconnected. To leave demo mode, make sure the transducer is securely connected before turning the unit on.
Unit freezes, locks up, or operates erratically:
- Electrical noise from the boat's motor, trolling motor, or an accessory may be interfering with the sonar unit. Rerouting the power and transducer cables away from other electrical wiring on the boat may help. Route the sonar unit's power cable directly to the battery instead of through a fuse block or ignition switch
- Inspect the transducer cable for breaks, cuts, or pinched wires.
- Check both the transducer and power connectors. Make certain both are securely plugged in to the unit.
Weak bottom echo, digital readings erratic, or no fish signals:
- Make certain the transducer is pointing straight down. Clean the face of the transducer. Oil, dirt and fuel can cause a film to form on the transducer, reducing its effectiveness. If the transducer is mounted inside the hull, be sure it is shooting through only one layer of fiberglass and that it is securely bonded to the hull. Do NOT use RTV silicone rubber adhesive or Marine-Tex™ epoxy.
- Electrical noise from the boat's motor can interfere with the sonar. This causes the sonar to automatically increase its Discrimination or
noise rejection feature. This can cause the unit to eliminate weaker signals such as fish or even structure from the display.
-
The water may be deeper than the sonar's ability to find the bottom. If the sonar can't find the bottom signal while it's in the automatic mode, the digital sonar display will flash continuously. It may change the range to limits far greater than the water you are in. If this happens, place the unit in the manual mode, then change the range to a realistic one, (for example, 0-100 feet) and increase the sensitivity. As you move into shallower water, a bottom signal should appear.
-
Check the battery voltage. If the voltage drops, the unit's transmitter power also drops, reducing its ability to find the bottom or targets.
Bottom echo disappears at high speeds or erratic digital reading or weak bottom echo while boat is moving
- The transducer may be in turbulent water. It must be mounted in a smooth flow of water in order for the sonar to work at all boat speeds. Air bubbles in the water disrupt the sonar signals, interfering with its ability to find the bottom or other targets. The technical term for this is cavitation.
- Electrical noise from the boat's motor can interfere with the sonar. This causes the sonar to automatically increase its Discrimination or noise rejection feature. This can cause the unit to eliminate weaker signals such as fish or even structure from the display. Try using resistor spark plugs or routing the sonar unit's power and transducer cables away from other electrical wiring on the boat.
No fish arches when the Fish I.D. feature is off:
- Make certain the transducer is pointing straight down. This is the most common problem if a partial arch is displayed.
- The sensitivity may not be high enough. In order for the unit to display a fish arch, it has to be able to receive the fish's echo from the time it enters the cone until it leaves. If the sensitivity is not high enough, the unit shows the fish only when it is in the center of the cone.
- Use the Zoom feature. It is much easier to display fish arches when zoomed in on a small range of water than a large one. For example, you will have much better luck seeing fish arches with a 30 to 60 foot range than a 0 to 60 foot range. This enlarges the targets, allowing the display to show much more detail.
- The boat must be moving at a slow trolling speed to see fish arches. If the boat is motionless, fish stay in the cone, showing on the screen as straight horizontal lines.
NOISE
A major cause of sonar problems is electrical noise. This usually appears on the sonar's display as random patterns of dots or lines. In severe cases, it can completely cover the screen with black dots, or cause the unit to operate erratically, or not at all.
To eliminate or minimize the effects of electrical noise, first try to determine the cause. With the boat at rest in the water, the first thing you should do is turn all electrical equipment on the boat off. Make sure the engine is also off. Turn your sonar on, then turn off Noise Reject [also known as the ASP feature (Advanced Signal Processing)]. Sensitivity should be set at 90-95 percent. There should be a steady bottom signal on the display. Now turn on each piece of electrical equipment on the boat and view the effect on the sonar's display. For example, turn on the bilge pump and view the sonar display for noise. If no noise is present, turn the pump off, then turn on the VHF radio and transmit. Keep doing this until all electrical equipment has been turned on, their effect on the sonar display noted, then turned off.
If you find noise interference from an electrical instrument, trolling motor, pump, or radio, try to isolate the problem. You can usually reroute the sonar unit's power cable and transducer cable away from the wiring that is causing the interference. VHF radio antenna cables radiate noise when transmitting, so be certain to keep the sonar's wires away from it. You may need to route the sonar unit's power cable directly to the battery to isolate it from other wiring on the boat.
If no noise displays on the sonar unit from electrical equipment, then make certain everything except the sonar unit is turned off, then start the engine. Increase the RPM with the gearshift in neutral. If noise appears on the display, the problem could be one of three things; spark plugs, alternator, or tachometer wiring. Try using resistor spark plugs, alternator filters, or routing the sonar unit's power cable away from engine wiring. Again, routing the power cable directly to the battery helps eliminate noise problems. Make certain to use the in-line fuse supplied with the unit when wiring the power cable to the battery.
When no noise appears on the sonar unit after all of the above tests, then the noise source is probably cavitation. Many novices or persons with limited experience make hasty sonar installations which function perfectly in shallow water, or when the boat is at rest. In nearly all cases, the cause of the malfunction will be the location and/or angle of the transducer. The face of the transducer must be placed in a location that has a smooth flow of water at all boat speeds. Read your transducer owner's manual for the best mounting position.
Notes
Notes
Notes
EAGLE ELECTRONICS FULL ONE-YEAR WARRANTY
"We," "our," or "us" refers to EAGLE ELECTRONICS, a division of LEI, the manufacturer of this product. "You" or "your" refers to the first person who purchases this product as a consumer item for personal, family, or household use.
We warrant this product against defects or malfunctions in materials and workmanship, and against failure to conform to this product's written specifications, all for one (1) year from the date of original purchase by you. WE MAKE NO OTHER EXPRESS WARRANTY OR REPRESENTATION OF ANY KIND WHATSOEVER CONCERNING THIS PRODUCT. Your remedies under this warranty will be available so long as you can show in a reasonable manner that any defect or malfunction in materials or workmanship, or any non-conformity with the product's written specifications, occurred within one year from the date of your original purchase, which must be substantiated by a dated sales receipt or sales slip. Any such defect, malfunction, or non-conformity which occurs within one year from your original purchase date will either be repaired without charge or be replaced with a new product identical or reasonably equivalent to this product, at our option, within a reasonable time after our receipt of the product. If such defect, malfunction, or non-conformity remains after a reasonable number of attempts to repair by us, you may elect to obtain without charge a replacement of the product or a refund for the product. THIS REPAIR, OR REPLACEMENT OR REFUND (AS JUST DESCRIBED) IS THE EXCLUSIVE REMEDY AVAILABLE TO YOU AGAINST US FOR ANY DEFECT, MALFUNCTION, OR NON-CONFORMITY CONCERNING THE PRODUCT OR FOR ANY LOSS OR DAMAGE RESULTING FROM ANY OTHER CAUSE WHATSOEVER. WE WILL NOT UNDER ANY CIRCUMSTANCES BE LIABLE TO ANYONE FOR ANY SPECIAL, CONSEQUENTIAL, INCIDENTAL, OR OTHER INDIRECT DAMAGE OF ANY KIND.
Some states do not allow the exclusion or limitation of incidental or consequential damages, so the above limitations or exclusions may not apply to you.
This warranty does NOT apply in the following circumstances: (1) when the product has been serviced or repaired by anyone other than us; (2) when the product has been connected, installed, combined, altered, adjusted, or handled in a manner other than according to the instructions furnished with the product; (3) when any serial number has been effaced, altered, or removed; or (4) when any defect, problem, loss, or damage has resulted from any accident, misuse, negligence, or carelessness, or from any failure to provide reasonable and necessary maintenance in accordance with the instructions of the owner's manual for the product.
We reserve the right to make changes or improvements in our products from time to time without incurring the obligation to install such improvements or changes on equipment or items previously manufactured.
This warranty gives you specific legal rights and you may also have other rights which may vary from state to state.
REMARKER: You must retain the sales slip or sales receipt proving the date of your original purchase in case warranty service is ever required.
EAGLE ELECTRONICS
PO BOX 669, CATOOSA, OK 74015
(800) 324-1354
How to Obtain Service...
...in the USA:
We back your investment in quality products with quick, expert service and genuine Eagle replacement parts. If you're in the United States and you have technical, return or repair questions, please contact the Factory Customer Service Department. Before any product can be returned, you must call customer service to determine if a return is necessary. Many times, customer service can resolve your problem over the phone without sending your product to the factory. To call us, use the following toll-free number:
800-324-1354
8 a.m. to 5 p.m. Central Standard Time, M-F
Eagle Electronics may find it necessary to change or end our shipping policies, regulations, and special offers at any time. We reserve the right to do so without notice.
...in Canada:
If you're in Canada and you have technical, return or repair questions, please contact the Factory Customer Service Department. Before any product can be returned, you must call customer service to determine if a return is necessary. Many times, customer service can resolve your problem over the phone without sending your product to the factory. To call us, use the following toll-free number:
800-661-3983
905-629-1614 (not toll-free)
8 a.m. to 5 p.m. Eastern Standard Time, M-F
...outside Canada and the USA:
If you have technical, return or repair questions, contact the dealer in the country where you purchased your unit. To locate a dealer near you, visit our web site, www.eaglesonar.com and click on Customer Support and then click Dealer Locator.
Accessory Ordering Information for all countries
To order Eagle accessories such as power cables or transducers, please contact:
1) Your local marine dealer or consumer electronics store. Most quality dealers that handle marine electronic equipment or other consumer electronics should be able to assist you with these items.
To locate an Eagle dealer near you, visit our web site, www.eaglesonar.com and look for the Dealer Locator. Or, you can consult your telephone directory for listings.
2) U.S. customers: LEI Extras Inc., PO Box 129, Catoosa, OK 74015-0129
Call 1-800-324-0045 or visit our web site www.lei-extras.com.
3) Canadian customers can write: Lowrance/Eagle Canada, 919 Matheson Blvd. E. Mississauga, Ontario L4W2R7 or fax 905-629-3118.
Shipping Information
If it becomes necessary to send a product for repair or replacement, you must first receive a return authorization number from Customer Service. Products shipped without a return authorization will not be accepted. When shipping, we recommend you do the following:
- Always use the original shipping container and filler material the product was packed in.
- Always insure the parcel against damage or loss during shipment. Eagle does not assume responsibility for goods lost or damaged in transit.
- For proper testing, include a brief note with the product describing the problem. Be sure to include your name, return shipping address and a daytime telephone number.
Visit our web site:

www.eaglesonar.com

Successful Fishing Made Simple™
Eagle Pub. 988-0143-641
Printed in USA 092402
© Copyright 2002
All Rights Reserved
Eagle Electronics
EasyManual