SRX 210 - Scooter SCOTT - Free user manual and instructions
Find the device manual for free SRX 210 SCOTT in PDF.
Questions des utilisateurs sur SRX 210 SCOTT
0 question sur cet appareil. Repondez a celles que vous connaissez ou posez la votre.
Poser une nouvelle question sur cet appareil
Download the instructions for your Scooter in PDF format for free! Find your manual SRX 210 - SCOTT and take your electronic device back in hand. On this page are published all the documents necessary for the use of your device. SRX 210 by SCOTT.
USER MANUAL SRX 210 SCOTT
Anti-Shock Mechanism
Telephone Mute Function
4x40 W High Power Output

USER MANUAL AND INSTALLATION INSTRUCTIONS
CONTENTS
CONTENTS. GB-1
ACCESSIONS. GB-2
PRECAUTION. GB-3
INSTALLATION. GB-4
USING THE DETACHABLE FRONT PANEL GB-7
WIRING DIAGRAM. GB-8
OPERATIONS. 1
LOCATION AND FUNCTION OF KEYS . GB-9
GENERAL OPERATIONS GB-10
RADIO OPERATIONS GB-14
RDS (RADIO DATA SYSTEM) OPERATIONS . GB-15
CD/MP3/WMA DISC OPERATIONS. GB-17
MIXED-MODE CD OPERATIONS. GB-19
SD/MMC MEMORY CARD OPERATIONS. GB-20
USB OPERATIONS GB-21
AUX IN OPERATIONS. 1
DISC NOTES. GB-22
SPECIFICATIONS. .GB-24
TROUBLESHOOTING. GB-25
ACCESSIONS

Mounting Bracket (Half Sleeve) X1

Removable Trim Ring equipped on the unit X1

Small metal Strip X1

Plain Washer X1

Spring Washer X2

Tapping Screw X1

Screw X4

Hex Nut X1

Mounting Bolt X1

Release Key X2

USB Adaptor Cable X1

ISO Wire Connector X1

Protective Case X1

Removable Control Panel X1

User Manual X1
PRECAUTION
This unit is designed and manufactured with the user's safety in mind, however any improper use or operation may result in certain dangers. It is therefore highly recommended to read this manual thoroughly and adhere to the following precautions.
SAFETY PRECAUTIONS
To prevent an electrical shock, do not open the housing of the unit. In any case of malfunctioning, only have the unit serviced by an approved and qualified service centre.
Do not expose to any water or to a very humid environment. Do not operate the unit when your hands are wet as this may cause a short circuit.
For safe driving, keep the volume low in order to concentrate on traffic conditions.
Do not clean the unit with alcohol, only clean with a soft dry cloth.
If the unit has been kept at a high temperature or in a high humidity environment, cool down the car interior before turning on the unit.
Do not use the unit for a long time without running the vehicle engine, it may drain the battery and the vehicle engine may not be able to start.
Before final installation in the dashboard opening, first connect the wiring and make sure the unit is working properly.
Only use parts provided with the unit to ensure proper installation.
Do not route wiring in places that the heat may melt the wiring insulation.
When replacing the fuse, ensure that the new fuse has the capacity recommended by the manufacturer.
OPERATION PRECAUTIONS
Do not operate the player with scratched, bent or broken discs. When a disc is not loaded properly, do not force it into the disc loader.
Never insert any other objects into the disc loader like a coin or pin, etc as this may cause damage or a short circuit.
Do not use different disc formats other than 12cm round discs.
If the unit is disconnected to the battery, it will lose memorized data.
If the source disc has poor sound quality due to scratches, dirt or a bad recording, the playback sound quality may be poor.
Installation
Notes:
- Choose the mounting location where the unit will not interfere with the normal driving function of the driver.
- Before finally installing the unit, connect the wiring and make sure that the unit works properly.
- Consult with your nearest dealer if installation requires the drilling of holes or other modifications of the vehicle.
- Install the unit where it does not get in the driver's way and cannot injure the passenger if there is a sudden stop, like an emergency stop.
- If installation angle exceeds 30^ from horizontal, the unit may not perform properly.

- Avoid installing the unit where it would be subject to high temperatures, such as from direct sunlight, hot air, or a heater, or where it would be subject to dust, dirt or excessive vibration.
Remove the CD mechanism transit screw before installation
Before installing the unit, remove the two screws labelled "REMOVE SCREW".

Installation Opening
This unit can be installed in any dashboard having an opening as shown below (DIN standard):

Installing the unit
Be sure you test all connections first, and then follow these steps to install the unit.
- Make sure the ignition is turned off, and then disconnect the cable from the vehicle battery's negative (-) terminal.
- Disconnect the wire harness and the antenna.
- Press the OPEN (▲) button to remove the control panel (For details, refer to 'USING THE DETACHABLE FRONT PANEL').
- Lift the top of the outer trim ring then pull it out to remove it.
- Use the two supplied release keys to remove the unit from the mounting bracket. Insert the left ("L") and right ("R") release keys as far as they will go (with the notches facing up) into the appropriate slots at the middle left and right sides of the unit. Then slide the sleeve off the back.

- Mount the sleeve by inserting the sleeve into the opening of the dashboard and bend out the tabs located around the sleeve with a screwdriver. Not all tabs will be able to make contact, so examine which ones will be most effective. To secure the sleeve in place, bend out the appropriate tabs so that they make contact with the dashboard.

- Reconnect the wire harness and the antenna and be careful not to pinch any wires or cables.
-
If necessary, use the supplied metal strap to secure the back of the unit in place. Use the supplied hardware (Hex Nut (M5mm) and Spring Washer) to attach one end of the strap to the mounting bolt on the back of the unit. If necessary, bend the metal strap to fit your vehicle's mounting area. Then use the supplied hardware (Tapping Screw (M5x25mm) and Plain Washer) to attach the other end of metal strap to a solid metal part of the vehicle under the dashboard. This metal strap also helps ensure proper electrical grounding of the unit.
-
Slide the unit into the sleeve until it locks into place.
Ensure that you install the short part of the threading to the back of the unit and the long part to the metal strap.

- Reconnect the cable to the vehicle battery's negative (-) terminal. Then replace the outer trim ring and install the unit's front panel (see the steps of 'TO ATTACH THE FRONT PANEL').
Dismantling the unit
- Make sure the ignition is turned off, and then disconnect the cable from the vehicle battery's negative (-) terminal.
- Press the OPEN (▲) button to remove the front panel.
- Lift the top of the outer trim ring then pull it out to remove it.
- Insert both of the supplied keys into the slots at the middle left and right sides of the unit then pull the unit out of the dashboard.
- Remove the metal strap attached to the back of the unit (if attached).

USING THE DETACHABLE FRONT PANEL
REMOVING AND PROTECTING DETACHABLE FRONT PANEL
The front panel of the unit may be removed as a theft deterrent. After removing the front panel, use the case provided to keep the front panel from getting damaged.
- Press the OPEN button to flip down the front panel.
- Grasp the right side of the front panel, then gently push the front panel towards the left side before pulling it out from the unit.
- Store the front panel in the protective case provided for safe keeping.




TO ATTACH THE FRONT PANEL
Hold the right side of the front panel with the plate facing down.
First attach the left side of the front panel to the unit by inserting the hole into the left holder.
Then slightly push it to the left and attach the right side hole into the right holder.
Finally push up the front panel.
Wiring Diagram

ISO connector:
Part A:
A1: No Connect
A2: No Connect
A3: No Connect
A4: Battery B+ (Yellow)
A5: Antenna (Blue)
A6: No Connect
A7: Accessory (Red)
A8: Ground B- (Black)
Part B:
B1: Rear Right + (Violet)
B2: Rear Right - (Violet/Black)
B3: Front Right + (Grey)
B4: Front Right - (Grey/Black)
B5: Front Left + (White)
B6: Front Left - (White/Black)
B7: Rear Left + (Green)
B8: Rear Left - (Green/Black)
Operations
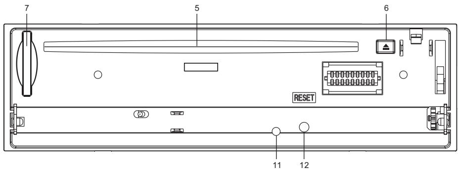
Location and Function of Keys

Front panel:

The front facet after removing the front panel:
Descriptions of Function Controls
(1) Power on/off ( ) Button
(2) LCD display
(3) Volume/select Button
(4) Open ( ) Button
(5) Disc slot
(6)Eject () key
(7) SD/MMC Memory Card Slot
(8) USB Port
(9) MODE Button
(10)DISP(Display)Button
(11) Anti-theft LED Indicator
(12) RESET Button
(13) BAND Button (select a frequency band/loudness)
(14) Preset Station (1-6) Buttons
(15) AMS (Auto-storage/ Preset memory Scan)
(16) UP (▶) Button
Tune up, Seek up,
track up, fast forward
(17) DOWN (▶) Button Tune down, Seek down, track down, fast reverse
(18) AF/REG Button
(19)TA Button
(20) PTY Button
(21) EQ (Preset Equalizer) Button
(22) II (Play/Pause)/1 Button
(23) SCN (Scan)/2 Button
(24) RPT (Repeat) / 3 Button
(25) SHF (Shuffle)/4 Button
(26) Previous Folder / 5 Button
(27) Next Folder / 6 Button
(28) AUX Input Jack
General Operations
Reset the unit
When operating the unit for the first time, after replacing the car battery or changing the connections, you must reset the unit.
- Turn off the unit power.
- Press the OPEN ( ) button and remove the front panel, then press the RESET button with a ballpoint pen or similar object to restore the unit to the original factory settings.
Power on/off
In power off mode, switch on the unit by pressing any button except the OPEN button and the EJECT(▲) button or inserting a disc into the slot. When the system is on, press the POWER (Φ) button to turn off the unit.
Sound adjustment
- Rotate the volume/select button to adjust volume level.
- Press the volume/select button repeatedly to select the sound setting that you would like to adjust: volume, bass, treble, balance or fader. Rotate the volume/select button to adjust the level of the selected sound mode:
VOL: from 00 to 100 (50 levels)
- BAS (bass) / TRB (treble): from -10 to +10
- BAL (Balance): 10L, 9L, , L = R, , 9R, 10R. Note: L = left, R = right.
- FAD (Fader): 10F, 9F, , F=R, , 9R, 10R. Note: F=front; R=rear.
Note:
In each mode, when the unit has not been adjusted for about 5 seconds, the current setting will be saved and it will return to the previous mode.
System setup menu
Press the volume/select button and hold for more than 2 seconds to access the system setup menu mode, then press the SEL button to select the menu item in sequence as follows:
"TA SEEK or TAALARM" "PI SOUND or PI MUTE" "RETUNE L or RETUNE S" "MASK DPI or MASK ALL" "BEEPS 2^ND , BEEP ALL, BEEP OFF"
After selecting the desired menu item, rotate the volume/select button to make the adjustment.
"TA SEEK or TA ALARM" (search for traffic announcement/traffic announcement alarm)
- TA SEEK (traffic announcement search) mode:
When a newly tuned station does not receive traffic information for 5 seconds, the radio retunes to next station which has a different PI and which broadcasts traffic information.
If, during the chosen retune time (30 seconds for a short retune or 90 seconds for a long retune), the unit can no longer receive the current station which was broadcasting traffic information, it will start to search for the next station that has the same PI. If no station with the same PI is found after one search cycle, the radio will search for the next station broadcasting traffic announcements.
-TA ALARM mode:
Select this mode to switch off the automatic retune. The radio will then emit a double beep sound (ALARM).
If a newly tuned station does not broadcast any traffic information for 5 seconds, a beep can be heard.
If the unit can no longer receive the current station during the chosen retune time, a beep sound can also be heard.
If a newly tuned station has no RDS signal, the message "PI SEEK" disappears.
Note: TP: Traffic Program.
PI: Program Identification.
"PI SOUND or PIMUTE":
In some regions, there is a possibility of having two different stations with the same frequency but different PI codes.
If "PI SOUND" is selected, radio will switch to the new station with a different PI for a few seconds before switching back to the current station that was broadcast initially.
If "PI MUTE" is selected, the radio will not broadcast the new station that is received.
"RETUNE L or RETUNE S" (long/short retune):
This function allows you to set the duration after which the automatic search for traffic information or a station with an identical PI should be carried out.
- RETUNE L mode: The automatic search will take place after 90 seconds.
- RETUNE S mode: The automatic search will take place after 30 seconds.
"MASK DPI or MASK ALL":
Any alternative frequency (AF) with a different PI or which does not broadcast an RDS signal that is strong enough will normally be masked when the PI is checked while the unit searches for an alternative frequency. The unit will not automatically go to this type of alternative frequency. It is possible that an AF which does not broadcast a strong enough RDS signal is a valid AF, but that the car radio wrongly considers it as a station with a different PI due to interference. For this reason, the unit offers the user an option (MASK DPI) which does not mask the AFs which do not broadcast a strong RDS signal.
-MASK DPI mode:
Only masks the alternative frequencies with a different PI.
- MASK ALL mode:
Masks alternative frequencies with a strong signal that have a different PI or which do not emit a strong enough RDS signal.
"BEEPS 2^ND ", "BEEP ALL", "BEEP OFF"
The car audio device is equipped with 3 beep tone modes.
- Beep 2nd mode: The beep sound will be heard when you hold down a button with a dual function, which activates the second function of this button.
- Beep on mode: The beep sound is on when any key is pressed.
- Beep off mode: The beep sound is disabled.
Preset Equalizer
The car audio device is equipped with 4 preset equalizer modes. Press the EQ button to select one of the following EQ modes: "FLAT" "CLASSICS" "POP M" "ROCK M" "DSP OFF".
Loudness ON/ OFF
Press and hold down the BAND button to turn the loudness function on or off.
To select playback mode
In power on mode, press MODE button repeatedly to select the different modes in the following sequence: RADIO, CD (with a disc inside the disc slot), USB(with USB device inserted), SD/MMC(with SD/MMC card inserted), AUX in mode.
Last position memory feature
- During disc, USB, SD/MMC card playback, if you turn off the unit and then switch on it, the unit will resume playing from the point that it was interrupted.
- During disc, USB, SD/MMC card playback, if you switch to other mode, and then return the previous mode again, the unit will resume playing from the point that it was interrupted.
INFORMATION DISPLAY
Press the DISP button repeatedly to display as follows:
- When receiving an RDS station:
In radio mode: CT -> PTY(Type of program) -> PS (Name of the station) -> FREQUENCY ->
In CD/USB/SD/MMC mode: CT-> PTY(Type of program) -> FREQUENCY ->PS -> Track number /Running time or other information
- If the unit does not receive CT or PTY information, the display shows “NO CLOCK” or “PTY NONE”.
- When receiving a non RDS station:
In radio mode:NO CLOCK->PTY NONE-> PS NONE ->FREQUENCY ->
In CD/USB/SD/MMC mode: NO CLOCK -> PTY NONE -> FREQUENCY -> PS NONE -> Track number /Running time or other information
The selected information is displayed for 5 seconds, then the radio goes back to the first display mode after 5 seconds.
TEL Mute
The audio system automatically mutes whenever a telephone call comes in.
Note: the function will not work if a cable is not connected to the car phone.
1. When a call comes in
When a call is received, 'TEL CALL' is displayed and all the unit functions are temporarily interrupted.
2. When the call ends
Hang up the phone.
'TEL CALL' disappears from the display.
The unit returns to the previous state and the volume returns to the previous level.
ESP Function
This unit has the electronic shockproof feature. So that if the unit skips due to rough road conditions, the playback of the disc, USB or SD/MMC card will be uninterrupted.
Anti-theft LED Indicator
Designed as a theft deterrent, the red LED will flash when the unit is turned off and the front panel is removed.
Radio Operations
Press the MODE button to select the radio mode.
To select a radio band
In radio mode, Press the BAND button repeatedly to select one of the three radio broadcasting bands:
->FM1->FM2->FM3->.
Auto/ Manual tuning (in 50KHz steps)
Automatic search mode:
Press the or button briefly to launch the automatic search forwards or backwards. The message "SEARCH" appears on the LCD display. The radio will search up or down for a strong signal radio station within the current band.
Press and hold the or button until "MANUAL" appears on LCD display, it will change into manual searching mode.
- Manual search mode:
Press the or button repeatedly to manually search upward or downward step by step for the desired radio station within the current band. For fast manual searching, press and hold the or button.
In manual search process, if neither of the both buttons have been pressed within 5 seconds, the radio will go to automatic search mode automatically. "AUTO" appears on the LCD display.
To store / recall a preset radio stations
You can store up to a total of 18 radio stations in the memory (18 FM), manually or automatically.
- To store a station:
- Select a band (if needed)
- Select a station by or buttons, refer to auto / manual tuning.
- Hold a Preset button (1-6) for at least 2 seconds.
- To recall a station:
- Select a band (if needed).
- Press a preset button (1-6) briefly to recall the stored station. In case of RDS mode, the strongest AF is selected after AF searching.
Auto store / Preset scan
- Preset scan:
Press the AMS button to scan each preset station. If the field strength level is more than the threshold level, the radio will hold at this preset station for 5 seconds with sound output, then go to next station until all 6 FM stations are scanned, finally the radio will play at the preset station where scanning started. The preset station number on the LCD will flash during the process. Press the AMS again to stop preset scan.
- Auto store:
Press the AMS button for more than 2 seconds to start auto store. The radio will scan from the lowest frequency, and automatically store the 6 strongest stations into the preset memories. When auto store is complete, the radio will start a preset scan of the 6 stations which it has just stored.
RDS (Radio Data System) Operations
The RDS data are the PI, PS, TP, PTY, TA and AF data.
PI (Program identification): Code for identifying the radio station.
PS (Program service): Name of the radio station.
PTY (Program type): Type of program such as news, Pop music, sports etc.
TP (Traffic program): Code indicating a station broadcasting traffic information.
TA (Traffic announcement): Function allowing the broadcasting of traffic information.
AF (Alternative frequencies): Function allowing an automatic search for the best alternative frequency available.
SETTING AF MODE
Briefly press the AF/REG button to switch AF mode on or off.
When AF is switched on, "AF" appears on the LCD display.
If the reception becomes bad, "AF" will blink and the tuner will return to alternative frequencies.
When an emergency broadcasting is received, the message "ALARM" will appear on the LCD display.
The volume level will be automatically adjusted to the preset output level when the volume is set to a lower level.
Regional Program Operation
Press the AF/REG button for 2 seconds to switch the region mode on or off.
Some broadcasting stations change their program from normal broadcasting to regional broadcasting for a certain time period.
When region is on, the current listening program remains unchanged. When region is off, it allows the reception moved to the regional station.
Using PTY to select a program
The PTY function allows you to search for a particular program type. To select a program type, press the PTY button. "POP M" (pop music) or "NEWS" will appear on the LCD display. You can then select a program type using the preset buttons 1 to 6. The program types are divided into two groups: the music PTY group and the speech PTY group:
HINT:
When you choose MUSIC PTY GROUP, the preset number buttons 1-6 correspond to the following programs:
| Preset number | Music PTY Group |
| 1 | POP M, ROCK M |
| 2 | EASY M, LIGHT M |
| 3 | CLASSICS, OTHER M |
| 4 | JAZZ, COUNTRY |
| 5 | NATION M (national music), OLDIES |
| 6 | FOLK M |
When you select the SPEECH PTY GROUP, the preset numbered buttons is shared as follows:
| Preset number | Speech PTY Group |
| 1 | NEWS, AFFAIRS, INFO |
| 2 | SPORT, EDUCATE, DRAMA |
| 3 | CULTURE, SCIENCE, VARIORED |
| 4 | WEATHER, FINANCE, CHILDREN |
| 5 | SOCIAL, RELIGION, PHONE IN |
| 6 | TRAVEL, LEISURE, DOCUMENT |
When you select a program type, the tuner will search for a station broadcasting this type of program. The tuner will stop searching if it finds the relevant program type. If the radio does not find a station broadcasting the type of program selected, the text "PTY NONE" is displayed for 5 seconds and the previous station is broadcast.
Listening to Traffic Announcement
It is possible to program the car radio so that it interrupts disc mode, radio mode, AUX mode or the current radio station when a traffic announcement is broadcast.
Briefly press the TA button to switch TA mode on or off. When TA mode is on, the unit automatically broadcasts available traffic announcements. To interrupt a traffic announcement without switching off the TA mode, briefly press the TA button. The radio will then return to the previous operating mode. Hold down the TA button to select "EON TA LOCAL" (EON local stations) or "EON TADX" (EON distant stations).
If you select "EON TA LOCAL", only traffic announcements from stations with strong signals will be emitted. If you select "EON TADX", all traffic announcements received will interrupt disc mode, AUX in mode or radio mode.
CD/MP3/WMA Disc Operations
Press the MODE button to select the disc mode.
Loading/Removing a Disc
- Press the OPEN (▲) button on the front panel to flip down the front panel and then insert a disc into the disc slot with the printed side facing upward; and close the front panel, the player will play the disc automatically.
- To eject the disc, press the OPEN (▲) button to open the front panel and then press the EJECT (▲) button.
Playing/Paising
- During playback, press the button to interrupt the playback. Press again to resume the playback.
Playing the previous/ next track
- During playback, press the button to play the next track. The track number shows on the LCD display.
- During playback, press the button to play the previous track. The track number shows on the LCD display.
Playing forward and backward
During playback, press and hold the or button to fast forward or fast reverse.
Release the buttons when the desired location is found, and normal playback starts.
Go to the previous / next directory
During MP3/WMA playback, press the 5 or 6 button to select the previous or next directory. If the MP3 disc does not contain any directories, this function will not be available.
Introduction playback
You can play the beginning of every track for 10 seconds in sequence.
In CD/MP3/WMA file playback, briefly press the SCN button to play the first 10 seconds of each track.
Press it again to stop scanning and play the current track.
Repeat playback
In CD/MP3/WMA files playback, briefly press the RPT button to continuously play the current track.
Press again to stop repeat playback and resume normal playback.
Random playback
In CD/MP3/WMA file playback, briefly press the SHF button to play all tracks of the disc in random sequence.
Press again to cancel random playing.
How to select a file in MP3/WMA mode:
There are four ways to access a file in MP3/WMA mode:
Searching by track number Searching by directory name or file name Searching in the root directory Searching in the current directory
Searching by track number:
a) Press the AMS button once to access the track number search mode. The message "MP3 T " will be shown on the LCD display and the " symbol will blink.
b) Rotate the volume/select button to select a file number.
Then press the BAND (ENTER) button to confirm and play the selected file.
c) You can also input the file number directly by pressing the corresponding buttons listed as below:
| Key | Corresponding number | Key | Corresponding number |
| 1 | 1 | 6 | 6 |
| 2 | 2 | MODE or PTY | 7 |
| 3 | 3 | or TA | 8 |
| 4 | 4 | or AF | 9 |
| 5 | 5 | DISP or | 0 |
Next press the BAND (ENTER) button to confirm and play the selected file.
Searching by directory name or file name:
a) Press the AMS button twice, the *symbol will blink on the LCD display.
b) Rotate the volume/select button to select the character that blinks. The following characters are available: “A” to “Z”, “0” to “9”, “_”, “-”, “+”. Press the volume/select button to confirm and the next character will blink.
c) You can also input the file name directly by pressing the corresponding buttons listed as below:
| Key | Corresponding number | Key | Corresponding number |
| 1 | A, B, C, 1 | MODE or PTY | S, T, U, 7 |
| 2 | D, E, F, 2 | or TA | V, W, X, 8 |
| 3 | G, H, I, 3 | or AF | Y, Z, space, 9 |
| 4 | J, K, L, 4 | DISP or ( ) | _, -, +, 0 |
| 5 | M, N, O, 5 | Volume/select button | A-Z, space 0-9, _, -, + |
| 6 | P, Q, R, 6 |
d) After you have entered the title of a file, press the BAND (ENTER) button to confirm. The unit searches for files and directories which have the same character as the one which you entered. If the unit finds a file or directory with this name, play starts automatically. If no file corresponding to your search is found, the message "NOT FOUND" will be displayed. If the selected name is a directory, you can go into it by pressing the AMS button. Then rotate the volume/select button to select a file. Finally, press the BAND (ENTER) button to confirm and play the selected track.
Searching in the root directory
a) Press the AMS button three times to access the root directory. The first directory name is shown on the LCD display.
b) Rotate the volume/select button to navigate through the directory list, then press the BAND (ENTER) button to select your desired directory. If there is no root directory in the disc, USB or SD/MMC card, the LCD will display "ROOT".
c) Rotate the volume/select button to select a file, then press the BAND (ENTER) button to confirm.
Searching in the current directory:
a) Press the AMS button four times to search for your desired tracks or files in the current directory.
b) Rotate the volume/select button to browse through the current directory. Press the BAND (ENTER) button to confirm your choice and play the selected file. If the selected file is a directory, you can enter it by pressing the AMS button. Then rotate the volume/select button to select a file.
Finally, press the BAND (ENTER) button to confirm your choice and play the selected file.
Mixed-Mode CD Operations
This unit can play mixed-mode CD discs (discs containing both CD audio tracks and MP3/WMA files).
When you insert a mixed-CD disc into the disc slot, the unit starts to play the CD audio tracks. Most operations are the same as for CD/MP3 disc operation.
If you want to switch between CD audio tracks and MP3/WMA files or vice-versa, press and hold down the 5 or 6 button.
SD/MMC Memory Card Operations
Using the SD/MMC card:
When you insert a SD/MMC card into the memory card slot, the player will read the SD/MMC card automatically.
If you insert a disc into the disc slot while reading the SD/MMC card, the unit will play the disc.
You can press MODE button to select SD/MMC mode.
SD/MMC memory card playback operation is the same with the CD/MP3/WMA disc operations described above.
Note:
- When reading the memory card, please don't touch or take out the card.
- If following the instruction above, the unit can't read the card, please check if the card is in good condition, or take out the card and then insert it into the card slot once more.
USB Operations
Using the USB stick:
When you insert a USB stick through the port, the unit will search for the MP3/WMA files and start to play them automatically. If you insert a disc into the disc slot while reading the USB stick, the unit will play the disc.
You can press MODE button to select USB mode.
Note:
- Use the USB adaptor cable, if necessary.
- The operations of playing MP3/WMA files in the USB is the same as the MP3/WMA operation described in the CD/MP3/WMA disc operations.
- When reading the USB stick, please don't touch or remove it.
- If following the instruction above, the unit can't read the file in the USB stick, please check if the device is in good condition, or take it out then insert it into the USB port once more.
- The main unit can only support the standard USB-memory device.
- USB MP3 player is not a standard which means different brand name or different models have their own standard.
So this product cannot support all MP3 players.
- When connecting an MP3 player and there is a normal battery in the player (non rechargeable battery), you should remove the battery from the MP3 player and then connect it to the USB port. Otherwise, it may cause battery burst.
- When reading a USB device, be sure not to remove it from the USB port (change mode beforehand).
Aux In Operations
This system has an external input jack, so you can listen to music from external devices connected to this unit. Press the MODE button to switch to the AUX mode on or off.
DISC NOTES
A. Notes on discs:
- Attempting to use non-standard shape discs (e.g. square, start, and heart) may damage the unit. Be sure to use round shape CD discs only for this unit.
- Do not stick paper or tape, etc, onto the label side or the recording side of any discs, as it may cause a malfunction. Dirty, dusty, scratched and warped discs will cause a malfunction.
B. Notes on CD-Rs (recordable CDs)/CD-RWs (rewritable CDs):
- Be sure to use discs with following marks only for the unit to play:



- The unit cannot play a CD-R and CD-RW that is not finalized. (Please refer to the manual of your CD-R/CD-RW recorder or CD-R/CD-RW software for more information on finalization process).
- Depending on the recording status, conditions of the disc and the equipment used for the recording, some CD-Rs/CD-RWs may not be played on this unit (see *1).
*1: To have more reliable play back, please see following recommendations:
a. Use CD-RWs with speed 1x to 4x and write with speed 1x to 2x.
b. Use CD-Rs with speed 1x to 8x and write with speed 1x to 2x.
c. Do not play a CD-RW which has been written more than 5 times.
d. The car radio supports discs which comply with the ISO 9660 level 1 or level 2 format, or the Joliet or Romeo format.
C. Notes on MP3 files
- When naming a MP3 file, be sure the file name extension is 'MP3'.
- For a non-MP3 file, even though the file name extension is 'MP3', the unit cannot recognize it.
D. Handling and Cleaning
- Dirty, dusty, scratched and warped discs will cause malfunctions.
- Do not place stickers or make scratches on discs.
- Do not warp discs.
- A disc should always be kept in its case when not in use to prevent from damage.
-
Do not place discs in the following places:
-
Direct sunlight.
-
Dirty, dusty and damp areas.
-
Near car heaters.
- On the seats or dashboard.
Disc Cleaning
Use a dry soft cloth to wipe the surface. If the disc is quite dirty, Use a soft cloth slightly moistures with isopropyl (rubbing) alcohol. Never use solvents such as benzene, thinner or conventional record cleaners as they may damage the surface of the disc.
Note:
A disc may become somewhat scratched (although not enough to make it unusable) depending on the way it is handled and conditions in the usage environment. Note these scratches are not an indication of any problem with the player.


Do not touch the underside of the disc

Do not bend

Wipe the disc from center toward the outside edge
E. Precautions when using new discs
A new disc may have irregularities. It will sometimes be necessary to remove these rough edges in advance by using a ballpoint pen or pencil as shown in the illustration.

Rough spots on outside edge
Rough spots on inside edge
Specifications
1. GENERAL
Power Supply Requirements. DC 12 Volts, Negative Ground
Unit Dimensions. 178(W) x 160(D) x 50(H) mm
Tone Controls. Bass (at 100 Hz) ±10 dB
- Treble (at 10 KHz) ±10 dB
Maximum Output Power. 4x40 watts
Nominal Output Power. 4 x15 watts (r.m.s.)
Power consumption. 15 Ampere (max.)
2. CD PLAYER
Signal to Noise Ratio. >55 dB
Channel Separation. >40 dB
Frequency Response. 40Hz - 18 KHz
Audio output (RCA). 1.5Vrms+ -0.3V 10K Ω
Discs/files played. CD-DA,CD-R/RW/MP3/WMA
3. RADIO
FM
Frequency Range. 87.5 - 108.0 MHz
IF. 10.7 MHz
Sensitivity (S/N=30dB) 4μV
S/N ratio. 55dB(mono)
Stereo separation. 30 dB (65dBu, 1KHz)
4.USB/SD/MMC card
USB Port type 1.1 or 2.0
USB Port Maximum Handling Capacity 32GB
SD/MMC Card Slot Maximum Handling Capacity. 32GB
TroubleShooting
| Symptom | Cause | Solution |
| No power | The car ignition switch is not on. | Turn the ignition key to “ACCESSION” in order to switch the unit on. |
| The connections are not correct. | Check the connections. | |
| A fuse has blown in the vehicle | Check the vehicle fuses. | |
| The fuse at the back of unit has been blown. | ||
| Disc can not be loaded or ejected. | Presence of CD disc inside the player. | Remove the disc from the player, and insert a new one. |
| Inserting the disc in reverse direction. | Insert the CD with the label facing upward. | |
| The surface of CD is extremely dirty or scrapped. | Clean the disc or try to replace a new one. | |
| Temperature inside the car is too high. | Cool off or until the ambient temperature return to normal. | |
| Condensation | Leave the player off for an hour or so, and then try again. | |
| No sound | Volume is in minimum. | Adjust volume to a desired level. |
| The wiring is not properly connected. | Check wiring connection. | |
| Sound skips | The installation angle is more than 30°. | Adjust the installation angle less than 30°. |
| The surface of CD is extremely dirty or scratched. | Clean the disc or try to replace a new one. | |
| The operation keys do not work | 1. The built-in micro-processor is not operating properly due to electrical noise. | 1. Press the RESET button. |
| 2. The front panel is not properly installed. | 2. Fix the front panel into its place. | |
| No radio reception. | The antenna cable is not connected. | Insert the antenna cable firmly into the antenna socket of this CD player. |
| In automatic search mode the radio does not stop at a transmitting station. | The transmission signals are too weak. | Select a radio station manually. Check the antenna connection. |

If at any time in the future you should need to dispose of this product, please note that waste electrical product should not be disposed of with household waste. Please recycle where facilities exist. Check with Your Local Authority or retailer for recycling advice. (Waste Electrical and Electronic Equipment Directive)
EasyManual