G1500- G1300 - Elektrischer Zerkleinerer BRAUN - Kostenlose Bedienungsanleitung
Finden Sie kostenlos die Bedienungsanleitung des Geräts G1500- G1300 BRAUN als PDF.
Laden Sie die Anleitung für Ihr Elektrischer Zerkleinerer kostenlos im PDF-Format! Finden Sie Ihr Handbuch G1500- G1300 - BRAUN und nehmen Sie Ihr elektronisches Gerät wieder in die Hand. Auf dieser Seite sind alle Dokumente veröffentlicht, die für die Verwendung Ihres Geräts notwendig sind. G1500- G1300 von der Marke BRAUN.
BEDIENUNGSANLEITUNG G1500- G1300 BRAUN
Frankfurter Straße 145
61476 Kronberg / Germany





Deutsch
Unsere Produkte werden hergestellt, um höchste Ansprüche an Qualität, Funktionalität und Design zu erfällen. Wir wünschen Ihnen mit ihrem neuen Braun Gerät viel Freude.
Vorsicht
Lesen Sierette die Gebrauchsanweisung sorgfältig und vollständig,behor Sie das Gerät in Betriebnehmen.
- Dieses Gerät ist für die Verarbeitung haushaltsüblicher Mengen konstruiert.
- Kinder oder Personen mit eingeschränkten physischen, sensorischen oder geistigen Fähigkeiten dürfen these Gerät nicht benutzten, es sei dann, sie werden durch eine für ihre Sicherheit zuständige Person beaufsichtigt. Grundsätzlich raten wir aber, das Gerät von Kindern fern zu halten.
- Prufen Sie vor Inbetriebnahme, ob die auf dem Geräte angegebene Spannung mit ihrer Netz-spannung übereinstimmt.
- Das Motorteil ⑨ dart nicht unter fliebendes Wasser gehalten, ins Wasser getaucht und nicht auf nassem Untergrund betrieben werden.
- Insbesondere bei der Verarbeitung von dunnflüssigem Gut ist darauf zu achten, dass das Motorteil nicht nass wird (ggf. Netzsteckerziehen und das Motorteil reinigen und trockenwischen - siehe «Reinigung»).
- Braun Elektrogeräte entsprechen den einschlägigen Sicherheitsbestimmungen.
- Dieses Geratarfur von einer autorisierten Kundendienstelle zur Reparatur geöffnet werden.
- Durch unsachgemäße Reparaturen konnen erhebliche Gefahren für den Benutzer entstehen.
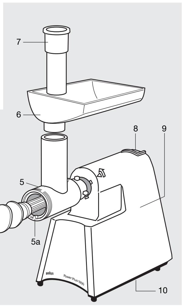
Gerätebeschreibung
① Verschlussring
② Lochscheibe
2a Nut in der Lochscheibe ②
③ Messer (rostfreier Edelstahl)
(4) Schnecke
⑤ Fleischwolf-Gehäuse mit Einfüllschacht
Nase im Fleischwolf-Gehäuse ⑤
⑥ Einfüllschale
⑦ Stopfer
⑧ Ein-/Ausschalter
⑨ Motorteil
Kabelaufwicklung
⑪ Kubbe-Vorsatz (nur bei Modell G 1500)
Wurstfuhl-Vorsatz (nur bei Modell G 1500)
Lochscheibe ②
3 Lochscheiben, Haushaltsgroße 5 (Lochdurchmesser 3mm 4,5 mm,8 mm).
Kubbe-Vorsatz ⑪ / Wurstfäll-Vorsatz ⑫
These Vorsätze können anstelle der Lochscheibe ② und des Messers ③ eingesetzt werden.
Überlastungsschutz
Wenn der Motor im eingeschalteten Zustand nicht lauft, bedeutet dies, dass der Überlastungsschutz angesprochen hat. In dieser fall ist der Motor abzuschalten, bis er abgekühlt ist (ca. 15 Minuten). Sollte nach dem Einsatzten der Motor nicht laufen, wiederholen Sie den Abkühlvorgang wie oben beschrieben. Aufbewährung des Gerätes nur bei abgeschalteten Motor und bei gezogenem Netzstecker.
Vor dem Gebrauch
Die Einzelteile des Fleischwolfs wurden im Werk mit einem schützenden Fettfilm versehen. Das Gerä
muss daher vor dem ersten Gebrauch gespüt werden (siehe «Reinigung»).
Zusammensetzen
- Reihenfolge der Teile ①-⑤ beachten.
Die scharfe Seite des Messers ③ muss zur Lochscheibe ② zeigen.
Die Nase ⑤ am Fleischwolf-Gehäuse ⑤ muss in die Nut ② der Lochscheibe ② geführt werden. - Nach dem Einsetzen der Teile (2) - (4) den Verschlussring ① auf das Fleischwolf-Gehäuse (5) schrauben und möglich festziehen.
Das zusammengesetzte Fleischwolf-Gehäuse ⑤ wird durch Bajonettverschluss mit dem Motorteil ⑨ verbunden. Das Fleischwolf-Gehäuse mit um 45^ im Uhrzeigersinn verdrehtem Einfüllschacht in das Motorteil schieren. Der Pfeil am Fleischwolf-Gehäuse muss mit dem waagerechten Pfeil am Motorteil übereinstimmen (A). Fleischwolf-Gehäuse in Richtung des senkrechten Pfeiles auf dem Motorteil gegen den Uhrzeigersinn drehen (A), bis der Einfüllschacht in senkrechter Position einrastet (B). Die Einfüllschale ⑥ auf den Einfüllschacht am Fleischwolf-Gehäuse ⑤ setzen.
Anwendung
Vor dem Einfelden von Fleisch, Fisch, Gemüse usw.
Motorteil einschalten. Dazu Schalter ⑧ drucken und einrasten setzen. Zum Abschalten den Schalter durch leichtes Drucken wieder ausrasten.
Vor der Verarbeitung von Fleisch, Sehnen und Knochen entfernen und das Fleisch in Streifen schreiben. Außer Fleisch konnen auch Fisch, Gemüse, Zwiebeln, eingeweichte Bröchten, gekochtte Kartoffeln, entsteinte Pflaumen für Pflaumenmus verarbeitet werden. Füllen Sie dasVBorbereitefte Fleisch oder Gemüse in die Einflüllschale 6 und drucken Sie es mit dem Stopfer ⑦ in den Einfüllschacht; niemals eine Gabel, einen Löffelstiel oder ähnliches verwenden. Wenn das Fleisch nicht mehr ge-schnitten, sondern nur gequetscht wird, prufen Sieitte, ob der Fleischwolf richtig zusammengesetzt ist (z. B. ein Teil wurde vergessen einzusetzen), oder säubern Sie Messer ③ und Lochscheibe ②.
Hinweis: Bei Gutern mit hoher Leistungsaufnahme wie z. B. Sonnenblumenkernen gemisch mit Haerflocken im Verhältnis 1:3 (ca. 800 W) ist eine Kurzbetriebszeit (KB) von 10 Sekunden zu beachten.
Bei Verwendung des Kubbe-Vorsatz 1 / Wurstfuhl-Vorsatz 2 muss das Fleisch vorher zweimal durchgemahlen werden.
Reinigung
Das Motorteil ⑨ nur mit einem feuchten Tuch abwischen und abtrocknen. Alle anderen Teile konnen in heiBem Wasser mit gebrachlichen Spulmitteln abgewaschen werden. Lochscheibe ② trocken wischen. Nicht in der Spulmaschine reinigen.
Aufbewahren
Zum Aufbewahren des Netzkabels dient die Kabelaufwicklung im Boden des Gerätes (C).
Änderungen vorbehalten.
Dieses Gerat entspricht den EU-Richtlinien EMV 2004/108/EG und Niederspannung 2006/95/EC.
Das Gerat darf am Ende seiner Lebensdauer nicht mit dem Hausmull entsorgt werden.
Die Entsorgung kann über den Braun Kundendienst oder lokal verfügbare Rückgabe- und Sammelstellen erfolgen.
English
Frankfurter Straße 145
61476 Kronberg / Germany
(49) 6173 30 0, Fax (49) 6173 30 28 75
(G 1500 Jds Jz)Kubbe Jd Jd Jd
L ⑫
(G 1500 Jdo
② ( x,y)
Lg (s)
()
/⑪Kubbe Lol
⑫
② | x - 2| = | x + 3| .
.1234567890
Als Hersteller übernehmen wir für diese Gerät – nach Wahl des Käufers zusätzlich zu den gesetzlichen Gewährleistungsansprüchen gegen den Verkäfere – eine Garantie von 2 Jahren ab Kaufdatum. Innerhalb dieser Garantiezeit beseitigewirn wir nach unserer Wahl durch Reparatur oder Austausch des Gerätes unentgeltlich alle Mängel, die auf Material- oder Herstellungsfehlern berufen. Die Garantie kann in allen Ländern in Anspruch genommen werden, in denen this Braun Gerät von uns autorisiert verkauf wird.
Von der Garantie sind ausgenommen: Schäden durch unsachgemäß Gebrauch, normaler Verschleß und Verbrauch sowie Mängel, die den Wert oder die Gebrauchstauglichkeit des Gerätes nur unherblich beeinflussen. Bei Eingriffen durch nicht von uns autorisierte Braun Kundendienstpartner sowie bei Verwendung anderer als Original Braun Ersatzteile erlischt die Garantie.
Im Garantiefall senden Sie das Gerät mit Kaufbelegitte an einen autorisierten Braun Kundendienst-. partner. Die Anschrift fur Deutschland konnen Sie kostenlos unter 00800/27 286463 erfragen.
English
Guarantee
Ring 020-21 33 21 für information om tatsächste Braun verkstad.
Suomi
Takuu
Name und vollständige Anschrift des Käufers
Stempel und Unterschrift des Handlers
Stempel und Unterschrift des Handlers
Notice-Facile