BM-G 800 E - Bohrmaschine EINHELL - Kostenlose Bedienungsanleitung

Finden Sie kostenlos die Bedienungsanleitung des Geräts BM-G 800 E EINHELL als PDF.

📄 34 Seiten Deutsch DE 💬 KI-Frage
Notice EINHELL BM-G 800 E - page 3
Handbuch anzeigen : Français FR Deutsch DE Suomi FI Italiano IT

Laden Sie die Anleitung für Ihr Bohrmaschine kostenlos im PDF-Format! Finden Sie Ihr Handbuch BM-G 800 E - EINHELL und nehmen Sie Ihr elektronisches Gerät wieder in die Hand. Auf dieser Seite sind alle Dokumente veröffentlicht, die für die Verwendung Ihres Geräts notwendig sind. BM-G 800 E von der Marke EINHELL.

BEDIENUNGSANLEITUNG BM-G 800 E EINHELL

Anleitung BM-G 800 E 29.10.2001 9:21 Uhr Seite 12

Anleitung BM-G 800 E 29.10.2001 9:21 Uhr Seite 34

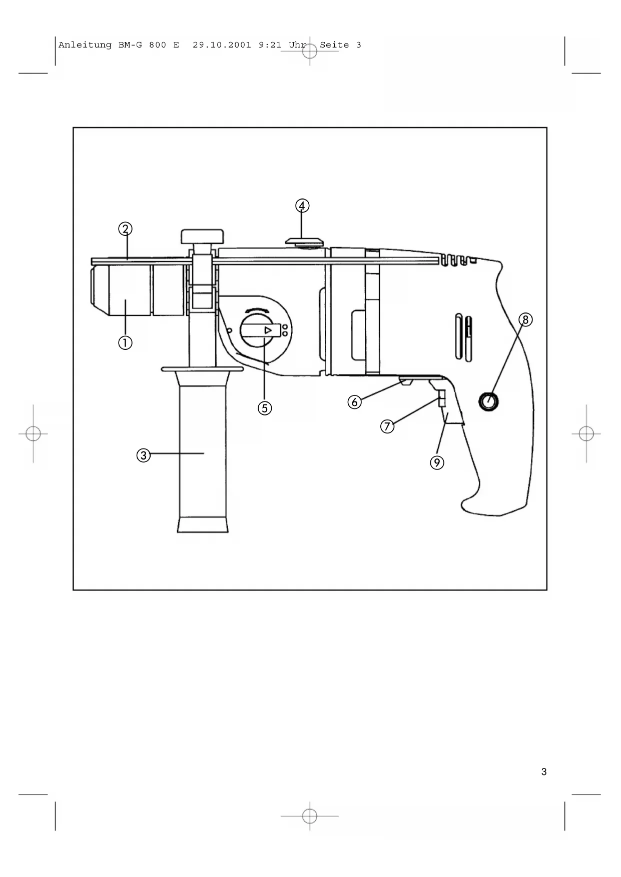
Lieferumfang BM-G 800 E Schnellspannbohrfutter 1,5 - 13 mm, Zusatzhandgriff mit Tiefenanschlag VERWENDUNG Die Bohrmaschine ist zum Bohren von Löchern in Holz, Eisen, Buntmetallen und Gestein unter Ver- wendung des entsprechenden Bohrwerkzeugs ausgelegt. Beschreibung 1 Schnellspannbohrfutter 2 Bohrtiefenanschlag 3 Zusatzgriff 4 Bohren/Schlagbohren-Umschalter 5 Umschalter 1. Gang / 2. Gang 6 Rechts-/Linkslauf-Umschalter 7 Drehzahl-Regler 8 Feststellknopf 9 Betriebsschalter Technische Daten Netzspannung 230 V ~ 50 Hz Aufnahmeleistung 800 W Bohrleistung Beton 16 mm. Stahl 13 mm Holz 25 mm Leerlaufdrehzahl 1. Gang 0 - 920 min

Leerlaufdrehzahl 2. Gang 0 - 2650 min

Schlagzahl 0 - 39.000 min Schalldruckpegel LPA 103 dB(A) Schalleistungspegel LWA 116 dB(A) Virbation a

Schutzisoliert Gewicht 2,4 kg Achtung ● Die BM-G 800 E ist nicht zum Antrieb von Vorsatz- geräten ausgelegt. ● Nicht im Bereich von Dämpfen oder brennbaren Flüssigkeiten verwenden. ● Nur scharfe Bohrer und geeignete Schrauberbits verwenden. ● Ziehen Sie bei allen Umbau- und Reinigungs- arbeiten den Stecker aus der Steckdose. ● Das Gerät nicht am Netzkabel tragen. ● Den Stecker nicht durch ziehen am Netzkabel aus der Steckdose entfernen. ● Achten Sie vor dem Einstecken des Netzsteckers darauf, daß der Betriebsschalter nicht arretiert ist. ● Bei Verwendung von Kabeltrommel, Kabel voll- ständig abrollen. Drahtquerschnitt min. 1,5 mm

● Maschine nicht überlasten. ● Sichern Sie alle zu bearbeitenden Werkstücke ausreichend. ● Kindern unzugänglich machen! ● Achten Sie auf einen sicheren Stand auf Leitern oder Gerüsten bei freihändigem Bohren. ● In Wänden, wo Strom, Wasser oder Gasleitungen unsichtbar verlegt sind, zuerst die Leitungen mit einem Leitungssuchgerät lokalisieren. ● Tragen Sie eine Schutzbrille und verwenden sie eine Staubmaske bei stauberzeugenden Arbeiten. ● Reparaturen dürfen nur vom Elektrofachmann durchgeführt werden. ● Verwenden Sie nur original Ersatzteile ● Die Lärmentwicklung am Arbeitsplatz kann 85 dB(A) überschreiten. In diesem Fall sind Schall- schutzmaßnahmen für den Bedienenden erforder- lich. Das Geräusch dieses Elektrowerkzeuges wurde nach ISO 3744, NFS 31-031 (84/537/EWG) gemessen. ● Der Wert der ausgesendeten Schwingungen wurde nach ISO 8662-8 ermittelt. Wartung ● Halten Sie Ihre Bohrmaschine immer sauber. ● Benutzen Sie zur Reinigung des Kunststoffes keine ätzenden Mittel. ● Bei übermäßiger Funkenbildung überprüfen Sie die Kohlenbürsten. ● Halten Sie die Lüftungsschlitze frei. ● Sollten Sie Beschädigungen feststellen, können Sie anhand der beiliegenden Explosionszeich- nung, sowie der Teil-liste, Ersatzteile genau defi- nieren und bei unserem Kundenservice anfordern. Anleitung BM-G 800 E 29.10.2001 9:21 Uhr Seite 45

Drehschalter in Stellung Schlagbohren. Nur im Stillstand umschalten! Hinweis: Beim Bohren in Fliesen und Kacheln Stellung Bohren einstellen! Drehschalter in Stellung Bohren. Nur im Stillstand umschalten! Ein/Ausschalter: Einschalten: Schalter A drücken Dauerbetrieb: Schalter A mit Feststellknopf B sichern. Ausschalten: Schalter A kurz eindrücken. Durch mehr oder wenig starkes Drücken des Schalters A wählen Sie die Drehzahl. Durch Drehen der Rändelschraube im Schalter A können Sie die Drehzahl vorwählen.

Getriebeumschaltung Stellung 1. Gang Getriebeumschaltung Stellung 2. Gang Anleitung BM-G 800 E 29.10.2001 9:21 Uhr Seite 56

versnelling Anleitung BM-G 800 E 29.10.2001 9:21 Uhr Seite 1112

marcia Anleitung BM-G 800 E 29.10.2001 9:21 Uhr Seite 2526

Strømafbryder: Start: Tryk på afbryderen A. Kontinuerlig drift: Sikr afbryderen A med låseknappen B Stop: Tryk kort på afbryderen A. Ved at trykke mere eller mindre kraftigt på afbryderen A, vælger De omdrejningstallet.. Ved at dreje på fingerskruen i afbryderen A, kan De forudindstille omdrejningstallet. Gearomkobling position 1. gear Gearomkobling position 2. gear Anleitung BM-G 800 E 29.10.2001 9:21 Uhr Seite 2728 Ersatzteilzeichnung BM-G 800 E Art.-Nr.: 42.596.00 I.-Nr.: 91019 Anleitung BM-G 800 E 29.10.2001 9:21 Uhr Seite 2829 Ersatzteilliste BM-G 800 E Art.-Nr.: 42.596.00 I.-Nr.: 91019 Pos. Bezeichnung Ersatzteilnr. 01 Antriebswelle 1/2“ 42.592.20.01 02 Befestigungsschraube 42.592.20.03 03 Seegerring 35 42.591.02.21 04 Lagerhülse 42.591.02.20 05 Dichtungsring 42.591.02.09 06 Kugellager 60022RS 42.591.02.19 07 Seegerring 15 42.591.02.10 08 Feder 42.591.02.62 09 Getrieberad 42.592.20.10 12 Kugel 5 42.591.02.64 14 Bolzen 5x10 42.591.02.63 16 Drehknopf 42.591.02.11 17 Bolzen 42.596.00.02 18 Schraube 3,9 x19 42.591.02.46 20 Rotor 42.591.02.41 21 Stator 42.591.02.38 25 Kohlebürste (Paar) 42.592.20.19 26 Bürstenhalter 42.592.20.17 30 Schraube 4,2x80/20 42.591.02.25 31 Lagerhülse 42.591.02.39 32 Kugellager 607 2Z 42.591.02.40 33 Schieber 42.591.02.06 34 Kondensator 42.591.02.42 35 Drehknopf 42.591.02.18 36 Dichtung 42.591.02.17 37 Schraube 4x45/20 42.591.02.26 38 Elektronikschalter 42.596.00.03 40 Zierring 42.596.00.04 44 Zugentlastungsschelle 42.591.02.45 45 Netzleitung 42.591.02.43 46 Knickschutztülle 42.591.02.44 51 Zusatzhandgriff komplett 42.596.00.05 61 Kugellager 6082 42.591.02.31 63 Dichtungsring 42.591.02.08 65 Zwischenradwelle 42.596.00.06 71 Schnellspannbohrfutter 42.596.00.07 72 Schraube 42.596.00.09 76 Motorgehäuse 42.596.00.11 81 Unterlegscheibe 42.591.02.68 84 Getriebegehäuse 42.596.00.10 86 Lagerschild komplett 42.596.00.12 87 U-Scheibe 42.596.00.08 Anleitung BM-G 800 E 29.10.2001 9:21 Uhr Seite 2930

EG KonformitätserklärungDer Unterzeichnende erklärt imNamen der FirmaAchivierung / For archives: BMG-0623-25-749-E BM-G 800 E

La garanzia inizia con il giorno dell’acquisto e viene concessa per 35 mesi per errori di produzione oppure per difetti del materiale e del funzionamento. I ricambi necessari e la relativa manodopera non vengono addebitati. Non viene concessa garanzia per i danni conseguenti. Il responsabile del servizio assistenza EINHELL GARANTIBEVIS Garantiperioden er 35 måneder fra købsdato. Garantien dækker mangelfuld udførelse eller materiale- og funktionsfejl. De dertil nødvendige reservedele og de påløbne arbejdstimer faktureres ikke. Der hæftes ikke for følgeskader. Deres kontaktperson hos kundeservice GARANTIEURKUNDE Wir gewähren Ihnen 35 Monate Garantie gemäß nachstehendenBedingungen. Die Garantiezeit beginnt jeweils mit dem Tag derLieferung, der durch Kaufbeleg, wie Rechnung, Lieferschein oderderen Kopie, nachzuweisen ist. Innerhalb der Garantiezeit besei-tigen wir alle Funktionsfehler am Gerät, die nachweisbar auf mangelhafte Ausführung oder Materialfehler zurückzuführen sind. Die dazu benötigten Ersatzteile und die anfallende Arbeits-zeit werden nicht berechnet. Ausschluß: Die Garantiezeit bezieht sich nicht auf natürliche Ab- nutzung oder Transportschäden, ferner nicht auf Schäden, die in- folge Nichtbeachtung der Montageanleitung und nicht norm- gemäßer Installation entstanden. Der Hersteller haftet nicht für indirekte Folge- und Vermögensschäden.Durch die Instandsetzung wird die Garantiezeit nicht erneuertoder verlängert. Bei Garantieanspruch, Störungen oder Ersatz-teilbedarf wenden Sie sich bitte an. ISC GmbH · International Service Center Eschenstraße 6 · D-94405 Landau/Isar (Germany) Ersatzteil- und Reparatur-Abt.: Telefon (0 99 51) 942 357 • Telefax (0 99 51) 26 10 und 52 50 Technische Kundenberatung: Telefon (0 99 51) 942 358 Anleitung BM-G 800 E 29.10.2001 9:21 Uhr Seite 33® Gartenteiche und Zubehör Springbrunnenpumpen, Filter und Zubehör Gewächshäuser, Früh- beete und Zubehör Bioluftbefeuchter Hochdruckreiniger und Zubehör Gartenpumpen und Zubehör Motor-, Elektroketten- sägen und Zubehör Gartengeräte und Zubehör Heizgeräte Gas-, Holzkohlegrills und Zubehör Garten & Freizeit

Schweißtechnik Drucklufttechnik Reinigungstechnik Akku-/Elektro- Bohrmaschinen Garagentorheber und Zubehör Schleiftechnik Motorsägen Elektrosägen Batterielader Torantriebe Klima- und Heizgeräte Hub- und Zuggeräte Werkstattausrüstung Auto & Werkstatt

Funkalarm und Zubehör Video-Überwachungs- anlagen und Zubehör Schiebe- und Flügel- torantriebe und Zubehör Funklichtschalter Satellitenempfangs- anlagen und Zubehör Haustechnik Gesamtprogramm HANS EINHELL AG, Postfach 150, D-94402 Landau/Isar, Wiesenweg 22, D-94405 Landau/Isar, Tel. (09951) 942-0, Fax 1702 EH 05/99 Anleitung BM-G 800 E 29.10.2001 9:21 Uhr Seite 34

Handbuch-Assistent
Unterstützt von ChatGPT
Warten auf Ihre Nachricht
Produktinformationen

Marke : EINHELL

Modell : BM-G 800 E

Kategorie : Bohrmaschine