HG06767A - Uhr AURIOL - Kostenlose Bedienungsanleitung
Finden Sie kostenlos die Bedienungsanleitung des Geräts HG06767A AURIOL als PDF.
Laden Sie die Anleitung für Ihr Uhr kostenlos im PDF-Format! Finden Sie Ihr Handbuch HG06767A - AURIOL und nehmen Sie Ihr elektronisches Gerät wieder in die Hand. Auf dieser Seite sind alle Dokumente veröffentlicht, die für die Verwendung Ihres Geräts notwendig sind. HG06767A von der Marke AURIOL.
BEDIENUNGSANLEITUNG HG06767A AURIOL
Bedienungs- und Sicherheitshinweise
IAN 345191_2004
BE IE NI

GB/IE/NI
Bedienungs- und Sicherheitshinweise Seite 38
A
HG06767A HG06767B/C/D








F
HG06767A/B

G
HG06767A/B

Technische gegevens.. 30
Leveringsomvang. 30
Voor gebruik.. 30
Batterij verrangen. 30
Tijd instellen. 30
Waterdichtheid. 31
E-Mail: owim@lidl.nl
BE ServiceBelgië
Tel.: 080071011
Tél.: 80023970 (Luxembourg)
E-Mail: owim@lidl.be

LiTe der verwendeten Piktogramme . . . . . . . . . . . . . . . . . . . . . . . . . . . . . . . . . . . . . . . . . . . . . . . . . . . . . . . . . . . . . . . . . . . . . . . . . 39
Einleitung 39
Bestimmungsgemäß Verwendung . . . . . . . . . . . . . . . . . . . . . . . . . . . . . . . . . . . . . . . . . . . . . . . . . . . . . . . . . . . . . . . . . . . . . . . . . . . . . . . . .
Teilebeschreibung . 40
Technische Daten . 41
Lieferumfang. 41
Vor der Verwendung . 41
Batterie wechseln . 41
Zeit einstellen . 42
Wasserdichtigkeit . 42
Uhrenarmband anpassen (HG06767C) . . . . . . . . . . . . . . . . . . . . . . . . . . . . . . . . . . . . . . . . . . . . . . . . . . . . . . . . . . . . . . . . . . . . . . . . . . . . . . . .. 42
Uhrenarmband anpassen (HG06767A/B) 43
Segmente entnehmen . 43
Austausch des Stifts im Schieber (Abb. E, F, G) 44
Reinigung und Pflege 45
Entsorgung . 45
Garantie und Service . 47
Garantie. 47
Abwicklung im Garantiefall . . . . . . . . . . . . . . . . . . . . . . . . . . . . . . . . . . . . . . . . . . . . . . . . . . . . . . . . . . . . . . . . . . . . . . . . . . . . . . Seite 48
Service . 50
Liste der verwendenten Piktogramme

Gleichstrom / -spannung

Geeignet für Benutzung bei Regen, zum Hände waschen, bei Wasserspritzern

Geeignet fur Benutzung bei Duschen, Spulen, Baden

Geeignet fur Benutzung beim Schwinnen, Schnorcheln

Geeignet für Benutzung beim Windsurfen, Tauchen
ARMBANDUHR MIT WECHSELBAND
Einleitung
Wir beträckwūnschen Sie zum Kauf Ihres neuen Produkts. Sie haben sich damit für ein hochwertiges Produkt entschieden. Die Bedienungsanleitung ist Teil deses Produkte. Sie enthalt wichtige Hinweise für Sicherheit, Gebrauch und Entsorgung. Machen Sie sich vor der Benutzung des Produkts mit allen Bedien- und
Sicherheitshinweisen vertraut. Benutzten Sie das Produkt nur wie beschreiben und für die angegebenen Einsatzbereiche. Handigen Sie alle Unterlagen bei Weitergabe des Produkts an Dritte mit aus.
Bestimmungsgemäß Verwendung
Dieses Produkt darf nur privat und nicht für gewerbliche Zwecke verwendet werden.
Teilebeschreibung
1 Minutenzeiger
2 Krone
3 Sekundenzeiger
4 Stundenzeiger
5 Entriegelungsposition
6 Lunette (drehbarer außerer Ring) (HG06767A)
7 Schieber (HG06767C)
8 Verriegelungsplattchen (HG06767C)
Segment (HG06767A/B)
10 Reparaturset (HG06767A/B)
Drehbarer Schieber (HG06767A/B)
12 Ersatzstift (HG06767A/B)
13 Untere Abdeckung (HG06767A/B)
- Technische Daten
Batterie: 1 × 1,5 ~V Knopfelle (Typ SR626SW)
Lieferumfang
Bitte prüfen Sie unmittelbar nach dem Auspacken den Packungsinhalt auf Vollständigkeit und ob das Produkt und alle Teile in gutem Zustand sind.
1 Armbanduhr
1 Batterie (vorinstalliert)
1 Gebrauchsanweisung
2 Wechselbare Ersatzbindeglieder (HG06767A/B)
1 Reparaturset (HG06767A/B)
1 Ersatzarmband
Vorder Verwendung
Entfernen Sie alle Verpackungsmaterialien vom Produkt.
Batterie wechseln
■ Hinweis: Wenden Sie sich zum Wechseln der Batterie an ein Fachgeschäft.
- Zeit einstellen
- Einstellen der Uhrzeit: Ziehen Sie die Krone 2 bis zur Entriegelungsposition 5 heraus.
- Durch Drehen der Krone 2 Stunden 4 und Minuten 1 einstellen.
- Sobald Sie die Krone 2 wieder in die Normalstellung zusück gedrückt haben, startet der Sekundenzeiger 3.
Wasserdichtigkeit
■ Abbildung B zeigt die zulässigen Anwendungsbereiche.itte beachten Sie, dass Wasserdichtigkeit keine bleibende Eigenschaft ist. Sie sollen jährlich und insbesondere vor besonderen Belastungen geprüft werden, da die eingebauten Dichtelemente in ihrer Funktion und im alltätiglichen Gebrauch nachlassen.
Uhrenarmband anpassen (HG06767C)
Siehe Abb. C:
Um den Umfang des Uhrenarmbands zu verstellen, verwenden Sie einen kleinen Schlitzschraubendreher (nicht im Lieferumfang enthalten), um das Verriegelungsplättchen 8 des Schiebers 7 in Pfeilrichtung zu öffnen.
Nachdem Sie die richtige Länge eingestellt haben, positionieren Sie den Schieber so, dass die Einkerbung unter mit der Einzugslasche auf der Rückseite übereinstimmt. Dann drücken Sie das Verriegelungsplattchen herunter.
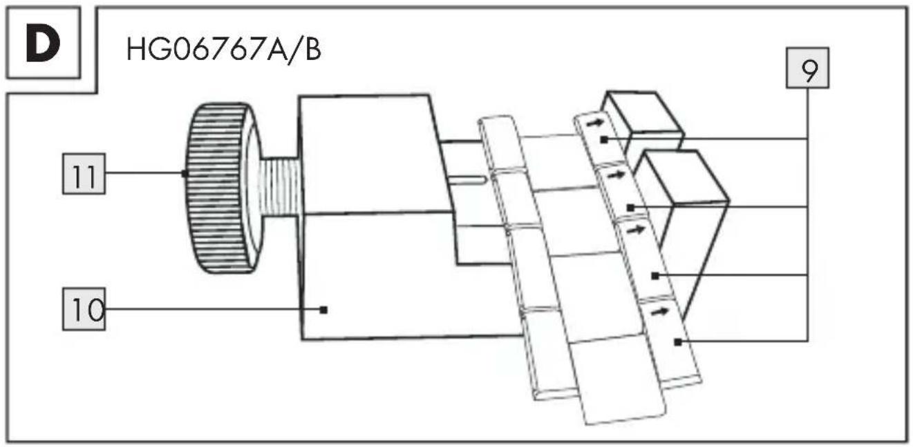
Uhrenarmband anpassen (HG06767A/B)
Siehe Abb. D-G:

Passen Sie das Armband an, indem Sie Segmente 9 entnehmer (2 wechselbare Ersatzbindeglieder sind ingegriffen). Verwenden Sie hierzu das mitgelieferte Reparaturset 10.
Segmente entnehmen
Hinweis: Die Segmente, die entfernt werden konnen, sind mit einem Pfeil markiert (Abb. D). Sie sind mit Stiften miteinander verbunden. Diese konnen mit dem Reparaturset in Pfeilrichtung herausgeschoben werden. Um die Stiffe zu entfern,nehmen Sie gegebenenfalls eine Pinzette (nicht mitgeliefert) zur Hilfe.
■ Legen Sie die Uhr mit dem Ziffernblatt nach unten in das Reparaturset.
Entfernen Sie die Stifte des Segments, das Sie entfernen möchten (wie oben beschrieben) undnehmen Sie das Segment 9 heraus. Hinweis: Mochten Sie mehrere zusammenhängende Segmente 9 Herausnahmen, genugts, nur die beiden außeren Stifte zu entfernen.
Fugen Sie das Uhrenarmband wieder zusammen, indem Sie die losen Segmente mit einem Stift verbinden. Drücken Sie diesen dazu gegen die Pfeilrichtung in die aneinanderergelegten Segmente.
Austausch des Stifts im Schieber (Abb. E, F, G)
■ Nehmen Sie den drehbaren Schieber (Abb. E). Öffnen Sie dieunte Abdeckung 13, in der Sie den Ersatz-Stift 12 finden werden (Abb. F).
- Sie benötigen eine Zange (nicht enthalten), mit der Sie den alten Stift aus dem Schieber vorsichtig entfernen müssen (Abb. G).
■ Legen Sie den Ersatz-Stiftwieder mit Hilfe der Zange (nicht enthalten) vorsichtig in den drehbaren Schieber ein. Der neue Stift ist installiert.
Reinigung und Pflege
Reinigen Sie das Produkt nur außerlich mit einem weichen, sauberen und angefeuchteten Tuch.
Spulen Sie das Produkt bei Bedarf unter laufendem Wasser. Trocknen Sie es nach dem Spulen gründlich ab.
Entsorgung
Die Verpackung besteht aus umweltfreundlichen Materialien, die Sie über die ortlichen Recyclingstellen entsorgen konnen.

Beachten Sie die Kennzeichnung der
Verpackungsmaterialien bei der Abfalltrennung, diese sind gekennzeichnet mit Abkürzungen (a) und Nummern (b) mit folgender Bedeutung: 1 - 7: Kunststoffe / 20 - 22: Papier und Pappe / 80 - 98: Verbundstoffe.

Das Produkt und die Verpackungsmaterialien sind recyclelbar, entsorgen Sie diese getrennt für eine bessere Abfallbehandlung.
Das Triman-Logo gilt nur für Frankreich.

Möglichkeiten zur Entsorgung des ausgedienten Produkts erfahren Sie bei ihrer Gemeinde- oder Stadtverwaltung.

Werfen Sie Ihr Produkt, wenn es ausgedient hat, im Interesse des Umweltschutzes nicht in den Hausmüll, sondern führen Sie es einer fachgerechten Entsorgung zu. Über Sammelstellen und deren Öffnungszteiten können Siessich bei ihrer zuständigen Verwaltung informieren.
Defekte oder verbrauchte Batterien / Akkus müssen gemäß Richtlinie 2006/66/EG und deren Änderungen recyclelt werden. Geben Sie Batterien / Akkus und / oder das Produkt über die angebotenen Sammeleinrichtungen zugruck.

Umweltschäden durch falsche Entsorgung der Batterien / Akkus!
Batterien dürfen nicht über den Hausmüll entsorgt werden. Sie können giffige Schwermetalle enthalten und unterliegen der Sondermüßlbehandlung. Die chemischen Symbole der Schwermetalle sind wie folgt: Cd = Cadmium, Hg = Quecksilber, Pb = Blei. Geben Sie deshalb verbrauchte Batterien bei einer communalen Sammelstelle ab.
Garantie und Service
Garantie
Das Produkt wurde nach strengen Qualitätsrichtlinien sorgfältig produziert und vor Anlieferung gewissenhaft geprüft. Im Falle von Mangeln theses Produkts stehen ihren gegen den Verkäufe des Produkts gesetzliche Rechte zu. Diese gesetzlichen Rechte werden durch unsere im Folgenden dargestellte Garantie nicht eingeschränkt.
Sie erhalten auf these Produkt 3 Jahre Garantie ab Kaufdatum. Die Garantiefrist beginnnt mit dem Kaufdatum.itte bewahren Sie den Original-Kassenbon gut auf. These Unterlage wird als Nachweis fur den Kauf benötigt.
Tritt innerhalb von 3 Jahren ab dem Kaufdatum thesese Produkte ein Material- oder Fabrikationsfehler auf, wird das Produkt von uns - nach unserer Wahl - für Sie kosten los repariert oder ersetzt. Diese Garantie verfällt, wenn das Produkt beschädigt, nicht sachgemäß benutzt oder gewartet wurde.
Die Garantieleistung gilt für Material- oder Fabrikationsfehler. Diese Garantie erstreckt sich nicht auf Produkte, die normaler Abnutzung ausgesetzt sind (z. B. Batterien) und darauf als Verschleibe teile angesehen werden können oder Beschädigungen an zerbrechlichen Teilen, z. B. Schalter, Akkus oder die aus Glas gefertigt sind.
Von der Garantieleistung ausgeschlossen ist ebenfalls das Nachlassen der Wasserdichtheit. Der Zustand der Wasserdichtheit ist keine bleibende Eigenschaft und sollte davon regelmäßig gewartet werden.
Bitte beachten Sie, dass durch das Öffnen und Reparieren ihrer Uhr durch Personen, die hierzu nicht ermächtigt sind, ihre Garantieansprüche erlösen.
Abwicklung im Garantiefall
Um eine schnelle Bearbeitung Ihres Anliegens zu gewährleisten, folgen Sieitte den folgenden Hinweisen:
Bitte halten Sie für alle Anfragen den Kassenbon und die Artikelnummer (z. B. IAN 123456_7890) als Nachweis für den Kauf bereit.
Die Artikelnummer entnehmer Sieitte dem Typenschild, einer Gravur, auf dem Titelblatt ihrer Bedienungsanleitung (unter links) oder als Aufkleber auf der Rück- oder Unterseite des Produkts.
Sollten Funktionsfehler oder sonstige Mängel aufreten, kontaktieren Sie zunachst die nachfolgend benannte Serviceabteilung Telefonisch oder per E-Mail.
Ein als defekt erfasstes Produkt konnen Sie dann unter Begebung des Kaufbelegs (Kassenbon) und der Angabe, worin der Mangel besteht und wann er aufgetreten ist, für Sie portofrei an die Ihnen mitgeteilte Service-Anschrift übersenden.
Service
DEServiceDeutschland
Tel.: 0800 5435 111
E-Mail: owim@lidl.de
ATServiceÖsterreich
Tel.: 0800 292726
E-Mail: owim@lidl.at
CH ServiceSchweiz
Tel.: 0800562153
E-Mail: owim@lidl.ch


OWIM GmbH & Co. KG
Stiftsbergstraße 1
74167 Neckarsulm
GERMANY
EinfachAnleitung