CK 1703 - Radiowecker ADE - Kostenlose Bedienungsanleitung
Finden Sie kostenlos die Bedienungsanleitung des Geräts CK 1703 ADE als PDF.
Benutzerfragen zu CK 1703 ADE
0 Frage zu diesem Gerät. Beantworten Sie die, die Sie kennen, oder stellen Sie Ihre eigene.
Eine neue Frage zu diesem Gerät stellen
Laden Sie die Anleitung für Ihr Radiowecker kostenlos im PDF-Format! Finden Sie Ihr Handbuch CK 1703 - ADE und nehmen Sie Ihr elektronisches Gerät wieder in die Hand. Auf dieser Seite sind alle Dokumente veröffentlicht, die für die Verwendung Ihres Geräts notwendig sind. CK 1703 von der Marke ADE.
BEDIENUNGSANLEITUNG CK 1703 ADE
Liebe Kundin, lieber Kunde!
Sie haben sich für den Kauf eines qualitativ hochwertigen Produkts der Marke ADE entschieden, das intelligente Funktionen mit einem außergewöhnlichen Design vereint. Mit thisem Funkwecker haben Sie die Uhrzeit stets prazise im Blick. Die langjährige Erfahrung der Marke ADE besteht eine technisch hohen Standard und bewährte Qualität sicher.
Wir wünschen Ohnen jederzeit ein entsprechentes Timing!
Ihr ADE Team
Lieferumfang
- DCF-Funkwecker
2 Batterien Typ LR/R6 (AA), 1,5
Bedienungsanleitung
IM_PeWeb_CK1703_1703-1_1703-2_202203_V3
Über diese Anleitung

These Bedienungsanleitung beschreiben den sicheren Umgang und die Pflege des Artikels. Bewahren Sie diese Bedienungsanleitung auf, falls Sie später etwas nachlesen möchten.
Wenn Sie den Antikel an demand anderen weitergeben, geben Sie auch diese Anleitung mit. Die Nichtbeachtung dieser Bedienungsanleitung kann zu Verletzungen oder Schaden am Antikel führen.
Zeichenerklärung

Dieses Symbol in Verbindung mit dem Wort GEFAHR warnt vorschweren Verletzungen.

Dieses Symbol in Verbindung mit dem Wort WARNING warnt vor Verletzungen mittleren und leichten Grades.

Dieses Symbol in Verbindung mit dem Wort HINWEIS warnt vor Sachschäden.

Dieses Symbol kennzeichnet zusätzliche Informationen und allgemeine Hinweise.
Technische Daten
Modell: DCF-Funkwecker CK 1703-x
1703 (holzfarben)
1703-1 (schwarz)
1703-2 (weiβ)
Batterie: 2x LR/R6 (AA) / 1,5 V
Bemessungsstrom: < 40 mA
Messbereich: ca. -10 °C - 60 °C
ca. 14^ F - 140^ F
Inverkehrbringer GRENDS GmbH
(keine Service-Stahltwiete 23
Adresse): 22761 Hamburg, Germany
Unsere Produkte werden ständig weiterentwickelt und verbessert. Aus thisem Grund sind Design-und technische Änderungen jederzeit möglich.
Inhaltsverzeichnis
Lieferumfang 2
Allgemeines 3
Technische Daten. 4
Sicherheit 6
Bestimmungsgemäßer Gebrauch.........8
Auf einen Blick 9
Inbetriebnahme 10
Zeitsignal empfangen 11
Über den Zeitzeichensender DCF77 ....16
Wecken 17
Sonstige Funktionen 18
Reinigen 19
Störung / Abhilfe 19
Konformitätserklung 20
Garantie 21
Entsorgen 21
Sicherheit
- Dieser Artikel kann von Kindern ab 8 Jahren und darüber sowie von Personen mit verringerten physischen, sensorischen oder mentalen Fähigkeiten oder Mangel an Erfahrung und Wissen benutzt werden, wenn sie beaufsichtigt oder bezüglich des sicheren Gebrauchs des Artikels unterwiesen wurden und die daraus resultierenden Gefahren verstehen.
- Kinder dürfen nicht mit dem Antikel speiten.
- Reinigung und Benutzerwartung)durfen nicht von Kindern vorgenommen werden, es sei dessen, sie sind 8 Jahre oder alter und werden beaufsichtigt.
- Batterien können bei Verschlucken lebensgefährlich sein. Bewahren Sie Artikel und Batterien deshalb für Kleinkinder unerreichbar auf. Werde eine Batterie verschlucht, muss sofort medizinische Hilfe in Anspruch genommen werden.
GEFAHR für Kinder
- Kinder von Verpackungsmaterial fernhalten. Bei Verschlucken besteht Erstickungsgefahr.
GEFAHR von Brand/Verbrennung und/oder Explosion
-
Explosionsgefahr bei unsachgemäßem Auswechseln der Batterien. Batterien nur durch denselben oder einen gleichwertigen Batterietyp ersetzen. „Technische Daten" beachten
-
Batterien dürfen nicht geladen, mit anderen Mitteln reaktiviert, auseinander genommen, ins Feuer geworfen oder kurzgeschlossen werden. Ansonsten besteht erhöhte Explosions- und Auslaufgefahr, außer dem konnen Gase entweichen!
-
Kontakt der Batterieflüssigkeit mit Haut, Augen und Schleimhäuten vermeiden. Bei Kontakt die betroffenen Stellen sofort mit reichlich klarem Wasser spulen und umgehend einen Arzt aufsuchen.
VORSICHT vor Sachschäden
- Wecker vor starken Stößen und Erschütterungen schützen.
- Batterien aus der Uhr herausnahmen, wenn diese verbraucht sind oder wenn Sie die Uhr länger nicht benutzen. So vermeiden Sie Schäden, die durch Auslaufen entstehen können.
-
Beim Einsetzen und Wechseln der Batterien auf die richtige Polarität (+/-) achten.
-
Batterien keinen extremen Bedingungen aussetzen, indem diese z. B. auf Heizkörpern oder unter direkter Sonneneinstrahlung gelagert werden. Erhöhte Auslaufgefahr!
- Batterie- und Gerätekontakte bei Bedarf vor dem Einlagen reinigen.
- Keine Änderungen an dem Anteil vormen. Reparaturen nur von einer Fachwerkstatt durchführten halten. Unsachgemäß durchgeführte Reparaturen können erhebliche Gefährdungen für den Benutzer verursachen.
Bestimmungsgemäßer Gebrauch
Dieser DCF-Funkwecker dient zum Anzeigen der Uhrzeit, des Datumssowie der Raumtemperatur. Der Artikel ist fur den Privatgebrauch und den Einsatz in trockenen Räumen konzipiert.

D
1 Symbol für aktive Weckfunktion
2 Taste SNOOZE/LIGHT
3 Symbol für Funkempfang zum Zeitzeichen-sender DCF77
4 Uhrzeit (Stunden, Minuten, Sekunden)
5 Datum / Wochentag / Raumtemperatur (in °C oder °F)

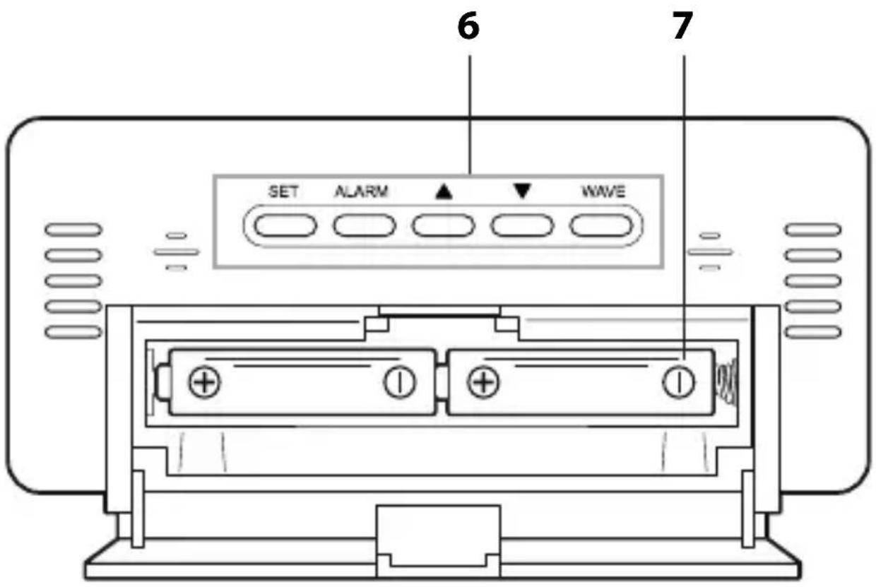
6 Bedientasten SET,ALARM, ,WAVE
7 Batteriefach, 2x LR/R6 (AA)
Inbetriebnahme
Für den Gebrauch benötigen Sie zwei Batterien des Typs LR/R6 (AA), 1,5 V.
- Verschlusslasche nach unter drücken und Batteriefachdeckel abklappen.
- Batterien so einlagen, wie auf dem Boden des Batteriefachs abgebildet. Auf die richtige Polarität achten (+/-).
- Batteriefachdeckel wieder hochklappen. Verschlusslasche muss hörbar einrasten.
Sobald die Batterien eingelegt sind, schaltet der Wecker auf Empfang, siehe{nachstes Kapitel.
Hinweise zum Batterienwechsel:
- Nur Batterietyp verwenden, der in den „Technischen Daten" angegeben ist.
- Immer alle Batterien wechseln.
- Alte Batterien umweltgerecht entsorgen, siehe „Entsorgen".
Zeitsignal empfangen
Wenn die Batterien eingelegt sind, werden für einen kurzen Moment samtliche Anzeigen im Display eingeblendet und das Display wird beleuchtet.
Kurz darauf wird im Display die gemessene Raum-Temperatur angezeigt

Danach schaltet das Gerät auf Empfang, wobei die Funkwellen-Anzahl die Qualität des Empfangs anziegt: Je mehr Funkwellen im Display angezeigt werden,esto better ist der Empfang.
Sobald das Zeitsignal in ausreichender Stärke empfangen wurde, wird die Uhrzeit angezeigt. Der Funkwecker schaltet ab sofort mehrmals in jeder Nacht automatisch auf Empfang. Dabei wird die angezeigte Zeit mit der vom Zeitzeichen-Sender empfangenen verglichen und ggf. korrigiert.
Wurde kein ausreichend starkes Signal empfangen, bricht der Funkwecker nach einigen Minuten den Empfangsvorgang ab und das Funkturm-Symbol erlöscht.
Der Empfangsvorgang wird zu einem späteren Zeitpunkt neu gestartet. Die Uhrzeit lauft in this sem Fall (ausgehend von der Startzeit „00:00") normal weiter.
Checkliste bei fehlender Datenanzeige im Display
| 1. Prüfen, ob der Standort des Weckers geeignet ist, siehe „Standort wahren". |
| 2. Empfangsvorgang nochmals manuell starten, siehe „Funkempfang manuell starten". |
| 3. Warten, bis der Wecker zu einem späteren Zeitpunkt automatisch wieder auf Empfangschaftet. |
| 4. Einstellungen manuell vornehmen, wenn an Ihr dem Standort der Empfang nicht möglich ist, siehe „Uhrzeit manuell einstellen". |
Uhrzeit manuell einstellen

-
Wenn zwischen zwei Tastendrucken mehr als ca. 30 Sekunden liegen, wird der Einstellvorgang automatisch beendet und Sie müssen ohn wiederholen.
Jeder Tastendruck wird mit einem Piepton bestätig. -
Taste SET gedrückt halten, bis im Display die Anzeige für das 12- und 24-Stunden-Uhrzeit-format blinkt.
- Mit den Tasten ▲ oder das gewünschte Zeitformat wahren („12Hr" oder „24Hr").
- SET drücken, um die Einstellung zu speichern. Im Display blinkt „00" für die Zeitzone, in der Sie sich befinden („00" ist die Standardeinstellung für das europäische Festland).
- Weiter vorgehen, wie beschreiben:
-Taste ▲ oder ∇rücken, um den gewünschten Wert einzustellen.
-Jeweils SET drucken, um eine Einstellung zu speichern.
- Folgende Einstellungen nacheinander durchführren:
-Stundenzeit
-Minutenzeit
-Jahr
-Monat
-Tag
-Sprache (bezieht sich ausschließlich auf die Anzeige des Wochentages)
- Abschlussend SET drücken, um den Vorgang zu beenden.
Funkempfang manuell starten

Wird das nebenstehende Funksignal-Symbol nicht mehr angezeigt, werden die Funksignale des Zeitzeichen-Senders nicht mehr empfangen. Die Uhrzeit-Anzeige lauft dennoch zusige weiter.
- 1x Taste WAVE drücken, um den Funkempfang zu starten.
Beachten Sie:
- War der Empfang nicht erfolgreich, wird das Empfangs-Symbol nach einigen Minuten ausgeblendet und die Uhrzeit im Display lauft normal weiter.
- Bei erfolgreichem Empfang stellt sich der Funkwecker auf die Uhrzeit des Zeitzeichen-Senders ein. Haben Sie bereits manuelle Zeit- und Datumseinstellungen vorgenommen, werden diese automatisch angepasst.
Standort wahlen

HINWEIS vor Sachschaden
Schützen Sie den Funkwecker vor Staub, Stößen, extremen Temperatures, direkter Sonneneinstrahlung und Feuchtigkeit. Stellen Sie die ausschließlich in einem trockenen, geschlossenen Raum auf.
- Abstand zu Fernsehgeräten, Computern und Monitoren halten. Auch Basisstationen von Schnurlosen Telefonen sollenn sich nicht in unmittelbarer Höhe des Funkweckers befinden.
- Abhängig vom Standort kann es im seltenen Einzelfall vorkommen, dass der Wecker Signale von einem anderen Zeitzeichen-Sender empfangt oder)sogar abwechselnd von zwei Zeitzeichen-Sendern. Das ist kein Gerätefehler. In thisem Fall den Standort des Weckers wechseln.
Das Wetter, z. B. ein starkes Gewitter, kann Empfangsstörungen verursichen. - Es kann gelegentlich zu kurzzeitigen Abschaltungen des Senders kommt, z. B. wegen Wartungsarbeiten.
Funkwecker aufstellen
-Funkwecker möglichst in Fensternähe aufstellen. Dort ist der Empfang in der Regel am besten.
Über den Zeitzeichensender DCF77
Dieser Funkwecker erhält seine Funksignale vom Zeitzeichensender DCF77. Dieser strahlt auf seiner Langwellenfrequenz von 77,5 kHz die genaue und offizielle Uhrzeit der Bundesrepublik Deutschland aus. Der Sender steht in Mainflingen bei Frankfurt am Main und versorgt mit seiner Reichweite von bis zu 2000 km die meisten funkgesteuerten Uhren West-Europas mit den erforderlichen Funksignalen.
Sobald der Funkwecker mit Strom versorgt wird, schaltet er auf Empfang unducht das Signal vom Sender DCF77. Werde das Zeitsignal in ausreichen der Stärke empfangen, wird im Display die Uhrzeit angezeigt.
Der Funkwecker schaltet sich mehrmals täglich ein und synchronisiert die Uhrzeit mit dem Funksignal vom Sender DCF77. Im Falle eines Nicht-Empfangs, z. B. bei einem starken Gewitter, lauft die Uhr prazise weiter und schaltet dann zur{nachsten vorgesehenen Zeit wieder automatisch auf Empfang.
Weckzeit einstellen
- Taste ALARM gedrückt halten, bis im Display die Weckstunde blinkt und „AL“ angezeigt wird.
- Mit Oder Weckstunde einstellen.
- ALARM drucken.
- Mit Oder Weckminute einstellen.
- ALARM drücken, um Weckzeit zu speichern.
- Erneut ALARM drucken. Im Display wird angezeigt, die Weckfunktion ist aktiviert.
Geweckt werden
Zur eingestellt den Zeit werden Sie von einem Wecksignal geweckt, wobei das Signal mit zunehmender Weckdauer immer intensiver wird.
Weckalarm für 24 Stunden unterbrechen
-Beliebige Taste drücken (außer SNOOZE/ LIGHT), um den Alarm zu unterbrechen. Nach 24 Stunden wird der Alarm erneut ausgelöst.
Autostopp-Funktion
Wenn Sie keine Taste drücken, schaltet sich der Alarm nach 2 Minuten automatisch aus. Nach 24 Stunden wird der Alarm erneut ausgelöst.
Weckwiederholung (Snoopze-Funktion)
-1x die Taste SNOOZE/LIGHT drücken, wenn das Wecksignal ertönt. Im Display blinken und z^z .
Nach ca. 5 Minuten schaltet sich das Gerät wieder ein und weckt Sie erneut. Diese Vorgang kann mehrfach wiederholt werden.
Weckfunktion ein- und ausschalten
-1x ALARM drucken, um Weckfunktion auszuschalten, erlischt. Durch erneutes Drucken von ALARM ist die Weckfunktion wieder aktiv.
Sonstige Funktionen
Display beleuchten
-Taste SNOOZE/LIGHT drücken, um Display für ca. 5 Sekunden zu beleuchten.
Maßeinheit der Temperatur wechseln
- Taste drücken, um die Temperatur in der Maß einheit °Celsius oder °Fahrenheit angezeigt zu entwickeln.
Zwischen Sommer- und Winterzeit umstellen
Das Umstellen von Sommer- auf Winterzeit bzw. umgekehrt erfolgt bei gutem Zeitzeichen-Empfang automatisch.
Ist die Sommerzeit aktiv, wird im Display „DST" (Daylight Saving Time) angezeigt.
Funkwecker auf Auslieferzustand zurücksetzen
Setzen Sie den Funkwecker auf seinen Ausliefer-zustand zurück, wenn im Display ungewöhnliche bzw. offensichtlich falsche Werte angezeigt werden.
- Batterien aus dem Batteriefachnehmen und etwas warten.
- Batterien wieder einlagen. Richtige Polarität (+/-) beachten.
- Vorgehen, wie im Kapitel „Zeitsignal empfangen" beschrieben.
Reinigen
- Artikel bei Bedarf mit einem weichen, trockenen Tuch entstauben oder mit einem leicht angefeuchteten Tuch abwischen.
Störung/Abhilfe
DCF77-Signal wird nicht empfangen.
- Standort prüfen.
- Funkempfang ggf. manuell starten.
Uhrzeit manuell einstellen.
Temperaturangabe erscheint zu hoch.
- Prufen, ob Wecker direkter Sonnenstrahlung ausgesetzt ist.
Anzeige ist unleserlich, Funktion ist unklar oder Werte sind offensichtlich falsch.
- Wecker auf den ursprünglichen Lieferzustand zurücksetzen.
Konformitätserklärung
Hiermit erklart die GRENDS GmbH, dass der Funkwecker CK 1703-x den Richtlinien 2014/53/EU und 2011/65/EU entspricht.
Der vollständige Text der EU-Konformitätserklä-rung ist unter der folgenden Internetadresse ver-fugbar: www.ade-germany.de/doc
Die Erklärung verliert ihre Gültigkeit, falls an dem Wecker eine nicht mit uns abgestimmte Änderung vorgenommen wurde.
Hamburg, März 2022
GRENDS GmbH

Garantie
Die Firma GRENDS GmbH garantiert für 2 Jahre ab Kaufdatum die kostenfreie Behebung von Mängeln aufgrund von Material- oder Fabrikationsfehlern durch Reparatur oder Austausch.
Bitte geben Sie den Antikel im Garantiefall mit dem Kaufbeleg (unter Angabe des Reklamationsgrundes) an ihren Handler zurück.
Entsorgen
Verpackung entsorgen

Entsorgen Sie die Verpackung sortenrein. Geben Sie Pappe und Karton zum Altpapier, Folien in die Wertstoff-Sammlung.
Artikel entsorgen
Entsorgen Sie den Antikel entsprechend der Vorschriften, die in Ihrlem Land gelten.

Dieses Symbol besagt, dass diesen Elektro- bzw. Elektronik gerät am Ende seiner Lebensdauer nicht im Hausmüll entsorgt werden darf, sondern vom Endnutzer einer getrennten Sammlung zugeführrt werden muss.
Zur Rückgabe stehen in ihrer Höhe kostenfreie Sammelstellen für die Verwertung der Geräte zur Verfügung. Die Adressen können Sie von ihrer Stadt- bzw. Kommunalverwaltung erhalten.
Auch (Online-)Vertreiber von Elektro- und Elektronikgeräte, sind verpflichtet alte Elektro- und Elektronikgeräte zurückzunehmen.
Bei Kauf eines Neugerätes muss der Vertreiber auf Verlangen des Endnutzers eine unentgeltliche 1:1-Rücknahme eines Altgerätes durchführren.
Ohne Neuerwerb sind die o.a. Vertreiber verpflichtet, auf Verlangen des Endnutzers bis zu drei Altgeräte (max. Kantenlänge von 25 cm) unentgeltlich zurückzunehmen.
Die Batterien sind vor dem Entsorgen aus dem Grundgerät zu entnahme! Die Batterien müssen getrennt von den anderen Geräteilen entsorgt werden.

Dieses Symbol besagt, dass Batterien und Akkus nicht zusammen mit dem Hausmull entsorgt werden)durfen. Sie sind gesetzlich verpflichtet, alle Batterien bei einer Sammelstelle ihrer Gemeinde/ihres Stadtteils oder im Handel abzugeben.
Die Inhaltsstoffe sind giftig und gefährden bei unsachgemäßer Entsorgung die Umwelt und konnen gesundheitsschädigende Wirkungen auf Menschen, Tiere und Pflanzen haben.
-Vor dem Entsorgen müssen die Batterien vollständig entladen werden. Lassen Sie hierfür das Gerät so lange eingeschaltet, bis im Display keine Anzeige mehr sightbar ist.
-Nehmen Sie danach die Batterien aus dem Gerät wie im Abschnitt „Inbetriebnahme" beschreiben.
Dear Customer!
Hamburg, Mars 2022
GRENDS GmbH

Guarantee
www.adegermany.de/doc.
Batterie: 2x LR/R6 (AA)/1,5 V
EinfachAnleitung