DO221SV - Besen DOMO - Kostenlose Bedienungsanleitung
Finden Sie kostenlos die Bedienungsanleitung des Geräts DO221SV DOMO als PDF.
Benutzerfragen zu DO221SV DOMO
0 Frage zu diesem Gerät. Beantworten Sie die, die Sie kennen, oder stellen Sie Ihre eigene.
Eine neue Frage zu diesem Gerät stellen
Laden Sie die Anleitung für Ihr Besen kostenlos im PDF-Format! Finden Sie Ihr Handbuch DO221SV - DOMO und nehmen Sie Ihr elektronisches Gerät wieder in die Hand. Auf dieser Seite sind alle Dokumente veröffentlicht, die für die Verwendung Ihres Geräts notwendig sind. DO221SV von der Marke DOMO.
BEDIENUNGSANLEITUNG DO221SV DOMO
Lesen Sie genau die Anweisungen - bewahren Sie die Gebrauchsanleitung für spätere heranziehung.
Read all instructions carefully - save this instruction manual for future reference. Lea detenidamente todas las instrucciones - Conserve este manual para futura referencia.
VOOR HET EERSTE GEBRUIK
PROBLÈMES ET SOLUTIONS
Sehr geehrter Kunde,
Sämtliche unserer Produkte unterliegen einer strengen Qualitätskontrolle, bevor Sie Ihnen angeboten werden. Sollten dennoch
Probleme mit Ihrem Gerät auftreten, bedauern wir dies zutiefst.
Wir möchten Sie in diesem Fall bitten, unseren Kundenservice zu kontaktieren.
Unsere Mitarbeiter helfen Ihnen gern weiter!

+32 14 21 71 91

info@linea2000.be
Montag – Donnerstag: 8:30 Uhr – 12:00 Uhr und von 13:00 Uhr – 17:00 Uhr Freitag: 8:30 Uhr – 12:00 Uhr und von 13:00 Uhr – 16:30 Uhr
Dieses Gerät hat eine Garantiefrist von 2 Jahren ab dem Kaufdatum. Während der Garantiezeit übernimmt der Hersteller die vollständige Verantwortung für Mängel, die nachweislich auf Material- oder Konstruktionsfehler zurückzuführen sind. Wenn derartige Mängel auftreten, wird das Gerät wenn nötig ausgetauscht oder repariert. Die Garantiezeit von 2 Jahren beginnt in diesem Moment nicht erneut, sondern sie läuft bis 2 Jahre nach dem Kaufdatum weiter. Die Garantie wird auf der Grundlage des Kassenbons gewährt.
Die Garantie auf Accessoires und Verschleißteile beträgt 6 Monate.
Die Garantie und die Verantwortung/Haftung des Lieferanten und Herstellers entfallen automatisch in den folgenden Fällen:
- Bei Nichtbeachtung der Anweisungen in dieser Bedienungsanleitung.
- Bei falschem Anschluss, z.B. bei einer zu hohen Stromspannung.
- Bei falscher, grober oder abnormaler Verwendung.
- Bei unzureichender oder falscher Wartung.
- Bei vom Verbraucher oder von nicht ermächtigten Dritten vorgenommenen Reparaturen oder Änderungen am Gerät.
- Bei der Verwendung von Ersatzteilen oder Accessoires, die nicht vom Lieferanten / Hersteller empfohlen oder geliefert werden.
SICHERHEITSVORKEHRUNGEN
Dieses Gerät darf von Kindern ab 16 Jahren oder älter gebraucht werden. Ebenso dürfen Personen mit körperlicher bzw. leichter geistiger Behinderung sowie Personen mit eingeschränkter Erfahrung das Gerät betätigen. Dies unter der Voraussetzung, dass diese Personen ausreichende Anweisungen sowohl zum Gebrauch des Gerätes, als auch zu den hiermit verbundenen Gefahren erhalten haben.
Kinder dürfen nicht mit dem Gerät spielen. Die Pflege und Wartung des Gerätes darf nicht von Kindern ausgeführt werden, es sei denn, dass dies unter Aufsicht passiert und es sich um Kinder handelt, die älter als 16 Jahre sind und im Voraus ausreichend über den Gebrauch/die Wartung informiert worden sind. Sorgen Sie dafür, dass sich das Gerät nicht in Anwesenheit von Kindern unter 16 Jahren befindet.
Dieses Gerät eignet sich zum Gebrauch im Haushalt oder ähnlichen Umgebungen, wie z.B.:
-
Küchenzeile für Personal in Geschäften, Büros oder anderen professionellen Umgebungen
· Bauernhöfe
· Hotel-/Motel-/Gästezimmer u.ä. -
Achtung: das Gerät darf nicht mit einer externen Zeitschaltuhr oder Fernbedienung gebraucht werden.
- Bitte alle Anweisungen vor dem Gebrauch durchlesen.
- Vor der Benutzung prüfen, ob die Spannung, die auf dem Gerät angegeben ist, mit der Spannung Ihres Stromnetzes übereinstimmt.
- Lassen Sie das Netzkabel nicht über den Tisch oder die Anrichte hängen, oder in Kontakt mit heißen Oberflächen kommen.
- Benutzen Sie das Gerät niemals, wenn die Kabelschnur oder der Stecker beschädigt ist, nach beeinträchtigtem Funktionieren des Gerätes, oder wenn das Gerät beschädigt ist. Bringen Sie in solchen Fällen das Gerät zur nächsten qualifizierten Servicestelle zur Überprüfung und/oder Reparatur.
- Beim Einsatz des Gerätes in Anwesenheit von Kindern ist strenge Aufsicht geboten.
- Die Verwendung von Zubehör, das nicht vom Hersteller empfohlen oder verkauft wird, besteht die Gefahr von Brand, elektrischen Schlages oder von Verletzungen.
- Ziehen Sie den Stecker aus der Steckdose, wenn das Gerät nicht im Einsatz ist, Einzelteile montiert oder demontiert werden, oder das Gerät gereinigt wird. Ziehen Sie den Stecker direkt am Stecker selber und nicht an der Kabelschnur aus der Steckdose.
- Lassen Sie das im Betrieb befindliche Gerät nicht unbeaufsichtigt.
- Stellen Sie das Gerät nicht in der Nähe oder auf einer Gasflamme, einer elektrischen Platte oder an einer Stelle ab, auf der es in Kontakt mit einem Elektroofen oder einem anderen heißen Geräten kommen kann.
- Benutzen Sie das Gerät nicht im Freien.
- Benutzen Sie das Gerät ausschließlich für den Zweck, für den es gedacht ist.
- Stellen Sie das Gerät immer auf eine stabile, flache und trockene Oberfläche.
· Das Gerät ist nur auf den privaten Gebrauch ausgelegt. Der Hersteller ist nicht
verantwortlich für Unfälle, die als Folge von unsachgemäßem Gebrauch des Geräts oder Nichtbefolgen der in dieser Anleitung aufgeführten Regeln entstehen.
- Sämtliche Reparaturen, abgesehen von der gewöhnlichen Pflege, sind durch den Hersteller oder dessen Kundendienst zu übernehmen.
- Das Gerät, das Kabel oder den Stecker niemals in Wasser oder in andere Flüssigkeiten tauchen.
· Sorgen Sie dafür, dass Kinder das Netzkabel oder das Gerät nicht berühren können. - Netzkabel vor scharfen Kanten, heißen Gegenständen oder anderen Wärmequellen schützen.
- Beim ersten Gebrauch Verpackungsmaterial und mögliche Werbeaufkleber komplett entfernen.
- Verwenden Sie den Staubsauger nicht, um Wasch- und Reinigungsmittel, Flüssigkeiten, Nadeln, Streichhölzer und andere Flüssigkeiten dieser Art sowie scharfe oder brennbare Gegenstände einzusaugen.
- Verwenden Sie den Staubsauger nicht, um Zement, Pulver und andere kleine Partikel aufzusaugen. Vermeiden Sie das Aufsaugen von größeren Objekten. Der Staubsauger kann blockieren, der Motor könnte überhitzen oder es könnten andere Beschädigungen auftreten.
· Sorgen Sie dafür, dass der Lufteinlass oder die Bodendüse nicht blockiert werden.
· Sorgen Sie dafür, dass das Gerät nicht mit Flüssigkeiten in Berührung kommt.
· Laden Sie einen neuen Akku immer erst vollständig auf. - Ziehen Sie bei aufgeladenem Akku den Netzstecker immer aus der Steckdose.
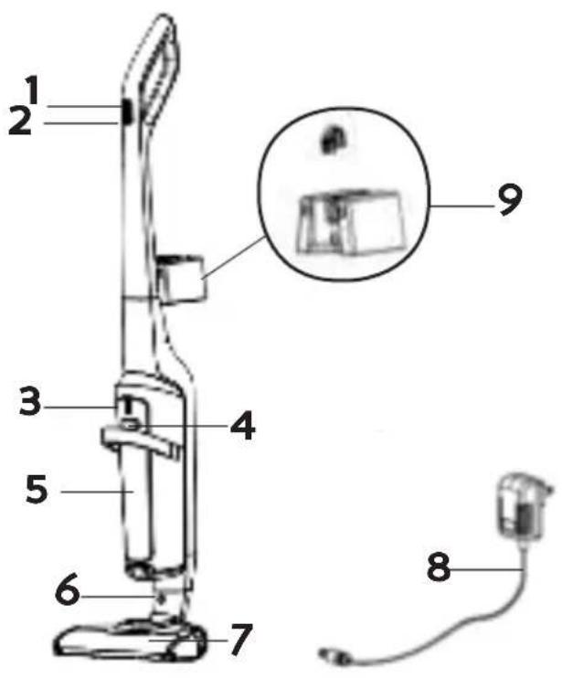
TEILE
- An-/Ausschalter
- Geschwindigkeitsstufenschalter
- Akkustandsanzeige
- Entriegelungsknopf für den Staubbehälter
- Staubbehälter
- Entriegelungsknopf Bodendüse
- Bodendüse mit rotierender Bodenbürste
- Netzteil
- Wandbefestigung

VOR DER ERSTEN INBETRIEBNAHME
Um das Gerät korrekt zu montieren, führen Sie bitte die folgenden Schritte aus:
- Setzen Sie den Griff auf die Basis und schrauben Sie ihn mit der beiliegenden Schraube fest. Achten Sie darauf, zwischen den Einzelteilen keine Kabel einzuklemmen.
- Sorgen Sie dafür, dass die Bodendüse im Stielstaubsauger eingerastet ist.
- Lassen Sie den Staubbehälter in den Stielstaubsauger einrasten.

text_image
1 2 3AUFLADEN
- Schließen Sie das Netzteil über den vorgesehenen Anschluss auf der Rückseite des Geräts an den Stielstaubsauger an, um diesen aufzuladen.
• Die Akkustandsanzeige zeigt an, wann das Gerät vollständig aufgeladen ist. - Während des Ladevorgangs kann das Gerät nicht eingeschaltet werden.

Zur Montage der Wandbefestigung an der Wand führen Sie am besten die folgenden Schritte aus:
-
Bohren Sie 3 Löcher in der Wand, die mit den Befestigungspunkten der Wandbefestigung übereinstimmen.
-
Stecken Sie die beiliegenden Dübel in die Wand.
-
Schrauben Sie die Wandbefestigung mit den beiliegenden Schrauben an der Wand fest.
-
Zur Aufbewahrung des Geräts hängen Sie es ganz einfach an die Wandbefestigung.

- Betätigen Sie den Ein-/Ausschalter, um das Gerät einzuschalten. Die Kontrollleuchte der Batterie ist blau und zeigt den Ladezustand an. Wenn die Batterie fast leer ist, blinkt diese Leuchte.
- Wenn Sie das Gerät einschalten, beginnt sich die rotierende Bodenbürste im unteren Teil der Bodendüse zu drehen. Dadurch wird der Schmutz in die Öffnung gekehrt und eingesaugt.
- Drücken Sie auf den Geschwindigkeitsstufenschalter, um die Saugkraft zu erhöhen oder zu reduzieren.
- Das Gerät ist mit einem Sicherheitsschalter ausgestattet, der dafür sorgt, dass es sich selbst ausschaltet, wenn beispielsweise große Objekte eingesaugt werden oder Finger in die Bodenbürste geraten sind. Dies geschieht zur persönlichen Sicherheit und zum Schutz des Motors. Um die Bodenbürste nochmal zu drehen, drücken Sie zweimaal erneut auf den An-/Ausschalter oder den Geschwindigkeitsstufenschalter.
REINIGUNG UND WARTUNG
REINIGUNG DES GERÄTS
Reinigen Sie das Gerät mit einem feuchten Tuch. Trocken Sie das Gerät anschließend gut ab. Tauchen Sie das Gerät auf keinen Fall in Wasser ein.
REINIGUNG DES STAUBBEHÄLTERS
- Drücken Sie die Entriegelungstaste des Staubbehälters, um ihn aus dem Staubsauger zu entnehmen.
- Nehmen Sie vorher die Filter aus dem Staubbehälter. Leeren Sie den Staubbehälter.
- Entfernen Sie Teil A von Teil B.
- Der Staubbehälter, Teil A und Teil B dürfen unter fließendem Wasser gereinigt werden. Achten Sie dabei darauf, dass sie komplett trocken sind, bevor sie erneut ins Gerät eingesetzt werden.

text_image
2 B AWir empfehlen, die Filter zur Gewährleistung einer optimalen Funktionalität des Geräts regelmäßig auszutauschen. Durch verschmutzte Filter geht die Saugkraft drastisch zurück. Reinigen Sie den Staubbehälter und die Filter nach jeder Benutzung, um die Lebensdauer des Geräts zu verlängern.
REINIGUNG DER BODENBÜRSTE
- Entfernen Sie die Bodendüse vom Handstaubsauger. Drücken Sie dazu den Entriegelungsknopf oberhalb der Bodendüse nach unten und ziehen sie diese aus dem Gerät.
- Lösen Sie die Klappe auf der linken Seite der Bodendüse.
- Nehmen Sie die rotierende Bodenbürste aus der Bodendüse.
- Entfernen Sie Haare und anderen Schmutz, der sich rund um die Bodenbürste gewickelt hat. Wird die Bodenbürste nicht regelmäßig gereinigt, kann sie beschädigt werden und das Gerät unbrauchbar werden.

-
Die rotierende Bodenbürste darf unter fließendem Wasser abgespült werden. Sorgen Sie dafür, dass diese komplett trocken ist, bevor sie erneut ins Gerät eingesetzt wird.
-
Setzen Sie die Bodenbürste erneut in die Bodendüse ein, wenn sie gereinigt wurde.
-
Drücken Sie die Klappe wieder zurück.
-
Schieben Sie die Bodendüse au f den Stiel zurück. Das Gerät ist jetzt einsatzbereit.
Festsitzende Haare können das Gerät oder Ihren Boden beschädigen. Entfernen Sie festsitzende Haare immer aus den Bürsten.
PROBLEME UND LÖSUNGEN
| Problem Lösung | |
| Das Gerät startet nicht. · Der Akku ist leer. Laden Sie das Gerät auf. | |
| Das Gerät saugt nicht. · Die Filter sind verschmutzt/der Staubbehälter ist voll.Die Bodenbürste ist verstopft/die Bodenbürste ist blockiert.Reinigen Sie das Gerät wie in dieser Bedienungsanleitung beschrieben. | |
| Die Betriebszeit des Geräts wird immer kürzer. | Das Gerät ist nicht ausreichend aufgeladen. Laden Sie das Gerät vollständig auf und versuchen Sie es erneut.Der Akku ist kaputt oder veraltet. Kontaktieren Sie den After Sales-Service.Festsitzende Haare. Entfernen Sie festsitzende Haare aus den Bürsten. |
ENTSORGEN

Dieses Symbol auf dem Produkt oder seiner Verpackung weist darauf hin, dass dieses Produkt nicht als normaler Haushaltsabfall zu behandeln ist, sondern an einem Sammelpunkt für das Recycling von elektrischen und elektronischen Geräten abgegeben werden muss. Durch Ihren Beitrag zum korrekten Entsorgen dieses Produkts schützen Sie die Umwelt und die Gesundheit Ihrer Mitmenschen. Umwelt und Gesundheit werden durch falsches Entsorgen gefährdet. Weitere Informationen über das Recycling dieses Produkts erhalten Sie von Ihren Rathaus, Ihrer Müllabfuhr oder dem Geschäft, in dem Sie das Produkt gekauft haben.

Das Verpackungsmaterial ist wiederverwertbar. Entsorgen Sie die Verpackung umweltgerecht und führen Sie sie der Wertstoffsammlung zu.
WARRANTY
Dear client,
die Domo Original-Zubehör und -Ersatzteile online über:
ORDER
the original Domo accessories and parts online at:
webshop.domo-elektro.be

EinfachAnleitung