HWD722 - Teemaschine INVENTUM - Kostenlose Bedienungsanleitung
Finden Sie kostenlos die Bedienungsanleitung des Geräts HWD722 INVENTUM als PDF.
| Technische Merkmale | Teegerät mit Temperaturkontrolle, Fassungsvermögen 1,7 Liter, Leistung 2200 Watt. |
|---|---|
| Verwendung | Entwickelt zum Aufbrühen verschiedener Teesorten bei spezifischen Temperaturen, mit digitaler Anzeige für einfache Einstellung. |
| Wartung und Reparatur | Regelmäßige Reinigung empfohlen, Entkalkung je nach Nutzung. Überprüfen Sie das Netzkabel auf Abnutzungserscheinungen. |
| Sicherheit | Automatische Abschaltung bei Überhitzung, Schutz gegen Trockenlauf. Gerät nicht in Wasser eintauchen. |
| Allgemeine Informationen | 2 Jahre Garantie, Bedienungsanleitung enthalten, kompatibel mit Standardsteckdosen. |
Häufig gestellte Fragen - HWD722 INVENTUM
Questions des utilisateurs sur HWD722 INVENTUM
0 question sur cet appareil. Repondez a celles que vous connaissez ou posez la votre.
Poser une nouvelle question sur cet appareil
Laden Sie die Anleitung für Ihr Teemaschine kostenlos im PDF-Format! Finden Sie Ihr Handbuch HWD722 - INVENTUM und nehmen Sie Ihr elektronisches Gerät wieder in die Hand. Auf dieser Seite sind alle Dokumente veröffentlicht, die für die Verwendung Ihres Geräts notwendig sind. HWD722 von der Marke INVENTUM.
BEDIENUNGSANLEITUNG HWD722 INVENTUM
- Sicherheitshinweise
- Beschreibung des Gerats Seite 16
- Vor dem ersten Gebrauch
- Gebrauch
- Reinigung & Wartung
Seite 17
Seite 17
Allgemeine Service- und Garantiebedingungen
Seite 16
Seite 26
Français
1 Sicherheitshinweise
- Lesen Sie diese Gebrauchsanweisung sorgfältig durch, bevor Sie das Gerät in Betriebnehmen und haben Sie diese für den späteren Gebrauch auf.
- Verwenden Sie das Gerät ausschließlich für die in der Gebrauchsanweisung beschriebenen Zwecke. Füllen Sie das Gerät ausschließlich mit Wasser und nicht mit anderen Flüssigkeiten.
- Achtung! Vermeiden Sie das Berühren der warmen Oberflächen, wenn das Geräteingeschaltet ist. Die Außenseite kann heiß werden.
- Beugen Sie Brandwunden durchHEYen Dampf vor. Blockieren Sied den Dampfauslass nicht und Öffnen Sie den Deckel des Wassertanks langsam und vorsichtig, wenn das Geräteingeschaltet ist.
Die Spannung der Stromquelle muß mit den Angaben auf den Typenschild übereinstimmen. - Das Kabel nicht über scharfe Kantenziehen, einklemmen oder herunterhängen halten. Kabel vor Hitze und Feuchtigkeit schützen!
- Wickeln Sie das Kabel komplett ab, um einer Überhitzung des Kabels vorzubeugen.
- Stellen Sie das Gerät weder auf noch in der Nähe eines bereits Gas- oder Elektroherdes auf. Stellen Sie das Gerät nicht darüber brennbares Material, z.B einem Rollo oder einen Vorhang.
- Stellen Sie das Gerät so auf, dass es auf einer ebenen und stabilen Fläche stehen.
- Lassen Sie das Gerät während des Betriebs nicht unbeaufsichtigt.
- Wenn Sie das Gerät verschieben möchten, achten Sie darauf auf dass, das Gerät ausgeschaltet ist.
- Wenn das Gerät oder das Netzkabel defekt oder beschädigt ist, muß es von einer autorisierten Werkstatt ersetzt werden, da für die Reparatur Spezialwerkzeuge und/oder spezielle Teile benötigt werden. Wenden Sie sich an ihren Handler oder an das Inventum Service Center.
- Wenn das Gerät nicht benutzt oder gereinigt wird, schalten Sie das Gerät aus undziehen den Stecker aus der Steckdose.
- Den Netzstecker nicht an der Leitung, mit dem Gerät oder mit nassen Händen aus der Steckdoseziehen.
-
Dieses Gerätarf nicht von Kindern zwischen 0 und 8 Jahren benutzt werden. Dieses Gerät kann von Kindern über 8 Jahren verwendet werden, wenn sie unter ständiger Aufsicht werden.
-
Dieses Gerät kann von Personen mit eingeschränkten körperlichen, sensorischen oder geistigen Fähigkeiten oder fehlender Erfahrung oder Wissen verwendet werden, wenn sie Betreuung oder Anweisungen bezüglich des sicheren Gebrauchs des Geräts erhalten und die damit verbundenen Gefahren verstanden haben. Das Gerät und dessen Kabel mussen außer Reichweite von Kindern unter 8 Jahren gehalten werden.
- Reinigung und Wartung dürfen nicht von Kindern durchgeführt werden.
- Kinder sollen betreut werden, um sicherzustellen, dass sie nicht mit dem Gerät speilen.
- Wenn das Gerät nach der Inbetriebnahme nicht Funktioniert, kann dies auf die Sicherung oder den Leitungsschutzschalter im elektr. Verteilerschrank zurückführren sein. Vielleicht ist der Stromkreis überlastet, oder es gab einen Fehlerstrom.
- Im Falle einer Störung oder eines Defekts versuchen Sie nie, das Gerät, selbst zu reparieren; wenn die Sicherung des Gerätes ausgelöst wurde, kann dies auf einen Defekt im Heizsystem darüberzuführen sein, welcher nicht durch das Herausnahmen oder Ersetzen der Sicherung behoben werden kann. Es dürfen ausschliesslich Original-Ersatzteile verwendet werden.
- Tauchen Sie das Gerät, das Netzkabel oder den Stecker niemals ins Wasser ein.
- Dieses Gerät ist dazu bestimmt, im Haushalt und ähnlichen Anwendungen verwendet zu werden, wie beispielsweise:
- in Kuchen für Mitarbeiter, in Läden, Büros und anderen gewerblichen Bereichen;
- von Kunden in Hotels, Motels und anderen Wohneinrichtungen;
-in Fruhstückspensionen; - in landwirtschaftlichen Anwesen.
- Dieses Gerät ist nur für den tatsächlichen Gebrauch bestimmt. Wir des nicht ordnungsgemäß, (halb) professionel oder entgegen den Anweisungen dieser Anleitung verwendet, erlischt die Garantie und Inventum übernimmt keine Haftung für irgendwelche eingetretenen Schäden.
- Be definitiver Außerbetriebssetzung eines derartigen Gerätes wird empfohlen, es funktionsuntüchtig zu machen, indem man das Versorgungskabel durchschneidet, nachdem der Netzstecker vom Stromnetz getrennt wurde. Elektro Haushaltsgeräte gehoren nicht in den Hausmull. Bringen Sie Ihr Gerät zur entsprechenden Mullentsorgungsstelle ihrer Gemeinde.
2 Beschreibung des Geräts
- Temperaturknopf
- Deckel
- Wasserreservoir
- Gehause
- Boden
- Tropfschale
- Tropfgitter
- Wasserauslauf
- Ein/Aus Knopf
- Reset-Knop (hinter dem Wasserreservoir)
- Gummikappe für Wasserablauf (Unterseite)

3 Vorderem ersten Gebrauch
Bevor Sie den HeiBwasserspender zum ersten Mal benutzen, müssen Sie Folgendes tun: Packen Sie den HeiBwasserspender vorsichtig aus und entfernen Sie das gesamte Verpackungsmaterial und eventuelle Werbeaufkleber. Bewahren Sie die Verpackung (Plastikhülle und Karton) für Kinder unzugänglich auf. Kontrollieren Sie das Gerät, nachdem Sie es aus der Verpackung genommen haben, sorgfältig auf äußertliche Schäden, die eventuell durch den Transport entwickelten sein konnen. Stellen Sie den HeiBwasserspender auf einen hitzebeständigen und ebenen Untergrund.
Die minimale Füllmenge ist 0,5 Liter Wasser. Die maximale Füllmenge ist 2,2 Liter Wasser.
Reinigen Sie das Wasserreservoir und spulen Sie es grundlich aus. Vor dem Gebrauch mussen Sie das Gerät zuerst zweimal spulen.
- Stellen Sie einen groben Becher oder eine Schale unter den Wasserauslauf.
- Füllen Sie das Wasserreservoir bis zum maximalen Fülstand und schalten Sie das Gerät ein.
- Achtung: Schalten Sie das Gerät aus, wenn der Becher oder die Schale voll ist. Kippen Sie den vollen Becher/die volle Schale über dem Spülbecken aus und stellen Sie den Becher/die Schale dann wieder unter den Wasserauslauf.
- Schalten Sie das Gerät wieder ein.
- Wiederholen Sie diese Schritte, bis Sie das Gerät zweimal mit einem vollen Wasserreservoir gespüt haben.
- Das Gerät ist jetzt einsatzbereit.

Der HeiBwasserspender ist ausschlieBich zum Erhitzen von Wasser geeignet. Fullen Sie den HeiBwasserspender niemals mit Milch, Tee, Kaffee oder anderen Flüssigkeiten.
Den Kalkfilter einsetzen
Öffnen Sie den Deckel des Wasserreservoirs und setzen Sie den Filterbehälter ein. Dieder passst nur auf eine einzige Weise in das Wasserreservoir.
Setzen Sie den Filter in die Öffnung des Filterbehalters ein und schließen Sie den Deckel des Wasserreservoirs.
4 Gebrauch
Kontrolieren Sie, ob die Spannung auf dem Typenschild des Geräts mit der Netzspannung in Ihrer Region übereinstimmt. Stellen Sie das Gerät auf einen hitzefesten und ebenen Untergrund. Stecken Sie den Stecker in eine Schuko-Wandsteckdose.
DEN HEISSWASSERSPENDER FULLEN
- Offnen Sie den Deckel des Wasserreservoirs.
- Nehmen Sie das Wasserreservoir aus dem Gerät oder füllen Sie das Wasserreservoir mit einem Messbecher oder einer Flasche.
- Füllen Sie das Wasserreservoir mit maximal 2,2 Litern kaltem Wasser.
- Setzen Sie das Wasserreservoir wieder in das Gerät ein und schreiben Sie den Deckel.

HEISSES WASSER ENTNEHMEN
- Stellen Sie ein Glas oder eine Tasse unter dem Wasserauslauf auf das Tropfgitter.
- Drehen Sie den Temperaturknopf auf die gewünschte Temperatur.
- Drucken Sie den Ein-/Aus-Knopf.
- Aus dem Wasserauslauf kommt jetzt heiBs Wasser.
- Drücken Sie den Ein-/Aus-Knopf erneut, um den Wasserstrom zu stoppen.
- Wiederholen Sie die obigen Schritte, wenn Sie mehrere Gläser/Tassen füssen möchten.
Achtung: Das Wasser und der Dampf sind frei und konnen Brandwunden verursachen, wenn Sie damit in Kontaktkommen.
5 Reinigung & Wartung
Wir empfehlen Ihnen, den Wasserspender regelmäßig zu reinigen, zum Beispielomal pro Monat. Das erhöht nicht nur die Lebensdauer des Geräts, sondern sorgt auch für eine möglichst optimale Verwendung und natürlich für schmackhaftes Wasser. Bevor Sie das Gerät reinigen, müssen Sie immer den Stecker aus der Wandsteckdoseziehen und das Gerät abkühlen halten.
REINIGEN
Wischen Sie die Außenseite regelmäßig mit einem feuchten Tuch ab. Verwenden Sie niemals Reinigung's- und/oder Scheuermittel!

Reinigen Sie lose Teile wie das Wasserreservoir, die Tropfschale und das Tropfgitter mit warmem Wasser und einem milden Spulmittel. Trocknen Sie die Teile gut ab.
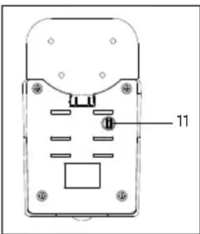
Entfernen Sie nach dem Reinigen des Heiwwasserspenders auch das überschüsse Wasser über den Wasserablauf an der Unterseite.
Drehen Sie die Gummikappe [11] des Wasserauslaufs an der Unterseite vom Gerät ab und setzen Sie das überschüsse Wasser über dem Spülbecken aus dem Gerät fließen.
Drehen Sie die Gummikappe danach wieder gut fest.
Bringen Sie die losen Teile an; jetzt ist das Gerät wieder gebrauchsbereit.
DEN KALKFILTERERSETZEN
Der Kalkfilter muss nach jeweils 150 Litern an hindurchgeströmtem Wasser ausgetaucht werden. Bei mäßigem Gebrauch ist das etwa 3x pro Jahr. Einen neuen Kalkfilter konnen Sie über den Webshop von Inventum bestellen.
Öffnen Sie den Deckel [a] des Wasserreservoirs [b] und entfern den Sie den Filterbehälter [c] mit dem Filter [d]. Nehmen Sie den Filter [d] aus dem Filterbehälter und setzen Sie einen neuen Filter ein. Den alten Kalkfilter konnen Sie wegwerfen. Setzen Sie den Filterbehälter wieder in das Wasserreservoir ein.

ENTKALKEN
Trotz der Verwendung eines Kalkfilters muss das Gerät jeder Monat entkalkt werden. Auch eine langsamere
Durchlaufgeschwindigkeit des Wassers kann ein Anzeichen darauf sein, dass das Gerät möglicherweise entkalkt werden muss.
Verwenden Sie ein Entkalkungsmittel ohne Chemikalien, zum Beispiel Haushaltssessig oder Zitronensäure.
- Füllen Sie das Wasserreservoir mit 2 Litern Wasser und fügen Sie 50 ml Entkalkungsmittel hinzu.
- Stellen Sie einen großen Becher oder eine Schale unter den Wasserauslauf.
Schalten Sie das Gerät ein. - Achtung: Schalten Sie das Gerät aus, wenn der Becher oder die Schale voll ist. Kippen Sie den vollen Becher/die volle Schale über dem Spülbecken aus und stellen Sie den Becher/die Schale dann wieder unter den Wasserauslauf.
Schalten Sied das Gerät wieder ein. - Wiederholen Sie dies, bis das Wasserreservoir mit dem Entkalkungsmittel leer ist.
- Fülten Sie das Wasserreservoir mit sauberem Wasser und spulen Sie das Gerät mit dem gesamten Wasser aus dem Wasserreservoir.
- Füllen Sie das Wasserreservoir erneut mit sauberem Wasser.
- Der HeiBwasserspendier ist jetzt wieder einsatzbereit.
VERSTAUEN
Entleeren Sie das Wasserreservoir und reinigen Sie den HeiBwasserspender, bevor Sie diesen verstauen.
STÖRUNGEN & LÖSUNGEN
Wenn e Storung auftritt, sollten Sie zuerst die folgenden Lösungsmoglichkeiten ausprobieren, bevor Sie Kontakt mit dem Kundendienst aufnehmen.
| Störung Mögliche Ursache Lösung | ||
| Die Durchlaufgeschwindigkeit ist reduziert. | Kalkablagerungen verzöbern die Aufwärmgeschwindigkeit. | Das Gerät muss entkalkt werden. |
| Unter aus dem Gerät tritt Wasser aus. Die Gummikappe an der Unterseite ist nicht richtig festgedreht. | Drehen Sie die Gummikappe an der Unterseite gut fest. | |
| Das Gerät macht gar nichts mehr. Mögliche | weise wurde der Überhitzungsschutz aktiviert. | Drücken Sie den Reset-Knopf auf der Rückseite des Geräts mit einem dünnen Stift nachinnen, um das Gerät darüberzustellen. |
PROBLEMES ET SOLUTIONS
Allgemeine Service- und Garantiebedingungen
Wie wichtig Kundenservice ist, brauchen wir Ihnen nicht zu sagen. Wir entwickeln unsere Produkte so, dass Sie jahrelang unbeschwert Freude daran erleben konnen. Soltte Dennoch ein Problem auftreten, dann dürfen Sie unseres Erachtens sofort eine Lösung erwarten. Darum bieten wir Ihnen auf all unsere Produkte einen Umtauschservice an, zusätzlich zu den Rechten und Ansprüchen, die Ihnen gesetzlich zustehen. Durch den Umtausch eines Produktes oder Geräteils ersparen wir Ihnen Zeit, Mühe und Kosten.
Zwei Jahre volle Werksgarantie
- Auf alle Produkte von Inventum erhalten Sie als Konsument standardmäßig zwei Jahre volle Werksgarantie. Innerhalb dieser Zeitraums wird ein defektes Produkt oder Geräteitel in jeder Fall gratis gegen ein neues Exemplar umgetaucht. Um ihren Anspruch auf die zweijährige volle Werksgarantie geltend zu machen, wenden Sie sich an das Geschäft, bei dem Sie das Produkt gekauft haben, oder kontaktieren Sie den Kundenservice von Inventum mittels des Formulars auf der Seite www.inventum.eu/service-aanvraag.
- Die Garantiezeit von zwei Jahren beginnnt am Datum des Ankaufs des Produktes.
- Zur Geltendmachung des Garantieanspruches ist eine Kopie des Originalkaufbeleges vorzulegen.
- Die Garantie gilt ausschließlich bei normalem Hausgebrauch der Inventum Produkte innerhalb der Niederlande.
Störungen oder Defekte außerhalb der Garantiezeit
- Im Falle von Störungen oder Defekten an einzeln oder große Haushaltsgeräten außerhalb der Garantiezeit kann dies beim Kundenservice mittels des Formulars www.inventum.eu/service-aanvraag oder durch einen Anruf beim Kundenservice gemeldet werden.
- Der Kundenservice bittet Si moglicherweise, das Produkt fur eine Überprüfung oder Reparatur einzusenden. Die Versandkosten gehen auf ihre Rechnung.
- Mit der Überprüfung, ob eine Reparatur möglich ist, sind Kosten verbunden, zu denen Sie im Voraus ihre Zustimmung geben müssen.
- Bei groen Haushaltsgeraten kan Inventum auf Ihr Ersuchen hin einen Haushaltsgeratemonteur beauftragen. Die Kosten fur die Anfahr, die Ersatzteile und das Material sowie der Arbeitslohn werden Ohnen dann in Rechnung gestellt.
- Im Falle eines Reparaturauftrages mussen die Reparaturkosten vorab bezahlt werden. Bei einer Reparatur durch einen Haushaltsgerätemonteur mussen die Kosten der Reparatur vor Ort beim Monteur, vorzugsweise durch elektronische Zahlung, beglichen werden.
Garantieausschluss
- Die oben genannten Garantien gelten nicht im Falle von:
normalem Verschleib;
- unsachgemäßem oder zweckwidrigem Gebrauch;
- unzureichender Wartung;
- Nichtbeachtung der Bedienungs- und Wartungsvorschriften;
- unfachmännischer Montage oder Reparatur durch Dritte oder den Konsumten selbst;
- Verwendung von Nichtoriginalteilen durch den Konsumten;
- geschäftlicher oder gewerbllicher Nutzung;
- Entfernung der Seriennummer und/oder des Typenschildes.
-
Gleichzeitig gilt die Garantie nicht für normale Konsumartikel wie z.B.:
-
Knethaken, Backbleche, (Kohlenstoff-)Filter u.A.;
- Batterien, Gluhbirnen, Kohlenstofffilter, Fettfilter usw.;
- externe Verbindungskabel;
- Glaszubehör und Glasteile wie z.B. Ofentüren;
-
sowie ähnliche Artikel.
-
Nicht von der Garantie abgedeckt sind Transportschäden, sofern diese nicht von Inventum verursacht wurden. Kontrollieren Sie darum Ihr neues Gerät, bevor Sie es in Gebrauchnehmen. Sollten Sie Beschädigungen feststellen, sind diese innerhalb von fünf Werktagen nach Ankauf beim Geschäft zu melden, bei dem Sie das Produkt gekauft haben, oder beim Kundenservice von Inventum mittels des Formulars auf der Seite www.inventum.eu/service-aanvraag. Falls Transportschäden nicht innerhalb dieser Frist gemeldet werden, übernimmt Inventum diesbezüglich keinerlei Haftung.
- Von der Garantie und/oder einem Ersatz ausgeschlossen sind: Defekte, Verlust oder Beschädigung des Gerätes infolge eines Vorfalls, der normalerweise von der Hausratversicherung abgedeckt ist.
Wichtige Informationen
- Der Ersatz oder die Ausbesserung eines defekten Produktes oder eines seiner Geräteile hat nicht eine Veränderung der ursprünglichen Garantiefrist zur Folge.
- Falls eine Reklamation unbegrundet ist, gehen alle Kosten, die dadurch entstanden sind, auf Rechnung des Konsumten.
- Nach Ablauf der Garantiefrist werden alle Kosten für die Ausbesserung oder den Ersatz, einschließlich der Verwaltungs-, Versand- und Anfahrstkosten, dem Konsumten in Rechnung gestellt.
- Inventum übernimmt auch keine Haftung für Schaden aus außerhalb des Gerätes entstandenen Ursachen, es sei dann, dass sich diese Haftung aus zwingenden Rechtsvorschriften ergibt.
- Auf diese Garantie- und Servicebedingungen ist niederlandisches Recht anwendbar. Rechtsstreitigkeiten unterliegen ausschließlich dem Urteil des zuständigen niederlandischen Richters.
EinfachAnleitung