Z31224 - Wagenheber ULTIMATE SPEED - Kostenlose Bedienungsanleitung
Finden Sie kostenlos die Bedienungsanleitung des Geräts Z31224 ULTIMATE SPEED als PDF.
Häufig gestellte Fragen - Z31224 ULTIMATE SPEED
Laden Sie die Anleitung für Ihr Wagenheber kostenlos im PDF-Format! Finden Sie Ihr Handbuch Z31224 - ULTIMATE SPEED und nehmen Sie Ihr elektronisches Gerät wieder in die Hand. Auf dieser Seite sind alle Dokumente veröffentlicht, die für die Verwendung Ihres Geräts notwendig sind. Z31224 von der Marke ULTIMATE SPEED.
BEDIENUNGSANLEITUNG Z31224 ULTIMATE SPEED
Bedienungs- und Sicherheitshinweise
2O
Z31224
ULTIMATE



DE/AT/CH Bedienungs- und Sicherheitshinweise Seite 16


A

B

C

D

E
Technische gegevens.. 11
Leveringsomvang
- Technische gegevens
Hefhoogte: ca. 18,5-36 cm
Draagkracht maximaal: 3000kg
Gewicht: ca. 3,1 kg
Hydraulische olie: conform ISO VG 15
Leveringsomvang
Bestimmungsgemäß Verwendung
Teilebeschreibung . 17
Technische Daten . 17
Lieferumfang . 17
Sicherheitshinweise . 17
Gebrauch
Kfz anheben . 18
Kfz absenken. 19
Reinigung und Pflege.
Wartung und Lagerung
Hydraulik-OI nachfullen/Einfetten. 19
Luft aus dem Hydraulic-System entfernen .Seite 20
Lagerung. 20
Fehler beheben
Entsorgung.
Informationen
Konformitätserklärung. 21
Hydraulik-Wagenheber
Bestimmungsgemäß Verwendung
Der hydraulische Wagenheber ist zum Heben und Absenken von Kraftfahrzeugen bestimmt. Andere Verwendungen oder Veränderungen des hydraulischen Wagenhebers gelten als nicht bestimmungs-gemäß und konnen zu Risiken wie lebensgefährlichen Verletzungen und Beschädigungen führen. Für aus bestimmungswidriger Verwendung entstandene Schäden übernimmt der Hersteller keine Haftung. Das Produkt ist nicht für den gewerblichen Einsatz bestimmt.
Hinweis: SchlieBen Sie nach jeder Benutzung das Absenkventil 5!
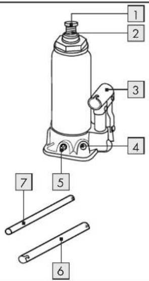
- Teilebeschreibung
1 Lastteller
2 Verlängerungsschraube
3 Hubstangenaufnahme
4 Sicherheitsventil
5 Absenkventil
6 Hubstange (für Pumpmechanismus)
7 Stange (fur Ablassventil)
8 Olverschlusstopfen
- Technische Daten
Hubhöhe: ca. 18,5-36 cm
Tragkraft maximal: 3000kg
Gewicht: ca. 3,1 kg
Hydraulik-Öl: gemäß ISO VG 15
- Lieferumfang
1 Hydrauscher Wagenheber
1 Hubstange
1 Stange für Ablassventil
1 Bedienungsanleitung

Sicherheitshinweise
GEFAH! Befolgen Sie die nachstehenden Anweisungen, andernfalls drohen Lebensgefahr, Verletzungen, sowie Beschädigungen am Produkt bzw. Kfz.
- Verwenden Sie zusätzlich zum hydraulischen Wagenheber stets Unterstellböcke und Radkeile. Arbeiten Sie niemals unter einem angehobenen Kfz, wenn Sie keine weiteren Sicherungsmaßnahmen getroffen haben. So verhindern Sie ein Wegrollen, Abrutschen oder Kippen des Fahrzeugs.
Benutzen Sie das Produkt nur auf festen, ebenen Flächen. Auf nicht befestigten und unebenen Flächen - wie z.B. Schotterdecken - kann es zum Verrutschen der Last kommt.


Achten Sie darauf, dass Sie niemals die zulässige Nennlast (Tragkraft) überschreiben.
Esisterforderlich,dassiedebidenungsperson dasHubgeratund die Lastwahrend allerBewegungen beobachten kann.
Esist nicht erlaubt,unter der angehobenen Last zu arbeiten,solange sie nicht durch geeignete Mittel geschichert ist.
Lassen Sie den hydraulischen Wagenheber nicht von unqualifizierten und unerfahrenen Personen benutzen.
Sichern Sie das Kfz vor der Benutzung des hydraulischen Wagenhebers gegen Wegrollen. Ziehen Sie die Handbremse an, legen Sie einen Gang ein (bei Automatik „P”) und sichern Sie das Kfz mittels Radkeilen.
Seien Sieriotz Sicherungsmaßnahmen stets aufmerksam und beobachten Sie während der gesamten Arbeit am Kfz, ob der Lastteller fest auf der Wagenheberaufnahme sitzt.
Stellen Sie sicher, dass beim Anheiten des Kfz weder Benzin, Batterieflüssigkeit noch andere gefährliche Substanzen auslaufen konnen.
Vergewisern Sie sich, dass sich keine Personen oder Hindernisse unter dem Kfz befinden, wenn Sie diesen absenden.
■ Senken Sie das Kfz nur langsam ab.
Kontrollieren Sie, ob alle Teile sachgerecht montiert und unversehrt sind.
Überprüfen Sie vor jedem Gebrauch die Funktionstüchtigkeit des hydraulischen Wagenahebers. Kontrollieren Sie den hydraulischen Wagenahebers insbesondere auf auslaufendes Hydrauliköl, den festen Sitz aller Schrauben und Ventile.
Benutzen Sie den hydraulischen Waghenheber niemals zum Transportieren oder Beladen eines Fahrzeugs. Heben Sie niemals das gesamte Fahrzeug an.
Achten Sie darauf, dass sich keine Personen - insbesondere Kinder - im Kfz befinden und in der Höhe befindliche Personen ausreichend Abstand zum Kfz halten, wenn der hydraulische Wagenheber in Gebrauch ist.
Verstellen Sie niemals das Sicherheitsventil 4. Es ist werksheitig korrekt eingestellt und muss nicht nachjustiert werden.
- Verwenden Sie den hydraulischen Wagenheber keinesfalls, wenn das Siegel (Sicherheitsventil 4) beschädigt ist.
Der Anwender ist vor dem Gebrauch des Wagenhebers durch eine erfahrene Person mit dem Gerät vertraut zu machen. Die Pump- und Übertragungskräfte betragen ungebärn 350 N.
Sind die Markierungen auf dem Produkt bis zur Unleserlichkeit beschädigt, ist von einer weiteren Nutzung des Wagenhebers abgeraten, bis diese erneuert wurden.
- Nehmen Sie keine Umbauarbeiten am hydraulischen Wagenheber vor. Jegliche konstruktive Veränderung des Gerats hat Einfluss auf die Sicherheit und die Übereinstimmung des Gerats mit der EN 1494/A1:2008.
Beim Benutzen des Wagenhebers darf die aufgewendete Kraft 350 N nicht überschreiben. Dies entspricht einer Kraft von ungebahr 35 kg am Hebel.

VORSICHTMERLETZUNGSGEFAHR DURING QUETSCHUNGENI!
- Halten Sie ihre Finger während des Jahres immer vom Bereich der Hubefohnahme 3 fern. Andernfalls kann Erträge durch Quetschungen kommt.
Pumpvorgangs immer vom Bereich der Hubstangenaufnahme 3 fern. Andernfalls kann es zu Verletzungen durch Quetschungenkommen.
Die Betriebstemperatur des Hydraulikols把这些 Geräts liegt bei -20^ C bis +40^ C.
- Verwenden Sie das Gerät nicht in feuergefahrdeten Räumen, in denen brennbare oder
explosive Dampfe oder Stäube vorhanden sein konnten (z.B. in Ställen, Scheunen oder Lackierhallen).
Benutzen Sie das Gerät nur zum Heben und Absenken des Kfz, nicht zum Halten in angehobener Stellung. Bewegen Sie es nicht beim Heben oder Absenken.
Benutzen Sie das Gerät nicht, wenn Sie Spuren von ausgelaufenem Öl vorfinden.
Stellen Sie nach jedem Gebrauch des Geräts alle benutzten Teile wieder in ihre ursprüngliche Position zurück. Lassen Sie das Hydrauliköl oder die Ölpumpe von Fachpersonal austauschen, wenn Teile des Geräts sich nicht verstellen lasen.
- Gebrauch
Kfz anheben
VORSICHT! LEBENSGEFAHR! Vergewissem
Sie sich zunachst über den unversehren Zustand von Wagenheber und Unterstellböcken, bevor Sie diese verwenden. Beachten Sie, dass der hydraulische Wagenheber nur in Kombination mit Unterstellböcken verwendet werden darf. Stellen Sie diese vor dem Anheiten des Kfz bereit. Falls Sie keine Unterstellböcke verwenden, droht ein Abkippen des Kfz, was Lebensgefahr bedeuten kann.
Gehen Sie wie folgt vor:
Achten Sie darauf, dass die Stange komplett abgesenkt ist und die Verlangerungsschraube 2 vollständig eingedreht ist, wenn Sie den Wagenheber lagern.
Stellen Sie den hydraulischen Wagenaher in die gewünschte Position. Beachten Sie dazu die Betriebsanleitung des Kfz.
Drehen Sie, falls notwendig, die Verlängerungsschraube 2 heraus, bis Sie den Boden des Kfz berührt (Abb. B).
Verbinden Sie die Stange mit der Hubstange 6, um eine verlangerte Hubstange zu erhalten.

VORSICHTMERLETZUNGSGEFAHR DURCH QUETSCHUNGEN!
Halten Sie Ihr Finger während des
Pumpvorgangs immer vom Bereich der Hub
stangenaufnahme 3 fern. Andernfalls kann es zu Verletzungen durch Quetschungenkommen.
Fuhren Sie die Hubstange 6 in die Hubstan-genaufnahme 3 ein und pumpen Sie das Kfz auf die gewünschte Höhe (Abb. C).
Stellen Sie die Unterstellböcke unter die zulässigen Stützpunkte des Kfz.
Entlasten Sie den Wagenerbeber, indem Sie die Stange mit der ovalen Öffnung auf das Absenkventil aufsetzen, die Stange etwas gegen den Uhrzeigersinn drehen und dann sofort wieder zurückdrehen. Der Lastteller führt etwas herunter und das Kfz wird von den Unterstellböcken gehalten.
Kfz absken
LEBENSGEFAHR! Vergewissern Sie sich, dass sich keine Personen oder Hindernisse unter dem Kfz befinden, wenn Sie diese absenken.
VORSICHT! Senken Sie das Kfz nur langsam ab. Andernfalls drohen Verletzungsgefahr und Beschädigungen am Wagenheber und / oder dem Kfz.
Heben Sie zunachst das Kfz etwas an, um die Unterstellböcke entfern zu konnen. Gehen Sie zum Anheiten vor wie im Kapitel „Kfz anheiten" beschrieben.
Entfernen Sie die Unterstellböcke.
- Setzen Sie die Stange mit der ovalen Öffnung auf das Absenkventil auf und drehen Sie die Stange langsam gegen den Uhrzeiger-sinn (Abb. C). Das Kfz wird langsam abgesenkt.
Hinweis: Je stärker Sie die Stangegegen den Uhrzeigersinn drehen, um so schneller wird das Kfz abgesenkt. Drehen Sie deshalb zunachst sehr vorsichtig, um ein Gefühl für die richtige Geschwindigkeit zubekommen.
- Senken Sie den Lastteller 1 soweit ab, dass er nicht mehr belastet ist. Ziehen Sie den Wageneber dann unter dem Auto hervor. Üben Sie Druck auf den Lastteller 1 aus, bis er vollständig abgesenkt ist.
Schlieben Sie das Absenkventil 5, indem Sie die Stange auf dem Absenkventil 5 im Uhrzeigersinn drehen
Ziehen Sie die Stange 7 vom Absenkventil 5 ab.
Drehen Sie die Verlängerungsschraube 2 wieder herunter, falls Sie herausgeschraubt ist.
Reinigung und Pflege
Fetten Sie alle auBen liegenden, beweglichen Teile gut ein.
Reinigen Sie den hydraulischen Wagenaher mit einem leicht eingeölten Tuch.
- Verwenden Sie keinesfalls scharfe oder atzende Reinigungsmittel.
Wartung und Lagerung
Hydraulik-Öl nachfüllen/Einfetten
Hinweis: Verwenden Sie nur Hydraulik-Ole gemäß ISO VG 15.
Stellen Sie den Wagenheber senkrecht auf eine ebene, waagerechte Fläche.
Drehen Sie die Verlängerungsschraube 2 vollständig herunter.
Setzen Sie die Stange mit der ovalen Öffnung auf das Absenkventil auf und drehen Sie die Stange gegen den Uhrzeigersinn (Abb. C), bis der Lastteller vollständig abgesenkt ist.
Ziehen Sie den Ölverschlussstopfen aus dem Öltank.
Füllen Sie Hydrauliköl mit einem geeigneten Gefäß in den Öltank. Füllen Sie das Hydraulik Öl bis an die Unterkante der Einfūlöffnung.
Entfernen Sie eventuell vorhandene Luft im Hydraulik-System. Gehen Sie dazu wie in den Schritten 3-4 im Kapitel „Luft aus dem Hydraulik-System entfernen" vor.
Setzen Sie den Ölverschlussstopfen [8] wieder in den Öltank ein.
Fetten Sie alle beweglichen Teile des Wagenebers regelmäß ein, um Korrosion zuverhindern.
Füllen Sie ca. 100 - 105 ml Öl nach, wenn das Öl komplett verbraucht ist.
- Luft aus dem Hydraulik-System entfernen
Luft im Hydraulik-System kann zu Beeinträchtigungen bei der Funktion des Wagenhebers führen.
Gehen Sie zum Entfern der Luft aus dem Hydraulik-System wie folgt vor:
- Setzen Sie die Stange mit der ovalen Öffnung auf das Absenkventil auf und drehen Sie die Stange gegen den Uhrzeigersinn (Abb. C), bis der Lastteller vollständig abgesenk ist.
- Ziehen Sie den Ölverschlussstopfen 8 aus dem Öltank.
- Führer Sie die Hubstange 6 in die Hubstangenaufnahme 3 ein und pumpen mehrmals, um die Luft entweichen zu halten.
- Setzen Sie die Stange mit der ovalen Öffnung auf das Absenkventil 5 auf und drehen Sie die Stange im Uhrzeigersinn (Abb. C). Das Absenkventil 5 ist nun wieder geschlossen.
- Setzen Sie den Ölverschlussstopfen [8] wieder in den Öltank ein.
- Wiederholen Sie bei Bedarf die Schritte 1-5, bis die Luft vollständig entwicken ist.
Lagerung
Setzen Sie die Stange mit der ovalen Öffnung auf das Absenkventil auf und drehen Sie die Stange gegen den Uhrzeigersinn (Abb. C), bis der Lastteller vollständig abgesenkt ist.
Drehen Sie die Verlängerungsschraube 2 vollständig herunter.
Lagern Sie den hydraulischen Wagenaher und die Hubstange trocken und vor Feuchigkeit geschützt.
Achten Sie daraufuf, dass der Lastteller 1 komplett abgesenkt ist und die Verlangerungsschraube 2 vollständig eingedrecht ist, wenn Sie den Wagenheber lagern. So vermeiden Sie, dass Öl aus dem Ölverschlussstopfen 8 austreten kann.
Fetten Sie alle beweglichen Teile des Wagenebers regelmäß ein, um Korrosion zu verhindern.
Fehler beheben
= Fehler
= Ursache
0 = Behebung
= Der Wagenheber hebts das Kfz nicht oder nicht hoch genug an.
Das Absenkventi5 wurdene nicht richtig geschlossen.
O = Schlieben Sie das Absenkventil 5 vollständig (siehe Kapitel Kfz anheiten).
= Es ist nicht genug Hydraulik-Ol im Wogenheber.
O = Fullen Sie Hydraulik-Öl nach (siehe Kapitel „Hydraulik-Öl nachfüllen/Einfetten").
= Es befindet sich zuviel Hydraulik-Öl im Zylinder.
O = Entfernen Sie die überschüssige Menge Hydraulic Öl aus dem Zylinder.
= Es befindet sich Luft im Hydraulik-System.
O = Entfernen Sie die Luft im Hydraulik-System (siehe Kapitel "Luft aus dem Hydraulik-System entfernen").
= Der Wagenheber gibt unter Belastung nach.
=Das Absenkventil5wuDerne nicht richtig geschlossen.
O = Schlieben Sie das Absenkventil 5 vollständig (siehe Kapitel Kfz anheiten).
= Hydraulik-OI tritt aus.
= Es befindet sich zuviel Hydraulik-ol im Zylinder.
O = Entfernen Sie die überschussige Menge Hydraulik- aus dem Zylinder.
= Der Pump-Mechanismus Funktioniert nur teilweise.
C = Es befindet sich zuviel Hydraulik-Ol im Zylinder.
O = Entfernen Sie die uberschussige Menge Hydraulik- aus dem Zylinder.
= Es befindet sich Luft im Hydraulik-System.
O = Entfernen Sie die Luft im Hydraulik-System (siehe Kapitel "Luft aus dem Hydraulik-System entfernen").
- Entsorgung

Die Verpackung besteht aus umweltfreundlichen Materialien, die Sie über die örtlichen Recyclingstellen entsorgen konnen.

Werfen Sie Ihr Produkt, wenn es ausgedient hat, im Interesse des Umweltschutzes nicht in den Hausmull, sondern führen Sie es einer fachgerechten Entsorgung zu. Über Sammelstellen und deren Offnungszeiten konnen Sie sich bei ihrer zuständigen Verwaltung informieren.
Lassen Sie Hydrauliköl umweltgerecht entsorgen. Stellen Sie die Entsorgung durch eine Reparatur-Fachwerkstatt sicher oder wenden Sie sich an die{nachste Schadstoffsmittelstelle.
Informationen
Konformitätserklärung
Wir, Milomex Ltd., c / o Milomex Services, Hilltop Cottage, Barton Road, Pulloxhill, Bedfordshire, MK45 5HP, UK, erklaren in alleiniger Verantwortung, dass das Produkt: Hydraulik-Wagenheber, Modell-Nr.: Z31224, Version: 07/2012, auf das sich diese Erklärung bezieht, mit den Normen / normativen Dokumenten der 2006/42/EC übereinstimmt.
Angewandte harmonisierte Norm: EN 1494/A1:2008
Heaenerfiing
Die komplete Konformitätserklarung finden Sie unter: www.milomex.com
C



IAN73148
Milomex Ltd.
Stand der Informationen: 05/2012
Ident-No.: Z31224052012-2
2

EinfachAnleitung