NV68R3375BS/EF - Ofen SAMSUNG - Kostenlose Bedienungsanleitung
Finden Sie kostenlos die Bedienungsanleitung des Geräts NV68R3375BS/EF SAMSUNG als PDF.
Benutzerfragen zu NV68R3375BS/EF SAMSUNG
0 Frage zu diesem Gerät. Beantworten Sie die, die Sie kennen, oder stellen Sie Ihre eigene.
Eine neue Frage zu diesem Gerät stellen
Laden Sie die Anleitung für Ihr Ofen kostenlos im PDF-Format! Finden Sie Ihr Handbuch NV68R3375BS/EF - SAMSUNG und nehmen Sie Ihr elektronisches Gerät wieder in die Hand. Auf dieser Seite sind alle Dokumente veröffentlicht, die für die Verwendung Ihres Geräts notwendig sind. NV68R3375BS/EF von der Marke SAMSUNG.
BEDIENUNGSANLEITUNG NV68R3375BS/EF SAMSUNG
Automatischenbereiden 16
Reinigen 17
Timer 18
Geluid aan/uit 18
Slim koken 19
Handmatige bereiding 19
Automatisch bereiden
Handmatige bereiding
Benutzer- und Installationshandbuch
NV68R3375BS/EF / NV68R3375BB/EF / NV68R3371BS/EF /
NV68R3372BS/EF

Inhalt
Hinweise zu dieser Bedienungsanleitung 3
In thisem Benutzerhandbuch werden folgende Symbole verwendet: 3
Sicherheitshinweise 3
Wichtige Hinweise zur Sicherheit 3
Korrekte Entsorgung von Altgeräten (Elektroschrott) 6
Automatische Energiesparfunktion 6
Aufstellen des Geräts 6
Lieberumfang 6
Netzanschluss 7
Einbau in einen Kuchenschrank 8
Vor der ersten Verwendung 9
Anfangseinstellungen 9
Gerüche in Neugeräten 9
Intelligenter Sicherheitsmechanismus 9
Zubehör 10
Bedienung 11
Bedienfeld 11
Häufig genutzte Einstellungen 11
Betriebsart 15
Automatikprogramme 16
Reinigung 17
Timer 18
Ton ein/aus 18
Verwendung 19
Manuelles Garen 19
Automatikprogramme 23
Testgerichte 25
Pflege 26
Reinigen 26
Ersetzen von Teilen 28
Fehlerbehebung 29
Problembeschreibungen 29
Informationscodes 31
Technische Daten 31
Anhang 32
Produktdatenblatt 32
2 Deutsch

Hinweise zu dieser Bedienungsanleitung
Vielen Dank, dass Sie sich für einen Einbaubackofen von SAMSUNG entschieden haben.
Dieses Handbuch enthalt wichtige Informationen zur Sicherheit und Anweisungen, die Ihnen helfen sollen, Ihr Gerät zu bedienen und zu pflegen.
Bitte nehmen Sie sich vor der Inbetriebnahme Ihres Geräts Zeit, um diese Handbuch zulesen und halten Sie es zur späteren Nutzung bereit.
In thisem Benutzerhandbuch werden folgende Symbole verwendet:
WARNING
Gefährliche bzw. unsichere Praktiken, die zu schweren Verletzungen, Tod und/oder Sachschäden führen können.
VORSICHT
Gefährliche bzw. unsichere Praktiken, die zu Verletzungen und/oder Sachschäden führen können.
HINWEIS
Nutzliche Tipps, Empfehlungen oder Informationen, die Ihnen den Umgang mit dem Gerät erleichtern.
Sicherheitshinweise
Die Installation these Gerats darf nur von einem zugelassenen Elektriker durchgefuhrt werden. Der Installateur ist davon verantwortlich, das Gerat an das Stromnetz anzuschlieben und damit die relevanten Sicherheitsbestimmungen zu beachten.
Wichtige Hinweise zur Sicherheit
WARNING
Dieses Gerät ist nicht zur Verwendung durch Personen (einschließlich Kindern) mit verringerten körperlichen, sensorischen oder mentalen Fähigkeiten oder einem Mangel an Erfahrung und Wissen bestimmt, sofern sie nicht von einer für ihre Sicherheit verantwortlichen Person im Umgang mit dem Gerät unterwiesen wurden und von dieser beaufsichtigt werden.
Kinder,müssen beaufsichtigt werden,um zu verhindern,dassie mit dem Geratspielen.
Die Trennungsvorrichtungen sind entsprechend den
Anschlussvorschriften in die fest verlegte Leitung einzubauen.
Das Gerät muss so aufgestellt werden, dass es auch nach der Installation vom Netz getrennt werden kann. Dies kann erreicht werden, indem der Stecker stets zugänglich bleibt oder in die fest verlegte Leitung ein den Anschlussvorschriften entsprechender Schalter eingebaut wird.
Falls das Netzkabel beschädigt ist, muss es vom Hersteller oder vom Kundendienst bzw. von einer entsprechend qualifizierten Fachkraft ausgetauscht werden, um Gefährdungen auszuschreiben.
Sicherheitshinweise
Bei der angegebenen Befestigungsmart dürfen keine Klebemittel eingesetzt werden, da sie keinena ausreichenden Halt bieten.
Dieses Gerätarf von Kindern ab 8 Jahren und Personen mit verminderten körperlichen, sensorischen oder geistigen Fähigkeiten oder einem Mangel an Erfahrung und Wissen bedient werden, wenn sie unter Aufsicht stehen oder eine Unterweisung zum sicheren Umgang mit dem Gerät erhalten haben und die damit verbundenen Gefahren verstehen. Kinder dürfen nicht mit dem Gerät speilen. Kinder dürfen bei Reinigung und Wartung nur dann halten, wenn sie bereits beaufsichtigt werden. Halten Sie das Gerät und das Netzkabel außerhalb der Reichweite von Kindern unter 8 Jahren.
Das Gerät erhitzt sich im Betrieb. Es ist Vorsicht geboten, damit Sie die Heizelemente im Innern des Geräts nicht berühren.
WARNING: Zugängliche Teile können sich im Betrieb erwärmen. Halten Sie Kinder deshalb fern.
Benutzen Sie keine scharfen Scheuermittel oder Metallschaber, um den Glaseinsatz der Gerätür zu reinigen. Sie konnten die Oberfläche zerkratzen und damit das Glas zerbrechen halten.
Wenn这点 Gerät über eine Reinigungsfunktion verfügt, müssen Sie überschüssiges Wasser und Kochutensilien vor Verwendung der Dampf-oder Selfstreinigung aus dem Gerät entfernen. Die Reinigungsfunktion ist modellabhängig.
Wenn这点 Gerät über eine Reinigungsfunktion verfügt, konnen die Oberflächen während der Reinigung heißer als üblich werden. Kinder mussen deshalb ferngehalten werden. Die Reinigungsfunktion ist modellabhängig.
Verwenden Sie ausschließlich das für diesen Gerät empfohlenen Bratenthermometer. (Nur Modelle mit Bratenthermometer)
Zur Reinigung des Geräts dürfen keine Dampfreiniger verwendet werden.
WARNING: Stellen Sie sicher, dass das Gerät vor einem Austausch der Glühlampe vom Stromnetz getrennt wird, da sonst die Gefahr eines Stromschlags besteht.
Um eine Überhitzung zu vermeiden, damit die Tür des Geräts nicht mit einer Zierblende versehen werden.
WARNING: Das Gerät und seine zugänglichen Teile können während des Betriebs besteht werden. Es ist Vorsicht geboten, damit Sie die Heizelemente des Geräts nicht berühren. Wenn sie nicht unter ständiger Aufsicht stehen, müssen Kinder unter 8 Jahren von dem Gerät ferngehalten werden.
VORSICHT: Der Kochvorgang muss beaufsichtigt werden. Ein kurzer Garprozess muss ununterbrochen beaufsichtigt werden.
Die Geräte tür und die Außenfläche können im Betrieb besteht werden. Wenn das Gerät in Betrieb ist, können für Sie zugängliche Flächen besteht sein. Die Oberflächen können während des Gebrauchs besteht werden. Haushaltsgeräte dürfen nicht mit einem externen Zeitschalter oder einer separaten Fernbedienung bedient werden.

Setzen Sie den Gitterrost mit den hervorstehenden Teilen (seitliche Anschläge) nach vorne in den Garraum ein, sodass er bei der Zubereitung großer Portionen eine möglichst hohe Stabilität gewährleistet.
VORSICHT
Schließen Sie das Gerät nicht an, wenn es während des Transports beschädigt wurde.
Dieses Gerätarf nur von einem speziell zugelassenen Elektriker an das Stromnetz angeschlossen werden.
Versuchen Sie im Fall eines Problems oder Schadens am Gerät nicht, es zu benutzen.
Reparaturen dürfen nur von entspruchend geschultem Fachpersonal vorgenommen werden.
Unsachgemäß durchgeführte Reparaturen konnen zu erheblichen Risiken für Sie selbst und
Dritte führen. Wenn Ihr Gerat repariert werden muss, setzen Sie sichitte mit ihrem SAMSUNG-Kundendienstzentrum oder ihrer Handlcr in Verbindung.
Elektrische Leitungen und Kabel dürfen das Gerät nicht berühren.
Das Gerät wird über einen zugelassenen Sicherungsautomaten oder Sicherung an das Stromnetz angeschlossen. Verwenden Sie niemals Mehrfachsteckdosen oder Verlängerungskabel.
Die Stromversorgung des Geräts muss bei Reparaturen oder Reinigungsrarbeiten ausgescheltet werden.
Gehen Sie vorsichtig vor, wenn Sie weitere elektrische Geräte an Steckdosen in der Höhe dieser Haushaltsgeräts anschließen.
Wenn these Gerat über eine Dampfgarfunktion verfügt, dürfen Sie es nicht in Betriebephmen, wenn der Wasserbehälter beschädigt ist. (Nur Modelle mit Dampfgarfunktion)
Wenn der Wasserbehälter in irgendeiner Weise beschädigt ist, verwenden Sie das Gerät nicht und wenden Sie sich an Ihr nachstgelegenes Kundendienstzentrum. (Nur Modelle mit Dampfgarfunktion) Dieses Gerät ist nur für die Verwendung im Haushalt ausgelegt.
Während des Betriebs werden die Innenflächen des Geräts so heiß, dass sie Verbrennungen verursachen können. Berühren Sie die Heizelemente oder Innenflächen des Geräts keinesfalls, ohne sie vorher ausreichend abkühlen zu halten.
Lagern Sie kein entflammbares Material im Gerät.
Die Oberflächen des Gerats werden heiß, wenn das Gerät langere Zeit mit hoher Temperatur verwendet wird.
Passen Sie auf, wenn Sie die Geräte tür im Betrieb öffnen, da Höhe Luft und Dampf schnell aus dem Gerät austreten konnen.
Wenn Sie Gerichte mit Alkohol Zubereiten, kann der Alkohol aufgrund der hohen Temperaturen verdunsten. Diese Dampf kann Feuer fangen, wenn er mit einem freißen Teil des Geräts in Kontakt kommt.
Zu ihrer eigenen Sicherheit sollenen Sie keine Hochdruckwasser- oder -dampfreiniger verwenden.
Halten Sie Kinder in sicheren Abstand, wenn das Gerät in Gebrauch ist.
Tiefgefrorene Lebensmittel wie Pizzas werden auf dem großen Rost zubereitet. Wenn das Backblech verwendet wird, kann es sich aufgrund der großen Temperaturschwankungen verformen.
Gießen Sie kein Wasser auf den Boden des Garraums, wenn dieser heißt ist. Dies konnte Schaden an der Emailleoberfläche verursachen.
Die Gerätetur muss während des Garvorgangs geschlossen sein.
Legen Sie den Boden des Garraums nicht mit Aluminiumfolie aus, und stellen Sie keine Backbleche oder Behälter darauf. Die Aluminiumfolie reflektiert die Hitze, sodass es zu Schäden an den
Emailleoberflächen und zu schlechten Garergebnissen kommt kann.
Obstsäfte hinterlassen auf den Emailleoberflächen des Garraums Flecken, die sich möglicherweise nicht mehr entfernen setzen.
Wenn Sie sehr feuchte Kuchen backen, verwenden Sie die Fettpfanne.
Stellen Sie keine Backwaren auf die geöffnete Gerätetur.
Achten Sie beim Offnen oder Schlieben der Gerätetur auf Kinder in der Nähe, da diese gegen die Gerätetur laufen oder ihre Finger einklemmen konnten.
Stellen oder legen Sie keine schweren Gegenstände auf die Gerätetur, und lehnen Sie keine schweren Objekte dagegen.
Öffnen Sie die Geräteur nicht mit übermögiger Kraft.
WARNING: Trennen Sie das Gerät nicht vom Stromnetz, auch wenn der Garvorgang bereits abgeschlossen ist.
WARNING: Schlieben Sie stets die Gerätetur, wenn Sie Speisen im Gerät zubereiten.
Sicherheitshinweise
Korrekte Entsorgung von Altgeräten (Elektroschrott)


(Gilt für Länder mit Abfalltrennsystemen)
Die Kennzeichnung auf dem Produkt, Zubehörteilen bzw. auf der dazugehörigen Dokumentation gibt an, dass das Produkt und Zubehörteile (z. B. Ladegerät, Kopfhörer, USB-Kabel) nach ihrer Lebensdauer nicht zusammen mit dem normalen Haushaltsmüll entsorgt werden dürfen. Entsorgen Sie these Gerät und Zubehörteileitte getrennt von anderen Abfallen, um der Umwelt bzw. der menschlichen Gesundheit nicht durch unkontrollierte Müllbeseitigung zu schaden. Helfen Sie mit, das Altgerät und Zubehörteile fachgerecht zu entsorgen, um die nachhaltige Wiederverwertung von stofflichen Ressourcen zu fördern.
Private Nutzer wenden sich an den Handler, bei dem das Produkt gekauft wurde, oder kontaktieren die zuständigen Behörden, um in Erfahrung zu bringen, wo Sie das Altgerät bzw. Zubehörteile für eine umweltfreundliche Entsorgung abgeben können.
Gewerbliche Nutzer wenden sich an ihren Lieferanten und gehen nach den Bedingungen des Verkaufsvertrags vor. Diese Produkt und elektronische Zubehörteile dürfen nicht zusammen mit anderen Gewerbebüll entsorgt werden.
Weitere Informationen zum Engagement von Samsung für die Umwelt und zu Produkspszifischen Auflagen wie z. B. REACH finden Sie unter samsung.com/uk/aboutsamsung/samsungelectronics/corporatecitizenship/data-corner.html
Automatische Energiesparfunktion
- Wenn über einen bestimmten Zeitraum hinweg während des Betriebs keine Ungabe durch den Benutzer erfolgt ist, wird der Betrieb unterbrochen, und das Gerät wechseln in den Standby-Modus.
- Beleuchtung: Sie können die Beleuchtung im Garraum während des Garvorgangs durch Drücken der Taste für die Beleuchtung ausschalten. Zu Energiesparzwecken wird die Garraumbeleuchtung eine Minute nach Beginn des Garvorgangs deaktiviert.
Aufstellen des Geräts
WARNING
Dieses Geratarfurdur von sachkundigemFachpersonalinstalliertwerden.DerInstalleuristdafurverantwortlich,dasGeratan dasStromnetzanzuschliebenunddabei die vor Ort geltendenSicherheitsbestimmungen zu beachten.
Lieferumfang
Vergewissern Sie sich, dass alle erforderlichen Bau- und Zubehörteile im Lieferumfang Ihrnes neuen Geräts enthalten sind. Wenden Sie sich bei Problemen mit thisem Gerät oder seinen Bau- und Zubehörteilen an den Handler oder das nachstgelegene Samsung-Kundendienstzentrum.

Überblick über das Gerät
01 Bedienfeld
02Griff der Geratetur
03 Geratetur
Zubehör
Das Gerät wird mit verschiedenen Zubehörteilen gefelfert, die Ihnen beim Zubereiten von Speisen nützlich sein konnen.

Gitterrost

Gitterrosteinsatz

Backblech

Universalblech

Extra tiefes Blech

Drehspie8*

Dreh- und Schaschlikspieß

Ausziehbare Schienen

Kerntemperaturfuhler

HINWEIS
Die mit einem Sternchen (*) gekennzeichneten Zubehörteile sind nicht für alle Modelle erhältlich.
Netzanschluss

01 BRAUN oder SCHWARZ
02 BLAU oder WEIB
03 GELBGRUN
Schlieben Sie das Gerät an eine Steckdose an. Wenn auf Grund von Beschrankungen hinsichtlich der zulässigen Stromstände keine Schuko-Steckdose verwendet werden darf, muss ein mehrpoliger Trennschalter (mit einem Kontaktabstand von mindestens 3 mm) verwendet werden, um die Sicherheitsbestimmungen zu erfüllen. Verwenden Sie ein ausreichend langes Netzkabel (H05 RR-F oder H05 VV-F; min. 1,5 bis 2,5 mm²), das den Anforderungen der Spezifikation entspricht.
| Nennstrom (A) | Mindestquerschnitt |
| 10 < A ≤ 16 | 1,5 mm² |
| 16 < A ≤ 25 | 2,5 mm² |
Die entsprechenden Daten sind auf dem Typenschild des Geräts angegeben.
Öffnen Sie die wichtere Verkleidung des Geräts mit Hilfe eines Schlitzschraubendrehers, und entfernen Sie die Schrauben der Kabelklemme. Schließen Sie dann die einzelnen Leiter an die entsprechenden Anschlussklemmen an.
Die Anschlussklemme ( 12 ) ist für den Erdungsleiter vorgesehen. Schließen Sie zuerst den gelbgrünen Leiter (Erdungsleiter) an. Diese sollte länger sein als die anderen Leiter. Wenn Sie eine Schuko-Steckdose verwenden, muss diese auch nach Installation des Gerats zugänglich bleiben. Samsung übernimmt keine Haftung für Unfälle aufgrund fehlender oder fehlerhafter Erdung.

WARNING
Treten Sie bei der Installation nicht auf die Kabel, und verlegen Sie sie in ausreichendem Abstand zu wärmeerzeugenden Teilen des Geräts.

Aufstellen des Geräts
Einbau in einen Kuchenschrank
Wenn das Gerät in einen Einbauschrank eingesetzt wird, mussen alle Kunststoffoberflächen und Klebestellen bis mindestens 90^ hitzefest sein. Samsung übernimmt keine Haftung für Schaden aufgrund der durch das Gerät abgestrahlten Wärme.
Stellen Sie das Gerät an einer ausreichend belufteten Stelle auf. Um eine optimale Belüftung让他们 zweiten dem unteren Boden des Schranks und der Rückseite eine Öffnung von etwa 50 mm. Wenn Sie das Gerät unter einem Kochfeld installieren, befolgen Sie die Einbauanweisungen für das Kochfeld.

Erforderliche Abmessungen für den Einbau
Gerat (mm)
| A | 560 | G | max. 506 |
| B | 175 | H | max. 494 |
| C | 370 | I | 21 |
| D | max. 50 | J | 549 |
| E | 595 | K | 572 |
| F | 595 | L | 550 |

Einbauschrank (mm)
Unterbauschrank (mm)
Der Einbauchrank muss über Luftrungsöffnungen
(D) verfügen, damit die heiße Luft zirkuliert und abgeführt werden kann.
Vor der ersten Verwendung
EinbauendesGeräts

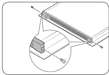
Halten Sie zu beiden Seiten des Geräts einen Abstand (A) von mindestens 5mm zu den Seitenwänden des Schranks ein.

Schieben Sie das Gerät in den Schrank, und befestigen Sie es zu beiden Seiten mit Hilfe von 2 Schrauben.
Entfernen Sie nach dem Einbau Schutzfolien, Klebebänder und sonstiges Verpackungsmaterial, und nehmen Sie die mitgelieferten Zubehörteile aus dem Garraum des Geräts. Wenn Sie das Gerät aus dem Schrank ausbauen möchten, trennen Sie zunachst die Stromversorgung, und entfern den sie dann die 2 Schrauben zu beiden Seiten des Geräts.

WARNING
Eine ausreichende Belüfung ist die Voraussetzung für die ordnungsgemäße Funktionseweise des Gerats. Verdecken Sie keinesfalls die Luftungsöffnungen.

HINWEIS
Das tatsächliche Aussehen des Gerats kann je nach Modell variieren.
Anfangseinstellungen
Wenn Sie das Gerät erstmalig einschalten, wird als Zeit der Standardwert „12:00" auf dem Display angezeigt, und das Anzeigeelement für die Stunden (.12") blinkt. Gehen Sie wie folgt vor, um die richtige Uhrzeit einzustellen.


- Stellen Sie mit dem Funktionswahler (rechts Drehrad) zunachst den Wert für das blinkende Anzeigeelement (Stunden) ein, und drücken Sie anschließend auf OK, um mit dem Anzeigeelement für die Minuten fortzufahren.


- Stellen Sie mit dem Funktionswahler an dem nun blinkenden Anzeigeelement die Minuten ein, und drücken Sie anschließend auf OK.

Wenn Sie die eingestellte Uhrzeit zu einem späteren Zeitpunkt ändern möchten, halten Sie die Taste 3 Sekunden lang gedrückt und befolgen Sie die obigen Schritte.
Gerüche in Neugeräten
Reinigen Sie vor der ersten Inbetriebnahme des Gerats den Garraum, um die Gerüche des Neugeräts zu entfernen.
- Entnehmen Sie alle Zubehörteile aus dem Garraum des Geräts.
- Betreiben Sie das Gerät eine Stunde lang bei 200^ HeiBluft oder Ober-/Unterhitze. Auf diese Weise werden sãmtliche Produktionsrückstände im Gerät verbrannt.
- Schalten Sie das Gerät anschließend aus.
Intelligenter Sicherheitsmechanismus
Wenn Sie die Gerätetur öffnen, während das Gerät in Betrieb ist, wird die Garraumbeleuchtung eingeschaltet, und sowohl der Ventilator als auch die Heizelemente werden ausgeschelt. So werden Verletzungen wie z. B. Verbrennungen verhindert, und es wird einem unnötnigen Energieverbrauch vorgebeugt. Dies ist kein Fehler oder Defekt. Schließen Sie einfach die Gerätetur, damit das Gerät den Betrieb wieder aufnimmt.
Vor der ersten Verwendung
Zubehör
Reinigen Sie die Zubehörteile gründlich mit warmem Wasser, Reinigungsmittel und einem weichen, sauberen Tuch, bevor Sie sie zum ersten Mal verwenden.

01Einschubhöhe 1 02Einschubhöhe 2
03Einschubhöhe 3 04Einschubhöhe 4
05 Einschubhöhe 5
- Setzen Sie die Zubehörteile an der jeweils vorgesehenen Position in den Garraum des Geräts ein.
- Halten Sie zwischen dem Boden des Garraums und dem zu unterst eingesetzten Zubehörteil sowie zwischen allen eingesetzten Zubehörteilen einen Abstand von mindestens 1 cm ein.
- Beim Entnehmen von Geschirr und/oder Zubehörteilen aus dem Gerät ist außerste Vorsicht geboten. Heiße Speisen oder Zubehörteile können Verbrennungen verursachen.
- Die Zubehörteile können sich unter Hitze verformen. Wenn sie abkühlen,nehmen sie ihre ursprüngliche Form wieder ein. Ihr Leistung oder Funktionseweise wird dadurch nicht beeinträchtigt.
Grundlegende Verwendungshinweise
Machen Sie sich vor Gebrauch mit den jeweiligen Zubehörteilen vertraut, damit Sie sie später leichter verwenden können.
| Gitterrost | Der Gitterrost ist zum Grillen und Braten geeignet. Setzen Sie den Gitterrost mit den hervorstehenden Teilen (seitliche Stopper) nach vorne in den Garraum ein. |
| Gitterrosteinsatz * | Wenn Sie den Gitterrosteinsatz in Verbindung mit dem Blech verwenden, verhindern Sie, dass bei der Zubereitung entstehende Flüssigkeiten auf den Boden des Garraums tropfen. |
| Backblech * | Das Backblech (Tiefe: 20 mm) wird zum Backen von Kuchen, Platzchen und anderen Gebäck verwendet. Schieren Sie das Blech so ein, dass die schräge Seite nach vorne weist. |
| Universalblech * | Das Universalblech (Tiefe: 30 mm) wird zum Garen und Braten verwendet. Verwendten Sie es zusammen mit dem Gitterrosteinsatz, um zu verhindern, dass bei der Zubereitung entstehende Flüssigkeiten auf den Boden des Garraums tropfen. Schieren Sie das Blech so ein, dass die schräge Seite nach vorne weist. |
| Extra tiefes Blech * | Das extra tiefe Backblech (Tiefe: 50 mm) kann zum Braten mit oder ohne Gitterrosteinsatz verwendet werden. Schieren Sie das Blech so ein, dass die schräge Seite nach vorne weist. |
| Kerntemperaturfühler * | Der Kerntemperaturfühler misst die Temperatur im Innern von zu garemde Fleisch. Verwendten Sie ausschließlich den im Lieferumfang des Geräts enthaltenen Kerntemperaturfühler. |
| Drehspieß* | Der Drehspieß kann zum Grillen von Lebensmitteln wie beispisseweise Hühnchen eingesetzt werden. Verwenden Sie den Drehspieß ausschließlich im Einfachbetrieb in Einschuhöhe 3, wo sich auch die Aussparung für die Spießhalterung befindet. Schrauben Sie den Handgriff des Spießes ab, bevor Sie den Spieß zum Grillen verwenden. |
| Dreh- und Schaschlikspieß* | Schieben Sie ein Blech in Einschuhöhe 1 oder stellen Sie es bei sehr großener Fleischportionen auf den Boden des Garraums, um während des Garvorgangs herabtropfende Flüssigkeit aufzufangen. Wir empfehlen, das Zubehör für den Spieß nur für Fleisch bis maximal 1,5 kg zu verwenden.1. Schieber Sie das Fleisch auf den Spieß. Das Fleisch lasst sich leichter auf den Spieß schieren, wenn zuvor der Handgriff an das stumpfeste Ende des Spießes angeschraubt wurde.2. Umgeben Sie das Fleisch mit vorgekochen Kartoffeln und Gemüse.3. Schieber Sie die Halterung so in den mittleren Einschub, dass das „V“-förmige Teil nach vorn weist. Legen Sie den Spieß so in der Halterung ab, dass das spitze Ende zur Rückseite weist, und sieben Sieihn vorsichtig nach hinten, bis die Spitze des Spießes in den Drehmechanismus an der Rückwand des Garraums eingesteckt ist. Das stumpfeste Ende des Spießes muss in der „V“-förmigen Mulde aufliegen. (Der Spieß besitz zwei Ölern. Diese befinden sich in der Höhe der Geräteür, damit der Spieß nicht nach vorn rutschen kann. Die Ölern dienen zugleich als Halterung für den Handgriff.)4. Entfernen Sie den Handgriff, bevor der Garvorgang gestartet wird.5. Schrauben Sie den Handgriff nach dem Garen wieder fest, damit Sie den Spieß aus der Halterung entnehmer können.▲WARNUNG Vergewissern Sie sich, dass der Handgriff des Drehspießes richtig sitzt. Verwenden Sie den Drehspieß mit Vorsicht. Die Gabeln und Stifte sind scharf und spitz. Sie konnen sich also verletzen!Um Verbrennungen zu verhindern, müssen Sie beim Entfern den Drehspießes Handschuhe/TRagen. |
| Ausziehbare Schieren* | Sie konnen ein Blech wie folgt auf den Auflagelflächen der ausziehbaren Schieren in den Garraum schieren:1. Ziehen Sie die ausziehbaren Schieren vollständig nach vorne.2. Legen Sie das Blech auf die Auflagelflächen der Schieren, und sieben Sie es in den Garraum.3. Schließen Sie die Geräteur. |
HINWEIS
Die mit einem Sternchen (*) gekennzeichneten Zubehörteile sind nicht für alle Modelle erhältlich.
10 Deutsch
Bedienung
Bedienfeld
Die Front des Gerats ist in verschiedene Material- und Farbausführungen erhältlich. Änderungen am tatsächlichen Aussehen des Gerats zum Zweck der Qualitätverbesserung vorbehalten.

01


| 01 | Moduswähler | Hiermit können Sie die Betriebsarten oder Funktionen des Geräts auswähen. |
| 02 | Temperatur | Hiermit stellen Sie die Gartemperatur ein. |
| 03 | Garzeit | Hiermit stellen Sie die Garzeit ein. |
| 04 | Timer | Mit Hilfe der Timerfungtion können Sie bei einem Garvorgang die benöttigte Zeit bzw. Betriebsdauer überprüfen. |
| 05 | OK | Hiermit bestätigten Sie zuvor programmierte Einstellungen. |
| 06 | Zurück | Hiermit setzen Sie ihre aktuellen Einstellungen zurück und kehren zum Hauptbildschirm zurück. |
| 07 | Garraumbeleuchtung (Kindersicherung) | Durch Drücken dieser Taste wird die Beleuchtung im Garraum ein- bzw. ausgescheltet.Die Garraumbeleuchtung wird automatisch eingescheltet, sobald das Gerät gestartet wird. Sie wird zu Energiesparzwecken nach einer bestimmten Zeit ohne Benutzereingabe automatisch wieder ausgeschelt.Kindersicherung: Durch Drücken dieser Taste können Sie zur Vermeidung von Unfallen die Kindersicherung aktivieren und damit alle Bedienelemente spreren.Sie können die Funktion jedoch durch Drehen am Moduswähler deaktivieren.Halten Sie die Taste 3 Sekunden lang gedrückt, um die Kindersicherung zu aktivieren, und erneut 3 Sekunden lang, um das Bedienfeld wieder freiugeben. |
| 08 | Display | Hier werden die jeweils ausgewählten Betriebsarten und Einstellungen angezeigt. |
09 Funktionswahler
Mit dem Funktionswahler können Sie:
- die Garzeit oder -temperatur einstehen.
- Menueinträge in den folgenden Untermenü auswahlen: Reinigung, Automatikprogramme, Sonderfunktionen, Grill.
- bei den Automatikprogrammen die Portionsgroßen auswahlen.
Häufig genutzte Einstellungen
In allen Betriebsarten muss die Standardtemperatur und/oder -garzeit halten werden. Im Folgenden wird beschreiben, wie Sie die Temperatur und/oder die Garzeit für die ausgewählte Betriebsart nach ihren Bedürfnissen einstellen können.
Temperatur

- Wahlen Sie mit Hilfe des Moduswählers eine Betriebsart oder Funktion aus. Im Display erscheint die Standardtemperatur für die jeweilige Auswahr.

- Stellen Sie durch Drehen am Funktionswahler die gewünschte Temperatur ein.

- Drücken Sie auf OK, um ihre Einstellungen zu speichern.
HINWEIS
Wenn Sie nicht innerhalb von einigen Sekunden weitere Einstellungen vornehmen, startet das Gerä. automatisch den Garvorgang unter Verwendung der Standardeinstellungen.
Drücken Sie zum Ändern der eingestellten Temperatur die Taste 8 und befolgen Sie die oben beschriebenen Schritte.
Bedienung
Garzeit






- Wahlen Sie mit Hilfe des Moduswählers eine Betriebsart oder Funktion aus.
- Drücken Sie die Taste (1), und stellen Sie mit Hilfe des Funktionswährers eine Garzeit ein. Sie können die Zeit auf maximal 23 Stunden und 59 Minuten einstellen.
- Optional konnen Sie als Endzeit für ihren Garvorgang einen bestimmten Zeitpunkt in der Zukunft einstellen. Drücken Sie die Taste , und stellen Sie mit Hilfe des Funktionswährers eine Endzeit ein. Weitere Informationen finden Sie unter Programmende.
- Drücken Sie auf OK, um ihre Einstellungen zu speichern.
Endzeit




- Wahlen Sie mit Hilfe des Moduswählers eine Betriebsart oder Funktion aus.
- Drücken Sie die Taste (zwei Mal, und stellen Sie mit Hilfe des Funktionswährers eine Endzeit ein.
- Drücken Sie auf OK, um ihre Einstellungen zu speichern.

HINWEIS
- Sie müssen die Endzeit nicht einstehen. Das Gerät startet den Garvorgang auch dann mit der eingestellen Zeit, wenn keine Zeit angegeben wurde. In thisem Fall必须要 Sie das Gerät bei Abschluss des Garvorgangs manuell ausschalten.
- Drücken Sie zum Ändern der Endzeit zweimal die Taste und befolgen Sie die oben beschriebenen Schritte.
HINWEIS
- Sie müssen die Garzeit nicht einstellen. Das Gerät startet den Garvorgang auch dann mit der eingestellen Zeit, wenn keine Zeit angegeben wurde. In thisem Fall必须要 Sie das Gerät bei Abschluss des Garvorgangs manuell aussalten.
- Drücken Sie zum Ändern der eingestilten Garzeit die Taste (1) und befolgen Sie die oben beschriebenen Schritte.
12 Deutsch
Programmende
Die Funktion „Programmende“ erleichtert Ihnen das Garen und Backen.
1. Fall:
Sie möchten um 14:00 Uhr ein Gericht zubereiten, das eine Stunde gegart werden muss und um 18:00 Uhr fertig sein soll. Stellen Sie zum Aktivieren der Funktion „Programmende" die unter „Fertig um" angezeigte Zeit auf „18:00" Uhr ein. Das Gerät startet um 17:00 Uhr automatisch den Garvorgang, damit dieser gemäß ihrer Einstellung um 18:00 Uhr beendet ist.
Aktuelle Uhrzeit: 14:00 Uhr
Garzeit einstellen: 1 Stunde
Endzeit einstellen: 18:00 Uhr
Das Gerät startet um 17:00 Uhr den Garvorgang, damit er um 18:00 Uhr automatisch endet.

2. Fall:
Aktuelle Uhrzeit: 14:00 Uhr
Garzeit einstellen: 2 Stunden
Endzeit einstellen: 17:00 Uhr
Das Gerät startet um 15:00 Uhr den Garvorgang, damit er um 17:00 Uhr automatisch endet.

VORSICHT
- Die Programmendefunktion steht bei Doppelgarraumbetrieb nicht zur Verfügung.
- Bewahren Sie bereits gegarte Speise nicht über einen längeren Zeitraum im Garraum auf. Die Speisen konnten verderben.
Zurücksetzen der Garzeit
Sie können die Garzeit zurücksetzen. Dies ist nutzlich, wenn Sie einen Garvorgang vor dem geplanten Ende manuell unterbrechen möchten.

- Drücken Sie während eines Garvorgangs die Taste, um die verbleibende Garzeit anzuzeigen.

- Stellen Sie durch Drehen am Funktionswähler die Garzeit auf 00:00 ein. Alternativ konnen Sie auch die Taste drucken.

- Drücken Sie auf OK. Das Gerät setzt den Garvorgang mit der zuvor eingestellten Temperatur, jedoch ohne vorgegebene Garzeit fort.
HINWEIS
Wenn Sie die Garzeit storniert haben, müssen Sie den Vorgang manuell abbrechen, sobald die gewündsten Garergebnisse erreicht sind.
Bedienung
Zurücksetzen der Endzeit
Sie konnen die Endzeit zurücksetzen. Dies ist nutzlich, wenn Sie einen Garvorgang vor dem geplanten Ende manuell unterbrechen möhen.

- Drücken Sie die Taste zwei Mal, während das Gerät gart.

- Stellen Sie durch Drehen am Funktionswahler die Endzeit die aktuelle Uhrzeit ein. Alternativ konnen Sie auch die Taste drucken.

- Drücken Sie auf OK. Das Gerät setzt den Garvorgang mit der zuvor eingestellten Temperatur, jedoch ohne vorgegebene Garzeit fort.
HINWEIS
Wenn Sie die Endzeit storniert haben, müssen Sie den Vorgang manuell abbrechen, sobald die gewündsten Garergebnisse erreicht sind.
Unterbrechen des Garvorgangs

- Drücken Sie, während das Gerät in Betrieb ist, die Taste


- Drücken Sie auf OK, um den Garvorgang abzubrechen.
- Alternative können Sie auch einfach den Moduswahler auf die Position stellen.
Verwendendes Kerntemperaturfuhlers
Der Kerntemperaturfuhler misst die Temperatur im Innern von zu garemde Fleisch. Sobald die Temperatur im Fleischinneren den Sollwert erreicht, wird der Garvorgang automatisch beendet.
- Verwenden Sie ausschließlich den im Lieferumfang des Geräts enthaltenen Kerntemperaturfuhler.
- Bei Verwendung des Kerntemperaturfuhlers kann die Garzeit weder eingestellt noch geändert werden.


- Stecken Sie die Spitze des Kerntemperaturfuhlers in die Mitte des zu garenten Fleischstücks. Achten Sie darauf, dass der Gummigriff außerhalb des Garguts bleibt.
- Schlieben Sie den Stecker des Kerntemperaturfuhlers an den Anschluss an der linken Garraumwand an. Vergewissern Sie sich, dass auf dem Display das Symbol für den Kerntemperaturfuhler (P) und die aktuelle Kerntemperatur des zu garenten Fleischstücke angezeigt werden.



- Wahlen Sie den Kochmodus und die Temperatur.
- Drücken Sie die Taste , und stellen Sie mit Hilfe des Funktionswährers eine Garzeit ein (30 bis 99 °C).
- Der Garvorgang wird beendet, wenn die Fleischtemperatur die eingestellte Temperatur erreicht hat.
- Drücken Sie auf OK, um den Garvorgang zu starten. Wenn die gewünschte Kerntemperatur erreicht ist, wird der Garvorgang automatisch beendet und es ertont eine Melodie.
WARNING
- Verwenden Sie den Kerntemperaturfuhler nicht mit einem Spiegel. Andernfalls kann das Gerät beschädigt werden.
- Der Kerntemperaturfuhler ist nach Abschluss des Garvorgangs sehr heißt. Tragen Sie zum Entfernen des Kerntemperaturfuhlers stets Ofenhandschuhe, da andernfalls die Gefahr von Verbrennungen besteht.
HINWEIS
Der Kerntemperaturfuhler kann nicht in allen Betriebsarten verwendet werden. Wenn Sie den Kerntemperaturfuhler in einer nicht entwickelten Betriebsart verwenden, blinking die Anzeige für die aktuell ausgewählte Betriebsart. Entfern den Kerntemperaturfuhler umgehend, wenn diese Meldung angezeigt wird.
Betriebsart



- Wahlen Sie mit Hilfe des Moduswählers eine Betriebsart oder Funktion aus.
- Stellen Sie je nach Bedarf die Garzeit und/oder -temperatur ein. Weitere Informationen erhalten Sie im Abschnitt „Häufig genutzte Einstellungen".

Das Gerät zeigt das Symbol und heizt vor, bis der Garraum die eingestellte Zieltemperatur erreicht. Es wird empfohlen, den Garraum unabhängig von der Betriebsart stets vorzuheizen, sofern in den Zubereitungshinweisen nicht abweichend angegeben.
HINWEIS
Sie konnen die Garzeit und/oder -temperatur während des Betriebs ändern.
Betriebsarten
| Betriebsart | Temperaturbereich (℃) | Empfohlene Temperatur (℃) | |
| Convection(Heißluft) | 30-250 | 170 | |
| Die durch das hintere Heizelement erzeugte Wärme wird mit demHeißluftventilator gleichmäßig im Garraum verteil. Diese Betriebsaingt eignet sich zum Backen und Braten auf mehreren Einschubhöhengleichzeitig. | |||
| Öko-Heißluft | 30-250 | 170 | |
| Bei Auswahl von „Öko-Heißluft“ kommt ein optimiertes Heizsystemzum Einsatz, um während des Garvorgangs Energie zu sparen. Zwarverlangert sich bei dieser Betriebsart gingefüglich die Garzeit, dieGarergebnisse werden dadurch jedoch nicht beeinträchtigt. BeachetenSie, dass bei dieser Betriebsart kein Vorheizen erforderlich ist.HINWEISDie Betriebsart „Öko-Heißluft“ wurde zur Bestimmung derEnergieeffizienzklasse gemäß EN60350-1 herangezogen. | |||
| Oberhitze +Heißluft | 40-250 | 190 | |
| Die durch das obere Heizelement erzeugte Wärme wird mit demHeißluftventilator gleichmäßig im Garraum verteil. Diese Betriebsaingt eignet sich zum Garen von Gerichten, bei denen eine knusprige Krusteerwünscht ist (z. B. Fleisch oder Lasagne). | |||
Deutsch 15
Bedienung
| Betriebsart | Temperaturbereich (℃) | Empfohlene Temperatur (℃) | |
| Unterhitze + Heißenluft | 40-250 | 190 | |
| Die durch das unter Heizelement erzeugte Wärme wird mit dem Heißenventilator gleichmäßig im Garraum verteil. Diese Betriebsart eignet sich für die Zubereitung von Pizza, Brot oder Kuchen. | |||
| Bratautomatik | 80-200 | 160 | |
| Bei Auswahl von „Bratautomatik“ wird automatisch ein Vorheizzyklus gestartet und fortgesetzt, bis im Garraum eine Temperatur von 220 °C erreicht ist. Danach werden das obere Heizelement und der Heißenventilator eingeschaltet, um zum Beispiel Fleisch scharf anzubraten. Nach dem Anbraten wird das Fleisch bei Niedertemperatur fertig gegart. Diese Betriebsart eignet sich für Rind, Geflügel oder Fisch. | |||
| Ober-/Unterhitze | 30-250 | 200 | |
| Die Wärme wird vom oberen und unteren Heizelement erzeugt. Diese Funktion kann zum normalen Backen und zum Braten der meisten Arten von Gerichten verwendet werden. | |||
| Unterhitze | 100-230 | 190 | |
| Die Wärme wird durch das unter Heizelement erzeugt. Diese Betriebsart eignet sich, um Speisen wie Quiche oder Pizza am Ende des Garvorgangs von unter zu bräunen. | |||
| Großer Grill | 100-250 | 240 | |
| Die Wärme wird durch den Großflächengrill erzeugt. Diese Betriebsart eignet sich, um Speisen auf der Oberseite zu bräunen (z. B. Fleisch, Lasagne oder Gratin). | |||
| Öko-Grill | 100-250 | 240 | |
| Die Wärme wird vom Kleinflächengrill erzeugt. Diese Funktion soll zum Zubereiten von kleineren Gerichten wie z. B. Fisch oder gefülltem Baguette verwendet werden, da diese eine geringere Hitze bestehtigen. | |||
Automatikprogramme
Für unerfahrne Köche bietet das Gerät insgesamt 20 Automatikprogramme. Mit Hilfe der Automatikprogramme konnen Sie Zeit sparen und Schneller Kochen und Backen lernen. Die Garzeit und -temperatur wird entsprechend dem ausgewählten Programm und der ausgewählten Portionsgroße automatisch eingestellt.

- Stellen Sie den Moduswahler auf aut.


- Wahlen Sie mit Hilfe des Funktionswählers ein Programm aus, und drücken Sie auf OK. Im Display wird der verfügbare Gewichtsbereich (Portionsgroße) angezeigt.


- Stellen Sie mit Hilfe des Funktionswährers die Portionsgroße ein und drucken Sie auf OK.
HINWEIS
- Einige der Elemente in den Automatikprogrammen beinhalten das Vorheizen. Für diese Elemente wird der Fortschritt des Vorheizens angezeigt. Geben Sie die Speisen nach dem Vorheizen in den Garraum, wenn der Signalton erklingt. Drücken Sie dann Garzeit, um die Automatikprogramme zu starten.
- Weitere Informationen finden Sie im Abschnitt zu den Automatikprogrammen in dieser Handbuch.
Reinigung
Ihnen stehen zwei Reinigungsfunktionen zur Verfugung. These Funktionen sparen Ihnen Zeit, da eine regelmäßige manuelle Reinigung entfällt. Die Restzeit wird während these Prozesses im Display angezeigt.
| Funktion | Anleitung | |
| C 1 | Dampfreinigung | These Funktion dient zum Entfernen leichter Verschmutzungen mit Dampf. |
| C 2 | Pyrolysereinigung | Bei der Pyrolyse wird der Garraum unter Verwendung sehr hoher Temperatoren gereinigt. Hierbei werden Fettrrückstände verbrannt, sodass eine manuelle Reinigung leichter vonstatten gehen. |
Dampfreinigung
These Funktion dient zum Entfernen weniger Verschmutzungen mit Dampf.

- Gießen Sie ca. 400 ml Wasser auf den Boden des Garraums, und schreiben Sie die Gerätür.

- Stellen Sie den Moduswahler auf

- Wahlen Sie mit dem Funktionswahler das Programm C 1 (Dampfreinigung) aus, und drücken Sie dann auf OK, um den Reinigungsvorgang zu starten. Die Dampfreinigung dauert 26 Minuten.

- Reinigen Sie den Garraum mit einem feuchten Tuch.

WARNING
Öffnen Sie die Gerätür nicht, bevor der Reinigungszyklus abgeschlossen ist. Das Wasser im Garraum ist sehr heißt und kann Verbrennungen verursichen.

HINWEIS
- Wenn der Garraum stark mit Fett verunreinigt ist, beispisseweich nach dem Braten oder Grillen, empfeht es sich, mit Hilfe eines Reinigungsmittels erst den hartnackigen Schmutz von Hand zu entfernen und dann die Dampfreinigung zu aktivieren.
- Lassen Sie die Geräteur nach Abschluss des Reinigungszyklus nicht geöffnet. So können die emailierten Innenflächen vollständig trocknen.
- Wenn der Garraum des Geräts besteht, kann diese automatische Reinigungsfunktion nicht aktiviert werden. Warten Sie, bis das Gerät abgekühlt ist, und versuchen Sie es dann erneut.
- Gießen Sie das Wasser nicht mit Schwung auf den Boden des Garraums. Gehen Sie langsam und vorsichtig vor. Andernfalls kann Wasser an der Vorderseite des Geräts austreten.
Pyrolysereinigung
Bei der Pyrolyse wird der Garraum unter Verwendung sehr hoher Temperaturen gereinigt. Hierbei werden Fettrückstände verbrannt, sodass eine manuelle Reinigung leichter vostatten Goes.

- Entnehmen Sie alle Zubehörteile einschließlich der Seitengitter aus dem Garraum, und wischen Sie größere Krümel und Verunreigungen im Inneren des Geräts weg. Andernfalls können während des Reinigungszyklus offene Flammen oder ein Brand entstehen.
- Stellen Sie den Moduswahler auf l
Bedienung





- Wahlen Sie durch Drehen am Funktionswahler das Programm für die Pyrolysereinigung (C 2) aus, und drücken Sie dann auf OK.
- Wahlen Sie für die Dauer des Reinigungsvorgangs eine von 3 verfügbar Einstellungen: 1 h 50 min, 2 h 10 min oder 2 h 30 min.
- Drücken Sie auf OK, um den Reinigungsvorgang zu starten.
- Warten Sie nach Abschluss der Reinigung ab, bis das Gerät abgekühlt ist, und wischen Sie anschließend mit einem feuchten Tuch an den Kanten der Gerätetur entlang.
VORSICHT
- Berühren Sie das Gerät nicht während eines Reinigungszyklus, da es sehr heißt werden kann.
- Halten Sie Kinder vom Gerat fern, um Unfälle zu vermeiden.
- Schalten Sie das Gerät nach Abschluss des Reinigungszyklus erst dann aus, nachdem der Kühlungsventilator das Gerät ausreichend heruntergekühlt hat und automatisch abgescheltet wurde.
HINWEIS
- Nach Beginn des Reinigungszyklus wird der Garraum sehr heißt. Die Gerätür wird davon aus Sicherheitsgründen verriegelt. Wenn der Reinigungszyklus abgeschlossen und das Gerät abgekühlt ist, wird die Gerätür wieder entsperrt.
- Denken Sie daran, das Gerät vor dem Starten der Reinigungsfunktion zu leeren. Zubehörteile können sich auf Grund der hohen Temperaturen im Inneren des Geräts verformen.
Timer
Mit Hilfe der Timerfungtion konnen Sie bei einem Garvorgang die benöttigte Zeit bzw. Betriebsdauer überprüfen.

- Drücken Sie die Taste


- Stellen Sie mit Hilfe des Funktionswährers die gewünschte Dauer ein, und drücken Sie dann auf OK.
Sie können die Zeit auf maximal 23 Stunden und 59 Minuten einstehen.
Ton ein/aus

Zum Ausschalten der TONE halten Sie die Taste 3 Sekunden lang gedrückt.
- Halten Sie zum Einschalten der Signtöne die Taste erneut 3 Sekunden lang gedrückt.

Verwendung
Manuelles Garen
WARNING vor Acrylamid
Beim Backen von stärkehaltigen Lebensmitteln wie Kartoffelchips, Pommes frites und Brot kann gesundheitsschädliches Acrylamid entstehen. Es wird empfohlen, solche Speisen bei niedrigen Temperaturen zu garen, um ein Übergaren, Austrocknen oder Verbrennen zu vermeiden.
HINWEIS
- Es wird empfohlen, den Garraum unabhängig von der Betriebsart stets vorzuheizen, sofern in den Zubereitungshinweisen nicht abweichend angegeben.
- Wenn Sie die Betriebsart „Öko-Grill“ verwenden, platzieren Sie die zuzubereitenden Speisen mittig auf dem Backblech.
Tipps zu den Zubehörteilen
Im Lieferumfang des Geräts sind verschiedene Zubehörteile enthalten. Möglicherweise werden in der folgenden Tabelle mehr Zubehörteile aufgeführct, als im Lieferumfang Ihres Geräts enthalten sind. Wenn Ihnen nicht exakt die Zubehörteile aus den Zubereitungshinweisen zur Verflugung stehen, konnen Sie auch andere geeignete Zubehörteile verwenden, die Sie bereits besitzen. Dies hat keine Auswirkungen auf die Garergebnisse.
- Backblech und Universalblech sind untereinander austauschbar.
- Wenn Sie ölige/fettige Speisen zubereiten, empfeihlt es sich, ein Backblech unter dem Gitterrost einzusetzen, um herabtropfendes Fett aufzufangen. Wenn im Lieferumfang Ihres Geräts ein Gitterrosteinsatz enthalten ist, können Sie diesen zusammen mit dem Blech verwenden.
- Wenn im Lieferumfang Ihr Gesamt ein Universalblech, ein extra tiefes Blech oder beides enthalten ist, empfehl't es sich, bei der Zubereitung fertiger Speisen das tiefere Blech zu verwenden.
Backen
Für optimale Ergebnisse wird empfohlen, den Garraum vorzuheizen.
| Gericht | Zubehör | Einschub-höhe | Betriebsart | Temperatur(°C) | Zeit (in Min.) |
| Biskuit | Gitterrost, Kuchenform(Ø 25-26 cm) | 2 | 160-170 | 35-40 | |
| Marmorkuchen | Gitterrost,Gugelhupfform | 3 | 175-185 | 50-60 | |
| Tarte | Gitterrost,Tarteform (Ø 20 cm) | 3 | 190-200 | 50-60 | |
| Hefe-Blechkuchen mit Obst und Streuseln | Universalblech | 2 | 160-180 | 40-50 | |
| Obststreusel | Gitterrost, Auflaufform(22-24 cm) | 3 | 170-180 | 25-30 | |
| Scones | Universalblech | 3 | 180-190 | 30-35 | |
| Lasagne | Gitterrost, Auflaufform(22-24 cm) | 3 | 190-200 | 25-30 | |
| Baisers | Universalblech | 3 | 80-100 | 100-150 | |
| Soufflé | Gitterrost,Soufflé-Förrmchen | 3 | 170-180 | 20-25 | |
| Hefeblechkuchen | Universalblech | 3 | 150-170 | 60-70 | |
| Selbstgemachte Pizza (1-1,2 kg) | Universalblech | 2 | 190-210 | 10-15 | |
| Tiefgefrorener Blätterteigstücke, gefüllt | Universalblech | 2 | 180-200 | 20-25 |
Verwendung
| Gericht | Zubehör | Einschub- Höhe | Betriebsart | Temperatur (°C) | Zeit (in Min.) |
| Quiche | Gitterrost, Auflaufform (22-24 cm) | 2 | 180-190 | 25-35 | |
| Gedeckter Apfelkuchen | Gitterrost, Kuchenform (Ø 20 cm) | 2 | 160-170 | 65-75 | |
| Pizza aus dem Kühligal | Universalblech | 3 | 180-200 | 5-10 |
Braten
| Gericht | Zubehör | Einschub-höhe | Betriebsart | Temperatur(°C) | Zeit (in Min.) |
| Fleisch (Rind/Schwein/Lamm) | |||||
| Lendenbraten vom Rind(1 kg) | Gitterrost +Universalblech | 31 | 160-180 | 50-70 | |
| Kalbsbraten (1,5 kg) | Gitterrost +Universalblech | 31 | 160-180 | 90-120 | |
| Schweinebraten (1 kg) | Gitterrost +Universalblech | 31 | 200-210 | 50-60 | |
| Schweinenackenbraten(1 kg) | Gitterrost +Universalblech | 31 | 160-180 | 100-120 | |
| Lammkeule (1 kg) | Gitterrost +Universalblech | 31 | 170-180 | 100-120 | |
| Geflügel (Huhn/Ente/Truthahn) | |||||
| Brathähnchen (1,2 kg)* | Gitterrost +Universalblech | 31 | 205 | 80-100 | |
| Hähnchenteile | Gitterrost +Universalblech | 31 | 200-220 | 25-35 | |
| Entenbrust | Gitterrost +Universalblech | 31 | 180-200 | 20-30 | |
| Gericht | Zubehör | Einschuh- Höhe | Betriebsart | Temperatur (°C) | Zeit (in Min.) |
| Ganzi Pute, Klein (5 kg) | Gitterrost + Universalblech | 31 | 180-200 | 120-150 | |
| Vegetarische Gerichte | |||||
| Gemüse (0,5 kg) | Gitterrost + Universalblech | 31 | 220-230 | 15-20 | |
| Halbierte Ofenkartoffeln (0,5 kg) | Gitterrost + Universalblech | 31 | 200 | 45-50 | |
| Fisch | |||||
| Fischfilet, gehalten | Gitterrost + Universalblech | 31 | 200-230 | 10-15 | |
| Bratfisch | Gitterrost + Universalblech | 31 | 180-200 | 30-40 | |
- Nach der Hälfte der Zeit wenden.
Grillen
Es wird empfohlen, den Garraum mit dem Großflächengrill vorzuheizen. Nach der Hälfte der Zeit wenden.
| Gericht | Zubehör | Einschuh- Höhe | Betriebsart | Temperatur (°C) | Zeit (in Min.) |
| Brot | |||||
| Toast | Gitterrost | 5 | 240-250 | 2-4 | |
| Käsetoast | Universalblech | 4 | 200 | 4-8 | |
| Rind | |||||
| Steak* | Gitterrost + Universalblech | 41 | 230-250 | 15-20 | |
| Burger* | Gitterrost + Universalblech | 41 | 230-250 | 15-20 | |
| Schwein | |||||
| Schweinekoteletts | Gitterrost + Universalblech | 41 | 230-250 | 20-25 | |
| Bratwurst | Gitterrost + Universalblech | 41 | 230-250 | 10-15 | |
| Geflügel | |||||
| Hähnchenbrust | Gitterrost + Universalblech | 41 | 230-240 | 30-35 | |
| Hähnchenunterschenkel | Gitterrost + Universalblech | 41 | 230-240 | 25-30 | |
- Nach 2/3 der Garzeit wenden.
Tiefgefrorene Fertiggerichte
| Gericht | Zubehör | Einschuhöhe | Betriebsart | Temperatur(°C) | Zeit (in Min.) |
| Tiefkühlpizza | Gitterrost | 3 | 200-220 | 15-25 | |
| Tiefgefrore Ne Lasagne | Gitterrost | 3 | 180-200 | 45-50 | |
| Tiefgefrore Backofen-Pommes | Universalblech | 3 | 220-225 | 20-25 | |
| Tiefgefrore Krokten | Universalblech | 3 | 220-230 | 25-30 | |
| Tiefgefrorener Backcamembert | Gitterrost | 3 | 190-200 | 10-15 | |
| Tiefgefrore belegte Baguettes | Gitterrost + Universalblech | 31 | 190-200 | 10-15 | |
| Tiefgefrore Fischstübchen | Gitterrost + Universalblech | 31 | 190-200 | 15-25 | |
| Tiefgefrore Fischburger | Gitterrost | 3 | 180-200 | 20-35 |
Verwendung
Bratautomatik
Bei dieser Betriebsart wird der Garraum zunachst automatisch auf bis zu 220^ vorgeheit. Zum Braten des Fleisches werden dann das obere Heizelement und der HeiBluftventilator verwendet. Anschließlich werden die Speisen bei der zuvor ausgewählten niedrigen Temperatur schonend gegart. Dazu werden das obere und das untere Heizelement eingesetzt. Diese Betriebsart eignet sich zum Braten von Fleisch und Fisch.
| Gericht | Zubehör | Einschubhöhe | Temperatur (°C) | Zeit (Stunden) |
| Rinderbraten | Gitterrost + Universalblech | 3 | 80-100 | 3-4 |
| 1 | ||||
| Schweinebraten | Gitterrost + Universalblech | 3 | 80-100 | 4-5 |
| 1 | ||||
| Lammbraten | Gitterrost + Universalblech | 3 | 80-100 | 3-4 |
| 1 | ||||
| Entenbrust | Gitterrost + Universalblech | 3 | 70-90 | 2-3 |
| 1 |
Öko-HeiBluft
Bei dieser Betriebsart kommt ein optimiertes Heizsystem zum Einsatz, um während des Garens Energie zu sparen. Die in thisem Abschnitt angegebenen Garzeiten beziehen sich auf einen Garvorgang ohne Vorheizen. Bei dieser Art der Zubereitung sollte der Vorheizschritt aus Energiespargründen entfallen.
Sie konnen die Garzeit und/oder die Temperatur entsprechend ihren Wünschen erhöhen oder verringern.
| Gericht | Zubehör | Einschubhöhe | Temperatur (°C) | Zeit (in Min.) |
| Obststreusel (0,8-1,2 kg) | Gitterrost | 2 | 160-180 | 40-60 |
| Backkartoffeln (0,4-0,8 kg) | Universalblech | 2 | 190-200 | 50-70 |
| Gericht | Zubehör | Einschubhöhe | Temperatur (°C) | Zeit (in Min.) |
| Würstchen (0,3-0,5 kg) | Gitterrost + Universalblech | 3 1 | 160-180 | 15-25 |
| Tiefgefrore Neoplasms (0,3-0,5 kg) | Universalblech | 3 | 180-200 | 20-30 |
| Tiefgefrore Kartoffelecken (0,3-0,5 kg) | Universalblech | 3 | 190-210 | 20-30 |
| Fischfilets, gehalten (0,4-0,8 kg) | Gitterrost + Universalblech | 3 1 | 200-220 | 20-30 |
| Knusprige Fischfilets, paniert (0,4-0,8 kg) | Gitterrost + Universalblech | 3 1 | 200-220 | 20-30 |
| Rinderlende (0,8-1,2 kg) | Gitterrost + Universalblech | 2 1 | 180-200 | 50-70 |
| Grillgemüse (0,4-0,6 kg) | Universalblech | 3 | 200-220 | 20-30 |
Automatikprogramme
In der folgenden Tabelle sind 20 Automatikprogramme zum Garen, Braten und Backen aufgeführ. Zudem werden die entsprechenden Mengen, Gewichtsangaben und Zubereitungsempfehlungen beschreiben. Zur einfacheren Handhabung wurden die Betriebsart und die Garzeit vorprogrammiert. Die Rezepte für eine der Automatikprogramme können Sie in thisem Handbuch nachlesen. Die Automatikprogramme 1 bis 8 sowie 18 und 19 umfassen einen zusätzlichen Schritt, bei dem das Gerät vorgeheizt wird. Der Fortschritt des Vorheizens wird im Display angezeigt. Geben Sie die Speisen nach dem Vorheizen in den Garraum, wenn der Signalton erklingt. Drücken Sie dann Garzeit, um die Automatikprogramme zu starten.

WARNING
Ziehen Sie vor dem Herausnehmen der Speisen stets Ofenhandschuhe an.
| Nr. | Gericht | Gewicht (kg) | Zubehör | Einschubhöhe |
| A 1 | Kartoffelgratin | 1,0-1,5 | Gitterrost | 3 |
| Gratin aus frischen Kartoffeln in einer 22-24 cm große Auflaufform zubereiten. Programm starten, und nach dem Vorheizen bei Erklingen des Signaltons die Speisen in die Mitte des Rosts stellen. | ||||
| A 2 | Gemüsegratin | 0,8-1,2 | Gitterrost | 3 |
| Gratin aus frischem Gemüse in einer 22-24 cm große Auflaufform zubereiten. Programm starten, und nach dem Vorheizen bei Erklingen des Signaltons die Speisen in die Mitte des Rosts stellen. | ||||
| A 3 | Lasagne | 1,0-1,5 | Gitterrost | 3 |
| Selbstgemachte Lasagne in einer 22-24 cm große Auflaufform zubereiten. Programm starten und, wenn nach dem Vorheizen der Signalton zu horen ist, die Speisen in die Mitte des Rosts stellen. | ||||
| A 4 | Gedeckter Apfelkuchen | 1,2-1,4 | Gitterrost | 2 |
| Gedeckten Apfelkuchen in einer runden Kuchenform aus Metall mit 24-26 cm Durchmesser zubereiten. Programm starten und, wenn nach dem Vorheizen der Signalton zu horen ist, die Kuchenform in die Mitte des Rosts stellen. | ||||
| Nr. | Gericht | Gewicht (kg) | Zubehör | Einschubhöhe |
| A 5 | Quiche Lorraine | 1,2-1,5 | Gitterrost | 2 |
| Quiche-Teig zubereiten und in eine runde Quiche-Form mit 25 cm Durchmesser geben. Programm starten und, wenn nach dem Vorheizen der Signalton zu horen ist, die Füllung hinzugegeben und die Form in die Mitte des Rosts stellen. | ||||
| A 6 | Biskuit | 0,5-0,6 | Gitterrost | 3 |
| Den Teig zubereiten und in eine runde schwarze Backform aus Metall mit 26 cm Durchmesser geben. Programm starten und, wenn nach dem Vorheizen der Signalton zu horen ist, die Kuchenform in die Mitte des Rosts stellen. | ||||
| A 7 | Marmorkuchen | 0,7-0,8 | Gitterrost | 2 |
| Den Teig zubereiten und in eine runde schwarze Gugelhupf- oder Napfkuchenform aus Metall geben. Programm starten und, wenn nach dem Vorheizen der Signalton zu horen ist, die Kuchenform in die Mitte des Rosts stellen. | ||||
| A 8 | Holländischer Kastenkuchen | 0,7-0,8 | Gitterrost | 2 |
| Den Teig zubereiten und in eine 25 cm large rechteckige schwarze Backform aus Metall geben. Programm starten und, wenn nach dem Vorheizen der Signalton zu horen ist, die Kuchenform in die Mitte des Rosts stellen. | ||||
| A 9 | Rinderlende | 0,9-1,1 | Gitterrost + Universalblech | 2 |
| 1,1-1,3 | 1 | |||
| Das Rindfleisch würzen und 1 Stunde in den Kühlschrank stellen. Mit der Fettseite nach oben auf den Gitterrost stellen. | ||||
| A 10 | Lammkotelett mit Kräuterkruste | 0,4-0,6 | Gitterrost + Universalblech | 4 |
| 0,6-0,8 | 1 | |||
| Die Lammkotelets mit Kräutern und Gewürzen marinieren und auf den Gitterrost legen. | ||||
Verwendung
| Nr. | Gericht | Gewicht (kg) | Zubehör | Einschubhöhe |
| A 11 | Brathähnchen | 0,9-1,1 | Gitterrost + Universalblech | 21 |
| 1,1-1,3 | 1 | |||
| Das Hähnchen waschen und putzen. Das Hähnchen mit Öl beträfeln und mit Kräutern würzen. Das Hähnchen mit der Brust nach unten auf den Gitterrost legen und bei Erklingen des Signaltons wenden. | ||||
| A 12 | Hähnchenbrust | 0,4-0,6 | Gitterrost + Universalblech | 41 |
| 0,6-0,8 | 1 | |||
| Die Bruststücke marinieren und auf den Gitterrost legen. | ||||
| A 13 | Forelle | 0,3-0,5 | Gitterrost + Universalblech | 41 |
| 0,5-0,7 | 1 | |||
| Die Fische waschen und putzen, und abwechselnd Kopf an Schwanzflüsssebebeneinander auf den Gitterrost legen. Innenseite mit Zitronensaft beträfeln, salzen und Kräuter hineinlagen. Haut leicht mit einem Messer einschneiden. Mit Öl bestreichen und salzen. | ||||
| A 14 | Lachsfilet | 0,4-0,6 | Gitterrost + Universalblech | 41 |
| 0,6-0,8 | 1 | |||
| Lachsflets waschen und putzen. Mit der Hautseite nach oben auf den Gitterrost legen. | ||||
| A 15 | Grillgemüse | 0,4-0,6 | Universalblech | 4 |
| 0,6-0,8 | ||||
| Zucchihi, Aubergine, Paprika, Zwiebel und Kirschtomaten waschen und in Scheiben schneiden. Mit Olivenöl beträfeln und mit Kräutern würzen. Gleichmäßig auf dem Blech vertilen. | ||||
| Nr. | Gericht | Gewicht (kg) | Zubehör | Einschubhöhe |
| A 16 | Halbierte Ofenkartoffeln | 0,6-0,8 | Universalblech | 3 |
| 0,8-1,0 | ||||
| Große Kartoffeln (je 200 g) langs halbieren. Mit der flichen Seite nach oben auf das Blech legen, mit Olivenöl bestreichen und Kräuter und Gewürze darüber streuen. | ||||
| A 17 | Tiefgeflorene Backofen-Pommes | 0,3-0,5 | Universalblech | 3 |
| 0,5-0,7 | ||||
| Die tiefgeflorenen Backofen-Pommes gleichmäßig auf dem Blech verteilen. | ||||
| A 18 | Tiefkühlpizza | 0,3-0,6 | Gitterrost | 3 |
| 0,6-0,9 | ||||
| Tiefkühlpizza in die Mitte des Gitterrosts legen. Programm starten und, wenn nach dem Vorheizen der Signalton zu horen ist, den Rost in den Garraum schiben. Die erstene Einstellung ist für)dünne italienische Pizza geeignet, die zweite für dicke amerikanische Pizza. | ||||
| A 19 | Selbstgemache Pizza | 0,8-1,0 | Universalblech | 2 |
| 1,0-1,2 | ||||
| Selbstgemache Pizza mit Hefeteig zubereiten und auf das Blech legen. Die Gewichtsangabe bezieht sich auf die gesamte Pizza mit Belag, wie z. B. Sauce, Gemüse, Schinke und Käse. Programm starten und, wenn nach dem Vorheizen der Signalton zu horen ist, das Blech in den Garraum schiben. | ||||
| A 20 | Hefeteig gehen lessen | 0,5-0,6 | Gitterrost | 2 |
| 0,7-0,8 | ||||
| Teig in einer Schüssel Zubereiten und mit Frischhaltefolie abdecken. In die Mitte des Rosts sollen. Die erstene Einstellung ist für Pizza- und Kuchenteig geeignet, die zweite für Brotteig. | ||||
Testgerichte
Gemai EN 60350-1
1. Backen
Die Backempfehlungen gehen von einem vorgeheizen Garraum aus. Schieben Sie die Bleche immer so ein, dass die schräge Seite zur Gerätür weist.
| Gericht | Zubehör | Einschubhöhe | Betriebsart | Temperatur (°C) | Zeit (in Min.) |
| Kleine Kuchen | Universalblech | 3 | 165 | 25-30 | |
| 2 | 160 | 28-33 | |||
| 1+4 | 155 | 35-40 | |||
| Mürbeteiggebäck | Universalblech | 1+4 | 140 | 35-40 | |
| Wasseriskuit | Gitterrost + Springform (Dunkel beschicht, ø 26 cm) | 2 | 160 | 35-40 | |
| 2 | 160 | 35-40 | |||
| 1+4 | 155 | 45-50 | |||
| Gedeckter Apfelkuchen | Gitterrost + 2 Springformen * (Dunkel beschicht, ø 20 cm) | 1 diagonal angeordnet | 160 | 70-80 | |
| Universalblech + Gitterrost + 2 Springformen ** (Dunkel beschicht, ø 20 cm) | 1+3 | 160 | 80-90 |
- Bei zwei Kuchen werden die Formen hinteren links und vorne rechts auf den Rost gestellt.
** Bei zwei Kuchen werden die Formen in zwei verschiedene Einschubhöhen mittig auf die Bleche/ Roste gestellt.
2. Grillen
Heizen Sie den Garraum 5 Minuten lang mit dem Großflächengrill vor.
| Gericht | Zubehör | Einschubhöhe | Betriebsart | Temperatur (°C) | Zeit (in Min.) |
| Toastbrot | Gitterrost | 5 | max. 250 | 1-2 | |
| Beefsteaks aus Rinderhackfleisch* (12 Stk.) | Gitterrost + Universalblech (zum Auffangen von Fett und Flüssigkeit) | 4 1 | max. 250 | 1. Seite 18-22 2. Seite 7-10 |
- Nach 2/3 der Garzeit wenden.
3. Braten
| Gericht | Zubehör | Einschubhöhe | Betriebsart | Temperatur (°C) | Zeit (in Min.) |
| Ganzes Händchen* | Gitterrost + Universalblech (zum Auffangen von Flüssigkeiten) | 3 1 | 205 | 80-100 |
- Nach der Hälfte der Zeit wenden.
Pflege
Reinigen
WARNING
Vergewissern Sie sich vor jeder Reinigung, dass das Gerät und die verwendeten Zubehörteile vollständig abgekühlt sind.
Verwenden Sie keinesfalls schleifende Reinigungsmittel, harte Bürsten, Schleifschwämme oder -tücher, Stahlwolle, Messer oder andere schleifende Materialien.
Garraum
- Verwenden Sie zum Reinigen des Garraums ein Tuch und ein mildes Reinigungsmittel oder warmes Seifenwasser.
- Reinigen Sie die Dichtungen der Geräteür nicht von Hand.
- Um Beschädigungen der emailierten Flächen des Garraums zu vermeiden, verwenden Sie nur handelsübliche Backofenreiniger.
- Um schwere Verunreinigungen zu entfernen, verwenden Sie einen Spezial-Backofenreiniger.
Außenflächen des Geräts
Verwenden Sie zum Reinigen der äußerten Flächen des Gerats, wie z. B. Gerätetur, Turgriff und Display, ein sauberes Tuch und ein mildes Reinigungsmittel oder warmes Seifenwasser, und wischen Sie die Flächen mit einem Blatt Kuchenpapier oder einem trockenen Handtuch trocken.
Aufgrund der freißen Luft, die aus dem Garraum entweicht, lagern sich insbesondere um den Handgriff Schmutz und Fett ab. Es wird davon empfohlen, nach jeder Verwendung des Geräts den Handgriff zu reinigen.
Zubehör
Waschen Sie samltliche Zubehörteile nach jeder Verwendung, und trocknen Sie sie mit einem Kuchenhandtuch ab. Weichen Sie Zubehörteile mit hartnäckigen Verschmutzungen etwa 30 Minutes in warmem Seifenwasser ein, bevor Sie sie waschen.
Katalytische Emailleoberfläche (nur bestimmte Modelle)
Die entnehmbaren Teile sind mit einer dunkelgrauen katalytischen Emaillebeschichtung versehen.
Thesekann beim Garen im HeiLuftbetrieb durch die zirkulierende Luft mit Öl und Fett verschmutzt werden. Theseblagerungen verbrennen jeder bei Temperaturen von 200^ und mehr.
- Entnehmen Sie alle Zubehörteile aus dem Gerät.
- Reinigen Sie den Garraum.
- Aktivieren Sie die Betriebsart „Heißluft“, stellen Sie die hochstmögliche Temperatur ein, und halten Sie das Gerät eine Stunde lang in Betrieb.
HINWEIS
Je nach Modell sind die katalytischen Teile entweder nur an einer oder aber an 3 Seiten beschichtet.
Ausbau der Gerätetur
Im Normalfallarf die Geratetur nicht entfernt werden, sondern nur, wenn dies beispisseweise zum Reinigen erforderlich ist.
VORSICHT
Die Geratetür ist schwer.

- Öffnen Sie die Gerätür, und klappen Sie die Clips an den beiden Scharnieren auf.

- Schlieben Sie die Gerätetur halb (etwa 70^ ). Fassen Sie die Gerätetur mit beiden Händen in der Mitte, undziehen Sie sie so welt nach oben, dass die Scharniere herausgenommen werden konnen.

- Um die Geräteur nach der Reinigung wieder zu befestigen, wiederholen Sie die Schritte 1 und 2 in umgekehrter Reihenfolge. Der Clip am Scharnier sollte auf beiden Seiten geschlossen sein.
26 Deutsch
Ausbau des Glaseinsatzes der Gerätür
Die Geräteur verfügbar über 3 gegeneinander angeordnete Glasscheiben.
These Glasscheiben können zum Reinigen ausgebaut werden.
WARNING
Die Geratetür muss zum Reinigen der Glasscheiben aus dem Gerät ausgebaut werden.

- Entfernen Sie die 2 Schrauben auf der linken und rechten Seite der Gerätetur.

- Losen Sie die Abdeckung, und entnehmer Sie die Scheiben 1 und 2 sowie die 2 Führungsgummis aus der Gerätetur.
01 Scheibe 1
02 2 Führungsgummis

01 Abdecken.
02 Führungsgummis (rechts und links)
03 Scheibe 2
04 Scheibe 1
HINWEIS
Achten Sie beim Einbau von Scheibe 1 darauf, dass Sie nicht Scheibe 2 verwenden und dass der Aufdruck nach unter weist.

Wasserkollektor
01 Wasserkollektor
Der Wasserkollektor fängt während den Garvorgangen nicht nur überschüssige Feuchtigkeit, sondern auch Speiserückstände auf. Leeren und reinigen Sie den Wasserkollektor in regelmäßigen Abständen.
AWARNUNG
Wenn Sie feststellen, dass Wasser aus dem Wasserkollektor lauft, wenden Sie sich an das nachstgelegene Samsung-Kundendienstzentrum.
Pflege

Befestigen der Seitengitter (je nach Modell)
- Drücken Sie mittig auf den oberen Bereich des Seitengitters.

- Kippen Sie das Seitengitter um etwa 45^ .

- Ziehen Sie das Seitengitter aus den beiden unteren Bohrungen heraus.
Ersetzen von Teilen

Gluhlampe
- Drehen Sie die Glasabdeckung gegen den Uhrzeigersinn ganz Heraus.
- Tauschen Sie die Gluhlampe aus.
- Reinigen Sie die Glasabdeckung
- Drehen Sie die Glasabdeckung anschließend wieder auf die Halterung, indem Sie den obigen Schritt 1 in umgekehrter Reihenfolge ausfuhren.

WARNING
- Schalten Sie das Gerät vor dem Austausch der Glühlampe aus undziehen Sie den Netzstecker aus der Steckdose.
- Verwenden Sie ausschließlich bis 300^ hitzebestandige Gluhampen die für 25-40 W bei 220-240 V ausgelegt sind. Zugelassene Gluhampen sind bei dem Samsung-Kundendienstzentrum in Ihrer Höhe erhältlich.
- Fassen Sie Halogenlampen ausschließlich mit einem trockenen Tuch an. Andernfalls wird die Lampe durch Fingerabrücke oder Schweiß verschmutzt, wodurch sich die Lebensdauer verkürzt.
Fehlerbehebung
Problembeschreibungen
Schlagen Sie bei Problemen mit thisem Gerät zuerst in der folgenden Tabelle nach, und probieren Sie die Dort beschreibenben Abhilfmaßnahmen. Wenn das Problem weiterhin besteht, wenden Sie sich an das nachstgelegene Samsung-Kundendienstzentrum.
| Problem | Ursache | Abhilfemaßnahme |
| Die Tasten halten sich nicht richtig drucken. | ·Haben sich Fremdkörper/-stoffe um die Tasten angesammelt? | ·Entfernen Sie die Fremdkörper/-stoffe, und versuchen Sie es erneut. |
| ·Hat sich außen Feuchtigkeit angesammelt (nur berührungsempfindliche Bedienelemente)? | ·Wischen Sie die Feuchtigkeit weg, und versuchen Sie es erneut. | |
| ·Wurde die Kindersicherung aktiviert? | ·Deaktivieren Sie die Kindersicherung. | |
| Die Uhrzeit wird nicht angezeigt. | ·Wurde die Stromversorgung unterbrochen? | ·Überprüfen Sie, ob der Netzstecker in die Steckdose eingesteckt ist. |
| Das Gerät startet den Betrieb nicht. | ·Wurde die Stromversorgung unterbrochen? | ·Überprüfen Sie, ob der Netzstecker in die Steckdose eingesteckt ist. |
| Der laufende Betrieb wird unterbrochen. | ·Wurde der Netzstecker aus der Steckdose gezogen? | ·Stcken Sie den Netzstecker wieder ein. |
| Das Gerät wird im Betrieb ausgeschaltet. | ·Wurde die zulässige Betriebsdauer übersritten? | ·Lassen Sie das Gerät nach längeren Garvorgängen abkühlen. |
| ·Arbeitet der Kühlungsventilator ordnungsgemäß? | ·Horchen Sie, ob der Kühlungsventilator in Betrieb ist. | |
| ·Wurde das Gerät an einem Ort ohne ausreichende Belüftung aufgestellt? | ·Halten Sie die in der Aufstellanleitung genommen Abstände ein. | |
| ·Sind mehrere Geräte an dieser steckdose angeschlossen? | ·Schließen Sie das Gerät an eine eigene Steckdose an. |
| Problem | Ursache | Abhilfemaßnahme |
| Das Gerät wird nicht mit Strom versorgt. | ·Wurde die Stromversorgung unterbrochen? | ·Überprüfen Sie, ob der Netzstecker in die Steckdose eingesteckt ist. |
| Die Außenflächen des Geräts werden im Betrieb übermäßig heiß. | ·Wurde das Gerät an einem Ort ohne ausreichende Belüftung aufgestellt? | ·Halten Sie die in der Aufstellanleitung genannten Abstände ein. |
| Die Gerätetür kann nicht richtig geöffnet werden. | ·Haben Sie zwischen Gerätetür und Garraum Essensrechte gesammelt? | ·Reinigen Sie gründlich das Gerät und versuchen Sie erneut, die Gerätetür zu öffnen. |
| Die Garraumbeleuchtung ist zu dunkel oder Funktioniert überhaupt nicht. | ·Leuchtet die Lampe zunachst und wird dann ausgeschaltet? | ·Die Garraumbeleuchtung wird zu Energiesparzwecken nach einer bestimmen Zeit automatisch ausgeschaltet. Sie können die Beleuchtung wieder einschalten, indem Sie die Taste für die Garraumbeleuchtung drücken. |
| ·Wird die Lampe im Betrieb durch Zubehrönteile oder Speisen verdeckt? | ·Reinigen Sie den Garraum und überprüfen Sie die Beleuchtung erneut. | |
| Das Gerät verursicht Stromschläge. | ·Ist das Gerät ordnungsgemäß geerdet? | ·Überprüfen Sie, ob das Gerät ordnungsgemäß geerdet ist. |
| ·Wird eine Steckdose ohne Schutzleiter verwendet? | ||
| Aus dem Gerät tritt Wasser aus. | ·In einigen Fälle kann je nach den zubereiteten Speisen Wasser oder Dampf aus dem Gerät austreten. Dies ist keine Fehlfunktion des Geräts. | ·Lassen Sie das Gerät abkühlen, und wischen Sie es mit einem trockenen Tuch ab. |
| Aus einem Spalt in der Gerätetür tritt Dampf aus. | ||
| Im Gerät bleibt Wasser darüber. |

Fehlerbehebung
| Problem | Ursache | Abhilfemaßnahme |
| Die Helligkeit im Garraum schwankt. | Die Helligkeit schwankt in Abhängigkeit von der abgegebenen Leistung. | Schwankungen bei der Leistungsabgabe sind während eines Garvorgangs normal. Keine Sorge, dies ist keine Fehlfunktion des Geräts. |
| Der Garvorgang ist abgeschlossen, aber der Kuhlungsventilator lauft weiter. | Der Ventilator lauft auch einige Zeit nach Abschluss des Garvorgangs weiter, um den Garraum abzukühlen. | Keine Sorge, dies ist keine Fehlfunktion des Geräts. |
| Der Garraum wird nicht erhützt. | Ist die Gerätetur offen? | Schließen Sie die Gerätetur und starten Sie das Gerät neu. |
| Wurden die falschen Einstellungen gewählt? | Schlagen Sie im Kapitel zur Bedienung des Geräts nach und stellen Sie das Gerät neu ein. | |
| Ist die Sicherung im Verteilerkasten durchgebrannt oder hat der Leistungsschutzschalter ausgelöst? | Ersetzen Sie die Sicherungen bzw. setzen Sie den Leistungsschutzschalter darüber. Wenn dies wiederholt passiert, rufen Sie einen Elektriker. | |
| Im Betrieb tritt Rauch aus dem Gerät aus. | Wird das Gerät zum ersten Mal verwendet? | Bei erstmaliger Verwendung kann am Heizelement Rauch entstehen. Dies ist keine Fehlfunktion, und das Problem sollen nach der 2. oder 3. Verwendung nicht mehr auftreten. |
| Befunden Sie Speisereste am Heizelement? | Lassen Sie das Gerät ausreichend abkühlen und entfern den Sie die Speisereste vom Heizelement. | |
| Vom Gerät gibt ein Brand-oder Kunststoffgeruch aus. | Wurden Kunststoff- oder sonstige Behälter verwendet, die nicht hitzebeständig sind? | Verwenden Sie für hohe Temperaturen geeignete Glasbehalter. |
| Problem | Ursache | Abhilfemaßnahme |
| Die Garergebnisse sind unzureichend. | ·Wurde während des Garvorgangs die Geräteür geöffnet? | ·Öffnen Sie die Geräteür im Betrieb nur dann, wenn Speisen gewendet werden müssen. Je früher die Geräteür im Betrieb geöffnet wird,esto stärker sinkt die Temperatur im Garraum, sodassich sie die Garergebnisse verschlechtern. |
| Das Gerät erwartst sich während der Pyrolysereinigung. | ·Die Pyrolysereinigung arbeitet mit hohen Temperaturen, sodassich das Gerät erwartet. | ·Keine Sorge,dies ist keine Fehlfunktion des Geräts. |
| Während der Pyrolysereinigung entsteht Brandgeruch. | ·Die Pyrolysereinigung arbeitet mit hohen Temperaturen, um Essensrückstände restlos zu verbrennen. | ·Keine Sorge,dies ist keine Fehlfunktion des Geräts. |
| Die Dampfreinigung wird nicht ausgeführct. | ·Ist das Gerät ausreichend abgekühlt? | ·Lassen Sie das Gerät ausreichend abkühlen,bevor Sie die Reinigung durchführungn. |

Technische Daten
Informationscodes
Bei Störungen Ihres Geräts wird ein Informationscode im Display angezeigt. Schlagen Sie in der folgenden Tabelle nach, und probieren Sie die beschriebenen Abhilfemaßnahmen aus.
| Code | Bedeutung | Abhilfemaßnahme |
| C-d1 | Problem mit der Verriegelung der Gerätetur | |
| C-20 | Sensorstörung | Schalten Sie das Gerät aus, und starten Sie den Vorgang neu. Wenn das Problem weiterhin besteht, ziehen Sie den Netzstecker für mindestens 30 Sekunden aus der Steckdose und schließen Sie das Gerät dann wieder an. Wenn das Problem dadurch nicht behoben wird, wenden Sie sich an ein Kundendienstzentrum in ihrer Höhe. |
| C-21 | ||
| C-22 | ||
| C-23 | ||
| C-F1 | Tritt nur bei einem Lese-/Schreibproblem mit dem EEPROM-Speicherchip auf | |
| C-F0 | Tritt auf, wenn keine Kommunikation zwischen der Haupt- und der Nebenplatine möglich ist | |
| C-F2 | Tritt auf, wenn ein Kommunikationsproblem zwischen dem integrierten Sensorschaltkreis und dem Micom-Haupt- oder -Untersystem besteht | Schalten Sie das Gerät aus, und starten Sie den Vorgang neu. Wenn das Problem weiterhin besteht, ziehen Sie den Netzstecker für mindestens 30 Sekunden aus der Steckdose und schließen Sie das Gerät dann wieder an. Wenn das Problem dadurch nicht behoben wird, wenden Sie sich an ein Kundendienstzentrum in ihrer Höhe. |
| C-d0 | Tastenproblem Tritt auf, wenn eine Taste längerere Zeit gedrückt wird. | Reinigen Sie die Tasten und achen Sie darauf, dass an oder auf den Tasten kein Wasser zusückbleibt. Schalten Sie das Gerät aus, und versuchen Sie es erneut. Wenn das Problem weiterhin besteht, wenden Sie sich an das{nachstgelegene Samsung-Kundendienstzentrum. |
| S-01 | SicherheitsabschaltungDie zulässige maxime Betriebsdauer für die eingestellte Temperatur wurde übersritten. • Bis 105 °C – 16 Stunden • Von 105 °C bis 240 °C – 8 Stunden • Von 245 °C bis Max. – 4 Stunden | Dies ist keine Fehlfunktion des Geräts. Schalten Sie das Gerät aus, und enthalten Sie die Speisen. Versuchen Sie es dann ernut. |
SAMSUNG ist ständig darum bemüht, seine Produkte zu verbessern. Aus thisem Grunde besteht sich Samsung Änderungen am Design und an Bedienungsanleitungen vor.
| Abmessungen (B x H x T) | Gehäuse | 595 x 595 x 570 mm |
| Fassungsvermögen | 68 Liter | |
| Gewicht | Netto | NV68R3372BS/EF : 40,1 kg NV68R3375BS/EF / NV68R3375BB/EF / NV68R3371BS/EF : 39,8 kg |
| Betriebsspannung | 230-240 V ~ 50 Hz | |
| Maximal angeschlossene Last | 3400-3600 W | |
Anhang
Produktdatenblatt
| SAMSUNG | SAMSUNG |
| Modellkennung | NV68R3375BS/EF / NV68R3375BB/EF / NV68R3371BS/EF / NV68R3372BS/EF |
| Energieeffizienzindex je Garraum (EEI cavity) | 95,2 |
| Energieeffizienzklasse pro Garraum | A |
| Energieverbrauch (Strom) bei der Erhütung einer Standardbeladung im Garraum eines Elektrobackofens während eines Zyklus im konventionellen Modus je Garraum (elektrische Endenergie) (EC electric cavity) | 0,99 kWh/Zyklus |
| Energieverbrauch bei der Erhütung einer Standardbeladung im Garraum eines Elektrobackofens während eines Zyklus im Umluftmodus je Garraum (elektrische Endenergie) (EC electric cavity) | 0,80 kWh/Zyklus |
| Anzahl der Garräume | 1 |
| Wärmequelle je Garraum (Strom oder Gas) | Strom |
| Volumen je Garraum (V) | 68 L |
| Art des Backofens | Integriert |
| Masse des Gerätes (M) | NV68R3372BS/EF : 40,1 kg NV68R3375BS/EF / NV68R3375BB/EF / NV68R3371BS/EF : 39,8 kg |
Datum ermittelt entsprechend der Norm EN 60350-1 und der Kommissionsverordnungen (EU) Nr. 65/2014 und (EU) Nr. 66/2014.
Energiespartipps
- Halten Sie die Geräte tür während des Garvorgangs immer geschlossen, es sei dann, Sie müssen die Lebensmittel wenden. Öffnen Sie die Geräte tür während des Garvorgangs so setzen wie möglich, um die Temperatur im Garraum zu erhalten und so Energie zu spare.
- Planen Sie die Verwendung des Geräts im Voraus, damit Sie es zwischen einem Garvorgang und dem nachsten nicht ausschalten müssen. So spare Sie Energie und reduzieren die Vorwärmeit des Geräts.
- Wenn die Garzeit mehr als 30 Minuten beträgt, können Sie das Gerät 5-10 Minuten vor Abschluss des Garvorgangs ausschalten, um Energie zu sparen. Der Garvorgang wird mit Hilfe der Restwärme abgeschlossen.
- Wenn möglich, bereiten Sie immer mehr als ein Gericht zu.
Notizen


Notizen

Notizen


FRAGEN ODER HINWEISE?
| LAND | RUFEN SIE UNS AN UTER | ODER BESUCHEN SIE UNS ONLINE UTER |
| AUSTRIA | 0800-SAMSUNG (0800-7267864)[Only for KNOX customers] 0800 400848[Only for Premium HA] 0800-366661[Only for Dealers] 0810-112233[Only for E-Store] 0800 100 232 | www.samsung.com/at/support |
| BELGIUM | 02-201-24-18 | www.samsung.com/be/support (Dutch)www.samsung.com/be_fr/support (French) |
| DENMARK | 707 019 70 | www.samsung.com/dk/support |
| FINLAND | 030-6227 515 | www.samsung.com/fi/support |
| FRANCE | 01 48 63 00 00 | www.samsung.com/fr/support |
| GERMANY | 06196 77 555 77 | www.samsung.com/de/support |
| ITALIA | 800-SAMSUNG (800.7267864) | www.samsung.com/it/support |
| CYPRUS | 8009 4000 only from landline, toll free | |
| GREECE | 80111-SAMSUNG (80111 726 7864) only from land line(+30) 210 6897691 from mobile and land line | www.samsung.com/gr/support |
| LUXEMBURG | 261 03 710 | www.samsung.com/be_fr/support |
| NETHERLANDS | 088 90 90 100 | www.samsung.com/nl/support |
| NORWAY | 21629099 | www.samsung.com/no/support |
| PORTUGAL | 808 207 267 | www.samsung.com/pt/support |
| SPAIN | 0034902172678 | www.samsung.com/es/support |
| SWEDEN | 0771 726 786 | www.samsung.com/se/support |
| SWITZERLAND | 0800 726 78 64 (0800-SAMSUNG) | www.samsung.com/ch/support (German)www.samsung.com/ch_fr/support (French) |
| UK | 0330 SAMSUNG (7267864) | www.samsung.com/uk/support |
| IRELAND (EIRE) | 0818 717100 | www.samsung.com/ie/support |
EinfachAnleitung