EOH3H00X - EOH3H54X - Elektrische Heizung ELECTROLUX - Kostenlose Bedienungsanleitung
Finden Sie kostenlos die Bedienungsanleitung des Geräts EOH3H00X - EOH3H54X ELECTROLUX als PDF.
Laden Sie die Anleitung für Ihr Elektrische Heizung kostenlos im PDF-Format! Finden Sie Ihr Handbuch EOH3H00X - EOH3H54X - ELECTROLUX und nehmen Sie Ihr elektronisches Gerät wieder in die Hand. Auf dieser Seite sind alle Dokumente veröffentlicht, die für die Verwendung Ihres Geräts notwendig sind. EOH3H00X - EOH3H54X von der Marke ELECTROLUX.
BEDIENUNGSANLEITUNG EOH3H00X - EOH3H54X ELECTROLUX
Benutzerinformation Backofen
11. CONSEILS ET ASTUCES

Vielen Dank für ihren Kauf eines Electrolux-Geräts. Sie haben ein Produkt gewählt, das jahrzehntelange professionelle Erfahrung und Innovation mit sich bringt. Das ausgeklugelte und stilvolle Produkt wurde für Sie entwickelt. So können Sie jeder Mal, wenn Sie das Produkt verwenden, sicher sein, dass Sie großartige Ergebnisse erzielen werden.
Willkommen bei Electrolux.
Besuchen Sie uns auf unserer Website, um:

Anwendungshinweise, Prospekte, Informationen zu Fehlerbehebung, Service und Reparatur zu erhalten:
www.electrolux.com/support
Registrieren Sie Ihr Produkt, um einen erstklassigen Service zu erhalten:
www.registerelectrolux.com


Um Zubehör, Verbrauchsmaterial und Original-Ersatzteile für Ihr Gerät zu kaufen: www.electrolux.com/shop
KUNDENDIENST UND SERVICE
Verwenden Sie immer Original-Ersatzteile.
Halten Sie folgende Angaben bereit, wenn Sie sich an einen autorisierten Kundendienst wenden: Modell, PNC, Seriennummer.
Die Daten finden Sie auf dem Typenschild.
Warning-/Sicherheitshinweise
① Allgemeine Informationen und Empfehlungen
Informationen zum Umweltschutz
Änderungen vorbehalten.
INHALTSVERZEICHNIS
- SICHERHEITSHINWEISE 67
- SICHERHEITSANWEISUNGEN 69
3.MONTAGE 72
4.GERATEBESCHREIBUNG 73
5.BEDIENFELD 74 - VOR DER ERSTEN INBETRIEBNAHME 74
- TÄGLICHER GEBRAUCH 75
8.UHRFUNKTIONEN 76 - VERWENDUNG DES ZUBEHÖRS 77
10.ZUSATZFUNKTIONEN 78 - TIPPS UND HINWEISE 78
- REINIGUNG UND PFLEGGE 81
- FEHLERSUCHE 85
- ENERGIEEFFIZIENZ 85
- UMWELTTIPIPS 86
1. SICHERHEITSHINWEISE
Lesen Sie vor der Montage und dem Gebrauch des Geräts zuerst die Bedienungsanleitung. Bei Verletzungen oder Schäden infolge nicht ordnungsgemäßer Montage oder Verwendung übernimmt der Hersteller keine Haftung. Bewahren Sie die Anleitung zum Nachschlagen an einem sicheren und zugänglichen Ort auf.
1.1 Sicherheit von Kindern und schutzbedürftigen Personen
-
Das Gerät kann von Kindern ab 8 Jahren und Personen mit eingeschränkten physischen, sensorischen oder geistigen Fähigkeiten oder mit mangelnder Erfahrung/mangelndem Wissen benutzt werden, wenn sie durch eine für ihre Sicherheit zuständige Person beaufsichtigt werden oder von dieser Person Anweisungen erhalten haben, wie das Gerät safer zu bedieren ist und welche Gefahren bei nicht ordnungsgemäßer Bedienung bestehen. Kinder unter 8 Jahren und Personen mit schweren Behinderungen oder Mehrfachbehinderung sollen den vom Gerät ferngehalten werden, wenn sie nicht ständig beaufsichtigt werden.
-
Kinder sollen den beaufsichtigt werden, um sicherzustellen, dass sie nicht mit dem Gerät.
- Halten Sie sãmtliches Verpackungsmaterial von Kindern fern und entsorgen Sie es ordnungsgemäß.
- WARNUNG: Halten Sie Kinder und Haustiere von dem Gerät fern, wenn es in Betrieb oder in der Abkuhlphase ist. Die zugänglichen Geräteile werden beim Betrieb sehr heiß.
- Falls Ihr Gerät mit einer Kindersicherung ausgestattet ist, empfehlen wir, diese einzuschalten.
- Kinder dürfen keine Reinigung und Wartung des Geräts ohne Beaufsichtigung durchführren.
1.2 Allgemeine Sicherheit
-
Dieses Gerät ist nur zum Kochen bestimmt.
-
Dieses Gerät ist für den Hausgebrauch in einem Einfamilienhaus in Innenräumen bestimmt.
- Dieses Gerätarf in Büros, Hotelzimmern, Gästezimmern in Pensionen, Bauernhöfen und anderenähnlichen Unterkünftenverwendet werden, wenn diese Nutzung das (durchschnittliche) Nutzungsniveau im Haushalt nicht überschreitet.
Die Montage des Geräts und der Austausch des Kabels muss von einer Fachkraft vorgenommen werden. - Verwenden Sie das Gerät nicht, bevors in den Einbauschrank gesetzt wird.
- Vor Wartungsarbeiten ist das Gerät von der elektrischen Stromversorgung zu trennen.
- Wenn das Netzkabel beschädigt ist, muss es vom Hersteller, seinem autorisierten Kundenservice oder einer gleichermaßen qualifizierten Person ausgetauscht werden, um Gefahren durch elektrischen Strom zu vermeiden.
- WARNUNG: Vergewissern Sie sich, dass das Gerät ausgeschaltet ist, bevor Sie die Lampe austauschen, um einen Stromschlag zu vermeiden.
- WARNUNG: Das Gerät und die zugänglichen Geräteile werden während des Betriebs besteht. Seien Sie vorsichtig und berühren Sie niemals die Heizelemente.
- Verwenden Sie stets Topfhandschuhe, um Zubehör oder Geschirr zu herauszunehmen oder zu verstauen.
- Ziehen Sie die Einhängegitter zuerst vorne und dann hinter von den Seitenwänden weg. Setzen Sie die Einhängegitter in umgekehrter Reihenfolge ein.
- Reinigen Sie das Gerät nicht mit einem Dampfstrahlreiniger.
- Benutzen Sie zum Reinigen der Glastür keine scharfen Scheuermittel oder Metalschwämmchen; sie konnten die Glasfläche verkratzen und zum Zersplittern der Scheibe führen.
2. SICHERHEITSANWEISUNGEN
2.1 Montage

WARNING!
Die Montage des Geräts darf nur von einer qualifizierten Fachkraft durchgeführt werden.
- Entfernen Sie das gesamte Verpackungsmaterial.
- Montieren Sie ein beschädigtes Gerät nicht und benutzen Sie es nicht.
- Halten Sie sich an die mitgelieferte Montageanleitung.
- Seien Sie beim Umsetzen des Gerätes vorsichtig, da es sehr schwer ist. Tragen Sie stets Sicherheitshandschuhe und festes Schuhwerk.
Ziehen Sie das Gerät nicht am Griff.
Montieren Sie das Gerät an einem sicheren und geeigneten Ort, der den Montageanforderungen entspricht.
Die Mindestabstände zu anderen Geräten und Kuchenmöeln sind einzuhalten. - Überprüfen Sie vor der Montage des Gerätes, ob sich die Ofentür ohne Kraftanwendung öffnenläst.
Das Gerät ist mit einem elektrischen Kühlsystem ausgestattet. Es muss mit der elektrischen Stromversorgung betrieben werden.
Mindesthöhe des Einbau-möbels (Mindesthöhe des Schranks unter der Arbeits-platte) 590 (600) mm
| Schrankbreite | 560 mm |
| Schranktiefe | 550 (550) mm |
| Höhe der Gerätevordersei-te | 594 mm |
| Höhe der Geräterrückseite | 576 mm |
| Breite der Gerätevordersei-te | 595 mm |
| Breite der Geräterrückseite | 559 mm |
| Gerätetiefe | 569 mm |
| Geräteeinbautiefe | 548 mm |
| Tiefe bei geöffneter Tür | 1022 mm |
| Mindestgröße der Belütfungsöffnung. Öffnung auf der Rückseite unter | 560x20 mm |
| Länge des Netzanschluss-kabels. Das Kabel befindet sich in der rechten Ecke auf der Rückseite | 1500 mm |
| Befestigungsschrauben | 4x25 mm |
2.2 Elektrischer Anschluss

WARNING!
Brand- und Stromschlaggefahr.
Alle elektrischen Anschlusses sind von einem geprüften Elektriker vorzunehmen.
Das Gerät muss geerdet sein.
- Stellen Sie sichere, dass die Daten auf dem Typenschild mit den elektrischen Nennwerten der Netzspannung übereinstimmen.
- Schließen Sie das Gerät nur an eine ordnungsgemäß installierte Schutzkontaktsteckdose an.
- Verwenden Sie keine Mehrfachsteckdosen oder Verlängerungskabel.
- Achten Sie darauf, Netzstecker und Netzkabel nicht zu beschädigen. Falls das Netzkabel des Geräts ersetzt werden muss, halten Sie diese Arbeit durch unseren autorisierten Kundendienst durchführren.
- Achten Sie daraufuf, dass das Netzkabel die Gerätetur oder die Nische unter dem Gerät nicht berührt oder in ihre Nähe gelangt, insbesondere wenn das Geräteingeschaltet oder die Tür heiß ist.
- Alle Teile, die gegen direktes Berühren schätzen, sowie die isolierten Teile müssen so befestigt werden, dass sie nicht ohne Werkzeug entfernt werden können.
- Stecken Sie den Netzstecker erst nach Abschluss der Montage in die Steckdose. Stellen Sie safer, dass der Netzstecker nach der Montage noch zuganglich ist.
- Falls die Steckdose lose ist, schreiben Sie den Netzstecker nicht an.
- Ziehen Sie nicht am Netzkabel, wenn Sie das Gerät von der Stromversorgung trennen möchten. Ziehen Sie stets am Netzstecker.
- Verwenden Sie nur geeignete Trenneinrichtungen: Überlastschalter, Sicherungen (Schraubsicherungen müssen aus dem Halter entfernt werden können), Fehlerstromschutzschalter und Schütze.
Die elektrische Installation muss eine Trenneinrichtung aufweisen, mit der Sie das Gerät allpolig von der Stromversorgung trennen konnen. Die Trenneinrichtung muss mit einer Kontaktöffnungsbreite von mindestens 3 mm ausgeführst sein. - Dieses Gerät wird nur mit einem Netzkabel gefeliefert.
Einsetzbare Kabeltypen für Einbau oder Austausch in Europa:
H07 RN-F, H05 RN-F, H05 RRF, H05 VV-F, H05 V2V2-F (T90), H05 BB-F
Für den Kabelabschnitt siehe die Gesamtleistung auf dem Typenschild. Sie können auch die Tabelle heranzziehen:
| Gesamtleistung (W) | Kabelquerschnitt (mm2) |
| maximal 1380 | 3 x 0.75 |
| maximal 2300 | 3 x 1 |
| maximal 3680 | 3 x 1.5 |
Das Erdkabel (grun/gelb) muss 2 cm länger sein als die Phasen- und Nullleiter (blaue und braune Kabel).
2.3 Gebrauch

WARNING!
Verletzungs-, Verbrennungs-, Stromschlag- oder Explosionsgefahr.
-
Nehmen Sie keine technischen Änderungen am Gerät vor.
Vergewissern Sie sich, dass die Luftungsöffnungen nicht blockiert sind. -
Lassen Sie das Gerät während des Betriebs nicht unbeaufsichtigt.
Schalten Sie das Gerät nach jedem Gebrauch aus. - Gehen Sie beim Öffnen der Tur vorsichtig vor, wenn das Gerät in Betrieb ist. Es kann heiße Luft freigesetzt werden.
- Benutzen Sie das Gerät nicht mit nassen Händen oder wenn es mit Wasser Kontakt hat.
- Üben Sie keinen Druck auf die offene Türg aus.
- Verwenden Sie das Gerät nicht als Arbeits- oder Abstellfläche.
- Offnen Sie die Geräte tür vorsichtig. Die Verwendung von Zutaten mit Alkohol kann eine Mischung aus Alkohol und Luft verursachen.
- Lassen Sie beim Öffnen der Tür keine Funken oder offenen Flammem mit dem Gerät in Kontakt kommt.
- Platzieren Sie keine entflammbaren Produkte oder Gegenstände, die mit entflammbaren Produkten benetzt sind, im Gerät, auf dem Gerät oder in der Nähdes Geräts.

WARNING!
Risiko von Schaden am Gerät.
Um Beschädigungen und Verfährbund der Emailbeschichtung zu vermeiden:
- Stellen Sie feuerfestes Geschirr oder andere Gegenstände nicht direkt auf den Boden des Geräts.
- Legen Sie keine Alufolie direkt auf den Boden des Garraums.
- Füllen Sie kein Wasser in das bereits Gerät.
- Lassen Sie nach Abschluss des Garvorgangs kein feuchtes Geschirr oder feuchte Speisen im Gerät stehen.
-
Gehen Sie beim Herausnehmen oder Einsetzen des Zubehörs sorgfältig vor.
-
Verf行政审批 der E-maille- oder Edelstahlbeschäftung haben keine Auswirkung auf die Leistung des Geräts.
-
Verwenden Sie eine tiefe Pfanne für feuchte Kuchen. Fruchtsäfte verursachen Flecken, die dauerhaft sein konnen.
Kochen Sie immer bei geschlossener Gerätetur. -
Ist das Gerät hinter einer Möbelfront (wie etwa einerTür) installiert, achten Sie daraufuf, dass die Tur während des Gerätebetriebs nicht geschlossen wird. Hinter einer geschlossenen Möbelfront konnen sich Hitze und Feuchtigkeit ansammeln und das Gerät, das Gehäuse oder den Boden beschädigen. Schließen Sie die Möbelfront nicht, bevor das Gerät nach dem Gebrauch vollig abgekühlt ist.
2.4 Reinigung und Pflege

WARNING!
Verletzungs-, Brandgefahr sowie Risiko von Schäden am Gerät.
- Schalten Sie das Gerät immer aus undziehen Sie den Netzstecker aus der Steckdose, bevor Reinigungsrarbeitendurchgeführt werden.
Vergewissem Sie sich, dass das Gerät abgekühlt ist. Es besteht die Gefahr, dass die Glasscheiben brechen. - Ersetzen Sie die Türglasscheiben umgehend, wenn sie beschädigt sind. Wenden Sie sich an einen autorisierten Kundendienst.
- Gehen Sie beim Aushängen der Tür vorsichtig vor. Die Tür ist schwer!
- Reinigen Sie das Gerät regelmäßig, um eine Verschlechterung des Oberflächenmaterials zu verhindern.
- Reinigen Sie das Geräts mit einem weichen, feuchten Tuch. Verwenden Sie ausschließlich Neutralreiniger. Benutzen Sie keine Scheuermittel, scheuernde Reinigungsschwämchen, Lösungsmittel oder Metallgegenstände.
- Falls Sie ein Backofenspray verwenden, befolgen Sie die Sicherheitsanweisungen auf seiner Verpackung.
2.5 Innenbeleuchting

WARNING!
Stromschlaggefahr.
- Bezüglich der Lampe(n) in thisem Gerät und separat verkafter Erssatzlampen: Diese Lampen müssen extremen physikalischen Bedingungen in Haushaltsgeräten standhalten, wie z.B. Temperatur, Vibration, Feuchtigkeit, oder sollen Informationen über den Betriebszustand des Gerätes anzeigen. Sie sind nicht für den Einsatz in anderen Geräten vorgesehen und nicht für die Raumbeleuchting geeignet.
- Dieses Produkt enthalt eine Lichtquelle der Energieeffizienzklasse G.
- Verwenden Sie nur Lampen mit der gleichen Leistung.
2.6 Wartung
- Wenden Sie sich zur Reparatur des Geräts an den autorisierten Kundendienst.
Dabei)dufen ausschlieblich Originalersatzteile verwendet werden.
2.7 Entsorgung

WARNING!
Verletzungs- und Erstickungsgefahr.
Informationen zur Entsorgung des Geräts erhalten Sie von ihrer Gemeindeverwaltung.
- Trennen Sie das Gerät von der Stromversorgung.
- Schneiden Sie das Netzkabel in der Nähe des Geräts ab, und entsorgen Sie es.
- Entfernen Sie das Turschloss, um zuverhindern, dass sich Kinder, oder Haustiere im Gerät einschließlich.
3. MONTAGE

WARNING!
Siehe Kapitel
Sicherheitshinweise.
3.1 Montage

YouTube
www.youtube.com/electrolux
www.youtube.com/aeg
3.2 Befestigung des Ofens am Möbel

4. GERÄTEBESCHREIBUNG
4.1 Gesamtansicht

4.2 Zubehör
Kombirost
Für Kochgeschirr, Kuchenformen, Braten.
Backblech
Für Kuchen und Platzchen.
1 Bedienfeld
2 Einstellknopf für die Ofenfunktionen
3 Betriebskontrollampe/-symbol
4 Display
5 Einstellknopf (für die Temperatur)
6 Temperaturanzeige/-symbol
7 Heizelement
8 Lampe
9 Ventilator
10 Garraumvertiefung - Behälter für die Aqua-Reinigungsfunktion
11 Einhangegitter, Herausnehmbar
12 Einschubebenen
- Brat- und Fettpfanne
Zum Backen und Braten oder als Pfanne zum Aufsammeln von Fett.
5. BEDIENFELD
5.1 Sensorfelder/Tasten
| — | Einstellen der Zeit. |
| ① | Einstellen einer Uhrfungtion. |
| + | Einstellen der Zeit. |
5.2 Display

A. Uhrfunktionen
B. Timer
6. VOR DER ERSTEN INBETRIEBNAHME

WARNING!
Siehe Kapitel
Sicherheitshinweise.
6.1 Vor der ersten Inbetriebnahme
Der Backofen kann während des Aufheizens Geruch und Rauch verträmen. Stellen Sie sicher, dass der Raum beluftet ist.

Schritt 1

Schritt 2

Schritt 3
| Stellen Sie die Uhrzeit ein | Reinigen Sie den Backofen | Heizen Sie den leeren Backofen vor | |
| 1. | -, zum Einstellen der Zeit drücken. Nach etwa 5 Sek. hört die Anzeige auf zu blinken und das Display zeigt die Zeit an. | 1. Entfernen Sie alle Zubehörteile und die hereausnehmaren Ein-hängegitter aus dem Backofen.2. Feuchten Sie ein weiches Tuch mit warmem Wasser und etwas mildem Reinigungsmittel an, und reinigen Sie damit den Backofen und das Zubehör. | 1. Stellen Sie die Höchsttempera-tur für folgende Funktion ein:Zeit: 1 Std.2. Stellen Sie die Höchsttempera-tur für folgende Funktion ein:Zeit: 15 min. |
7. TÄGLICHER GEBRAUCH

WARNING!
Siehe Kapitel
Sicherheitshinweise.
7.1 Einstellung: Ofenfunktion
Schritt 1 Drehen Sie den Backofen-Einstellknopf auf eine Ofenkunft.
Schritt 2 Drehen Sie den Wahlknopf, um die Temperatur auszuwahlen.
Schritt 3 Drehen Sie nach Beendigung des Garvorgangs die Knöfe in die Aus-Position, um den Backofen auszuschalten.
7.2 Ofenfunktionen
Ofenfunkti- Gerat
on

Stellung Aus

Umluft
Der Backofen ist ausgeschaltet.
Zum Braten oder zum Braten und Backen von Speisen mit derselben Kochtemperatur auf mehreren Ebenen gleichzeitig, ohne dass es zu einer Aromaübertragung kommt.

Feuchte Umluft
These Funktion ist entwickelt worden, um während des Kochvorgangs Energie zu sparen. Wenn Sie diese Funktion nutzen, kann die Temperatur im Garraum von der eingestalten Temperatur abweichen. Die Wärmeleistung kann geringer sein. Weitere Informationen zu folgenden Themen finden Sie im Kapitel „Täglicher Gebrauch": Feuchte Umluft.
Ofenfunktion
Gerät

Ober-/Unterhitze / Aqua Reinigung
Zum Backen und Braten von Speisen auf einer Einschubebene. Weitere Informationen zu folgenden Themen finden Sie im Kapitel „Pflge und Reinigung": Aqua-Reinigung.

Grillstufe 2
Zum Grillen dūnner Lebensmittel in größeren Mengen und zum Toasten von Brot.

Pizzastufe
Zum Backen von Pizza. Für ein intensives Überbacken und einen knusprigen Boden.
7.3 Hinweise zu: Feuchte Umluft
These Funktion wurden zur Bestimmung der Energieeffizienzklasse und den Anforderungen an die umweltgerechte Gestaltung EU 65/2014 und EU 66/2014 verwendet. Tests nach EN 60350-1.
Die Backofentür sollte während des Garvorgangs geschlossen bleiben, damit die Funktion nicht unterbrochen wird. So wird gewährleistet, dass der Backofen mit der hochsten Energieeffizienz arbeitet.
Naheres zum Garen finden Sie im Kapitel "Tipps und Hinweise", Feuchte Umluft.
Allgemeine Empfehlungen zum Energiesparen finden Sie im Kapitel "Energieeffizienz", Energiesparen.
8. UHRFUNKTIONEN
8.1 Uhrfunktionen
| Uhrfunktion | Anwendung |
| Uhrzeit | Zum Einstellen, Ändern oder Abfragen der Uhrzeit. |
| Dauer | Einstellen der Einschaltdauer für den Backofen. |
| Kurzzeit-Wecker | Zum Einstellen eines Countdowns. Diese Funktion wirkt sich nicht auf den Betrieb des Backofens aus. Sie können diese Funktion jederzeit und auch bei ausgeschalteten Backofen einstellen. |
8.2 Einstellung: Uhrfunktionen
Einstellung: Uhrzeit
① blinkt, wenn Sie den Backofen an die Stromversorgung anschließen, nach einem Stromausfall und wenn der Timer nicht eingestellt ist.
+—zumEinstellen derZeitdrucken.
Nach etwa 5 Sek. hört die Anzeige auf zu blinken, und das Display zeigt die Zeit an.
Änderung: Uhrzeit
Schritt 1 - wiederholt drücken, um die Tageszeit zu ändern. - beginnt zu blinken.
Schritt 2 +, - zum Einstellen der Zeit drücken. Nach etwa 5 Sek. hört die Anzeige auf zu blinken, und das Display zeigt die Zeit an.
Einstellung: Dauer
| Schnitt 1 | Stellen Sie eine Ofenfunktion und die Temperatur ein. |
| Schnitt 2 | ①- wiederholt drücken. |→|- beginnnt zu blinken. |
| Schnitt 3 | +, -, zum Einstellen der Dauer drücken. Im Display wird Folgendes angezeigt: |→|. |→|- blinkt, wenn die eingestellte Zeit abgelaufen ist. Der Signalton ertönt, und der Backofen wird ausgeschaltet. |
| Schnitt 4 | Drücken Sie eine beliebige Taste, um das Signal abzustellen. |
| Schnitt 5 | Drehen Sie den Knopf in die Aus-Position. |
Einstellung: Kurzzeit-Wecker
Schritt 1

wiederholt drucken. - beginnt zu blinken.
Schritt 2

- zum Einstellen der Zeit drücken.
Die Funktion startet automatisch nach 5 Sekunden.
Nach Ablauf der eingestellten Zeit ertont der Signal
Schritt 3
Drucken Sie eine beliebige Taste, um das Signal abzustellen.
Schritt 4
Drehen Sie den Knopf in die Aus-Position.
Abbrechen: Uhrfunktionen
Schritt 1

wiederholt drücken, bis das Symbol der Uhrfungtion zu blinken anfängt.
Schritt 2
Drucken und halten
Die Uhrfunktion wird nach einigen Sekunden ausgeschelt.
9. VERWENDUNG DES ZUBEHÖRS

WARNING!
Siehe Kapitel
Sicherheitshinweise.
9.1 Einsetzen des Zubehörs
Die petite Einkerbung auf der Oberseite erhöht die Sicherheit. Die Vertiefungen sind
auch Kippsicherungen. Durch den umlaufend erhöhten Rand des Rosts ist das Kochgeschirr gegen Abrutschen vom Rost gesichert.
Kombirost:
Schieben Sie den Rost zwischen die Führungs-schienen der Einhängegitter mit den Fuß nach unten zeigend.

Backblech/Auflaufpfanne:
Schieben Sie das Backblech zwischen die Führungsstäbe der Einhängegitter.

Kombirost, Backblech / Auflaufpfanne:
Schieben Sie das Backblech zwischen die Führungsstäbe der Einhangegitter und dem Kombirost auf die Führungsstäbe darüber.

10. ZUSATZFUNKTIONEN
10.1 Kuhlgeblase
Wenn der Backofen in Betrieb ist, wird das Kuhlgeblase automatisch eingeschaltet, um die Ofenoberflächen zu kühlen. Wenn Sie den Backofen ausschalten kann das Kuhlgeblase weiter laufen, bis der Ofen abgekühlt ist.
10.2 Sicherheitsthermostat
Ein unsachgemäßer Gebrauch des Ofens oder defekte Bestandteile können zu einer
geführlichen Überhitzung führen. Um dies zu verhindern, ist der Backofen mit einem Sicherheitsthermostat ausgestattet, der die Stromzufuhr unterbrechen kann. Die Wiedereinschaltung des Backofens erfolgt automatisch bei Temperaturabfall.
11. TIPPS UND HINWEISE

Siehe Kapitel
Sicherheitshinweise.
11.1 Garempfehlungen
Der Backofen hat fünf Einschubebenen.
Die Ebenen werden vom Boden des Backofens aus gezahlt.
Ihr Ofen backt oder brät möglicherweise anders als der Ofen, den Sie zuvor hatten.
Kuchen backen
Öffnen Sie die Backofentür nicht, bevor 3/4 der eingeselten Garzeit abgelaufen ist.
Wenn Sie zwei Backbleche gleichzeitig verwenden, lessen Sie eine Zwischenebene frei.
Garen von Fleisch und Fisch
Verwenden Sie für sehr fetthaltige Speisen eine tiefe Pfanne, um den Ofen vor Flecken zu schützen, die dauerhaft sein konnen.
Lassen Sie das Fleisch vor dem Tranchierenca. 15 Minuten ruhen, damit der Bratensaft nicht austritt.
Um während des Bratens zu viel Rauch im Ofen zu vermeiden, etwas Wasser in die tiefe Pflanne geben. Um die Rauchkondensation zu verhindern, fugen Sie jedem Mal nach dem Austrocknen Wasser hinzu.
Garzeitdauer
Die Kochzeiten hangen von Lebensmittelart, ihrer Konsistenz und ihrem Volumen ab.
Überwachen Sie zunachst die Leistung, wenn Sie kochen. Finden Sie die besten Einstellungen (Heizeinstellung, Garzeit usw.) für Ihr Kochgeschirr, Rezepte und Mengen, wenn Sie these Gerät verwenden.
11.2 Feuchte Umluft - Empfohlenes Zubehör
Verwenden Sie die dunklen und nicht reflektierenden Formen und Behälter. Sie haben eine bessere Wärmeabsorption als helle Farbe und reflektierende Schüsseln.
| Pizzapfanne | Backform | Förmchen | Tortenbodenform |
| Dunkel, nicht reflektierend 28 cm Durchmesser | Dunkel, nicht reflektierend 26 cm Durchmesser | Keramikform 8 cm Durchmesser, 5 cm Höhe | Dunkel, nicht reflektierend 28 cm Durchmesser |
11.3 Feuchte Umluft
Beachten Sie für Beste Ergebnisse die unter in der Tabelle aufgeführten Empfehlungen.
| Brötchen, süber, 12 Stück | Backblech oder tiefas Blech | 175 | 3 | 40 - 50 |
| Brötchen, 9 Stück | Backblech oder tiefas Blech | 180 | 2 | 35 - 45 |
| Pizza, gefroren, 0,35 kg | Kombirost | 180 | 2 | 45 - 55 |
| Biskuitrolle | Backblech oder tiefas Blech | 170 | 2 | 30 - 40 |
| Brownie | Backblech oder tiefas Blech | 170 | 2 | 45 - 50 |
| Soufflé, 6 Stück | Keramikförmchen auf Kombi- rost | 190 | 3 | 45 - 55 |
| Biskuitboden | Biskuitform auf Kombirost | 180 | 2 | 35 - 45 |
| Englisher Sandwich-kuchen à la Victoria | Backform auf Kombirost | 170 | 2 | 35 - 50 |
| Fisch, pouchiert, 0,3 kg | Backblech oder tiefas Blech | 180 | 2 | 35 - 45 |
| Fisch, 0,2 kg | Backblech oder tiefas Blech | 180 | 3 | 25 - 35 |
| Fischfilet, 0,3 kg | Pizzapfanne auf Kombirost | 170 | 3 | 30 - 40 |
| Fleisch, pouchiert, 0,25 kg | Backblech oder tiefas Blech | 180 | 3 | 35 - 45 |
| Schaschlik, 0,5 kg | Backblech oder tiefas Blech | 180 | 3 | 40 - 50 |
| Platzchen, 16 Stück | Backblech oder tiefas Blech | 150 | 2 | 30 - 45 |
| Makronen, 20 Stück | Backblech oder tiefas Blech | 180 | 2 | 45 - 55 |
| Muffins, 12 Stück | Backblech oder tiefas Blech | 170 | 2 | 30 - 40 |
| Klingebäck, pikant, 16 Stück | Backblech oder tiefas Blech | 170 | 2 | 35 - 45 |
| Mürbeteigplätzchen, 20 Stück | Backblech oder tiefas Blech | 150 | 2 | 40 - 50 |
| Törtchen, 8 Stück | Backblech oder tiefas Blech | 170 | 2 | 30 - 40 |
| Gemüse, pouchiert, 0,4 kg | Backblech oder tiefas Blech | 180 | 2 | 35 - 45 |
| Vegetarisches Omelett | Pizzapfanne auf Kombirost | 180 | 3 | 35 - 45 |
| Mediterranes Gemüse, 0,7 kg | Backblech oder tiefas Blech | 180 | 4 | 35 - 45 |
11.4 Informationen für Prüfinsitute
Tests gemäß IEC 60350-1.
| Törtchen, 20 pro Blech | Ober-/Unter-hitze | Backblech | 3 | 170 | 20 - 30 | - |
| Törtchen, 20 pro Blech | Umluft | Backblech | 3 | 150 - 160 | 20 - 35 | - |
| Törtchen, 20 pro Blech | Umluft | Backblech | 2 und 4 | 150 - 160 | 20 - 35 | - |
| (℃) | (Min.) | |||||
| Apfelku-chen, 2 Formen à Ø 20 cm | Ober-/Unter- hitze | Kombirost | 2 | 180 | 70 - 90 | - |
| Apfelku-chen, 2 Formen à Ø 20 cm | Umluft | Kombirost | 2 | 160 | 70 - 90 | - |
| Biskuit, Ku- chenform Ø 26 cm | Ober-/Unter- hitze | Kombirost | 2 | 170 | 40 - 50 | Backofen 10 Minuten vorheizen. |
| Biskuit, Ku- chenform Ø 26 cm | Umluft | Kombirost | 2 | 160 | 40 - 50 | Backofen 10 Minuten vorheizen. |
| Biskuit, Ku- chenform Ø 26 cm | Umluft | Kombirost | 2 und 4 | 160 | 40 - 60 | Backofen 10 Minuten vorheizen. |
| Mürbeteig- gebäck | Umluft | Backblech | 3 | 140 - 150 | 20 - 40 | - |
| Mürbeteig- gebäck | Umluft | Backblech | 2 und 4 | 140 - 150 | 25 - 45 | - |
| Mürbeteig- gebäck | Ober-/Unter- hitze | Backblech | 3 | 140 - 150 | 25 - 45 | - |
| Toast, 4 - 6 Stück | Grill | Kombirost | 4 | Max. | 2 - 3 Minuten auf der ers- ten Seite, 2 - 3 Minuten auf der zwei- ten Seite | Backofen 3 Minuten vorheizen. |
| Hamburger aus Rind- fleisch, 6 Stück, 0,6 kg | Grill | Kombirost und Fettpfan- ne | 4 | Max. | 20 - 30 | Kombirost in die vierte und Fettpfanne in die dritte Einschubebene des Backofens ein- schieben. Wenden Sie das Gericht nach der Häfte der Gardauer. Backofen 3 Minuten vorheizen. |
12. REINIGUNG UND PFLEGGE

WARNING!
Siehe Kapitel
Sicherheitshinweise.
12.1 Hinweise zur Reinigung
| Reinigungsmittel | Feuchten Sie ein weiches Tuch mit warmem Wasser und etwas mildem Reinigungsmittel an, und reinigen Sie damit die Vorderseite des Backofens. Reinigen und überprüften Sie die Türdichtung um den Garraumrahmen. |
| Reinigen Sie die Metalloberflächen mit einer Reinigungslösung. | |
| Reinigen Sie Flecken mit einem milden Reinigungsmittel. | |
| Täglicher Gebrauch | Reinigen Sie den Garraum nach jedem Gebrauch. Fettansammlungen oder andere Speise-reste können einen Brand verursachen. |
| Es kann sich Feuchtigkeit im Ofen oder an den Glasscheiben der Tür niederschlagen. Um die Kondensation zu reduzieren, schalten Sie den Backofen immer 10 Minuten vor dem Ga-ren ein. Lassen Sie die Speisen nicht länger als 20 Minuten im Backofen stehen. Trocknen Sie den Garraum nach jedem Gebrauch mit einem weichen Tuch ab. | |
| Zubehör | Reinigen Sie alle Zubehrönteile nach jedem Gebrauch und setzen Sie sie trocknen. Feuchten Sie ein weiches Tuch mit warmem Wasser und einem milden Reinigungsmittel an. Reinigen Sie die Zubehrönteile nicht im Geschirrspürler. |
| Reinigen Sie das Zubehör mit Antihaftbeschichtung nicht mit Scheuermitteln oder scharfkan-tigen Gegenständen. |
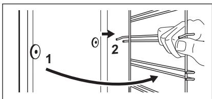
12.2 Entfernen: Einhängegitter
Entfernen Sie Einhängegitter zur Reinigung des Backofens.
| Schritt 1 | Schalten Sie den Backofen aus und warten Sie, bis er abgekühlt ist. |
| Schritt 2 | Ziehen Sie das Einhängegitter vorne von der Seitenwand weg. |
| Schritt 3 | Ziehen Sie das Einhängegitter halten von der Seitenwand weg und nehmen Sie es Heraus. |
| Schritt 4 | Setzen Sie die Einhängegitter in um- gekehrter Reihenfolge ein. |
12.3 Benutzung: Aqua Reinigung
Bei dieser Reinigungsfunktion werden mithilfe von Feuchtigkeit Fett- und Speisereste aus dem Backofen entfernt.


Schritt 1 Füllen Sie Wasser in die Garraumver-tiefung: 300ml
| Schnitt 2 | Stellen Sie folgende Funktion ein: ☐. |
| Schnitt 3 | Stellen Sie die Temperatur auf 90 °C ein. |
| Schnitt 4 | Lassen Sie den Backofen 30 Min. lang eingeschaltet. |
| Schritt 5 | Schalten Sie den Backofen aus. |
| Schritt 6 | Warten Sie, bis der Backofen kalt ist. Trocknen Sie den Garraum mit einem weichen Tuch ab. |
12.4 Aus- und Einbau: Tür
Die Backofentür hat zwei Glasscheiben. Sie können die Backofentür und die interne Glasscheibe entfern, um sie zu reinigen. Lesen Sie die gesamte Anleitung „Aus- und Einbau den Tur“, bevor Sie die Glasscheiben entfern.

VORSICHT!
Verwenden Sie den Backofen nicht ohne die Glasscheiben.
Schritt 1 Offnen Sie die Backofentur vollständig und halten Sie beide Scharniere fest.

Schritt 2 Heben und ziehen Sie die Verriegelungen an, bis sie einrasten.

Schritt 3 SchlieBen Sie die Backofentur halb bis zur ersten Öffnungssstellung. AnschlieBend heben und ziehen Sie die Tur aus der Aufnahme hersaus.
Schritt 4 Legen Sie die Turl auf einer stabilen Oberflache auf ein weiches Tuch.

| Schritt 5 | Fassen Sie die Türabdeckung (B) an der Obergkante der Tür an beiden Seiten an. Dru-cken Sie sie nachinnen, um den Klippver-schluss zu losen. | 2 1 B |
| Schritt 6 | Ziehen Sie die Türabdeckung nach vorn, um sie abzunehmen. | |
| Schritt 7 | Halten Sie die Obergkante der Türglasscheibe fest undziehen Sie vorsichtig Heraus. Achten Sie daraufuf, dass die Glasscheiben vollständig aus den Halterungen gezogen werden. | |
| Schritt 8 | Reinigen Sie die Glasscheiben mit Wasser und Spülmittel. Trocknen Sie die Glasscheiben sorgfäl-tig. Reinigen Sie die Glasscheiben nicht im Geschirrspüler. | |
| Schritt 9 | Setzen Sie nach der Reinigung die Glasscheibe und die Backofentür ein | |
| Wenn die Tür korrekt installiert ist, horen Sie beim Schließen der Verriegelungen ein Klicken. | ||
| Die bedruckte Zone muss der Innenseite der Tür zu-gewandt sein. Vergewissern Sie sich nach der Monta-ge, dass sich der Glasscheibenrehmen an den be-druckten Zonen nicht rau anfuhl. Bei korrektem Einbau macht die Türabdeckung ein Klickgeräusch. Stellen Sie sicher, dass Sie die interne Glasplatte kor-rekt in der Aufnahme installieren. | ||
12.5 Austausch: Lampe

WARNING!
Stromschlaggefahr.
Die Lampe kann hei sein.
Halten Sie die Halogenlampe stets mit einem Tuch, um zu verhindern, dass Fettrückstände auf der Lampe einbrennen.
Bevor Sie die Lampe austauschen:
| Schritt 1 | Schritt 2 | Schritt 3 |
| Schalten Sie den Backofen aus. Warten Sie, bis der Ofen kalt ist. | Trennen Sie den Ofen von der Netz- versorgung. | Breiten Sie ein Tuch auf dem Gar- raumboden aus. |
Hintere Lampe
Schritt 1 Drehen Sie die Glasabdeckung und nehmen Sie sie ab.
Schritt 2 Reinigen Sie die Glasabdeckung.
Schritt 3 Ersetzen Sie die Lampe durch eine geeignete, bis 300^ hitzebestandige Lampe.
Schnitt 4 Bringen Sie die Glasabdeckung an.
13. FEHLERSUCHE

WARNING!
Siehe Kapitel
Sicherheitshinweise.
13.1 Was zu tun ist, wenn ...
In allen Fällen, die nicht in dieser Tabelle aufgeführst sind, wenden Sie sichitte an einen autorisierten Kundendienst.
Störung
Prüfen Sie, ob Fol-gendes zutriftt ...
Der Backofen heizt nicht auf.
Die Sicherung ist durchgebrannt.
| Störung | Prüfen Sie, ob Fol-gendes zutriff ... |
| Die Türdichtung ist be-schädigt. | Benutzen Sie den Ofen nicht. Wenden Sie sich an einen autorisierten Kundendienst. |
| Im Display wird „12.00" angezeigt. | Es gab einen Stromaus-fall. Stellen Sie die Uhr-zeit ein. |
| Die Lampe Funktioniert nicht. | Die Lampe ist durchge-brannt. |
13.2 Servicedaten
Wenn Sie das Problem nicht selbst lösen können, wenden Sie sich an ihren Handlcr oder einen autorisierten Kundendienst.
Die vom Kundendienst bestehtigten Daten finden Sie auf dem Typenschild. Das Typenschild befindet sich auf dem vorderen Rahmen des Garraums. Entfernen Sie das Typenschild nicht vom Garraum.
Wir empfehlen Ihnen, die Daten hier zu notieren:
Modell (MOD.):
Produknummer (PNC)
Seriennummer (S.N.)
14. ENERGIEEFFIZIENZ
14.1 Produktinformationen und Produktinformationsblatt*
Name des Lieferanten
Electrolux
Modellbezeichnung
EOH3H00X 949496285
| Energieeffizienzindex | 95.3 |
| Energieeffizienzklasse | A |
| Energieverbrauch mit einer Standardbeladung, konventioneller Modus | 0.93 kWh/Programm |
| Energieverbrauch mit einer Standardbeladung, Umluft-Modus | 0.81 kWh/Programm |
| Anzahl der Garräume | 1 |
| Wärmequelle | Strom |
| Volumen | 72 l |
| Art des Backofens | Eingebauter Backofen |
| Masse | 27.6 kg |
- Für die Europäische Union gemäß EU-Richtlinien 65/2014 und 66/2014.
Für die Republik Weisrussland gemäß STB 2478-2017, Anhang G; STB 2477-2017, Anlagen A und B
Für die Ukraine gemäß 568/32020.
Die Energieeffizienzklasse gilt nicht für Russland.
EN 60350-1 - Elektrische Kochgeräte für den Hausgebrauch - Teil 1: Stufen, Backöfen, Dampföfen und Grills - Methoden zur Leistungsmessung.
14.2 Energiesparen

Der Backofen verfügbar über Funktionen, mit denen Hilfe Sie beim tätiglichen Kochen Energie sparen können.
Achten Sie daraufuf, dass die Backofentür während des Ofenbetriebs geschlossen ist. Die Backofentürarfährend des Garvorgangs nicht zu oft geöffnet werden. Halten Sie die Turdichtung sauber und stellen Sie safer, dass sie sich fest in der richtigen Position befindet.
Verwenden Sie Kochgeschirr aus Metall, um mehr Energie zu sparen.
Heizen Sie, wenn möglich, den Backofen nicht vor.
Wenn Sie mehrere Speisen gleichzeitig zubereiten, halten Sie die Unterbrechungen beim Backen so kurz wie möglich.
Garen mit HeiBluft
Nutzen Sie, wenn möglich, die Garfunktionen mit HeiBluft, um Energie zu sparen.
Restwärme
Betragt die Garzeit mehr als 30 Minuten, reduzieren Sie die Ofentemperatur 3 - 10 Min. vor Ablauf des Garvorgangs. Die Restwärme im Backofen wird weiterhin garen.
Nutzen Sie die Restwärme, um andere Speisen aufzuwärmen.
Warmhalten von Speisen
Wahlen Sie die niedrigste Temperatureinstellung, wenn Sie die Restwärme zum Warmhalten von Speisen nutzen möchten.
Feuchte Umluft
These Funktion soll während des Garvorgangs Energie sparen.
15. UMWELTITIPPS
Recycleln Sie Materialien mit dem Symbol Entsorgen Sie die Verpackung in den
entspruchenden Recyclingbehältern.
Recycleln Sie zum Umwelt- und Gesundheitsschutz elektrische und
Notice-Facile