VEROX - Poêle à bois WANDERS - Notice d'utilisation et mode d'emploi gratuit
Retrouvez gratuitement la notice de l'appareil VEROX WANDERS au format PDF.
| Type d'appareil | Poêle à bois |
| Puissance nominale | Non précisé |
| Rendement | Non précisé |
| Dimensions (L x H x P) | Non précisé |
| Poids | Non précisé |
| Matériau | Acier et fonte |
| Type de porte | Vitree |
| Type de combustion | Combustion propre |
| Sortie de fumée | Verticale |
| Diamètre sortie de fumée | Non précisé |
| Capacité de chauffage | Non précisé |
| Type de chargement | Chargement frontal |
| Normes | Non précisé |
| Installation | Murale ou au sol |
| Garantie | Non précisé |
| Accessoires compatibles | Non précisé |
FOIRE AUX QUESTIONS - VEROX WANDERS
Téléchargez la notice de votre Poêle à bois au format PDF gratuitement ! Retrouvez votre notice VEROX - WANDERS et reprennez votre appareil électronique en main. Sur cette page sont publiés tous les documents nécessaires à l'utilisation de votre appareil VEROX de la marque WANDERS.
MODE D'EMPLOI VEROX WANDERS
Véro / Véro 33 / Vérox

NL Handleiding en installmentevoorschriften Vero /Vero 33/Verox 2 GB Users guide and installation manual for the Véro / Véro 33 / Vérox 14 FR Mode d'emploi et instructions d'installation le Véro / Véro 33 / Vérox 27 D Gebrauchsanweisung und Montage Vorschriften Vero /Vero 33/Verox 40
Geachte klant,
| Schoorsteenhoogte buitendaks op een horizontale afstand A vanaf de nok | |||||||||
| Dak helling X | horizontal | ||||||||
| In denok | 0,5 m | 0,75 m | 1 m | 1,25 m | 1,5 m | 2 m | 3 m | 4 m | |
| 25° | 0,5 | 0,75 | 0,85 | 1,0 | 1,1 | 1,2 | 1,6 | 2,5 | 3,3 |
| 30° | 0,5 | 0,85 | 1,2 | 1,6 | 2,0 | 2,4 | 3,2 | 4,9 | 6,5 |
| 35° | 0,5 | 1,0 | 1,8 | 2,4 | 3,0 | 3,6 | 4,8 | 7,3 | 10 |
| 40° | 0,5 | 1,2 | 2,4 | 3,2 | 4,0 | 4,8 | 6,4 | 10 | 13 |
| 45° | 0,5 | 1,5 | 3,0 | 4,0 | 5,0 | 6,0 | 8,0 | 12 | 16 |
Véro / Véro 33 / Vérox
Dear Client,
Technical details Véro / Véro 33 / Vérox
Détails techniques
Mode d'emploi et instructions d'installation Véro / Véro 33 / Vérox
Cher client,
Nous vous félicitons pour l'acquisition de votre nouveau poêle à bois de WANDERS.
C'est une source de chaleur confortable qui vous donnera beaucoup de plaisir pendant de longues années.
Par son design unique, il est visible de tous les coins de la pièce.
Ce poêle à bois a été conçu tout spécialement pour répondre aux exigences d'un emploi aisé, de la sécurité et du design.
Votre poêle est développé et produit dans notre usine à Netterden (Pays-Bas) et fait à la main pour une partie importante. La construction est réalisée uniquement avec les meilleurs matériaux, en conformité avec les normes européennes en vigueur. Vous bénéficierez ainsi de la garantie d'une longue durée de vie pour ce poêle.
La première partie de ce mode d'emploi est consacrée aux conseils pour une utilisation correcte de votre poêle à bois en toute sécurité. La deuxième partie comporte les instructions d'installation et les caractéristiques techniques destinées notamment à l'installateur.
Nous vous recommandons de lire ce manuel attentivement avant la mise en service de votre poêle à bois et de bien le conserver. Notre installateur en aura besoin pour l'entretien annuel de votre poêle.
Nous espérons que vous profiterez beaucoup de l'ambiance chaleureuse du Véro.
L'Équipe de WANDERS
Table des matières
Votre poêle à bois Véro 30 Installation 30 Allumage du poêle 30 Premier chauffage 31 Combustible : le bois 31 La façon optimale de chauffer le poêle 32 Cheminée et conduit de cheminée 32 Entretien 32 Garantie 33 Instructions d'installation du Véro 34 Dessins techniques 53
Votre poêle à bois Véro
Le Véro 33 avec pierre ollaire
Le Véro vous offre à la fois le confort et efficace.
L'émission de chaleur est très importante, car la surface de la vitre du poêle par laquelle la chaleur se diffuse directement est très grande. Avec votre Véro, vous obtiendrez ainsi le plus de chaleur possible dans votre pièce. Le déflecteur des gaz de fumée intégré sert à récupérer encore de la chaleur complémentaire des gaz de fumée, augmentant encore l'émission de chaleur par le poêle. De plus, à l'aide du tiroir à air intégré, vous pouvez régler vous-même l'arrivée de l'air de combustion et donc un apport plus ou moins grand en oxygène au poêle, qui de ce fait aura une allure plus grande ou plus modérée et donc plus importante ou plus modérée.
Installation
En règle générale, c'est le revendeur de votre Véro qui se charge de l'installation du poêle. Si ce n'est pas le cas, confiez-la à un installateur agréé. C'est lui qui vous conseillera aussi sur le conduit de cheminée auquel votre poêle devra être raccordé. Le raccordement des poêles à bois par une personne non agréée est fortement déconseillé. Dans ce cas, nous ne garantissons pas le bon fonctionnement du Véro.
L'installation devra répondre également aux normes anti-incendie. Voir la page 35.
Allumage du poêle pendant l'entre-saison (début de l'automne ou fin de l'hiver)
Lorsque la température extérieure et celle à l'intérieur de votre maison sont presque identiques, il n'est pas si simple d'obtenir un bon tirage. Ces jours-là, le meilleur tirage s'obtient si vous brûlez du bois en petite quantité tout en laissant tous les orifices d'air ouverts au maximum. C'est que l'amenée importante d'air favorise un réchauffement rapide et cela a un effet stimulant sur le tirage de la cheminée. En utilisant peu de bois, vous éviterez que la fumée ne soit refoulée dans la pièce.
Ce poêle à bois est très utile en chauffage d'appoint et ne sert pas à remplacer, par exemple, votre installation de chauffage central.
Allumage du poêle
Le poêle devient très chaud pendant l'allumage et le chauffage et il a besoin d'au moins deux heures pour refroidir. Évitez de toucher le verre pendant le chauffage et deux heures après sans être protégé par un gant. L'utilisation d'un gant est nécessaire si vous manipulez le poêle, sinon vous risquez d'avoir des brûlures sévères.
Avant d'allumer le poêle, n'oubliez pas d'enlever le dépôt éventuel sur les vitres avec un bout de papier, d'un rouleau d'essuie-tout par exemple. Vous utiliserez ce papier ensuite pour allumer le feu.
Ouvrez la prise d'air de combustion complètement. Ouvrez aussi le tiroir à air complètement avant l'allumage. Ensuite, ouvrez la porte ; introduisez dans le poêle quelques tortillons de papier ou quelques allume-feux et ajoutez là-dessus du petit bois sec. Allumez ces bouts de bois et entrouvrez la porte pendant 3 à 5 minutes en vue d'une arrivée d'air supplémentaire et pour favoriser le tirage initial de la cheminée. Quand les bouts de bois se sont enflammés, vous pouvez rajouter du bois supplémentaire. (Faites en sorte que les bûches ne soient pas trop serrées afin de permettre aux flammes de bien se développer tout autour.)
Fonctionnement du tiroir à air
Le tiroir à air connaît 3 positions :
- Le tiroir est complètement ouvert : les prises d'air primaire et secondaire sont ouvertes.
- Poussez jusqu'au premier déclic : seule la prise d'air secondaire est ouverte. Le poêle a alors son meilleur rendement et le dessivage des vitres est le plus performant.
- Poussez jusqu'au deuxième déclic : toutes les prises d'air sont fermées et le poêle s'éteindra peu à peu.

Attention :
Évitez de toucher la vitre du poêle avec vos doigts. Les empreintes digitales se fixeront sur le verre à cause de la température élevée et ne s'enlèveront plus par la suite.
Il est interdit d'allumer le poêle en utilisant des produits liquides tels que l'essence ou l'alcool à brûler.
Quand le poêle brûle, vous ne pouvez pas utiliser en même temps une hotte aspirante dans la même pièce.
Ne touchez pas les éléments laqués pendant le réchauffement du poêle.
Changement de couleur des parois, plafonds et grilles
Par le chauffage du poêle, l peuvent changer de couleur. Cela est dû à des grains de poussière qui brûlent dans le manteau de convection. Il s'agit d'un processus naturel dont WANDERS ne saurait assumer la responsabilité. Pour réduire au maximum la décoloration, veuillez vous reporter aux consignes généralement données dans le commerce sur les poêles d'ambiance. Votre installateur vous renseignera.
Pendant le premier chauffage du poêle, celui-ci a besoin d'être rodé. Votre poêle est couvert d'une laque thermorésistante qui doit encore être « cuite » à des températures de plus de 400 °C. Cela se fait pendant les premiers chauffages quand les températures peuvent atteindre jusqu'à 600 °C. Au début, cela peut entraîner une odeur désagréable, mais inoffensive. Les 4 à 5 premières fois, il est recommandé de n'introduire que quelques bûches et de faire brûler le poêle pendant au moins 6 heures. Assurez-vous que la ventilation de la pièce soit ajustée. N'utilisez pas une hotte aspirante quand le poêle brûle, car elle aspirerait l'air de combustion dont le poêle aurait besoin.
Pendant le "rodage" du poêle, un dépôt de suie peut se produire sur la vitre de la porte. La suie s'enlève facilement avec un chiffon humide ou éventuellement à
l'aide d'un détergent pour plaques de cuisson céramique quand le poêle s'est refroidi. Ne touchez plus la vitre nettoyée avec vos doigts. Les empreintes digitales se fixeront au verre par la température élevée et ne peuvent plus être enlevées par la suite.
Vous avez un logement neuf ou rénové récemment ?
Il est déconseillé d'allumer un poêle dans un logement qui vient d'être construit ou qui a été rénové récemment. Mieux vaut attendre encore six semaines. En effet, les murs et plafonds contiennent encore des gaz, des solvants et de l'humidité issus du plâtrage et de la peinture. Par les courants d'air chaud, les grains de poussière dans la pièce changent de couleur et se collent contre les murs et plafonds. De plus, les points humides des murs et plafonds, en revenant chauds, forment ainsi des taches jaunâtres.
Combustible : le bois
| Espèce de bois | Durée de séchage | |
| Pin, Peuplier | 1 | an |
| Tilleul, Saule, Sapin, Bouleau, | ||
| Frîne, Aune | 1,5 | an |
| Arbre fruitier, Hêtre | 2 | ans |
| Chône | 2,5 | ans |
Le poêle ne peut brûler que du bois exclusivement. Ne chargez le poêle que de 1 kg de combustible à la fois. Utilisez toujours du bois propre, coupé et bien sec. Consultez le tableau qui précède pour les durées de séchage recommandées. Le bois humide ne brûle pas bien et entraîne un dégagement de fumée excessif. De ce fait, la vitre risque de se noircir par la suite. De plus, des particules de suie peuvent se déposer dans le conduit de cheminée et être à l'origine d'un feu de cheminée.
Feu de cheminée - Que faire ?
Au cas où un feu de cheminée se produit, fermez immédiatement le clapet dans la cheminée et tous les tuyaux d'amenée d'air. Alertez les pompiers. Après l'extinction d'un feu de cheminée, faites contrôler de nouveau la cheminée et le poêle par votre installateur.
Le bois vert et humide a un taux d'humidité d'environ 50 %. Après une année de séchage, le bois de fente contient encore 20 % d'humidité. Après deux années, le taux d'humidité n'est que de 12 à 15 pour cent. Le bois sec produit un beau spectacle des flammes sans fumée ou presque. Le crépitement du feu se fait alors entendre. Le bois humide émet un sifflement et produit beaucoup de fumées et une vue des flammes insignifiante. Cela réduit le confort et le rendement du
chauffage considérablement.
Les bûches contenant de la paraffine ne sont pas admises dans le poêle. Après la fermeture de la porte, la paraffine se sépare des bûches en fondant trop vite en raison de la température élevée. Les gaz de fumée encrassants qu'elles dégagent se déposent directement sur la vitre de la porte ; ils marquent le verre et ne peuvent plus être nettoyés.
Il ne faut pas utiliser de bois peint, imprégné, collé ou traité autrement. Les gaz de fumée sont très nuisibles pour l'environnement et peuvent attaquer votre poêle. Il est également interdit de brûler des matières plastiques et d'autres déchets à cause du dégagement de ces fumées toxiques.
Espèces de bois et entreposage
Toutes les espèces de bois propre, coupé et sec peuvent servir de combustible. Les espèces dures, telles que le chêne, le hêtre et le bouleau, se consument lentement et forment de façon durable des charbons de bois. Les espèces plus tendres, telles que le sapin, le pin et le peuplier, produisent plus de flammes et moins de charbons de bois.
L'entreposage du bois se fait de préférence à un endroit exposé au vent, mais bien à l'abri de la pluie. C'est la manière naturelle de sécher le bois. Empilez les bûches sur une palette usagée ou sur une grille pour qu'elles sèchent aussi par le bas. De cette manière, les bûches les plus basses n'entreront pas en contact avec l'eau.
La façon optimale de chauffer le poêle
Les poêles de WANDERS ont été conçus pour produire un rendement maximal. Un poêle à bois bien chauffé peut avoir un rendement d'environ 75 %. Ainsi, pour obtenir la même chaleur, vous avez besoin d'une quantité de bûches inférieure. De plus, un poêle bien chauffé dégage moins de fumées polluantes. Quelques conseils pour un confort de chauffage optimal :
- Ne chauffez le poêle que si la porte est bien fermée : le rendement du chauffage en sera 8 à 10 fois plus grand. Si la porte est ouverte, la cheminée aspire plus d'air que nécessaire pour une bonne combustion et l'air relativement frais refroidit le feu. Une porte fermée empêche que des étincelles s'échappent du poêle et causent des dégâts, surtout quand il s'agit de bois de résineux.
- Ne rajoutez pas plus de 3 bûches à la fois au feu. Le chargement de beaucoup de combustible en une fois n'est pas favorable à une combustion efficace et constitue une pollution inutile de l'environnement.
- Prévoyez une ventilation adaptée de la pièce.
pendant l'utilisation du poêle. Un feu crépitant a une consommation de 25 mètres cubes d'air par heure au minimum. N'utilisez jamais le poêle et une hotte aspirante dans la pièce en même temps.
- Soyez prudent en cas de brouillard ou de calme plat. Par temps calme, il n'y a presque pas de tirage dans la cheminée froide. Puisque la fumée est plus lourde que l'air, il se pourrait alors que la fumée soit refoulée dans la pièce. Quand il y a du brouillard, la fumée qui sort de la cheminée se refroidit rapidement et descend, ce qui peut causer des nuisances dans votre environnement.
- N'éteignez pas le feu d'un coup à l'aide d'eau, mais laissez le feu s'éteindre. Sinon, les matériaux à l'intérieur du poêle peuvent subir des déformations ou des fissures à cause des grands écarts de température survenant brusquement.
Cheminée et conduit de cheminée
La cheminée est l'objet le plus important de votre poêle à bois.
Une cheminée bien construite empêche que certains problèmes se produisent, tels que la pénétration des fumées dans la pièce, le dépôt de malpropretés sur la vitre ou une mauvaise combustion. Avant l'installation de votre appareil, votre installateur ou un ramoneur agréé devra vérifier si le conduit de la cheminée a un diamètre de 150 millimètres au moins sur toute sa longueur et s'il est propre, lisse et étanche.
Cheminée avec un bon tirage
L'air chaud tend toujours à monter et c'est là le principe du tirage dans la cheminée. Le tirage est encore favorisé lorsque, au niveau de la bouche de cheminée, l'air est aspiré par le vent. L'effet inverse a lieu parfois par un vent descendant qui souffle de nouveau l'air dans la cheminée. De même, le brouillard frais et relativement lourd peut contrarier le bon tirage de votre cheminée, tout comme un long conduit de cheminée dont la paroi est rugueuse et avec de nombreuses courbes. Si le tirage naturel est mauvais, demandez conseil à votre installateur sur l'utilisation éventuelle d'un ventilateur dans votre conduit de cheminée.
Petit entretien
- Il est recommandé de laisser en place une couche de cendres de deux à trois centimètres ; elle servira à protéger la sole.
- Nettoyez l'extérieur du poêle à l'aide d'un chiffon humide non pelucheux. N'utilisez pas de détergents et abrasifs agressifs.
- Le verre (redevenu froid) se nettoie avec un détergent
spécial pour plaques de cuisson en céramique. Évitez de toucher la vitre nettoyée avec vos doigts : les empreintes digitales resteront marquées sur le verre à cause de la température élevée.
- N'oubliez pas d'huiler de temps en temps les charnières et le verrou de porte.
N'utilisez pas de détergents et abrasifs agressifs pour l'entretien de votre poêle.
Mise hors service
- En été, les portes et les tiroirs à air doivent tous être fermés.
- Il faudra mettre du sel absorbant dans le poêle s'il se trouve dans une pièce humide.
Entretien annuel
- Tous les ans, pour la sécurité incendie et en application de l'assurance contre l'incendie, faites ramoner la cheminée par un ramoneur agréé.
- Tous les ans, faites vérifier l'étanchéité du tuyau d'évacuation des gaz de fumée et du tuyau d'amenée de l'air de combustion de la canalisation d'évacuation des gaz de fumée à double paroi.
- r la canalisation entière, y compris la traversée de toit ou de façade et le débouché à l'endroit où il dépasse la façade.
- r le fonctionnement des tiroirs et/ou des clapets.
- Tous les ans, faites vérifier si les joints des portes et des châssis ne sont pas usés.
Sécurité
Un poêle à bois de WANDERS, c'est toujours une source de chaleur confortable et sûre.
Ce qui est primordial pour assurer la sécurité contre l'incendie, ce sont une installation correcte et un tuyau d'évacuation des gaz de fumée fonctionnant correctement. C'est pourquoi votre installateur doit respecter les consignes d'installation comme décrites aux pages 34 et suivantes. Pour un chauffage en toute sécurité, les points suivants sont également importants :
- Chauffez le poêle autant que possible avec la porte fermée. Cela augmente le rendement et respecte davantage l'environnement.
- Tenez les jeunes enfants et les personnes infirmes éloignés d'un poêle qui brûle et ne les laissez pas seuls dans la pièce. Éventuellement, vous pouvez mettre en place un pare-feu.
- Ne versez ou ne mettez pas de liquides ou de matériaux combustibles dans le poêle. Ils risquent d'endommager le poêle irrémédiablement.
- Si le plancher autour du poèle est fait en matière combustible, utilisez une plaque d'assise. La plaque doit avoir les dimensions minimales de:
- : 50 cm depuis le poêle
- : 30 cm depuis le poêle
- Évitez la présence de matières combustibles, par exemple des rideaux ou des objets en bois (armoires, tableaux), tout près du poê ètres depuis l'extérieur du poêle et du conduit de cheminée.
- Ne recouvrez jamais le manteau de cheminée avec des matières combustibles (telles que des papiers peints).
- Respectez les points énumérés au chapitre « La façon optimale de chauffer le poêle » à la page 32.
- Le poêle à bois ne doit être réparé que par un installateur agréé en utilisant des pièces d'origine.
Garantie
Votre poêle à bois de WANDERS Metaalproducten B. V. à Netterden bénéficie d'une garantie de 5 ans à partir de la date d'achat, à condition que le poêle ait été installé et utilisé conformément aux instructions données dans ce mode d'emploi. La garantie couvre tous les défauts qui résulteraient des vices de matière et de construction. Dans ces cas, vous recevrez des pièces nouvelles gratuitement. Les frais de main-d'œuvre et les autres frais n'entrent pas dans le champ de la garantie. Les pièces défectueuses peuvent être expédiées franco à WANDERS Metaalproducten B. V., Amtweg 4, 7077 AL Netterden, Pays-Bas.
Avant de procéder à la pose de l'appareil, vous devrez vérifier si le poêle ne présente pas de dommages visibles. Dans ce cas, il ne faut pas accepter l'appareil et prendre contact avec votre fournisseur.
La garantie ne couvre pas la vitre et ne s'applique pas aux dérangements provenant d'une mauvaise utilisation, d'un manque de respect de la réglementation nationale et des instructions d'installation et d'emploi fournies avec l'appareil, d'une installation effectuée par un installateur ou revendeur non agréé par WANDERS, d'un défaut d'entretien et en cas où le poêle serait passé en d'autres mains. La garantie ne s'applique pas non plus si un combustible non approprié a été utilisé.
La garantie a une durée de 1 an pour les éléments suivants : toutes les pièces en fonte ou vermiculite, les éléments électriques, le couvercle de thermostat et la laque.
WANDERS n'est pas responsable des éventuelles fissures au plâtrage de parement et des décolorations des parois, plafonds et/ou grilles après le chauffage du poêle. Les décolorations peuvent être causées par la combustion des grains de poussière dans le manteau de convection. Pour réduire au maximum les fissures au


plâtrage et les décolorations éventuelles, veuillez vous reporter aux consignes généralement données dans le commerce sur les poêles d'ambiance. Votre installateur vous renseignera.
Les plaintes sont examinées après qu'elles ont été représentées par l'établissement de vente ou par l'installateur, accompagnées d'une copie de la facture d'achat indiquant la date d'achat.
Les réparations ne donnent pas droit à une prolongation de la durée de garantie. Les dommages consécutifs sont exclus.
Instructions d'installation du Véro
| Consignes générales | 34 |
| Préparation | 35 |
| Installation | 36 |
| Réparations | 37 |
| Données techniques Véro / Véro 33 / Vérox | 38 |
Consignes générales
Le Véro satisfait à la norme internationale EN 13240 et à une norme plus spécifique relative au meilleur respect de l'environnement lors du chauffage en ce qui concerne les gaz de fumée.
Le poêle peut être raccordé à un conduit de fumée auquel sont raccordés plusieurs poêles. Le tuyau d'évacuation des gaz de fumée a un diamètre de 150 millimètres.
Votre poêle à bois doit être monté et raccordé uniquement par un installateur agréé et selon les instructions d'installation suivantes. De plus, les législations et réglementations nationales et locales relatives au montage et à l'utilisation de poêles à bois devront être respectées.
WANDERS n'est soumise à aucune garantie si le Véro a été raccordé et/ou installé de manière incomplète ou inappropriée.
Il est interdit d'installer votre poêle.
- Dans les galeries ou couloirs accessibles au public.
- Dans les cages d'escalier, sauf dans les immeubles ne comportant pas plus de deux logements.
- Dans les locaux servant à la manutention de matières facilement inflammables ou explosives.
- Dans les locaux où se trouve une hotte aspirante en marche ou qui sont équipés d'un système de tirage mécanique, sauf dans le cas où l'arrivée de l'air provient directement de l'extérieur, ce qui assure une combustion sans danger.
versant supérieur à 23°
versant inférieur à 23°
| Hauteur cheminée hors toit à une distance horizontalé A du faîte | |||||||||
| Versant X | distance horizontalé A à partir de la faîte en mètres | ||||||||
| Dans la faîte | 0,5 m | 0,75 m | 1 m | 1,25 m | 1,5 m | 2 m | 3 m | 4 m | |
| \( 25^o \) | 0,5 | 0,75 | 0,85 | 1,0 | 1,1 | 1,2 | 1,6 | 2,5 | 3,3 |
| \( 30^o \) | 0,5 | 0,85 | 1,2 | 1,6 | 2,0 | 2,4 | 3,2 | 4,9 | 6,5 |
| \( 35^o \) | 0,5 | 1,0 | 1,8 | 2,4 | 3,0 | 3,6 | 4,8 | 7,3 | 10 |
| \( 40^o \) | 0,5 | 1,2 | 2,4 | 3,2 | 4,0 | 4,8 | 6,4 | 10 | 13 |
| \( 45^o \) | 0,5 | 1,5 | 3,0 | 4,0 | 5,0 | 6,0 | 8,0 | 12 | 16 |
Préparation
Le conduit de cheminée
Avant de procéder au montage du poêle, vérifiez les points suivants :
- Si le poêle est raccordé à un conduit de cheminée existant, celui-ci doit d'abord être nettoyé et contrôlé par une entreprise de ramonage agréée. Les éventuels clapets de fermeture doivent être enlevés.
- Le tuyau d'évacuation des gaz de fumée du poêle doit être raccordé sans déviation au conduit de cheminée.
- La dépression dans le être de 12 Pa ou 0,12 mbar au minimum.
- La bouche du se trouver dans la zone d'embouchure 1. Voir les figures et le tableau.
- Avant de faire l'installation, vérifiez si le conduit de cheminée est propre, étanche et sans obstacle. Le diamètre prescrit est de 150 mm.
- Les courbes dans le conduit de cheminée ne peuvent être supérieures à 45 degrés.
- Vérifiez que le conduit a la capacité d'évacuer les gaz de fumée de manière suffisante, adaptée et en toute sécurité.
- Les valeurs à retenir pour le calcul du conduit de cheminée se trouvent dans les données techniques à la page 35.
Sécurité anti-incendie
En vue de la sécurité anti-incendie, il est important de respecter les prescriptions suivantes avant l'installation du poêle.
- Si le plancher autour du poêle est fait en matière combustible, utilisez une plaque d'assise. La plaque doit avoir les dimensions minimales de :
- sur le devant de la porte : 50 cm depuis le poêle
- À chaque côté de la porte : 30 cm depuis le poêle.
- Respectez un écartement de 80 centimètres au minimum entre le poêle et les objets combustibles, tels que les rideaux, les objets en bois (armoires et tableaux) et les objets en verre. Maintenez une même distance par rapport au conduit de cheminée.
- Les éléments de construction en bois se trouvant dans le rayon de la chaleur (80 centimètres à partir de l'extérieur du poêle) doivent être habillé
- Si le tuyau d'évacuation des gaz de fumée traverse un plafond et/ou un toit faits en matières combustibles, les entourages (environ 80 centimètres) du point de passage doivent être recouvert Les solivages et les lignes électriques éventuelles doivent aussi être protégés.
- Entre le poêle et les éléments de la charpente en acier, il doit y avoir une distance de 50 centimètres au moins.
- Protégez toutes les matières combustibles se trouvant dans un rayon de 80 centimètres à partir des ouvertures du poêle. Cela sans appliquer .
- N'habillez jamais le manteau de cheminée (telles que les papiers peints).
- Le mur derrière le poêle doit être composé de matières résistantes au feu ou être isolé par de telles matières. Les matières isolantes devront pouvoir résister à une température de 100 °C et avoir une densité de 80 kg/m³. Consultez le tableau des matériaux d'isolement à la page 39.
- Faites en sorte que la position du poêle empêche la chaleur de pénétrer dans le mur. Une émission de chaleur traversant un mur qui n'est pas protégé peut même entraîner un feu de l'autre côté du mur. Évitez ce risque.
Installation
Le poêle Véro satisfait à la norme internationale EN 13240 et à une norme plus spécifique relative au meilleur respect de l'environnement lors du chauffage en ce qui concerne les gaz de fumée (art. 15a B-Vg. Des BmfWA). Le poêle peut être raccordé à un conduit de fumée auquel sont raccordés plusieurs poêles. Le tuyau d'évacuation des gaz de fumée a un diamètre de 150 millimètres.
Amenée d'air de combustion
Le poêle a besoin d'un air de combustion suffisant et frais. Aménagez si nécessaire une prise d'air supplémentaire dont l'endroit doit être choisi aussi près du poêle que possible pour éviter les courants d'air. Une prise d'air supplémentaire est absolument imposée si :
- La piè e récupération de chaleur.
- La piè 'extraction central.
- Une hotte aspirante est installée dans la même pièce.
Une prise d'air qui traverse un mur résistant au feu doit pouvoir être fermée. S'il y a plusieurs appareils de combustion dans une pièce, il faudra prévoir des prises d'air en nombre suffisant pour que la combustion se fasse en toute sécurité.
Raccord du poêle
Le Véro est un poêle à bois qui pèse lourd. Le poids du poêle en modèle début, y compris le tuyau d'évacuation des gaz de fumée de 2 mètres de long, est de 160 kilos. Assurez-vous que le mur ou le plancher prévu pour le montage du poêle peut supporter ce poids sans problème. Avant de commencer le montage, il est recommandé de suivre les consignes du chapitre précédent intitulé « Préparation ». Attention : ménagez votre dos et protégez
le plancher pendant toute la durée du montage.
Montage modèle debout :
- Vérifiez les boîtes d'emballage ; si elles présentent des dommages apparents, veuillez les signaler à votre distributeur.
- Le modèle debout est emballé dans 2 boîtes (1 pour le poêle ; 1 pour le socle).
- Déballez le poêle.
- Mettez avec précaution le poêle sur le dos. Prenez soin de couvrir le plancher pour le protéger.
- Sortez le socle de la boîte.
- Fixez le socle à l'aide des 4 vis au poêle.
- Mettez le poêle à bout. (Ménagez votre dos !)
- Posez le poêle à l'endroit souhaité ; faites en sorte qu'il se trouve précisément sous le trou d'évacuation.
- Montez ensuite le tuyau d'évacuation des gaz de fumée de façon à permettre l'écoulement des condensats.
Fixez le socle à l'aide des 4 vis au poêle.
Montage modèle suspendu :
- Vérifiez la boîte d'emballage ; s'il y a des dommages apparents, veuillez les signaler à votre distributeur.
- Au fond de la boîte se trouve l'étrier de suspension.
- Montez l'étrier de suspension au mur. N'appliquez jamais de moyens de fixation synthétiques. Assurez-vous que l'étrier se trouve précisément sous le trou d'évacuation et que les crochets sont orientés vers le haut. Les boulons de fixation ne doivent pas dépasser la paroi de plus de 10 mm, sinon ils risquent de faire obstacle lorsque vous accrocherez le poêle.
- Accrochez le poêle à l'étrier (attention à votre dos !).
- Montez ensuite le tuyau d'évacuation des gaz de fumée de façon à permettre l'écoulement des eaux de condensation.

Montage du modèle insert
Pour installer l'insert, il faut enlever les 4 plaques fixées dans chaque angle.
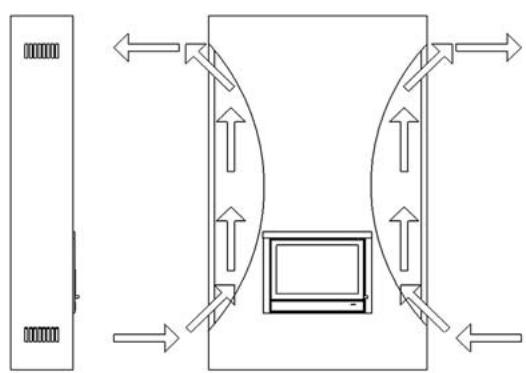
Principe d'aération de la cheminée (selon les conseils de WANDERS)


Remplacement de la vente de la porte
Ouvrez la porte dont la vitre est cassée. érieure de la porte. ATTENTION : le verre est tranchant. Remplacez la vitre. Vérifiez si la bande de joint est toujours intacte et bien fixée sur la porte. Sinon, collez-la de nouveau ou remplacez-la intégralement. Remettez le verre en place. Remontez l'ensemble.

Enlevez les 4 vis et les 2 baguettes à la face interieure de la porte
Données techniques Véro / Véro 33 / Vérox
Données techniques
| Verrou de la porte | Ba | I/II |
| Puisance nominale * | 5 | kW |
| Diamètre tuyau gaz de fumées | 150 | mm |
| Chargement en bois maximal | 1 | kg |
| Chargement en lignite maximal | - | kg |
| Volume,chambre de combustion | 0,02 | m3 |
| Surface sol de la(chambre de combustion | 0,06 | m2 |
- La chaleur nominale de 8 kW est obtenue avec un tirage de la cheminée de 0,12 mbar.
Combustible : bûches de 30 x 10 cm.
| Chargement maximal | 3 bûches |
| Clapet d'air primaire | max. |
| Trou d'air secondaire | max. |
| Durée de consommation combustible | 1 heures environ |
Valeurs des gaz de fumée selon DIN 4705, DIN 18895 partie 2.
| Porte fermée | bois | |
| Quantité gaz de fumée | 4,2 | g/s |
| Température gaz de fumée | 330 | °C |
| Pression préliminaire | 0,12 | mbar |
| Rendement | 78,7 | % |
| CO à 13% O2 | 0,06 | % |
| Particules fines | 30 | mg/m3 |
| Institut d'inspection 1625 . Norme d'inspection EN13240 . Certificat d'essay nr. RRF-400169 | ||
Valeurs indicatives pour la capacité du local à chauffer :
Les locaux ne répondent pas tous aux valeurs R actuelles. Pour le volume des locaux à chauffer, les valeurs suivantes selon DIN 18893 peuvent être retenues :
Par circonstances de chauffage favorables : calcul selon DIN 4701.
Par circonstances moins favorables : 70 m³
Par circonstances défavorables : 50 m³
Pour un chauffage temporaire, ou à une interruption de plus de 8 heures, il est possible de calculer 25% en moins pour le volume à chauffer.
Tableau épaisseur de l'isolation par épaisseur de mur
| épaisseur de mur 10 cm | isolation | manteau convection | |
| Protection du mur | arrière8 cmcôte8 cmcessous6 cm | ||
| Parois composées d'éléments de construction combustibles | X | X | |
| Charpente en acier | X | X | |
| Meuble encastrable contre le poële | X | X | |
| Meuble encastrable dans le mur arrêtè | X | X | |
| Autres parois | |||
| Épaisseur de paroi < 10 cm | X | X | |
| Épaisseur de paroi > 10 cm( peut être un mur de maçonneorie) | - | - |
Tableau indiquant quelle épaisseur de l'isolation est nécessaire par quelle épaisseur de mur pour la protection des parois encastrées.
Tableau des matériaux isolants. NB : seul le matériel indiqué dans la zone grise est admis.
| Isolation | Emballage | Conduction Thermique | Temp e de serv la plus élevé | Densité | |||||
| no | article | no | forme | no | emballage | no | °C | no | Kg/m3 |
| 10 | Laine minérale | 01 | Bandes | 01 | Matelats piqués | 10 | 100 | 02 | 20 |
| 11 | Laine minérale | 02 | Laine en vrac | Matelats piqués | 12 | 120 | 03 | 30 | |
| 12 | Laine de roche | 03 | Laine | 02 | Matelats piqués | 14 | 140 | 04 | 40 |
| 13 | Scories | Granulat | G. courbe 2 | 16 | 160 | 05 | 50 | ||
| 04 | Feutre | 06 | 60 | ||||||
| 05 | Mat. a lamelles | 10 | Ecailles | 07 | 70 | ||||
| G. courbe 1 | 08 | 80 | |||||||
| 06 | Matelats piqués | 11 | Ecailles | 09 | 90 | ||||
| 07 | Panneaux | G. courbe 2 | 10 | 100 | |||||
| 08 | Plats | 72 | 720 | 11 | 110 | ||||
| 09 | Segments | 20 | Panneaux | 74 | 740 | 12 | 120 | ||
| 10 | Tressés | G. courbe 1 | 76 | 760 | 13 | 130 | |||
| 21 | Panneaux G. courbe 2 | 18 | 180 | ||||||
| 99 | Autres | 99 | Seul | 99 | 99 | ||||
Sélectionnez le matériel d'isolation proposé au tableau. ATTENTION : Le groupe 99 est INTERDIT.
Notice Facile