TEBIS TX100 - Télécommande HAGER - Notice d'utilisation et mode d'emploi gratuit
Retrouvez gratuitement la notice de l'appareil TEBIS TX100 HAGER au format PDF.
| Type d'appareil | Télécommande |
| Marque | Non précisé |
| Modèle | Non précisé |
| Écran | Écran LCD |
| Alimentation | Piles ou batterie |
| Portée | Non précisé |
| Fonctions principales | Configuration, contrôle à distance |
| Nombre de boutons | Plus de 10 |
| Connectivité | Sans fil |
| Dimensions | Compacte, portable |
| Poids | Léger |
| Langues supportées | Multilingue |
| Utilisation | Professionnelle |
| Matériau | Plastique |
| Couleur | Gris et bleu |
| Manuel d'utilisation | Inclus |
FOIRE AUX QUESTIONS - TEBIS TX100 HAGER
Questions des utilisateurs sur TEBIS TX100 HAGER
Pour remettre un programme dans une installation utilisant le HAGER TEBIS TX100, suivez les étapes ci-dessous :
Étapes pour remettre un programme dans le TX100
- Accéder au menu principal : Allumez le TX100 et appuyez sur le bouton Menu ou Paramètres pour entrer dans le menu de configuration.
- Ouvrir la gestion des programmes : Naviguez dans le menu jusqu'à trouver la section dédiée aux programmes ou à la gestion de l'installation, souvent nommée Programmes ou Installation.
- Sélectionner le programme à remettre : Choisissez dans la liste le programme que vous souhaitez restaurer ou réactiver.
- Confirmer la remise en place : Validez votre choix en suivant les instructions affichées à l'écran. Cela peut nécessiter une confirmation ou la saisie d'un code de sécurité selon la configuration.
- Sauvegarder les modifications : Une fois le programme remis en place, assurez-vous de sauvegarder les changements en sélectionnant Sauvegarder ou Valider.
- Vérifier le fonctionnement : Testez les fonctions de l'installation pour vous assurer que le programme est correctement actif et que tout fonctionne comme prévu.
Ces étapes permettent de réinitialiser ou de remettre un programme dans votre installation via le TX100, facilitant ainsi la gestion et la maintenance de votre système domotique HAGER.
Téléchargez la notice de votre Télécommande au format PDF gratuitement ! Retrouvez votre notice TEBIS TX100 - HAGER et reprennez votre appareil électronique en main. Sur cette page sont publiés tous les documents nécessaires à l'utilisation de votre appareil TEBIS TX100 de la marque HAGER.
MODE D'EMPLOI TEBIS TX100 HAGER
Manuel d'utilisation
Les produits tebis sont installés. Tous les cablages électriques ont été vérifiés. Les récepteurs (lampes, volets...) sont en place.
Pour faire fonctionner cette installation il ne reste plus qu'a étabir les liens entre les entrées et les sorties.
Le configurateur portable tebis TX100 est l'outil de configuration destiné à établier ces liens pour toute la gamme des produits tebis :
< Gamme filaire
< Gamme radio produits bidirectionnels
< Gamme radio produits unidirectionnels
Cet outil n'est utilisé que pendant la phase de configuration de l'installation. Il n'a aucun role lors du fonctionnement normal de l'installation.
Description des touches




Touches écran
La fonction de chaque touche est indiquée sur l'écran au dessus d'elle. La fonction varie selon l'écran

-Valide l'opération en cours
- Sélectionne un menu
-Valide la saisie

- Change la fonction des touches de gauche (seLECTION soit d'un nombre d'entrée soit d'une fonction)
- Retour au menu précédent

- Active la sortie selektionnée
- Lance la numérotation des sorties de l'installation

Accès aux écans d'aide à l'installation

Accès aux menus
Description de l'affichage


Niveau de charge batterie

Sortie

Entree

Produit radio

Produit filaire


Preparation d'un lien

Lien établi

Suppression d'un lien
i Acquisition sonore
- Un "bip" simple indique une opération réussie
- Un double "bip" indique une opération qui a échouée
Définitions
< Canal: désigne une entrée ou une sortie.
< Unidir : désigne un produit ou un canal d'entrée émetteur radio. Les canaux "unidir" ne peuvent pas receivevoir d'information des autres canaux de l'installation.
< Bidir : désigne un produit ou un canal émetteur et récepteur radio. Tous les canaux de sortie sont “bidir”.
< Filaire : désigne un produit ou un canal relié au bus filaire.
Spécifications techniques
< Alimentation du produit : 4 batteries ou 4 piles au format AA
< Batteries : Ni-Mh 1,2V 1550mA/h min
< Piles : Alcalines 1,5V LR6
< Recharge externe : Par transformateur 230V/9V 1A mini
< Consommation en charge: 0,2A (en charge sur le secteur)
< Durée de fonctionnement : - Batteries chargées dans l'outil : 8h
- Batteries chargées hors de l'outil : 6h
- Piles neues : 10h
< Durée de chargement : 3h30mn
< Fréquence centrale : 868.3 MHz
< Puissance d'émission : 5 dBm min.
< Sensibilité de réception : -100 dBm min.
< Débit de transmission : 16384 bauds
< Duty Cycle : 1%
< Carte mémoire: SmartMedia de 8 à 64 Mo
< Température de fonctionnement: 0^ à +45°C
< Température de stockage : -20°C à +70°C
< Indices de protection : IP20
Poids : 340 g
< Dimensions : 75 x 169 x 34,5 mm (hors antenna)
Zone d'adressage
< Adresses physiques des produits filaires: 0.2.00 à 0.2.255
< Adresses de groupe :24/4/00 à 27/7/255 Mode ETS désactivé
10/4/00 à 13/7/255 Mode ETS activé (par défaut)
Limites du système
< 250 produits RF
< 250 produits filaires
< 1024 canaux répartis en 512 canaux d'entrée et 512 canaux de sortie
< 1 coupleur de media
< 6 niveaux de répétition d'un message
Sommaire général
Généralités 2
- Mise en service 2
1.1 Mise en place des piles ou batteries 2
1.2 Charge et autonomie 2
1.3 Lecteur de carte 3
1.4 Marche / Arrêt 4
1.5 Selection de la langue 4
2 Les différents types d'installations 5
2.1 Installation radio 5
2.2 Installation filaire 5
2.3 Installation mixte radio-filaire 5
3 Les différents types d'utilisations 6
3.1 Configuration 6
3.2Gestion,mesureet réglage 6
Configuration 7
1 Principe 7
2 Appairage d'un coupleur de media 8
2.1 Cas d'une nouvelle installation 8
2.2 Cas d'une installation déjà configurée 8
2.3 Cas d'utilisation du coupeur ouutil 8
3Apprentissaged'uneinstallation 9
3.1 Apprentissage et numerotation des sorties 9
3.2 Numérotation d'une entree et affectation d'une fonction 10
3.3 Suppression d'une entree 11
4 Creation et gestion des liens 12
4.1 Creation d'un lien simple 12
4.2 Creation d'un lien multiple 14
4.3 Suppression d'un lien 14
5 Visualisation des liens 15
Gestion mesure et réglage 16
1 Retour usine (produit) 18
2 Suppression 19
3 Information produit 19
4 Repeteur (produit) 20
5 Adressage ETS 20
6 Tetechargement (produit) 21
7 Retour usine (installation) 21
8Gestioncarte 22
9 Appairage coupler 23
10 Mise à jour carte 23
11 Information installation 24
12 Tetechargement (installation) 24
13 Bruit ambient 25
14 Emission/Réception 25
15TraficKonnex 26
16 Repéteur (simulation) 26
17 Entrée 27
18 Mode expert / standard 27
19 Date et heures 28
20 Acquittement sonore 28
21 Langue 29
22Format d'adresse 29
23 Rétroéclairage 30
24 Appairage coupeur outil 30
25 Mode ETS 31
Annexes 32
Généralités
1 Mise en service
1.1 Mise en place des piles ou batteries

- Retirer la vis A.
- Ouvrir la trappe B pour acceder au compartment à batteries.
- Positionner le commutateur C conformément à l'alimentation :
< Position 1
Alimentation par piles :
< Position 2 (par défaut à la livraison)
Alimentation par batteries (fournies) :
- Insérer les piles ou les batteries en veillant à respecter la polarité puis referrer et revisisser la trappe.
1.2 Charge et autonomie

En cas d'utilisation de batteries, brancher le chargeur secteur fourni à la prise D.

Pendant la charge, l'indication de niveau de charge s'affiche.
Si le chargeur est branché sur l'appareil lorsqu'il fonctionne sur piles et que le commutateur de selection est positionné sur la position batterie, il y a un risque de destruction du configateur tebis TX100.
Effectuer une charge complète avant la première utilisation (3h30mn)
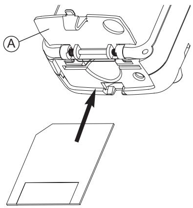
1.3 Lecteur de carte

Ouvrir le volet A.
- Insérer une carte dans le configurateur conformément au dessin ci-contre.
La carte doit être introduite avant la mise en marche du configurateur.
Il existe 2 types de cartes :
< Carte mémoire
Elle permet d'enregistrer les paramétres d'une installation.
- Une carte mémoire est indispensable pour configurer une installation.
- Il est nécessaire d'utiliser une carte mémoire par installation.
< Carte de mise à jour logiciel
La carte de mise à jour logiciel permet de télécharger une nouvelle version du logiciel afin de bénéficier des dernières améliorations apportées au configurateur. Appuyer sur la touche écran OUI pour confirmer la mise à jour de la version du logiciel, un écran d'attente s'affiche. A la fin de la mise à jour,steroler la carte puis appuyer sur la touche écran V pour redémarrer le configurateur avec la nouvelle version du logiciel.
i La mise à jour sera impossible si le niveau de charge de la batterie est trop faible.

Généralités
1.4 Marche / Arrêt

- Appuyer sur le bouton A jusqu'au signal sonore pourmettre en marche et arreter le configurateur.
Un écran d'attente s'affiche pendant quelques secondes.

Après la mise en marche du configurateur, les informations de l'installation, continues sur la carte mémoire, s'affichent automatiquement.
- Appuyer sur la touche écran √ pour passer à l'écran suivant.
Appuyer sur la touche écran pour changer de carte.
1.5 Sélection de la langue

Lors de la première mise en marche, le configurateur affiche les écrons en angeais.
Pour modifier la langue :
- Sélectionner la langue utilisé à l'aide des touches ou.
Appuyer sur la touche ✓ pour valider.
2 Les différents types d'installations
L'installation est composée uniquement de produits radio.
2.2 Installation filaire
L'installation est composée uniquement de produits raccordés sur le bus.
Ce type d'installation nécessite la mise en place d'un coupleur de mediapendant toute la phase de configuration.
Le coupleur de media peut etre retiré à l'issue de la procEDURE de configuration.
2.3 Installation mixte radio-filaire
L'installation est composée de produits radio et de produits raccordés sur le bus.
Ce type d'installation nécessite la mise en place d'un coupleur de média.
Le coupleur de media assures la communication entre les différents produits et doit demeurer dans l'installation.
Généralités
3
Les différences types d'utilisations
3.1 Configuration
Dans cette utilisation, il est possible de numéroter les sorties et les entrées, d'établier des liens et de visualiser l'ensemble des liens établis.
Dans ce cas, l'installation n'est pas fonctionnelle.
Les opérations de configuration sont réparties en trois modes.
< Mode Numérotation (Num)
Cemodepermit:
- de numéroter les entrées
- d'affector une fonction à une entrée
- de supprimer une entrée et sa fonction associée
< Mode Etablissement des liens (Prog)
Cemodepermit:
- de numéroter les sorties
- de localiser les sorties
-détablirdes liens - de supprimer des liens
- de visualiser les liens établis
< Mode Visualisation (Visu)
Ce mode permet de voir l'ensemble des liens d'une installation.
Pour pouvoir utiliser ou tester l'installation, l'outil doit être placé en mode Auto.
3.2 Gestion, mesure et réglage
Ce cas d'utilisation est accessible en appuyant sur la touche ou sur la touche "accès au menu".
Ce menu permit :
- de gérer les produits et l'installation
-d'effectuer des mesures radio et des simulations - de paramètre certaines fonctionnalités de l'outil
Configuration
1 Principe

La configuration d'une nouvelle installation est composée des étapes suivantes :
Configuration
2 Appairage d'un coupleur de media
Pour les installations nécessitant l'utilisation d'un coupleur de/media (installation filaire ou mixte uniquement), une séquence d'appairage est nécessaire.
2.1 Cas d'une nouvelle installation


Après la mise en marche, le configurateur demande si l'installation comporte des produits filaires.
Si OUI alors l'écran Appairage coupleur s'affiche.
- Dans ce cas, Sélectionner le coupler de média à utiliser en appuyant sur le bouton de ce dernier jusqu'à l'allumage du voyant rouge (4 sec).
- Relâcher le bouton.
Lorsque l'appairage est réalisé un signal sonore retentit.
- Attendre l'affichage de l'écran Auto pour continuer la configuration.
Si le configurateur n'est plus à portée radio du coupleur de media, la barre de titre de l'écran courant clignote.
2.2 Cas d'une installation déjà configurée
Pour une installation déjà configurée, il n'est pas nécessaire de réaliser une procédure d'appairage du coupleur, sauf si ce dernier a été changé.
Le coupleur de media apparé lors de la première configuration sera automatiquement détecté et utilisé pour la suite des opérations.
2.3 Cas d'utilisation du coupleur outil
Il est possible d'utiliser toujours le même coupler de media pour configurer les installations filaires. Ce coupler peut être désigné comme "couleur outil".
Une fois apparé (cf Menu outil/Réglages/Appairage coupleur outil), il sera automatiquement reconnu à la mise en marche du configurateur.
3
Apprentissage d'une installation
3.1 Apprentissage et numérotation des sorties
Pour pouvoir étabir des liens, le configurateur doit connaître les entrées et les sorties générées dans l'installation. La méthode ci-dessous permet:
-l'apprentissage des sorties.
-l'affection automatique d'un numero à chaque canal de sortie.
-l'apprentissage des entrées 'bidir' et filaire
i Cette opération est indispensable avant la numérotation des entrées
Selectionner le mode Prog.

- Effectuer un appui long sur la touche pour lancer la numérotation automatique des sorties. Le configurateur recherche automatiquement toutes les sorties générées dans l'installation.
i. Cette opération dure de 1 à 10 minutes selon le nombre de produits present dans l'installation.

A la fin de l'apprentissage, l'écran affiche les caractéristiques de la première sortie A ainsi que le nombre de sorties détectées B.
Toutes les sorties sont alors numerotées.
Configuration
3.2 Numérotation d'une entrée et affectation d'une fonction
Pour pouvoir numéroter toutes les entrées il faut d'abord effectuer la procédure d'apprentissage et numération des sorties (voir page précédente).
Selectionner le mode Num (numérorotation).

Affectation du numero

Choix de la fonction
- Appuyer sur le bouton poussoir ou basculer l'interrupteur raccordé à l'entrée à numéroter.
Le configurateur lui affecte automatiquement un numero.
Appuyer sur la touche pour affecter une fonction à cette entrée.
- Sélectionner la fonction avec les touches de gauche parmi les fonctions proposées.
La liste complète des fonctions et de leurs symboles est disponible en annexe 1.
Appuyer sur la touche pour valider la fonction selectionnée.
Pour facilititer la selection de la fonction, la touche écran centrale permet d'activer un filtré de fonction pour limiter le défilament dans une famille de fonction. Le filtré Tous correspond à un défilament de toutes les fonctions.
- Appuyer sur le bouton poussoir ou basculer l'interrupteur raccordé à l'entrée à numéroter.
- Placer le configurateur à proximate immediate de l'entrée à numéroter.
Appuyer sur la touche écran appel.
- Maintenir appuyé le bouton de l'entrée à numéroter.
Un signal sonore retentit lorsque l'entrée a ete detectee. Le configurateur lui affecte automatiquement un numero.
Appuyer sur la touche ^ / Oc pour affecter une fonction a cette entrée.
- Sélectionner la fonction avec les touches de gauche parmi les fonctions proposées.
La liste complète des fonctions et de leurs symboles est disponible en annexe 1.
Appuyer sur la touche pour valider la fonction selectionnee.
Un signal sonore confirme la prise en compte de la fonction.
Pour faciliter la selection de la fonction, la touche écran centrale permé d'activer un filtré de fonction pour limiter le défilament dans une famille de fonction. Le filtré Tous correspond à un défilament de toutes les fonctions.
- Les nombres sont affectés par ordre croissant à partir de 1
- Pour retrouver le numéro d'un canal il suffit de l'actionner.
3.3 Suppression d'une entrée

- Sélectionner l'entrée à supprimer, soit :
- à l'aide des touches de gauche.
- en appuyant sur le bouton de l'entrée
Effectuer un appui long sur la touche ^ / 2
- Appuyer sur la touche écran OUI pour confirmer la suppression de l'entrée.
i Lors d'une prochaine numérotation, les numérios supprimés dans cette opération seront réaffectés en priorité.
Configuration
Création et gestion des liens

4
Les canaux de sorties et d'entrées sont maintainant connus par le configurateur. La phase d'établissement des liens est dorénavant possible. Pour ce faire, Sélectionner le mode Prog.
4.1 Création d'un lien simple

< Sélection d'uneentrée
Appuyer sur les touches de gauche pour afficher l'entrée à lien.
Ou
Actionner le bouton pouvoir ou l'interrupteur de l'entrée àlier.
Le numero et la fonction de cette entrée s'affichent.

< Sélection d'une sortie
Appuyer sur les touches de droite pour afficher la sortie àlier.
Ou
Si le numero de la sortie n'est pas connu, il existe 2 possibilités pour localiser physiquement une sortie :

Un appui court sur la touche commande directement la sortie affichée sur le configurateur. Dans le cas d'un éclairage tout ou rien, par exemple, un premier appui sur la touche allume la lampe correspondant à la sortie affichée sur le configurateur, un deuxième appui l'éteint. Pour les produits modulaires filaires, la led du canal correspondant à la sortie affichée sur le configurateur s'allume (uniquement en position manuel sur le module de sortie).

Pour les produits équipés d'un bouton pouvoir, un appui sur celui ci affiche son numéro sur le configurateur. Levoyant associé au canal sélectionné s'allume.

< Validation d'un lien
- Effectuer un appui long sur la touche✔ pour valider le lien.
Les caractéristiques du lien sont enregistrées dans le canal de sortie, d'entrée et sur la carte mémoire du configurateur.

A la fin de l'enregistrement, le symbole A confirme l'établissement du lien.

< Saisie d'un paramètre évientuel
Certaines fonctions nécessitant la saisie d'un paramètre (ex : temporisation d'éclairage).
- Effectuer un appui long sur la touche✔ pour afficher la liste des paramètres compatibles avec la fonction sélectionnée.
Appuyer sur les touches ou pour selectionner ou regler le parametre.
Appuyer sur la touche pour valider et enregistrer le lien.
Configuration
4.2 Création d'un lien multiple
Le système permet delier une entrée à plusieurs sorties. Les étapes sont identiques à celles de la creation de lien simple mais la procEDURE est différente :

- Sélectionner une entrée.
- Sélectionner une sortie.
- Préparer le lien en effectuant un appui court sur la touche .
- Sélectionner une autre sortie
- Préparer le lien en effectuant un nouvel appui court sur la touche
- Répéter la procédure pour chaque nouvelle sortie à lier.
- Lorsque tous les liens ont eté préparés, valider les liens par un appui long sur la touche . Le configurateur invite à saisir évientuellesment un paramètre (durée de minuterie...). Ce paramètre sera identique pour toutes les sorties.

A l'issue de l'enregistrement l'anneau droit ⑤ indique le nombre de sorties liées à l'entree courante.
4.3 Suppression d'un lien

- Sélectionner l'entrée et la sortie concernées afin de faire apparaitre le lien à supprimer.
- Effectuer un appui long sur la touche✔ pour supprimer le lien.
Pour supprimer un lien multiple, il faut supprimer les liens de chaque sortie.

Visualisation des liens
Appuyer sur la touche écran Visu pour sélectionner le mode visualisation.

Ce mode permet de voir l'ensemble des liens d'une installation.
La visualisation des liens est possible :
- par les entrées, en sélectionnant le N° ou en appuyant directement sur le bouton d'une entrée. Utiliser les touches de droite pour faire défiler les sorties liées à l'entrée courante.
- par les sorties, en selectionnant le N^ ou en appuyant directement sur le bouton d'une sortie (si la sortie en est équipée). Utiliser les touches de gauche pour faire défiler les entrées liées à la sortie courante.
Gestion, mesure et réglage
Dans cette utilisation du configurateur, il est possible d'acceder à l'ensemble des fonctions de gestion de mesure, simulation et de réglage.
Pour acceder à ses fonctions :

Appuyer sur la touche ou sur la touche "accès au menu" pour afficher le menu.
- Sélectionner la fonction désirée avec les touches ou.
- Validator avec la touche
La touche ^ permiet le return au menu precedent.
Le menu permet d'acceder aux fonctions individues page suivante.

* Fonctions également accessible sans carte mémoire
Gestion, mesure et réglage
1 Retour usine (produit)

Cette fonction permet de replacer un produit dans sa configuration usine.

< Produkt de l'installation courante
La liste des produits connus de l'installation s'affiche :
- Sélectionner un produit dans cette liste, soit :
- à l'aide des touches ou
- en appuyant sur le bouton d'une entrée.
- en appuyant sur le bouton du canal de sortie s'il existe.
Appuyer sur la touche
Appuyer sur la touche écran OUI pour confirmer le "retour usine".

< Produkt étranger à l'installation (Produit hors install.)
- Sélectionner "Produit hors install".
Appuyer sur la touche ✓ pour valider.
- Sélectionner le type du produit dans le menu proposé.
- Suivre les instructions données par le configurateur.
i Àprouss confirmation, l'ensemble des liens et des paramètres sont effacés du produit.
1 Un réapprentissage sera nécessaire pour configurer à nouveau le produit.
2 Suppression

Cette fonction permet desterolir un produit enregistré dans la carte mémoire sans le replacer dans sa configuration usine.

- Sélectionner un produit dans la liste, soit :
- à l'aide des touches ou
- en appuyant sur le bouton d'une entrée.
- en appuyant sur le bouton du canal de sortie s'il existe.
Appuyer sur la touche
- Appuyer sur la touche écran OUI pour confirmer la "suppression".
1 Un "retour usine" puis un réapprentissage seront nécessaires pour configurer à nouveau le produit.
3 Informations produits


Cette fonction permet de visualiser les caractéristiques principales d'un produit de l'installation.
La liste des produits de l'installation s'affiche :
- Sélectionner un produit dans cette liste, soit :
- à l'aide des touches ou
- en appuyant sur le bouton d'une entree.
- en appuyant sur le bouton du canal de sortie s'il existe.
Appuyer sur la touche
Les caractéristiques s'affichent.
Appuyer sur la touche écran V pour revenir à la liste des produits.
Pour les modules de volet ou store, la touche écran PARAM permet d'acceder à la sélection du temps de descente complet du volet ou du store.
Gestion, mesure et réglage
4 Repéteur (produit)


Cette fonction permet d'activer ou de désactiver la fonction repéteur dans un produit radio bidirectionnel. La liste des produits radio bidirectionnels de l'installation s'affiche :
- Sélectionner un produit dans cette liste, soit :
- à l'aide des touches ou
- en appuyant sur le bouton d'une entrée.
Appuyer sur la touche
- Appuyer sur la touche écran OUI pour confirmer l'activation ou la désactivation de la fonction "répéteur".
5 Adressage ETS


Cette fonction permet :
- de placer un produit radio bidirectionnel ou filaire en mode d'adressage physique (utilisation avec ETS).
- d'activer l'émission par un produit radio unidirectionnel des informations nécessaires à ETS pour la configuration des produits.
La liste des produits de l'installation s'affiche :
- Sélectionner un produit dans la liste, soit :
- à l'aide des touches ou
- en appuyant sur le bouton d'une entree.
- en appuyant sur le bouton du canal de sortie s'il existe.
Appuyer sur la touche
- Appuyer sur la touche écran OUI pour activer le "mode programmation".
6 Téléchargement (produit)


Cette fonction permet de forcer le téléchargeMENT d'un produit.
- Sélectionner un produit dans la liste, soit :
- à l'aide des touches ou
- en appuyant sur le bouton d'une entree.
- en appuyant sur le bouton du canal de sortie s'il existe.
Appuyer sur la touche
- Appuyer sur la touche écran OUI pour confirmer le "teléchargement".
7 Retour usine (installation)


Cette fonction permet d'effacer tous les produits bidirectionnels radio et filaire de l'installation. Ces produits sont remis en mode usine.
Les produits unidirectionnels devront être effacés unitairement (voir 1. Retour usine (produit)).
- Appuyer sur la touche écran OUI pour valider le "retour usine".
i Un réapprentissage sera nécessaire pour configurer à nouveau l'installation.
Gestion, mesure et réglage
8 Gestion carte

Cette fonction permet d'effacer ou de copier le contenu d'une carte mémoire.

< Effacement de la carte
- Appuyer sur la touche écran OUI pour effacer la carte.

< Duplication de la carte
- Insérer la carte originale à copier.
Appuyer sur la touche écran V pour dire la carte.
- Insérer une carte vierge.
- Appuyer sur la touche écran V pour copier les paramètres de l'installation.
9 Appairage coupleur

Cette fonction permet de selectionner un coupleur de media dans une installation.

- Sélectionner le coupleur de média à utiliser en appuyant sur le bouton de ce dernier jusqu'à l'allumage du voyant rouge (4 sec).
- Relâcher le bouton
Lorsque l'appairage est réalisé, un signal sonore retentit.
10 Mise à jour carte


Cette fonction permet d'effacer de la carte mémoire les produits non utilisés dans l'installation.
Le nombre de produit n'ayantaucun lien s'affiche. Appuyer sur la touche écran OUI pour confirmer la mise a jour de la carte.
Le configurateur effectue un "retour usine" des produits radio bidirectionnels et filaire non utilisés.
Les produits radio unidirectionnels ne sont pas concernés par cette fonction.
Gestion, mesure et réglage
11 Information installation


Cette fonction donne des informations generales concernant l'installation.
12 Téléchargement (installation)


Cette fonction permet de forcer le télécharge-. ment de I'installation.
- Appuyer sur la touche écran OUI pour confirmer le "teléchargement" de l'installation.
13 Bruit ambient


Cette fonction permet de détecter d'eventuels perturbateurs radio utilisant la même bande de fréquences que les produits de l'installation.
Dés que la fonction est sélectionnée, un cycle de mesure démarre.
A la fin du cycle, le configurateur affiche le niveau de bruit et reliance automatiquement une nouvelle mesure.
- Appuyer sur la touche écran Stop pour stopper le cycle de mesure.
- Appuyer sur la touche écran Start pour relancer le cycle de mesure.
i La touche écran 山 permet le return à l'écran precedent.
14 Emission / réception


Cette fonction permet de mesurer la puissance d'émission d'un émetteur radio et la sensibilité de réception d'un récepteur.
Uniquement accessible depuis le mode Prog par appui sur la touche
La sensibilité de réception est affichée soit :
- en mesure directe de l'émetteur vers le récepteur concerné.
- en signal répété. Dans ce cas, la mesure indique la sensibilité du récepteur par rapport au signal venant d'un répéteur.
Gestion, mesure et réglage
15 Trafic Konnex

Cette fonction permet de mesurer le niveau radio émis par un émetteur Konnex quelconque.

Dès que la fonction est sélectionnée, un cycle de mesure démarre. A chaque réception de trame le configurateur affiche :
- le numero de série du produit émetteur.
- le niveau du signal.
- le nombre total de trames reçues depuis le lancement du cycle de mesure.
- le cas échéant, une alerte pile basse pour l'émetteur concerné.
- Appuyer sur la touche écran Stop pour stopper le cycle de mesure.
- Appuyer sur la touche écran Start pour reliancer le cycle de mesure.
i La touche écran 山 permet le return à l'écran precedent.
16 Repéteur (simulation)

Cette fonction permet au configurateur de simuler la fonction répéteur afin de positionner correctement un répéteur dans l'installation.

Appuyer sur la touche pour lancer la simulation.
- Appuyer sur la touche écran Stop pour la stopper.
17 Entreee


Cette fonction permet au configurateur de sesubstituer à une entrée.
La dernière entree selectionnee en mode Num ou Prog s'affiche.
Appuyer sur la touche pour simuler l'entrée.
i La touche écran 一 permet le return à l'écran precedent.
18 Mode expert/standard


Cette fonction permet d'activer le mode expert. Dans la vue expert, les fonctions d'entrée et de sortie sont représentées au travers des objets de communication.
- Appuyer sur la touche écran OUI pour activer ou désactiver le mode expert.
Gestion, mesure et réglage
19 Date et heures


Cette fonction permet le réglage de la date et de l'heure.
Appuyer sur les touches de gauche pour passer d'un champ à l'autre.
Appuyer sur les touches de droite pour augmenter ou diminuer la valeur du champ sélectionné.
Appuyer sur la touche écran V pour valider.
i La touche écran 一 permet le return à l'écran precedent.
20 Acquittement sonore


L'activation de l'acquittement sonore permet d'obtenir un bip de confirmation de certaines actions.
- Appuyer sur la touche écran OUI pour activer ou désactiver "l'acquittement sonore".
21 Langue


La langue utilisée est selectionnée lors de la première mise en route.
Il est toute fois possible de la modifier ultérieurement.
- Sélectionner la langue à l'aide des touches ou.
Appuyer sur la touche pour valider.
22 Format d'adresse


Cette fonction permet de régler le format d'affichage ou de saisie des adresses de groupe.
- Appuyer sur la touche écran correspondante au format désiré.
i La touche écran 山 permet le return à l'écran precedent.
Gestion, mesure et réglage
23 Rétroéclairage


Cette fonction permet d'activer ou de désactiver le rétroéclairage de l'afficheur.
- Appuyer sur la touche écran OUI pour activer ou désactiver "le rétroéclairage".
24 Appairage coupleur outil

Cette fonction permet de définir un coupleur de media comme coupleur outil.

- Sélectionner le coupleur de média à utiliser en appuyant sur le bouton de ce dernier jusqu'à l'allumage du voyant rouge (4 sec).
Relacher le bouton.
Lorsque l'appairage est réalisé un signal sonore retentit.
25 Mode ETS


Cette fonction permet l'utilisation des adresses de groupe radio dans ETS.
- Appuyer sur la touche écran OUI pour activer ou désactiver "le mode ETS".
Par défaut le mode ETS est activé. Ainsi toute installation pourra être étendue avec ETS.
La désactivation du mode ETS, change la zone d'adressage. Des installations réalisées en mode ETS désactivée ne pourront pas étéétendues.
Rappel zone d'adressage de groupe :
24/4/00 à 27/7/255 Mode ETS désactivé (adresses non atteignables par ETS)
10/4/00 à 13/7/255 Mode ETS activé (par défaut)
Annexes
Application Symbole Type de commande Eclairage É Allumage ● Extinction ● Marche - Arrêt type interrupteur ● Marche - Arrêt type télérupteur ● Marche - Arrêt type télérupteur pour produits unidirectionnels ● Augmentation du niveau de variation ● Diminution du niveau de variation ● Variation sur bouton poussoir ● Forçage Arrêt ● Forçage Marche ● Marche temporisée ● Arrêt temporisé ● Scénario d'ambiance 25%, 50%, 75% ou 100% Stores / volets roulants 国 Montée type bouton poussoir 国 Descente type bouton poussoir 国 Montée - descente type bouton poussoir 国 Forçage Montée 国 Forçage Descente 国 Sécurité Intempéries Chauffage C Confort C Eco C Comfort / Eco C Hors gel STOP Forçage Arrêt O Forçage Comfort O Forçage Eco O Comfort temporisé O Eco temporisé Horloge ① Horloge maître ① Horloge esclave 国 Fonction Montée - Descente type interrupteur 国 Fonction Descente - Montée type interrupteur 国 Fonction Montée type interrupteur 国 Fonction Descente type interrupteur Interrupteur crépusculaire ① Interrupteur crépusculaire maître ① Interrupteur crépusculaire esclave Contrôleur d'ambiance 国 Zone d'affichage sur le contrôleur d'ambiance (1 à 4) 国 Fonction logique Toutes applications ? Aucune fonction ...国 Scénario d'ambiance 1 à 8
Notes
Notes
Notes
Notes
Hager Tehalit Systèmes SAS
132 Boulevard d'Europe
BP 78
F-67212 Obermai Cedex
www.hager.com
- Appuyer sur le bouton poussoir ou basculer l'interrupteur raccordé à l'entrée à numéroter.
- Placer le configurateur à proximate immediate de l'entrée à numéroter.
Appuyer sur la touche écran appel.
- Maintenir appuyé le bouton de l'entrée à numéroter.
Un signal sonore retentit lorsque l'entrée a ete detectee. Le configurateur lui affecte automatiquement un numero.
Appuyer sur la touche ^ / Oc pour affecter une fonction a cette entrée.
- Sélectionner la fonction avec les touches de gauche parmi les fonctions proposées.
La liste complète des fonctions et de leurs symboles est disponible en annexe 1.
Appuyer sur la touche pour valider la fonction selectionnee.
Un signal sonore confirme la prise en compte de la fonction.
Pour faciliter la selection de la fonction, la touche écran centrale permé d'activer un filtré de fonction pour limiter le défilament dans une famille de fonction. Le filtré Tous correspond à un défilament de toutes les fonctions.
- Les nombres sont affectés par ordre croissant à partir de 1
- Pour retrouver le numéro d'un canal il suffit de l'actionner.
3.3 Suppression d'une entrée

- Sélectionner l'entrée à supprimer, soit :
- à l'aide des touches de gauche.
- en appuyant sur le bouton de l'entrée
Effectuer un appui long sur la touche ^ / 2
- Appuyer sur la touche écran OUI pour confirmer la suppression de l'entrée.
i Lors d'une prochaine numérotation, les numérios supprimés dans cette opération seront réaffectés en priorité.
Configuration
Création et gestion des liens

4
Les canaux de sorties et d'entrées sont maintainant connus par le configurateur. La phase d'établissement des liens est dorénavant possible. Pour ce faire, Sélectionner le mode Prog.
4.1 Création d'un lien simple

< Sélection d'uneentrée
Appuyer sur les touches de gauche pour afficher l'entrée à lien.
Ou
Actionner le bouton pouvoir ou l'interrupteur de l'entrée àlier.
Le numero et la fonction de cette entrée s'affichent.

< Sélection d'une sortie
Appuyer sur les touches de droite pour afficher la sortie àlier.
Ou
Si le numero de la sortie n'est pas connu, il existe 2 possibilités pour localiser physiquement une sortie :

Un appui court sur la touche commande directement la sortie affichée sur le configurateur. Dans le cas d'un éclairage tout ou rien, par exemple, un premier appui sur la touche allume la lampe correspondant à la sortie affichée sur le configurateur, un deuxième appui l'éteint. Pour les produits modulaires filaires, la led du canal correspondant à la sortie affichée sur le configurateur s'allume (uniquement en position manuel sur le module de sortie).

Pour les produits équipés d'un bouton pouvoir, un appui sur celui ci affiche son numéro sur le configurateur. Levoyant associé au canal sélectionné s'allume.

< Validation d'un lien
- Effectuer un appui long sur la touche✔ pour valider le lien.
Les caractéristiques du lien sont enregistrées dans le canal de sortie, d'entrée et sur la carte mémoire du configurateur.

A la fin de l'enregistrement, le symbole A confirme l'établissement du lien.

< Saisie d'un paramètre évientuel
Certaines fonctions nécessitant la saisie d'un paramètre (ex : temporisation d'éclairage).
- Effectuer un appui long sur la touche✔ pour afficher la liste des paramètres compatibles avec la fonction sélectionnée.
Appuyer sur les touches ou pour selectionner ou regler le parametre.
Appuyer sur la touche pour valider et enregistrer le lien.
Configuration
4.2 Création d'un lien multiple
Le système permet delier une entrée à plusieurs sorties. Les étapes sont identiques à celles de la creation de lien simple mais la procEDURE est différente :

- Sélectionner une entrée.
- Sélectionner une sortie.
- Préparer le lien en effectuant un appui court sur la touche .
- Sélectionner une autre sortie
- Préparer le lien en effectuant un nouvel appui court sur la touche
- Répéter la procédure pour chaque nouvelle sortie à lier.
- Lorsque tous les liens ont eté préparés, valider les liens par un appui long sur la touche . Le configurateur invite à saisir évientuellesment un paramètre (durée de minuterie...). Ce paramètre sera identique pour toutes les sorties.

A l'issue de l'enregistrement l'anneau droit ⑤ indique le nombre de sorties liées à l'entree courante.
4.3 Suppression d'un lien

- Sélectionner l'entrée et la sortie concernées afin de faire apparaitre le lien à supprimer.
- Effectuer un appui long sur la touche✔ pour supprimer le lien.
Pour supprimer un lien multiple, il faut supprimer les liens de chaque sortie.

Visualisation des liens
Appuyer sur la touche écran Visu pour sélectionner le mode visualisation.

Ce mode permet de voir l'ensemble des liens d'une installation.
La visualisation des liens est possible :
- par les entrées, en sélectionnant le N° ou en appuyant directement sur le bouton d'une entrée. Utiliser les touches de droite pour faire défiler les sorties liées à l'entrée courante.
- par les sorties, en selectionnant le N^ ou en appuyant directement sur le bouton d'une sortie (si la sortie en est équipée). Utiliser les touches de gauche pour faire défiler les entrées liées à la sortie courante.
Gestion, mesure et réglage
Dans cette utilisation du configurateur, il est possible d'acceder à l'ensemble des fonctions de gestion de mesure, simulation et de réglage.
Pour acceder à ses fonctions :

Appuyer sur la touche ou sur la touche "accès au menu" pour afficher le menu.
- Sélectionner la fonction désirée avec les touches ou.
- Validator avec la touche
La touche ^ permiet le return au menu precedent.
Le menu permet d'acceder aux fonctions individues page suivante.

* Fonctions également accessible sans carte mémoire
Gestion, mesure et réglage
1 Retour usine (produit)

Cette fonction permet de replacer un produit dans sa configuration usine.

< Produkt de l'installation courante
La liste des produits connus de l'installation s'affiche :
- Sélectionner un produit dans cette liste, soit :
- à l'aide des touches ou
- en appuyant sur le bouton d'une entrée.
- en appuyant sur le bouton du canal de sortie s'il existe.
Appuyer sur la touche
Appuyer sur la touche écran OUI pour confirmer le "retour usine".

< Produkt étranger à l'installation (Produit hors install.)
- Sélectionner "Produit hors install".
Appuyer sur la touche ✓ pour valider.
- Sélectionner le type du produit dans le menu proposé.
- Suivre les instructions données par le configurateur.
i Àprouss confirmation, l'ensemble des liens et des paramètres sont effacés du produit.
1 Un réapprentissage sera nécessaire pour configurer à nouveau le produit.
2 Suppression

Cette fonction permet desterolir un produit enregistré dans la carte mémoire sans le replacer dans sa configuration usine.

- Sélectionner un produit dans la liste, soit :
- à l'aide des touches ou
- en appuyant sur le bouton d'une entrée.
- en appuyant sur le bouton du canal de sortie s'il existe.
Appuyer sur la touche
- Appuyer sur la touche écran OUI pour confirmer la "suppression".
1 Un "retour usine" puis un réapprentissage seront nécessaires pour configurer à nouveau le produit.
3 Informations produits


Cette fonction permet de visualiser les caractéristiques principales d'un produit de l'installation.
La liste des produits de l'installation s'affiche :
- Sélectionner un produit dans cette liste, soit :
- à l'aide des touches ou
- en appuyant sur le bouton d'une entree.
- en appuyant sur le bouton du canal de sortie s'il existe.
Appuyer sur la touche
Les caractéristiques s'affichent.
Appuyer sur la touche écran V pour revenir à la liste des produits.
Pour les modules de volet ou store, la touche écran PARAM permet d'acceder à la sélection du temps de descente complet du volet ou du store.
Gestion, mesure et réglage
4 Repéteur (produit)


Cette fonction permet d'activer ou de désactiver la fonction repéteur dans un produit radio bidirectionnel. La liste des produits radio bidirectionnels de l'installation s'affiche :
- Sélectionner un produit dans cette liste, soit :
- à l'aide des touches ou
- en appuyant sur le bouton d'une entrée.
Appuyer sur la touche
- Appuyer sur la touche écran OUI pour confirmer l'activation ou la désactivation de la fonction "répéteur".
5 Adressage ETS


Cette fonction permet :
- de placer un produit radio bidirectionnel ou filaire en mode d'adressage physique (utilisation avec ETS).
- d'activer l'émission par un produit radio unidirectionnel des informations nécessaires à ETS pour la configuration des produits.
La liste des produits de l'installation s'affiche :
- Sélectionner un produit dans la liste, soit :
- à l'aide des touches ou
- en appuyant sur le bouton d'une entree.
- en appuyant sur le bouton du canal de sortie s'il existe.
Appuyer sur la touche
- Appuyer sur la touche écran OUI pour activer le "mode programmation".
6 Téléchargement (produit)


Cette fonction permet de forcer le téléchargeMENT d'un produit.
- Sélectionner un produit dans la liste, soit :
- à l'aide des touches ou
- en appuyant sur le bouton d'une entree.
- en appuyant sur le bouton du canal de sortie s'il existe.
Appuyer sur la touche
- Appuyer sur la touche écran OUI pour confirmer le "teléchargement".
7 Retour usine (installation)


Cette fonction permet d'effacer tous les produits bidirectionnels radio et filaire de l'installation. Ces produits sont remis en mode usine.
Les produits unidirectionnels devront être effacés unitairement (voir 1. Retour usine (produit)).
- Appuyer sur la touche écran OUI pour valider le "retour usine".
i Un réapprentissage sera nécessaire pour configurer à nouveau l'installation.
Gestion, mesure et réglage
8 Gestion carte

Cette fonction permet d'effacer ou de copier le contenu d'une carte mémoire.

< Effacement de la carte
- Appuyer sur la touche écran OUI pour effacer la carte.

< Duplication de la carte
- Insérer la carte originale à copier.
Appuyer sur la touche écran V pour dire la carte.
- Insérer une carte vierge.
- Appuyer sur la touche écran V pour copier les paramètres de l'installation.
9 Appairage coupleur

Cette fonction permet de selectionner un coupleur de media dans une installation.

- Sélectionner le coupleur de média à utiliser en appuyant sur le bouton de ce dernier jusqu'à l'allumage du voyant rouge (4 sec).
- Relâcher le bouton
Lorsque l'appairage est réalisé, un signal sonore retentit.
10 Mise à jour carte


Cette fonction permet d'effacer de la carte mémoire les produits non utilisés dans l'installation.
Le nombre de produit n'ayantaucun lien s'affiche. Appuyer sur la touche écran OUI pour confirmer la mise a jour de la carte.
Le configurateur effectue un "retour usine" des produits radio bidirectionnels et filaire non utilisés.
Les produits radio unidirectionnels ne sont pas concernés par cette fonction.
Gestion, mesure et réglage
11 Information installation


Cette fonction donne des informations generales concernant l'installation.
12 Téléchargement (installation)


Cette fonction permet de forcer le télécharge-. ment de I'installation.
- Appuyer sur la touche écran OUI pour confirmer le "teléchargement" de l'installation.
13 Bruit ambient


Cette fonction permet de détecter d'eventuels perturbateurs radio utilisant la même bande de fréquences que les produits de l'installation.
Dés que la fonction est sélectionnée, un cycle de mesure démarre.
A la fin du cycle, le configurateur affiche le niveau de bruit et reliance automatiquement une nouvelle mesure.
- Appuyer sur la touche écran Stop pour stopper le cycle de mesure.
- Appuyer sur la touche écran Start pour relancer le cycle de mesure.
i La touche écran 山 permet le return à l'écran precedent.
14 Emission / réception


Cette fonction permet de mesurer la puissance d'émission d'un émetteur radio et la sensibilité de réception d'un récepteur.
Uniquement accessible depuis le mode Prog par appui sur la touche
La sensibilité de réception est affichée soit :
- en mesure directe de l'émetteur vers le récepteur concerné.
- en signal répété. Dans ce cas, la mesure indique la sensibilité du récepteur par rapport au signal venant d'un répéteur.
Gestion, mesure et réglage
15 Trafic Konnex

Cette fonction permet de mesurer le niveau radio émis par un émetteur Konnex quelconque.

Dès que la fonction est sélectionnée, un cycle de mesure démarre. A chaque réception de trame le configurateur affiche :
- le numero de série du produit émetteur.
- le niveau du signal.
- le nombre total de trames reçues depuis le lancement du cycle de mesure.
- le cas échéant, une alerte pile basse pour l'émetteur concerné.
- Appuyer sur la touche écran Stop pour stopper le cycle de mesure.
- Appuyer sur la touche écran Start pour reliancer le cycle de mesure.
i La touche écran 山 permet le return à l'écran precedent.
16 Repéteur (simulation)

Cette fonction permet au configurateur de simuler la fonction répéteur afin de positionner correctement un répéteur dans l'installation.

Appuyer sur la touche pour lancer la simulation.
- Appuyer sur la touche écran Stop pour la stopper.
17 Entreee


Cette fonction permet au configurateur de sesubstituer à une entrée.
La dernière entree selectionnee en mode Num ou Prog s'affiche.
Appuyer sur la touche pour simuler l'entrée.
i La touche écran 一 permet le return à l'écran precedent.
18 Mode expert/standard


Cette fonction permet d'activer le mode expert. Dans la vue expert, les fonctions d'entrée et de sortie sont représentées au travers des objets de communication.
- Appuyer sur la touche écran OUI pour activer ou désactiver le mode expert.
Gestion, mesure et réglage
19 Date et heures


Cette fonction permet le réglage de la date et de l'heure.
Appuyer sur les touches de gauche pour passer d'un champ à l'autre.
Appuyer sur les touches de droite pour augmenter ou diminuer la valeur du champ sélectionné.
Appuyer sur la touche écran V pour valider.
i La touche écran 一 permet le return à l'écran precedent.
20 Acquittement sonore


L'activation de l'acquittement sonore permet d'obtenir un bip de confirmation de certaines actions.
- Appuyer sur la touche écran OUI pour activer ou désactiver "l'acquittement sonore".
21 Langue


La langue utilisée est selectionnée lors de la première mise en route.
Il est toute fois possible de la modifier ultérieurement.
- Sélectionner la langue à l'aide des touches ou.
Appuyer sur la touche pour valider.
22 Format d'adresse


Cette fonction permet de régler le format d'affichage ou de saisie des adresses de groupe.
- Appuyer sur la touche écran correspondante au format désiré.
i La touche écran 山 permet le return à l'écran precedent.
Gestion, mesure et réglage
23 Rétroéclairage


Cette fonction permet d'activer ou de désactiver le rétroéclairage de l'afficheur.
- Appuyer sur la touche écran OUI pour activer ou désactiver "le rétroéclairage".
24 Appairage coupleur outil

Cette fonction permet de définir un coupleur de media comme coupleur outil.

- Sélectionner le coupleur de média à utiliser en appuyant sur le bouton de ce dernier jusqu'à l'allumage du voyant rouge (4 sec).
Relacher le bouton.
Lorsque l'appairage est réalisé un signal sonore retentit.
25 Mode ETS


Cette fonction permet l'utilisation des adresses de groupe radio dans ETS.
- Appuyer sur la touche écran OUI pour activer ou désactiver "le mode ETS".
Par défaut le mode ETS est activé. Ainsi toute installation pourra être étendue avec ETS.
La désactivation du mode ETS, change la zone d'adressage. Des installations réalisées en mode ETS désactivée ne pourront pas étéétendues.
Rappel zone d'adressage de groupe :
24/4/00 à 27/7/255 Mode ETS désactivé (adresses non atteignables par ETS)
10/4/00 à 13/7/255 Mode ETS activé (par défaut)
Annexes
Application Symbole Type de commande Eclairage É Allumage ● Extinction ● Marche - Arrêt type interrupteur ● Marche - Arrêt type télérupteur ● Marche - Arrêt type télérupteur pour produits unidirectionnels ● Augmentation du niveau de variation ● Diminution du niveau de variation ● Variation sur bouton poussoir ● Forçage Arrêt ● Forçage Marche ● Marche temporisée ● Arrêt temporisé ● Scénario d'ambiance 25%, 50%, 75% ou 100% Stores / volets roulants 国 Montée type bouton poussoir 国 Descente type bouton poussoir 国 Montée - descente type bouton poussoir 国 Forçage Montée 国 Forçage Descente 国 Sécurité Intempéries Chauffage C Confort C Eco C Comfort / Eco C Hors gel STOP Forçage Arrêt O Forçage Comfort O Forçage Eco O Comfort temporisé O Eco temporisé Horloge ① Horloge maître ① Horloge esclave 国 Fonction Montée - Descente type interrupteur 国 Fonction Descente - Montée type interrupteur 国 Fonction Montée type interrupteur 国 Fonction Descente type interrupteur Interrupteur crépusculaire ① Interrupteur crépusculaire maître ① Interrupteur crépusculaire esclave Contrôleur d'ambiance 国 Zone d'affichage sur le contrôleur d'ambiance (1 à 4) 国 Fonction logique Toutes applications ? Aucune fonction ...国 Scénario d'ambiance 1 à 8
Notes
Notes
Notes
Notes
Hager Tehalit Systèmes SAS
132 Boulevard d'Europe
BP 78
F-67212 Obermai Cedex
www.hager.com
3.3 Suppression d'une entrée
 - Sélectionner l'entrée à supprimer, soit : - à l'aide des touches de gauche. - en appuyant sur le bouton de l'entrée Effectuer un appui long sur la touche ^ / 2 - Appuyer sur la touche écran OUI pour confirmer la suppression de l'entrée. i Lors d'une prochaine numérotation, les numérios supprimés dans cette opération seront réaffectés en priorité.Configuration
Création et gestion des liens
 4 Les canaux de sorties et d'entrées sont maintainant connus par le configurateur. La phase d'établissement des liens est dorénavant possible. Pour ce faire, Sélectionner le mode Prog.4.1 Création d'un lien simple
< Sélection d'uneentrée
Appuyer sur les touches de gauche pour afficher l'entrée à lien. Ou Actionner le bouton pouvoir ou l'interrupteur de l'entrée àlier. Le numero et la fonction de cette entrée s'affichent. < Sélection d'une sortie
Appuyer sur les touches de droite pour afficher la sortie àlier. Ou Si le numero de la sortie n'est pas connu, il existe 2 possibilités pour localiser physiquement une sortie :  Un appui court sur la touche commande directement la sortie affichée sur le configurateur. Dans le cas d'un éclairage tout ou rien, par exemple, un premier appui sur la touche allume la lampe correspondant à la sortie affichée sur le configurateur, un deuxième appui l'éteint. Pour les produits modulaires filaires, la led du canal correspondant à la sortie affichée sur le configurateur s'allume (uniquement en position manuel sur le module de sortie).  Pour les produits équipés d'un bouton pouvoir, un appui sur celui ci affiche son numéro sur le configurateur. Levoyant associé au canal sélectionné s'allume. < Validation d'un lien
- Effectuer un appui long sur la touche✔ pour valider le lien. Les caractéristiques du lien sont enregistrées dans le canal de sortie, d'entrée et sur la carte mémoire du configurateur.  A la fin de l'enregistrement, le symbole A confirme l'établissement du lien. < Saisie d'un paramètre évientuel
Certaines fonctions nécessitant la saisie d'un paramètre (ex : temporisation d'éclairage). - Effectuer un appui long sur la touche✔ pour afficher la liste des paramètres compatibles avec la fonction sélectionnée. Appuyer sur les touches ou pour selectionner ou regler le parametre. Appuyer sur la touche pour valider et enregistrer le lien.Configuration
4.2 Création d'un lien multiple
Le système permet delier une entrée à plusieurs sorties. Les étapes sont identiques à celles de la creation de lien simple mais la procEDURE est différente :  - Sélectionner une entrée. - Sélectionner une sortie. - Préparer le lien en effectuant un appui court sur la touche . - Sélectionner une autre sortie - Préparer le lien en effectuant un nouvel appui court sur la touche - Répéter la procédure pour chaque nouvelle sortie à lier. - Lorsque tous les liens ont eté préparés, valider les liens par un appui long sur la touche . Le configurateur invite à saisir évientuellesment un paramètre (durée de minuterie...). Ce paramètre sera identique pour toutes les sorties.  A l'issue de l'enregistrement l'anneau droit ⑤ indique le nombre de sorties liées à l'entree courante.4.3 Suppression d'un lien
 - Sélectionner l'entrée et la sortie concernées afin de faire apparaitre le lien à supprimer. - Effectuer un appui long sur la touche✔ pour supprimer le lien. Pour supprimer un lien multiple, il faut supprimer les liens de chaque sortie. Visualisation des liens
Appuyer sur la touche écran Visu pour sélectionner le mode visualisation.  Ce mode permet de voir l'ensemble des liens d'une installation. La visualisation des liens est possible : - par les entrées, en sélectionnant le N° ou en appuyant directement sur le bouton d'une entrée. Utiliser les touches de droite pour faire défiler les sorties liées à l'entrée courante. - par les sorties, en selectionnant le N^ ou en appuyant directement sur le bouton d'une sortie (si la sortie en est équipée). Utiliser les touches de gauche pour faire défiler les entrées liées à la sortie courante.Gestion, mesure et réglage
Dans cette utilisation du configurateur, il est possible d'acceder à l'ensemble des fonctions de gestion de mesure, simulation et de réglage. Pour acceder à ses fonctions :  Appuyer sur la touche ou sur la touche "accès au menu" pour afficher le menu. - Sélectionner la fonction désirée avec les touches ou. - Validator avec la touche La touche ^ permiet le return au menu precedent. Le menu permet d'acceder aux fonctions individues page suivante.  * Fonctions également accessible sans carte mémoireGestion, mesure et réglage
1 Retour usine (produit)
 Cette fonction permet de replacer un produit dans sa configuration usine. < Produkt de l'installation courante
La liste des produits connus de l'installation s'affiche : - Sélectionner un produit dans cette liste, soit : - à l'aide des touches ou - en appuyant sur le bouton d'une entrée. - en appuyant sur le bouton du canal de sortie s'il existe. Appuyer sur la touche Appuyer sur la touche écran OUI pour confirmer le "retour usine". < Produkt étranger à l'installation (Produit hors install.)
- Sélectionner "Produit hors install". Appuyer sur la touche ✓ pour valider. - Sélectionner le type du produit dans le menu proposé. - Suivre les instructions données par le configurateur. i Àprouss confirmation, l'ensemble des liens et des paramètres sont effacés du produit. 1 Un réapprentissage sera nécessaire pour configurer à nouveau le produit.2 Suppression
 Cette fonction permet desterolir un produit enregistré dans la carte mémoire sans le replacer dans sa configuration usine.  - Sélectionner un produit dans la liste, soit : - à l'aide des touches ou - en appuyant sur le bouton d'une entrée. - en appuyant sur le bouton du canal de sortie s'il existe. Appuyer sur la touche - Appuyer sur la touche écran OUI pour confirmer la "suppression". 1 Un "retour usine" puis un réapprentissage seront nécessaires pour configurer à nouveau le produit.3 Informations produits
  Cette fonction permet de visualiser les caractéristiques principales d'un produit de l'installation. La liste des produits de l'installation s'affiche : - Sélectionner un produit dans cette liste, soit : - à l'aide des touches ou - en appuyant sur le bouton d'une entree. - en appuyant sur le bouton du canal de sortie s'il existe. Appuyer sur la touche Les caractéristiques s'affichent. Appuyer sur la touche écran V pour revenir à la liste des produits. Pour les modules de volet ou store, la touche écran PARAM permet d'acceder à la sélection du temps de descente complet du volet ou du store.Gestion, mesure et réglage
4 Repéteur (produit)
  Cette fonction permet d'activer ou de désactiver la fonction repéteur dans un produit radio bidirectionnel. La liste des produits radio bidirectionnels de l'installation s'affiche : - Sélectionner un produit dans cette liste, soit : - à l'aide des touches ou - en appuyant sur le bouton d'une entrée. Appuyer sur la touche - Appuyer sur la touche écran OUI pour confirmer l'activation ou la désactivation de la fonction "répéteur".5 Adressage ETS
  Cette fonction permet : - de placer un produit radio bidirectionnel ou filaire en mode d'adressage physique (utilisation avec ETS). - d'activer l'émission par un produit radio unidirectionnel des informations nécessaires à ETS pour la configuration des produits. La liste des produits de l'installation s'affiche : - Sélectionner un produit dans la liste, soit : - à l'aide des touches ou - en appuyant sur le bouton d'une entree. - en appuyant sur le bouton du canal de sortie s'il existe. Appuyer sur la touche - Appuyer sur la touche écran OUI pour activer le "mode programmation".6 Téléchargement (produit)
  Cette fonction permet de forcer le téléchargeMENT d'un produit. - Sélectionner un produit dans la liste, soit : - à l'aide des touches ou - en appuyant sur le bouton d'une entree. - en appuyant sur le bouton du canal de sortie s'il existe. Appuyer sur la touche - Appuyer sur la touche écran OUI pour confirmer le "teléchargement".7 Retour usine (installation)
  Cette fonction permet d'effacer tous les produits bidirectionnels radio et filaire de l'installation. Ces produits sont remis en mode usine. Les produits unidirectionnels devront être effacés unitairement (voir 1. Retour usine (produit)). - Appuyer sur la touche écran OUI pour valider le "retour usine". i Un réapprentissage sera nécessaire pour configurer à nouveau l'installation.Gestion, mesure et réglage
8 Gestion carte
 Cette fonction permet d'effacer ou de copier le contenu d'une carte mémoire. < Effacement de la carte
- Appuyer sur la touche écran OUI pour effacer la carte. < Duplication de la carte
- Insérer la carte originale à copier. Appuyer sur la touche écran V pour dire la carte. - Insérer une carte vierge. - Appuyer sur la touche écran V pour copier les paramètres de l'installation.9 Appairage coupleur
 Cette fonction permet de selectionner un coupleur de media dans une installation.  - Sélectionner le coupleur de média à utiliser en appuyant sur le bouton de ce dernier jusqu'à l'allumage du voyant rouge (4 sec). - Relâcher le bouton Lorsque l'appairage est réalisé, un signal sonore retentit.10 Mise à jour carte
  Cette fonction permet d'effacer de la carte mémoire les produits non utilisés dans l'installation. Le nombre de produit n'ayantaucun lien s'affiche. Appuyer sur la touche écran OUI pour confirmer la mise a jour de la carte. Le configurateur effectue un "retour usine" des produits radio bidirectionnels et filaire non utilisés. Les produits radio unidirectionnels ne sont pas concernés par cette fonction.Gestion, mesure et réglage
11 Information installation
  Cette fonction donne des informations generales concernant l'installation.12 Téléchargement (installation)
  Cette fonction permet de forcer le télécharge-. ment de I'installation. - Appuyer sur la touche écran OUI pour confirmer le "teléchargement" de l'installation.13 Bruit ambient
  Cette fonction permet de détecter d'eventuels perturbateurs radio utilisant la même bande de fréquences que les produits de l'installation. Dés que la fonction est sélectionnée, un cycle de mesure démarre. A la fin du cycle, le configurateur affiche le niveau de bruit et reliance automatiquement une nouvelle mesure. - Appuyer sur la touche écran Stop pour stopper le cycle de mesure. - Appuyer sur la touche écran Start pour relancer le cycle de mesure. i La touche écran 山 permet le return à l'écran precedent.14 Emission / réception
  Cette fonction permet de mesurer la puissance d'émission d'un émetteur radio et la sensibilité de réception d'un récepteur. Uniquement accessible depuis le mode Prog par appui sur la touche La sensibilité de réception est affichée soit : - en mesure directe de l'émetteur vers le récepteur concerné. - en signal répété. Dans ce cas, la mesure indique la sensibilité du récepteur par rapport au signal venant d'un répéteur.Gestion, mesure et réglage
15 Trafic Konnex
 Cette fonction permet de mesurer le niveau radio émis par un émetteur Konnex quelconque.  Dès que la fonction est sélectionnée, un cycle de mesure démarre. A chaque réception de trame le configurateur affiche : - le numero de série du produit émetteur. - le niveau du signal. - le nombre total de trames reçues depuis le lancement du cycle de mesure. - le cas échéant, une alerte pile basse pour l'émetteur concerné. - Appuyer sur la touche écran Stop pour stopper le cycle de mesure. - Appuyer sur la touche écran Start pour reliancer le cycle de mesure. i La touche écran 山 permet le return à l'écran precedent.16 Repéteur (simulation)
 Cette fonction permet au configurateur de simuler la fonction répéteur afin de positionner correctement un répéteur dans l'installation.  Appuyer sur la touche pour lancer la simulation. - Appuyer sur la touche écran Stop pour la stopper.17 Entreee
  Cette fonction permet au configurateur de sesubstituer à une entrée. La dernière entree selectionnee en mode Num ou Prog s'affiche. Appuyer sur la touche pour simuler l'entrée. i La touche écran 一 permet le return à l'écran precedent.18 Mode expert/standard
  Cette fonction permet d'activer le mode expert. Dans la vue expert, les fonctions d'entrée et de sortie sont représentées au travers des objets de communication. - Appuyer sur la touche écran OUI pour activer ou désactiver le mode expert.Gestion, mesure et réglage
19 Date et heures
  Cette fonction permet le réglage de la date et de l'heure. Appuyer sur les touches de gauche pour passer d'un champ à l'autre. Appuyer sur les touches de droite pour augmenter ou diminuer la valeur du champ sélectionné. Appuyer sur la touche écran V pour valider. i La touche écran 一 permet le return à l'écran precedent.20 Acquittement sonore
  L'activation de l'acquittement sonore permet d'obtenir un bip de confirmation de certaines actions. - Appuyer sur la touche écran OUI pour activer ou désactiver "l'acquittement sonore".21 Langue
  La langue utilisée est selectionnée lors de la première mise en route. Il est toute fois possible de la modifier ultérieurement. - Sélectionner la langue à l'aide des touches ou. Appuyer sur la touche pour valider.22 Format d'adresse
  Cette fonction permet de régler le format d'affichage ou de saisie des adresses de groupe. - Appuyer sur la touche écran correspondante au format désiré. i La touche écran 山 permet le return à l'écran precedent.Gestion, mesure et réglage
23 Rétroéclairage
  Cette fonction permet d'activer ou de désactiver le rétroéclairage de l'afficheur. - Appuyer sur la touche écran OUI pour activer ou désactiver "le rétroéclairage".24 Appairage coupleur outil
 Cette fonction permet de définir un coupleur de media comme coupleur outil.  - Sélectionner le coupleur de média à utiliser en appuyant sur le bouton de ce dernier jusqu'à l'allumage du voyant rouge (4 sec). Relacher le bouton. Lorsque l'appairage est réalisé un signal sonore retentit.25 Mode ETS
  Cette fonction permet l'utilisation des adresses de groupe radio dans ETS. - Appuyer sur la touche écran OUI pour activer ou désactiver "le mode ETS". Par défaut le mode ETS est activé. Ainsi toute installation pourra être étendue avec ETS. La désactivation du mode ETS, change la zone d'adressage. Des installations réalisées en mode ETS désactivée ne pourront pas étéétendues. Rappel zone d'adressage de groupe : 24/4/00 à 27/7/255 Mode ETS désactivé (adresses non atteignables par ETS) 10/4/00 à 13/7/255 Mode ETS activé (par défaut)Annexes
| Application | Symbole | Type de commande |
| Eclairage | É | Allumage |
| ● | Extinction | |
| ● | Marche - Arrêt type interrupteur | |
| ● | Marche - Arrêt type télérupteur | |
| ● | Marche - Arrêt type télérupteur pour produits unidirectionnels | |
| ● | Augmentation du niveau de variation | |
| ● | Diminution du niveau de variation | |
| ● | Variation sur bouton poussoir | |
| ● | Forçage Arrêt | |
| ● | Forçage Marche | |
| ● | Marche temporisée | |
| ● | Arrêt temporisé | |
| ● | Scénario d'ambiance 25%, 50%, 75% ou 100% | |
| Stores / volets roulants | 国 | Montée type bouton poussoir |
| 国 | Descente type bouton poussoir | |
| 国 | Montée - descente type bouton poussoir | |
| 国 | Forçage Montée | |
| 国 | Forçage Descente | |
| 国 | Sécurité Intempéries | |
| Chauffage | C | Confort |
| C | Eco | |
| C | Comfort / Eco | |
| C | Hors gel | |
| STOP | Forçage Arrêt | |
| O | Forçage Comfort | |
| O | Forçage Eco | |
| O | Comfort temporisé | |
| O | Eco temporisé | |
| Horloge | ① | Horloge maître |
| ① | Horloge esclave | |
| 国 | Fonction Montée - Descente type interrupteur | |
| 国 | Fonction Descente - Montée type interrupteur | |
| 国 | Fonction Montée type interrupteur | |
| 国 | Fonction Descente type interrupteur | |
| Interrupteur crépusculaire | ① | Interrupteur crépusculaire maître |
| ① | Interrupteur crépusculaire esclave | |
| Contrôleur d'ambiance | 国 | Zone d'affichage sur le contrôleur d'ambiance (1 à 4) |
| 国 | Fonction logique | |
| Toutes applications | ? | Aucune fonction |
| ...国 | Scénario d'ambiance 1 à 8 |
Notice Facile