BOITIER MURAL FIL PILOTE - Thermostat ATLANTIC - Notice d'utilisation et mode d'emploi gratuit
Retrouvez gratuitement la notice de l'appareil BOITIER MURAL FIL PILOTE ATLANTIC au format PDF.
| Type de produit | Boîtier mural avec fil pilote |
| Caractéristiques techniques principales | Compatible avec les chauffages électriques et les thermostats |
| Alimentation électrique | 230 V - 50 Hz |
| Dimensions approximatives | 200 x 150 x 70 mm |
| Poids | 1,2 kg |
| Compatibilités | Compatible avec les systèmes de chauffage à fil pilote |
| Tension | 230 V |
| Fonctions principales | Gestion de la température, programmation horaire, mode éco |
| Entretien et nettoyage | Nettoyage avec un chiffon doux, ne pas utiliser de produits abrasifs |
| Pièces détachées et réparabilité | Disponibilité de pièces détachées auprès du fabricant |
| Sécurité | Conforme aux normes de sécurité électrique en vigueur |
| Informations générales | Installation recommandée par un professionnel pour garantir la sécurité et le bon fonctionnement |
FOIRE AUX QUESTIONS - BOITIER MURAL FIL PILOTE ATLANTIC
Questions des utilisateurs sur BOITIER MURAL FIL PILOTE ATLANTIC
Une LED éteinte sur votre boîtier mural fil pilote ATLANTIC peut indiquer plusieurs situations liées à l'alimentation ou au fonctionnement de l'appareil. Voici les principales causes possibles et les étapes à suivre pour diagnostiquer et résoudre ce problème :
1. Vérification de l'alimentation électrique
- Assurez-vous que le boîtier est correctement alimenté en électricité.
- Contrôlez le disjoncteur ou le fusible associé au circuit du boîtier et vérifiez qu'ils ne sont pas déclenchés ou grillés.
2. Contrôle des connexions électriques
- Inspectez les câbles et les connexions du boîtier pour détecter tout fil desserré, déconnecté ou endommagé.
- Un mauvais contact peut empêcher l'alimentation correcte et éteindre la LED.
3. Vérification du thermostat ou des commandes associées
- Si le boîtier est piloté par un thermostat ou un autre système de commande, assurez-vous que celui-ci fonctionne et est bien réglé.
- Un défaut sur le thermostat peut empêcher le boîtier de s'activer et donc la LED de s'allumer.
4. Réinitialisation du boîtier
- Débranchez le boîtier pendant quelques minutes, puis rebranchez-le pour tenter une réinitialisation.
- Cette opération peut résoudre certains dysfonctionnements temporaires.
5. Intervention professionnelle
Si après ces vérifications la LED reste éteinte, il est recommandé de contacter le service client ATLANTIC ou un électricien qualifié pour un diagnostic approfondi et une réparation éventuelle.
Téléchargez la notice de votre Thermostat au format PDF gratuitement ! Retrouvez votre notice BOITIER MURAL FIL PILOTE - ATLANTIC et reprennez votre appareil électronique en main. Sur cette page sont publiés tous les documents nécessaires à l'utilisation de votre appareil BOITIER MURAL FIL PILOTE de la marque ATLANTIC.
MODE D'EMPLOI BOITIER MURAL FIL PILOTE ATLANTIC
Programmation hebdomadaire avec Chronopass
Sommaire / Contents / Indices
NOTICE D'INSTALLATION INSTALLATION MANUAL MANUAL DE INSTALACION MANUAL DE INSTALAÇÃO
Caracteristiques / Conseils de pose P.2
Utilisation du Boitier mural P.5
Using the wall box P.14
Boitier mural et Carte de programmation P.7
L'installation doit être faite dans les règes de l'art et conforme aux normes en vigueur dans le pays d'installation (NFC 15100 pour la France).
I/ Caracteristiques Techniques
- Fixation murale dans boîte d'encastrement standard diam. 60mm/profondeur ≥ 40mm
- Dimensions : 143x80x28mm (installé).
- Indice de protection : IP20.
- Alimentation : secteur 230V/ 50Hz monophasé.
- Température de fonctionnement: 0^ + 40^
- Câblage : section 1,5mm² sans repiquage.
- Fil pilote : selon modèle, I ou 2 sortie(s) fil pilote 6 ordres selon standard GIFAM ; chacune peut piloter 15 apparéils de chauffage maximum.

Travaillez hors tension lors du raccordement.
II/ Conseils de Pose
Pour que l'affichage de la température soit représentatif de la température réelle d'ambiance, évitez d'inverter le boîtier mural sur un mur froid ou dans un courant d'air.
I/Otez le couvercle (modèle boîtier mural seul) ou l'ensemble couvercle + carte de programmation (modèle Kit I zone ou 2 zones).

2/Dévissez complètement la vis cruciforme située sous le boîtier mural.

3/Insérez un tournevis à bout plat dans le talon à côté de la vis, et faîtes levier pour ouvrir le boîtier mural. Séparez la partie打法e de la partie socle.


4/Présentez le socle et raccordez le Neutre (N), la Phase (L) et le Fil Pilote (FP). Dans le cas du modele 2 zones, il faut raccorder les 2 Fils Pilotes (FPZI et FP Z2).

Afin d'éviter la destruction du produit, respectez le schéma de câblage page 4.

5/Fixez le support dans la boite d'encastrement standard ( 0 60 mm et profondeur ≥ 40 mm).

6/Accrochez la face avant sur le socle et faîtes la pivoter à fond jusqu'à la verticale. Repositionnéz la vis de verrouillage.


7/Apres avoir programmé la carte (voir page 8), repositionnez, selon le modèle, le couvercle ou l'ensemble couvercle + carte de programmation.

III/ Schéma de câblage
Cas d'une installation sans Gestionnaire d'énergie:

Cas d'une installation avec Gestionnaire d'énergie:
Se reporter à la notice du Gestionnaire.
IV/ Mise en service
Ce produit autorise lechioix du mode par défaut en Confort ou en Eco. C'est le mode de return à la fin d'une temporisation uniquement en l'absence de carte de programmation.
A chaque mise sous tension, l'afficheur supérieur indique "Mod" et levoyant correspondant au mode par défaut mémorisé clignote rapidement. Pendant 10 secondes, il est possible de le modifier par appui sur la touche de changement de mode. A la fin des 10 secondes, le mode en cours est automatiquement enregistré comme nouveau mode par défaut et l'affichage "Mod" disparaît. A la première mise sous tension, le mode par défaut initial est Confort.

En fonctionnement normal, une commande de changement de mode peutmettre jusqu'à 30 secondes pour être appliquée sur les apparciels de chauffage de la zone.
V/ En cas de problèmes
| Problèmes rencontres | Vérifications à faire |
| Rien n'apparait sur la face avant (voyants et afficheurs éteints). | Vérifiez le câblage de l'installation (voir schéma page 4). |
| Les apparêls de chauffage ne suivant pas les ordres de programmation. | |
| L'activation de la fonction thermo-mètre affiche une température trop élevé ou trop BASSE. | Démontez la façon (voir page 3) et ajuster la molette d'étalonnage située à l'intérieur. |
UTILISATION DU BOITIER MURAL

Mode Confort: Il consiste à régler votre température sur chaque des molettes de vos apparêils de chauffage, afin qu'ils délivrent une température qui vous est/agréable, c'est-à-dire de comport. Il peut être permanent ou temporisé de 1h à 48h.
Mode Médio (ou Confort -1°C): Il représenté un abaisissement de la température dans vos pieces de -1°C par rapport à la température Confort. Il peut être permanent ou temporisé de 1h à 48h.
Mode Modéréto (ou Confort -2°C): Il représenté un abaisissement de la température dans vos pieces de -2°C par rapport à la température Confort. Il peut être permanent ou temporisé de 1h à 48h.
Mode Eco : Il représenté un abaisissement de la température dans vos pieces d'environ -3,5°C par rapport à la température Confort. Il peut être permanent ou temporisé de 1h à 48h.
Mode Hors Gel: Il fixe la température de vos pièces à environ 7^ . Il peut être permanent ou temporisé de l à 99 jours.
Mode Aération Il fixe la température de vos pièces à environ 7^
Exemple d'utilisation des modes:
Confort: lors de votre présence dans la maison.
Médio: lorsque vous quittez votre maison pour une absence de 2 heures.
Modéré: lorsque vous quittez votre maison pour une absence de 4 heures.
Eco: lorsque vous quittez votre maison pour une absence d'une journée de travail, pour la nuit ou encore, pour un week-end.
Hors Gel: lorsque vous quittez votre maison pour une période supérieure à 48h ou encore lorsque les beaux jours arrivent et que le chauffage doit être arrêté.
Aération: le temps d'érer votre maison.
Mise en fonction du changement de mode :
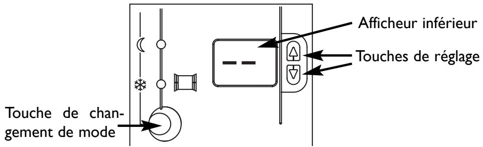
A l'aide du bouton de changement de mode, faites defiler le voyant que vous arrêtez sur le mode de votrechioix. Le voyant vert est alors fixe et l'afficheur inférieur clignote 2 secondes après.

Si vous souhaitez effectuer un mode permanent, laissez clignoter l'afficheur.
Si vous souhaitez effectuer un mode temporisé, à l'aide des touches, réglez le nombre d'heure ou de jours selon le mode choisi.
Exemple d'utilisation d'un mode permanent ou temporisé: Mode permanent : pour maintainir un mode identique toute la journée et tous les jours. Par exemple, lorsque la saison de chauffage se termine, maintenez le mode Hors Gel jusqu'à la prochaine saison.
Mode temporisé : pourmaintenir unetempérature selon la durée de vosereabsence.Parexample,la nuit,nous youssconseillons le mode Eco pour mieux dormir (la chaleur perturbe le repos).Si vous partezquelques jours en vacances,nousyoussconseillons deprogrammer la durée du mode Hors Gel de façon à ce qu'avertretour,vosretrouviez une température agréable.
Visualiser la température ambiente :
En appuyant simultanément sur les deux touches, vous allez pouvoir dire, à titre indicatif, la température mesurée par le boîtier mural à l'endroit où il se trouve.

Si vous constatiez un décalage entre la température affichée et votre thermomètre de référence, il est possible d'ajuster cet affichage au moyen de la molette située au dos de la façade. Pour y acceder, demontez la façade (voir page 3) et ajustez la molette d'étalonnage.

OPTIMISER SON CHAUFFAGE AVEC LA CARTE DE PROGRAMMATION
Elle permet d'automatiser le chauffage électrique en fonction de votre mode de vie. Toutefois, le boîtier mural vous laisse la possibilité de déroger momentanément au programme.
UTILISATION DU BOITIER MURAL AVEC LA CARTE DE PROGRAMMATION
La carte de programmation automatise les basculements dans les modes Confort et Eco. Ainsi, si vous âtes dans une période Confort, le voyageant vert reste fixe sur le mode Confort. Si vous âtes dans une période Eco, le voyageant vert reste fixe sur le mode Eco.
Dérogation au programme
Elle vous permet de suspendre temporairement la programmation en cours.
A l'aide de la touche de changement de mode, positionnez le voyant vert sur le mode souhaité (Confort, Medio, Modérato ou Eco). Ce voyageant clignote pour vous indiquer la sortie de la programmation habituelle et donc l'entrée en dérogation. Vous pouvez désirir la durée de la dérogation de 1h à 48h sur l'afficheur inférieur. En l'absence de durée, la dérogation durera jusqu'àu prochain changement de programme sur la carte de programmation.
Important: En cas deCHOix du mode Hors Gel, levoyant vert restefixe car ce mode est prioritaire par rapport à la programmation. Ildurera le nombre de jours choisis ou, a defaut, jusqu'au CHOix d'unautre mode.
CONFIGURER LA CARTE DE PROGRAMMATION

Un appui sur n'importe qu'elle touche ou le retrait de la carte de programmation hors du boitier mural fait apparaitre l'affichage sur l'écran, sauf si la carte a été mise en sécurité infant. A l'inverse, l'afficheur se met en veille automatiquement, après 4 minutes sans action sur les touches.
Comment régler le jour et l'heure. 58 20:30
Actionnez le navigateur ① vers le bas pour faire clignoter la zone de l'horloge.
Un appui sur la touche ② vous permet d'acceder au mode de réglage du jour. Par mouvement vers le haut ou le bas du navigateur ①, vous pouze ainsi faire défilier les jours. Validez le jour par un appui sur la touche ③ et procédez de la même façon pour le réglage de l'heure et des minutes.
Un appui sur la touche ③ valide le réglage de l'horloge (toute l'horloge clignote).
Vouspouvezactionnerle navigateur ① pouryouxdéplacervers uneautorezone,oufigerl'écranpar unappui surla touche ③
Comment programmer la carte 1 zone
Actionnez le navigateur ① dans le sens haut ou bas pour aller sélectionner le cadran horsaire à modifier (tout le cadran clignote). Un appui sur la touche ② vous permet d'acceder au cadran horsaire sélectionné (le premier créneau horsaire clignote).
Le navigateur ① permet de se déplacer dans le cadran. A chaque déplacement, l'objet selectionné clignote et lechioix ECO/CONFORT peut être modifié par appui sur la touche ②.
Un appui sur la touche ③ valide la programmation (tout le cadran horsaire clignote).
Vous pouvez actionner le navigateur ① pour vous déplacer vers une autre zone, ou figer l'écran par un nouvel appui sur la touche ③.
Affectation des jours à la programmation.
Actionnez le navigateur ① dans le sens haut ou bas pour aller sélectionner la zone des jours à modifier.
Un appui sur la touche ② vous permet d'acceder à la zone des jours à selectionner (le premier jour clignote).
Le navigateur ① permet de se déplacer sur les jours, à chaque déplacement l'élement sélectionné clignote. La sélection du jour
peut être modifiée par appui sur la touche ②. (dans l'exemple, J => heute sélectionné).
Un appui sur la touche ③ valide les jours.
Vous pouvez actionner le navigateur ① pour vous déplacer vers une autre zone, ou figer l'écran par un nouvel appui sur la touche ③.
Comment programme la carte 2 zones (selon modele).
Pour activer la deuxième zone, appuyez sur le navigateur vers l'intérieur de la carte.

Effectuez ensuite la programmation pour chaque zone (voir page 9, comment programmer la carte I zone).
Sécurité infant
Maintenez un appui sur la touche ③ puis appuyez sur la touche ② pourmettre la carte deprogrammation en sécurité infant (les touches sont alors inactives).
Procedez de la même façon pour réactiver la carte de programme.
Entretien
Le changement de la pile doit s'effectuer lorsque le symbole de la pile s'affiche (pile bouton CR 2032).


Mise en garde

Veillez à ne pas introduire d'objets étrangers dans le boitiér mural sans carte de programmation.
Notice Facile