DMV 24 V 24 KW - Chaudière gaz DEVILLE - Notice d'utilisation et mode d'emploi gratuit
Retrouvez gratuitement la notice de l'appareil DMV 24 V 24 KW DEVILLE au format PDF.
| Type d'appareil | Chaudière murale gaz instantanée |
| Alimentation | Gaz naturel ou propane |
| Puissance thermique | Non précisé |
| Type de combustion | Instantanée |
| Installation | Murale |
| Utilisation | Chauffage et eau chaude sanitaire |
| Contrôle | Électronique avec affichage digital |
| Dimensions | Non précisées |
| Poids | Non précisé |
| Normes | CE |
| Type de gaz | Gaz naturel ou propane |
| Rendement | Non précisé |
| Sécurité | Contrôle de flamme et sécurité gaz |
| Entretien | Recommandé annuel |
| Garantie | Non précisée |
FOIRE AUX QUESTIONS - DMV 24 V 24 KW DEVILLE
Questions des utilisateurs sur DMV 24 V 24 KW DEVILLE
Pour régler votre chaudière DEVILLE DMV 24 V 24 KW afin d'obtenir un chauffage optimal, suivez ces conseils pratiques :
1. Régler la température de l'eau de chauffage
Réglez la température de l'eau de chauffage entre 60°C et 70°C. Cette plage permet d'assurer un bon confort thermique tout en évitant une consommation excessive d'énergie.
2. Positionner et régler le thermostat d'ambiance
- Placez le thermostat dans une pièce représentative de votre logement, à l'écart des courants d'air, des fenêtres et des sources de chaleur.
- Réglez la température souhaitée sur le thermostat pour maintenir un confort constant.
3. Purger les radiateurs avant la saison de chauffage
Éliminez l'air emprisonné dans les radiateurs en les purgeant. Cela améliore la circulation de l'eau chaude et assure une diffusion homogène de la chaleur.
4. Vérifier la pression du circuit de chauffage
Contrôlez la pression de l'eau dans le circuit, qui doit généralement être comprise entre 1 et 1,5 bar. Si la pression est trop basse, ajoutez de l'eau conformément aux instructions spécifiques de votre installation.
5. Ajuster la puissance de la chaudière
Si votre modèle le permet, adaptez la puissance de la chaudière en fonction de la taille de votre habitation et de vos besoins en chauffage pour éviter une surconsommation.
6. Assurer un entretien régulier
Faites réaliser un entretien annuel par un professionnel qualifié. Un bon entretien garantit la sécurité, l'efficacité et la longévité de votre chaudière.
En appliquant ces réglages et bonnes pratiques, vous optimiserez le fonctionnement de votre chaudière DEVILLE DMV 24 V 24 KW pour un chauffage confortable et économique.
Pour baisser la pression d'eau sur votre chauffe-eau DEVILLE DMV 24 V 24 KW, vous pouvez suivre les étapes suivantes :
1. Vérifiez la pression actuelle
Consultez le manomètre intégré à votre appareil pour connaître la pression d'eau actuelle. Une pression trop élevée peut endommager le système.
2. Ajustez le robinet de remplissage
Si votre installation comporte un robinet de remplissage, tournez-le lentement dans le sens inverse des aiguilles d'une montre pour réduire la pression d'eau. Faites cet ajustement progressivement en surveillant le manomètre.
3. Contrôlez les vannes d'arrivée d'eau
Assurez-vous que les vannes d'arrivée d'eau ne sont pas complètement ouvertes. Une ouverture partielle peut aider à diminuer la pression si elle est trop élevée.
4. Vérifiez le réducteur de pression
Si votre installation est équipée d'un réducteur de pression, vérifiez son réglage. Il peut être nécessaire de l'ajuster ou de le remplacer si la pression reste trop élevée malgré les autres réglages.
5. Purgez le circuit si nécessaire
Dans le cas d'un circuit de chauffage, purger les radiateurs peut aider à équilibrer la pression globale du système.
En appliquant ces conseils, vous devriez pouvoir réduire la pression d'eau sur votre chauffe-eau DEVILLE DMV 24 V 24 KW de manière efficace et sécurisée.
Le code d'erreur E1 sur une chaudière DEVILLE DMV 24 V 24 KW indique généralement un problème lié à la détection de la flamme ou à un dysfonctionnement de sécurité.
Causes possibles du code E1 :
- Problème d'allumage ou électrodes défectueuses.
- Défaut de détection de la flamme par le système de sécurité.
- Problème d'alimentation électrique ou de connexion.
- Obstruction du brûleur ou mauvaise combustion.
- Problème de ventilation ou de circulation d'air insuffisante.
Étapes pour résoudre le code E1 :
- Vérifiez les électrodes : Même si vous les avez remplacées, assurez-vous qu'elles sont correctement positionnées et propres.
- Contrôlez le niveau d'eau : Un niveau d'eau incorrect peut empêcher la chaudière de fonctionner normalement.
- Inspectez les connexions électriques : Assurez-vous que tous les câbles et connecteurs sont bien fixés et en bon état.
- Nettoyez le brûleur : Enlevez toute saleté ou débris qui pourraient gêner l'allumage ou la combustion.
- Vérifiez la ventilation : Assurez-vous que les conduits d'air ne sont pas obstrués et que l'air circule correctement.
- Réinitialisez la chaudière : Effectuez une réinitialisation selon la procédure normale pour voir si le code disparaît.
Si, après ces vérifications, le code d'erreur persiste, il est recommandé de faire appel à un professionnel qualifié pour un diagnostic approfondi et une réparation sécurisée.
Téléchargez la notice de votre Chaudière gaz au format PDF gratuitement ! Retrouvez votre notice DMV 24 V 24 KW - DEVILLE et reprennez votre appareil électronique en main. Sur cette page sont publiés tous les documents nécessaires à l'utilisation de votre appareil DMV 24 V 24 KW de la marque DEVILLE.
MODE D'EMPLOI DMV 24 V 24 KW DEVILLE
CHAUDIERES MURALES GAZ Instantanées
DMC 24
DMV 24
NOTICE Installateur / Utilisateur / Chauffagiste

deville
INDEX
Pages
INFORMATIONS GENERALES
Avertissements généraux 1
Conformité du produit 3
CHARACTERISTIQUES TECHNIQUES
Données techniques 4
Dimensions d'encombrement 5 - 6
Vue d'ensemble des chaudières 7
Diagramme du circulator 8
Scheme hydraulique de principe 8
Carte électronique 9
Tableau de commande 9
INSTALLATION (technicien qualifié)
Avertissement général 10
Déballage 10
Fixation de la chaudière 10
Raccordements hydrauliques 11
Raccordement gaz 12
Branchements électriques 13
Raccordements des conduits de fuméesventouse 15
Montage des diaphragmes d'air régibles 22
Réglage des diaphragmes d'air réglables 24
MISE EN SERVICE (technicien qualifié)
Avertissements généraux 24
Remplissage de l'installation de chauffage 25
Mise en service de la chaudière 26
REGLAGE DE LA CHAUDIERE (technicien qualifié)
Tableau des paramètres 27
Programmation des paramètres 28
Réglage des pressions gaz 31
Tableau des données / pressions gaz 35
Transformation du type de gaz 36
ENTRETIEN (technicien qualifié)
Avertissements généraux 37
Contrôle de l'appareil 37
Accès à la chaudière 38
Vidange de l'installation de chauffage 39
Schémas électriques 40
Anomalies de fonctionnement 47
Diagnostic 50
INSTRUCTIONS POUR L'UTILISATEUR
Avertissements généraux 51
Tableau de commande 52
Allumage de la chaudière, modes de fonctionnement, réglage températures 53
Remplissage de l'installation 54
Diagnostic - Codes d'erreur 54
INFORMATIONS GÉNÉRALES
Avertissements généraux
L'installation de l'appareil doit se faire en conformité suivant les normes en vigueur, selon les instructions du constructeur et par du personnel professionnellement qualifié.
Par personnel professionnellement qualifié, on désigne le personnel ayant les connaissances techniques en matière d'installation et d'entretien des composants de système de chauffage et de production d'eau chaude sanitaire de type civil et industriel.
La mise en service de la chaudière et tout type d'intervention successive sur l'appareil doit être effectuels par un Centre d'Assistance Technique autorisé par la société DEVILLE THERMIQUE S.A., sous peine d'annulation de la garantie (voir certificat de mise en service).
ATTENTION : Cet apparéil devra être destiné à l'usage pour lequel il a été expressément construit : le chauffage et la production d'eau chaude sanitaire. Toute autre utilisation est à considérer impropre et par conséquent dangereuse. Le constructeur décline toute responsabilité aux termes du contrat et en dehors de ce dernier pour tout dommage causé aux personnes et aux biens par des erreurs d'installation ou d'utilisation, et dans tous les cas de non observation des normes nationales et locales en vigueur et des instructions données par le constructeur lui-même.
Le manuel d'installation, usage et entretien constitue une partie intégrante et essentielle du produit et doit toujours être fourni avec l'appareil.
Conserver ce manuel avec soin pour toute consultation future. En cas de vente de l'appareil ou de transfert de propriété à une autre personne, en cas de déménagement par exemple et si l'appareil resté dans l'immeuble où il a été installé, s'assurer que ce manuel reste avec l'appareil à la disposition du nouveau propriétaire et/ou de l'installateur.
Les avertissements contenus dans ce chapitre sont destinés aussi bien à l'utilisateur qu'au personnel qui sera chargé de l'installation et de l'entretien du produit.
L'utilisateurauralesinformationscoccernantlefonctionnementetleslimitesd'utilisationd'usage dansce manuel au chapitre « Instructions pour l'utilisateur »dontnous recommandons vivement la lecture.
Cet apparéil doit être utilisé exclusivement avec un système de chauffage central fermé muni d'un vase d'expansion.
- Àprous avoir été tout emballage, s'assurer de l'intégrité du produit. En cas de doute, ne pas utiliser l'appareil et s'adresser au fournisseur. Aucun emballage (boîte en carton, bois, clous, agrafes, sachets en plastique, polystyrene expansé, etc.) ne doit être laissé à la portée des enfants car tout emballage constitue une source potentielle de dangers.
Avant d'effectuer toute opération de nettoyage ou d'entretien, débrancher l'appareil du réseau électrique en agissant sur l'interrupteur de l'st installation et/ou au moyen des organes d'interruption spécifiques.
- Ne pas obstruer les grilles d'aspiration ou d'évacuation.
- Ne pas obstruer les embouts des conduits d'aspiration et/ou d'évacuation.
En cas de panne et/ou de mauvais fonctionnement de l'appareil, il convient de l'arrête et de s'abstenir de tout essai de réparation ou d'intervention directe. S'adresser exclusivement à un personnel professionnellement qualifié.
Toute eventuelle réparation du produit doit être effectuee exclusivement par un centre d'assistance technique autorisé par le constructeur et en utilisant exclusivement des pieces détaches d'origine. Le non-respect des clauses ci-dessus peut promprometre la sécurité de l'appareil. Pour garantir la sécurité de l'appareil et son bon fonctionnement, il est indispensable que l'entretien periodique soit effectue par du personnel professionnellement qualifié s'engageant à respecter les indications du constructeur.
Si on decide de ne plus utiliser l'appareil, il faudra rendre inutilisables les parties susceptibles de représentier des sources potentielles de danger.
Pour tout apparéil livre avec des options ou des kits (y compris les kits ou options électriques), seuls des accessoires originaux devront être utilisés.
■ En cas de décèlement de fuite de gaz dans les locaux où est installé l'appareil, ne pas actionner les interrupteurs électriques, téléphones ou tout autre appareil pouvant provoquer des étincelles. Ouvrir immédiatement les portes et les fenêtres pour creer un courant d'air. Fermer le robinet général du gaz (au compteur) ou la bonbonne de gaz, et demander l'intervention du service d'assistance technique.
S'abstenir d'intervenir personnellement sur l'appareil.
- Les installations de chauffage munies de vannes thermostatiques doivent être équipées d'un by-pass.
■ Selon les normes en vigueur, ces apparèils doivent être exclusivement installés par du personnel qualifié qui devra se conformer aux normes et mises à jour successives, ainsi qu'aux dispositions émanant des pompiers et de l'entreprise locale fournissant le gaz. Avant la mise en marche de la chaudière, il convient de contrôle que l'appareil est bien branché au réseau d'eau et au système de chauffage qui doit être conformes aux prestations de la chaudière. Les locaux devront être aérés au moyen d'une prise d'air (voir Normes en vigueur).
L'air indirect provenant de locaux adjacents peut etre utilise dans la piece a condition que la pression soit inférieure à la pression externe et qu'il n'y ait pas de cheminée a feu de bois ni de VMC. En cas de montage externe de la chaudiere, par ex.: sur un balcon ou terrasse, s assurer que cet espace n'est pas sujet aux agents atmosphériques afin d'eviter tout dommage aux composants, et l'annulation de la garantie que cela pourrait entrainer. Dans ce cas, il est conseillede construire un espace thermique protetegeant la chaudiere des intermperies.
Vérifier que les données techniques reportées sur l'emballage et sur la plaque signalétique de la chaudière correspondent et que la chaudière est équipée pour fonctionner avec le gaz raccordé.
S'assurer que les tuyaux et les raccordements sont en parfait état détanchéité et qu'il n'y a aucune fuite de gaz.
■ Nous conseillons d'effectuer un nettoyage des tuyaux afin desteroler tout residu pouvant comprometter le bon fonctionnement de la chaudiere.
- On peutvriment parler de sccurté électrique de l'appareil uniquely quand celui-ci est correctement branché à la terre et de façon satisfaisante et efficace, conformément aux normes en vigueur concernant la sécurité.
■ Il faut vérifier que cet aspect fondamental de la sécurité soit satisfait. En cas de doute, demander un contrôle soigné de l'installation électrique par du personnel professionnellement qualifié, puisque le constructeur ne peut être tenu responsable pour tout dommage causé par le manque de mise à la terre de l'appareil.
Faire vérifier par du personnel professionnellement qualifié que l'installation électrique est adaptée à la puissance maximum absorbée par l'appareil, reportée sur la plaque signalétique ; et s'assurer en particulier que le diamètre des câbles de l'installation est suffisante pour la puissance absorbée par l'appareil.
Aucun adaptateur, prise multiples et/ou rallonges ne sont autorisés pour le branchement électrique de l'appareil.
Pour le branchement au réseau, il convient de prévoir un interrupteur bipolaire ayant une distance d'ouverture d'au moins 3 mm, conformément aux normes de sécurité en vigueur.
L'utilisation de tout composant faisant recours à l'énergie électrique comporte l'application de quelques règles fondamentales, telles que:
Ne pas toucher l'appareil avec les parties du corps mouillées ou humides et/ou pieds nus.
- Ne pas tirer sur les cables électriques.
Ne pas laisser l'appareil exposé aux agents atmosphériques (pluie, soleil, etc.) à moins que cela ne soit expressément prévu.
Interdire l'utilisation de l'appareil aux enfants et aux personnes peu expertes.
Le cable de l'alimentation de l'appareil ne doit pas etre remplace par l'utilisateur.
■ En cas de cable endommagé, arrêtier l'appareil, et, pour son remplacement, contacter exclusivement un personnel professionnellement qualifié.
■ En cas de non utilise de l'appareil pendant un certain temps, il convient de couper l'alimentation électrique générale de la chaudière.
Conformité du produit
La société DEVILLE THERMIQUE S.A. déclare que les chaudières DMC 24 - DMV 24 sont fabriquées dans les règles de l'art et qu'elles ont obtenu la certification CE.
Les chaudières DMC 24 – DMV 24 sont en outre conformes aux directives suivantes :
DIRECTIVE GAZ 90/396/CEE pour la conformité CE
DIRECTIVE BASSE TENSION 2006/95/CEE
DIRECTIVE COMPATIBILITE ELECTROMAGNETIQUE 89/336/CEE
DIRECTIVE RENDEMENTS 92/42/CEE
Les matériaux utilisés tel le cuivre, le laiton, l'acier inox, créé un ensemble homogène et compact, mais sur tout fonctionnel, facile à installer et simple à utiliser. De part sa simplicité, la chaudière murale est fournie avec tous les accessoires aux normes nécessaires pour en faire une vraie centrale thermique indépendante, aussi bien pour le chauffage domestique que pour la production d'eau chaude sanitaire. Toutes les chaudières sont soumises à des essais et sont accompaniesées de certificat de qualité délivré par la personne chargée d'effectuer les essais ainsi que d'un certificat de garantie. Lire attentivement ce manuel, le conserver avec soin, et le laisser toujours à la disposition de l'utilisateur de la chaudière.
La société DEVILLE THERMIQUE S.A ne pourrait être tenue responsable de la non observation des instructions containues dans le present manuel ni des conséquences de toute intervention n'y étant pas spécifiquement décrite.
CHARACTERISTIQUES TECHNIQUES
Données techniques
| Modèles | DMC 24 | DMV 24 | |
| Certification CE | n° | 0694BL3037 | 0694BL3037 |
| Catégorie | II2H3+ | II2H3+ | |
| Type | B11BS | C12 C32 C42 C52 C82 | |
| Débit calorifique nominal | kW | 25.6 | 25.6 |
| Débit calorifique minimal | kW | 11.5 | 11.5 |
| Puisance nominale | kW | 22.66 | 23.81 |
| Puisance minimale | kW | 9.57 | 10.07 |
| Rendement thermique à 100% Pn | % | 88.5 | 93 |
| Rendement thermique à 30% | % | 85.5 | 90.4 |
| Marquage rendement énergétique (Directive 92/42/CEE) | étoiles | 1 | 3 |
| Circuit de chauffage | |||
| Température chauffage - Plage de réglage | °C | 30-80 / 25-40 | 30-80 / 25-40 |
| Température max. de service | °C | 80 | 80 |
| Capacité vase d'expansion installation | litres | 6 | 6 |
| Pression max. de service circuit chauffage | bar | 3 | 3 |
| Pression min. de service circuit chauffage | bar | 0.3 | 0.3 |
| Circuit sanitaire | |||
| Température sanitaire - Plage de réglage | °C | 35-60 | 35-60 |
| Pression max. de service circuit sanitaire | bar | 6 | 6 |
| Pression min. dynamique circuit sanitaire | bar | 0.5 | 0.5 |
| Prélèvement continu eau mélangée avec Δt 30° | litres/min | 10.82 | 11.37 |
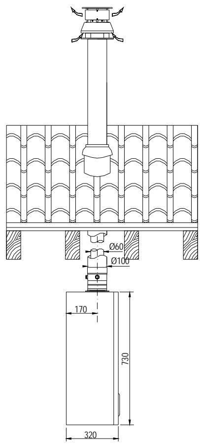
| Dimensions | |||
| Largeur | mm | 410 | 410 |
| Hauteur | mm | 730 | 730 |
| Profondeur | mm | 320 | 320 |
| Poids | kg | 35 | 36 |
| Raccordements hydrauliques | |||
| Entrée | Ø | 3/4" M | 3/4" M |
| Retour | Ø | 3/4" M | 3/4" M |
| Eau froide | Ø | 1/2" M | 1/2" M |
| Eau chaude | Ø | 1/2" M | 1/2" M |
| Raccord du gaz à la chaudière | Ø | 3/4 "M | 3/4" M |
| Raccordement du conduit d'évacuation des fumées | |||
| Système coaxial horizontal | Ø mm | 100/60 | |
| Longueur max. coaxiale horizontal | m | 6 | |
| Système coaxial vertical | Ø mm | 125/80 | |
| Longueur max. coaxiale vertical | m | 6 | |
| Diamètre conduit | Ø | 125 | |
| Hauteur minimum conduit | m | 1 | |
| Alimentation gaz | |||
| Méthane G20 - Gaz naturel | |||
| Pression d'alimentation | mbar | 20 | 20 |
| Débit combustible | m3/h | 2.69 | 2.69 |
| Méthane G25 - Gaz naturel | |||
| Pression d'alimentation | mbar | 25 | 25 |
| Débit gaz | m3/h | 3,15 | 3,15 |
| Propane G31 | |||
| Pression d'alimentation | mbar | 37 | 37 |
| Débit gaz | kg/h | 2.07 | 2.07 |
| Caracteristique électriques | |||
| Alimentation électrique | V/Hz | 230/50 | 230/50 |
| Puisance électrique absorbée | W | 75 | 125 |
| Dégré de protection électrique | IP | X5D | X5D |

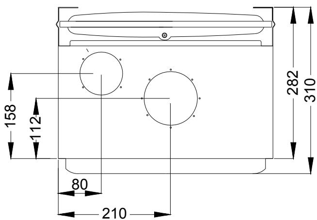
Dimensions d'encombrement- mod. DMC 24


| R | RETOUR CHAUFFAGE | Ø3/4” M |
| D | DEPART CHAUFFAGE | Ø3/4” M |
| G | ALIMENTATION GAZ | Ø3/4” M |
| EF | ENTREE EAU FROIDE | Ø1/2” M |
| EC | EAU CHAUBE SANITAIRE | Ø1/2” M |

Dimensions d'encombrement-mod. DMV 24


| R | RETOUR CHAUFFAGE | Ø3/4” M |
| D | DEPART CHAUFFAGE | Ø3/4” M |
| G | ALIMENTATION GAZ | Ø3/4” M |
| EF | ENTREE EAU FROIDE | Ø1/2” M |
| EC | EAU CHAUBE SANITAIRE | Ø1/2” M |
Vue d'ensemble des chaudières

Mod. DMC 24

Mod. DMV 24
LEGENDE
- ECHANGEUR DE CHALEUR
- CIRCULATEUR
- VANNE GAZ
- ROBINET DE VIDANGE
- VASE D'EXPANSION
- SOUPAPE DE SECURITE 3 BAR POUR CIRCUIT CHAUFFAGE
- ROBINET DE REMPLISSAGE
- BRULEUR
- SONDE CHAUFFAGE
- PRESSOSTAT EAU
- FLUSSOSTAT
- ROBINET DE VIDANGE
- SONDE SANITAIRE
- THERMOSTAT DE SURCHAUFFE 90^
- HOTTE EVACUATION FUMEES CHAMBRE OUVERTE
- HOTTE EVACUATION FUMEES CHAMBRE ETANCHE
- THERMOSTAT SECURITE FUMEES 80^
- CHAMBRE ETANCHE
- PRESSOSTAT AIR
- VENTILATEUR
- TRANSFORMATEUR D'ALLUMAGE
- MANOMETRE
- ELECTRODE ALLUMAGE
- ELECTRODE DE DETECTION
25.DISCONNECTEUR - Filtre + LIMITEUR DE DEBIT ENTREE EAU FROIDE
Diagramme du circulateur : débit (l/h) / hauteur manométrique (kPa)

Puisance disponible de pompe fonctionnant a vitesse max
Perte pression de chaudiere
Schéma hydraulique de principe

LEGENDE
- ECHANGEUR DE CHALEUR
- BRULEUR
- ELECTRODE D'ALLUMAGE
- ELECTRODE DE DETECTION
- THERMOSTAT DE SURCHAUFFE CHAUFFAGE
- VANNE GAZ ELECTRONIQUE
- VASE D'EXPANSION
- CIRCULATEUR
- PURGEUR D'AIR AUTOMATIQUE
- SOUPAPE DE SECURITE 3 BAR POUR CIRCUIT CHAUFFAGE
- MANOMETRE
- ROBINET DE REMPLISSAGE
- PRESSOSTAT EAU
- SONDE CHAUFFAGE
- SONDE SANITAIRE
- FiltRE + LIMITEUR ENTREE EAU FROIDE
- FLUSSOSTAT ELECTRONIQUE
- BY-PASS
- PRESSOSTAT AIR
- VENTILATEUR
- HOTTE EVACUATION FUMEES
22.DISCONNECTEUR - ROBINET DE VIDANGE
Carte électronique DIGITECH® série SM 20020
\section*{Caracteristiques techniques}
Réglages pour les techniciens
- Température standard / réduite
Protection anti coup de bélier - Temporisation Chauffage (0-7,5 min)
Temporisation Post-Circulation Chauffage - Puisance chauffage mini
- Puissance chauffage maxi
Réglages pour l'utilisateur
- Réglage Température Chauffage (30-80°C) - (25-40°C)
- Réglage Température Sanitaire (35-60°C)
- Fonction Été/ Hiver /Été-Hiver
Affichage
- Alarme blocage chaudière
- Pression eau normale
- Sécurité manque d'eau
- Température
Lorsque la chaudière est eteinte au moyen du bouton possoir marche/arrêt situé sur le tableau de commande, l'écran affiche « OFF » et le système anti-gel reste actif sur le chauffage à la condition que la chaudière reste alimentee en gaz et électricité. Si la chaudiere était en fonctionnement, elle s'eteint et les fonctions de post-ventilation, post-circulation, anti-blocage de la pompe et la vanne à trois voies restent actives.
Le contrôle à distance, s'il est branché, reste actif et allumé.
Tableau de commande
LEGENDE COMMANDES
- BOUTON POUSSOIR MARCHE/ARRET.
- SELECTEUR DE RÉGLAGE TEMPERATURE CHAUFFAGE.
- SELECTEUR DE RÉGLAGE TEMPERATURE SANITAIRE.
- TOUCHE
Si sonde extérieure raccordee : En chauffage = température eau chauffage
Appui sur 4 = affichage tempereature exterieure
Puis en restant appuyé 5 secondes = température eau sanitaire
Si pas de sonde extérieure :
En chauffage = température eau chauffage
Appui sur 4 = affichage de 2 tirets
Puis en restant appuyé 5 secondes = température eau sanitaire
Idem si chaudiere en mode sanitaire
- TOUCHESERVICE.
- TOUCHE SELECTION MODE ÉTÉ, HIVER OU ÉTÉ-HIVER.
- BORNIER POUR CÂBLAGES EXTERIEURS.
- ÉCRAN AFFICHAGE TEMPERATURES, CODES D'ERREUR ET CONDITIONS DE FONCTIONNEMENT.

INSTALLATION (technicien qualifié)
Avertissement général
- L'installation et la première mise en service de la chaudière, les branchements en eau, gaz et électricité doivent être réalisés par un installateur qualifié conformément aux règles de l'art et aux normes en vigueur.
Déballage
■ Il est conseilé de déballer la chaudière peu avant son installation. La Société ne répond pas des dommages causés à la chaudière en cas de conservation incorrecte du produit.
L'emballage est réalisé à partir de matérielaux recyclables individuellement.
■ Les éléments de l'emballage (sachets en plastique, polystyrene expansé, clous, etc.) ne doivent pas être laissés à la portée des enfants car ils constituent des sources potentiels de danger.
Explications fig.1
A. Placer la chaudière emballée sur le sol suivant schéma.
Oter les agrafes pour ouvrir le carton.
B. Basculer le carton verticalement en maintainant la chaudière.
C. Retirer le carton et les protections.

Fixation de la chaudière
L'appareil doit être installé exclusivement sur un mur vertical et solide qui en supporte le poids.
Pour pouvoir acceder à l'intérieur de la chaudière et effectuer les opérations d'entretien, il convient de respecter les distances minimum indiquées dans la fig. 2.

Il est recommendé de nettoyer l'installation (à l'aide d'un produit désemboute) pour éliminer les impuretés provenant des tuyaux et des radiateurs (en particulier les résidus huileux ou gras) afin de préserver l'échangeur et le circulateur.
S'assurer que les tuyaux pour l'eau et le chauffage ne soient pas utilisés comme prise de terre pour l'installation électrique. Ils ne sont absolument pas adaptés à cet usage.
Pour éviter vibrations et bruits dans les installations, ne pas employerer de tuyaux de petits diamètres, de coudes à angle réduit et éviter les réductions de diamètre trop importantes.
Circuit sanitaire
La pression de l'eau froide en entrée doit être comprise entre 1 et 6 bar.
Il est indispensable d'incluter un réducteur de pression en amont de la chaudière si la pression d'alimentation est supérieure à 6 bar.
La fréquence de nettoyage du serpentin d'échange sanitaire dépend de la durée de l'eau d'alimentation et de la présence de résidus solides ou d'impuretés se trouvant souvent dans les nouvelles installations. En fonction des caractéristiques de l'eau d'alimentation, il est conseilé dinstaller des appareils spécifique pour le traitement de l'eau, alors que pour la présence d'eventuels résidus, il est conseilé d'inverter un filtré en amont.
Circuit de chauffage
Relier la soupape de sécurité du circuit chauffage à une évacuation. La société Deville Thermique n'est pas responsable de toute éventuelle inondation due à l'ouverture du clapet de sécurité en cas de suppression de l'installation.

| R | RETOUR CHAUFFAGE | Ø3/4” M |
| D | DEPART CHAUFFAGE | Ø3/4” M |
| G | ALIMENTATION GAZ | Ø3/4” M |
| EF | ENTREE EAU FROIDE | Ø1/2” M |
| EC | EAU CHAUBE SANITAIRE | Ø1/2” M |

Raccordement gaz
Le branchement doit être réalisé par du personnel professionnellement qualifié conformément aux normes en vigueur.
Avant d'effectuer l'installation de la chaudière, vérifier les points suivants :
La tuyauterie doit avoir un diamètre adapté à sa longueur et au débit gaz de la chaudière ; elle doit également être équipée de tous les dispositifs de sécurité et de contrôle conformément aux normes en vigueur.
La fourniture de gaz doit etre conforme aux normes et dispositions en vigueur.
- Contrôler l'étanchéité interne et externe de l'installation d'entrée du gaz.
■ Installer un robinet de coupure du gaz en amont de la chaudière.
La tuyauterie d'alimentation du gaz doit avoir un diamètre supérieur ou égal à celui de la chaudière.
Avant l'allumage, vérifier que l'appareil soit bien alimenté par le type de gaz pour lequel il a eté prévu (voir la plaque signalétique du type de gaz située à l'intérieur de la chaudière).
La pression de l'alimentation du gaz doit etre comprise entre les valeurs reportees sur la plaque signaletique (voir la plaque signaletique du type de gaz située a l'intérieur de la chaudiere).
Avant l'installation de l'appareil, il est nécessaire de s'assurer que le tuyau du gaz ne contienne pas de résidus.
La transformation gaz pour passer du gaz methane au G.P.L. (et inversement) doit etre effectue par du personnel qualifie selon les normes en vigueur.
N.B. Le branchement au gaz doit se faire au moyen d'un joint plat dont la taille et le matériel de construction sont adaptés au type de gaz fourni à la chaudière. Il est interdit d'utiliser du chanvre, du ruban en téléfon ou autre de même nature.
Branchements électriques
Avertissements généraux
Le branchement doit être réalisé par du personnel professionnellement qualifié conformément à la réglementation en vigueur.
La chaudière fonctionne avec du courant alternatif de 230 V et 50 Hz et une puissance absorbée électrique maximum de 125 W. le branchement au réseau électrique doit être effectué au moyen d'un disjonteur différentiel adapté. Il faut impérativement respecter la polarité phase/neutre de ce branchement, dans le cas contraire la chaudière se mettra en défaut (voir évientuelles le schéma électrique générale de la chaudière)
L'appareil doit être raccordé à la terre suivant les normes de sécurité en vigueur (voir normes C15-100); il faut absolument vérifier que cette condition fondamentale de sécurité soit garantie. En cas de doute, faire contrôle l'installation électrique par du personnel professionnellement qualifié, le constructeur ne pourra être tenu responsable de tout dommage éventuel causé par un manque de mise à la terre de l'installation.
Faire vérifier par du personnel professionnellement qualifié que l'installation électrique est adaptée à la puissance maximum absorbée par l'appareil, selon les indications reportées sur la plaque signalétique, ennant une attention particulière au diamètre des cables qui doit être adapté à la puissance absorbée de l'appareil.
L'utilisateur ne doit en aucune façon remplaçer le cable d'alimentation de l'appareil. En cas de dommage du cable, eteindre l'appareil, et, pour son remplacement, s'adresser exclusivement a du personnel professionnellement qualifié.
En cas de remplacement du cable electrique d'alimentation, utiliser exclusivement des cables ayant les mêmes caractéristiques (HO5 VV-F 3x1) et un diamètre extérieur maximum de 1.5mm .
L'utilisation de tout composant électrique comporte l'application de quelques règles fondamentales, telles que:
ne pas toucher l'appareil avec des parties du corps mouillées et/ou humides et/ou a pieds nus;
ne pas tirer sur les cables electriques;
ne pas laisser l'appareil exposé aux agents atmosphériques (pluie, soleil, etc.) à moins que cela ne soit expressément prévu ;
ne pas permettre que l'appareil soit utilise par des enfants ou des personnes non expertes ;
Accès aux branchements du tableau de commande
Pour acceder aux branchements électriques du tableau de commandes, proceder comme suit (fig.3):
retirer le panneau avant (voir paragraphe "Accès à la chaudiere" page 38)
- saisir simultanément les équres du tableau de commandes et en les écartant (1), ouvrir le panneau en le faisant tourner vers le bas (2)
- dévisser les quatre vis et-retirer le capot (3)

fig.3
Alimentation électrique
Brancher les cables au bornier se trouvant à l'intérieur du tableau de commande de la façon suivante :
a. Couper l'alimentation avec le bouton pouvoir marche/arrêt
b. Retirer le panneau avant de la chaudière
c. Dévisser les vis etPTRirer le couvercle A (voir fig.4)
d. Une fois le couvercle retire, effectuer les branchements suivants sur le bonier B:
Cable de terre: de couleur jaune/vert à la borne portant le symbole de la terre " 12 "
Cable de neutrte : de couleur bleu clair a la borne portant la lecture "N"
Cable de phase : de couleur marron à la borne reportant la lecture “L”
Les bornes marquées: Ta Thermostat d'ambiance (en option)
Se Sonde extérieure (en option)
Après cette opération, remonter le couvercle et le panneau avant.

fig. 4
Raccordements des conduits de fumées ventouse
Avertissements généraux sur l'installation des conduits
■ Afin de garantir un fonctionnement parfait et une efficacité totale de l'appareil, il est indispensable de raccorder l'évacuation des fumées de la chaudière en utilisant les accessoires d'origine, spécifiques pour chaudières à ventouse.
En cas d'évacuation horizontal : le conduit coaxial (évacuation-aspiration) doit dépasser du mur extérieur de 18mm minimum permettant de positionner la rosace et d'éviter ainsi les infiltrations d'eau.
La position du conduit doit respecter une pente minimum descendante vers l'extérieur de 1 cm par metre de longueur.
N.B. Il n'est pas possible d'utiliser les accessoires traditionnels de raccordement d'évacuation des fumées des chaudières à ventouse traditionnelle pour des chaudières à condensation et vice versa.
Voir configurations et schémas d'évacuation des fumées pages 17-18-19-20.
Implantation des terminaux de ventouse
Pour l'implantation des terminaux ventouse, se conformer en tout etat de cause aux normes en vigueur (DTU 61.1.P4)
| Exemples de distances minimales à respecter pour la mise en place des terminaux deventouse (en mètres) Se réfééré au DTU 61.1 P4. | ||
| A | Sous un ouvrant | 0.40 |
| B | Sous un orifice de ventilation | 0.60 |
| C | Sous un rebord de toit ou une gouttière | 0.30 |
| D | Sous un balcon | 0.30 |
| E | D'un ouvrant adjacent | 0.40 |
| F | D'un orifice de ventilation adjacent | 0.60 |
| G | De tubes d'évacuation verticaux ou horizontally | 0.30 |
| H | D'un angle de bâtiment | 0.30 |
| I | D'un mur en angle rentrant | 1.00 |
| L | Du sol avec terminal sans protection / avec protection (grille) * | 1.80 / 0.30 |
| M | Entre deux terminaux verticaux | 1.50 |
| N | Entre deux terminaux horizontally | 1.00 |
| P | D'une haie ou plantation | 2.00 |

REMARQUES
- Les terminaux débouchant directement sur une voie de circulation extérieure doivent être munis de déflecteur inamovible conférant aux produits de combustion evacués une direction la plus parallète au mur possible.
Les terminaux doivent être placés sur les murs extérieurs du bathtub tout en respectant les distances minimales reportées dans le tableau ci-dessus. Il est indispensable de garantir que les gaz de combustion sortant de laventouse ne soient pas refoulés dans le bathtub ou dans un autre bathtub adjacent par des ventilateurs, fenêtes, portes, infiltrations naturelles d'air ou climatiseurs. Si un de ces cas devant se vérifier, eteindre immédiatement la chaudière et appeler l'installateur.
Système d'évacuation des fumées coaxial horizontal 60/100 orientable à 360^ . Il permet d'évacuer les fumées et de prendre de l'air depuis le mur extérieur.

Il est adapté uniquement aux chaudières à ventouse. Il permet d'évacuer les gaz de combustion et d'aspirer l'air pour la combustion au moyen de deux conduits coaxiaux, un conduit extérieur Ø100 pour l'aspiration de l'air et un conduit interieur Ø60 pour l'évacuation des fumées. Ce conduit peut évacuer les fumées directement à l'extérieur (sauf règlement local contraire) ou peut être raccordé à un conduit de fumée collectif. (3 CE)
LONGUEUR MAXIMUM D'EVACUATION : 6 m.
La longueur maximum d'évacuation (ou développement linéaire de référence) s'obtient en ajoutant la mesure des tubes linéaires et l'équivalent de chaque coude supplémentaire.
Par développement linéaire de référence on désigne la longueur totale des tubes d'évacuation depuis le raccordement de l'appareil sur la chambre étanche à l'exclusion du premier coude.
Pour chaque coude supplémentaire, il faut ajouter comme suit :
coude 60/100 à 90^ = 1 m
coude 60/100 à 45^ = 0.5 m
N.B.: POUR L'EVACUATION DES FUMEES ET L'ASPIRATION D'AIR, MONTER UNIQUEMENT DES SYSTEMES D'EVACUATION HOMOLOGUES DEVILLE THERMIQUE. POUR LE REGLAGE ADOpter UNIQUEMENT LES DIAPHRAGMES D'AIR REGLABLES HOMOLOGUES DEVILLE THERMIQUE (LES FICHES TECHNIQUES DE REGLAGE SONT INSEREEES DANS LES KITS INDIVIDUELS DES FUMEES).


Système d'évacuation des fumées coaxial horizontal Ø 125/80.
Il permet l'évacuation les fumées et la prise d'air du mur externe.

Il est adapté uniquement pour les chaudières à ventouse. Il permet d'évacuer les gaz de combustion et d'aspirer l'air pour la combustion au moyen de deux conduits coaxiaux, un conduit extérieur Ø125 pour l'aspiration de l'air et un conduit interieur Ø80 pour l'évacuation des fumées.
Ce conduit peut évacuer les fumées directement à l'extérieur, sauf réglements locals, ou peut être raccordé à un conduit de fumée collectif (3CE).
LONGUEUR MAXIMUM D'ÉVACUATION : 16 m
La longueur maximum d'évacuation (ou développement linéaire de referencia) s'obtient en ajoutant la mesure des tubes linéaires et l'équivalent de chaque coude supplémentaire.
Par développement linéaire de reférence, on désigne la longueur totale des tubes (evacuation + aspiration) depuis le raccordement de l'appareil sur la chambre étanche à l'exclusion du premier coude.
Pour chaque coude supplémentaire, il faut ajouter comme suit : coude 0125/80 à 90^ = 1.0 m coude 0125/80 à 45^ = 0,5 m
N.B.: POUR L'ÉVACUATION DES FUMÉES ET L'ASPIRATION DE L'AIR, N'UTILISER QUE DES SYSTÉMES HOMOLOGUES DEVILLE THERMIQUE. POUR LE RÉGLAGE, N'ADOPTER QUE LES DIAPHRAGMES RÉGLABLES HOMOLOGUES DEVILLE THERMIQUE (Les fiches techniques de réglage se trouvent dans les kits fumées).


Système d'évacuation des fumées de type coaxial Ø 125/80.
Permet d'évacuer les fumées et cree une prise d'air directe du toit.

Il est adaptable uniquement aux chaudières à ventouse.
Il permet d'évacuer les gaz de combustion et d'aspirer l'air pour la combustion au moyen de deux conduits coaxiaux, un conduit extérieur Ø125 pour l'aspiration de l'air et un conduit interieur Ø80 pour l'évacuation des fumées.
LONGUEUR MAXIMUM D'EVACUATION : 16 m.
La longueur maximum d'évacuation (ou développement linéaire de référence) s'obtient en ajoutant la mesure des tubes linéaires et l'équivalent de chaque coude supplémentaire.
Par développement linéaire de référence on désigne la longueur totale des tubes d'évacuation depuis le raccordement de l'appareil sur la chambre étanche à l'exclusion du premier coude.
Pour chaque coude supplémentaire, il faut ajouter comme suit :
coude 080/125 à 90^ = 1 m
coude 080/125 à 45^ = 0,5m
N.B.: POUR L'EVACUATION DES FUMEES ET L'ASPIRATION D'AIR, MONTER UNIQUEMENT DES SYSTEMES D'EVACUATION HOMOLOGUES DEVILLE THERMIQUE.
POUR LE REGLAGE ADOPTER UNIQUEMENT LES DIAPHRAGMES D'AIR REGLABLES HOMOLOGUES DEVILLE THERMIQUE (LES FICHES TECHNIQUES DE REGLAGE SONT INSEREES DANS LES KITS INDIVIDUELS DES FUMEES).


Système d'évacuation des fumées de type coaxial Ø 100/60.
Permet d'évacuer les fumées et cree une prise d'air directe du toit.

Il est adaptable uniques chaudières à ventouse.
il permet d'évacuer les gaz de combustion et d'aspirer l'air pour la combustion au moyen de deux conduits coaxiaux, un conduit extérieur Ø100 pour l'aspiration de l'air et un conduit interieur Ø60 pour l'évacuation des fumées.
LONGUEUR MAXIMUM D'EVACUATION : 6 m.
La longueur maximum d'évacuation (ou développement linéaire de référence) s'obtient en ajoutant la mesure des tubes linéaires et l'équivalent de chaque coude supplémentaire.
Par développement linéaire de référence on désigne la longueur totale des tubes (evacuation + aspiration) depuis le raccordement de l'appareil sur la chambre étanche à l'exclusion du premier coude.
Pour chaque coude supplémentaire, il faut ajouter comme suit :
coude 060/100 à 90^ = 1,0m
coude 060/100 à 45^ = 0,5 m
N.B.: POUR L'EVACUATION DES FUMEES ET L'ASPIRATION D'AIR, MONTER UNIQUEMENT DES SYSTEMES D'EVACUATION HOMOLOGUES DEVILLE THERMIQUE.
POUR LE REGLAGE ADOPTER UNIQUEMENT LES DIAPHRAGMES REGLABLES HOMOLOGUES DEVILLE THERMIQUE (LES FICHES TECHNIQUES DE REGLAGE SONT INSEREES DANS LES KITS INDIVIDUELS DES FUMEES).


Montage des diaphragmes d'air réglables
- Système coaxial (coaxial horizontal ou coaxial vertical)
Les diaphragmes d'air réglables pour le système coaxial doivent être montés sur la flasque d'inspection des fumées.
Pour le montage, proceder comme suit (voir fig.5):
- nettoyer la surface de la flasque d'inspection des fumées
- placer le joint en néoprène en prenatal soit de faire coïncider les trous pré-découpés du joint avec ceux de la flasque d'inspection des fumées
- placer les diaphragmes régiables dans l'ordre suivant : d'abord le diaphragme inférieur avec l'échelle graduée, puis le diaphragme supérieur avec l'indice de referencia
- ajouter le coude ou le raccord coaxial selon le système coaxial d'évacuation adopté
fixer le tout au moyen des vis auto-taraudeuses fournies avec le kit fumées - terminer l'installation du système d'évacuation des fumées
N.B.: Ne serrer à fond les vis qu'après avoir régle les diaphragmes (voir pages 22-23).

Réglage des diaphragmes
- Kit A - évacuation coaxiale horizontally Ø 100/60
- Kit C3 - évacuation coaxiale verticale Ø 100/60

| LONGEUR D'EVACUATION (Développe linéaire de référence) | chaudière DMV 24 |
| de 0.5 à 2 m | 1 1 1 2 3 4 5▲ |
| de 2 à 3 m | 1 1 1 2 3 4 5▲ |
| de 3 à 5 m | 1 1 1 2 3 4 5▲Retirer tous les prédécoupages |
| de 5 à 6 m | 1 1 1 2 3 4 5Retirer tous les prédécoupages |
| LONGEUR MAXIMALE D'EVACUATION | 6 m |
Kit G - évacuation coaxiale horizontally 125/80
- Kit C2 - évacuation coaxiale verticale Ø 125/80

| LONGEUR D'EVACUATION (Développé linéaire de référence) | chaudière DMV 24 |
| de 0.5 à 1 m | 1 1 1 2 1 1 3 1 1 4 1 1 5▲ |
| de 1 à 3 m | 1 1 1 2 1 1 3 1 1 4 1 1 5▲ |
| de 3 à 5 m | 1 1 1 2 1 1 3 1 1 4 1 1 5▲ |
| de 5 à 6 m | 1 1 1 2 1 1 3 1 1 4 1 1 5▲ |
| de 6 à 7 m | 1 1 1 2 1 1 3 1 1 4 1 1 5▲ |
| de 7 à 9 m | 1 1 1 2 1 1 3 1 1 4 1 1 5▲ |
| de 9 à 10 m | 1 1 1 2 1 1 3 1 1 4 1 1 5▲Retirer tous les prédécouages |
| de 10 à 12 m | 1 1 1 2 1 1 3 1 1 4 1 1 5▲Retirer tous les prédécouages |
| de 12 à 14 m | 1 1 1 2 1 1 3 1 1 4 1 1 5▲Retirer tous les prédécouages |
| de 14 à 16 m | Pas de diaphragmes |
| LONGEUR MAXIMALE D'EVACUATION | 16 m |
MISE EN SERVICE (technicien qualifié)
Avertissements généraux
Les opérations décrites ci-après doivent être effectuées par du personnel professionnellement qualifié conformément aux dispositions des normes en vigueur.
La chaudière sort de l'usine après des réglages et des essais réalisés avec le gaz métane ou G.P.L. Durant la phase du premier allumage, il faut vérifier que les données reportées sur la plaque signalétique correspondent bien au type de combustible qui l'almente.
A la fin des opérations de replissage et de réglage, vérifier le serrage des vis des prises des pressions mesurées. Il faut également vérifier qu'il n'y a pas de fuite de gaz sur le circuit gaz, aussi bien dans la chaudière qu'en冲动 de cette ci.
Dans le cas d'une nouvelle installation Gaz, l'air se trouvant dans la tuyauterie pourrait empêcher l'allumage de la chaudière lors le premier essai de mise en service. Dans ce cas, effectuer plusieurs essais d'allumage afin de purger l'air de la canalisation gaz.
Opérations préliminaires
A la mise en service de la chaudière il convient de contrôle son installation, réglage et fonctionnement, et en particulier :
S'assurer que le type du gaz soit le même que celui pour lequel la chaudière a ete essaye et reglee (voir plaque signaletique).
Vérifier que les autres données reportées sur la plaque signalétique correspondent également (électricité, eau).
Vérifier la tension d'alimentation de 230V - 50Hz ainsi que la polarité phase/neutre, s'assurer que l'appareil ait une bonne mise à la terre.
Vérifier l'étanchéité de l'alimentation gaz.
Ouvrir le robinet du gaz de la chaudière et vérifier l'absence de fuite depuis les raccordements en amont de la chaudière (verifier le raccordement du gaz au brûleur quand la chaudière fonctionne).
Vérifier que la capacité de l'installation de fourniture de gaz soit compatible avec la puissance nécessaire à la chaudière et que cette fourniture comprendne tous les dispositifs de sécurité et de contrôle prescrits par les normes en vigueur.
Vérifier que l'adduction de l'air comburant et l'évacuation des fumées et des condensats soient conformes aux normes nationales et locales en vigueur.
Vérifier que les ouvertures d'aération/ventilation permanentes soient prsentes et de dimensions adéquates selon les normes s'appliquant aux apparciels installés.
Vérifier que le conduit d'évacuation des fumées soit bien raccordé au conduit principal et que l'ensemble soit conforme aux normes nationales et locales s'appliquant aux apparciels installés.
Vérifier que la système d'évacuation des fumées soit parfaitement étanche.
Contrer qu'il n'y ait pas de liquides ou de materiaux inflammables à proximé de la chaudière.
S'assurer que toute éventuelle vanne placée sur l'installation de chauffage soit ouverte.
Remplissage de l'installation de chauffage

Afin de prévenir la formation de dépôts calcaires et tout dommage à l'échangeur sanitaire, l'eau d'alimentation sanitaire ne doit pas partager une durée inférieure à 10^ et supérieure à 25^ . Dans tous les cas, il est conseilé de contrôler les caractéristiques de l'eau et d'inlocker tout dispositif nécessaire au traitement de l'eau.

Pour replir l'installation, utiliser uniquement de l'eau propre du réseau.
Après avoir effectué les raccordements hydrauliques, fermer le robinet du gaz et procéder au remplissage de l'installation comme suit :
- contrôler que le circulateur ne soit pas bloqué;
- contrôle que le bouchon du purgeur du circulateur soit légèrement desseré pour permettre à l'air de sortir (fig.7);
ouvrir le robinet général d'entrée de l'eau sanitaire;
ouvrir également le robinet de replissage R (fig.8); - dévisser le bouchon du circulator pour éliminer toute eventuelle bulle d'air et le refermerès que l'eau en sort ;
purger le corps deCHAUFFE de la chaudiere à l'aide du purgeur situé en haut à gauche du corps de chauffe en dévissant légèrement le purgeur; le refermer après la purge d'air;
ouvrir les purgeurs des radiateurs et controller le processus d'élimination de l'air. Fermer les purgeurs des radiateurs lors que de l'eau en sort
au moyen du manomètre M (fig.8), contrôler que la pression de l'installation soit de 1 bar et que le code H20 n'apparaisse pas sur l'écran du tableau de commande; - si après les opérations décrites plus haut, on relève une baisse de pression, ouvrir à nouveau le robinet de replissage R jusqu'à ce que la pression du manomètre indique 1 bar et que le code H20 disparaisse de l'écran du tableau de commande;
- à la fin de cette opération, s'assurer que le robinet de replissage R soit bien fermé.


Mise en service de la chaudière
Une fois le remplissage effectué, procéder comme suit :
- Contrôler que rien n'obstrue le conduit d'évacuation des fumées et que ce dernier soit bien branché au système d'évacuation des fumées (modèle DMC 24) ou que le conduit ventouse soit bien étanche (modèle DMV 24).
- Vérifier en priorité que le type de gaz alimentant la chaudière soit conforme au type de gaz indiqué sur la plaque signalétique de la chaudière (G20, G25, G31). Si tel n'est pas le cas, procédér à la transformation gaz (voir page 36).
-
Effectuer un contrôle de la pression gaz d'alimentation à l'aide d'un manomètre gaz :
-
mesure la chaudière en position arrêt (OFF) à l'aide du bouton poussoir 1.
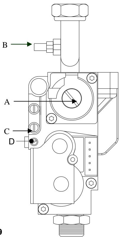
- ouvrir la prise de pression C (voir fig.9) du bloc gaz et y relier le manomètre.
ouvrir le robinet du gaz. - allumer la chaudière en appuyant sur le bouton poussoir n^1 et vérifier la pression d'alimentation gaz (G20: 20 mbar - G25: 25 mbar - G31: 37 mbar).
- arrêté la chaudière en appuyant sur le bouton poussoir 1(OFF).
- fermer le robinet gaz, enlever le manomètre et fermer la prise de pression C (voir fig.9).

fig.9
- Proceder aux vérifications et régles des paramètres (voir pages 27 à 34).
Appuyer sur le bouton poussoir 1 pour demarrer la chaudière. - Appuyer sur le bouton 6 pour selectionner le mode ETÉ / HIVER.
- Le système d'allumage automatique allumera le brûleur et par défaut, répétera l'opération 3 fois. Si la chaudière n'est toujours pas allumée à la fin de ces essais, affichage défaut E 01. Purger la canalisation gaz et répéter l'opération d'allumage. Pour répéter l'opération d'allumage, attendre environ trois minutes entre chaque essai, puis réarmer la chaudière avec le bouton poussoir 1 et répéter l'opération.
Tableau des paramètres
| N° de paramètre | Désignation paramètre | Valeur de réglage | Fonction de réglage | Préréglage usine DMC 24 | Préréglage usine DMV 24 | |
| P00 | Sélection du type de gaz | 00 | naturel (méthane) G20 - G25 | 00 | 00 | |
| 01 | propane (GPL) G31 | |||||
| P01 | Sélection de la température de départCHAuffage | 00 | standard : 30°C à 80°C | 00 | 00 | 00 = radiateurs |
| 01 | basse température: 25°C à 40°C | 01 = plancher chauffant | ||||
| P02 | Protection anti-coup de bélier | 00 | désactivée | 00 | 00 | si protection activée, temporisation de 2 secondes avant activation flussostat |
| 01 | activée | |||||
| P03 | TemporisationCHAuffage(anti court cycle brûleur) | 00 à 90 | valeur exprimée en pas de 5 secondesexampie : 90(maxi) X 5seconds = 450 secondes soit7,5 minutes | valeur 36 soit3 min | valeur 36 soit3 min | permé de désirir le temps d'arrêt du brûleur entre chaque arrêt et le démarrage suivant (anti court cycle réglable de 0 à 7,5 min) |
| P04 | Temporisation post-circulationpompe en modeCHAuffage | 00 à 90 | valeur exprimée en pas de 5 secondesexampie : 90(maxi) X 5seconds = 450 secondes soit7,5 minutes | valeur 36 soit3 min | valeur 36 soit3 min | permé de modifier de 0 à 7,5 minla durée de post circulation de la pompe en modeCHAuffage si commande par thermostat ambiance |
| P05 | Réglage puissance mini mécanique | 00 - 70 | Pré réglé à 29 | Pré réglé à 29 | ||
| P06 | Réglage puissancechauffage mini | 00 - 80 | Pré réglé à 29 | Pré réglé à 29 | voir abaque de réglage pression gaz (puissance chaudière) | |
| P07 | Réglage puissancechauffage maxi | Du mini gaz P06 jusqu'99 | 99 | 99 | voir abaque de réglage pression gaz (puissance chaudière) | |
| P08 | Réglage pression allumage | 00 - 99 | 46 | 46 | voir abaque de réglage pression gaz (puissance chaudière | |
| P09 | Activation carte de gestion deszones | 00 | désactivée | 00 | 00 | |
| 01 | activée | |||||
| P10 | Activation de la commandetéléphonyque | 00 | désactivée | 00 | 00 | |
| 01 | activée |
REMARQUES :
1 - En cas d'installations thermiques avec plusieurs zones, il est nécessaire installer une carte supplémentaire d'interface (en option, fournie séparation) sur la carte électronique et porter le paramètre P09 sur la valeur 01.
2 - Pour installer la commande téléphonique, il est nécessaire d'effectuer un branchement au moyen de conducteurs non polarisés en parallèle avec la commande à distance etmettre la valeur du paramètre de P10 à 01.
Programmation des paramètres
Pour modifier les valeurs pré-réglées des paramètres selon le tableau précédent, il faut acceder au menu de réglage des paramètres selon la procédure suivante :




- Appuyer sur le bouton pouvoir 1 pour obtenir l'affichage « OFF »
- Appuyer simultanément et maintainir les touches « » et « » puis appuyer sur le bouton poussoir 1; attendre que « PL » s'affiche.
- Relâcher les touches «△ » et «▽ ». « P 00 » s'affiche alors (« P » clignotant et « 00 » fixe).
- Appuyer et maintainir la touche « S » appuyée. P 00 reste affché fixe.
Selectionner le paramètre à modifier au moyen des touches « » et « » (paramètres P00 à P10).
- Une fois le paramètreChoisi affiché,relâcher la touche "S" (affichage « P » clignotant et numero de paramètre fixe).Appuyer à nouveau sur la touche « S » et relâcher: l'afficheur visualisera la valeur du parametre à modifier (affichage « + valueur du parametre »).
Régler le paramètre en suivant la procédure décrite dans les pages suivantes.
Pour entrer dans le menu de programmation des paramètres, suivre la procédure décrite ci-dessus (pas 1-5).


Paramètre 00 – Sélection du type de gaz
- Agir sur les touches « » ou « » pour modifier la valeur du paramètre :
$$ 0 0 = \text {M e t h a n e} $$
$$ 0 1 = \mathrm {G P L} $$
- Appuyer et relâcher la touche « S » pour confirmer. Le numéro du paramètre P 00 (« P » clignotant et « 00 » fixe) s'affiche sur l'écran.
- Pour régler un autre paramètre si besoin, réiterer les étapes 4 et 5 (voir page 28).


Paramètre 01 - Réglage de la température du circuit de chauffage
- Agir sur les touches « » ou « » pour modifier la valeur du paramètre :
$$ 0 0 = \text {s t a n d a r d} (3 0 - 8 0 ^ {\circ} \mathrm {C}) $$
$$ 0 1 = \text {r é d u i t e} (2 5 - 4 0 ^ {\circ} \mathrm {C}) \text {p o u r p l a n c h e r c h a u f f a n t} $$
- Appuyer et relâcher la touche « S » pour confirmer. Le numéro du paramètre P 01 (« P » clignotant et « 01 » fixe) s'affiche sur l'écran.
- Pour régler un autre paramètre si besoin, réiterer les étapes 4 et 5 (voir page 28).


Paramètre 02 - Protection anti-coup de bélier
- Agir sur les touches « » ou « » pour modifier la valeur du paramètre :
$$ 0 0 = o f f $$
- Appuyer et relâcher la touche « S » pour confirmer. Le numéro du paramètre P 02 (« P » clignotant et « 02 » fixe) s'affiche sur l'écran.
- Pour régler un autre paramètre si besoin, réiterer les étapes 4 et 5 (voir page 28).




Paramètre 03 - Temporisation chauffage (anti court cycle brûleur)
- Agir sur les touches « » ou « » pour modifier la valeur du paramètre comprise entre les valeurs limites :
$$ 0 0 = 0 \times 5 ^ {\prime \prime} = 0 ^ {\prime \prime} $$
$$ 9 0 = 9 0 \times 5 ^ {\prime \prime} = 4 5 0 ^ {\prime \prime} (7, 5 \min) $$
La valeur par défaut est 36 = 180'' = 3 min.
- Appuyer et relâcher la touche « S » pour confirmer. Le numéro du paramètre P 03 (« P » clignotant et « 03 » fixe) s'affiche sur l'écran.
- Pour régler un autre paramètre si besoin, réiterer les étapes 4 et 5 (voir page 28).
Paramètre 04 - Temporisation pompe postcirculation chauffage
- Agir sur les touches « » ou « » pour modifier la valeur du paramètre comprise entre les valeurs limites :
$$ 0 0 = 0 \times 5 ^ {\prime \prime} = 0 ^ {\prime \prime} $$
$$ 9 0 = 9 0 \times 5 ^ {\prime \prime} = 4 5 0 ^ {\prime \prime} (7, 5 \min) $$
La valeur par défaut est 36 = 180'' = 3 min.
- Appuyer et relâcher la touche « S » pour confirmer. Le numéro du paramètre P 04 (« P » clignotant et « 04 » fixe) s'affiche sur l'écran.
- Pour régler un autre paramètre si besoin, réiterer les étapes 4 et 5 (voir page 28).
REGLAGE DES PRESSIONS GAZ (PARAMETRES)
Paramètre 05 - Réglage pression gaz mini mécanique
Toutes les chaudieres sont pré-réglées en usine avec une pression gaz minimum mécanique de 1,7/1,8 mbar (DMV 24) et 2,2 mbar (DMC 24) pour le gaz naturel G20.

fig.10
A la mise en service, et obligatoirement en cas de remplacement de la vanne gaz, contrôle cette pression mini gaz à l'aide d'un manomètre à raccorder à la prise de pression B.
Effectuer les opérations suivantes pour vérifier cette pression : 1) ouvrir le robinet gaz
2) agir sur la vis D de la vanne gaz (mini mécanique)
-
tournier la vis D dans le sens hora jusqu'à arriver en butée
-
dévisser la vis D de 3 tours
3)mettre la valeur du parametre P05 à 00 (voir page 28)
- agir sur la touche « ∇» pourmettre la valeur du paramètre à 00
- appuyer et relâcher la touche « S » pour confirmer. Le nombre du paramètre P 05 (« P » clignotant et « 05 » fixe) s'affiche sur l'écran.
- appuyer sur le bouton pouvoir 1 pour obtenir l'affichage « OFF »


4) rentrer de nouveau dans le paramètre P05 (voir page 28); la chaudière va alors s'allumer pendant 5 secondes en pression d'allumage (5 à 6 mbar en G20) et se bloquer ensuite pendant 45 secondes en pression mini.
Après l'été d'allumage (5 secondes), procéder si nécessaire au réglage de la pression mini mécanique à l'aide de la vis D (visser pour diminuer la pression, dévisser pour augmenter la pression) pour obtenir 1,7/1,8 mbar (DMV 24) ou 2,2 mbar (DMC 24) en G20.
Pour les autres types de gaz, voir tableau pression gaz (page 35).
Au-delà de ces 50 secondes, le brûleur s'arrête et P05 apparait sur l'écran. Si le réglage n'est pas terminé, recommencer l'opération en appuyant sur la touche « S »
5) lorsque cette pression mini mécanique est régée,mettre la valeur du paramètre P05 à 29 en agissant sur la touche «△».
Appuyer et relâcher la touche « S » pour confirmer. Le numéro du paramètre P 05 (« P » clignotant et « 05 » fixe) s'affiche sur l'écran.
Pour régler un autre paramètre si besoin, réiterer les étapes 4 et 5 (voir page 28).




Paramètre 06 – Réglage pression minimum chauffage (Réglage suivant tableau page 35)
- Agir sur les touches « » ou « » pour modifier si nécessaire la valeur du paramètre comprise entre les valeurs limites suivantes : 29 - 80.
Le pré-réglage d'usine est 29.
- Appuyer et relâcher la touche « S » pour confirmer. Le numéro du paramètre P 06 (« P » clignotant et « 06 » fixe) s'affiche sur l'écran.
- Pour régler un autre paramètre si besoin, réiterer les étapes 4 et 5 (voir page 28).
Paramètre 07 - Réglage pression maximum gaz chauffage (Réglage suivant courbes page 35)
1) Agir sur la touche « » pourmettre la valeur du paramètre 07à99.
2) Appuyer et relâcher la touche « S » pour confirmer. Le numéro du paramètre P 07 « P » clignotant et « 07 » fixe) s'affiche sur l'écran.
Toutes les chaudieres sont pré-réglées en usine avec une pression gaz maxi mécanique de 10.4 mbar (DMV 24) et 10.8 mbar (DMC 24) pour le gaz naturel G20.
A la mise en service, et obligatoirement en cas de remplacement de la vanne gaz, contrôle cette pression maxi gaz à l'aide d'un manomètre à raccorder à la prise de pression B.
3) Réglage pression maxi mécanique
- mesure la chaudière en position arrêt (OFF) à l'aide du bouton poussoir 1.
- ouvrir la prise de pression B (voir fig.9 page 26) du bloc gaz et y relier le manomètre gaz.
- allumer la chaudière en appuyant sur le bouton poussoir n°1.
-
ouvrir un robinet deuisage ECS de maniere à faire fonctionner la chaudière au maximum oumettre la chaudiere en fonction « ramoneur » (appui sur touche « S » pendant 7 secondes) en prenant soin de vérifier que le paramètre P07 est à 99% , que tous les robinets des radiateurs soient ouverts et vérifier la pression gaz maxi (voir tableau des pressions gaz page 35).
-
si la pression maxi gaz n'est pas conforme, professionnel au réglage en agissant comme suit :
-
dévisser le bouchon aluminium de protection repère A du bloc gaz (voir fig.9 page 26).
- agir sur la vis de réglage en plastique située sous le bouchon aluminium de manière à obtenir la valeur indiquée dans le tableau page 35
-
remetre le bouchon aluminium en place sur le bloc gaz
-
fermer le robinet deuisage ECS et arreter la chaudiere avec le bouton poussoir 1 (OFF).
4) A la fin de cette opération, régler de nouveau la valeur du paramètre 07 si nécessaire en fonction des besoin chaudiage de l'installation (voir diagramme pression / puissance page 35).
Agir sur les touches « » ou « » pour régler la valeur du paramètre comprise entre les valeurs limites suivantes : valeur du paramètre mini P06 à 99.
Le pré-réglage d'usine en gaz naturel G 20 est de 99 pour une puissance de 24 KW.
Appuyer et relâcher la touche « S » pour confirmer. Le numéro du paramètre P 07 (« P » clignotant et « 07 » fixe) s'affiche sur l'écran.
Arreter la chaudiere à l'aide du bouton pouvoir 1 (OFF).
Retirer le manomètre gaz et referrer la prise de pression B.
Pour régler un autre paramètre si besoin, réiterer les étapes 4 et 5 (voir page 28).


Paramètre 08 – Réglage pression allumage
- Agir sur les touches « » ou « » pour modifier la valeur du paramètre comprise entre les valeurs limites :
00 = minimum régle sur la vanne gaz
99 = maximum, variable selon le modele de chaudiere
La valeur par défaut est 46 pour gaz G 20.
- Appuyer et relâcher la touche « S » pour confirmer. Le numéro du paramètre P 08 (« P » clignotant et « 08 » fixe) s'affiche sur l'écran.
- Pour régler un autre paramètre si besoin, réiterer les étapes 4 et 5 (voir page 28).


Paramètre 09 - Activation carte de gestion des zones
- En cas d'installations avec vannes de zone, agir sur les touches « ou « pour modifier la valeur du paramètre :
00 = désactivation carte de zone
01 = activation carte de zone
Ajouter une carte d'interface pour commander les vannes de zone.
- Appuyer et relâcher la touche « S » pour confirmer. Le numéro du paramètre P 09 (« P » clignotant et « 09 » fixe) s'affiche sur l'écran.
- Pour régler un autre paramètre si besoin, réiterer les étapes 4 et 5 (voir page 28).


Paramètre 10 - Activation commande téléphonique
- Si une interface téléphonique est installée, activer la carte en réglient le paramètre 10.
Agir sur les touches « » ou « » pour modifier la valeur du paramètre :
00 = désactivation commande téléphonique
01 = activation commande téléphonique - Appuyer et relâcher la touche « S » pour confirmer. Le numéro du paramètre P 10 (« P » clignotant et « 10 » fixe) s'affiche sur l'écran.
- Pour régler un autre paramètre si besoin, réiterer les étapes 4 et 5 (voir page 28).
N.B. Le branchement de l'interface téléphonique au bornier doit se faire en parallèle avec la commande à distance au moyen de deux conducteurs non polarisés.
Tableau des données gaz
| G20 Gaz Methane | G25 Gaz Methane | G31 Gaz Liquide Propane | ||
| Pression nominale d'alimentation | mbar | 20 | 25 | 37 |
| DMC 24 - DMV 24 | ||||
| Débit gaz (15°C; 1013 mbar) | m3/h | 2.71 | 3.15 | - |
| Débit gaz (15°C; 1013 mbar) | kg/h | - | - | 1.99 |
| Brûleur principal | nbre x Ø (mm) injecteurs | 12 x 1.30 | 12 x 1.30 | 12 x 0.77 |
Pressions de réglage
| Chaudière | METHANE G 20 | METHANE G 25 | G 31 | ||||||||||
| Allumage | min. | max. | Diaphragme bloc gaz | Allumage | min. | max. | Diaphragme bloc gaz | Allumage | min. | max. | Diaphragme bloc gaz | ||
| DMC 24 | mbar | 6,5 | 2.2 | 10.8 | Ø 5.25 mm | 6,8 | 3.4 | 14.3 | Ø 5.25 mm | 13 | 7.4 | 34.7 | non |
| DMV 24 | mbar | 6,5 | 1.5 | 10.4 | Ø 5.5 mm | 6,8 | 2.8 | 13.5 | Ø 5.5 mm | 13 | 6.1 | 34.4 | non |

Diagramme pression - puissance gaz

Transformation du type de gaz
La transformation de la chaudière de gaz methane en GPL (gaz liquéfié) ou vice versa doit être effectuee exclusivement par un technicien qualifié.


fig. 11
Legende:
1) vanne gaz
2) régulateur gaz
3) prise de pression entrée bloc gaz
4) prise de pression sortie bloc gaz
5) tube sortie bloc gaz avec prise de pression
6) collecteur gaz
7) brûleur gaz
8) injecteurs gaz
9) electrode allumage
10) electrode de ionisation
11) vis de fixation collecteur (4)
Proceder de la manière suivante pour effectuer la transformation (voir fig.11):
a) couper l'alimentation électrique de la chaudière
b) fermer le robinet d'arrivee gaz
c) Oter les cables des electrodes d'allumage et ionisation
d) dévisser le raccord de la tubulure gaz 5 à l'aide d'une clé plate de 24
e) dévisser les 4 vis 11 fixant le collecteur 6 au brûleur 7
f) séparer le collecteur gaz 6 et les rampes brûleur 7
g) remplacer les injecteurs d'origine par les injecteurs fournis dans le kit de transformation gaz (cle de 7)
h) retirer le diaphragme gaz situé en sortie du bloc gaz
i) remonter le collecteur 6 sur le bruleur 7 et revisisser le raccord 5
j) modifier le paramètre P00 pour sélectionner le nouveau type de gaz (voir tableau page 30)
k) régler les pressions gaz suivantes (voir pages 34-35-36);
- mini mécanique (paramètre P05)
maxi mecanique - paramètres P06 (mini chauffage), P07 (maxi chauffage), P08 (allumage)
I) remplacer l'étiquette signalétique gaz par la nouvelle étiquette livrée avec le kit gaz
m) contrôler la bonne étanchéité du circuit gaz
ENTRETIEN (technicien qualifié)
Avertissements généraux
Les opérations d'entretien doivent être effectuées tous les ans par un technicien qualifié
Pour garantir une durée de vie plus longue et un bon fonctionnement de l'appareil, n'utiliser que des pieces de rechange d'origine dans le cadre des travaux de dépannage ou d'entretien.
Contrôle de l'appareil
Pour que la chaudière soit toujours efficace en termes de fonctionnalité et de sécurité, nous recommendons de la faire contrôle par du personnel qualifié après chaque période de chauffage (tous les ans). Il est conseilé d'effectuer les opérations suivantes :
- Contrôler l'étanchéité de raccords du gaz et au besoin, remplaçer les joints.
- Contrôler l'étanchéité de raccords de l'eau, et au besoin, replacer les joints.
- Contrôler l'aspect visuel de la flamme et de la chambre de combustion.
Demonter et nettoyer le bruleur. - Contrôler l'échangeur primaire, et au besoin, le nettoyer.
- Contrôler les pressions max. et min. de modulation et vérifier la modulation.
- Contrôler l'état et le fonctionnement des systèmes d'allumage et de sécurité gaz. Au besoin, démonter et nettoyer les électrodes d'allumage et de détention de la flamme.
- Contrôler les systèmes de sécurité de chauffage : thermostat de sécurité de surchauffe; soupapes de sécurité chauffage et sanitaire.
- Contrôler le joint d'étanchéité de la chambre étanche qui doit être en bon état et bien en place.
- Contrôler régulierement et nettoyer le système d'évacuation des fumées, cheminée ou ventouse, et d'aspiration air neuf.
- Contrôler les branchements électriques à l'intérieur du tableau de commandes.
- Contrôler le débit et la température de l'eau sanitaire.
RAPPEL :
- Contrôler la présence, les bonnes dimensions et le bon fonctionnement des prises d'airation/ventilation permanentes qui doivent être adaptées aux apparciels installés. Respecter les dispositions des normes nationales et locales en vigueur.
- Contrôler les réglages de combustion et l'étanchéité des conduits :
1)étanchéitéventouse
- introduire la sonde de l'analyseur de combustion dans la prise d'air prévue sur la piece de raccordement ou le coude conduitventouse et vérifier que le taux d'oxygène soit de 21% . Sinon, vérifier le montage du conduitventouse air et gaz brûlés.
2) contrôle combustion
- introduire la sonde de l'analyseur de combustion dans la prise de fumée prévue sur la piece de raccordement ou le coude conduit ventouse et vérifier que le taux de CO^2 soit conforme au valeurs du tableau ci dessous et que le taux de CO soit inférieur à 100 ppm. Sinon, régler correctement les diaphragmes d'air pour obtenir les bonnes valeurs.
| Type de gaz | G20 | G25 | G31 |
| CO2% | 6,7 à 7 | 5,8 | 7,2 |
Accès à la chaudière
Pour la plupart des opérations de contrôle et d'entretien, il faut démonter un ou plusieurs panneaux.
Il faut d'abordsterolirerlepanneauavant pourretirerles panneaux lateraux (fig.12).
panneau avant :
- Retirer les vis de fixation placées sur le bord inférieur du panneau
- Saisir le panneau par le bas, le tirer vers soi et l'extraire en le poussant vers le haut
panneau létral droit (ou gauche) :
- Retirer les 2 vis de fixation placées sur le bord inférieur du panneau létral.
- Retirer les 2 vis de fixation placées sur le devant en haut et au milieu du panneau lésral.
- Saisir la base du panneau, écarter le panneau sur le coté et le retarder en le levant.

fig.12
Pour acceder aux branchements electriques du tableau de commandes, proceder comme suit (fig.13):
- Retirer le panneau avant
- Saisir simultanément les équres du panneau de commandes (1) et, en les écantant, baisser le panneau en le faisant tourner vers le bas (2)
- Dévisser les quatre vis de fixation etPTRer le capot (3)

fig.13
Vidange de l'installation de chauffage
Chaque fois qu'il sera nécessaire de vidanger l'installation de chauffage, procéder de la façon suivante :
-Sélectionner le mode "HIVER" et attendre l'allumage de la chaudière
-Couper l'interrupteur général et attendre que la chaudière se refroidisse
-Brancher un tuyau flexible à l'embout du robinet de vidange de l'installation et placer l'autre extrémité du tuyau dans une évacuation d'eau
-Ouvrir le robinet de vidange de l'installation
-Ouvrir les robinets placés sur les radiateurs en commençant par le plus haut place et ainsi de suite jusqu'au plus bas
-Quand toute l'eau s'est écoulée, fermer les robinets des radiateurs et le robinet de vidange

fig.14
-Pour vidanger uniquement la chaudière, fermer les robinets départ/retour du circuit de chauffage. Ouvrir le robinet de vidange (fig.14) placé dans le collecteur de la pompe sur la partie inférieur de la chaudière.
Vidange de l'installation sanitaire
Chaque fois qu'il sera nécessaire de vidanger l'installation sanitaire, préceder de la façon suivante :
-Fermer la vanne générale d'alimentation de l'eau froide sanitaire
-Ouvrir tous les robinets des appareils sanitaires (eau chaude et eau froide)
-ouvrir le robinet de vidange (fig.14)
-en fin d'opération, fermer le robinet de vidange et tous les robinets d'eau ouvert precedemment
Sécurite fumées
La chaudière à tirage naturel est équipée d'un dispositif (fig.15) contrôulant l'évacuation correcte des gaz de combustion Le dispositif permet une sécurité maximum pendant le fonctionnement.
Ce dispositif intervient en bloquant le flux des gaz au brûleur principal et met la chaudière en sécurité si le conduit de cheminée présente une obstruction partielle ou totale ou bien si la section n'est pas appropriée à l'évacuation des gaz de combustion.
Avant de débloquer le dispositif, contrôle la section d'évacuation et vérifier s'il n'y a pas d'obstruction empêchant l'évacuation correcte des fumées.
Interdiction absolue de faire fonctionner la chaudière en schuantant ce dispositif de sécurité.
Remise en marche:
Effectuer les opérations suivantes avant de débloquer le thermostat:
- mesure l'interrupteur été-hiver sur la position OFF,
déconnecter l'alimentation électrique de la chaudière - appuyer sur le bouton-poussoir placé entre les deux contacts électriques du thermostat des fumées (voir fig.15),
- remettre la chaudière sous tension etmettre l'interrupteur eté/hiver sur la position de fonctionnement souhaitation;
En cas de nouvelles mises en sécurité, replacer les pièces défectueuses uniquement par des pièces de rechange d'origine.

Scheme electrolyte - Mod. DMC 24
CARTE BMBC c/DISPLAY DIGITECH - SM20020 COD. 76708LA

Légende :
IG: Interrupteur tabl. com.
TF: Sonde fumées
TS: Thermostat sécurité
SR: SondeCHAuffage
SS: Sonde sanitaire
SE: Sonde extérieure (option)
ER: Electrode detection
EA: Electrode allumage
TRA: Transformateur allumage
C: Circulateur
MF: Flussostat
VG: Vanne gaz
PACQ: Pressostat eau
VD: Vanne 3 voie


Schéma électrique - Mod. DMV 24
CARTE ELESTRON MODULATION - SM20020
COD. 76708LA

Branchement du thermostat d'ambiance (en option)
Brancher les cables au bornier se trouvant à l'intérieur du tableau de commande de la façon suivante (voir fig.16):
a. couper l'alimentation depuis l'interrupteur général.
b. retirer le panneau avant de la chaudière.
c. dévisser les vis etsteroler le couvercle A.
d. retirer le pont Ta-Ta du bornier B.
e. brancher le thermostat d'ambiance aux bornes Ta.
Après cette opération, remonter le couvercle A , puis le panneau avant.

Branchement de la sonde extérieure (en option)
Brancher les cables au bornier se trouvant à l'intérieur du tableau de commande de la façon suivante (voir fig. 16):
a. couper la tension depuis l'interrupteur général.
b. retirer le panneau avant de la chaudière.
c. dévisser les vis etsteroler le couvercle A.
d. brancher la sonde extérieure sur les contacts Se-Se du bornier B.
Après cette opération, remonter le couvercle A , puis le panneau avant.
Branchement du contrôle à distance et de la sonde extérieure (en option)
Brancher les câbles au bornier se trouvant à l'intérieur du tableau de commande de la façon suivante (voir fig.17):
a. couper l'alimentation depuis l'interrupteur général.
b. retirer le panneau avant de la chaudière.
c. dévisser les vis etsteroler le couvercle A.
d. retirer le pont Ta-Ta du bornier.
e. brancher le contrôle à distance.
f. brancher la sonde extérieure sur les contacts Se-Se du bornier B.

fig.17
Après cette opération, remonter le couvercle A , puis le panneau avant.
Branchement du contrôle à distance et de la commande téléphonique (en option)
Brancher les cables au bornier se trouvant à l'intérieur du tableau de commande de la façon suivante (voir fig. 18):
a. couper l'alimentation depuis l'interrupteur général.
b. retirer le panneau avant de la chaudière.
c. dévisser les vis etsterol le couvercle A (voir fig. 18).
d. retirer le pont Ta-Ta du bornier.
e. brancher le contrôle à distance et la commande téléphonique.
f. Activer la commande téléphonique au moyen du paramètre 10 (voir page 27 « Tableau des paramétres »).

fig.18
Après cette opération, remonter le couvercle A , puis le panneau avant.
Branchement avec contrôle à distance et Vannes de zone
En cas d'installation d'une carte pour les vannes de zone, pour effectuer les branchements électriques, il faut acceder à la carte de modulation sur le tableau de commande de la chaudière (voir page 38 « Accès à la chaudière ») et activer le paramètre 09 (voir page 27 « Tableau des paramétres »)

Branchement avec contrôle à distance, Vannes de Zone et Commande Télophonique




VZ1 = VANNE DE ZONE 1
VZ2 = VANNE DE ZONE 2
VZR = VANNE DE ZONE CONTROLLEÀ DISTANCE
FC = FERMETURE VANNE DE ZONE
Modulation de la température d'entrée en fonction de la température extérieure
Le branchement de la sonde extérieure se fait directement sur la carte électronique SM 20019. La gestion de la sonde peut donc se faire :
- en cas d'installation de commande à distance + sonde extérieure, le réglage de la courbe de chauffe (pente) se fait par l'intémédiaire de la commande à distance (voir notice d'installation et d'instructions de la commande à distance).
- en cas de branchement direct de la sonde extérieure sur la carte, le réglage de la courbe de chauffe (pente) se fait en agissant sur le bouton de réglage du chauffage. Tourner le bouton encadré (fig.20) pour visualiser la numération correspondant à la courbe du diagramme de la figure 19.
La loi de correction est reportée dans le diagramme de la figure 19.
Le choix de la courbe est fonction de la température maxi de départ Tm et de la température mini extérieure Te.
N.B. Les valeurs en ordonnée des températures de départ Tm se refèrent à des installations standard 80 - 30^ ou à des installations basse température 40 - 25^ . Le type d'installation peut être régle au moyen de la programmation du paramètre 01 (voir page 29 « Paramètre 01 - Réglage de la température du circuit chauffage »).

fig.19

fig.20
Anomalies de fonctionnement
| Code défaut | Anomalie | Cause possible | Solution |
| E 01 | Défaut flamme | Manque gaz | -verbifer l'alimentation gaz (ouverture du robinet gaz). -purger la canalisation gaz. |
| E fixe 01 clignotant + symbole flamme barrée | En phase d'allumage, le train d'étinelle fonctionne jusqu'à l'allumage de la flamme, plus 2 secondes, mais avec un maximum de 8 secondes. Au delà de ces 8 secondes la chaudière fait une nouvelle tentative d'allumage. 3 tentatives maxi. Si problème allumage, entre 2 allumages le ventilateur fonctionné pendant 20 secondes pour ventilier la chambre (DMV 24) | Polarité phase -neutre inverséeElectrode allumage défectueuse ou débranchéeCâble électrode défectueuseSonde ionisation défectueuse ou débranchéeMauvaise connexion électrique du transfo (fil coupé ou débranché)Transfo allumage défectueuxBloc gaz défectueuxMauvaise connexion électrique du bloc gaz (fil coupé ou débranché)Carte électronique principale défectueuse | -verbifer la polarité phase -neutre sur alimentation électriche chaudière-verbifer la connexion des cables d'allumage.-verbifer l'électrode d'allumage (électrode à la masse, ou mal régèle).-verbifer le réglage de l'électrode : entre électrode allumage et brûleur = 3 mm-remplacer l'électrode d'allumage.-remplacer le cable d'allumage.-verbifer la connexion du cable d'ionisation.-verbifer l'électrode d'ionisation valeur décochage courant ionisation : 1.5 micro ampères-verbifer le réglage de l'électrode, écartement par rapport au brûleur = 5 mm.-remplacer l'électrode d'ionisation.-remplacer le cable d'ionisation.-verbifer l'alimentation 230/240 V sur l'allumeur en phase d'allumage.ATTENTION: prendre impératifement la tension avec le cable de l'alimentation raccordée sur l'allumeur.-remplacer le transfo d'allumage.-verbifer la tension des electrovannes du bloc gaz. EV1: entre 4 (bleu) et 5 (marron) de M5, variable courant alternatif EV2 modulation: entre 3 (noir) et 6 (orange) de M5, 26 à 44 V continu-résistances des bobines électrovannes relevées sur fiches du bloc gaz: EV1: 2.8 K ohms (entre fiches 4 et 5)EV2: 1,6 K ohms (entre fiches 3 et 6) Ces valeurs varient légèrement en fonction de la température du bloc gaz.-verbifer la bonne connexion des fils 5 (marron) et 6 (orange) du connecteur M5.-si pas de tension ou tension incorrecte au bloc gaz, remplacer la carte électronique principale.Apres élimination du défaut, appuyer sur le bouton 1 (marche/arrêt) pour reseter. |
| E 02E fixe02clignotent+ symbole flammebarrée | Sécurité surchauffe 95°C | Déclenchement de la sécurité de surchauffeSécurité surchauffe défectueuse ou cable sécurité coupé ou débranché. | -présence d'air dans la chaudière, purger l'installation.-mauvaise circulation hydraulique.-pompe bloquée, débloquer la pompe.-vérifier la connexion des fils.-reimplacer l'aquastat sécreté.-réimplacer le cable de l'aquastat.Après élimination du défaut, appuyer sur le bouton 1 (marche/arrêt) pour reseter. |
| E 03E fixe03clignotent | Sonde fuméeUniquement modele cheminéedMC24 | Mauvaise combustion, montée anormale de la tempêteure des gaz brûlés.Observation du conduit de fuméeSonde fumée défectueuse ou cable de la sonde coupé ou débranché. | -vérifier le réglage de combustion (CO2) ainsi que la fréquence du ventilateur.-vérifier que le conduit de fumée ne soit pas obstrué.-vérifier la connexion des fils.-réimplacer la sonde de fumée.-réimplacer le cable de la sonde. |
| H2Oclignotent+ symbole pressionfixe | Manque d'eau | Manque de pression d'eau dans le circuit chauffage.Pression inférieure à 0,3/0,4 bar.Pressostat eau défectueux ou cable du pressostat coupé ou débranché. | -remonter la pression d'eau à 1,1 bar mini.-vérifier la connexion des fils.-réimplacer le cable du pressostat.-réimplacer le pressostat eau.Pas de reset à effectuer. |
| E fixe05clignotent | Sonde chauffage | Sonde chauffage défectueuse ou cable de la sonde coupé ou débranché.Nota : si la sonde chauffage est défectueuse, plus de fonctionnement chauffage, ni sanitaire | -vérifier le contact de la sonde sur le tube chauffage.-vérifier la connexion des fils.-réimplacer la sonde - CTN 10 Kohm à 25°.Pas de reset à effectuer. |
| E fixe06clignotent | Sonde sanitaire | Sonde sanitaire défectueuse ou cable de la sonde coupé ou débranché | -vérifier le contact sur la sonde au niveau de l'échangeur à plaques.-vérifier la connexion des fils.-réimplacer la sonde - CTN 10 Kohm à 25°.Pas de reset à effectuer. |
| E fixe14clignotent | Pressostat air(unicémentDMV 24) | Cable ventilateur coupé ou débranchéVentilateur défectueuxLe ventilateur fonctionné en permanence, la chaudière ne s'allume pasPressostat air défectueuxConduit ventouse obtruéVenturi obstruéCâbles du pressostat air défectueux | -vérifier la connexion électrique du ventilateur : 230 V alternatif entre 4 (bleu) et 3 (marron) du connecteur M9 de la carte principale.-si tension correcte sur connecteur M9, replacer le ventilateur-tubes silicone fendus ou cassés, replacer les tubes - repère H du pressostat sur prise métallique en bas du ventilateur- repère L du pressostat sur fiche composite noire en haut du ventilateur-controlier les pressions et dépressions suivantes:- H : dépression = -1.6 mbar-L : pression = +1.6 mbar-en différéntiel = 3.2 mbarSi valeurs différentes, replacer le pressostat-vérifier le conduit ventouse (sortie gaz brûlés et entrée air neuf)-vérifier l'état du venturi-vérifier et replacer les cables si nécessaireAprès élimination du défaut, appuyer sur le bouton 1 (marche/arrêt) pour reseter. |
| E 22 | Demande | ||
| programmation paramètres | -rerogrammation des paramètres de réglage. | ||
| Défaut sans affichage | Plus d'indication sur l'écran du tableau | Fusible de la carte principale défectueux | -remplacer le fusible. |
| Carte principale défectueuse | -émériser la connexion des fils 1(marron) et 2 (bleu) du connecteur M9 (tension 230 V), si alimentation correcte, remplacer la carte principale | ||
| Afficheur défectueux | - remplacer l'ensemble platine afficheur | ||
| La chaudière s'accrita vers 47° et redémarre vers 40° sans anti court cycle du brûleur (DMV 24) | Problème sur le tube silicone H (+)du pressostat d'air (tube fendu, cassé ou déboîté) | -émériser et remplacer le tube si nécessaire | |
| Montée en température rapide puis arrêt de la chaudière | Pompe bloquée | - Débloquer la pompe | |
| ECS ne monte pas en température | Plaque sur flussostat montée à l'envers ou défectueuse | -émériser la position ou changer la plaquette si nécessaire | |
| Pointeau du flussostat bloqué ou défectueux | -émériser le pointeau, le changer si nécessairePour érmigner si le pointeau est bloqué ou défectueux, positionner un aimant sur la plaquette, l'ECS doit alors fonctionner. |
Diagnostic
Codes d'erreur :
E01 Destruct flamme
E02 Défaut sécurité surchauffe
E03 Destruct sonde fumées (DMC 24)
H2O Défaut pressostat eau ou manque d'eau
E05 Défaut sonde chauffage
E06 Défaut sonde sanitaire
E14 Défaut pressostat air (DMV 24)
E22 Demande programmation paramètres

Codes de signalisation
| Codes de signalisation | Type de signalisation | Description |
| 07 clignotant | Fonction Ramoneur | Chaudière en fonctionnementAppuyer sur la touche « service » pendant 7 secondes pour activer la fonction « ramoneur ». Appuyer sur le bouton poussoir marche/arrêt pour désactiver cette fonction.Cette fonction permet de faire fonctionner la chaudière au maximum pendant 15 minutes, sans modulation, pour effectuer des essais et contrôles de combustion. |
| 08 clignotant | Fonction anti-gelCHAUFFAGE | Se met automatiquement en fonction quand la sonde de chauffage détecte une température de 5°C. La chaudière fonctionne à la pression de gaz mini en mode « hiver ». Elle se désactive quand la température d'eau du circuit chauffage atteint 30°C. |
| 31 clignotant | Contrôle à distance non compatible | Signale que le contrôle à distance branché à la chaudière n'est pas compatible avec la carte électronique installée sur la chaudière. |
INSTRUCTIONS POUR L'UTILISATEUR :
UTILISATION ET RÉGLAGE DE LA CHAUDière
Avertissements généraux
S'assurer que la fiche de garantie porte bien le cachet du technicien autorisé ayant effectué les essais de la chaudière.
L'installation, le premier allumage, les réglages et les opérations d'entretien doivent être effectués exclusivement par du personnel qualifié (ex. les centres d'assistance technique autorisés par la société DEVILLE THERMIQUE S.A.). Une mauvaise installation peut provoquer des dommages aux personnes, animaux ou aux matériels, à l'égard desquels le constructeur ne pourrait être tenu responsable.
Pendant l'intervention, il est important que le technicien effectue les contrôles suivants :
Les données reportées sur la plaque signalétique doivent correspond à celles des réseaux d'alimentation (électricité, eau, gaz).
Le réglage de la chaudière doit correspondre au besoin de l'installation.
Le système d'évacuation des gaz brûlés et l'aspiration de l'air comburant doivent être installés et fonctionner correctement.
■ En toute situation d'installation (intérieure, extérieure, dans une armoire, etc.), le système de ventilation et d'évacuation des fumées doit respecter les dispositions des normes nationales et locales en vigueur.
Ne pasmettre la chaudiere en service si vous n'etes pas sur que les essais aient eteffectués par un technicien qualifie. Toutes les opérations d'entretien, manutention et changement du type de gaz DOIVENT ETRE EFFECTUÉES PAR DU PERSONNEL QUALIFIÉ ET AUTORISE conformément aux normes en vigueur.
Contrôler que les ventilations haute et basses de la pièce dans laquelle la chaudière est installée soient conformes aux normes en vigueur.
Les chaudières peuvent être installées à l'air libre, dans des locaux partiellement protégés en conformité aux normes en vigueur et dans des conditions de température extérieure minimum d'utilisation de -10^ ; la société ne pourra être tenue responsable pour des installations dans des locaux où la température est inférieure à -10^ .
La chaudière est équipée d'un système anti-gel. Dans le cas d'installation responsable un risque de gel, le système anti-gel entre en fonction uniquement lorsque la chaudière est sous tension et lorsque le gaz est ouvert. Aucune responsabilité ne peut être engagée pour dommages à la chaudière causés par le non-respect de la presente recommmandation.
En cas de gel de la chaudiere, ne l'allumer pour aucune raison et appeler tout de suite le centre d'assistance.
La chaudière fait partie intégrante d'une installation thermique. Par conséquent, toute installation doit être accompagnée par le livre d'umont rempli, conformément aux dispositions des normes en vigueur et modifications successives. Toutes les opérations d'entretien ordinaire et extraordinaire, ainsi que les vérifications de la combustion doivent être reportées dans le livre avec le nom du responsable de l'entretien et, si c'est le cas, le nom du tiers responsable.
La vérification de la combustion de l'appareil doit être effectue tous les ans. Cette vérification consiste en un contrôle de l'efficacité du générateur et doit être réalisée par du personnel autorisé (ex. les centres d'assistance technique agrés).
Ne pas obstruer les ouvertures d'aération de la piece où est installé un apparil à gaz (chaudière, apparil de cuisson) afin d'eviter la présence de melanges toxiques et explosifs.
Les chaudières à tirage naturel sont munies d'un dispositif qui contrôle l'évacuation des gaz de combustion et garantit ainsi le maximum de sécurité pendant le fonctionnement.
Si on détecte des odeurs de gaz ...
→ NE PAS ACTIONNER LES INTERRUPUTEURS ÉLECTRIQUES, LE TÉLÉPHONE NI TOUT AUTRE APPAREIL POUVANT GÉNÉRER DES DÉCHARGES ÉLECTRIQUES OU DES ÉTINCELLES.
OUVRIR IMMÉDIATEMENT LES PORTES ET LES FENÊTRES POUR VENTILER LA PIECE.
FERMER LES ROBINETS GAZ.
DEMANDER IMMÉDIATEMENT L'INTERVENTION D'UN PERSONNEL PROFESSIONNELLEMENT QUALIFIÉ.
Tableau de commande
LEGENDE COMMANDES
- BOUTON POUSSOIR MARCHE/ARRÉT
- SELECTEUR DE REGLAGE TEMPERATURE CHAUFFAGE
- SELECTEUR DE REGLAGE TEMPERATURE SANITAIRE
- TOUCHE
Sonde extérieure raccordée: En chauffage = température eau chauffage Appui sur 4 = affichage température extérieure Puis en restant appuyé 5 secondes = température eau sanitaire
Pas de sonde extérieure: En chauffage = température eau chauffage Appui sur 4 = affichage de 2 tirets Puis en restant appuyé 5 secondes = température eau sanitaire
Idem si chaudiere en mode sanitaire
- BOUTON SERVICE
- BOUTON SELECTION MODE ÉTÉ, HIVER OU ÉTÉ-HIVER
- BORNIER POUR CÂBLAGES EXTERIEURS
- ÉCRAN AFFICHAGE TEMPERATURES, CODES D'ERREUR, ET CONDITIONS DE FONCTIONNEMENT

Allumage de la chaudière
Ouvrir le robinet gaz place sous la chaudiere.
Appuyer sur le bouton poussoir 1 marche/arrêt (fig.22).
- La chaudière s'allume automatiquement avec réglage en mode HIVER à la condition que le thermostat s'ambiance soit en besoin.
- Vérifier que l'afficheur 8 ne signale aucun défaut; si la valeur H20 s'affiche, cela signifie que l'eau manque dans la chaudière et qu'il est nécessaire de replir l'installation (voir indications page 25 « Remplissage de l'installation »).

fig.22
Mode "ÉTÉ" - sanitaire seul
Pour commuter la chaudiere sur « ETÉ», agir sur la touche 6 (fig.22) et selectionner ainsi la fonction sanitaire. En mode “ ETÉ”, le symbole s'allume sur l'afficheur du tableau de commande.
Le système d'allumage automatique allume le brûleur à chaque demande d'eau sanitaire et le symbole se met à clignoter sur l'afficheur du tableau de commande.
Mode “HIVER” – chauffage seul
Pour commuter la chaudière sur « HIVER», agir sur la touche 6 (fig.22) et selectionner ainsi la fonction chauffage. En mode “HIVER”, le symbole s'allume sur l'afficheur du tableau de commande.
Le système d'allumage automatique allume le brûleur à chaque demande d'énergie pour le chauffage de l'habitation et le symbole se met à clignoter sur l'afficheur du tableau de commande.
Mode “ÉTE-HIVER” – chauffage + sanitaire
Pour commuter la chaudière en fonctionnement ÉTE-HIVER, agir sur la touche 6 (fig.22) et seLECTIONner la fonction chauffage/eau chaude sanitaire. Le fonctionnement ÉTE-HIVER se reconnaît à l'allumage simultané des symboles sur l'afficheur du tableau de commande.
Le système d'allumage automatique allume le brûleur à chaque demande d'énergie pour le chauffage de l'habitation ou demande d'eau chaude sanitaire ; les symboles se mettent à clignoter sur l'afficheur du tableau de commande.
Réglage température chauffage
Le réglage de la température s'effectue au moyen du bouton 2 (fig.22):
- Tourner vers la gauche pour diminuer la température.
- Tourner vers la droite pour augmenter la température.
- La plage de réglage de la température de chauffage est de 30^ à 80^ ou de 25^ à 40^ selon réglage des paramètres.
Réglage température eau chaude sanitaire
Le réglage de la température s'effectue au moyen du bouton 3 (fig.22):
- Tourner vers la gauche pour diminuer la température.
- Tourner vers la droite pour augmenter la température.
- La plage de réglage de la température de l'eau chaude sanitaire va d'un minimum de 35^ à un maximum de 60^ .
Remplissage de l'installation
Contrôler la pression de l'eau sur le manomètre M (fig.23) placé sur la partie inférieure de la chaudière ; il ne doit pas descendre en dessous de 1 bar.
Si l'eau vient à manquer dans la chaudière, le code « H20 » (voir page 25) s'allume sur l'afficheur du tableau de commande.
Pour rétablit la pression de l'eau, ouvrir le robinet de replissage R et contrôle au moyen du manomètre M que la pression de l'installationatteigne 1 bar.
Une fois l'opération terminée, fermer le robinet de remplissage.

Diagnostic - Codes d'erreur
Dans ce paragraphe se trouve la liste des codes des erreurs pouvant être visualisés sur l'afficheur 8 (voir page 52) avec les signalisations correspondantes et les opérations que l'utilisateur peut effectuer pour débloquer la chaudière.
E01 D俟aut flamme
Code E01 allumé sur l'afficheur.
- Contrôler que le robinet gaz soit bien ouvert.
- Éteindre et allumer la chaudière à l'aide du bouton pouvoir marche/arrêt 1 du tableau de commande.
- Quand le code erreur s'eteint, la chaudière se remet en service.
Si le défaut persiste, appeler le Centre Assistance Technique.
E02 Intervention sécurité surchauffe
Code E02 allumé sur l'afficheur. Appeler le Centre Assistance Technique.
E03 Destruct sonde fumée (modèle DMC 24 uniquement)
Code E03 allumé sur l'afficheur. Appeler le Centre Assistance Technique.
H2O Manque d'eau
Code H20 allumé sur l'afficheur.
- Contrôler la pression d'eau dans l'installation du chauffage et vérifier que la pression indiquée sur le manomètre M (fig.23), se trouvant dans le bas de la chaudière, ne soit pas inférieure à 1 bar.
- Si la pression est inférieure à 1 bar, procéder au remplissage de l'installation selon les indications du paragraph « Remplissage de l'installation »
- La chaudière se remettra en marche automatiquement.
Si le problème persisté, appeler le Centre Assistance Technique.
E05 Destruct sonde chauffage
Code E05 allumé sur l'afficheur. Appeler le Centre Assistance Technique.
E06 Destruct sonde sanitaire
Code E06 allumé sur l'afficheur. Appeler le Centre Assistance Technique.
E14 Dedefaut pressostat air (modèle DMV 24 uniquement)
Code E14 allumé sur l'afficheur. Appeler le Centre Assistance Technique.
E22 Demande programmation parametes
Code E22 allumé sur l'afficheur. Appeler le Centre Assistance Technique.
N.B. En cas d'arrêt prolongé de la chaudière :
Laisser la chaudiere en mode « veille » pour maintainir la fonction « hors-gel » :
chaudiere sous tension
alimentation gaz ouverte
boutons chauffage et sanitaire régles au mini
- Mettre la chaudiere en arrêt en débranchant l'alimentation électrique, en fermant l'alimentation gaz et en vidangeant totalement l'installation.
Notice Facile