SBS 53I3 - Combinatiekoelkast LIEBHERR - Gratis gebruiksaanwijzing en handleiding
Vind de handleiding van het apparaat gratis SBS 53I3 LIEBHERR in PDF-formaat.
Download de handleiding voor uw Combinatiekoelkast in PDF-formaat gratis! Vind uw handleiding SBS 53I3 - LIEBHERR en neem uw elektronisch apparaat weer in handen. Op deze pagina staan alle documenten die nodig zijn voor het gebruik van uw apparaat. SBS 53I3 van het merk LIEBHERR.
GEBRUIKSAANWIJZING SBS 53I3 LIEBHERR
Gebruiksaanwijzing en inboundhandleiding
voor integreerbare koel-vriescombinatie,
met Cool&Fresh-gedeelte en elektronische besturing
Bedienings- en contropaneel, afb. A1 Vriesgedeelte
① Temperatuur- en insteldisplay
② Tiptoetsen voor temperatuur: bovenste toets = warmer, onderste = kouder
③ Aan/Uit-toets
④ SuperFrost-toets
controlelampje (LED) Aan = functie ingeschakeld
⑤ Toets voor uitschakelen geluidssignaal bij alarm
Koelgedeelte
⑥ Kinderbeveiliging (indicator voor koel- en vriesgedeelte)
⑦ Temperatuur- en insteldisplay
⑧ Tiptoetsen voor temperatuur: bovenste toets = warmer, onderste = kouder
⑨ Aan/Uit-toets voor koel- en Cool&Fresh-gedeelte
10 SuperCool-toets
controllampje (LED) Aan = functie ingeschakeld
Overzicht van apparaat en uitrusting Afb. A
Koelgedeelte, ca. 5^ C
Bedienings- en controlepaneel
Boter- en kaasvak
Eierrekje*
Verplaatsbare draagplateaus*
Binnenverlichting
Laden voor groente, sla, fruit
Dooiwaterafvoer koelgedeelte
Verschuifbare flessenhouser*
Opbergvak voor hoge flessen en drank
Cool&Fresh-gedeelte, iets boven 0^ C
Lade voor droge of verpakte levensmiddelden
Typeplaatje
Lade met regelbare luchtvochtigheid voor vochtige sla, groente, fruit
Vriesgedeelte, ca. -18 °C
Invriesplateau, koudeaccu
Laden met info-system*
IJsblokjeshounder*
Kinderbeveiling ⑥
tegen ongewenst uitschakelen:
SUPERFROST

3 sec
ALARM

- Druk eerst op de Alarm-toets en verwolgens ook op de SuperFrost-toets. Houd.beide toetsen ca. 3 sec. ingedrukt - korte dubbele pieptoon, de indicator ⑥ Licht op = beveiliging ingeschakeld.
- Uitschakelen: druk nogmaals op deze toetsen-combinatie - de indicator gaat UIT.
SuperCool
Voor het snel afkoelen van levensmiddelen in het koelgedeelte:
- Druk kort op de SuperCool-toets (1) zodate het lampje oplicht = functie ingeschakeld.
- Automatische uitschakeling na ca. 6 ur.
SuperFrost
Voor het snel invriezen van verse levensmiddelen:
- Druk kort op de SuperFrost-toets ④ zodate het lampje oplicht.
- 6 - 24 eeroorvriezen, afhankelijk van de hooveelheid in te vriezen levensmiddelen.
- Leg de verse levensmiddelen verwolgens bij voorkeur in de bovenste laden.
SuperFrost wordt afhankelijk van de behoefteuitgeschakeld - het apparaat schakelt automatisch op normala vriezen over.
^ op display/FrostControl-melding
betekent: de temperatuur in het vriesgedeelte is door stroomuitval in de afgelopen uren/dagen te sterk opgelopen - controllerer de kwaliteit van de levensmiddelen.
Cool&Fresh-gedeelte
Koudste zone van de koelruimte, voor gevoelige en snel berdefelijke levensmiddelen.
Typeplaatje, Afb. A3
① Typeaanduiding
② Servicenummer
③ Apparaatnummer
④ Invriescapaciteit in kg/24h
Wij feliciteren u met uw nieuwe apparaat. Door uw aankoop heeft u gekozen voor alle Voordelen van de modernste koudetechniek, die u een hoogwaardige kwaliteit, een lange levensduur en een hove bedrijfszekerheid garandeert.
De uitvoering van uw apparaat biedt u elke dag opnieuw optimaal bedieningscomfort.
Met dit apparaat, gefabricieerd met milieuvriendelijkte technieken en recyclebare materialen, leveren u en wij gezamenlijk een actieve bijdrage aan het behoud van ons milieu.
Lees, om alle Voordelen van uw nieuwe apparaat te leren kennen, a.u.b. de informatatie in deze gebruiksaanwijzing aandachtig door.
Wij wensen u veel plezier met uw nieuwe apparaat.
Overige pluspunten
Vrij van cfk's en hfk's
Twee optimale koelsystemen
Koel- en vriesgedeelte onafhankelijk van elkaar regelbaar
Energie-efficiente isolatie
Laag energieverbruik
Comfortabele bediening door deplaatsing van het bedieningspaneel in het front
Elektronische besturing
- Temperatuurregeling binnen klimaatklasse onafhankelijk van kamertemperatuur
Temperatuurdisplay voor ingevroren levensmiddelden
Heldere binnenverlichting
Geoptimaliseerde netto-inhoud
Professionele 0^ -koeling in Cool&Fresh-ge-deelte
Cool&Fresh-laden op geleiders uittrekbar
Regelbare luchtvochtigheid, maar keuze voor droog of vochtig gebruik
Variabel en praktisch interieur
Deel- en onserschufbare glasplaat* voor hoge verpakkingen
Op de praktijk georienteerde deurindeling en ruimte voor groe flessen drank
- Temperatuuralarm bij te hoge temperatuur in het vriesgedeelte
Indicatie bij stroomuitval/FrostControl-melding
Snel invriezen van verse levensmiddelen
Eenvoudige reiniging door gemakkelijk schoonte make n gladde en afgeronde inwendige oppervlakken
Gekoppelde deuren - eenvoudige inbouw in ombouwmeubel
Verwisselbare deurscharnieren

Vouw a.u.b. voordat u met lezen begint de dubbelgevouwen vagina met afbeeldingen aan het begin van deze gebruiksaanwijzing open.
Bewaar deze gebruiksaanwijzing zorgvuldig en geef hem eventueel aan de volgende eigenaar door.
Deze gebruiksaanwijzing is voor verscheidene modellen geldig, afwijkingen+zijn waarom möglichk.
Inhoud
pag.
Gebruiksaanwijzing
Het apparaat in vogelvlucht - korte handleiding 38 Pluspunter, inhoud 39
1 Veiligheidsinstructies en waarschuwingen 40
Aanwijzing m.b.t. afdanken 40
Inbouw- en ventilatie-aanwijzing 40
Aansluiten 40
2 Ingebruinkeming en controlepaneel 41
In- en uitschakelen 41
Temperatuur instellen 41
Kinderbeveiliging 41
Temperatuurdplays 41
Alarm - geluidssignaal 42
Indicatie bij stroomuitval/FrostControl-melding 42
SuperCool 42
3 Koelgedeelte 43
Verdelen van de levensmiddelen 43
Indeling aanpassen 43
Binnenverlichting 43
4 Cool&Fresh-gedeelte 44
5 Vriesgedeelte 45
SuperFrost 45
Aanwijzingen voor het invriezen en bewaren 45
Info-systeme 46
Invriesplateau 46
Koudeaccu's 46
IJsblokjes make 46
6 Ontdooien 47
Reinigen 47
Energiebesparing 47
7 Storingen 48
Technische Dienst en typeplaatje 48
Inbouwhandleiding
Bepalingen 48
Draairichting deur veranderen 48-49
Inbouwaanwijzingen 48-49
Bevestiging en montage 48-49

Aanwijzing m.b.t. afdanken
De verpakking als transportbescherming van het apparaat en afzonderlijke onderdelen is van recyclebare materialen gefabriceerd.
Golfkarton/karton
- Voorgevormde delen van PS (geschuimd, cfk-vrij polystyreen)
- Folies en plastic zakken van PE (polyetheen)
- Spanbanden van PP (polypropeen)
- Verpakkingsmaterial is geen spelegoed voor kinderen - verstikkingsgevaar door folies!
- Breng a.u.b. het verpakkingsmaterialaalaar het dichtstbijzijnde officiele inzamelpunt zodate verwerkt hunnen worden.

Het afgedankte apparaat
bevat nog waardevolle materialen en moet gescheiden van het ongesorteerde afval worden afgevoerd.
- Afgedankte apparaten onmiddelijk onbruikbaar make, stekker UIT het stopcontact trekken en aansluitkabel doorknippen.
Verwijder eenevt. snap- of fremdelslot, zodat spelende kinderen zich nicht selbst kuren opsluiten - ze stikken.
- Let erop dat het koelmiddelcircuit van het afgedankte apparaat voor afhaling of afgithe bij de door de gemeenten ingerichte depots nicht beschadigd worden. Op deze wijze is gewaarborgd dat het koelmiddel in het circuit of olie Niet ongecontroleerd ontsnapt.
- Nadere informatatie over het gebruike koelmiddel vindt u op het typeplaatje. De warmte-isolatiestof is PU met pentaan.
- Informatie over ophaaldata of inzamelpunten is deplaatselijke stadsreiniging of bij de gemeente verkrijgbaar.
- Om besoinlijk letsel en materiele schade te voorkomen, het apparaat alleen verpakt transporteren en met twee Personen neerzetten.
- Het gebruekte koelmiddel R 600a is milieuvriendelijk, maar brandhaar.
Leidingen van het koelmiddelcircuit Niet beschadigen. Eruit spuitend koelmiddel kan oogletselveroorzaken of ontbranden. - Wanner koelmiddel vrijkomt, dan open vuur of ontstekingsbronnen in de nabijheid van het lekpunt verwijderen, stekker uit het stopcontact trekken en de ruimte goed ventileren.
- Bij schade aan het apparaat onmiddelijk - voor het aansluiten - bij de leverancier reclameren.
- Om een veilig gebruik te waarborgen het apparaat alleen volgens de informatatie in de gebruiks-aanwijzing monteren en aansluiten.
- In geval van een storing het apparaat van het net loskoppelen: stekker uit het stopcontact trekken (hierbij Niet aan de aansluitkabel trekken) of zekering lately aanspringen resp. eruit draaien.
- Reparaties en ingrepen aan het apparaat alleen door de technische Dienst lately uitvoeren, waar anders aanzijnenlijke gezaven voor de gebruiker ontstaan. Hetzelfde geldt voor het verwangen van het netsnoer.

Veiligheid bij gebruik
- Bewaar geen explosieve stoffen of spuitbussen met brandbare vrijfgaussen, zoals butaan, propaan, pentaan enz., in het apparaat. Eventueel vrijkomende gassen zouden door elektrische componenten kuren ontbranden. U herkent dergelijkke spuitbussen aan de erop gedrukte inhoudsvermeling of aan een vlamsymbool.
- Producten met een hoog percentage alcohol al-leen goed afgesloten en staande bewaren.
In het inwendige van het apparaat geen open vuur of ontstekingsbronnen gebruiken. - Geen elektrische apparaten binnen het apparaat gebruiken (bijv. stoomreinigingsapparatuur, verwarmingsapparatuur, ijsmakers enz.).
- Plint, laden, deuren enz. nied als voetensteun of om te leunen misbruiken.
- Kinderen nicht met het apparaat lately spelten, bijv. door ze in laden te lately zitten of aan de deur lately hangen.
- Consumptie-iks, met name waterijs of ijsblokjes, na het eruit nemen Niet onmiddelijk en Niet te koud consumeren. Door de lage temperaturen bestaat "Gevaar voor verbranding".
- Consumer gegen levensmiddelen die over de datum zich, ze können een voedselvergifting经营活动.

Inbouw- en ventilatie-aanwijzing
- Let er bij het opstellen/inbouwen op dat er geen leidingen van het koelsystemenschadigd raken.
De ventilatieopengenogenietafgedekt werden.Altijd op een goede be- en ontluchting letten!
Neem de aanwijzingen UIT de appendix van de inbouwhandleiding in acht.
- Deplaatsingsruimte van uw apparaat要去 volgens de norm EN 378 pro 8 g koelmiddelmassa R 600a 1 kubieke m bezitten zodate in geval van een lekkage in het koelmiddelcircuit geen ontv Lambare gas-lucht-mengeling in de plaatsingsruimte van het apparaat kan ontstaan. Informatie over de hoeveelheid koelmiddel vindt u op het typeplaatje aan de binnenkant van het apparaat.
- Verwijder de transportbescherming van de draag-plateaus en breng deze volgens afb. B en de paragraaf "Indeling aanpassen" op de juiste hoogte aan.
Aansluten
Stroomsoort (wisselstroom) en spanning
op de opstellingsplaats要去en met de informatatie op het typeplaatje overeenstemmen. Het typeplaatje bevindt zich aan de linker binnenkant, afb. A.
- Het apparaat alleen via een correct geinstalleerd randaardestopcontact aansluiten.
- Het stopcontact要去 d.m.v. een zekering van 10 A of zwaarder beveiligd�, buiten dechterzijde van het apparaat liggen en goed toegankelijk�.
- Het apparaat Niet
- in combinatie met zgn. energiabesparingsstekkers gebruiken - de elektronica kan beschadigd worden,
- samen met andere apparaten aansluiten via een verlangkabel - gevaar voor oververhitting.
Bij het loshalen van het netsnoor van de achterzijde van het apparaat de kabelhouser verwijderen, om rammelen te voorkomen!
Wij adviseren u om het apparaat te reinigen voordat u het in gebruik neemt (zie verder onder "Reinigen"). Schakel het apparaat ca. 2aar voordat u de eerste levensmiddelen erin plaatst in. Leg de in te vriezen levensmiddelen er pas in als het temperatuurdisplay ten minste -18 ^ C aangeeft.
Koel-/Cool&Fresh- * en vriesgedeelte ****
kunnen onafhankelijk van elkaar gebruikt worden.
In- en uitschakelen
Afb. A1
- Inschakelen: Druk op de Aan/Uit-tiptoetsen (9) links voor koel-/Cool&Fresh-gedeelte, (3) rechts voor vriesgedeelte); de temperatuurdisplays lichten op/knipperen.
- Koelgedeelte: de binnenverlichting brandt wanner de deur geopend is.
- Vriesgedeelte: het alarm worden alsijd geactiveerd wonneer het apparaat voor de eerste maal worden ingeschakeld en de binnentemporatuur te hoog is. Druk op de Alarm-toets ⑤ om het alarm uit te schakelen.
Nadere informatatie vindt u onder "Alarm - geluidssignaal".
- Uitschakelen: Druk op de Aan/Uit-tiptoets; de verlichte temperatuurdisplays gaan UIT.
Temperatuur instellen
Afb.A1
Het apparaat is standard ingesteld voor normalaal bedrijf. Voor het koelgedeelte adviseren wij +5^ voor het vriesgedeelte -18^ .
- Temperatuur verlagen/kouder:
Druk op de onderste tiptoets, voor het koel-ge-deelte: ⑧ , voor het vriesgedeelte: ② - Temperatur verhogen/warmer:
Druk in bye gevalen op de bovenste tiptoets. - Tijdens het instellen knippert de ingestelde temperatuur op het temperatuurdisplay.
- De eerste keer dat u op een temperatuur-tiptoets drukt tonen de temperatuurdisplays de laatst ingestelde temperatuur van het vries- of koelgedeelte.
- Door meermaals kort op een tiptoets te drukken, LaTeX u de ingestelde temperatuur in stapjes van 1^ verspringen. Houdt u de tiptoets longer ingedrukt dan verandert de temperatuur doorlopend.
- Ongeveer 5 seconden nadat u de tiptoetsen hebtslosgelaten schakelt het temperatuurdisplay automatismoch over op de werkelijkke vries- of koeltemperatuur.
De temperatuur is instelbaar:
- in het koelgedeelte:tussen 9^ en 4^,
- in het vriesgedeelte:tussen -14 ^ C en -28 ^ C Afhankelijk van de opstelplaats worden de laagste temperatuur ook daadwerkelijk bereikt of Niet (staat het apparaat op een warme plaats dan worden de laagste temperatuur Niet alkijd bereikt).
- In het Cool&Fresh-gedeelte worden de temperatuur automatisch geregeld zodat deze constant net boven 0^ blijft.
Wilt u een hogere of een lagere temperatuur instellen, bijv. voor het bewaren van vis, dan kut u de insteltemperatuur van het Cool&Freshgedeelte wijzigen:
-
Houd de alarmtoets ⑤ ca. 7 s ingedrukt - op het temperatuurdisplay ⑦ verschijnt een "b", op het display ① een "!".
-
Druk nu op de insteltoetsen ②: bovenste toets warmer, onderste toets kouder. De temperatuur is in ca. 5 stappen instelbaar, zichtaar in het displayveld ① (eén stap kommt overeen met een wijziging van ca. 0,5 tot 1^ , voorteken '- voor kouder).
- Door nogmaals kort op de alarmtoets te drukken sluit u de instelprocedure onmiddelijk af. Na ca. 5 min. worden de procedure automatisch afgesloten.
Kinderbeveiling
Afb.A1
Met de kinderbeveiliging beschermt u het apparaat gegen ongewenst uitschakelen.
- Kinderbeveiling inschakelen: Druk op de Alarm-toets ⑤ , houd de toets ingedrukt en druk op de SuperFrost-toets ④ . Houd beiden tiptoeten ca. 3 sec. ingedrukt.
- Een dubbele pieptoon geeft aan dat de kinderbeveiliging is ingeschakeld.
- De indicator ⑥ licht op.
Uitschakelen: Druk de toetsencombatie nog-maals in; de indicator ⑥ gaat UIT.
Temperatuurdplays
Afb.A1
In normal bedrijf toont
- temperatuurdisplay ⑦ de gemiddelde temperatuur in het koelgedeelte en
- temperatuurdisplay ① de hoogste temperatuur van de ingevroen levensmiddelen.
Direct nadat het apparaat in bedrijf werk gesteld en wanner het apparaat warm is, staan er streepjes op het temperatuurdisplay totdat de temperatuur ver genoeg gedaalid (tussen 19^ - 0^ in het koelgedeelte, onder de 0^ in het vriesgedeelte). Het temperatuurdisplay knippert wanner u
- de ingestelde temperatuur verandert en wonneer
- de temperatuur enkele graden gestegen is. Hier-door worden u erop geattendeerd dat de temperatuur is opgelopen. Dit kan gebeuren wanner u verse levensmiddelen op kamertemperatuur in het apparaat gelegd hebt of wanner u het apparaat lang open liet staan en er warme lucht in kon stromen. In dit geval zorgt de ingebouwde elektronica er automatisch voor dat de ingestelde temperatuur waar bereikt worden. De korte temperatuurstijging heeft geen gezolgen voor de levensmiddelen
- Verschijnt op het temperatuurdisplay een foutmelding "F0" tot "F5" dan is spreke van een storing. Neem in dit geval contact op met de technische Dienst van de leverancier van het apparaat. Wanner u het nummer van de boutmeling noemt, kan men u snel van Dienst+zijn.
De helderheid van de displays
is bij aflevering op een lage waarde ingesteld.
Wordt een deur geopend of een instelling gewijzigd, dan worden de displays gedurende 1 minuut automatisch met maximale holderheid verlicht. Hetzfelfde geleurt bij een alarmtoestand.
Desgewenst=kunt u de holderheid van de displays aanpassen, afb. A1:
- Lichter: houd de Alarm-toets ingedrukt en druk tegelijkertijd de bovenste tiptoets ② (vriesgedeelte "temperatuur vriesgedeelte hoger") in.
- donkerder: houd de Alarm-toets ingedrukt en druk tegelijkertijd de tiptoets ② (vriesgedeelte "temperatuur vriesgedeelte lager") in.
NL

ALARM

Alarm - geluidssignaal
Afb.A1
Het alarm helpt u om de temperatuur van ingevroren levensmiddelen te bewaken en energie te besparen.
- Het alarm stoot wonneer u op de Alarm-toets ⑤ drukt en
- automatisch wanseer de temperatuur weeer voldoende ver gedaald is.
- Het alarm blijft ingeschakeld zolang de levens-middelen Niet koud genoeg� (afhankelijk van de ingestelde temperatuur).
- Tegelijkkertijd knippert het temperatuurdisplay.
Mogelijkoorzaak van het alarm:
- er werden warme, verse levensmiddelen in het apparaat gelegd;
- bij het overpakken/eruit halen van levensmiddelen is te veel warme lucht in het apparaat restroomd.
Het temperatuurdisplay blijft knipperen totdat de alarmsituatie beeindigd is. Vervolgens schakelt het display automatisch op continu branden over en is het alarmoor weer gereed.
SuperCool
Afb. A1
o Met de functie SuperCool schakelt u het koelge- super cool deelte over op maximale koeling.
Deze functie is bijzonder geschickt om grote hoeveelheden levensmiddelen, dranken, vers gebak of versbereide levensmiddelen zo snel möglichk af te koelen.
- Inschakelen: Druk kort op de SuperCool-toets (10); het contrôlelampjelicht op, de koeltemperatuur daalt tot op de koudste waarde.
Opmerking:
SuperCool verbruikt iota's meer stroom. Na ca. 6
uur schakelt de elektronica darüber weer automatisch waar de energiebesparende stand terug.
Desgewenst kunt u de SuperCool-functie ook van tevoren uitschakelen.
- Uitschakelen: Druk nogmaals kort op de SuperCool-toets; het contrôlelampje gaat UIT.
nA
Indicatie bij stroomuitval/FrostControl-melding
Afb.A1
Staat op het display nR dan betekent dit: De temperatuur van de ingevroen levensmiddelen is door een stroomuitval, door een netspanningsonderbreaking in de afgelopen uren ofragen te ver opgelopen.
- Wanner u tijdens de melding nR op de Alarmtoets ⑤ drukt, ziet u op het display hoe ver de temperatuur gedurende de stroomonderbreking is opgelopen.
Controleer, afhankelijk van de temperatuurstijging of zichs ontdooiing, of de levensmiddelen nog geschiktঃn voor consumptie!
- De hoogste temperatuurijdens de stroomonderbreking is ca. 1 min. zichtaar. Daarna toont het display waar de temperatuur die de levensmiddelen op dat moment hebben. Druk nogmaals op de Alarm-toets om de weergave van de hoogste temperatuur voortijdig af te breken.
Zodra het apparaat weeer stroom krijgt za de ingestelde temperatuur weeer worden aangehouden. De melding nR verdwijntECHTER pa na een druk op de toets Alarm Uit.

Afb. B: Koelgedeelte:
1 boter, kaas
2 eieren
3 dranken, pakken melk/sap, flessen
4 blinkken
5 bakproducten
6 zuivelproducten
7 zuidvruchten, koudegevoelige groentes
Cool&Fresh-gedeelte:
8 vlees, worst, vis, kant-en-klare maaltijden
9 sla, fruit, groenten;meer informatie vindt u in de paragraaf "Cool&Fresh-gedeelte".





Verdelen van de levensmiddelden
Door de natuurlijke luchtcirculatie in het koelgedeelte ontstaan gebieden met verschillende temperaturen. Voor de diverse soorten levensmiddelen kan deze temperatuurverdeling voordelig zich. Zo heerst direct boven de groenteladen en tegen dechterwand de laagste temperatuur. Bovenin het apparaat, aan de voorkant en in de deur heerst de hoogste temperatuur (optimaal voor bijv. kaas en smeerbare boter). Plaats de levensmiddelen.daarom volgens het indelingsvoorbeeld, afb. B, in het apparaat.
Tips voor het koelen
NL
- Leg de levensmiddelen nicht te dicht gegen elkaar zodate lucht er goed:tussen circuleren kan.
- Bewaar levensmiddlesen die nsel geur of smaak afgeven of aannemen evenals vloeistoffen.altijd in een gesloten koelkastdoos of afgedekt.
- Ethyleengasproducerende en -gevoelige levensmiddelen zoals fruit, groente en sla,.altijd gescheiden bewaren of verpakken, om de houdbaarheid Niet te reduceren; bijv. tomaten Niet met kiwi's of kool bewaren.
Indeling aanpassen
Desgewenst kunt u de plateaus en opbergvakken verplaatsen.
Opbergvakken in deur verplaatsen, afb. C: schuif het opbergvak omhoog, neem het er maar voren UIT en zet het in de omgekeerde volgorde terug.
- Door de flessenhouser te verschuiven, voorkomt u dat flessen omvallen bij het openen en sluiten van de deur, neem de flessenhouser.altijd bij het fixeerdeeltje van kunststof.
- Draagplateaus verplaatsen, afb. D:
- Til het draagplateau op, trek het waar voren en zwenk het weg.
Schuif de draagplateaus altijd met de aanslagrand ache- ter maar boven wijzend terug, waar de levensmiddelen anders aan dechterwand vast konnen vriezen.
- De glasplaten়n door uittrekstops beveiligd gegen ongewild uittrekken.
Hebt u ruimte voor groe flessen nodig, dan kut u de Voorste halve glasplaat* zacht omhoog heffen en voorzichtig onder de achterste planta schuiven tot de uittrekstops in de openingsen klikken, afb. E.
De binnenverlichting
wordt automatisch uitgeschakeld wanner het apparaat langer dan ca. 15 minuten open staat. Gaat de binnenverlichting Niet automatisch aan wanner u het apparaat opent maar is het temperatuurdisplay wel verlicht, dan is het gloeilampje misschien defect.
Vervangen van de gloeilamp:
- Type gloeilamp: max. 25 W, de stroom en spanning要去en overeenkomen met de gegevens op het type-plaatje. Gebruik enkel gloeilampen metdezelfde afmetting.E14-fitting.
- Schakel het apparaat UIT. Trek de stekker UIT het stopcontact of schakel de zekering in de meterkast UIT.
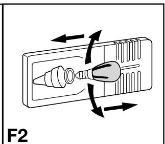
- Druk de boven- en onderkant van het afdekkapje, afb. F1, in 1 en wip het kapje aan de achterkant los 2.
- Vervang de gloeilamp, afb. F2, gebruik bij het draaien ietsmeer kracht - i.v.m. wrijving van afdichting. Let er bij hetindraaien op dat de afdichting correct in de lampfitting zit.
- Zet het afdekkapje anschtertering en druk de boven- en onderkant vast.
In het Cool&Fresh-gedeelte kut u diverse verse levensmiddelen tot drie koer zo lang bewaren met een constante kwaliteit als bij traditionele koeling. Zo kut u een grotere voorraad verse levensmiddelen bewaren. Smaak, versheid, genot- en voedingswaarde (gehalte aan vitamine C en B) blijven in hoge mate behouden. Er ontstaat minder afval en gewichtsverlies bij het panklaar makeen van groente en fruit. De voeding kan verser en natuurlijker zich.
De automatisch geregelde bewaartemperatuur constant net boven 0^ en de zich instellende luchtvochtigheid bieden optimale bewaaromstandigheden voor de verschillende levensmiddelen.
De bovenste lade,
afb. A, is geschikt voor het bewaren van droge of verpakte levensmiddelen (vb. zuivelproducten, vlees, vis, worst). Hier ontstaat een relatief droog bewaarklimaat.
De grosregelbare lade,
afb. A/A3, is in de stand "vochtig" geschikt voor het bewaren van sla, groente, fruit. Bij een goed gemulde lade ontstaat een heerlijk fris klimaat met een luchtvouchtigkeit tot max. 90% .
Indien nodig=kunt u deze lade waar keuze gebruiken met een droog of vochtig klimaat.
- "droog": Klein vochtigheidssymbool - schuif maar links duwen. Voor levensmiddelen die geschikt zijn voor droge bewaring.
- "vochtig": hoge relatieve luchtvochtigheid van ca. 90% , groot vouchtigheidssymbol - schuif helemaal maar rechts duwen. Geschikt voor onverpakt bewaarde levensmiddelen met een hoge vochtigheidsgraad, vb. verse bladsalades.
Opmerkingen
- De luchtvochtigheid in de lade is afhankelijk van het vochtigheidsgehalte van de opgeslagen levensmiddelen en van hoe vaak de deur worden geopend.
- Let erop dat uuitsluitend verse etenswaar koopt. Versheid en kwaliteit van de levensmiddelen bepalen de duur van de bewaartijd.
- Onverpakte dierlijke en plantaardige levensmiddelen apart bewaren en gesorteerd in de laden leggen. Als dituitplaatsgebrek Niet möglichk is, moeten zulke levens-middelen worden verpakt. Houd verschillende soorten vlees van elkaar gezehden. Indien u het vlees afzonderlijk verpakt, können ziektekiemen zich minder sneluitbreiden en voorkomt u vroegtijdig bederf.
- Houd er rekening mee dat eiwitrijkere levensmiddelen sneller bederven. Dit betekent dat schaaldieren en kreeftachtigen sneller bederven dan vis, vis sneller dan vlees.
Levensmiddleslen ongeveer 30 tot 60 minutes voor het nuttigenuit de laden halen. Aroma en smaak komen pas bij kamertemperatuur weeer maar voren, de genotwaarde stijgt. - Niet in het Cool&Fresh-gedeelte horen harde kaas, aard-appels, kougevoelige groente zoals komkommers, paprika, aubergines, avocado's, halfrijpe tomaten, bonen, courgettes en kougevoelige zuidvruchten zoals ananas, bananen, grapefruits, meloenen, manga's, papaya's, enz.
Wenken voor het bewaren
van bepaalde levensmiddelen in het Cool&Fresh-gedeelte:

Bij drooge instelling:
Boter tot 30 dagen
Kaas,zacht tot 30 dagena
Worst, beleg tot 7 Tage
Vis tot 4 Tage
Schaaldieren tot 3 Tage
Gevogelte tot 5 Tage
Varkensvlees in grote porties tot 7 Tage Klein gesneden tot 5 Tage
Rundvlees, wild tot 7 Tage
Bij vochtige instelling:
Groente en sla
Artisjokken tot 21 Tage
Asperges tot 14 dagen
Bieslook tot 7agen
Bleekselderij tot 30 Tage
Bloemkool tot 21ragen
Boerenkool tot 14 Tage
Broccoli tot 14 dagen
Chinese kool tot 14ragen
Erwten tot 10 Tage
IJsbergsla, andijvie, veldsla tot 21ragen
Keukenkruiden tot 30 Tage
Knoflook tot 180 dagen
Kool (krop) tot 180 dagen
Koolraap tot 14ragen
Paddestoelen tot 7ragen
Prei tot 60 Tage
Radicchio tot 21ragen
Radijsjes tot 14 Tage
Savooiekool tot 60 dagen
Sla (krop) tot 10 dagen
Spinazie tot 7ragen
Spruitjes tot 30 Tage
Venkel tot 21 Tage
Witlof tot 30 Tage
Wortels tot 150 Tage
Fruit
Aardbeien tot 5 Tage
Abrikozen tot 14 Tage
Appels tot 180 Tage
Rode bessen tot 21 Tage
Bosbessen tot 14 Tage
Bramen tot 8 dagEN
Dadels (vers) tot 60 Tage
Druiven tot 90 Tage
Frambozen tot 5 Tage
Kersen tot 14 Tage
Kiwi tot 120 dagen
Kruisbessen tot 21 Tage
Kweeperen tot 90 Tage
Peren tot 120 dagen
Perziken tot 30 Tage
Pruimen tot 21 Tage
Rabarber tot 21 Tage
Vijgen (vers) tot 7 Tage
SuperFrost
Met de SuperFrost-functie zorgt u ervoor dat verse levensmiddelen zo snel möglichk door en door bevriezen, verwil reeds ingevroen levensmiddelen een "koudereserve" krijgen. Zo blijven voedingswaarde, uiterlijk en smaak van de ingevroen levensmiddelen het Beste bewaard.
Op het typeplaatje (zie afb. A2, ④ , onder "Invriescapaciteit ... kg/24h") vindt u hoeveel kilo verse levensmiddelen u binnen 24(uur maximaal)...kunt invriezen. De invriescapaciteit is afhankelijk van het model en de klimaatklasse van uw ap-paraat.
Invriezen met SuperFrost
- Druk kort op de SuperFrost-toets ④ ; het controleampje Licht op.
De temperatuur daalt; het apparaat werkt met
r maximale koeling.
Bij een geringe hoeveelheid in te vriezen levensmiddelen ca. 6 eeroorvriezen - gewoonlijk is dit lang genoeg. Wacht bij de maximale hoeveelheid levensmiddelen, zie het typeplaatje onder "Invriescapaciteit", ca. 24 eer.
Daarna de verse levensmiddelen erin leggen, bij voorkeur in de bovenste laden*. Vries bij de maximale hoeveelheid de verpakte levensmiddelen zonder laden in. Leg ze direct op de koudeplaten en na het invriezen in de laden!
SuperFrost wirdt automatischuitgeschakeld, afhankelijk van de ingevroen hoeveelheid (vari- erend van 30 tot 65 uu). Na het invrieken gaat het SuperFrost-lampje uit - het apparaat werkt weer in de normale energiebesparende stand.
Opmerking:
Schakel SuperFrost Niet in
- wanner u reeds ingevroren diepvriesproducten in het apparaat legt;
- bij het invriezen van minder dan 2kg verse levensmiddelen per dag.
Aanwijzingen voor het invriezen en bewaren
- De volgende levensmiddelen kunt u invriezen: vlees, wild, gezogelte, verse vis, groente, fruit, zuivelproducten, brood, bakkerijproducten, kanten-klare maaltijden.
Ongeschikt zich: kropsla, rammenas, druiven, hele appels en peren, vet vlees.
- Als verpakkingsmateriala背后 geschikt: diepvrieszakjes, voor hergebruik geschikte koelkastdozen van kunststof of metaal (bijv. aluminium).
-
Breng in te vriezen levensmiddelen nooit in contact met ingevroren levensmiddelen. Leg uitsluitend droge verpakkingen in het apparaat zodate neiet aan elkaar+kunnen vastvriezen.
Schrijf alkijd de invriesdatum en inhoud op de verpakkingen. Houd u aan de maximale houdbaarheid om kwaliteit'sverlies te voorkomen. -
Verpak levensmiddelen die u zich invriest alkijd in afgemeten porties. Houd bij voorkeur de volgende hoeveelheden per portie aan, om de porties meteen door en door te lately bevriezen:
- fruit, groente: max. 1 kg,
- vlees: max. 2,5 kg.
- Blancheer groenten na het wassen en afmeten van de porties door ze 2-3 minutes in kokend water onder te dompelen en cervolgens snel onder koud water af te spoelen. Gebruikt u een stoompan of magnetron, lees dan de bijbehorende gebruiksaanwijzing.
- Voeg geen zout of specerijen toe aan verse levensmiddelen en te blancheren groente. Voeg aan overige levensmiddelen slechts weinig zout en specerijen toe: verschillende specerijen veranderen door het invriezen van smaak.
- Vries geen flessen en pakken met koolzuurhoudende dranken in aangezien deze{kunnen exploderen. Haal flessen die u snel wilt koelen uiterlijk na een uur al weer uit het apparaat!
- Bewaren: De afzonderlijke laden en koudeplaten können max. 25 kg levensmiddelen dragen.
- Als u het maximale volume wilt gebruiken,kest u de laden eruit nemen en de vriesproducten direct op de koudeplaten bewaren - het energieverbruik stijgt minimaal. Daardoor staat de volledige inhoud als gebruiksinhoud ter beschikking.
Laden eruit halen: trek de lade tot aan de aanslag maar voren en til hem eruit. - De luchtspleet:tussen de bovenkant van de vriesruimte en de bovenste vriesplaat moet alttijd vrij়!

Leg er in geen geval ingevroren levensmiddlesen in,
ook geen platte verpakkingen. De vrije ruimte is belangrijk voor een goede luchtcirculatie en werkung van het apparatus.
-
Bewaar bezelfde soort levensmiddelen algijd bij elkaar. Zo voorkomt u dat de deur te lang open staat en bespaart u energia.
Houd u aan de voorgeschreven bewaartijden. -
Ontdooien: Haal steeds slechts zoveel levensmiddelen uit het apparaat als u direct nodig hebt. Verwerk eenmaal ontdooide levensmiddelen zo snel möglichk tot een gerecht. Ingevroen levensmiddelen kunt u als volgt ontdooien:
-
in een oven/heteluchtoven;
- in een magnetron;
- bij kamertemperatuur;
- in het koelgedeelte: de warmte die voor het ontdooien nodig is, worden aan de overige levens-middelen onttrokken.
- Reeds enigszins ontdooide platte porties vlees en vis+kunnen heet bereid worden.
- Groenten kunt u direct bereiden, zonder dat u ze ontdooit (in de helft van dearend die normalaal nodig is om.gaar te worden).
kant-en-klare
maaltijden
ijs
vis
varkensvlees
groente
fruit

worstjes
brood
paddestoelen
wild
gevogelte
rund/kalfsvlees



Het info-system*
De ingevroren levensmiddelen要去en binnen de aanbevolen bewaartijd worden gezruikt.
De getallen:tussen de symbolen staan voor de bewaarduur in maanden voor meerdere soorten diepvriesproducten.
De vermelde bewaartijden zijn richtwaarden voor vers in te vriezen levensmiddelen. Of de minimale of maximale bewaartijd geldig is, hangt van de kwaliteit van de levensmiddelen en de voorbehandeling af. Houd voor de wat vettere levensmiddelen altijd de minimale bewaartijd aan.
Het invriesplateau*
Hiermee vriest u bessen, kruiden, groenten en anderekleine diepvriesproducten in. De levensmiddelen behoudenhun vom en+zijn later eenvoudiger in porties te verdelen.
- Verdeel de diepvriesproducten losjes over het invriespla-teau, afb. H.
Schuif het invriesplateau in een van de bovenste laden. Laat de levensmiddelen 10 à 12 uur invriezen, stop ze vertologens in een diepvriesdoos of -zak en leg ze in een lade. - Ontdooien: Spreid de ingevroren levensmiddelen losjes naast elkaar UIT.
De koudeaccu's*
voorkomen bij stroomuitval dat de temperatuur te nsel oploopt - de kwaliteit van de levensmiddelen blijft better bewaard.
- De koudeaccu's kurz u ruimtebesparend in het invries- plateaue invriezen en Bewaren, afb. J.
- Wilt u ingevroren levensmiddelen bij een eventuele storing zo lang möglichk+kennen bewaren, leg dan de bevroren accu's in de bovenste lade direct op de levens-middelen.
IJsblokjes make
Aanzetboutaarbenedendrukken.
- IJsblokjeshounder met water vullen. Overtollig water vloeit via de afvoeropening weg.
- Aanzetbout maar boven drukken.
- IJsblokjeshounder in het apparaat zetten en latent bevriezen.
- Vervorm de houder enigszins om de ijsblokjes eruit te latenten springen of houd hem even onder stromend water.



Ontdooien
Het koelgedeelte en het
Cool&Fresh-gedeelte
ontdooien automatisch. Het vrijkomende water verdampt door de vrijkomende warmte van de compressor.
Uhoeft er slechts voor te zorgen dat het dooijwater door de afvoeropening in dechterwand acheter de bovenste Cool&Fresh-lade ongehinderd weg kan stromen (pijl in afb.A).
In het vriesgedeelte
Op de aluminiumplaten en fronten van de laden wordt na langere tijd een laag rijp resp. ij's gezormd, afhankelijk van de veelvuldigheid waarmee de deuren worden geopend en de "warmte" van de levensmiddelen die erin werden gelegd. Dat is heel normal.
Een dikkere ijslaag zorgt darüber wel voor een hoger energieverbruik. Daarom moet u het apparaat regelmatig ontdooien:
Schakel één dag voor het ontdooien de SuperFrost-functie in. De ingevroen levensmiddelen krijgen een "koudereserve".
- Ontdooien: trek de stekker uit het stopcontact of druk op de Aan/Uit-toets voor het vriesgedeelte; het temperatuurdisplay gaat uit. Gaat het temperatuurdisplay Niet uit, dan is de kinderbeveiliging ingeschakeld.
- Bewaar de ingevroren levensmiddelenevt. in een diepvrieslade, met de koudeaccu's* erop gelegd en in kranten of dekens gewikkeld, op een koele plaats.
- Plaats een pan heet (niet: kokend) water op een van de middelste platen om het apparaat sneller te lately ontdooien, afb. A4.
Gebruik voor het ontdooien geen elektrische verwarmings- of stoomreinigingsapparaten, ontdooisprays, open vuur of metalen voorwerpen om ijs te verwijderen. Gevaar voor verwondingen en beschadigingen!
- Laat de deur van het apparaatijdens het ontdooien open staan.
Wis het dooiwater met een spons of doek op.
Maak het apparaat verwolgens schoon.
Reinigen
- Trek.altijd de stekker uit het stopcontact of schakel de zekering in de meterkast uit, voordat u het apparaat schoonmaakt.
- Binnenruimte en delen van het interieur met lauwwarm water en een beetje schoonmaakmidel met de hand reinigen. Gebruik geen stoomreinigingsapparaat teneinde verwondingen en beschadigingen te voorkomen.
Gebruik nooit schurende/krassende sponsjes of geconcentreerde schoonmaakmiddelen en gebruik geen producten die zand, zuren of chemische oplosmiddelen bevatten.
- Gebruik bij voorkeur zachtte poetsdoeken en een pH-neutrale allesreiniger.
- Let erop dat er geen water in de afvoergoot, ventilatieroosters of elektrische delen dringt. Maak het apparat goed droog met een doek.
-
Beschadig of verwijder het typeplaatje aan de binnenkant van het apparaat nooit: het is belangrijk voor de technische Dienst.
-
De boterdoos* kurz u in de vaatwasmachine plaatsen. De plateaus, glasplaten en de overige uitrusting要去 met de hand reinigen: ze zich nicht vaatwasmachinebestendig.
- Trek de beschermfolie van de sierlijsten.
- Trek de Cool&Fresh-laden er voor het reinigen—helemaaluit, pak ze achefter vast en til ze maar boven weg (afb. L).

Afb. M
Afb. L
- Erin zetten: Alle laden dicht maar de greepzijde toe op de geheel eruit getrokken geleiders zetten - geleiders要去en tot aan de voorkant van de lade komen - en schuif de laden erin (afb. M).
Trek het deksel van de lade er eenvoudig maar voren uit. Bij het erin zetten zicht aan de greepzijde toe alle 4 lagertappen in de geleidegroeven latent vastklikken.
Laden en deksel要去en boven elkaar in een lijn staan.
Reinig de dooiwater-afvoeropening in de achterwand acheher de bovenste Cool&Fresh-lade regelmatig, afb. A, pijl. Gebruik indien nodigeen spits hulpmiddel, bijv. een wattenstaafje.
- Steekervolgens de stekker weer in het stopcontact (of schakel de zekering in de meterkast weer in) en schakel het apparaat in. Leg de levensmiddelen weer terug in het apparaat zodra de temperatuur begint te dalen.
Moet het apparaat voor langereijduitgeschakeld worden, maar het dan leeg, trek de stekker uit het stopcontact, maar het op de hierboven beschreiben manier schoon en LAST de deur van het apparaat open staan om geurvorming te voorkomen.
Tips voor energiebesparing
Houd de ventilatieopeningen vrij.
- Laat de deur nooit onnodig lang open staan.
- Plaats de levensmiddelen soort bij soort in het apparaat; houdt u aan de maximale bewaartijd.
- Bewaar alle levensmiddelen goed verpakt of afgedekt; rijpvorming worden zo voorkomen.
- Laat warme gerechten eerst tot kamertemperatuur afkoelen voordat u ze in het apparaat staat.
- Laat diepvriesproducten in het koelgedeelte ontdooien.
- Ontdooi het vriesgedeelte zodra zich een dikkere laag ijis gezormd heeft. Het apparaat viest dan beter en zuiniger.
- Houd de deur van het apparatusaat bij een storing gesloten. Zo voorkomt u dat de temperatuur snel oploopt en blijft de kwaliteit van de levensmidden langer bewaard.

Het apparaat is zodenig geconstrueerd en gefabricieerd dat storingen nagenoeg Niet voorkomen en een lange levensduur gegarandeerd is.
Doet zich desondanks een storing voor, ga dan a.u.b. na of\ deze misschien het gevolg is van een verkeerde bediening.\ Is dit het geval dan要去en we helaas - ook tijdens de\ garantietermiin - de reparatiekosten in rekening brengen.\ De volgende storingen(Int)kunt u zich opsporen en verhelpen:
Storing mogelijke oorzaak en oplossing
Het apparaat werkt nicht, het display blijft donker.
Is het apparaat correct ingeschakeld?
- Zit de stekker goed in het stopcontact?
- Is de zekering in de meterkast in orde?
- Is het koelgedeelte ingeschakeld?
- Stond de deur langer dan 15 min. open?
Is het gloeilampje defect? Vervang het lampje als onder "Binnenverlichting" beschreiben.
Het apparaat maakt te veel lawaai.
- Staat het apparaat op een stevige ondergrond? Worden meubels/voorwerpen naast het apparaat door het draaiende aggregaat aan het trillen gebracht? Zet de flessen en verpakkingen eventu-eel van elkaar af.
- Normaal zijn: stromingsgeluiden (borrelen of rui-sen) veroorzaakt door het koelmiddel dat in het koelmiddelcircuit stroomt.
Een kort klikken. Dit ontstaat als de compressor (de motor) automatisch in- of uitgeschakeld worden. Brommen van de motor. De motor bromt eveniets harder als het aggregaat worden ingeschakeld.
Het apparaat geeft een alarmsignaal, de temperatuur is nicht laag genoeg.
Hebt u er een te große hoeveelheid verse levens-middelen ingelegt zonder SuperFrost? (zie passage "SuperFrost")
- Sluit de apparaatdeur goed?
Werd het apparaat juices ingebouwd?
Is er voldoende be- en ontluchting? Ventilatierooster eventeel vrijmaken.
- Is de omgevingstemperatuur te hoop? (zie passage "Bepalingen")
Werd het apparaat te vaak of te lang geopend?
Eventueel afwachten of de gewenste temperatuur vanzelf weeort wordt bereikt.
Op het display staat nR.
- De stroom was uitgevalten. Handel als onder "Indicatie bij stroomuitval/FrostControl-melding" beschreiben.
Technische Dienst en typeplaatje

Kunt u geen van de hierboven beschreiben oorzaken vaststellen en de storing Niet zich verhelpen ofverschijnt op het temperatuurdisplay een foulmeling "F0" tot " F5" dan is sprake van een storing.
Neem in dit geval contact op met de dichtstbijzijdene technische Dienst (zie bijgevoegd overzicht). Geef het nummer van de fouitmelding (F1 enz.) door evenals de volgende gegevens op het typeplaatje, afb. A2: de typeaandui-ding ① , het servicenummer ② , het apparaatnummer
③ . Hierdoor worden een snelle en efficiente service mogelijk. Het typeplaatje vindt u op de linker binnenkant van het apparaat.

Vouw voor het lezen de dubbelgevouwen pagina met afbeeldingen aan het einde van deze gebruiks-aanwijzing open.
Bepalingen
- Het apparaat ward ontworpen voor het koelen, invriezen en bewaren van levensmiddelen evenals het makeen van ijs. Het is bestemd voor huishoudelijk gebruik.
- Het apparataat is ontworpen voor een bepaalde klimaatklasse d.w.z. een minimale omgevingstemperatuur waaronder en een maximale omgevingstemperatuur waarboven het apparaat Niet gebruikt mag worden. U vindt de klimaatklasse van het apparaat op het typeplaatje. Hierbij worden de volgende afkortingen gebruikt:
| Klimaatklasse | ontworpen voor omgevingstemperaturen van |
| SN | +10 °C tot +32 °C |
| N | +16 °C tot +32 °C |
| ST | +18 °C tot +38 °C |
| T | +18 °C tot +43 °C |
- Het koelmiddelcircuit werd op lekkages gecontroleerd.
- Het apparaat voldoet in de inbouwstaat aan de van toepassing+zijnde veiligheidsbepalingen evenals de EG-richtlijnen 73/23/EEG en 89/336/ EEG.
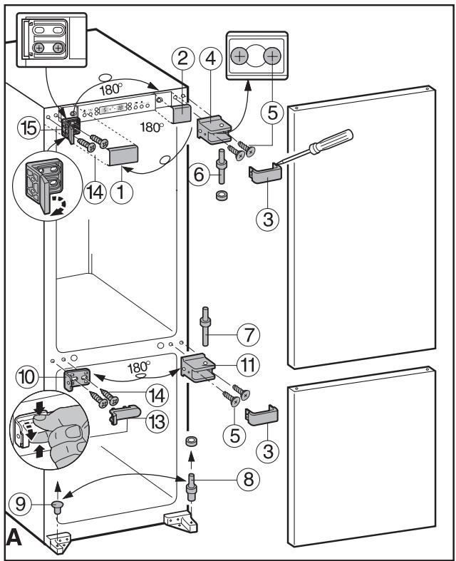
Draairichting deur veranderen
Afb. A: Indien nodig kurz u de draairichting van de deur veranderen. Zie anders de kolom hiernaast "Bevestiging en montage".
Wip het afdekdeel ① en ② er maar voren af.
- Klap bevestigingshoek (15) omhoog en schroef hem eraf. Monteer hem later bij het bevestigen in de ombouwkast aan de andere Kant weer metdezelfde schroeven (14).
- Druk de lagerafdekkingen ③ zichdelings met een spits gereedschap in, neem ze eruit.
- Draai in het scharnier de buitenste schroef ⑤ voor de helft, de binnenste schroef volledig eruit - eenvoudigere demontage.
- Open de bovenste deur een stukje, schuif hem met het scharnier (4) maar buiten en neem beiden weg.
- Neem de scharnierpen ⑦ eruit, zwenk de onderste deur eruit en neem hem eraf.
Cool&Fresh-laden verplaatsen, afb. A1, 2, 3:
- Afb. A1: Trek elke lade er helemaaluit, pak hem awhilevast en til hem naar bovenweg.
- Afb. A2: Trek het deksel van de lade (16) er waar voren uit en schuif hem aan de andere greepzijde in de geleidegroeven terug totdat alle 4 lagertappen vastklikken.
- Afb. A3: Zet de laden weer terug,plaats elke lade op de geheel eruit getrokken geleiders - geleiders要去en tot aan de voorkant van de lade komen - en schuif de lade erin.
Laden en deksel要去en boven elkaar in een lijn staan.
- Wip het afdekstopje ⑨ er met een mes UIT.
Zet de scharnierpen ⑧ maar de andere kant over. - Demonteer de bevestigingshoek (10) en het afdekkapje (13). Druk hiervoort het afdekkapje samen en kantel het omlaag. Monteer de bevestigingshoek later bij het bevestigen in de ombouwkast aan de andere Kant weer metdezelfde schroeven (14).
- Schroef het scharnier midden (1) eraf en schroef het 180^ gedraaid met bezelfde schroeven (5) aan de andere kant erop. Voor een eenvoudigere montage: draai de buitenste schroef er voor de helft in,zet het scharnier met het sleutelgat erop en schuif het maar binnen, schroef het met een tweede schroef vast.
-
Zet de onderste deur op de scharnierpen ⑧ , sluit de deur, zet de middelste scharnierpen ⑦ erin.
-
Let op de onderlegringen!
- Boven: draai de buitenste schroef ⑤ geheel eruit en voor de helft aan de andere kant erin.
- Plaats de bovenste deur op de pen ⑦ en sluit de deur.
- Zet het bovenste scharnier ④ samen met de pen ⑥ in het deurlager, hang het op de voorgemonteerde schroef ⑤ , schuif het maar binnen en zet het met een tweede schroef vast.
- Controller of de deuren goed uitgelijnd zich, corrigeer evt.
- Draai alle schroeven vast.
Inbouwaanwijzingen
- Afb. B: Lijn het keukenkastje met een waterpas en een winkelhaakuit. Gebruik indien nodig onderlegblokjes. De draagplateaus en zijwanden van het kastje要去en haaks op elkaar staan.
- Het koel-/vriesapparaat enkel in stabiele meubelstukken inbouwen.
- Houd de ventilatieopeningen beslist vrij:
- De diepte van de ontluchtingsschacht aan de achterkant van het kastje要去 min. 38 mm bedragen.
- Voor de be- en ontluchtingsopeningen in de plint van het keukenkastje en het ombouwmeubel boven is min. 200~cm^2 vereist.
- Controller de inbouwmaten volgens afb. B en de vol-gende tabel:
De positie van de naad van de keukendeurtjes要去 zich terplaatse van de naad van de deuren van het apparaat bevinden!
Deurmaten [mm]
Vriesgedeelte: a
b
Koelgedeelte:c
549
532
1144
Bevestiging en montage
- Afb. C-E: Alle bevestigingsdelen zich bij het apparaat gevoegd.
- Afb. D: Schuif de opvulstrook 2D in de opname zodat hij aan de kant van de deurgreep uitgelijnd is, schroef hem met kraagschroeven 2D op het apparatus.
- Schroef bevestigingshoek (15) metdezelfde schroeven weehererop (indien nog nicht gemonteerd).
-
Let er bij het leggen van de kabel van de elektrische leiding op dat het apparaat na de inbouw gemakkelijk kan worden aangesloten, afb. B.
Schuif het apparaat in de nis -
dicht gegen de kant met de deurgreep.
-
Onder: Lijn de voorkant van de scharnieren met het ombouwmeubel UIT.
-
Boven: Breng de voorkant van de omhoog geklapte bevestigingshoek in een lijn met het ombouwmeubel. De afstandussen de voorkant van het meubel en de behuizing van het apparaat要去 43 ~mm bedragen, zie afb. D1.
- Schroef het apparaat in het ombouwmeubel vast:
- aan de scharnierkant door de scharnieren en afstandshulzen met lange schroeven. Verwijder, om gemakkelider te konnen schroeven het afdekdeel ② (indien dit nog Niet gebeurd is):
Bij een 19 mm dikke meubelwand:
Gebruik schroef 5 x 75 en eenkleine afstandshuls 3.
Bij een 16 mm dikke meubelwand:
Gebruik schroef 5 x 80 en een große afstandshuls ⑤.
Aan de bodem door de scharnieren (2).
- Demonteer, indien dit nog nicht gebeurd is, het afdek-kapje ⑬ en bevestigingshoek ⑩ voor de montage van het profiel, aflb. D2/A.
- Snij het profiel ② 5 op de hoogte van de nis af endek hiermee de spleet aan de kant van de deurgreep+tussen apparaat en wand van het keukenkastje af: Druk het profiel in de spleet.
- Aan de kant van de deurgreep: Schroef het apparaat vast. Zet de bevestigingshoek (15) gegen de wand van het keukenkastje en schroef hem met schroeven (22) vast, klap het afdekkapje waar maar binnen.
- Schroef de bevestigingshoek ⑩ waar eraan: Zet de hoek tegen de wand van het keukenkastje en schroef hem met schroef ② vast, afb. D2. Druk het afdekkapje ⑬ erop.
- Boven: Lijn de opvulstrook 2 parallel onder de bovenkant van het meubeluit (hij mag er Niet uitsteken), afb. D1.
- Monteer alle afdekdelen en stopjes weeR.
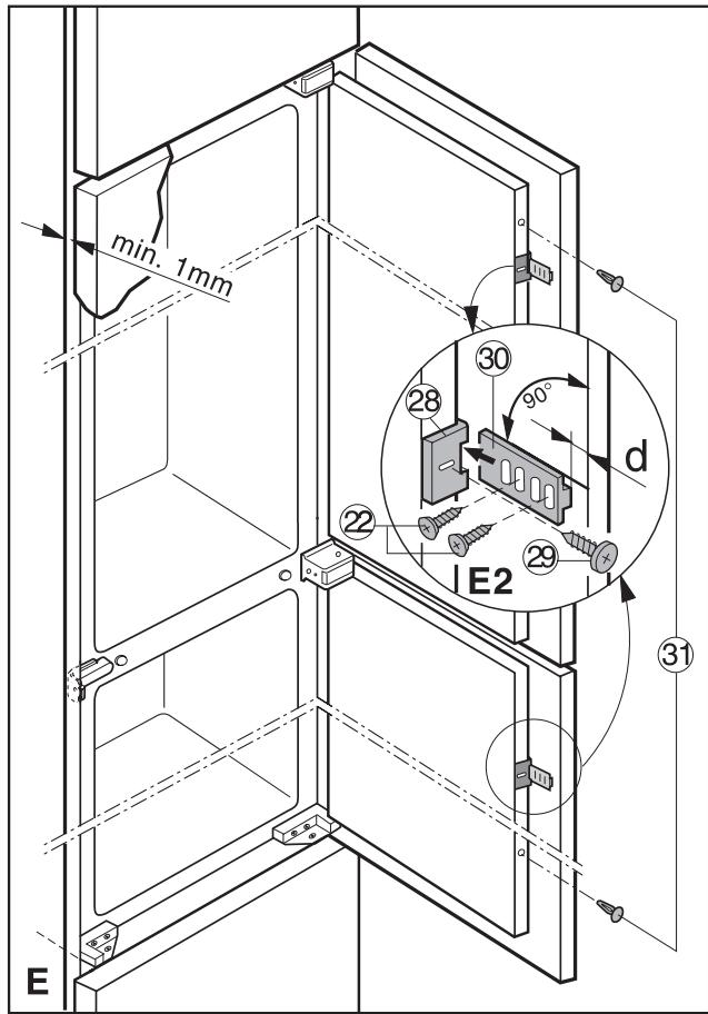
Keukendeurtje monteren
- Afb. E: Schroef de deurkoppeldelen 29, afhankelijk van de hoogte van de deurgreep en bij een meerdelige deur, op de voorgestanse gaten met schroeven 29 vast.
- Open de deur volledig en schuif de koppelrails ⑤ erin, schroef ze met schroeven ② aan de meubeldeur vast. Houd de afstand d ten opzichte van de buitenkant van de meubeldeur aan:
d = wandddikte van ombouwmeubel +3mm
- Stel het deurkoppeldeel ② 3 zodanig af dat de meubeldeur indien gesloten aan de kant van de deurgreep Niet谈起h het ombouwmeubel aan ligt, houd min. 1 mm afstand aan!
- Monteer indien nodig een extra deurkoppeling!
- Sluit de ongebruikte gaten in de apparaatdeur met stopjes ③) af.








Notice-Facile