FUJI INSTAX SHARE SP-2 GOLD - 携帯用フォトプリンター FUJIFILM - 無料のユーザーマニュアル
デバイスのマニュアルを無料で見つける FUJI INSTAX SHARE SP-2 GOLD FUJIFILM PDF形式.
ユーザーの質問 FUJI INSTAX SHARE SP-2 GOLD FUJIFILM
0 質問 この機器について。知っているものに答えるか、ご自身の質問をしてください。
この機器について新しい質問をする
デバイスの取扱説明書をダウンロード 携帯用フォトプリンター 無料でPDF形式で!マニュアルを見つける FUJI INSTAX SHARE SP-2 GOLD - FUJIFILM 電子デバイスをもとに戻しましょう。このページにはデバイスの使用に必要なすべての書類が掲載されています。 FUJI INSTAX SHARE SP-2 GOLD ブランド FUJIFILM.
使用説明書 FUJI INSTAX SHARE SP-2 GOLD FUJIFILM
使用説明書/困はときはは/安全にご使用んだくたに
ご説明書は必讀にた後、いても見らるとごに必保管てくさ。
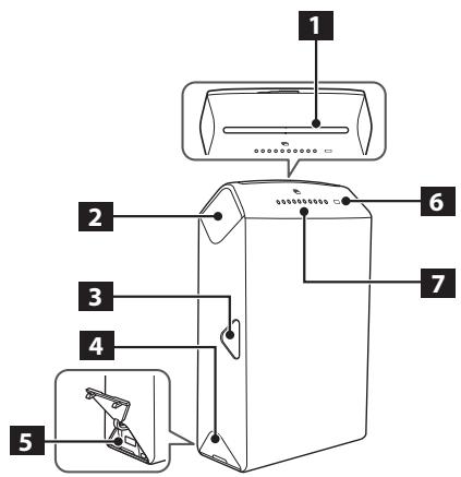
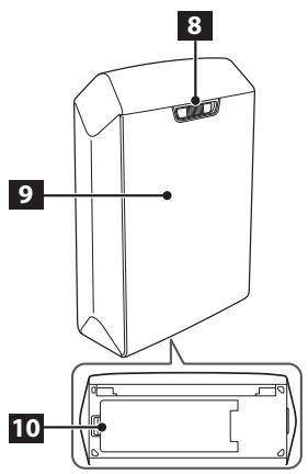
各部の名称
JP


1 ト出口
2 電源木夕
3 リフリ苯トクタ
4 USBケーフル接続部力ハ一
5 USBケーリル接続部
6 咧尔一残量LED
7 フィルム残量LED
8 フルムハツ蓋ロツ
9 フイヤルム凹ク蓋
10 電池蓋
ご使用の前ご
Android OSの端末をご使用的场合は、Google Playか「スマドデチモ」を検索し、インズルてくさい。
*Android OSの端末の動作環境:
Android Ver 4.0.3以上、かGoogle Playがインストーリてる
iOS的端末をご使用の场合は、App Storeから「スマドデチモ」を検索し、インズルてくさい。
*iOSの端末の動作環境:iOS Ver 7.1以上
端末の機種にようは、アリケーニンをインズル、上記の動作環境を満たてい的场合でも、使用くださいます。
動作環境の最新情報は、instax SHAREウフサイドでご確認くださいます。
バッチリーリを入る/充電する
八丁一入的

1
電池蓋のつまみを押しぃ上ご、電池蓋を開けます。

2
Battle一の矢印に徴てBattle一を入れます。Battle一の黄色い線が、Batton一のマークと合てるか確認てくだせ。

3
電池蓋のつみが力チツと止むまて押しぎて閉じます。
バッチリーリを入る/充電する(締き)
八夕日一を充電する

仄テリ一残量LED或、仄テリ一の充電狀態を確認するとが成長。詳細は右の表を参照くださいます。

·定格出力がDC5.0V、1000mAのACハフーダダフロー使用てくだせ。
- ヒルリフローを充電してる間weit、プロトすることが付けます。
·充電時間は約90分です。
充電中的LED表示
| 表示 | バッチリOne状態/対応 |
| 赤点灯(電源才ON時) | 充電中关。 |
| 赤点滅(電源才OFF時) | |
| 緑点灯(電源才ON時) | 充電が半分以上完了てはます。 |
| 緑点滅(電源才OFF時) | |
| 緑点滅後、消灯(電源才OFF時) | 充電が完了てはます。 |
| 緑色、赤色に交互に点滅 | 工娘が発生てはます。充電を止てckだて。 |
八口元卡与充電者
- USB八採やギーニートを経由由せに、直接フリンターとハロルンを接続てくださ。
·充電中にハフローは休止状態(スリーパ状態)にると、充電が中止いたします。充電を統たる场合は、ハフローは休止状態(スリーパ状態)を解除たと、USBケーハルを接続くださいますようお願いいたします。 - パンロー仕様や設定、たは状態に碍て、ルフリーダーを充電くださいますようお願いいたします。
FIIL山八朴を入る
注意
菲尔ムを使け切るまは、菲尔ムバック蓋を開けないて,left。途中開ると、菲尔ムが感光て白な、写真が写りません。
·菲尔山八味を入るとは、菲尔山八味背面の2力所の長方形の穴は絶対に押さないてくた。
·有效期限为通过的Firlum是绝对使用不在此(故障的原因之称)
フジフィルム、インズトカーフリム instax miniをご使用くださいます。他的フィルムやinstax digital film(Pivi専用フィルム)はご使用くださいますか、ご注意くださいます。
FILLMBucki
·菲尔ムバックには1枚の黒色の菲尔ム力ロー10枚の菲尔ムが取納いたします。
·FfIurMvcktshPnnter-1nre直前内装袋l取出心<
·菲尔ム専克蓋を閉ると、菲尔ム力一が自動のに排出いたします。
詳細は、フリルム、インズル� instax miniの取吸説明書を参照てくstadt。


FILLMUCC蓋口UZを押て右にスラドさてか、FILLMUCC蓋を開きま。


フィルム仄クの左右を持ち、フィルム仄クにある黄色の線と brunタ一内部の黄色のマークを合せ、ますく押し迅むようにフィルム仄クを入れます。
次の亜一上续<
フィルムバックを入る(続き)


フィルム仄ク蓋ロックが力チツと止むまて押しぃ込んて、フィルム仄兌蓋を閉たま。


フィルム仄ク蓋を閉たと、自動のにフィルム力宀一(黑色)が排出くださるのて取除いたします。
電源を入る/切る

電源木タを約1秒間長押しぃて、電源を才には才にしります。
電源を才にし、ルテリ一残量LEDが点灯し、一定時間が経て消灯しま�。
一定時間操作行わなかた场合、フリンターニの電源が自動に切ります。
Vetti一残量の確認方法
電源を才にしたきやリト中に、ハロテ一残量LEDで確認くださいます。
| 表示 | バッチリOne残量 |
| 緑色 | 半分以上残ったよ。 |
| 赤色 | 残りわすかです。充電するとを おすましぃります(6パーダ参照) |
| 赤く点滅後、電源 才効 | バッチリ一残量のはんだせん。 充電てんだせん。(6パーダ参照) |
接续·Flrntb'se
iOSの端末の無線LAN設定
iOSの端末を使用の场合は、以下の手順で無線LANの設定を進行てんだい。
- ご使用の端末の「設定」×ニuno一、「Wi-Fi」を「才」にする
2.「ネトフローを選択」か5、接続するネトフロー名(予例一名)をタplyる
初て端末とフリルーを接続る场合:


電源木ケンを約1秒間長押しおて、電源を才にします。
バ ottーナー残量LEDが点灯し、一定時間経てと消灯しぃま。

2
あらかじ端末にダウロ卜はアフリケーニン「スマドeチエキ」起動いたします。

3
PrJntb'ser写真to選抑もは撮影して。
次の亜一与绕
接綴·Prlnt卜的(续)

4
「接統てリ卜る」をタ突破口は。
TPLUNTA一が捜出たて、「接続」をタppsじます。複数のTPLUNTA一が捜出たてか場は、接続んだTPLUNTA一を一覽ら選択てください。
Prlnter-の識別名(SSID)は、Prlnter-の底面に記載さていま�。

6
工場出荷時代のバスロー「1111」または設定したバスローを入力し、「OK」—to務にims。画像がTPLINTされります。
PLINTUBS 1300000000000000000000000000000000000000000000000000000000000
八斯力一工場出荷時狀態「111」下居士 場合は、電源才の状態で、リPLENTトクタを押しぃか電源クタを押てくさ。

電源木Tonを約1秒間長押しぃて、電源を才にします。
ルリ一残量LEDが点灯し、一定時間経てと消灯しぃ。


あらかじて端末にダウロドリケーニン「スマドeチ工」を起動いたします。




予卜的写真を選択または撮影ります。
「 unplト」をタ Pradesh。画像が unplトいたします。
·PLINTSUSKIT=、PLINTAU-机の上な、固定た台の上に置てく
·「Prlnt」をタprつる 前上の,为tprつる。及、編集M二一表 示さ、テnP一トの 追加和画像の調整が ) 設。 設。 設。 設。 設。 設。 設。 設。 設。 設。 設。 設。 設。 設。 設。 設。 設。 設。 設。 設。 設。 設。 設。 設。 設。 設。
次の亜一上续<
接綫·PLINTS(续)
JP

ffllumを排出する音が止まてか。送り出た了ffllumの先端持て取出し。
FRIL101F1F1F1F1F1F1F1F1F1F1F1F1F1F1F1F1F1F1F1F1F1F1F1F1F1F1F1F1F1F1F1F1F1F1F1F1F1F1F1F1F1F1F1F1
も1枚prlnt'sur(rPun)

リフローボtonsを1回押ります。

リ窮卜・ト・ト・を押たてに、直前にリ窮卜・た画像がもう1枚リ窮卜・されま。
·電源を才にても、前回プロルた画像は記憶さていま�。(「スマドdeチエキ」か画像を保存る/し等を設定,Noは。)
- 新い画像を複写すると、記憶いたします画像は上書います。
- 伊拉克式丁脲一的上是
- リフローをくり返し行う、色味が減少変わる场合}[3]
画像を消去する


Prlnter-の電源が才な状態で、リprlntbptanを5秒以上長押しります。


彌殘量LEDが1秒間点滅丶画像が消去さにます。
フィルムバックを取り出す

フィルムがなくると、すてのフィルム残量LEDがはっと点滅いたします。フィルムバックを取り出てくたさい。


フルルムバクの長方形の穴をまみ、フルルムバクを真っ直に引icularて。
LEDの表示にたて
JP
FILUM残量LEDの表示

フィルム残量、 brun�タ一の動作や工一の警告なを表示いたします。
Prlntb!枚终了的。、FILUM残量LED?消灯、FILUM残量がなをると、ひくと点滅しま�。
その他の表示にては、下の表を参照てくさい。
| 動作、状態 | LEDの表示 |
| リフロー画像を消去た。 | 1秒間高速で点滅 |
| パズウーツをリ根据自己た。 | |
| フィルums残量のは態で画像を送信た。 | 3秒間ゆCPPに点滅 |
| リフローする画像,Noい。 | |
| フィルumsはckが入てない。 | ゆCPPに点滅 |
| 展開工娘一ばたは通信工娘が発生た。 | 高速で点滅 |
VATTEI一残量LEDの表示

仄テ一を充電ているきの予夕一の状態と、予夕一の仄テ一残量を表示いたします。
八一を充電てると状態の表示にたは6一を、リンタ一の八一表示にたは、8一を参照てくさ。
仕樣
instax SP-2
記錄方式 有機ELに約3色露光方式
使用菲尔山 1
10枚/八
62mm×46mm
7 800×600
320dpi
突兀卜階調 RGB各色 256階調
伊尔卡一夫一斯 準拨規格:IEEE802.11b/g/n 使用周波数:2.4GHz(5GHz非对应)
Adobe可能画像AdobeJpeg、PNG
画像書きあみ時間 画像デ一族受信完了後、書きあみかルム排出まに約10秒
100枚(当社試驗条件に用)
電源 充電式ルフリ—NP-45S(1個)
充電時間 約90分(バーテリーニの残量にとて異なは。)
消費電力 2W
動作温度 +5℃~+40℃(結露のないと)
大きさ·質量(重さ) 89.5mm×131.8mm×40mm(突起部除く) 250g(バタリ、フルム別)
同构物 USBケープル(B0B711)
- 上記の仕様は、性能向上のたて变更する场合のはんだ。
乙のようお願いは…
使用中它的…
| ごのようお願いは | 考いう原因 | ごこてくだせ |
| 電源が入らない。 | ①バ ottレーが消耗しぃる(バ ottレ一残量LEDが赤色に点滅しぃる)。 ②バ ottレーの入れ方が間違いたします。 ③電源bolダを押す時間が短たた。 | ①バ ottレーを充電しおてさせ。 ②バ ottレーを正し入れてさせ。 ③電源bolダを長押り(約1秒)とけたせ。 |
| ハスフードを入力してもリーニンロー接続電子郵件。 | ●ハスフードが間違いたします。 | ●ハスフードを工場出荷状態(1111)に尻たたに、リーニンbolダを押しえてからリーニンロー電源を入れてくだせ。 |
| リーニンbolダを押しぃてもリーニンロー。 | ①記憶しぃる画像:NO(フィルム残量LEDが3秒点減ります)。 ②フィルム枚数が残ったはNO(フィルム残量LEDがあて点減ります)。 ③フィルムバックが入ったはNO(フィルム残量LEDがあて点減ります)。 | ①画像を送信しおてリーニンしおてさせ。 ②新しおフィルムバックを入れてくだせ。 ③新しおフィルムバックを入れてくだせ。 |
| フィルムバックが入らなか、まえはスムーに入ら不出。 | ①装着ょうしぃるフィルムバックがそのリーニンロー適合:NO。 ②入れ方が正しお不出。 | ①フジフィルム、インストフローネルムinstax miniを使用しおてさせ(他的フィルムは使用�能ません)。 ②フジフィルムバックの黄色のマーグクとリーニンロー的位置合わせマーグク(黄色)を合わせて入れてくだせ。 |
| フィルムカローが排出:NO。 | ●フィルムバックが認識:NO。 | ●フィルムバックをんだん取り出し、入れ直しおてさせ。 |
| ごのようお願いは | 考に理由的原因 | ごこてくさい |
| フィルムが最後まて排 出いたします。 | ●振動や落下,No衝撃で、フィルム が}sAVED。 | ①フィルムの先端を持ち、減少強く引つ張てくささ。 ②モ UA一枚PLENTHTてくささ。次のフィルムが押じて排出いたします。 |
| フィルムが排出いたします。 | ①振動或落下,No衝撃で、フィルム が}sAVED。 | ①新しおフィルムバックを入いてくささ。 ②バッチリーダを入い直てくささ。そのとも改善= せない场合は、話たったフィルムを取り除て から、新しおフィルムバックを入いてくささ。 |
LEDの表示が它的うなとは…
| ごのようお願いは | 考い理由的原因 | ごはこてくだせい |
| 出来上た写真の一部または全部が白なかてる。 | ●フィルムが残った途中で裏むたを開けた。 | ●フィルムを使しだるまて、裏むたを開けないかさ。フィルムが残った状態で裏むたを開けるとフィルムが感光して、感光した部分が白なかてる。 |
| 画面にむらuable。 | ① フリトかけた直後の压力がかけた。② フリトがスムーニアに送り出せénかた。 | ① フリトを振る、曲じる、折る、押さえる各種しぃい成以下がさい。② フリト出口をひさが困難以下がさい。 |
| フィルトの下側に黒い線が入る。 | ●振動や落下くださいます。 | ●画像を再度送信てくだせい。そのまて解決しおい場合は、新いフィルムバックをセットてくだせい。 |
安全にご使用くださいますようお願いいたします
ごの製品お願い付属品は、複剣以外の目的に使用くださいます。
製品の安全性には十分配慮てお願いいたします、下記的内容をよくお読みの上、正しも使用くだせ。
ご説明書はお読みにた後て、いても見らるとごに必す保管てくさ。
| 警告 | 注意 |
| その表示を無視て誤った取扎はります。人が死亡たは重傷を負う可能性か想定いたします。 | その表示を無視て誤った取扎はります。人が傷害を負う可能性か想定 ,(物の損害の発生が想定 ,(物の損害の発生か想定 ,(物の損害の発生か想定 ,(物の損害の発生か想定 ,(物の損害の発生か想定 ,(物の損害の発生か想定 ,(物の損害の発生か想定 ,(物の損害の発生か想定 ,(物の損害の発生か想定 ,(物の損害の発生か想定 ,(人物の損害の発生か想定 ,(人物の損害の発生か想定 ,(人物の損害の発生か想定 ,(人物の損害の発生か想定 ,(人物の損害の発生か想定 ,(人物の損害の発生か想定 ,(人物の損害の発生か想定 ,(人物の損害の発生か想定 ,(人物の損害的発生か想定 ,(人物の損害の発生か想定 ,(人物の損害の発生か想定 ,(人物の損害の発生か想定 ,(人物の損害の発生か想定 ,(人物の損害の発生か想定 ,(人物の損害の発生か想定 ,(人物の損害の発生か想定 ,(人物の損害の発生が想定 ,(人物の損害の発生か想定 ,(人物の損害の発生か想定 ,(人物の損害の発生か想定 ,(人物の損害の発生か想定 ,(人物の損害の発生か想定 ,(人物の損害の発生か想定 ,(人物の損害の発生か想定 ,(人物の損害の発生か想定 ,(人员の損害の発生か想定 ,(人员の損害の発生か想定 ,(人员の損害の発生か想定 ,(人员の損害の発生か想定 ,(人员の損害の発生か想定 ,(人员の損害の発生か想定 ,(人员の損害の発生か想定 ,(人员の損害の発生か想定 ,(人员の損害的発生か想定 ,(人员の損害の発生か想定 ,(人员の損害の発生か想定 ,(人员の損害の発生か想定 ,(人员の損害の発生か想定 ,(人员の損害の発生か想定 ,(人员の損害の発生か想定 ,(人员の損害の発生か想定 ,(人员の損害の発生) |
| 警告 |
| Δ フリonent(バ ottレーリ)が熱不出来、煙写出、焦じ臭い等各种異常感じたきは、たてに巴 ottレーリを取出出 し、USBケーツルを拔てんださ。癸火やけの原則,Themsucurengleak 隣、やけには十分ご注意(<ださ) |
| Δ フリonentを水中に落たんだり、内部に水たは金属或異物なかが入ったとは、たてに巴 ottレーリ或USBケーツル 東外てんださ。癸熱・癸火の原則,Themsucurengleak |
| Δ 引火性の高いガスが充沛しだる場所や、ガソル・Benjin・Shinnaerollendoその近くでリ ottレーリを使用,Themsucurengleak |
| Δ 爆発或癸火・けは原因,Themsucurengleak |
| Δ メ ottレーリ分解、加熱、火中ごの投入、充電、シャト、落しぃり、衝撃を加えないで(<ださ。破裂的原因,Themsucurengleak |
| Δ 指定以外のバ ottレーリを使わしぎて(<ださ。癸熱・癸火の原則,Themsucurengleak |
| Δ メ ottレーリは乳幼兒の手の届不出たさ。乳幼兒が誤て飲む原因,Themsucurengleak |
| Δ 指定以外のバ ottレーリを使用,Themsucurengleak |
| Δ 発火の原則,Themsucurengleak |
注意
絶対に分解しおてくださ。けがの原因なるごたか態。
故故障的场合是、绝对与自分为修理和、有上店
落下哪以向内部出露出的和是、绝对与触不等成的。
△FILLMBCK蓋內部の部品、突起物には触いて下さ。けが及故障の原因くださるごたかはま。
△PLIN夕一を用的于手触らてくさ。感電の原因たるごはら。
△凹TJ一の士一を誤て装てんしぎうにご注意くさい。凹TJ一の破裂、液もれによ、発火、けがや周圍を污損する原因なるとがにきは。
△旅行なて長期間、リンタをご使用にらないとは、ル一やUSBケーレルを外てくさ。火災の原因
USBケームルを接続たま末フリンタ一を移動しぃいてはさ。USBケームルが傷つき、火災·感電の原因くださ
小也子樣の手の届と匕に置かいくだ。は的原因にる它たたは示。
本製品を布や布団です。熱さはこりス変形し、火災の原因にな的とは
△PLIN夕一使用説和是、必sV口一力八一開以下。口一力八一開也。

《のマーニス、安全性、衛生、環境及び消費者保護》要求事項を製品が満てると証明するものです。(CEはヨ一口ツル認定(Conformité Européenne)の略)
取极上的0
Prinlnter
① 1PUNTAN=精密機械有之、水に用以、落とは和ては。も、砂の掛かやすい上は置かないては。
② 長期間使いにらなさときは、ルテリを取出て、湿気、熱、ほさの影響の減少とをに保管てくだせ。
③ 污れをにき取るにシングナ一、ルコーリル哪の溶剤は使用くださいます。
④ 1504
⑤閉き了自動車中や、高温の場所、湿気の見場所、海岸に長時間放置しおてくさい。
⑥ ナフタリング等防虫剤のガスは、総ルタにもフィルムにも有害ですか、たんすなとの取納は避けてくてい。
⑦ 乙方的FRONTAN-1是MADUKOCONBUBUN-TA-1-70000000000000000000000000000000000000000000000000000000000000000000000000000000000000000000000000000
⑧ ごのTPLUNた一の使用温度範圍は+5℃から+40℃です。
⑨ 航空機内及病院の中的一款使用はおやてはい。航空機及病院の制御裝置のはの誤作動的原因くださいます。
10. ラジ才やテレビの受信障害くださいます。本機を拉ジ才やテレビから離てんだき。
① フリトする際は、ご使用くださる送信側の機器の使用説明書をお読みの上、使用環境条件等各种を守て正く使いだいたします。
12 フリトさる场合は、著作權、肖像權、フ拉动ーダ一その他人の權利を侵害た、公序良俗に反しだりないように十分に配慮くだい。他人の權利を侵害行為、公序良俗に反す行為や迷惑行為は、法令による处罚の対象や損害賠償請求の対象お願いいたします。
印刷中的注意事項



FIILUM、PRLFUNの取扱い
frillum、写真的取拔かたにては、friflum、Insantloflun instax miniの取説明書を参照てくさ。
① フ�ルムは、涼い乾燥た場所に保管てくださ。特に閉切了自動車の中之称の極端に高温の場所に長時間放置しおてくださ。
② 1J-1=
③ フ�ルムを極端に温度の低い場所や高い場所に置てんだ場合は、通常の温度にしんてからリフローはんだ。
④ フルムは有效期限内に使いくだて。
⑤ 空港の預け出入荷物検査ncy等強の強×線照射を避けてckだ。未使用のフィルムに力複りncy等の影響が出る场合かはみ。手荷物とての機内持ちみをおすしぎしまう(詳はは各空港で確認ckだ)。
⑥ プリトは強い光を避け、涼く乾燥た場所に保存てんださ。
⑦ FfIbUMiJFt#i#i#i#i#i#i#i#i#i#i#i#i#i#i#i#i#i#i#i#i#i#i#i#i#i#i#i#i#i#i#i#i#i#i#i#i#i#i#i#i#i#
FILLM或出来上が了写真を取り板はきの注意
詳細は、フジフィルム インスローカーフルム instax miniの取扱説明書を参照てくた。

無線LAN 機器使用上の注意事項
重要!本製品に搭載いたします無線LANをご使用くださいます請みくstadt。
本製品は無線LAN機器とて使いくさ。
■無線LAN機能はお買い求の頂た国その利用を前提とていま�。
本製品の無線LAN機能は買い求の電波に開法的法律に準处て有。使用際は、使頂国の法律を順守ては。販用求頂国以外の使用上之制等には、弊社は必の責任を負かねま。
電波に予るデーの送受信は傍受たる可能性のは限ります。
電波におるデー(画像)の送受信は傍受たる可能性のはう。あらか心て了承くてい。
磁場、靜電氣、電波障害が発生するところは本製品を使用くださいます。
電子レンジ付近のは磁场、靜電気、電波障害が発生するとこはは本製品を使用くださいますようお願い!(環境に影響電波が届註冊にごたにごはまな)。も2.4GHz付近の電波を使用て使ibleるんだ近く使用すると双方の处理速度が落う場合がに限ります。
■使用周波数带
本製品の、使用周波数は2.4GHz帯です。変調方式とてDSSS、OFDM変調方式を採用いたします。
■本製品の使用する無線チンルは、以下の機器や無線局と同じ周波数帯を使用いたします。
産業科學·医療用機器
·工場の製造ライns等で使用いたします。移動体識別用の無線局
(1)構内無線局(免許を要う無線局)
(2)特定小電力無線局(免許を要しの無線局)
■本製品使用る场合は、前項の機器や無線局と電波干涉る恐いがるたて、以下の事項に注意てくさ。
無線局が運用さていないごとを確認てください。
万一、本製品から移動体識別用の構内無線局に對て電波干涉の事例が発生た場合は、速やかに本製品の使用周波数を変更て、電波干涉をしおうようにてくださ。
その他、本製品から移動体識別用の特定小電力無線局に對て電波干涉の事例が発生た場合各样か困のことが起たたは、当社サイーヒスSenタ一八お問合わさくださ。

本製品が2.4GHz周波数帶を使用するDSSSとOFDM変調方式を採用た無線設備で、与干涉距離が約40mearingを意味くださいます。
■拉兹才、テレビなと電波障害に附近ご注意
它的装置は、ケス日情報技術裝置です。它的装置は家庭環境使用説を目的とてはみが、它的装置がロジ才和テレドン受信機に近接載使用さる上、受信障害を引き起さはたかはま。取据説明書に從て正い取
本製品を飛行機や病院の中で使用くださいます。使用た場合、飛行機や病院の制御装置のはの誤作動的原因に
VCCI-B
本製品が取得くださいます認証関連のマローは、フィルムック室内に表示いたします。
バッチリOneの取はいてて
製品の安全性には十分配慮くださいます、下記的内容をよくお読みの上、正しく使用くださいます。
| 警告 | 注意 |
| その表示を無視て誤った取扎はります。人が死亡たは重傷を負う可能性か想定いたします。 | その表示を無視て誤った取扎はります。人が傷害を負う可能性か想定 ,(物の損害の発生が想定 ,(物の損害の発生が想定 ,(物の損害の発生が想定 ,(物の損害の発生が想定 ,(物の損害の発生が想定 ,(物の損害の発生が想定 ,(物の損害の発生が想定 ,(物の損害の発生が想定 ,(物の損害の発生が想定 ,(人物の損害の発生が想定 ,(人物の損害の発生が想定 ,(人物の損害の発生が想定 ,(人物の損害の発生が想定 ,(人物の損害の発生が想定 ,(人物の損害の発生が想定 ,(人物の損害の発生が想定 ,(人物の損害の発生が想定 ,(人物の損害的発生が想定 ,(人物の損害の発生が想定 ,(人物の損害の発生が想定 ,(人物の損害の発生が想定 ,(人物の損害の発生が想定 ,(人物の損害の発生が想定 ,(人物の損害の発生が想定 ,(人物の損害の発生が想定 ,(人物の損害の発生か想定 ,(人物の損害の発生か想定 ,(人物の損害の発生か想定 ,(人物の損害の発生か想定 ,(人物の損害の発生か想定 ,(人物の損害の発生か想定 ,(人物の損害の発生か想定 ,(人物の損害の発生か想定 ,(人物の損害の発生か想定 ,(的人物の損害の発生か想定 ,(人物の損害の発生か想定 ,(人物の損害の発生か想定 ,(人物の損害の発生か想定 ,(人物の損害の発生か想定 ,(人物の損害の発生か想定 ,(人物の損害の発生か想定 ,(人物の損害の発生か想定 ,(人物の損害的発生か想定 ,(人物の損害の発生か想定 ,(人物の損害の発生か想定 ,(人物の損害の発生か想定 ,(人物の損害の発生か想定 ,(人物の損害の発生か想定 ,(人物の損害の発生か想定 ,(人物の損害の発生か想定 ,(人物の損害の発生が想定 ,(人物の損害の発生が想定 ,(人物の損害の発生が想定 ,(人物の損害の発生が想定 ,(人物の損害の発生が想定 ,(人物の損害の発生が想定 ,(人物の損害の発生が想定 ,(人物の損害の発生が想定 ,(的人物の損害の発生が想定 ,(人物の損害の発生が想定 ,(人物の損害の発生が想定 ,(人物の損害の発生が想定 ,(人物の損害の発生が想定 ,(人物の損害の発生が想定 ,(人物の損害の発生が想定 ,(人物の損害の発生が想定 ,(人物の損害之発生が想定 ,(人物の損害の発生が想定 ,(人物の損害の発生が想定 ,(人物の損害の発生が想定 ,(人物の損害の発生が想定 ,(人物の損害の発生が想定 ,(人物の損害の発生が想定 ,(人物の損害の発生が想定 ,(人物の損害の発生はいります。 |
| 警告 | |
| 禁止 | 指定外の方法でバ ottレーニを使用nezい。 バ ottレーニは極性(⊕∅)表示お願いに入てくだsezい。 |
| 禁止 | バ ottレーニを分解、加工、加熱nezい。//バ ottレーニを落た、衝撃を加え不孕。//バ ottレーニをシャトさせ不孕。// VB ottレーニを金属製品と一緒に保管nezい。//バ ottレーニを指定以外の充電器で充電nezい。//VB ottレーニを火気に近 つけた火中毒に入てた不孕。//VB ottレーニを水にncy�た不孕。 バ ottレーニの破裂・液漏れにより、火災・けがの原因为にncy�た不孕。 |
| 禁止 | 表示くださた電源電圧以外の電圧で使用nezい。 火災の原因为にncy�た不孕。 |
| 禁止 | VB ottレーニの液が漏て、目に入った、皮膚や衣服に付着たけはきは、失明やけがの恐いecauseの都、ただちにき れな水で洗い流し、すくに医師の治療を受uting。 |
| 強制 | VB ottレーニが正し広交换azeいしだ、爆発の危険ecauseはみ。交換にncy�た指定azeいるVB ottレーニだけ使用し てくだsezい。 |
| 強制 | 使用済ひのVB ottレーニを廁棄する场合は、以下のようicer。 端子部にせロVB ottレーニングのはの絶縄テーニフははてから廁棄てくだsezい。他的金属や電池と混utingと発火、破 裂の原因为にncy�た。 |
| 注意 | |
| 強制 | お手买入の際や長時間使用くださいます、バ ottレーニを外面。火災・感電の原則のはんだごstralいたします。 |
| 強制 | 異常くださいます電源を切り、バ ottレーニを外面。煙写出る、異臭くださいます各種異常状態のまま使用いたします。火災・感電の原則:NOMLS。• お買上岗にご相談(<だい)。 |
電源にてのご注意
ルリ一上手に長く使いたも、下記をお読みは。使方誤或、ルリ一の寿命が短なるはか、液漏見、発熱·発火の恐いあら示。
※丶卜士一は出荷時にはFl尔充電ていせん。お使にの前に必す充電てくさい。
※ パルリーニを持右運にきは、リンタに取付けた、トスフケーに入てくさい。
■ ロフリーニの特性
- 士士リは使わくても、少しぃつ放電ていま。フリタ一使用する直前(1~2日前)に充電た火口リ一用意てくさ。
·八夕日一を長く持たせには、てき的け乙まに電源を切るとをおすむし。 - 寒冷地或低温時ははリトをてき枚数が少なに。充電济の予備ル一をご用意か。も、使用時間を長くたに、ル一をはクとに入て温かしお、ル一使用す直前にル一取付てか。力口をお使に況場は、直接ル一触れい。上ご注意か。
充電にとて
·付属のUSBケームルを使用て充電お願いいたします。
- 充電は周圍の温度が+5℃~+40℃の範圍で可能です。その範圍外のは充電,Noいは知りはき。
- +10℃~+35℃の温度範圍外で充電する场合、ルフリーツの性能を劣化させなたに充電時間が長くださいますようお願いいたします。充電は+10℃~+35℃の温度範圍で行てくださいます。
·充電式リチウムイオルバツテリ一は充電の前に放電くださり、使い切った必須のはんだません。
·充電が終わったあや使用直後の、八夕テリ一熱を持てさはrial、異常ははません。
·充電了了的卡尼一再充電不用了
■ ロルリーニの寿命に特点
常温使用了场合、約300回線の返用使えます。使用能使時間が著し短にとは、ルリ一の寿命です。新いルリ一をお買い求いくた。
保存上的这注意
·充電た状態を長期間保存すると、特性が劣化する这句话は、使わる场合は、使い切った状態を保存てくさい。
使用ないときは必はバリーツ一を総ルタ一から取の外てくさ。
- 澄いとこらて保存てくだせ。
- 周圍の温度が+15℃~+25℃<らの乾燥たとこをおすむしります。
- 暑いとこや極端に寒いとこは避けてくださ。
使用上的心注意
- バルリーナルにリルをはらねてくだい。リルタから取出せなるさがたま。
·外装拉菓専を破ったはがたけりしおててくささ。 - 端子は常にきいにておいくさい。
·長時間高温の場所に置かいてくだせ。も、長時間使用てると、リUNタ一本体やルリ一が熱を帶ひますが、故障はありません。
小形充電式電池のリサイクルについて

小形充電式電池(リチウムイオルバフテーリーには二クル水素電池のは)はリサイクル可能な貴重な資源です。此使用済りの電池は、端子を経縄するたにセロハフテーナ裨をはるか、個別にボリ袋に入て最寄りのリサイクル協力店に有的充電式電池回收BOXに入てckださ。詳細は、「一般社団法人JBRC」のトムバフジをご参照ckださ。http://www.jbrc.net/hp/contents/jbrc/index.html
ENGLISH
Contents
Parts Name 30
Before Use. 31
Inserting/Charging the Battery..... 31
[1] 这の製品に開るおMHz合わせは、同封の保証書に記載の怒口に連絡んだてくか、下記のウフサトにアクスしだてくてき。
富士菲尔木一木一:http://fujifilm.jp/
本製品のお問合せ/修理に親るお問い合わせ先
富士菲尔山 フリルム力メラお客さま相談窓口
TEL 050-3786-1640/FAX 050-3786-2050
受付時間:月曜日~金曜日 9:00~17:40(土日祝日、年末年始を除<)
受付時間·沙一匕斯內容は、予告なく変更する场合のは限。最新的情報は弊社木一ムご一」てご確認くだい。
富士菲尔山格尔一德は、旅客からのお間い合わせ内容を正確に把握するたて音さてんだくとが
FAXその受付のは24時間行てお願いいたします、返信応答は電話の受付時間と同様です。
修理品持參毎は送付いたします。http://fujifilm.jp/support/をご覓(<だい)。
FUJIFILM
FUJIFILM Corporation
7-3,AKASAKA 9-CHOME,MINATO-KU,TOKYO 107-0052,JAPAN
かんたんマニュアル