F 364 - Riscaldamento Jøtul - Manuale utente e istruzioni gratuiti
Trova gratuitamente il manuale del dispositivo F 364 Jøtul in formato PDF.
Domande degli utenti su F 364 Jøtul
0 domanda su questo apparecchio. Rispondi a quelle che conosci o fai la tua.
Fai una nuova domanda su questo apparecchio
Scarica le istruzioni per il tuo Riscaldamento in formato PDF gratuitamente! Trova il tuo manuale F 364 - Jøtul e riprendi in mano il tuo dispositivo elettronico. In questa pagina sono pubblicati tutti i documenti necessari per l'utilizzo del tuo dispositivo. F 364 del marchio Jøtul.
MANUALE UTENTE F 364 Jøtul
IT - Manuale di installazione ed uso 60
1.0 Conformità alle leggi ......60
2.0 Dati tecnici 60
3.0 Sicurezza 61
4.0 Installazione ....66
5.0 Utilizzo giornaliero 76
6.0 Manutenzione 77
7.0 Assistenza 78
8.o Risoluzione dei problemi .....78
9.0 Accessori opzionali....79
10.0 Garanzia 79

Su tutti i nostri prodotti è applicata un'etichetta che indica il numero di serie e l'anno. Annotare questo numero dove indicato nelle istruzioni di installazione.
Citare sempre questo numero di serie quando ci si rivolge al rivenditore o a Jøtul.
Serial no.
1.0 Conformità alle leggi
L'installazione di una stufa deve essere eseguita in conformità alle leggi e alle norme locali di ogni paese.
L'installazione del prodotto deve essere conforme a tutte le norme locali, incluse quelle che fanno riferimento a direttive europee o specifiche del paese.
Il prodotto è corredato da un manuale di installazione con dati tecnici e da un manuale d'uso generale e di manutenzione. L'installazione può essere effettuata solo dopo un'accurata ispezione da parte di personale qualificato.
Sul prodotto è applicata una targhetta, realizzata in materiale termoresistente e contenente dati e informazioni sull'identificazione e documentazione del prodotto.
2.0 Dati tecnici
| Materiale: | Ghisa |
| Rivestimento esterno: | Vernice nera |
| Combustibile: | Legna |
| Lunghezza massima dei ceppi: | 30 cm |
| Scarico fumi: | Superiore, posteriore |
| Dimensioni condotto dei fumi: | 150 mm/min. sezione trasversale 177 cm ^2 |
| - con base in ghisa: | circa 168 kg |
| - con piedistallo in ghisa: | circa 161 kg |
| - con montante in ghisa: | circa 159 kg |
| - con base in ghisa | |
| con porta in vetro: | circa 170 kg |
| - con base in vetro: | circa 163 kg |
| - con tre montanti | circa 154 kg |
| Accessori opzionali: | Inserto rotante (Jøtul F 363), pietra ollare - superiore, decorazione in vetro - superiore/laterale/ anteriore. Contenitore per la legna (Jøtul F 364). |
| Dimensioni, distanze: | vedere fig. 1 |
Dati tecnici conformi alla normativa EN 13240
| Potenza termica nominale: | 5,5 kW |
| Massa di gas prodotta dai fumi: | 5,9 g/sec |
| Tiraggio raccomandato della canna fumaria: | 12 Pa |
| Rendimento: | 73%@5,8kW |
| Emissione di CO (13% O_2 ): | 0,12% |
| Temperatura dei gas prodotti dai fumi: | 330°C |
| Tipo di funzionamento: | intermittente |
Per combustione intermittente, in questo contesto, si intende il normale utilizzo del camino, ossia con aggiunta di combustibile non appena da quello precedente si è formata una quantità adeguata di braci.
Circolazione dell'aria
Il condotto per l'aria esterna può essere inserito direttamente in Jøtul F 360 Series attraverso:
- Un tubo flessibile di circolazione dell'aria dall'esterno/dalla canna fumaria (solo se la canna fumaria presenta un proprio condotto per l'aria esterna) diretto al connettore dell'aria esterna del prodotto.
Attraverso una parete esterna

Attraverso il pavimento e la piastra di terra

Attraverso il pavimento e il basamento

Indirettamente attraverso una parete esterna

Nota: per garantire prestazioni e sicurezza ottimali, le stufe Jøtul devono essere montate da un installatore qualificato.
Qualunque modifica al prodotto da parte del distributore, installatore o consumatore può comportare un funzionamento imprevisto del prodotto e delle funzionalità di sicurezza. Lo stesso si applica all'installazione di accessori o di extra opzionali non forniti da Jøtul. Ciò può riguardare anche componenti essenziali per il funzionamento e la sicurezza del caminetto eventualmente smontati o rimossi.
In tutti i casi citati, il produttore non potrà essere ritenuto responsabile o punibile per il prodotto, rendendo nullo e non valido ogni reclamo.
3.1 Misure di prevenzione antincendio
Ogni utilizzo del caminetto ha in sé un certo elemento di pericolo. Pertanto, è necessario seguire attentamente le seguenti istruzioni:
- Le distanze minime di sicurezza in caso di utilizzo del caminetto sono fornite nella fig. 1.
- Assicurarsi che gli arredi e altri materiali infiammabili non siano troppo vicini al caminetto. I materiali infiammabili non devono mai essere posizionati entro 1000 mm dal caminetto.
- Attendere l'estinzione del fuoco. Non spegnere mai le fiamme con acqua.
- Il caminetto acceso diventa caldo e può causare bruciature se toccato.
- Rimuovere la cenere solo con il caminetto freddo. La cenere può contenere braci calde, pertanto deve essere collocata in un contenitore ignifugo.
- La cenere deve essere collocata all'esterno o svuotata in un luogo in cui non rappresenterà un pericolo potenziale di incendio.
In caso di incendio della canna fumaria
• Chiudere tutte le aperture e le prese d'aria.
- Tenere chiusa la porta del camino.
- Verificare la presenza di fumo in cantina e in soffitta.
• Chiamare i vigili del fuoco.
- Prima di utilizzare di nuovo il camino e la canna fumaria dopo un incendio, è necessario che vengono controllati da un tecnico specializzato che ne assicuri l'integrità e il corretto funzionamento.
3.2 Pavimento
Basamento
È importante accertarsi che le dimensioni dei basamenti siano adatte al camino. Cf. «2.0 Dati tecnici» per le specifiche sul peso. Durante l'installazione, si consiglia di rimuovere la pavimentazione non fissata al sottofondo (pavimento antivibrante).
Requisiti per la protezione del pavimento di legno
Jøtul F 360 Series (eccetto Jøtul F 364) è dotato di uno scudo termico che protegge il pavimento dal calore. Il prodotto è dotato di una protezione aggiuntiva per il pavimento pertanto può essere direttamente appoggiato sul pavimento anche se di legno.
Jøtul F 360 Series
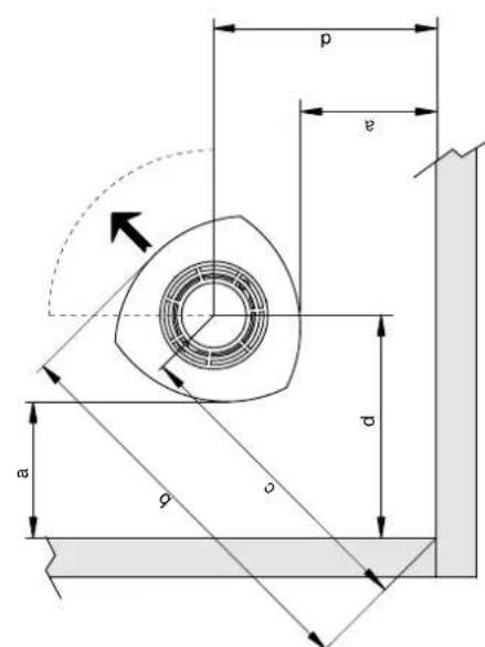
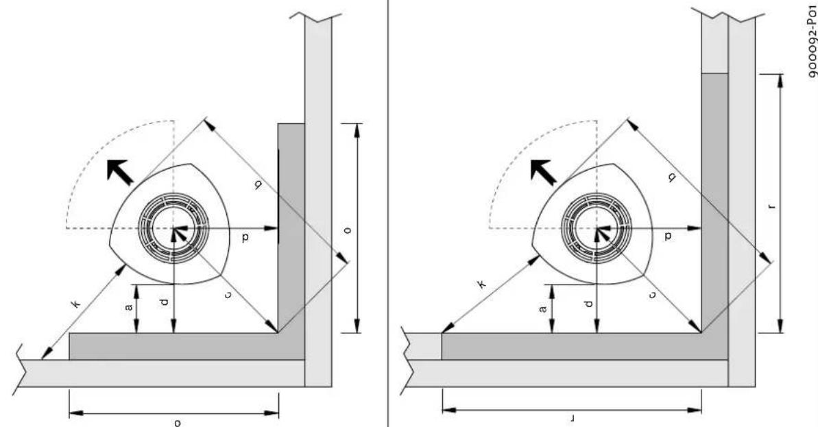
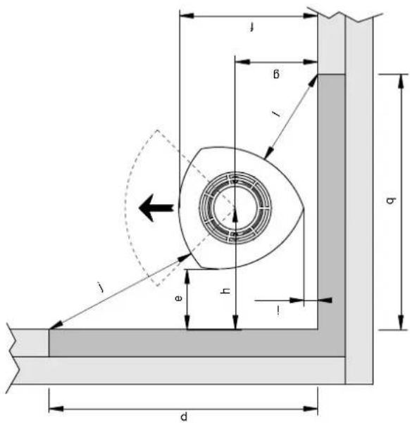
Distanza minima dalla parete combustibile, fig. 1a
| Dimensioni/distanzeCollocamento | a | b | c | d | e | f | g | h | i |
| Modello base con o senza canna fumaria in acciaio | 300 | 925 | 720 | 509 | 400 | 552 | 347 | 621 | 100 |
| Con decorazione, laterale, e canna fumaria in acciaio semi isolati | 200 | 805 | 591 | 418 | 400 | 571 | 357 | 630 | 100 |
| C models (prodotto con kit di convezione) n. cat. 50044359 + 50043642 | 100 | 672 | 467 | 330 | 250 | 524 | 319 | 491 | 50 |
| C models (prodotto con kit di convezione e canna fumaria parzialemnte isolata). Non più in produzione. | 150 735 | 521 368 400 571 357 630 100 |
Fig. 1a
Distanza minima dalla parete combustibile
Distanza dalla parete combustibile con piedistallo girevole

text_image
1025
text_image
740 1150 410
text_image
a b c d a d

text_image
F 360 C: 88 482 181 205 474 241Fori nel pavimento per l'aria esterna.
∅ 100 mm condotto
Jøtul F 361, F 364, F 365, F 366, F 369
Fori nel pavimento per l'aria esterna
Ø 100 mm condotto
Jøtul F 363

text_image
66 442 181 205 452 221Dimensioni minime per la piastra di protezione del pavimento X/Y = In conformità alle leggi e alle normative nazionali.

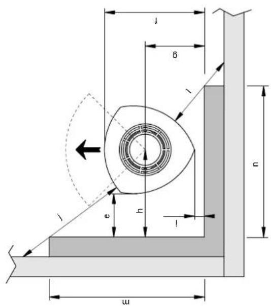
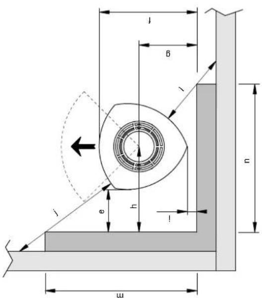
Jøtul F 360 Series
Distanza minima dalla parete combustibile protetta da un muro tagliafuoco, fig. 1b
| Collocamento | Dimensioni/distanze | a | b | c | d | e | f | g | h | i | j | k | l | m | n | o | p | q | r | s | t |
| Modello base | 100 | 643 | 438 | 310 | 200 | 492 | 287 | 421 | 40 | 550 | 480 | 440 | 735 | 799 | 773 | 934 | 999 | 962 | |||
| Jøtul F 365, F 366 e F 369 con aria esterna attraverso una parete | 100 | 643 | 438 | 310 | 200 | 552 | 347 | 421 | 100 | 550 | - | - | 795 | - | - | 994 | - | - | - | - | |
Fig. 1b
Jøtul F 361 / F 363 / F 364 / F 365 / F 366 / F 369
Distanza minima dalla parete combustibile protetta da un muro taggliafuoco.


text_image
g i f l s
text_image
m e h i n l g f

text_image
m e h l φ n
text_image
l e h l q f bIntegrata

text_image
g l t
Esterna
ITALIANO
Eventuali pavimentazioni in materiali infiammabili come linoleum, moquette, ecc. devono essere rimosse da sotto la piastra di protezione del pavimento.
Distanza minima dal muro per installazione di Jotul F 365 e Jotul F 366 con presa d'aria dall'esterno attraverso il muro.
Fig. 1 C

text_image
min 100 min 347Requisiti per la protezione di pavimento infiammabile davanti alla stufa
La piastra anteriore deve essere conforme alle leggi e alle norme nazionali.
Contattare le autorità edili locali in relazione alle disposizioni e ai requisiti di installazione.
3.3 Pareti
Distanza da pareti di materiale infiammabile
È consentito l'utilizzo con condotti del fumo non isolanti con la distanza dalla parete di materiale infiammabile descritta nella fig. 1.
3.4 Soffitto
La distanza minima tra la stufa e il soffitto in materiale infiammabile deve essere almeno di 1000 mm.
4.0 Installazione
Nota importante! Prima di procedere all'installazione, ispezionare la stufa e accertarsi che non sia danneggiata.
Il prodotto è pesante. Sarà necessario chiedere aiuto per installare e sistemare la stufa in posizione.
4.1 Per installazione
- Il prodotto standard viene fornito in due imballaggi: uno con il caminetto e l'altro con la base opzionale in ghisa/calcestruzzo/vetro o il piedistallo in ghisa.
- Eliminato l'imballo del prodotto, rimuovere le piastre refrattarie, il parafiamma, il deflettore di aspirazione, la piastra di base, il ceneraio e la grata perforata. Rimuovere anche le piccole piastre refrattarie laterali e la guarnizione del condotto del fumo che sono nel ceneraio.
Fig. 3

text_image
A B C- Sollevare la piastra superiore con la griglia superiore (fig. 3 A) e la vaschetta (fig. 3 B).
- Ispezionare il prodotto per assicurarsi che sia privo di danni e che le manopole di regolazione (fig. 29 A, B e C) funzionino.
- Se si utilizza lo scarico posteriore del condotto del fumo, praticare dei fori (fig. 5A) nelle coperture del condotto prima di rimuoverle.
- Posizionare il blocco di legno (fig. 5 B) che fissa i deflettori di aspirazione in modo da sostenere le piastre laterali quando vengono rimosse le coperture.
- Stendere il cartone di imballaggio sul pavimento. Reclinare con cautela la stufa.
Fig. 4

text_image
Front B A B A C D E- Se si utilizzerà l'inserto decorativo in vetro (accessori opzionali), occorre rimuovere le 4 viti a testa incassata sul fondo (fig. 4 B), con l'ausilio della chiave fornita con l'inserto decorativo in vetro.
4.2 Assemblaggio
Jøtul F 361 - La base in ghisa
Nota: In caso di collegamento del tubo flessibile attraverso un foro nel pavimento, non estrarre le piastre di copertura rimovibili.
Fig. 5

text_image
A B C- Per collegare il tubo flessibile da ∅ 100 mm, preposto all'immissione di aria esterna, alla presa d'aria (fig. 4 C) sotto la camera di combustione, praticare un foro (fig. 5 C) nelle coperture prima di rimuoverle. Nota: al momento di rimuovere le coperture, verificare che la piastra posteriore nella base (fig. 7 A) sia posizionata.
ITALIANO
Fig. 7

- Rimuovere il rack e la piastra posteriore nella base. Controllare che la maniglia all'interno della presa d'aria esterna (fig. 4 D) sia nella posizione corretta.
- Assemblare la base con la camera di combustione, con l'ausilio delle 4 viti (M8x30mm) del sacchetto (Fig. 4 A).
- Ottenete assistenza, proteggete il pavimento da graffi e segni e sollevate con attenzione la stufa.
- Infilare il tubo flessibile attraverso il foro e fissarlo sull'uscita con l'ausilio di una fascetta stringitubo. N.B. Accertarsi che il tubo flessibile sia sufficientemente lungo per evitare il ricorso a giunti.
Fig. 8

text_image
A B C C C C- Per proteggere la zona della base dal calore sviluppato dal prodotto, è necessario utilizzare lo scudo termico fornito (fig. 8 A). Fissarlo con le 2 viti in dotazione come mostrato nella fig. 8 B.
- Regolare il prodotto utilizzando le 4 viti di regolazione (cfr.fig.8C).
- Rimontare il rack e la piastra posteriore nella base.
ITALIANO
Importante: Se è necessario montare l'inserto rotante, si consiglia di farlo in questa fase, prima di fissare il piedistallo al focolare. Vedere le istruzioni di montaggio che accompagnano l'inserto rotante.
- Assemblare la colonna sulla piastra inferiore del focolare con l'ausilio delle 4 viti (M8x30mm) (fig. 4 A).
- Se si utilizzerà l'immissione di aria esterna attraverso la presa d'aria esterna, ora il tubo flessibile, 100 mm di diametro, viene collegato alla presa d'aria sul prodotto (fig. 4 C).
- Portare in posizione estratta la maniglia nella presa d'aria esterna (fig. 4 D).
- Fissare il flessibile alla presa d'aria esterna con l'ausilio di una fascetta stringitubo. N.B. Accertarsi che il tubo flessibile sia sufficientemente lungo per evitare il ricorso a giunti.
Fig. 11

- Se l'aria esterna verrà immessa attraverso il pavimento, il tubo flessibile viene prelevato attraverso la rondella flessibile sul lato inferiore del piedistallo. Se l'aria esterna verrà immessa dal pavimento, posizionare la guarnizione (fig. 11 B) della colonna sul lato inferiore, in prossimità dell'apertura. NOTARE: l'apertura è situata al centro del piedistallo/canna fumaria.
- Portare nella posizione arretrata la maniglia nella presa d'aria esterna (cfr. fig. 4E).
- Ottenete assistenza, proteggete il pavimento da graffi e segni e sollevate con attenzione la stufa. Posizionarla direttamente sopra la presa d'aria esterna.
- Regolare il prodotto utilizzando le 3 viti di regolazione (fig. 11 A). Importante: Verificare che la maniglia nella presa d'aria esterna si trovi in posizione estratta se l'aria esterna non deve attraversare il piedistallo.
Per immettere aria attraverso la presa d'aria esterna, collegare un tubo flessibile, ∅ 100 mm, alla presa d'aria esterna (fig. 4C) sul prodotto.
Installazione con aria esterna
- Portare la leva posta sulla presa d'aria esterna in posizione avanzata (fig. 4 D).
- Fissare il tubo flessibile alla presa d'aria esterna usando una fascetta stringitubo. Nota: accertarsi che il tubo flessibile sia sufficientemente lungo per evitare il ricorso a giunti.
Fig. 12

- Spostare il montante in ghisa verso la camera di combustione, così da far passare il tubo flessibile dell'aria esterna attraverso il montante e, se applicabile, attraverso l'apertura nella parte posteriore (fig. 12).
Fig. 13

- Fissare la base alla camera di combustione usando le 4 viti (M8 x 30 mm) contenute nel sacchetto (fig. 13 A).
- Ottenete assistenza, proteggete il pavimento da graffi e segni e sollevate con attenzione la stufa. Posizionarlo correttamente sopra l'alimentazione dell'aria esterna.
ITALIANO
Fig. 14

- Se necessario, regolare l'altezza del prodotto tramite le viti di regolazione poste sotto il montante (fig. 14 A).
Fig. 15

- Riposizionare il coperchio per l'alimentazione dell'aria esterna (fig. 15 A).
Installazione senza aria esterna
- Fissare la base alla camera di combustione usando le 4 viti (M8 x 30 mm) contenute nel sacchetto (fig. 13 A).
- Ottenete assistenza, proteggete il pavimento da graffi e segni e sollevate con attenzione la stufa. Posizionarlo correttamente sopra l'alimentazione dell'aria esterna.
- Se necessario, regolare l'altezza del prodotto tramite le viti di regolazione poste sotto il montante (fig. 14 A).
- Riposizionare il coperchio (fig. 15 A).
Jøtul F 365 - Base in ghisa con porta in vetro
- Montare la base in ghisa come descritto al punto Jøtul F 361 - Base in ghisa.
Fig. 16

- Fissare il cardine per la porta in vetro alla base mediante le viti M6 x 20 mm, contenute nel sacchetto per la porta in vetro (fig. 16 A).
- Prima di serrare le viti, inserire la molla tra i fori filettati e il cardine (fig. 16 B).
Fig. 17

text_image
A C B- Avvitare saldamente l'altra estremità della molla (fig. 17 A).
- Fissare l'apposito ammortizzatore all'interno della porta in vetro, nell'angolo in basso a destra (fig. 17 B).
Nota: per un corretto posizionamento della porta, la distanza tra la porta e la base deve risultare uniforme. Se necessario, regolare la porta avvitando o svitando le due viti (fig. 17 C).
Nota: in caso di collegamento del tubo flessibile attraverso un foro nel pavimento, non estrarre le piastre di copertura removibili (Fig. 18 A).
Fig. 18

text_image
A B C D- Allentare le viti che sostengono le clip superiori del vetro su ciascun lato (Fig. 18 B e C). Controllare che la leva posta sulla presa d'aria esterna sia in posizione avanzata (Fig. 4 D).
- In caso di collegamento di un tubo flessibile ( 100 mm) per l'alimentazione dell'aria esterna alla presa d'aria esterna/scarico (Fig. 4 C) sotto la camera di combustione, iniziare scavando un foro (Fig.18 A) nelle piastre di copertura removibili prima di estrarle. Nota: in fase di estrazione delle piastre di copertura, lasciare in posizione la piastra posteriore nella base (Fig. 18 D).
- Rimuovere la piastra posteriore (Fig. 18 D) nella base.
Fig. 19

text_image
A B B-
Posizionare correttamente la base sulla piastra di protezione del pavimento (se presente). Livellare il prodotto usando le 4 viti di regolazione (Fig.19 A). In caso di utilizzo di una piastra in vetro di protezione del pavimento (n. cat. 351121), la base deve essere sollevata di circa 8 mm dal pavimento, in modo che la piastra possa essere spinta sotto il bordo anteriore della base.
-
Fissare la base alla camera di combustione usando le 4 viti (M8 x 30 mm) contenute nel sacchetto (Fig. 19 B).
- Ottenete assistenza, proteggete il pavimento da graffi e segni e sollevate con attenzione la stufa.
- Regolare la porta in vetro con le viti (se necessario), come mostrato in Fig. 17 C. Per un corretto posizionamento della porta, la distanza tra la porta e la base deve risultare uniforme.
Fig. 20

- Installare i pannelli laterali in vetro posizionandoli nelle clip inferiori del vetro (Fig. 20 A). Sollevare le clip superiori e premerle in basso sul vetro laterale. Verificare la presenza di uno spazio libero uniforme tra il vetro laterale e la piastra laterale sul lato anteriore e posteriore. Serrare la vite anteriore per il vetro laterale (Fig. 18 B). La vite posteriore (Fig. 18 C) deve essere allentata quanto basta per consentire alla clip in vetro di essere rialzata senza rimuovere la vite (ciò semplifica un'eventuale sostituzione futura del vetro).
- Tirare il tubo flessibile (se presente) attraverso un foro nel pavimento o il retro della base (Fig.18 A) e fissarlo allo scarico ricorrendo a una fascetta. Nota: verificare che il tubo sia lungo abbastanza da evitare il ricorso a giunti.
- Riposizionare la piastra posteriore (Fig. 18 D).
- Per proteggere la zona della base dal calore sviluppato dal prodotto, è necessario utilizzare lo scudo termico fornito (fig. 8A). Fissarlo con le 2 viti in dotazione come mostrato nella fig. 8B.
ITALIANO
Jøtul F 369 con tre montanti
Nota! In caso di collegamento del tubo flessibile attraverso un foro nel pavimento, non estrarre le piastre di copertura rimovibili (fig. 21a - A).
Fig. 21a

- In caso di collegamento di un tubo flessibile (Ø 100 mm) per l'immissione dell'aria esterna nella presa d'aria (Fig. 21b) sotto la camera di combustione, praticare un foro (Fig. 21a - A) nelle piastre di copertura rimovibili prima di estrarle. Nota! Collocare le parti su una superficie idonea prima di estrarre le piastre di copertura.
Fig. 22

- Lo scudo termico in dotazione deve essere utilizzato per proteggere la base dal calore irradiato dal prodotto (Fig. 22 A). Fissarlo innanzitutto con una vite (Fig. 22 B).
-
Posizionare l'elemento di collegamento (Fig. 22 C) e fissarlo con una vite (Fig. 22 D) senza serrare.
-
Fissare la base alla camera di combustione usando le 4 viti (M8 x 30 mm) contenute nel sacchetto (Fig. 4 A).
- Assemblare i montanti sul bordo posteriore, avvitando le 2 viti posizionate nei relativi fori (Fig. 22 E).
- Fissare l'elemento di collegamento (Fig. 22 C) con una vite (Fig. 22 F) e un dado a entrambe le estremità.
- Ottenete assistenza, proteggete il pavimento da graffi e segni e sollevate con attenzione la stufa.
- Livellare il prodotto servendosi delle 4 viti di regolazione (Fig. 22 G).
- Se i montanti non sono allineati correttamente, allentare le viti (Fig. 22 F) su ciascun lato. Regolare i montanti e serrare nuovamente le viti.
- Fissare la vite (fig. 22 D).
- Inserire il tubo flessibile nel foro e collegarlo all'uscita con una fascetta stringitubo. Nota! Accertarsi che il tubo flessibile sia sufficientemente lungo per evitare il ricorso a giunti.
Fig. 23

- Riposizionare la protezione (Fig. 23 A). Assicurarsi che il perno (sporgenza) B sia rivolto verso il basso.
4.3 Canna fumaria e condotto
- La stufa può essere connessa a una canna fumaria e a un condotto dei fumi che siano approvati per stufe a combustibile solido con temperatura del gas prodotto dal fumo specificato nella sezione»2.0 Dati tecnici».
- La sezione trasversale della canna fumaria deve avere almeno le stesse dimensioni della sezione trasversale del condotto. Per calcolare la sezione trasversale corretta della canna fumaria, vedere la sezione «2.0 Dati tecnici».
- È possibile collegare più stufe a combustibile solido alla stessa canna fumaria, a condizione che la sezione trasversale della canna fumaria sia sufficientemente ampia.
- Il collegamento con la canna fumaria deve essere effettuato in conformità alle istruzioni di installazione fornite dal produttore della stessa.
- Montare e posizionare provvisoriamente la stufa, senza praticare alcun foro nella canna fumaria, in modo da individuare la corretta posizione della stufa e del foro sulla canna fumaria. Per le dimensioni minime, vedere fig. 1.
• Assicurarsi che il condotto sia inclinato verso l'alto, verso la canna fumaria. - Utilizzare un condotto provvisto di portello che consenta di effettuarne la pulizia.
È particolarmente importante che i collegamenti siano abbastanza flessibili. Ciò serve a impedire che un assestamento nell'installazione possa causare la formazione di crepe.
Il tiraggio della canna ; vedere anche le sezioni «2.0 Dati tecnici». Se il tiraggio è troppo forte, è possibile controllarlo installando e azionando una valvola di tiraggio.
Assemblaggio del condotto dei fumi con presa superiore
Il prodotto viene fornito dal fabbricante con lo scarico dei fumi predisposto per l'uscita posteriore.
- Applicare la piastra superiore (fig. 3 C) sul prodotto.
- Farsi assistere per il sollevamento della griglia superiore (fig. 3 A) e per trattenerla durante il fissaggio del condotto dei fumi.
- Infilare il condotto dei fumi attraverso la grata della piastra superiore e posizionarlo sullo scarico fumi dell'uscita superiore.
- Serrare bene con la guarnizione.
Assemblaggio del condotto dei fumi con presa posteriore
Il prodotto viene fornito dal fabbricante con lo scarico dei fumi predisposto per l'uscita posteriore. Se si desidera un'uscita posteriore, procedere come segue:
- Orientare il prodotto nella posizione corretta (vedere fig. 1).
Fig. 24

- Quando si passa all'uscita posteriore, lo scarico fumi viene svitato dall'uscita superiore (fig. 24 B).
- Svitare la copertura dell'uscita posteriore dall'interno della camera di combustione (fig.24 A).
ITALIANO
Fig. 25

- Posizionare la guarnizione all'estremità del condotto del fumo (fig. 25 A).
- Fissare lo scarico del fumo (fig. 25 B) all'estremità del condotto, munito di guarnizione.
- Montare il condotto e lo scarico del fumo dall'interno della camera di combustione e fissare lo scarico con viti M8x30 mm. N.B.: Se il tubo fumi è più lungo di 350 mm deve essere incastrato all'uscita tubo fumi dall'esterno del prodotto.
- Fissare la copertura sull'uscita superiore con le viti di fissaggio dello scarico fumi. (Fig. 3)
Nota importante! Un collegamento corretto ed ermetico è molto importante per il funzionamento corretto del prodotto.
4.4 Montaggio del prodotto
Fig. 26

- Posizionare il parafiamma con la barra nella scanalatura sui sostegni (fig. 26 A).
- Passare la piastra di base attraverso l'apertura e posizionarla sul fondo.
Fig. 27

-
Posizionare in sede la grata perforata sulla piastra di base. Verificare che la fessura della grata perforata sul lato destro sia inserita nella barra di setacciatura (fig. 27 A).
-
Posizionare il ceneraio nella parte inferiore del prodotto.
- Posizionare la piastra refrattaria posteriore nella scanalatura posteriore della piastra di base.
- Posizionare le piastre refrattarie laterali (fig. 29 F) su ciascun lato nelle scanalature laterali della piastra di base. Avvicinare il parafiamma e posizionarlo in modo che poggi sulle piastre refrattarie laterali e posteriori.
- Poggiare il parafiamma sulle piastre refrattarie.
Fig. 28

- Posizionare le piccole piastre refrattarie (fig. 28 A) nella scanalatura della piastra di base sotto i vetri laterali.
- Sostituire la piastra superiore con la griglia superiore e la vaschetta.
- La placca contenente i dati del prodotto che si trova nel cassetto cenere deve essere posizionata al di sotto della camera di combustione.
4.5 Comandi di controllo
Quando il prodotto è installato, verificare sempre i dispositivi di controllo che devono muoversi con facilità e funzionare in maniera soddisfacente.
La stufa Jøtul F 360 è dotata dei seguenti dispositivi di controllo:
Fig. 29

Presa d'aria fig. 29 A
In dentro: chiusa
In fuori: aperta
Valvola di accensione, fig. 29 B
In dentro: chiusa
In fuori: aperta
Grata perforata (stessa maniglia della valvola di accensione) (fig. 29 B)
La maniglia di destra viene spinta in dentro e tirata in fuori
Maniglia della porta fig.29 C:
Per aprire, tirare la maniglia.
Accensione iniziale
- Aprire la presa d'aria spostandola tutta a destra e la valvola di accensione estraendo completamente la maniglia (fig. 29 A e B) Se necessario, tenere leggermente aperta la porta. (quando la maniglia è calda è opportuno utilizzare un guanto).
- Collocare due ceppi di medie dimensioni su ciascun lato della base. N.B. Al fine di evitare che il vetro si copra di fuliggine, è importante che i ciocchi non vengano sistemiati in prossimità del vetro sul prodotto.
ITALIANO
- Sistemare tra la legna dei fogli di giornale appallottolati oppure dei trucioli, aggiungervi alcune fascine disposte a incrocio e accendere i fogli di giornale.
- Aumentare gradualmente la flamma facendo in modo che la legna non superi i fori orizzontali sul retro della piastra di combustione. Vedere Fig. 29 H.
• Chiudere la valvola di accensione (fig. 29 B) quando si è certi che il fuoco abbia preso bene. - Controllare che si sia verificata la combustione secondaria. Ciò viene indicato dalla presenza di fiamme gialle e sfarfallanti sotto al parafiamma.
- Regolare la presa d'aria superiore in modo da ottenere il tasso di combustione per il livello di riscaldamento desiderato (fig. 29 A)

Aggiunta della legna
Alimentare frequentemente la stufa, aggiungendo solo piccoli quantitativi di combustibile alla volta. Se la stufa è troppo piena, il calore creato potrebbe causare sollecitazioni estreme della canna fumaria. Aggiungere con moderazione il combustibile al fuoco. Evitare i fuochi che bruciano senza fiamme, dato che ciò produrrà il massimo inquinamento. Un fuoco ottimale si ottiene con una buona bruciatura e un fumo in uscita dalla canna fumaria quasi invisibile.
4.6 Pericolo di surriscaldamento
Il caminetto non deve mai essere utilizzato in modo tale da causare surriscaldamento
Il surriscaldamento si verifica in presenza di un eccesso di combustibile e/o di aria, causando un calore eccessivo. Un segno evidente di surriscaldamento è la presenza di un bagliore rosso in alcune parti del caminetto. Se ciò dovesse accadere, ridurre immediatamente l'apertura della presa d'aria.
Consultare un professionista se si sospetta che la canna fumaria non presenti un tiraggio corretto (tiraggio eccessivo o scarso). Per ulteriori informazioni, consultare il capitolo “4.0 Installazione” (Canna fumaria e condotto).
4.7 Eliminazione della cenere
Jøtul F 360 possiede un ceneraio che rende più semplice rimuovere la cenere.
- Rimuovere la cenere solo quando la stufa è fredda.
- Scuotere la cenere attraverso la grata nella piastra di base e quindi nel ceneraio.
- Indossare un quanto per impugnare la maniglia sul ceneraio ed estrarre la cenere.
- Assicurarsi che il ceneraio non si riempia fino al punto di impedire alla cenere di scendere dalla grata.
- Assicurarsi che lo sportello del ceneraio sia ben chiuso quando la stufa è in funzione.
5.0 Utilizzo giornaliero
Odori al primo utilizzo del caminetto
Quando il caminetto viene utilizzato per la prima volta, può emettere un gas irritante dal lieve odore. Ciò si verifica perché la vernice si secca. Il gas non è tossico, tuttavia il locale deve essere ventilato approfonditamente. Lasciare bruciare il fuoco con un tiraggio elevato, fino a far scomparire ogni traccia di gas, fumo e odore.
5.1 Funzionamento
Nota: se la maniglia della porta è chiusa quando questa è nella posizione rialzata, sarà possibile lasciare la porta in tale posizione abbassando il fermo (Fig. 15 A) nell'alloggiamento anteriore.
Nota: la porta non deve essere aperta quando viene acceso il fuoco. Allentando la vite (Fig. 15 B) e ruotando il fermo sotto la maniglia, la porta si chiuderà sempre, a meno che non venga tenuta aperta.
Consiglio per l'alimentazione della stufa
Nota: i ceppi conservati all'aperto o in un locale freddo devono essere collocati all'interno 24 ore prima dell'uso, al fine di portarli alla temperatura ambiente.
Ci sono vari modi per alimentare la stufa, tuttavia è sempre importante prestare attenzione a ciò che viene collocato nella stufa. Consultare la sezione “Qualità della legna”.
Qualità della legna
Per “legna di qualità” si intendono tipi di legna generalmente conosciuti come la betulla, l’abete e il pino.
I ceppi devono essere asciugati, in modo che il contenuto di umidità non sia superiore al 20%.
A tal fine, si consiglia di tagliare i ceppi alla fine dell'inverno. Tagliarli e impilarli in modo da garantire una buona ventilazione. Le pile di legna devono essere coperte per proteggere i ceppi dalla pioggia. Portare i ceppi all'interno all'inizio dell'autunno e impilarli/conservarli per utilizzarli in inverno.
Prestare particolare attenzione a non utilizzare mai i seguenti materiali come combustibile per il caminetto:
- Rifiuti domestici, buste di plastica, ecc.
- Legname verniciato o impregnato (in quanto estremamente tossico).
• Assi di legno laminato. - Cumuli di legname trasportato dalla corrente
Possono danneggiare il prodotto e sono anche inquinanti.
Legna
L'efficienza di Jøtul F 360 garantisce una potenza termica nominale di 5,5 kW. Utilizzo di legna, con emissione nominale di calore: Circa 1,9 kg/h. Un altro fattore importante per ottenere un funzionamento efficiente della stufa è rappresentato dalle dimensioni dei ceppi, che devono essere le seguenti:
Fascine:
Lunghezza: 30 cm
Diametro: 2-5 cm
Quantità per un'accensione: 6-8 pezzi
Legna da ardere (spaccata):
Lunghezza: 20 - 30 cm
Diametro: circa 8 cm
Intervalli di aggiunta della legna: circa ogni 45 minuti
Aumento della fiamma: 1,4 kg
Quantità per carica: 2 pezzi
L'emissione di calore nominale si ottiene quando la presa d'aria superiore (fig. 29 A) è aperta al 100% circa e la maniglia per la valvola di accensione estratta di circa 1-2 cm (fig. 29 B).
6.o Manutenzione
6.1 Pulizia del vetro
Il prodotto dispone del sistema di pulizia ad aria del vetro. Attraverso la presa d'aria, l'aria viene risucchiata nella parte superiore del camino e spinta verso il basso lungo la parte interna del vetro.
Sarà comunque inevitabile l'accumulo di un po' fuliggine sul vetro, la cui quantità dipenderà dalle condizioni di tiraggio locale e dalla regolazione della presa d'aria. La maggior parte della fuliggine verrà normalmente bruciata quando si apre completamente la presa d'aria mentre il fuoco brucia vivacemente nel camino.
Suggerimento utile! Per la pulizia generale, utilizzare carta da cucina inumidita con acqua calda e aggiungere della cenere presa dalla camera di combustione. Pulire il vetro con la carta, quindi risciacquarlo con acqua pulita e asciugarlo completamente. Se fosse necessario pulire il vetro più a fondo, utilizzare un detergente per vetri (seguire le istruzioni riportate sul flacone).
6.2 Pulizia e rimozione della fuliggine
I depositi di fuliggine possono accumularsi sulle superfici interne del caminetto durante l'uso. La fuliggine è un buon isolante, pertanto riduce la potenza termica del caminetto. Se si accumulano depositi di fuliggine durante l'utilizzo del prodotto, per rimuoverli è sufficiente utilizzare un detergente specifico.
Al fine di impedire la formazione di acqua e di uno strato di pece liquida nel caminetto, consentire regolarmente la presenza di fiamme particolarmente calde per rimuovere lo strato. È richiesta una pulizia interna annuale per ottenere i migliori risultati termici dal prodotto. Si consiglia di effettuarla insieme alla pulizia della canna fumaria e dei condotti.
6.3 Pulizia dei condotti alla canna fumaria
I condotti devono essere spazzati attraverso l'apposito portello o l'apertura della porta. In genere, occorrerà rimuovere il parafiamma.
6.4 Ispezione del caminetto
Jøtul raccomanda di ispezionare attentamente il proprio caminetto dopo averlo spazzato e pulito. Controllare tutte le superfici visibili per individuare eventuali crepe. Controllare anche che tutti i giunti siano sigillati e che tutte le guarnizioni siano nelle posizioni corrette. Qualsiasi guarnizione che mostri segni di usura o deformazione deve essere sostituita.
Pulire accuratamente le scanalature delle guarnizioni, applicare della colla per ceramica (disponibile presso il proprio rivenditore Jøtul locale) e premere la guarnizione in posizione. Il giunto si asciugherà rapidamente.
6.5 Manutenzione esterna
Il colore dei prodotti verniciati può alterarsi dopo svariati anni di utilizzo. La superficie deve essere pulita e spazzolata in modo da rimuovere ogni residuo prima di applicare la nuova vernice.
ITALIANO
7.0 Assistenza
Attenzione! Non è consentito apportare al prodotto modifiche non autorizzate.
Utilizzare solo parti di ricambio originali.
7.1 Sostituzione di parafiamma e deflettore di aspirazione
N.B.: Utilizzare con cautela e attenzione eventuali utensili, per non danneggiare le piastre in vermiculite.
- Sollevare il bordo anteriore del parafiamma ed estrarlo (fig. 29 G). Rimuovere le piastre refrattarie laterali (fig. 29 F) e la piastra refrattaria posteriore (fig. 29 E).
- Il deflettore di aspirazione in ghisa, collocato sopra il parafiamma, poggia con la barra sulle scanalature sullo scarico posteriore dei fumi (fig. 26 A). Sollevare leggermente il deflettore di aspirazione, tirarlo in avanti ed estrarlo.
- Per effettuare l'installazione, ripetere la procedura in ordine inverso.
7.2 Sostituzione di piastre refrattarie e piastra di base
N.B.: Utilizzare con cautela e attenzione eventuali utensili, per non danneggiare le piastre in vermiculite.
- Sollevare il bordo anteriore del parafiamma ed estrarlo. Rimuovere le piastre refrattarie laterali (fig. 29 F) e la piastra refrattaria posteriore (fig. 29 E).
- Quindi sollevare la grata e la piastra di base ed estrarla (fig. 29 D).
- Per effettuare l'installazione, ripetere la procedura in ordine inverso.
- Quando si ricollocano la grata e la piastra di base, verificare che la barra di setacciatura che consente il movimento della grata perforata sia inserita nella fessura presente sul bordo destro della grata. (Vedere fig. 27 A).
8.0 Risoluzione dei problemi
Scarso tiraggio
- Verificare la lunghezza della canna fumaria e la conformità alle norme nazionali (per informazioni, vedere anche le sezioni «2.0 Dati tecnici» e «3.0 Installazione» (Canna fumaria e condotto) nel manuale di installazione).
- Accertarsi che la sezione trasversale minima della canna fumaria sia conforme a quanto riportato nella sezione «2.0 Dati tecnici» del manuale di installazione.
- Verificare che non ci sia nulla che impedisca il deflusso del fumo: rami, alberi e così via.
- Se si sospetta un tiraggio eccessivo o insufficiente della canna fumaria, rivolgersi a un tecnico specializzato per la misurazione e la regolazione.
Il camino e spegnimento del fuoco
- Accertarsi che la legna sia sufficientemente secca.
- Verificare che ci sia una pressione negativa nella stanza, spegnere le ventole meccaniche e aprire una finestra nelle vicinanze del camino.
- Controllare che la presa d'aria sia aperta.
- Controllare che il condotto di scarico dei fumi non sia intasato dalla fuliggine.
Accumulo anomalo di fuliggine sul vetro
È inevitabile che si accumuli della fuliggine sul vetro, ma la sua quantità dipende da:
- Umidità del combustibile.
- Condizioni di tiraggio del locale.
- Apertura della presa d'aria.
Gran parte della fuliggine viene normalmente bruciata quando la presa d'aria è completamente aperta e il fuoco arde vivacemente nel camino (vedere il suggerimento utile nella sezione «9.1 Pulizia del vetro - Suggerimento utile»).
9.0 Accessori opzionali
9.1 Piastre decorative
Pietra ollare, coperchio da 25 mm in un pezzo – n. cat. 50012988.
Pietra ollare, coperchio da 25 mm in tre pezzi – n. cat. 50013013, sostituzione per il n. 50012988 installato con la canna fumaria in acciaio.
9.2 Decorazione in vetro, superiore, laterale e anteriore
(con specifiche istruzioni di montaggio a parte)
Inserto in vetro per scarico fumi posteriore, vernice nera, - codice art. 51012250
Inserto in vetro per scarico fumi superiore, vernice nera, - codice art. 51012252
9.3 Inserto rotante
Consultare le istruzioni separate.
Inserto rotante per Jøtul F 363, - codice art. 51012254
9.4 Contenitore per la legna
Vernice nera - codice art. 50012995
10.0 Garanzia
Jøtul AS fornisce ai propri clienti una garanzia decennale che prevede il diritto alla restituzione degli elementi esterni in ghisa, qualora mostrino difetti nei materiali e/o nella fabbricazione, dopo l'acquisto iniziale/installazione del caminetto. L'acquirente ha diritto alla restituzione delle merci nel caso in cui il caminetto sia stato installato in conformità alle leggi e normative vigenti e in conformità alle istruzioni di installazione e funzionamento di Jøtul.
La garanzia non copre:
L'installazione degli accessori opzionali, ad esempio per modificare le condizioni di tiraggio locale, la circolazione dell'aria o altre circostanze al di fuori del controllo di Jøtul. La garanzia non copre i consumabili, come le piastre refrattarie, i parafiamma, le grate del fuoco, le grate inferiori, gli elementi refrattari in mattone, le valvole di tiraggio e le guarnizioni, essendo soggetti a deterioramento nel tempo a causa della normale usura. La garanzia non copre i danni causati a seguito dell'utilizzo di un combustibile non idoneo per accendere il fuoco, come cumuli di legname trasportato dalla corrente, legna impregnata e verniciata, ritagli di assi, truciolato, ecc. Utilizzando combustibili non idonei, può verificarsi facilmente un surriscaldamento, una condizione in grado di causare lo scolorimento della vernice e crepe alle parti in ghisa.
La garanzia non è valida per i danni causati durante il passaggio del prodotto dal distributore all'indirizzo di consegna. Inoltre, la garanzia non è valida per i danni dovuti all'utilizzo di componenti non originali.
ManualeFacile