PEMC64 - Microonde DELONGHI - Manuale utente e istruzioni gratuiti
Trova gratuitamente il manuale del dispositivo PEMC64 DELONGHI in formato PDF.
Domande degli utenti su PEMC64 DELONGHI
0 domanda su questo apparecchio. Rispondi a quelle che conosci o fai la tua.
Fai una nuova domanda su questo apparecchio
Scarica le istruzioni per il tuo Microonde in formato PDF gratuitamente! Trova il tuo manuale PEMC64 - DELONGHI e riprendi in mano il tuo dispositivo elettronico. In questa pagina sono pubblicati tutti i documenti necessari per l'utilizzo del tuo dispositivo. PEMC64 del marchio DELONGHI.
MANUALE UTENTE PEMC64 DELONGHI
La ringraziamo per la preferenza accordataci con l'acquisto di un nostro prodotto.
Le avventenze ed i consigli in seguito descriitti, sono a tutela della sicurezza Sua e degli altri, inoltre Le permetteranno di usufruire delle possibilità offerteLe dall'apparecchio.
Conservi con cura quello libretto, Le sare utile in futuro, qualora Lei, o chi altri per Lei, avesse dubbi relativi al suo funzionamento.
Questo apparecchio dovrá essere destinato solo all'uso per il quale è stato espressamenteconceptito,cioèper la cottura di alimenti. Ogni altri uso è da considerarsi improprio e quando pericoloso.
Il costruttore declina agli responsabilità nel caso di eventuali danni derivanti da un uso improprio, erroneo od irragionevole dell'apparecchio.
Dichiarazione di conformità CE
- Questo appearecchio è stato progettato per essere utilizzato solamente come appearecchio di cottura. Ogni altri uso (riscaldare locali) è da considerarsi improprio e segueentamente pericoloso.
-
Questo appearecchio è stato concepito, costruito ed immesso sul mercato in conformità ai:
-
Requisiti di sicurezza del Regolamento "Gas" (UE) 2016/426;
- Requisiti di sicurezza della Direttiva "Bassa Tensione" 2014/35/UE;
- Requisiti di protezione della Direttiva "Compatibilità elettromagnetica" 2014/30/UE;
- Requisiti della Direttiva 93/68/CEE;
- Requisiti della Direttiva 2011/65/UE.

AVVERTENZE PER IL CORRETTO SMALTIMENTO DEL PRODOTTO AI SENSI DELL'A DIRITTIVA EUROPEA 2012/19/UE.
Alla fine della sua vita utile il prodotto non deve esser smaltito insieme ai rifiuti urbani. Può essere consegnato presso gli apposti centri di raccolta differenziate predisposi dalle amministrazioni comunali, oppure presso i rivenditori che forniscono quello servizio. Smaltire separamente un elettrodomestico consente di evitare possibili consequences negative per l'ambiente e per la salute derivanti da un suo smaltimento inadeguato e permette di recuperare i materiali di cui è composto al fine di ottenere un importante risparnio di energia e di risorse. Per rimarcare l'obbligo di smaltire separatamente gli elettrodomestici, sul prodotto è riportato il marchio del contentatore di spazzatura mobile barrato.


AVVERTENZE E CONSIGLI IMPORTANTI PER LA SICUREZZA
IMPORTANTE: Questo appearecchio è stato progettato e costruito solo per la cottura di alimenti in ambito domestico e pertanto non deve essere utilizzato in un ambiente commerciale.
La garanzia è da intendersi annullata nel caso in cui l'apparecchio venga utilizzato in un ambiente comunale, semi-commerciale o commerciale.
Leggere attendamente le istruzioni prima di installare ed iniziare ad utilizzato l'apparecchio.
- Questo appearecchio è stato progettato e costruito in conformità con le normative applicabili per gli appearecchi da cottura domestici e rispetta tutti i requisiti di sicurezza previsti, comprese le temperature superficiali.
Alcune personne, con maggior sensibilità della pelle, potrebbero avere una percezione più marcata della temperatura in alcuni componenti cheuggava sono sempre entro i limiti consentiti dalle norme.
La completeness sicurezza di un prodotto dipendeanche dal corretto utilizzato, si raccomanda pertanto di prestare sempre molta attenzione durante l'uso del prodotto, in special modo in presenza di bambini.
- Dopo ave tolo l'imballaggio assicurarsi dell'integrità dell'apparecchio e che la porta forno si chiuda correttamente. In caso di dubbio non utilizzato e rivolgersi al fornitore oppure a personale professionalmente qualificato.
- Gli elementi dell'imballaggio (sacchetti in plastica, polistirolo espanso, chiodi, reggette, ecc.) non devono essere lasciati alla portata dei bambini in quanto potenziali fonti di pericolo.
-
Alcune apparecchiature sono fornite con film protettivi applicativi sulle superfici di alluminio e di acciaio inox. Tutti quosti film protettivi devono essere totti prima dell'utilizzo dell'apparecchiatura.
-
IMPORTANTE: L'uso di idonei indumenti/guanti protettivi è raccommando durante la movimentazione o pulizia dell'apparecchio.
- Non tentare di modificare le caratteristiche tecniche del prodotto in quanto l'apparecchio può diventare pericoloso. Il costruttore declina agli responsabilità per eventuali danni/inconvenienti derivanti dal mancato rispetto di quella condizione.
- ATTENZIONE: quello apparecchio deve essere installato solo in locali permanenteventilati nel rispetto delle normative vigenti.
- Non far funzionare l'apparecchio tramite un programmatore esterno o per mezzo di sistemi di controllo remoto.
- Non effettuare alcuna operazione di pulizia o manutenzionezza ave preventivamente staccato l'apparecchio alla rete di alimentazione elettrica.
ATTENZIONE: Prima di sostituire la lampadina del forno assicurarsi che l'apparecchio sia disconnesso alla rete elettrica per evitare il rischio di scosse elettriche. - Non utilizzato pulitrici a getto di vapore perché dell'umidità potrebbe infiltrarsi nell'apparecchio e renderlo pericoloso.
Non toccare l'apparecchio con mani o piedi bagnati oppure umidi.
Non usare l'apparecchio a piedi nudi. - Qualora dovesse decidere di non utilizzato più quello apparecchio (o dovesse sostuire un vecchio modello), prima di gettarlo al macero si raccomanda di renderlo inoperante nel modo previsto delle normative vigenti in materia di tutela della salute e dell'inquinamento ambientale, rendendo inoltre innocue nelle parti suscettibili di costituire un pericolo, specialmente per i bambini che potrebbero serviri dell'apparecchio fuori uso per i propri giochi.
-
I vari componenti dell'apparecchio sono riciclabili; smaltirli in conformità con le norme vigenti nel proprio paese. Se l'apparecchio deve essere rottamato, rimuovere il cavo di alimentazione.
-
Dopo aver utilizzato l'apparecchio, assicurarsi che l'indice delle manopole sia in posizione di chiusura.
- I bambini con meno di 8 anni di età devono essere tenuti lontani a meno che non siano continuamente sorvegliati.
- Questo apparecchio può essere utilizzato da bambini con un'età minima di 8 anni, da persone con disponibilità fisiche, sensoriali o mentali ridotte o da persone inesperte solo se sotto sorveglianza durante l'uso, oppure sepreventivamente istruite sull'utilizzo in sicurezza e solamente se informate dei pericoli (che devono aver ben compreso) legati al prodotto stesso. I bambini non devono giocare con l'apparecchio. La pulizia e la manutenzione dell'apparecchio non devono essere fatte da bambini sulla supervisione di un adulto.
- Il costruttore declina agli responsabilità per eventuali danni a persona o cose derivanti da uso improprio, erroneo ed irragionevole dell'apparecchio.
-
ATTENZIONE: Durante l'uso l'apparecchio e le sue parti accessibili divertano calde e rimangono calde per un certo tempo dopo l'uso.
-
Si deve prestare attenzione a non toccare gli elementi riscaldanti (sul piano di cottura e all'interno delorno).
- La porta forno diventa calda, usare la maniglia.
-
Al fine di evitare bruciature e scottature, i bambini devono essere tenuti lontani.
-
Assicurarsi che i cavi di alimentazione di altri prodotti in prossimità dell'apparecchio non vengano in contatto con il piano di cottura oppure intrappolati nella porta del forno.
ATTENZIONE: Puo essere pericoloso lasciare riscaldare del grasso o dell'olio sul piano di cottura senza tenero sotto controlo il processo in quanto questo potrebbe causare un incendio. NON CERCARE MAI di spegnere il fuoco con dell'acqua. Spagnere prima l'apparecchio e poi coprire le fiamme ad esempio con un coperchio oppure con una coperta ignifuga antincendio. -
ATTENZIONE: Pericolo di incendio: non depositare oggetti sulle superfici di cottura.
-
ATTENZIONE: Una volta installato correttamente, il vostro prodotto soddisfa tutti gli standard di sicurezza previsti per但这a categoria di prodotto. Tuttavia fare attenzione ad alcune parti dell'apparecchio (dietro e fatto), perché queste parti, non esendo progettate per essere toccate, potrebbero presentare dei bordi o delle superfici potenzialmente pericolosi che potrebbero causare delle ferite.
-
AL PRIMO UTILIZZO DEL FORNO - si consiglia di effettuare le seguenti operazioni:
-
Allestire l'interno delorno come descripto nel capitolo "PULIZIA E MANUTENZIONE".
- Accendere ilorno vuoto alla massima temperatura per eliminare trasce di grasso ed odori dagli elementi riscaldanti e dai componenti.
- Sconnettere l'apparecchio alla rete di alimentazione elettrica, lasciare raffreddare il forno e pulire poi l'interno della cavity forno con un panno imbevuto di acqua e detersivo neutro; asciugare poi perfettamente.
ATTENZIONE: Non utilizzato detersivi molto abrasivi o raschietti taglienti in metallo per pulire i vetri della porta delorno perché potrebbero graffiarne la superficie, e quello potrebbe provocare la frantumazione del vetro. - Non rivestire in nessun caso le pareti e/o il fondo delorno con fogli di alluminio. Non posizionare teglie o la leccarda sul fondo delorno.
Non rivestire il piano cottura con fogli di alluminio. - RISCHIO DI INCENDIO! Non depositare materiale inflammabile nel forno o nel vano portaoggetti.
- Usare sempre quanti da forno per rimuovere griglie e leccarda (o vassoi di cottura) dal forno quando è caldo.
- Non appendere tovaglioli, panni o altri sull'apparecchio o sulla maniglia delorno perché potrebbero incendiarsi.
- Pulire regolarmente ilorno. Evitare che olio e grasso si accumulino nel fondo delorno e nella leccarda. Pulire subito le tracimazioni appena si verificano.
Non salire sull'apparecchio o sulla porta del forno aperta.
- Aprire sempre la porta delorno rimanendo lontani, attendere la fuoriuscita di vapore e aria calda, poi estrarre o controllare i cibi in cottura.
- TRATTAMENTO SICURO DEL CIBO: Lasciare il cibo nel forn o per un periodo di tempo il più breve possibile prima e dopo la cottura. Questo è per evitare la contaminazione da organismi che potrebbero provocare avvelamento da cibo. Fare particolarmente attenzione nella stagione calda.
- ATTENZIONE: Fare attenzione a NON sollevare l'apparecchio per la maniglia della porta forno.
ATTENZIONE: Il processo di cottura deve essere sorvegliato. Un processo di cottura breve deve essere supervisionato in modo continuativo.
- L'apparecchio non deve essere installato dietro ad una porta decorativa, per evitare un surriscaldamento.
- Gli accessori delorno (es. griglia) devono essere installati correttamente come indicato a pag. 39.
- NOTA IMPORTANTE: Le griglie forno (per alcuni prodotti è formita una sola griglia) non sono state progettate per porre gli alimenti a diretto contatto della griglia stessa. Per la cottura riporre sempre gli alimenti in apposti contentori o materiali destinati al lavoro alimentare.
- Se il cavo di alimentazione è danneggiato deve essere sostituito da un technician del servizio di assistenza autorizzato, per evitare pericoli.
- Se l'apparecchio non è provvisto di cavo di alimentazione e di spina, o di altri dispositivo che assicuri la disconnessione dalla rete, con una distance di apertura dei contatti che consenta la disconnessione completa nelle condizioni della categoria di sovratensione III, un dispositivo idoneo per la disconnessione delve essere previsto nella rete di alimentazione conformmente alle regole di installmente.
ATTENZIONE: L'apparecchio e le sue parti accessibili si
riscaldano durante l'uso.
Fare attenzione a non toccare gli elementi riscaldanti.
I bambini con meno di 8 anni di età devono essere tenuti lontani a meno che non siano continuamente sorvegliati.
ATTENZIONE: Utilizzato solamente protezioni per il piano cottura progettate dal produttore dell'apparecchio oppure indicate come idonee dallo stesso nelle istruzioni d'uso, oppure protezioni incorporate nell'apparecchio. L'uso di protezioni inadequate cui poe causare incidenti.
ETICHETTATURA ENERGETICA/PROGETTAZIONE ECOCOMPATIBLE
- Regolamento delegato (UE) No.65/2014 della commissione (che integra la direttiva 2010/30/UE del Parlamento europeo e del Consiglio).
- Regolamento (UE) No.66/2014 della commissione (recante misure di esecuzione della direttiva 2009/125/CE del Parlamento europeo e del Consiglio).
Riferimento ai metodi di misurazione e di calcolo utilizzati per stabilire la conformità alle specifiche di cui sopra:
Norma EN 60350-1 (forni elettrici).
- Norma EN30-2-1 (piani cottura: brucitori a gas).
CONSIGLI PER UN RISPARMIO ENERGETICO DURANTE L'USO DELL'APPARECCHIO
FORNO
- Controllare che la porta forno si chiuda sempre in modo corretto e che la guarnizione sia pulita ed in ordine. Durante la cottura aprire la porta del forno solo quando strettamente necessario per evitare dispersioni di calore (per certe funzioni potrebbe essere necessario utilizzato il forno con la porta semiaperta, verificare le istruzioni per il funzionamento del forno).
- Spagnere ilorno 5-10 minuti prima del tempo teorico di cottura per recuperare il calore immagazzinato.
- Si raccomanda di utilizzato tegami idonei per cotture al forno e di modificare all'occorrenza la temperature del forno durante la cottura.
PIANO DI COTTURA BRUCIATORIA GAS
- É importante che il diametro della pentola sia adeguato alla potenzialità del bruciatore per non compensettere l'alto rendimento dei brucatori e di consensova avere uno spreco di combustibile. Una pentola piccola su un grande bruciatore non consente di ottener e'ebollizione in un tempo più breve, in quanto la capacité di assorbimento di calorie della massa liquida dipende dal fondo e dalla superficie della pentola.
- Evitare assolutamente il funzionamento a vuoto (senza recipienti).
CONSIGLI
PER
L'INSTALLATORE
IMPORTANT
- Per una perfetta installatione, regolazione o trasformazione della cucina all'uso di altri gas, è necessario ricorrere ad un INSTALLATORE QUALIFICATO. La mancata osservanza di但这a norma provoca il decadere della garanzia.
L'apparecchiatura deve essere installata correttamente, in conformità con le norme in vigore e secondo le istruzioni del costruttore. - Qualsiasi intervento deve essere effettuato con l'apparecchiatura disinserita elettricamente.
- Le pareti dei mobili o dei muri adiacenti l'apparecchio devono sostarare aumento di temperatura di altri 70^ .
Se la cucinaiene accostata a mobili che superano in altezza il piano di lavoro, è indispensable lasciare uno spazio di almeno 5 cm fra mobile e fianco dell'apparecchio.
- Alcuni apparecchi sono ricoperti da una speciale pellicola protettiva posta su parti in acciaio o alluminio.
Prima di usare la cucina togliere accuratamente la pellicola protettiva.
Le condizioni di installmente, per quanto riguarda la protezione contro il surriscaldamento delle superfici adiacenti alla cucina, devono essere conformi alle figure 1.1a oppure 1.1b.
Se la cucina viene accostata a mobili che superano in altezza il piano di lavoro, è indispensableile lasciare uno spazio di almeno 20 cm fra mobile e fianco dell'apparecchio.
I materiali sintetici/impiallacciati e le colle utilizzate devono essere resistenti ad una temperature di 150^ per evitare deformazioni o scollamento.
Non devono essere installate tende immediamente dietro appearecchio oppure a meno di

Fig. 1.1a

(fig. 1.1b)
Fig. 1.1b
500 mm dai lati.
Se la cucina è posta su un piedistallo, si devono prendere misure per evitare che l'apparecchio scivoli dal piedistallo.
Questo appearecchio è stato progettato e costruito per essere installato in prossità di mobili resistenti al calore.
Le pareti dei mobili non devono superare l'altezza del piano di lavoro e devono resistere ad una temperatura di 70^ 或者其他 la temperatura ambiente.
Evitare l'installazione in prossimità di materiali inflammabili (es. tendaggi).
Classe 1
(fig. 1.1a)
Allacciamento gas realizazo utilizzando tubo in gomma che deve essere visible ed ispezionabile oppure utilizzando tubo metallico rigido o flessibile.
L'installazione deve assere effettuata mantenendo una distanza di 2 cm delle pareti laterali dei mobili che non devono superare in altezza il piano di lavoro.
Classe 2
Subclasse 1
Allacciamento gas realizato utilizzato tubo metallico rigido o flessibile.

Fig. 1.2
MONTAGGIO DEI PIEDI REGOLABILI
I piedi regolabili devono essere montati sulla base della cucina prima del suo utilizzo.
Adagiare la cucina sul lato posteriore, soprun pezzo di polistirolo dell'imballo, per accedere alla base e facilitare il montaggio dei piedi.
Montare i 4 piedi avvitandoli nei traversi del basamento come illustrato nella figura 1.2.

LIVELLAMENTO DELLA CUCINA
In caso di necessità la cucina può essere livellata avvitando o svitando la parte terminale dei piedi (fig. 1.3)



MOVIMENTAZIONDELLACUCINA
ATTENZIONE: La cucina deve essere sempre raddrizzata da due persone per evitare di danneggiare i piedi (fig. 1.4).
ATTENZIONE: Non utilizzato la maniglia del forno per movimentare la cucina (fig. 1.5).
ATTENZIONE: Quando si sposta la cucina nella sua posizione definitiva, NON TRASCINARLA (fig. 1.6), ma sollevare i piedi dal pavimento (fig. 1.4).
Attenzione: Questo appearecchio deve essere anticorato per evitare un ribaltamento occidentale inserendo una staffa sul retro della cucina e fissandola alla parete.
Per montare la staffa antiribaltamento:
- Dopo aver individuato dove installare la cucina, segnare sulla parete dove devono essere fissate le due viti per installare la staffa antiribaltamento. Si prega di seguire leindicazioni riportate in figura 1.7.
- Praticare due fori di 8 mm di diametro nella parete ed insere i tasselli di plastica in dotazione.
Importante! Prima di praticare i fori, verificare di non danneggiare tubi o fili elettrici che possono esserci all'interno della parete.
- Fissare alla parete la staffa antiribaltamento con le due viti in dotazione.
- Avvincare la cucina alla parete e regolare l'altezza della staffa antiribaltamento in modo che possa inseriri nella fessura sul retro della cucina, come migliorato in fig. 1.7.
- Stringere le viti in modo da fissare saldamente la staffa antiribaltamento.
- Spingere la cucina contro il muro in modo che la staffa antiribaltamento sia completeness insertita nella fessura sul retro della cucina.
Attenzione!
Durante l'insertimento della cucina nella sua posizione finale, prestare particolare attenzione a non incastrare il cavo di alimentazione nella staffa antiribaltamento.
Prestare molta attenzione anche al tubo di allacciamento gas.

Fig. 1.7
REQUISITI PER LA VENTILAZIONE
Questo apparecchio non è raccordato ad un dispositivo di evacuatione dei prodotti della combustione. L'installatore devefare riferimento alle norme locali in vigore per quantiriguarda la ventilazione e l'evacuatione dei prodotti di combustione.
Un utilizzato intensivo e prolongato dell'apparecchio può necessitar di una aerazione supplementare per esempio l'apertura di una finestra o un' aeration più efficace augmentando la potenza di aspirazione meccanica se esta esiste.
LOCALE DI INSTALLAZIONE
Il locale dove viene installata l'apparecchiatura a gas deve ave un naturale afflusso di aria necessaria alla combustione del gas (conformmente alle norme locali in vigore; per l'Italia norme UNI-CIG 7129 e 7131).
L'afflusso di aria deve avvenire direttamente da una o più aperture praticate su pareti esterne aventi complessivamente una sezione libera di almeno 100~cm^2 (oppurefare riferimento alle norme locali in vigore).
Le aperture dovrebbero essere posizionate vicino al pavimento e preferibilmente dal lato opposto all'evacuatione dei prodotti di combustione e devono essere costruite in modo da non poter essere ostruite via dall'interno che dall'esterno.
Quando non è possibile praticare le necessarie aperture, l'aria necessaria più provenire da un locale adiacente, ventilato come richiesto, parché non sua una camera da letto o un ambiente pericoloso (conformmente alle norme locali in vigore; per l'Italia norme UNI-CIG 7129).
In quello case la porta della cucina deve consentire il passaggio dell'aria.
Nel caso in cui sopra l'apparecchiatura vi sia un pensile o cappa mantenere fra il top ed il suddetto pensile o cappa la distanza minima pari a 650 mm (vedi andere fig. 1.1a).
SCARICO DEI PRODOTTI DELLA COMBUSTIONE
I prodotti della combustione dell'apparecchiatura a gas devono essere scaricatiattraverso cappe collegate direttamente all'esterno (fig. 1.8).
Quando ciò non è possibile si puo utilizzare un elettroventilatore, applicato alla parete esterna o alla finestra, avente una portata tale da garantire un ricambio orario di aria pars a 3-5 volte il volume del locale cucina (fig. 1.9).
Il ventilatore può essere installato soltanto se esistono le aperture per l'ingresso dell'aria come descripto nel capitolo "Locale di installmente" (conformmente alle norme locali in vigore; per l'Italia norme UNI-CIG 7129).


Le pareti adiacenti alla cucina devono essere obbligatoriamente di materiale resistente al calore.
TIPI DI GAS
I gas impiegati per il funzionamento delle cucine possono essere raggruppati, per le loro caratteristiche, in due tipi:

Cat: II 2H 3+
Gas naturale G20
G.P.L. G30/G31
Prima dell'installazione, assicurarsi che le condizioni locali di distribuzione (natura del gas e sua pressione) e la regolazione di quello appearecchio siano compatibili.
Le condizioni di regolazione di questo apparecchio sono riportate sulla targhetto o sull'etichetta.

Fig. 2.1
COLLEGAMENTO GAS
Il collegamento gas deve essere eseguito da un technician specializzato conformamente alle norme locali in vigore: UNI CIG 7129 e 7131.
La cucina è predisposta e tarata per funzionare con il gas indicato nella targhetto caratteristiche applicata sull'apparecchio.
Assicurare una adeguata ventilazione all'ambiente in cui viene installata la cucina, in conformità alle norme vigenti, in modo da garantire un corretto funzionamento dell'apparecchio; collegare quindi la cucina alla bombola o alla tubazione del gas rispettoando quanto prescritto dalle norme vigenti.
Il collegamento va eseguito sul retro della cucina (fig. 2.1) utilizzando il terminale destro o sinistro del condotto gas dell'apparecchio; il tubo non deve attraversare la cucina.
Il terminale non utilizzato della rampa della cucina deve essere chiuso con il tappo interponendo la guarnizione di tenuta.
Se si deve alimentare la cucina con un tipo di gas diverso da quello indicato nella targhetta è necessario eseguire le seguenti operazioni:
- Allacciamento gas.
Sostituzione degli iniettori del piano di lavoro. - Regolazione del minimo dei bruciatori del piano di lavoro.
Il gruppo di raccordo (fig. 2.3) si compone di:
1 portagomma "M" per G20
1 riduzione "R" per G30/G31
guarnizioni di tenuta "D" e "Q".
Collegamento gas con tubo in gomma
Gas metano G20
Montare il raccordo portagomma "M" interponendo la guarnizione di tenuta "D" (fig. 2.3).
- Allacciare la cucina alla rete gas utilizzato un tubo flessibile con diametro interno di 13mm , conforme alle norme UNI CIG 7140. Fissare il tubo con idonee fascette stringitubo UNI CIG 7141 (non fornite).
G.P.L. G30/G31
Montare sul portagomma "M" la riduzione "R" con interposta la guarnizione "Q" (fig. 2.3).
- Allacciare la cucina ad un idoneo riduttore di pressione montato sulla bombola utilizzando un tubo flessibile con diametro interno di 8 mm conforme alle norme UNI CIG 7140. Fissare il tubo con idonee fascette stringitubo UNI CIG 7141 (non fornite).
Il tubo flessibile deve essere sempre il più corto possibile, alla strozzature o pieghe, e non deve entrare in contatto con superfici calde superiori a 75^
IMPORTANT:
Tutte le operazioni di avvitamento o svitamento del portagomma e della riduzione devono essere effettuate con l'ausilio di 2 chiavi (fig. 2.2).
Dopo l'allcianto verificare la tenuta delle connessioni con una soluzione saponosa, mai con una fiamma.


Collegamento gas con tubo metallico rigido o flessible
La cucina deve essere collegata all'impianto gas utilizzato tubi metallici rigidi, oppure utilizzato tubi flessibili in acciaio inox a parete continua con attacchi filettati conformi alla norma UNI-CIG 9891 con estensione massima pari a 2000mm
Fare attenzione che nel caso di impiego di tubi metallici flessibili gli stessi non vengano a fatto con parti mobili o schiacciati.
La guarnizione di tenuta deve essere conforme alle norme UNI CIG 9264.
Per effettuare il collegamento gas è necessario togliere il portagomma "M" (fig.2.3) ed avvitare direttamente sul condotto gas dell'apprecchio il terminale del tubo metallico interponendo la guarnizione "D" (fig.2.4).
Le operazioni descritte devono essere effettuate con l'ausilio 2 chiavi (fig. 2.2). Il collegamento con tubi metallici rigidi non deve provocare sollecitazioni al condotto di alimentazione gas della cucina.
Dopo l'allcianto verificare la tenuta delle connessioni con una soluzione saponosa, mai con una fiamma.

IMPORTANT:
Le guarnizioni "D" e "Q" (figg. 2.3 - 2.4) sono gli elementi che garantiscono la tenuta della connessione. Si consiglia di sostituirle quando dovessero presentare ancche la minima deformazione o imperfezione.
In particolare si raccomanda:
- Che il collegamento con tubi metallici rigidi non provotti sollecitationi al condotto di alimentazione gas della cucina.
- Che il tubo flessibile non vada in alcun punto aicontatto con parti calde della cucina.
- Che il tubo flessibile non venga a contatto con bordi taglienti o spigoli vivi.
- Che il tubo non sia soggetti a sforzi di trazione o torsione e non presenti curve troppo strette o strozzature.
- Che il tubo sia fácilmente ispezionabile lungo tutto il percorso per controllare il suo stato di conservazione.
- Consigliamo la sostituzione del tubo alla data di scadenza o al minimo segno di deterioramento.
- Consiglio la sostituzione della guarnizione al minimo segnale di deformazione o imperfezione.
- Chevengachiusoilrubinettodellabombola o della tubazione immediamente a monte dell'apparecchio ogniqualvolta quello non sia utilizzato.
ATTENZIONE ai componenti da utilizzare per l'allacciamento gas:
Il tubo in gomma delve ave una lunghezza massima di 1,5 metri e delve essere conforme alle norme UNI CIG 7140.
- Le fascette stringitubo per il tubo in gomma devono essere conformi alle norme UNI CIG 7141.
I tubi metallici devono ave una lunghezza massima di 2 metri e devono essere conformi alle norme UNI CIG 9891.
Le guarnizioni per l'allacciamento cont tubi metallici devono essere conformi alle norme UNI CIG 9264.

Cat: II 2H3+
| BRUCIATORE | PORTATA NOMINALE [kW] | PORTATA RIDOTTA [kW] | GPL G30 28-30 mbar G31 37 mbar | Metano G20 20 mbar |
| Ø inietlore [1/100 mm] | Ø inietlore [1/100 mm] | |||
| Ausiliario (A) | 1,00 | 0,30 | 50 | 72 (X) |
| Semirapido (SR) | 1,75 | 0,45 | 65 | 97 (Z) |
| Tripla corona (TC) | 3,50 | 1,50 | 95 | 135 (T) |
| APPORTO D'ARIA NECCESSARIA PER LA COMBUSTIONE GAS = (2 m3/h x kW) | |
| BRUCIATORE | Apporto d'aria necessaria [m3/h] |
| Ausiliario (A) | 2,00 |
| Semirapido (SR) | 3,50 |
| Tripla corona (TC) | 7,00 |
LUBRIFICAZIONE DEI RUBINETTI GAS
Se un rubinetto si bloccasse, non forzare e chiedere l'intervento dell'Assistenza Tecnica.
IMPORTANT
Per tutte le operazioni di installatione, manutenzione e trasformazione per passare correttamente da un gas ad un'alto usare esclusivamente i pezzi di ricambio originali del costruttore.
La mancata osservanza di但这a norma provoca il decadere della garanzia.
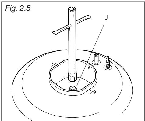
SOSTITUZIONE DEGLI INIETTORI DEI BRUCIATORI DEL PIANO A GAS
Ogni cucina ha in dotazione una serie di iniettori per i vari tipi di gas.
Nel caso in cui non siano forniti a corredo sono reperibili presso i Centri Assistenza.
La scelta degli iniettori da sostituire dovrè essere fattà secondo la tabella iniettori.
Il diametro degli iniettori, espressoin centesimi di millimetro, è marchiato sul corpo di ciascuno di essi.
Per la sostituzione degli iniettori è necessario procedere nel modo seguente:
- Togliere griglie, coperchietti e spartifiamma dei brucitori.
- Con una chiave fissa sostituire gli ugelli "J" (figg. 2.5 - 2.6) con quelli idonei per il gas da utilizzato.
I bruciatori sono concepiti in modo da non richiedere la regolazione dell'aria primaria.


REGOLAZIONE DEL MINIMO DEI BRUCIATORI DEL PIANO A GAS
I rubinetti del piano di lavoro sono dotati di valvolatura di sicurezza; in questi rubinetti la vite di regolazione del minimo è situata all'esterno del rubinetto (fig. 2.7).
Nel passaggio da un tipo di gas ad un altro,anche la portata minima del rubinetto delve essere corretta,considerando che in questa posizione la fiamma deve ave una lunghezza di circa 4 mm e deve rimanere accesa anche con un brusco passaggio alla posizione di massimo a quella di minimo.
La corazione si effettua, a bruciatore acceso, nella seguente maniera:
- Portare la manopola in posizione di minimo.
- Sfilare la manopola del rubinetto e con un cacciavite a taglio agire sulla vite "F" (fig. 2.7) sino ad ottenere la fiamma desiderata.
N.B. Per il gas G30/G31 (GPL) la vite deve essere di norma avvitata a fondo.

IMPORTANTE: L'apparecchio devese essere installato da un technique qualificato secondo le normative vigenti e secondo le istruzioni del costruttore. Una errata installatione cui possare danni a persone, animali o cose, nei confronti dei quali il costruttore non può considerato responsable.
GENERALITA
Il collegamento alla rete elettrica deve essere eseguito da personale qualificato e secondo le norme vigenti.
L'apparecchio deve essere collegato alla rete elettrica verificando innanzitutto che la tensione corrisponda al valore indicato nella targhetta caratteristiche e che la sezione dei cavi dell'impianto elettrico possa sostortare, il carico indicate anch'esso nella targhetta.
- La cucina viene fornita perché spina di alimentazione; pertanto, se non si effettua un collegamento diretto alla rete, si dovrà montare una spina normalizzata idonea al carico.
La spina deve essere allacciata ad una presa collegata all'impianto di terra in conformità alle norme di sicurezza.
- É possible effettuare il collegamento diretto alla rete interponendo tra l'apparecchio e la rete elettrica un interruptore onnipolare con aperture minima fra i contatti di 3 mm.
Il cavo di alimentazione non devete toccare parti calde e deve essere posizionato in modo da non superare in nessun punto la temperature di 50^
- Ad apparecchio installato, l'interruttore o la presa devono essere sempre accesibili.
N.B. Per il collegamento alla rete non usare adattatori, riduzioni o derivatori in quanto possono provocare surriscaldamenti o bruciature.
Nel caso che l'installazione dovesse richiedere delle modifiche all'impianto elettrico domestico o in caso di incompatibilità tra la presa e la spina dell'apparecchio, far intervenire per la sostituzione personale professionally qualificato.
Quest'ultimo, in particolare, dovr'aanche accertare che la sezione dei cavi della presa sia idonea alla potenza assorbita dall'apparecchio.
Prima di effettuare un qualsiasi intervento sulla parte elettrica dell'apparecchio, si deve assolutamente scollegare il collegamento alla rete.
É obligatorio il collegamento dell'apparecchio all'impianto di terra. La casa costrutrice declina agli responsabilità per qualsiasi inconvenientmente derivante alla mancata osservanza di但这a norma.
ALLACCIAMENTO DI UN NUOV CAVO DI ALIMENTAZIONE
ATTENTIONe: Se il cavo di alimentazione è danneggiato deve essere sostituito dal Servizio Assistenza per evitare pericoli.
- Sganciare il coperchio della morsettiera inserendo un cacciavite nei due agganci "A" (fig. 3.1).
- Apreire il fissacavo svitando la vite "F" (fig. 3.2), svitare le viti dei morsetti e togliere il cavo.
- Infilare nel fissacavo il cavo di alimentazione di sezione adeguata come descripto nel prossimo capitolo.
- Fissare i cavi di fase, neutro ed il cavo di terra ai morsetti della morsettiera secondo lo schema elettrico di figura 3.3.
Tendere il cavo di alimentazione e bloccarlo con il fissacavo. - Chiudere il coperchio della morsettiera (verificare che i due agganci "A" siano correttamente agganciati).
Nota: Il conduttore di terra deve essere lasciato circa 3 cm più lungo degli altri.
IMPORTANT: Per allacciare il cavo di alimentazione NON svitare le viti che fissano
la piastra della morsettiera.
SEZIONE DEL CAVO DI ALIMENTAZIONE TIPO "H05RR-F" oppure "H05V2V2-F"
(resistente alla temperatura di 90^ )
220-240 V ac
3× 1,5mm^2 (^*)
(*) Allacciamento con spina oppure diretto alla rete.


Fig. 3.1

CONSIGLI
PER
L'UTILIZZATORE

Fig. 1.1
DESCRIZIONE FUOCHI
- Bruciatore ausiliario (A) 1,00 kW
- Bruciatore semirapido (SR) 1,75 kW
- Bruciatore triplacorona (TC) 3,50 kW
Note:
L'accensione elettrica è incorpora tane delle manopole.
- La cucina è dotata di valvolatura di sicurezza, su agli bruciatore, che chiude l'erogazione del gas se la fiamma dovesse spegnersi accidentally.
IMPORTANT:
L'utilizzo di un appearecchio di cottura a gas produce calore e umidità nel locale in cui è installato. Vogliate assicurare una buona aerazione del locale mantenendo aperti gli orificizi di ventilazione naturale o installando una cappa di aspirazione con condotto di scarico.
IMPORTANT:
Un utilizzo intensivo e prolongato dell'apparecchio può necessitar di una aerazione supplementare per esempio l'apertura di una finestra o un' aerazione più efficace augmentando la potenza di aspirazione meccanica se esta esiste.

Fig. 2.1
DESCRIZIONE COMANDI
- Manopola dato bruciatore anteriore destro
- Manopola dato bruciatore posteriori destro
- Manopola commande bruciatore posteriore sinistro
- Manopola commande bruciatore anteriore sinistro
- Manopola commande selettore funzioni forn
- Manopola commande termostato forno
- Orologio elettrico/programmatore
- Manopola regolazione orologio elettrico/programmatore
Luci spia
- Spia temperatura forno
NOTA:
I disegni delle manopole riportati in quello capitolo sono soloindicativi.
Le manopole ed i simboli possono variare.
Note: L'apparecchio è dotato di una ventola di raffreddamento per garantire che le temperature superficiali del forno siano mantenute basse.
Quando ilorno è in funzione la ventola di raffreddamento più accendersi e spegnersi a seconda della temperatura.
A seconda dei tempi di cottura e delle temperature, la ventola di raffreddamento può funzionare ancche dopo che l'apparecchio è stato spento. La durata di quello tempo dipende alla temperatura di cottura e alla sua durata.
BRUCIATORIA GAS
L'afflusso del gas ai bruciatori è regolato da un rubinetto valvolato comandato alla manopola di fig. 3.1.
Facendo coincidere l'indice della manopola con i symboli stampati sul crucotto si ottiene:
- disco piano

rubinetto chiuso
-simbolo

aperture max o portata max
-simbolo

√ L'accensione elettrica è incorporata nelle manopole dei bruciatori e si identifica per il symbolo vicino al symbolo (fig. 3.1).
√ La portata massima serve per portare rapidamente all'ebollizione i liquidi, quando quella ridotta consente il riscaldamento delle vivande in maniera lenta o il mantenimento dell'ebollizione.
Tutte le posizioni di funzionamento devono essere scelte traQLa massimo e quella di minimo e mai tra qulla di massimo ed il punto di chiusura.

Fig. 3.1
NOTA:
I disegni delle manopole riportati in loizio capitolo sono soloindicativi. Le manopole ed i simboli possono variare.
Attenzione:
Non rivestire il piano cottura con fogli di alluminio.
N.B. Quando la cucina non é in funzione ruotare le manopole dei rubinetti in posizione di chiuso e chiudereanche il rubinetto della condotta di alimentazione del gas.
Attenzione:
Durante il funzionamento il piano lavoro diventa molto caldo sulle zone di cottura.
Tenere a distanza i bambini.
Per accendere uno dei bruciatori:
- Ruotare la manopola del rubinetto gas in senso antiorario (fig. 3.2), sino alla portata massima, premerla e Maintainere la pressione, si otterrà l'attivazione dell'accensione.
In caso di mancanza di corrente elettrica avvincare una fiamma al bruciatore. - Attendere una decina di secondi dopo l'accensione del bruciatore prima di rilasciare la manopola (tempo di innesco della vavola).
- Regolare il rubinetto gas nella posizione desiderata.
Se la fiamma del bruciatore dovesse spegnersi per qualsiasi motivo, la valvola di sicurezza interromperà automaticamente l'erogazione del gas.
Per ripristinare il funzionamento, riportare la manopola in posizione , attendere almeno 1 minuto e ripetere quando le operazioni di accensione.
Qualora particolari condizioni del gas erogato localmente rendano difficultosa l'accensione del bruciatore con la manopola in posizione portata massima, si consiglia di ripetere l'operazione con la manopola in posizione portata minima.
SCELTA DEL BRUCIATORE
La simbologia nel cruscotto indica la corrispondenza fra manopola e bruciatore. A seconda del diametro e della capacité impiegate delve essere sceltoanche il bruciatore adatto.
I bruciatori e le pentole devono essere utilizzati rispetto le seguentiindicazioni:
nonutilizzarepentoleconcaveoconsesse
| BRUCIATORI | MINIMO | MASSIMO | |
| Ausiliario | 12 | - | 14 cm |
| Semirapido | 16 | - | 24 cm |
| Tripla-corona | 26 | - | 28 cm |
É importante che il diametro della pentola sia adeguato alla potenzialità del bruciatore per non compensettere l'alto rendimento dei brucatori e di conseguenza avere uno spreco di combustibile.
Una pentola piccola su un grande bruciatore non consente di ottener e lebollizione in un tempo più breve, in quanto la capacité di assorbimento di calore della massa liquida dipende dal fondo e dalla superficie della pentola.
ATTENZIONE: Assicurarsi che le pentole siano ben centrate sul bruciatore per ottenere la massima stabilità ed una magiore efficienza.
Assicurarsi che le pentole non siano a contatto con le manopole di regolazione, altrimenti la fiamma potrebbe surriscaldarle e dannegiarle irreversibilmente.


MOLTO IMPORTANTE: quando si utilizes il forno è indispensable tenere aperto il coperchio della cucina.
ATTENZIONE: La porta del forno diventa molto calda durante il funzionamento. Tenere lontano i bambini.
ATTENZIONE: La porta delorno diventa molto calda, aprirlautilizzando la maniglia.
ATTENZIONE: Durante l'uso l'apparecchio diventa molto caldo. Fare attenzione a non toccare gli elementi riscaldanti all'interno delorno.
Non rivestire in nessun caso le pareti delorno con fogli di alluminio. Non posizionare teglie o la leccarda sul fondo delorno.
CARATTERISTICHE GENERALI
Si tratta di unorno che presenta delle particolari caratteristiche dal punto di vista funzionale.
È possibile scegliere tra 4 diversi tipi di riscaldamento che permettono di soddisfare agli esigenza di cottura.
Il forno è provvisto di 3 resistenze elettriche:
2 resistenze (superiore ed inferiore) per le normali cotture al forno;
1 resistenza grill, posta al centro del cielo del forno, per le cotture al grill da effettuare a porta chiusa.
La potenza delle resistenze elettriche è:
- Resistenza inferiore
- Resistenza superiore
- Resistenza grill
NOTA: Al primo utilizzato delorno, al fine di eliminare eventuali trace di grasso dalle resistenze elettriche, si consiglia di farlo funzionare per circa un'ora nella funzione
X (con la manopola del termostato in posizione 250^ ) e per altri 15 minuti nella funzione X (con la manopola del termostato in posizione 175^ ).
Il riscaldamento e la cottura nel fornostatico ventilato sono ottenuti nei seguenti modi:
a. Per convezione naturale
Il calore è prodotto dagli elementi riscaldanti superiore ed inferiore.
b. Per convenzione forzata
Il calore prodotto dagli elementi riscaldanti inferiore e superiore viene distribuito nel forno dal ventilatore. É possibile cuocere diversi piatti contemporaneamente.
c. Per irraggamento e ventilazione
Il calore irraggiato alla resistenza grill a raggi infrarossi viene distribuito nel forno dal ventilatore.
d. Per irraggiamo
Il calore viene irraggiato alla resistenza grill a raggi infrarossi.
e. Per ventilazione
Il cibo viene scongelato utilizzando il ventilatore sulla riscaldamento.


NOTA: I disegni delle manopole riportati in quello capitolo sono soloindicativi. Le manopole ed i symboli possono variare.
MANOPOLA DEL TERMOSTATO (fig. 4.1)
Per attivare le resistenze delorno, impostare la manopola del selettore funzioni sulla posizione desiderata e la manopola del termostato sulla temperatura desiderata.
Per selezionare la temperatura è necessario fare corrispondere l'indice della manopola con il numero scelto.
Le resistenze si accenderanno o si spegneranno automaticamente secondo il bisogno di energia determinato dal termostato.
Il funzionamento degli elementi riscaldanti viene segnalata da una luce posta sopra la manopola.
MANOPOLA DEL SELETTORE FUNZIONI (fig. 4.2)
Ruotare la manopola in senso orario per impostare ilorno per una delle seguenti funzioni:

ILLUMINAZIONE DEL FORNO
Ruotando la manopola su esta posizione si accende soltanto la lampada delorno. In tutte le funzioni di cottura la lampada rimane sempre accesa.
COTTURA TRADIZIONALE A CONVEZIONE
Si accendono gli elementi riscaldanti inferiore e superiore. Il calore si difonde per convenzione naturale e la temperatura deve essere regolata tra 50^ e 250^ con la manopola del termostato. è necessario preriscaldare ilorno prima di insere il cibo da cuocere.
Consigliata per:
Cibi che richiedono lo stesso grado di cottura interno ed esterno; per esempio: arrosti, costine di maiale, meringhe, ecc.
CALORE DAL BASSO
Si accende sostanto l'elemento riscaldante inferiore.
Il calore si diffonde per convenzione naturale e la temperature può essere regolata con la manopola del termostato tra 50^ e 250^ .
Consigliata per:
Completare cotture che necessitano di maggiore calore nella parte inferiore.

CALORE DALL'ALTO
Si accende sostanto l'elemento riscaldante superiore.
Il calore si diffonde per convezione naturale e la temperatura più essere regolata con la manopola del termostato tra 50^ e 250^ .
Consigliata per:
Far lievitare velocamente e in modo omogeneo tutti i tipi di impasti farinacei e pasta fresca fatt a casa o per completare cotture che necessitano di maggiore calore nella parte superiore.

COTTURA AL GRILL
Entra in funzione la resistenza elettrica a raggi infrarossi.
Il calore si diffonde per irraggiamento. Da usare con porta del forno chiusa e la manopola termostato in posizione 225^ per 15 minuti, poi nella posizione 175^ .
Per consiglio d'uso vedere il capitolo "COTTURA AL GRILL TRADIZIONALE".
Utilizzare il grill per massimo 30 minuti.
Attenzione: Quando il grill è in funzione le parti accessibili posso sono diventare calde. Tenere i bambini a distanza.
Consigliata per:
Azione grigliante intensa per cottura al grill; rosolatura, doratura, gratinatura, tostatura, ecc.

COTTURA AL GRILL VENTILATO
Si accendono il grill a raggi infrarossi ed il ventilatore. Il calore si difonde principamente per irraggiamento ed il ventilatore lo distribuisce poi su tutto ilorno.
Il forn o va utilizzato con la porta chiusa e la temperatura poo essere regolata con la manopola del termostato tra 50^ e 225^
Per consiglio d'uso vedere il capitolo "COTTURA ALLA GRIGLIA E GRATINATURA".
Utilizzare il grill ventilato per massimo 30 minuti.
Attenzione: Quando il grill ventilato è in funzione le parti accessibili posso sono divertare calde. Tenere i bambini a distanza.
Consigliata per:
Cotture alla griglia dove è necessario una rapida rosolatura esterna per bloccare i sughi all'interno. Per esempio: bistecche di vitello, braciole, hamburger, ecc.

COTTURA A CONVEZIONE CON VENTILAZIONE
Si accendono gli elementi riscaldanti superiore, inferiore ed il ventilatore.
Il calore proveniente dall'alto e dal basso viene diffuso per convezione forzata. La temperatura deve essere regolata tra 50^ e 250^ con la manopola del termostato.
Consigliata per:
Cibi di notevole volume e quantità che richiedono lo stesso grado di cottura interno ed esterno; per esempio: arrosti arrotolati, tacchino, cosciotti, morte, ecc.

MANTENIMENTO IN TEMPERATUREA DOPO COTTURA O RISCALDA MENTO Lento DI CIBI
Si accendono la resistenza superiore ed il ventilatore.
Il calore si diffonde per convenzione forzata con maggiore apporto nella parte superiore.
La temperatura può essere regolata con la manopola del termostato tra 50^ e 250^ .
Consigliata per:
Mantenere caldi i cibi dopo qualsiasi cottura.
Riscaldamento lento di cibi già cotti

SCONGELAMENTO DI CIBI SURGELATI E FUNZIONE ECO
SCONGELAMENTO DI CIBI SURGELATI:
Da usare con la manopola del termostato in posizione "●" si accende soltanto il ventilatore delorno.
Lo scongelamento avviene per semplice ventilazioneenza riscaldamento.
FUNZIONE ECO (RISPARMIO ENERGETICO):
Si accendono: gli elementi riscaldanti superiore, inferiore ed il ventilatore. Il calore proveniente dall'alto e dal basso viene diffuso per convenzione con ventilazione.
Con esta funzione si riducono i consumi elettrici dell'apparecchio, ed è particolaremente indicata per la cottura delicata di modeste quantità di cibo su singolo ripiano.
Non preriscaldare il forno ed evitare l'aperture della porta durante la cottura.
I tempi di cottura potrebbero essere più lunghi rispetto alle funzioni standard.
Non usare esta funzione per preriscaldare ilorno.
Consigliata per:
cibi che devono essere cotti delicatamente. Per mantenere caldi i cibi dopo qualsiasi cottura. Per il riscaldamento lento di cibi più cotti.
CONSIGLI DI COTTURA
STERILIZZAZIONE
La sterilizzazione dei cibi da conservare in vasi si effettua, a recipienti pieni e chiusi ermeticamente, nel seguente modo:
a. Portare il commutatore nella posizione
b. Portare la manopola del termostato nella posizione 175^ e preriscaldare il forno .
c. Riempire la leccarda di acqua calda.
d. Disporre i vasi nella leccarda facendo attenzione che non entrino in contatto tra loro, e dopo aver bagnato con acqua i coperchi, chiudere il forno e portare la manopola del termostato nella posizione 130^ .
A sterilizzazione iniziata,cisiono quando si incominciano ad intravvedere delle bollicine nei vasi, spagnere il forno e lasciare raffreddare.
COTTURA CONTEMPORANEA DI CIBI DIVERSI
Il forno statico ventilato alla posizione del selettore funzioni permette di cuocere contemporaneamente diversi cibi eterogenei. Si possono cuocere contemporaneamente cibi come del pesce, una torta e della carne perché gli aromi e i sapori si mascolino.
Le uniche precauzioni da prendere sono le seguenti:
Le temperature di cottura devono essere le più vicine possibili, con una differenza massima di 20^ - 25^ tra i diversi cibi.
L'introduzione dei diversi piatti nel forno dovrà essere fatta in momenti diversi in funzione del tempo di cottura di ogn'uno. Risulta evidente, con questo tipo di cottura, il risparmio di tempo e di energia che si ottengono.
RIGENERAZIONE
Portare il commutatore nella posizione ed il termostato nella posizione 150^ . Il pane ritorrera fragrante se inumidito con quale goccia d'acqua eesso nel forno per circa 10 minuti alla massima temperatura.
ARROSTO
Per ottener un arrosto classico cotto a puntino in tutte le sue parti, é necessario ricordare:
- che é consigliabilemantenere una temperaturatra 180^200^
- che il tempo di cottura dipende alla quantità e alla qualità dei cibi.
COTTURA AL GRILL TRADIZIONALE
Accendere il grill, come spiegato nei paragrafi precedenti e lasciare preriscaldare per circa 5 minuti con la porta chiusa.
Introduire i cibi da cuocere posizionando la griglia il più vicino possible al grill.
Per la raccolta dei sughi di cottura inserire la leccarda sotto alla griglia.
Grigliare con la porta delorno chiusa
Utilizzare il grill per massimo 30 minuti.
Attenzione: Quando il grill è in funzione le parti accessibili sono divertare calde. Tenere i bambini a distanza.
COTTURA ALLA GRIGLIA E GRATINATURA
Alla posizione del selettore funzioni, la grigliatura cui èsso effettuata alla il girarrosto perché l'aria calda avvolge completeness il cibo da cuocere.
Portare il termostato nella posizione 175^ e dopo ave preriscaldato ilorno, appoggiare semplicamente il cibo sulla griglia. Chiudere la porta e lasciare funzionare il fornso con il termostato nella posizione prescelta tra 100^ e 175^ sino a grigliatura avvenuta.
Aggiungendo qualche ricciolo di burro prima della fine della cottura si ottiene I'effetto dorato della gratinatura.
Utilizzare il grill ventilato per massimo 30 minuti.
Attenzione: Quando il grill è in funzione le parti accessibili sono diventare calde. Tenere i bambini a distanza.
COTTURA AL FORNO
Per la cottura, prima d'insere i cibi, preriscaldare il forno alla temperatura desiderata.
Quando il fornho ha raggiunto la temperatura, introdurre i cibi, poi controllare il tempo di cottura, e spagnere il fornso 5 minuti prima del tempo teorico per recuperare il calore immagazzinato.
Per un corretto preriscaldamento si consiglia di togliere griglia e leccarda dall'interno del forno per insertireo后再o ovei minuti.
Gli accessori del forno possono
sopportare carichi fino a 6kg Si raccomanda di distribuire i carichi
in modo uniforme.
ESEMPI DI COTTURA
Le temperature sono solo indicative, perché variano in funzione della quantità e del volume dei cibi.
Si raccomanda di utilizzato tegami idonei per cotture al forno e di modificare all'occorrezza la temperatura del forno durante la cottura.
| PIETANZE | TEMPERATURA |
| Lasagne al forno | 220°C |
| Pasta al forno | 220°C |
| Pizza con acciuğhe | 225°C |
| Riso alla creola | 225°C |
| Patate al latte | 200°C |
| Pomodori farciti | 225°C |
| Soufflé di formaggio | 200°C |
| Soufflé di patate | 200°C |
| Arrostò di vitello | 200°C |
| Nodini di vitello alla griglia | 225°C |
| Petti di pollo al pomodoro | 200°C |
| Pollo alla griglia - pollo arrosto | 220°C |
| Polpettine di manzo | 200°C |
| Polpettone di vitello | 200°C |
| Spiedini alla turca | 225°C |
| Roast-beef | 220°C |
| Filetti di sogliola | 200°C |
| Nasello aromatico | 200°C |
| Ciambella | 180°C |
| Crostata di prugne | 200°C |
| Crosstatine alla confettura | 225°C |
| Pan di spagna | 225°C |
| Sfogliatine dolci | 200°C |
| Torta margherita | 220°C |

Manopolina di regolazione
Fig. 5.1
L'orologio elettrico è un dispositorio che raggruppa le seguenti funzioni:
- orologio analogico 12 ore;
contaminuti (max 3 ore); - cottura automatica (* vedinota sotto);
- segnale acustico (beep) che si attiva ad agli pressione della manopolina di regolazione oppure al termine della funzione contaminuti o cottura automatica.
(^*) Il tempo massimo programmabile (TMP) dipende dall'ora di inizio cottura impostata.
TMP = 15 ore - differenza di ore tra ora di inizio cottura impostata ed ora del giorno al momento della programmazione (es. ora del giorno = 08:00, ora impostata di inizio cottura = 11:00; TMP = 15 - 3 = 12 ore).
ORLOGIO
Al primo collegamento elettrico del forno oupona interruzione di corrente,la "spia orologio" lampeggia.
Questa spia segnala che è necessario verificare che l'ora sia corretta.
Se l'ora è corretta mantenere premuta la manopolina di regolazione (si spegne la "spia orologio").
Per regolare l'ora è necessario premere brevamente la "manopolina di regolazione" (più volte) fino a far lampeggiare la "spia orologio". Ruotare quando la manopolina di regolazione (a destra o sinistra) per regolare l'ora.
Al termine della regolazione mantenere premuta la "manopolina di regolazione" per confermare la regolazione (finché si spegne la "spia orologio").
CONTAMINUTI
La funzione contaminuti consiste unicamente di un avvisatore acustico che si attiva una volta trascorso il tempo impostato (max 3 ore).
Importante: non è possible utilizzare la funzione contaminuti se è stata impostata una cottura automatica.
Per impostare il contaminuti premere brevamente la "manopolina di regolazione" (una o più volte) fino a far lampeggiare la "spia contaminuti".
Ruotare quando la "manopolina di regolazione" (a destra o sinistra) per impostare il tempo.
Al termine della regolazione premere brevamente la "manopolina di regolazione" (entro 10 secondi) per confirmare la regolazione (finché la "spia contaminuti passa da lampeggiante a stabilmente accesa).
Il conteggio alla rovescia inizierà immediamente.
Trascorso il tempo prestabilito la "spia contaminuti" inizia a lampeggiare e si attiva, per un minuto, un segnale acustico (beep). Premere brevamente la "manopolina di regolazione" per disattivare il segnale acustico e per spegnere la "spia contaminuti" lampeggiante.
Durante l'esecuzione del programma è possible, in qualsiasi momento, visualizzare il tempo impostato premendo brevamente la "manopolina di regolazione" (una o più volte) fino a far lampeggiare la "spia contaminuti".
Per annullare il programma prima del termine, tenere premuta la "manopolina di
regolazione" per circa 3 secondi (finché la "spia contaminuti" si spegne); il contaminati viene annullato.
ATTENZIONE - MOLTO IMPORTANTE: Il contaminuti è solo un avvisatore acustico che NON spegne il forno oppure il grill al terme del tempo impostato. RICORDARSI DI SPEGNERE IL FORNO O IL GRILL MANUALTE.
COTTURA AUTOMATICA
Utilizzare la cottura automatica per far accendere automaticamente ilorno, cuocere e poi spagnere il forn.
- Controllare che l'orologio indichi l'ora esatta.
- Selezionare la funzione del forno e la temperatura (manopole del termostato e selettore funzioni). Il forno si accende.
- Premere brevamente la "manopolina di regolazione" (una o più volte) sino a quando la "spia inizio cottura" lampeggia.
Poi girare la "manopolina di regolazione" (a destra o a sinistra) per impostare l'ora di inizio cottura (non meno di 2 minutie massimo 12 ore dal momento di regolazione della cottura automatica).
Al terme della regolazione (entro 10 secondi),mantenere la "manopolina di regolazione" premuta per la conferma fino a quando la "spia inizio cottura" cambia da lampeggiante a stabilmente accesa.
- Stabilire il tempo necessario per la cottura considerando, se necessario,anche il tempo di preriscaldamento.
Premere brevamente la "manopolina di regolazione" (una o più volte) sino a quando la "spia fine cottura" lampeggia.
Poi girare la "manopolina di regolazione" (a destra o a sinistra) per impostare l'ora di fine cottura (minimo due minuti dall'ora di inizio cottura).
Al terme della regolazione (entro 10 secondi),mantenere la "manopolina di
regolazione" premuta per la conferma fino a quando la "spia fine cottura" cambia da lampeggiante a stabilmente accesa.
Se vi è un tempo di attesa prima dell'inizio della cottura, il forno si spegne, ma la cottura automatica è ora impostata.
Se si desidera accendere il forn o immediatamente e programmare solo l'ora di fine cottura, avviare il forn o normalmente quindi seguire il punto 4 per impostare lo spegnimento automatico del forn.
Per vedere l'orario impostato di inizio cottura, premere brevamente il tasto "manopolina di regolazione" (una o più volte) fino a quando la "spia inizio cottura" lampeggia.
Per vedere l'orario impostato di fine cottura, premere brevamente il tasto "manopolina di regolazione" (una o più volte) fino a quando la "spia fine cottura" lampeggia.
Per annullare il programma prima del termine,mantenere la "manopolina di regolazione" premuta per circa 3 secondi fino a quando la "spia inizio cottura e/o spia fine cottura si spegne/spengono. RICORDARSI DI SPEGNERE IL FORNO O GRILL MANUALTE.
Trascorso il tempo di cottura programmatico il forno si spegne automaticamente, la "spie fine cottura" passa da stabilmente accesa a lampeggiante ed un segnale acustico (beep) si attiva per un minuto.
- Premere brevamente la "manopolina di regolazione" per disattivare il segnale acustico e per spegnere la "spia fine cottura" lampeggiante.
- Ruotare la manopola del termostato e del selettore funzioni in posizione di spento.
Attenzione: Dopo un'interruzione di corrente qualsiasi programma automatico NONiene cancellato e la "spia orologio" lampeggia (perindicare di verificare che l'ora sua corretta).
COPERCHIO IN VETRO (SOLO PER I MODELLI CON COPERCHIO IN VETRO)
PULIZIA DEL COPERCHIO IN VETRO
Per le operazioni di pulizia si cui fácilmente smontare il coperchio sfilandolo verso l'alto dopo averlo aperto completeness.
Se le cerniere si dovessero sfilare, rimetterle nella loro sede facendo attenzione che:
- nella sede destra deve essere montata la cerniera con la stampigliatura "D" perché nella sede sinistra la cerniera con la stampigliatura "S" (fig. 6.1)
Regolazione della bilanciatura (solo per coperchi forniti di cerniera con vite "R" di regolazione)
Chiudere il coperchio e controllare la cor retta bilanciatura;illery a 45^ dovrebbe rimanere sospeso.
Eventually registrale la taratura delle molle delle cerniere ruotando le viti "R" in senso orario (fig. 6.1).

Modelli con coperchio in vetro
Non chiudere il coperchio con il fornello acceso.
ATTENZIONE
√ Non chiudere il coperchio in vetro quando i brucitori sono ancora caldi o quando il forno è in funzione o ancora caldo.
Non appoggiare sul coperchio in vetro pentole calde ed oggetti pesanti.
Asciugare qualsiasi liquido rovesciato sul coperchio prima di aprirlo.

CONSIGLI PER L'UTILIZZATORE
- Prima di procedere alla pulizia disinserire la cucina alla rete elettrica ed attendere che si sua raffreddata.
- Quando non si usa la cucina è prudente chiudere il rubinetto erogatore della linea del gas o quello della bombola. Controllare di tanto in tanto che il tubo flessibile che collega la bombola o la linea del gas con la cucina sa in perfette condizioni ed eventualmente sostuirlo quando presenti quale anomalia.
- Se un rubinetto si bloccasse, non forzare e chiedere l'intervento dell'Assistenza Tecnica.
- è consigliabile effettuare le operazioni di pulizia quando l'apparecchiatura è raffreddata, specialmente per le parti smaltate.
- Evitare di lasciare sulle superfici sostenze acide o alcaline (aceto, sale, succo di limone ecc).
- Evitare l'uso di prodotti per la pulizia a base di cloro o acidi.
- Importante: Si consiglia l'utilizzo di quanti protettivi ed abbigliamento idoneo quando si pulisce e si maneggiano le parti dall'apparecchio.
- Pulire le superfici con un panno umido ed utilizzato detergenti neutri non aggressivi. Terminare la pulizia passando un panno asciutto e pulito.
IMPORTANT: evitare assolutamente l'uso di prodotti abrasivi (es. certi tipi di spugne) e/o aggressivi (es. soda caustica, detersivi contenti sostanze corrosive) che potrebbero danneggiare in modo irreversibile le superfici.
ATTENZIONE. Una volta installato correttamente, il vostro prodotto soddisfa tutti gli standard di sicurezza previsti per questa categoria di prodotto. Tuttavia fare attenzione ad alcune parti dell'apparecchio (dietro e sotto), perché queste parti, non essendo progettate per assere toccate, potrebbero presentare dei bordi o delle superfici potenzialmente pericolosi che potrebbero causare delle ferite.
PARTI SMALTATE
Tutte le parti smaltate, comprese le griglie del piano, devono essere lavate con acqua saponata o altri prodotti che non siano abrasivi.
Asciugare preferibilmente con un panno morbido ed asciutto.
Sostenze acide quali succo di limone,
conserva di pomodoro, aceto e simili,
se lasciati a lungo intaccano lo smalto
rendendolo opaco.
SUPERFICI IN ACCIAIO INOX, PARTI IN ALLUMINIO, VERNICIATE O SUPERFICI SERIGRAFATE
Pulire con prodotto idoneo. Asciugare sempre accuramente.
IMPORTANTE: La pulizia di queste parti deve essere eseguita con molta cura per evitare graffi ed abrasioni. Si consiglia diutilizzare un panno morbido e sapone neutro, mai prodotti contenti sostanze abrasive.
Nota: L'uso continu potrebbe causare, in corrispondenza dei brucitori, una colorazione diversa dall'originale dovuta all'alta temperatura.
Importante: La ditta costruttrice declina agli responsabilità per eventuali danni causati da prodotti non idonei utilizzati per la pulizia dell'apparecchio.
Attenzione: Durante il funzionamento l'apparecchio diventa molto caldo sulle zone di cottura. Tenere a distanza i bambini.
Non utilizzato pulitrici a vapore perché dell'umidità potrebbe infiltrarsi nell'apparecchio rendendolo insicuro.
Non utilizzato detersivi molto abrasivi o raschietti taglienti in metallo per pulire il vetro della porta del forno oppure il coperchio in vetro (modelli con coperchio in vetro) perché potrebbero graffiarne la superficie e quello potrebbe provocare la frantumazione del vetro.
RUBINETTI GAS
Evitare che i prodotti di pulizia vadano a contatto con i rubinetti.
La lubricazione periodica dei rubinetti gas deve essere eseguita esclusivamente da personale specializzato.
In caso di anomalie di funzionamento dei rubinetti gas chiamare il Servizio Assistenza.
INTERNO FORNO
Il forno va sempre pulito dopo l'utilizzo, quando si è raffreddato.
La cavity deve essere pulita usingo un detergente delicato e acqua calda.
Prodotti chimici specifici per la pulizia dell'interno del forno sono essere usati soltanto dopo aveletto attendamente le avvertenze e le raccomandazioni del produttore e dopo avefftuato una prova su una piccola superficie della cavity del forno.
Nonutilizzare detersivi abrasivi,pagliette o spugne abrasive.
NOTA: La ditta costruttrice declina agli responsabilità per eventuali danni causati da prodotti chimici o abrasivi utilizzati per la pulizia.
Attendere il raffreddamento del fornore prestare particolare attenzione a non toccare gli elementi riscaldanti all'interno del fornore.
Pericolo d'incendio! Non depositare oggetti infiammabili nel forno
BRUCIATORIE GRIGLIE
Queste parti devono essere pulite per mezzo di una spugna, con acqua saponata o altri prodotti idonei che non siano abrasivi. Asciuagare con un panno morbido.
Attenzione!: Non lavare in lavastoviglie.
Dopo agli pulitura o lavaggio, verificare che gli spartifiamma dei brucitori siano stati ascugati unitamente ai brucitori e riposti perfettamente nella loro sede.
E assolutamente indispensable è il controllo della perfetta posizione dello spartifiamma in quanto il suo spostamento alla sede cui causare dei gravi inconvenienti.
Verificare che I'elettro do "S" vicino ad agli bruciatore (fig. 6.2 - 6.4) sia sempre ben pulito in modo da permettere lo scoccare regolare delle scintille.
Verificare che la sonda "T" vicino ad agli bruciatore (fig. 6.2 - 6.4) sia sempre ben pulita in modo da permettere il regolare funzionamento della valvolatura di sicurezza.
Sia I'elettro do che la sonda devono essere sempre puliti con molto cautela.
Nota: Per evitare danni all'accensione elettrica, non utilizzarla quando i bruciatori non sono nella loro sede.
Nota: L'uso continu potrebbe causare, in corrispondenza dei bruciatori e delle griglie, una alterazione dello smalto in corrispondenza delle aree esposte alle fiamme. Questo fenomeno è naturale e non pregiudica affatto la funzionalità delle parti.
CORRETTO POSIZIONAMENTO DEI BRUCIATORI AUSILIARIO, SEMIRAPIDO E RAPIDO
É molto importante verificare il perfetto posizionamento dello spartifiamma “F” e del cappello “C” del bruciatore (vedere figure 6.2 - 6.3) perché un loro spostamento alla sede può essere causa di gravi anomalie.
BRUCIATORE A TRIPLA CORONA
Questo bruciatore deve assere correttamente posizionato come indicato in fig. 6.6 facendo attenzione che le nervature entrino nel loro alloggiamento comeindicato dalle frece (fig.6.4).
Posizione correttamente nel loro alloggiamento il cappello "A" e l'anello "B" (fig. 6.5, 6.6).
Il bruciatore correttamente posizionato non deve ruotare (fig. 6.5).

Fig. 6.2



Fig. 6.3

Fig. 6.4



Fig. 6.5

Fig. 6.6
MONTAGGIO E SMONTAGGIO DEI TELAI LATERALI
Montare i telai laterali fissandoli alle pareti del forn o con le 2 viti (fig. 6.7a).
- Infilare in mezzo alle guide dei telai laterali la leccarda e la griglia come in (fig. 6.7b).
- La griglia va montata in modo che l'arresto di sicurezza, che ne evita l'estrazione accidentale, sua rivolto verso l'interno del forno; il traverso posteriore deve essere rivolto verso l'interno della cavity.
- Lo smontaggio si effettua operando all'inverso.


CASSETTO
Il cassetto si puòtogliere come unnormale cassetto (fig. 6.8).
Non depositare oggetti lavorente inflammabili nel forno o nel cassetto (carta sottile, cotone, seta, nylon e materiali similari).

SOSTITUZIONE DELLA LAMPADA DEL FORNO
ATTENZIONE: Prima di effettuare un qualsi asi intervento sulla parte elettrica dell'apparecchio, si deve assolutamente scollegare l'allcamento a rete.
- Lasciare raffreddare la cavity del forno e gli elementi riscaldanti.
- Togliere l'alimentazione elettrica.
- Svitare la calotta protettiva "A" (fig. 6.9).
- Sostituire la lampada alogena "C" con un'altra di tipo resistente alle alto temperature (300^) e con le seguenti caratteristiche: 220-240 V, 50-60 Hz e con la stessa potenza della lampada da sostituire (leggere la potenza in watt stampigliata sulla stessa).
NOTA IMPORTANTE: non sostituire la lampadina a mani nude; una contaminazione potrebbe ridurne la durata. Usare sempre un panno pulito o indossare guanti.
Rimontare la calotta di protezione "A".
NOTA: La sostituzione della lampada non è coperta alla garanzia.
La scopo previsto per la lampadina, montata su quello appearecchio, è di illuminare la cavity del forno e quando aiutare l'utente a meglio monitorare il cibo durante la cottura. Questa lampadina non è idonea ad altri impieghi (es. illuminazione ambienti).
Questo prodotto contiene una sorgente luminosa di classe di efficienza energetica G.

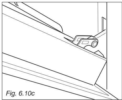
SMONTAGGIO DELLA PORTA
La porta delorno può essere lavoramente smontata operando come segue:
- Aprire completeness la porta del forno (fig. 6.10a).
- Aprière completeness la leva "A" delle cerniere destra e sinistra (fig. 6.10b).
- Impugnare la porta come illustrato in fig. 6.10.
- Socchiudere dolcamente la porta (fig. 6.10c) sino a quando le leve "A" delle cerniere destra e sinistra si agganciano alla parte "B" della porta (fig. 6.10b).
- Estrarre i ganci delle cerniere alla loro posizione seguendo la freccia "C" (fig. 6.10d).
Appoggiare la porta su una superficie morbida.
Per rimontare la porta operare a ritroso.


Important!
Mantenere sempre sicurezza dalle leve paricolare attenzione mani. Se le leve non sono correttamente a g g a n c i a t e, queste poterbbero sganciarsi chiudersi inaspettamente con il rischio di lesioni.
una distanza di delle cerniere,fare a dove mettete le




SMONTAGGIO E PULIZIA DEL VETRO INTERNO
Per poter pulire il vetro da ambo i lati è necessario toglierlo operando come segue:
- Aprière completeness la porta del forno (fig. 6.11a).
- Aprière completeness la leva "A" delle cerniere destra e sinistra (fig. 6.11b).
- Socchiudere dolcamente la porta (fig. 6.11c) sino a quando le leve “A” delle cerniere destra e sinistra si agganciano alla parte “B” della porta (fig. 6.11b).
- Togliere la guarnizione "G" sganciando i 3 uncini (fig. 6.11d).
- Sfilare delicatamente il vetro interno (fig. 6.11) e pulirlo con prodotti idonei. Ascuiarlo sempre accuratamente.
- Ora è possibile pulireanche il lato interno del vetro esterno.


Non utilizzato detersivi molto abrasivi o raschietti taglienti in metallo per pulire il vetro della porta del forno perché potrebbero graffiare la superficie, e quello potrebbe provocare la frantumazione del vetro.


Fig. 6.11

Fig. 6.11d




RIMONTAGGIO DEL VETRO INTERNO
Per rimontare il vetro interno della porta forno procedere come segue:
- Assicurarsi che la porta sia bloccata aperta (vedere fig. 6.11c).
- Verificare che i 4 distanziatori "D" siano nella loro posizione (fig. 6.12a). IMPORTANTE: E consigliabile, durante l'inserimento del vetro, tenere premuti in posizione i 4 distanziatori "D", mediante un dito, al fine di evitare la rottura o lo sfilamento dei distanziatori stessi (fig. 6.12b).
- Inserire il vetro nelle guide "E" ed "F" (fig. 6.12b) e farlo scorrere dolcimento fino ai fermi "H" (fig. 6.12c).
Montare la guarnizione "G" nel giusto versuso (fig. 6.12d) agganciando i 3 uncini negli apposti fori (fig. 6.12e). - Aprière completeness la porta del forno e richiudere la leva "A" delle cerniere destra e sinistra (fig. 6.12)
La porta del forno ha una guarnizione nella parte superiore.

L'apertura tra la parte superiore del vetro interno e della porta forno è appositamente prevista per permettere la circolazione dell'aria di raffreddamento.

La Casa Costrutrice non risponde delle possibili inesattezze, imputabili ad errorsi di stampa o trascrizione, contente nel presente libretto.
Si riserva il diritto, perché pregiudicare le caratteristiche essenziali di funzionalità e sicurezza, di apportare ai propri prodotti, in qualunque momento e nelle preavviso, le eventuali modifiche opportune per qualsiasi esigenza di carattere costruttivo o commerciale.
www.delonghi-cookers.it
ManualeFacile