IKIA 640 F - Quemador HOTPOINT - Manual de uso y guía de instrucciones gratis
Encuentra gratis el manual del aparato IKIA 640 F HOTPOINT en formato PDF.
| Título | Detalles |
|---|---|
| Tipo de producto | Placa de inducción |
| Número de zonas | 4 zonas de inducción |
| Dimensiones aproximadas | 60 cm x 51 cm |
| Peso | 10 kg |
| Alimentación eléctrica | 230 V, 50 Hz |
| Potencia total | 7400 W |
| Funciones principales | Boost, temporizador, detección de cacerola |
| Mantenimiento y limpieza | Superficie de vitrocerámica fácil de limpiar |
| Piezas de repuesto y reparabilidad | Disponibilidad de piezas de repuesto del fabricante |
| Seguridad | Sistema de bloqueo, protección contra sobrecalentamiento |
| Compatibilidades | Compatible con utensilios de cocina de inducción |
| Información general | Instalación empotrable, diseño moderno |
Preguntas frecuentes - IKIA 640 F HOTPOINT
Preguntas de los usuarios sobre IKIA 640 F HOTPOINT
0 pregunta sobre este aparato. Responde a las que conoces o haz la tuya.
Hacer una nueva pregunta sobre este aparato
Descarga las instrucciones para tu Quemador en formato PDF gratis! Encuentra tus instrucciones IKIA 640 F - HOTPOINT y toma tu dispositivo electrónico nuevamente en la mano. En esta página están publicados todos los documentos necesarios para el uso de su dispositivo. IKIA 640 F de la marca HOTPOINT.
MANUAL DE USUARIO IKIA 640 F HOTPOINT
Manual de instrucciones ENCIMERA Sumario
Instrucciones importantes
para la seguidad 30
Consejos para proteger el medio
ambiente 31
Declaración de conformidad 31
Antes del uso 31
Recipients preexistentes 31
para el fondo de la olla 32
Tabla de potencias 32
instalación 33
instruetiones de uso 34
limpieza 37
Guía para la solución de problemas 37
Ruido generado por la plac
de cocción 37
Servicio de asistencia技术水平 38

Portugues
Instruioni importante privind siguranta 66
RUMOROSITA DEL PIANO DI COTTURA
INSTRUCCIONES IMPORTANTES PARA LA SEGURIDAD
Estas instrucciones también estarán disponibles en el sitio web: www.hotpoint.eu
SU SEGURIDAD Y LA DE LOS DEMÁS SON SUMAMENTE IMPORTANTES
Tanto el manual como el aparato tiene importantes mensajes de seguridad que hay que leer y respetar siempre.

Símbolo de peligro que advierte sobre riesgos posibles para el usuario y lasDEMáspersonas.
Todoos mensajes de seguidad estan precedidos del symbolo de peligro y de losfollowingos:

PELIGRO
Indica una situación peligrosa que, en caso de no evitarse, provoca lesiones graves.

ADVERTENCIA
Indica una situación peligrosa que, en caso de no evitarse, podía provocar lesiones graves.
Todoos mensajes de seguidad especifican el peligro al que se refieren e indican como reduir el riesgo de lesiones, daños y descargas electricas resultantes de un uso no correcto del aparato. Atenerse estrectamente a las siguientes instrucciones:
- Utilice guantes de proteccion para realizar todas las operaciones de desembalaje e instalacion.
- El aparato se debe desconectar de la red electrica antes de efectuarrialquier trabajo de instalacion.
- La instalación y el mantenimiento deben serejecutados por un先进技术 especializado segun las instruetiones del fabricante y de conformidad con las normas locales vigentes en materia de seguridad. No realizar reparaciones o sustituciones de partes del aparato no indicadas asignificamente en el manual de uso.
- La puesta a tierra del aparato es obligatoria.
- El cable de alimentación debe ser suficientemente largo para permitir la connexion del aparato, empotrado en el mueble, a la red electrica.
- Para que la instalación sea conforme a las normas de seguidad vigentes, es requisite un interruptor omnipolar con una distancia minima de 3mm entre los contactos.
- No utiliser tomas multipes ni prolongadores.
- No tirar del cable de alimentación del aparato.
- Una vez terminada la instalacion, los componentes electricos no deben quedar accesibles para el usuario.
- El aparato está destinado exclusivamente al uso dométrico para la cocción de alimentos. No se admite ningún otro uso (ej. calentar ambientes). El fabricante declina cualquier responsabilidad por los daños producidos por un mal uso del aparato.
- El aparato y sus piezas accesibles se calientan durante el uso. Hay que tener cuidado para no tocar los elementos que generan calor. Los niños entre 0 y 3 años y entre 3 y 8 años deben mantenerse alejados, a menos que estén bajo vigilancia constante.
- Tanto los niños a partir de 8 años como las personas cuyas capacities físicas, sensoriales o mentales estén disminuidas o que carezcan de la experiencia y conocimientos necessarios poderizar este electrodoméstico si reciben la supervisión o las instrucciones你需要 al uso del mismo de forma segura y comprenden los riesgos a que se exponen.
- Durante y después del uso no tocar las resistencias del aparato. Evitar el contacto con paños u otros materiales inflamables hasta que todos los componentes del aparato se hayan enfiado lo sufiente.
- No apoyar material inflamable sobre el aparato o circa de el.
El aceite y la grasa recalentados能把 arder con calidad. Vigilar la coccion de los alimentos ricos en grasa y aceite. - No apoyar en la zona de coccción objetos metálicos como utensilios de cucina (cuchillos, tenedores, cucharas, tapas, etc.), ya que podrán recalentarse.
- Es obligatorio instalar un panel separator (no incluido en el suministro) bajo del aparato.
-
Si la superficie esta agrietada, apague el aparato para evitar una possible descarga electrica (solamente para electrodomesticos con superficie de cristal).
-
El aparato no está destinado a ponserse en funciona por medio de un temporizador externo o de un sistema de mando a distancia por Separado.
-
Sidea en la placacomida con grasa o aceite,puede ser peligroso y pueda provocar un incendio.NUNCA intente apagar un fuego con agua.Apague el aparato y bajo cubra la llama,por ejemplo con una tapa o una manta ignificantura.
Peligro de incendio: no almacene cosas en las superficies de cocción.
- No实用性 limpiadores a vapor.
- No se debe colocar en la superficie de la placetaos metálicos como cuchillos, tenedores, cucharas y tapas, ya que pueda calentarse.
- Después de usarla, apague la plac con el mando y no se base en el detector de sartenes (solamente para placas de induccion).
CONSEJOS PARA PROTEGER EL MEDIO AMBIENTE

Eliminación del embalaje
El material de embalaje es 100% recicable y está marcado con el símbolo de reciclado (C). Elimine losDistinctostipsde material del embalaje conforma a la normativa local sobre eliminación de desechos.
Eliminación del producto
La correcta eliminación de este producto evita consecuencias negativas para el medio ambiente y la salute.
El symbolo en el aparato o en la documentacion que lo acomaña indica que no se pueda tratar como desecho domestico, sino que debe entregarse en un punto de recogida para el reciclado de aparatos electricos y electronicos.
Ahorro de energia
Para Obtener losolestresultados:
- Utilice ollas y sartenes cuiq diametro de fondo sea igual al de la zona de coccion.
- Utilice exclusivamente ollas y sartenes con fondo plano.
Si es posible, mantenga la olla tapada durante la cocción.
Las ollas a presión permiten ahorrar tiempo y energia.
Coloque la olla en el centro de la zona de cocción SIGNALada en la placa.
DECLARACION DE CONFORMIDAD (€
ANTES DEL USO

IMPORTANTE: si las ollas no son de la dimensa adecuada, las zonas de coccion no se encenderan. Utilice solo ollas que tengan el symbolo de "SISTEMA POR INDUCCION" (figura al bajo). Antes de encender la placac de coccion, colque la olla sobre la zona de coccion deseada. Con las ollas adecuadas, las zonas de coccion no peuvent utilizese a temperatas inferiores a 10^
Para comprar si el recipiente es compatible con la plac de cocción por inducción, utilise un imán: los recipientes que no son compatibles no son detectables magnéticamente.
- Asegürese de que el fondo de las ollas no sea rugoso ya que podra darar la superficie de cocción. Compruebe la vajilla.
No apoye las ollas ni las sartenes calientes sobre la superficie del panel de mandos de la plac. Podrian causar daños materiales.
DIÁMETROS RECOMENDADOS PARA EL FONDO DE LA OLLA
Coloque la olla en la zona de cocccion correcta antes de encender la plac.
Para Obtenerelinesosresultados en la coccion, el diametro de la base del recipienteutilizadodeberia ser igual al de la plac.
| Diámetro (cm) | Máx. (cm) | Min. (cm) |
| 14,5 | 14,5 | 10 |
| 18 | 18 | 12 |
| 21 | 21 | 15 |
| 24 | 24 | 15 |
| 26 | 26 | 17 |
| Diámetro (cm) | Máx. (cm) | Mín. (cm) |
| 28 | 28 | 17 |
| 30 | 30 | 17 |
| FLEXI/CONEXIÑ | 39 - 18 | 12 |
Tamaño del recipiente
Para determinar el時間 del recipiente, mida la base del recipiente (ver dibujo) y consulte lasuma table de anchura recomendada para la base de los recipientes. De este modo,SEOUa un uso perfecto y podra detectar cui es el recipiente mas adecuado.Cada zona de coccioniene un limito minimo para detectar los recipientes, que varia en funcion del material del recipiente utilizado. Por ello,deberia utilizear la zona de coccion que mayor se ajuste al diametro del recipiente utilizado.

POSICION RECOMENDADA DE LA OLLA
Para Obtener el máximo rendimiento, si utilizes dos ollas a la vez, colocuelas según se indica en las siguientes imágenes:




TABLA DE POTENCIAS
| Nivel de potencia | Tipo de coccción | Nivel (la indicación complementa la experiencia y los hábitos de coccción) | |
| Máx. potencia | Boost | Calentar rápidamente | Ideal para&aumentar en breve tiempo la temperatura de la comida, hervir agua o calentar rápidamente líquidos de coccción |
| 9-7 | Freír - hervir | Ideal para dorar, comenzar una coccción, freír productos congelados, hervir rápidamente | |
| Alta potencia | Dorar - sofreir - hervir - asar | Ideal para sofreír,mantener vivo el hervor, cocinar y asar (5-10 minutos) | |
| 7-5 | Dorar - cocinar - estofar - sofreír - asar | Ideal para sofreír,mantener un hervor ligero, cocinar y asar (10-20 minutos), precalentar accesarios | |
| Mediana potencia | Cocinar - estofar - sofreír - asar | Ideal para estofar,mantener un hervor delicado, cocinar y asar (durante是多么 tiempo) | |
| 4-3 | Cocinar -deer hervir - espasar - mantecar pasta | Ideal para cocciones prolongadas (arroz, salsas, carne, pescado) con líquidos de家住mimiento (ej. agua, vino, caldo, leche) y para mantecar pasta | |
| Ideal para cocciones prolongadas (volúmenes inferiores a un litro: arroz, salsas, carne, pescado) con líquidos de家住mimiento (ej. agua, vino, caldo, leche) | |||
| Baja potencia | 2-1 | Derretir - disconcelgar -mantener caliente - mantecar arroz | Ideal para ablandar mantequilla, derretir chocolate delicadamente, desconcelgar productos pequeños ymantener calientes comidas recién cocidas (ej. salsas, sopas, potajes) |
| Ideal paramantener calientes alimentos recién cocidos, mantecar arroz ymantener fuentes de comida calientes (con accesario para la inducción) | |||
| OFF | Potencia cero | Superficie de apoyo | Placa de coccción en posición de stand-by o apagada (possible presencia de calor residual de fin de coccción, señalizarado con H) |
NOTA:
En caso de preparaciones breves que requiren un a distribuion perfecta del calor (por ejemplo, para las crepes) en la zona doble de 28 cm de diametro, se recomienda utilizear recipientes de no mas de 24 cm de diametro. Para las cocaciones delicadas (por ejemplo, para derretir chocolate o mantequilla) se recomienda utilizear las zonas simples, de menor diametro.
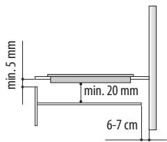
INSTALACION
Desembalar el producto y comprar que no se haya dado durante el transporte. En caso de problemas, contactar con el revendedor o el Servicio de Asistencia al Cliente. Ver las medidas de empotrado y las instrucciones de instalacion en las imagenes de la page 2.
PREPARACION DEL MUEBLE PARA EL EMPOTRADO

ADVERTENCIA
Instalar un panel separator bajo de la plac de cocción.
La parte inferior del producto no debe quedar accesible afterwards de la instalacion.
- En caso de instalar un hora abajo, no interponer el panel separator.


La distancia entre la cara inferior de la plac y el panel separador debe respetar las dimensiones indicadas en la figura.
- Para asegurar el funcionacorrecto del aparato, la abertura minima (min. 5 mm) necessitiesa entre la superficie de apoyo y el lado superior del plano del mueble noDee estobstruida.
- Si bajo de la placá de cocción se instalà un hora, hay que asegurarse de que está provisto de sistemas de enfiambre.
No instale la plac de coccion cerda del lavavajillas ni de la lavadora, para evitar la exposacion de los circuitos electricos a vapor o humedad que podriandarlos.
En caso de instalacion al ras, llamar al serviceo de asistencia para pedir el montaje del kit de tornillos 4801 211 00112.
Para desmontar la placaplicar un destornillador (no suministrado) a los muelles del perimetro de la parte inferior del aparato.
CONEXION ELECTRICA

ADVERTENCIA
- Desconnecte el aparato de la red electrica.
-
La instalación la debe realizar personalrial significado que conozca la normativa vigente sobre seguidad e instalacion.
-
El fabricante declina toda responsabilitad por daños a personas o animales o daños a la propidad derivados del incumplimiento de las precauiones indicadas en este documento.
- El cable de alimentacion debe ser suficientemente长大o para permitir desmontar la placa de la encimera.
Compruebe que el voltaje especificado en la placac de datos situada en la parte inferior del electrodomestico es el本身就是 que para la vivienda.


- Retire la tapa del bloque de conexiones (A) desenroscando el tornillo e introduciendo la tapa en la bisagra (B) del bloque.
- Introduzca el cable de alimentacion en la abrazadera y conecte los cables al bloque de conexiones tal como se muestra en el diagrama de cableado situado unto al terminal.
- Sujete el cable de alimentacion con la pinza para cables.
- Cierre la tapa (C) y atornillela al bloque de conexiones con el tornillo que se ha retirado anteriormente.
Cada vez que se conecta a la red, la placariza automatically una comprobacion duranteunos poco seguidos.


B

C

Conexión a alimentación principal




INSTRUCCIONES DE USO

Descripción del panel de mandos

Panel de mandos
Encendido/apagado de la plaza de cocción
Para encender la plac de cocci, mantener pulsada 2 segundos la tecla ① hasta que se iluminen las pantallas de las zonas de cocci. Para apagarla, volver a presionar la tecla hasta que las pantallas se apaquen. Se desactivan todas las zonas de cocci.
Si la plac de cocción se ha utilisé, el indicador de calor residual "H" permanecerá encendido hasta que las zonas de cocción se enfién.
Si a los 10segundos de encender la placacocacion no se ha seleccionadounafuncion,la placacseapaga automatically.
Activación y regulación de las zonas de coccción


Funcioncimiento Slider
Aumentar el nivel de potencia

Reducir el nivei de potencia

Coloque laolla en la zona de coccyon, encienda la plac y active la zona de coccyon correcta pulsando el botón "+" correspondiente. Aparecerá "0" en la pantalla. Es possible selectionar el nivel de potencia necesario, desde un min.de 0 a un max.de 9,o reforzar la potencia con la referencia "P" si esta está disponible. Para augmentar el nivel de potencia, pulse el botón "+". Para reducir el nivel de potencia, pulse el botón "-".
Desactivación de las zonas de coccción
Para apagar la zona de cocción, pulse los botones correspondientes " ^+ " y" -" durante más de 3 seguidos.
La zona de coccción se apagará y, si continua estando caliente, aparecerá la letra "H" en la pantalla de la zona.
Bloqueo del panel de mandos
Esta funcn bloquea los mandos para prevenir la activacion accidental de la plac a coccion. Para activar el bloqueo del panel de control, encienda la plac y pulse el boton de la funcn de bloqueo durante tres segundos; una senal acustica y un indicator luminoso cerca del symbolo del candido indican la activacion. Se bloquean todas las functions del panel de mandos, excepto la de apagado. Para desactivar el panel de mandos, repetir la secuencia de activacion. El punto luminoso se apagar y las functiones de la plac volveran a activarse.
El agua, los liquidos desbordados de las ollas o los objetos depositados sobre la tecla bajo del symbolo能把 activar o desactivar accidentlmente el bloqueo del panel de mandos.
Temporizador (Timer)
El temporizador permite programar un tiempo de cocación máximo de 99 minuto (1 hora y 39 minuto) asociable a todas las zonas de coccción.
- + Selección la zona de cocación que se va a utiliser con el temporizador y pulselo (vease la imagen). Sonará una seals acústica. La pantalla indica "00" y el LED se enciende. Es possibleacular y reducir el valor Timer manteniendo pulsadas las teclas "+" y "-" de la función slider. Al Cumplirse el tiempo programado, suena una seals acústica y la zona de cocación se apaga automatistically. Para desactivar el temporizador, pulsar la tecla Timer al menos 3 segundos.
Para programar el temporizador en另一边 zona, repetir los+puntos anteriores. La pantalla del temporizador siempre muestra el temporizador asociado a la zona seleccionada o el temporizador más breve.
Para modifier o desactivar el temporizador, pulsar la tecla de selección de la zona de cocción del temporizador en cuestion.
Avisos del panel de mandos
Funciones especialas (Si procede)
Algunos modelos estan dotados de functions especialas:
Automatic function
Esta func tion selec tion aymaticamente un nivel de potencia adecuado para mantener la ebullici minima.Activar esta func tion una vez alcanzado el hervor, pulsando primero la tecla de la zona y bajo la tecla
Indicador de calor residual.
La plac aee u indcator de calor residual para cada zona de cocion. Este indicatior muestra las zonas de cocacion que todavia estan excessivamente calientes. Si en la pantalla se visualiza, quere decir que la zona de cocacion todavia esca caliente Si el indicatior de una zona esta encendido, esta se podra utilizear para mantener caliente un alimento o derretir mantequilla.
Al enfiarse la zona de cocción, la pantalla se apaga.
Indicador de olla inadequada o ausente.

Si la olla no es compatible con la plac, si está mal colocada o si no es de las dimensiones adecuadas, aparece la indicación de "olla ausente" (figura al lado). En estas situaciones, se recomienda recolocar la olla en la superficie de la plac hasta encontrar la posición que permita el funcionaimiento. Si en 60segundos no se detecta ninguna olla, la plac se apaga.
Función de ebullición=rápida (Booster si está disponible)
Funci disponble so in alunas zonas de cccion que permite aprovechar al maximo la potencia de la plac (por ejemplo, para hacer hervir el agua rapidamente).
Para activar la funciona, pulsar la tecla ^+ hasta que la pantalla indique "P" . A los 5 horas de uso de la func tion booster, el aparato pone la zona automatamente en el nivel 9.
FLEXI/ZONA DE CONEXION
Estamerican.
Para activar el FELEXI /ZONA DE CONEXION, pulse los botones +y - de forma simultanea, tal como se muestra en el paciente dibuju.

Gracias a la configuración "Power management" el usuario tiene la posibidencia deaabstaringpotenciamaximadeplacsegunsnecidas.
Esta regulación se pueda efectuar en cualquier momento y se mantiene hasta la modificación suiviente.
Unas zajustada la potencia maxima deseada, la placar regalar automatcamente la distribuion en las distinas zonas de coccion sin superar el umbral establecido, con la ventaja de poder gestionar incluso todas las zonas simultaneamente, sin problemas de sobrecarga.
Están disponible 4 niveles de potencia que se muestran en la pantalla: 2,5 - 4,0 - 6,0 - 7,2kW (7,2 kW se considera la maxima potencia de la placá de coccción) La planta se suministra ajustada en el valor más alto.
Despues de enchufar el aparato a la toma eletrica, durante los primeros 60 segundos es possible ajustar el nivel de potencia requireedoro siguiendo las instrucciones
siguientes:
| Paso | Panel de mandos | Pantalla |
| 1 | + Pulse duranteapproximadamente 3segundos | |
| 2 | Pulse el botón de gestiónde potencia para confirmarel paso anterior | La pantalla muestraPL |
| 3 | - / + Pulse paraaabstair el nivelelegido entre lasdifferentesopcciones disponibles | La luz se enciende junto con laslucres de laszonas de cocción individuales que estanencendidas. |
| 4 | Pulse el botón de gestiónde potencia para confirmarel paso anterior | La pantalla muestra el nivelaabustado, queparpadea duranteapproximadamente2segundos. Transcurrido este tiempo, la placemite una seals acústica y se apagautomàticamente,indicando que está listapara su uso. |
En caso de error alJKLM, aparece el已久的 en el centro, asociado a una seals acústica continua que dura 5 segundos. En tal caso, repetir el procedimiento de configuración desdeel comienzo.Si vuela a presentarse el error,contactar con el service de asistencia.
Durante el uso normal, una vez alcanzado el nivel de potencia maximalo disponible, si el usuario tratate de augmentarlo, el nivel de la zona en uso parpadea dos veces y suena una seals acustica.
Si es necessaria una potencia superior en esta zona, se debe reducir manualmente el nivel de potencia de una o más zonas de coccción ya activas.
Activación/desactivación de la seals acústica (no disponible en la version con deslizarder)
Despues de encender la plac, mantenga pulsado el boton ^ + ^ y el boton situado mas a la derecha simultaneamente durante al menos tres segundos ("bloqueo del panel de mandos").

Noutilizarunca limpiadorasdevapor.
- Antes de limpiar la plac, asegurar de que las zonas de cocción y el indicator de calor residual ("H") estén apagados.
Si el cristal tiene el logotipo iXeliumTM significa que su plac a hado tratada con iXeliumTM . iXeliumTM es el acabado exclusivo de Whirlpool que garantiza una limpieza perfecta y un brillo duradero. Por tanto, si Tiene una plac IXLIM, le recomendamos encarecidamente que cumpla las siguientes recomendaciones de limpieza:
- Utilice un trapo suave (lo mejor es la microfibia) humedecido con agua o con un limpiacristalescomings.
Si desea mejor el resultado de la limpieza,cke el cristal en contacto con un paño humedo durante un par de instantos.
IMPORTANTE: No utilise abrasivos, esponjas ni estropajos. Su uso podrá estropear el cristal.
- Después de cada uso, limpie la plac (cuando esté fria) para eliminar los restos incrustados y las manchas de comida.
- El azúcar o los alimentos con un alto contenido de azúcar podrán darar la placā, por lo que deben retirarse inmediamente.
La sal, el azucar y la arena podrian rayar la superficie de cristal. - Utilice un paño suave, papel absorbente de cucina o un limpiador especialico para placas (según las indicaciones del fabricante).
El derramimiento de liquido en la zona de cocción puede hacer que las sartenes vibren o se muevan.
Seque Completely la placas despues de limpiarla.
GUIA PARA LA SOLUTION DE PROBLEMAS
Leer y seguir las instruetiones de la seccion "Instruetiones de uso".
- Comprobar que no haya interruptions de suministro de corriente electrica.
- Secar bien la superficie de la placata cuando se limpiarla.
- Si al encender la placen a la planta se visualiza un numero alfanumérico, seguir las instruetiones de la tabla.
- Después de utiliser la placac de cocación, si no es posible pagarla, desconectarla de la red electrica.
| CÓDIGO DE ERROR | DESCRIPICón | CAUSAS POSIBLES | ELIMINACION DEL ERROR |
| C81, C82 | El panel de mandos se apaga porque la temperatura es excessiva. | La temperatura interior de los circuitos electrónicos es excessiva. | Espere a que la placía se enfríe antes de volver a utilisera. |
| C83 | El panel de mandos indica el número de error "hob off" (placa apagada) debido a un problema en el circuito electrónico. | La placía ha recibido un excesso de voltaje. | La placía se pueda seguir realizando, pero llame al Servicio de Asistencia Técnica. |
| C85 | La placía no suministra calor al recipientente. | El recipientente no es adecuado para la placía de inducción. | Utilice(other recipientente adecuado para inducción. |
| F02 o F04 o C84 | El voltaje de conexión es incorrecto o problema relativo a la red electrónica. | El sensor detecta un voltaje incompatible con el de conexión. | Desconecte la placía de la red de suministro electrico y controle la红线 conexión. |
| F01, F05, F06, F07, F10, F12, F25, F33, F34, F36, F37, F46, F47, F48, F49, F58, F61, F62, F63, F72, F74, F77 | Desconnecte la placía de la red electrónica.Espereanosometimesy一回事a conectarla.Si el problema continúa, llame al Servicio de Asistencia Técnica e indique el número de error. | ||
RUIDO GENERADO POR LA PLACA DE COCCION
Las placas de induccion poden produir una series de ruidos y vibraciones durante su normal functiacion, en funcion del tipo de material y de como se procesan los alimentos, como los que se describen a continuacion:
Ruido de contacto: este tipo de vibracion se debe al uso de recipientes revestidos de distinctos materiales.
- Sonido de hacer a nivele de potencia medio/bajo: este ruido se produce para encontrar el nivele de potencia medio/bajorequiredo.
- Sonido tipo clic rítimo: este ruido se produce cuando se ponen en funciona bajo varias zonas de coccción y/o la placña para un alto rendimiento.
Ruido de silbido: este ruido depende del tipo de recipiente utilisé y la calidad de comida que contiene.
Ruido de fondo: la placac de inducion esta equipada con un ventilador destinado a enfiar los componentes electronicos; esta es la razon por la que se oye el ruido del ventilador durante el functionamento y también durante uno minuto afterwards del apagado de la placa. El ruido de fondo del ventilador能把 augmentar o disminuir conforme,aumente o disminuya el numero de zonas de coccion activadas.
Estas situaciones son normales e imprescindibles para el correcto functiOnamento del systema de induccion; no indican daños ni anomalias.
Antes de Ilamar al Servicio de Asistencia Técnica
- Intentar resolver el problema consultando el apartado "Guía para la solución de problemas".
- Apagar y volver a encender el aparato para comprobar si se haSolutionado el problema.
Si el fallo persiste, contactar con el Servicio de Asistencia más cercano.
Indicar:
- una breve descripción del problema;
el tipo de placay elmodelo exactos;
el número de asistencia (que sigue a la palabra Service en la plaza de identificacion), situado bajo del aparato (en la plaza metálica).
su direccion completa;
su numero de téléphone.
SERVICE

Si fuera necessaria una reparacion, dirigirse a un Centro de Asistencia Tectnica autorizzato (que garantiza la Utilizacion de piezas de recambio originales y una correcta reparacion). Las piezas de recambio estan disponibles por 10 años.
INSTRUÇÉS DE SEGURANÇA IMPORTANTES
Temporalizador (Timer)
ZGOMOT GENERAT DE PLITA
Plitele cu inductie pot genera o series de zgomote s vibratai i n timul functionarii normale, in functie de tipul de material si modul de procesare a alimentenor, cum ar fi cele descrie mai jos:
ManualFácil