AV53CDZ - Bodega AVINTAGE - Manual de uso y guía de instrucciones gratis
Encuentra gratis el manual del aparato AV53CDZ AVINTAGE en formato PDF.
| Tipo de dispositivo | Bodega de vino de servicio |
| Capacidad | De 20 a 50 botellas (según modelo) |
| Número de zonas de temperatura | 1 o 2 zonas |
| Tipo de frío | Frío ventilado |
| Rango de temperatura | 5°C a 20°C |
| Tipo de puerta | Vidrio templado |
| Iluminación interior | LED |
| Tipo de estantes | Madera o metal |
| Control | Electrónico |
| Clase energética | No especificado |
| Nivel de ruido | Menos de 40 dB |
| Dimensiones (AlxAnxPr) | Variable según modelo |
| Peso | No especificado |
| Función de descongelación | Automática |
| Tipo de instalación | Libre instalación |
| Alimentación | 230 V / 50 Hz |
Preguntas frecuentes - AV53CDZ AVINTAGE
Descarga las instrucciones para tu Bodega en formato PDF gratis! Encuentra tus instrucciones AV53CDZ - AVINTAGE y toma tu dispositivo electrónico nuevamente en la mano. En esta página están publicados todos los documentos necesarios para el uso de su dispositivo. AV53CDZ de la marca AVINTAGE.
MANUAL DE USUARIO AV53CDZ AVINTAGE
SP - MANUAL DE UTILIZACION
98
Antes de utiliser la vinoteca, lea y aplique todas las reglas de seguidad y uso del presentemanual.
En primer lugar, le agradecemos la confianza que ha depositado en CLIMADIFF al adquirir este aparato que, estamos convencidos, cumpliráhlenamente sus expectativas.
Este aparato le permittedo conservar sus botellas o ponerlas en temperatura de service (según las botellas) gracias a su amplio margen de regulado.
1° CHARACTERÍSTICAS TÉCNICAS
Ejempio de placar de caracteristicas:

La plac de caracterticas pegada en el interior o en la parte posterior del aparato (según el modelo) contiene toda la informacion españica de la vinoteca.
Le aconsejamos que anote el número de série en este manual antes de la instalación para consultarlo cuando lo necesse (intervencion技术水平ica, Solicud de asistencia...).

Una vez instalada y cargada la vinoteca, resulta más complicado acceder al número de série.
ATENCLON: Sin esta informacion no podremos proportiarleittersa asistencia.
2^ INSTRUCCIONES GENERALES DE SEGURIDAD
Lea detenidamente las indicaciones de este manual antes deponer en functionamento la vinoteca.Conservelo cuidadosamente para consultarlo en el futuro en caso requisiteo.
De眼看 a general, el mantenimiento del aparato debelearlo a cabo un profesionai qualificado.
Este aparato está exclusivamente diseñado para un uso dométrico y para poder en temperatura vinos u other bebidas si lo desea. No está diseñado para conservar alimentos.
Asegürese de que el voltaje y la tensión de su instalación electrica corresponden correctamente a las indicaciones que figuran en la placá de caracteristicas de la vinoteca, que debe connectarse a un sistemas con puesta a tierra homologado. Las reparaciones o conexiones incorrectas implican riesgos. En caso de duda, encargue la revisión de su instalación electrica a un profesional.
Esta unidad debe estar correctamente conectada a una toma de tierra por su seguridad. No corte ni retire en ningún caso el hilo de tierra del cable que se incluye.
Por razones de seguidad, le recomendamos que no utilise alargadores.
Si la vinoteca está dañada (golpe fuerte) o ha sufrido un accidente (sobretenación debida a un rayo, inundación, incendio, etc.), pueda resultar peligrosa. Desconnecte la clavija del cable de alimentación y encargue la revisión del aparato a un profesional autorizzato.
Para evaporar riesgos, si el cable de alimentacion está deteriorado, no lo sustituya usted mesmo. Dirijase al distribuidor, a un centro autorizzato o a un的技术ico profesional.
Este aparato se debe colocar deundry que se pueda acceder a la toma de alimentacion. No desplace el aparato una vez que esté lleno, ya que corre el riesgo de deformar irremediamente el cuerpo del mesmo. Las partes electricas no deben permanecer directamente accesibles.
- Mantenga el aparato fuera del alcance de los niños.
No utilise este aparato en exteriores.
En caso de que se derrime un liquido accidentalmente (por una botella rota, etc.) sobre los elementos electricos (motor ythers), desconnecte inmediamente la clavija del cable de alimentacion.
Para evitar cualquier riesgo de incendio, electrocución o lesión, no moje el cable, la toma o el aparato con agua ni ningún(otherly. No manipule el aparato con las manos humedes.
Mantenga el aparato alejado de cualquier fuente de calor y no lo exponga directamente a la luz del sol.
No deja que el cable@cuelgue de una mesa ni entre en contacto con partes cortantes o calientes.
No tire del cable para desconectar la toma, sujete la clavija y tire de ella.
Asegürese de que el lugar sobre el que vaya a colocar el aparato pueda soportar el peso del mesmo una vez que este cargado (1 botella de 75 cl equivale aproximadamente a 1,3 kg).
La vinoteca debe colocarse sobre una superficie plana. Si tiene que colocarla sobre una alfombra o una moqueta, ponga un soporte bajo.
Este aparato no de ser utilisé por personas (especialmente niños) con capacité física, sensorial or mental reducía, ni por personas sin experiencia ni conocimientos especialicos, salvo que estén bajo la vigilancia de una persona responsable de su seguridad o que hayan recibido instrucciones previas sobre la utilización del aparato.
Asegürese de que los niños no juguen con la vinoteca. Los aparatos abandonados siempre son peligrosos.
Desconecte el aparato antes de realizar cualquier operation deostenimiento o limpieza (desconecte la clavija del cable de alimentacion o el cortacircuitos correspondiente en función del modelo).
No limpie el aparato con productos inflamables.
No almacene ni vaporice gases o liquidos inflamables circa del aparato.
Antes de tirar la vinoteca en un lugar previsto para su reciclaje, retire la puerta yooteras en su lugar de manera que los niños tengan dificil acceder al interior.
En caso de que se incumplan las instrucciones de connexion o uso, la responsabilidad de Climadiff no se va comprometida por los días que pudieran derivarse.

R600a
Reglamento de seguridad

Advertencia: no utilise dispositivos mecánicos o cualquier(other mediodistinctode los recomendados por el fabricante para acelerar el procesode desescarse.

Advertencia: mantenga despejadas las aberturas de ventilacion del recinto o del armazon del aparato.

No guarde en el aparato sustancias explosivas como aerosoles con gases propulsores inflamables.

Advertencia: no dañe el circuito del refrigerante.

Las unidades de refrigeración que funciona con isobutano (R600a) no deben colocarse en Lugares donde haya fuentes de ignisión (ej.: contactos electricos no estancos) o donde se pueda acumular refrigerante en caso de que se produca una fuga. El tipo de refrigerante está indicado en la placar decharacteristicas del armario.

Advertencia: No实用性 dispositivos electricos bajo de los compartimentos de almacenimiento de alimentos del aparato a menos que estén recomendados por el fabricante.
Este aparato cumple las exigencias de las siguientes directivas europeas:
2006/95/CE relativa a la seguridad electrica, 2004/108/CE relativa a la compatibilidad electromagnética.

3^ INSTRUCCIONES DE INSTALLACION
Antes de utiliser la vinoteca
- Retire el embalaje exterior e interior.
- Antes de conectar la vinoteca a la toma electrica, déjela en posición vertical durante 24 horas.Esta medida reduce la posibiliad de que el circuito frigorífico no funciona correctamente debido al transporte.
- Limpie el interior con un paño suave y agua tibia.
Utilización de la vinoteca:
La vinoteca debe colocarse en un lugar cuya temperatura ambiente se situe en una escala comprehida entre +16y + 32 grados Celsius.
Si la temperatura ambiente es inferior o superior, puis deverse afectado el rendimiento del aparato y可以更好 que no se alcancen las temperatas de 5 a 18^ .
Instalacion de la vinoteca:
-Estavinotecaha sidosdisenada paraunainstalacionindependiente oempotrada.
- Coloque la vinoteca en un lugar suficientemente resistente para soportar el peso conarga plena. Para nivelarla, ajuste la alta de las patas regulables en la parte inferior de la vinoteca.
- Para SACAR el mayor partido de la vinoteca con el minimum peso de energia, no la colqueoca de una fuente de calor (calefacion, cocina, etc.), no la exponga directamente a la luz del sol ni la colqueque en un lugar demasiado frío.
- Conecte la vinoteca a una tomaURNica, dejoando un espacio de 10 cm entre la parte posterior de la vinoteca y la pared. Calce el aparato correctamente y ajuste su horizontalidad (se aconseja el uso de un nivel de burbujas). Este evitaraequalquier movementodea la inestabilidad,que generarruidos y vibraciones,y garantizaralaperfecta hermeticidaddela puerta.
Panel de control:
AV7X(-IX)

- Botón “”
Boton de control de la luz.
- Botón “ Ⓞ ”
Botón marcha/parada.
DISPLAY
Botón de ajuste de la temperatura a más.
- Botón “▼”
Botón de ajuste de la temperatura a menos.
AV21SX(-IX)/AV51SX(-IX)/PRO51C/AV41SXDP(-IX)











DISPLAY
"RUN"
Indicator de encendido.
- Botón “LIGHT”
Botón de control de la luz.
- Botón "POWER"
Botón marcha/parada.
DISPLAY
Pantalla electrónica de temperatura.
- Botón "UP"
Botón de ajuste de la temperatura a más.
- Botón "DOWN"
Botón de ajuste de la temperatura a menos.
- Puede elegir la temperature que desee para el compartmento pulsando las teclas " temperatura que desee programar aumento/disminuira 1^ C cada vez que pulse los botones.

La temperatura se pueda selectionar en una escala de entre 5 y 18^ . Una vez seleccionada, la pantalla parpadeará aproximamente 5 segundos antes de indicar la temperatura interna instantánea de la vinoteca. La temperatura de ajuste能把 verse enequaliermomento pulsando durante 5segundos las teclas de selección de temperatura.
AV53CDZ/CV52IXDZ/AV54SXDZ(-IX):

Light
Botón de control de la luz.
RUN
Indicador de encendido.
Power
Botón de marcha/parada (mantener pulsado 3segundos).
- Botón "Set Upper"
Botón de ajuste de la temperatura para el compartmento superior.
- Botón "Set Lower"
Botón de ajuste de la temperatura para el compartmento inferior.
- "Upper Chamber"
Pantalla electrónica del compartmento superior.
"Lower Chamber"
Pantalla electrònica del compartmento inferior.
Pulse el botón “Set Upper” paraaabdar la temperatura del compartmento superior. La pantalla del compartmento comenzará a parpadear y cada vez que pulse uno de los botones la temperatura variaré en un 1 0^ . Una vez que la temperatura de ajuste más bajo alcance los 5^ ,la pantalla volverá automatically aOCR nostrar la temperatura de ajuste más elevada, 10^ .Cuando se haya seleccionado la temperatura,la pantalla parpadearáunos 5 segundos antes de indicar la temperatura interna instantánea de la vinoteca. La temperatura de ajuste pueda verse enequaliermomento pulsando durante 5 segundos las teclas de selección de temperatura.
Pulse el botón “Set Lower” paraaabrar la temperatura del compartmento inferior. La pantalla del compartmento comenzará a parpadear y cada vez que pulse uno de los botones la temperatura variaré en un 1 0^ . Una vez que la temperatura de ajuste más bajo alcance los 10~^ C ,la pantalla volverá automatically aOCROCROCROCROCROCROCROCROCROCROCROCROCROCROCROCROCROCROCROCROCROCROCROCROCROCROCROCROCROCROCROCROCROCROCROCROCROCROCROCROCROCROCROCROCROCROCROCROCROCROCROCROCROCROCROCROCROCROCROCROCROCROCROCROCROCROCROCROCROCROCROCROCROCROCROCROCROCROCROCROCROCROCROCROCROCROCROCROCROCROCROCROCROCROCROCROCROCROCROCRocr
Si se produce un corte de electricidad, todas las temperatas anteriormente seleccionadas se borraran y cada compartmento recuperar, por defecto, la temperature predeterminada de fabrica, eskaar, 6^ en el caso del compartmento superior y 12^ en el caso del compartmento inferior.
La temperatura de ajuste peut verse en chaque momento pulsando durante 5 segundos las teclas de seleccion de temperatura.
4^ EQUIPOS
Sistema de climatización
Según los especialistas, la temperatura ideal de conservación de los vinos es de aproximadamente 12^ , en una horquilla de 10 a 14^ . No se debe confundir con la temperatura de servicios, que varía según las peculiarias de cada tipo de vino de 5 a 18^ .
Es especiallymente importante evaporar las variaciones bruscas de temperatura. Diseño por especialistas y para enofilos, este aparato, a diferencia de un simple frigorífico, tiene en cuenta la sensibilitad de los grandes caldos a las variaciones bruscas de temperatura, garantizando un control para Obtener una temperatura media constante.
Sistema antivirusriciones:
El compresor frigorífico está equipado con amortiguadores especiales (silent-blocks) y la cuba interior está aislada del armazón por una gruesa capa de espuma de poliuretano. Estas caracteristicas permiten evaporar la transmisión de vibraciones a los vinos.
Sistema de humidificacion:
Dado que este aparato no dispone de filtro de carbón, está equipado con un depóstito que mantiene el nivel correcto de humedad. Si la humedad es demasiado bajo, llene el depóstito hasta las tres cuartas partes de su capacité. Compruebe el nivel de agua de vez en cuando yañada agua si esnecessary. Procure que el depóstito siempreonga agua.
Diseñada por especialistas y para enófilos, la vinoteca Vin sur Vin ha tenido en cuenta la sensibilitad de los corchos a una humedad ambiente demasiado bajo. Por estarzón, el deposito debe colocarse sobre la bandeja que se encontrartra bajo el ventilador, situado en el fondo, para aportar una minima humedad. Procure controlar el nivel de agua si va a tenerlos vinos en el aparato durante un periodo prolongado y no utilizes el aparato solo para poder los vinos en temperatura de servicios (con rotaciones rápidas de las botellas).
Sistema antiultravioleta:
La luz acelera el envejecimiento del vino. En nuestros vinotecas de puerta compacta, los vinos están protegidos de forma natural, siempre que no se abra la puerta con demasiada fecuencia. Este modelo con puerta acristalada ha sido objeto de un tratamiento especial, que filtras los nefastos rayos ultravioleta, por lo que los vinos estánperfectamente protegidos.
Desescarche:
La vinoteca está equipada con un ciclo automatico de desescarche. Durante la parada del ciclo de refrigeracion, las superficies refrigeradas del aparato se desescarchan de forma automatica. El agua de desescarche así recuperada es evacuada hacía un deposito que se encontrar en la parte posterior del aparato,URTa de compresor. El calor que produce el compresor permitte la evaporación del agua condensada que queda en el deposito.
Bandejas
- Para evaporar el deterioro de la junta de la puerta, asegúrese de que la puerta está bien abierta antes de retiring las bandejas para colocar o retiring las botellas.
- Para acceder de forma más sencilla al contenido de las bandejas debe deslizar la bandeja hacer el exteriorapproximamente 1/3. Las bandejas está diseñadas con un tope a cada bajo para evitar que las botellas secaigan.
- Para retirar o colocar una bandeja, inclínelà como se muestra en el dibujo y tire o empujé, según el caso.

AV41SXDP(-IX):
Coloque las bandejas en sus alojamenteos.

Fig.1
Fig.2

a. caja de cartón con piezas de recambio
b. bandeja pequña
c. bandeja grande
- Tras retirar el embalaje, saque la caja de cartón con las piezas de recambio del aparato.
- Encontrará 4 bandejas pequeñas (b) en el compartmento izquierdo. Retire las dos bandejas inferiores. En el compartmento derechoño encontrará 4 bandejas grandes (c). Retire las dos bandejas superiores.
- Ahora tiene que invertir la posicion de las bandejas grandes y pequeñas (fig.2). Coloque dos bandejaskleñas arriba y dos bandejas grandes abajo en cada compartmento.
- Una vez que haya colocado las bandejas correctamente,oulda utilizing la vinoteca de acuerdo a las instrucciones que figuran en el manual de uso.
Mayor seguridad:
Puesto que esta gama de aparatos está diseñada para el almacenimiento de objetivos de valor, nos hemos preocupo por selecciónar componentes de calidad y Diseñar una的技术as de fabricación adecuadas para garantizar una seguridad optima de configuracion.
Instalacion del tirador:
El aparato está equipado con un tirador de acero inoxidable. Para colocarlo,sole tiene que retirar la junta y fijar el tirador a la puerta con los tornillos que se proportionscionan, siguiendo este esquema:

AV7X(-1X):

AV21SX(-IX)/AV51SX(-IX):





- Bisagra inf. (derecha)
- Puerta
-
Bisagra sup. (izquierda)
-
Dispositivo de retencion
-
Tornillos
- Bisagra sup. (derecha)
- Clavo embellecedor
-
Tornillos
-
Eje de la puerta
- Tornillos de las bisagras
- Bisagra inf. (izquierda)
-
Tapon embellecedor
-
Abra la puerta 90 grados. Retire los dos tornillos (2) del eje inferior de la puerta y después la puerta (4) y el eje de la mesma (fig. A).
-
Posicion correctamente la puerta (4) y retire el tapon embellecedor (12) de la parte superior del marco de la puerta. Retire uno de los tornillos (11) inferiores y quite el dispositivo de retencion (10). A continuacion, instale el dispositivo en la parte superior del marco de la puerta. Es preferible utilizing un tapon embellecedor de recambio (12) para tapar el agujero de la parte superior del marco (fig. A/B).
- Quite los 3 tornillos (6) de la bisagra superior (derecha) (5) y retire la bisagra (fig. C).
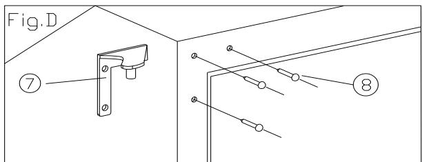
- Retire los clavos embellecedores (8) del lado superior izquierdo del aparato y colque la bisagra superior de recambio (izquierda) (7) en el lado superior izquierdo con ayud de 3 tornillos (fig. D).
- Proceda a la colocacion de la bisagra inferior de recambio (izquierda) (9), siguiendo siempre el procedimiento anterior (fig. E).
- La puerta se abre 180 grados. El método de instalación de la puerta es el mismo que el de desmontaje. Alinee correctamente la puerta y fjelal.
- Tape el agujero situado en la parte superior derecha del aparato con un clavo embellecedor (8).
PRO51C/AV53CDZ/AV54SXDZ(-IX):





-
Bisagra inf. (derecha)
-
Puerta
-
Bisagra sup. (izquierda)
-
Tornillos
-
Bisagra sup. (derecha)
-
Clavos embellecedores
-
Eje de la puerta
- Tornillos de bisagras
-
Bisagra inf. (izquierda)
-
Abra la puerta 90 grados. Retire los dos tornillos (2) del eje inferior de la puerta y después la puerta (4) y el eje de la misma (fig. A).
- Posizione correctamente la puerta (4).
- Quite los 3 tornillos (6) de la bisagra superior (derecha) (5) y retire la bisagra (fig. C).
- Retire los clavos embellecedores (8) del lado superior izquierdo del aparato y colque la bisagra superior adiconal (izquierda) (7) en el lado superior izquierdo conaida de 3 tornillos (fig. D).
- Proceda a la colocacion de la bisagra inferior que queda (izquierda) (9), siguiendo siempre el procedimiento anterior (fig. E).
- La puerta se abre 180 grados. El método de instalación de la puerta es elsame que el de desmontaje. Alinee correctamente la puerta y fjela.
- Tape el agujero situado en la parte superior derecha del aparato con un clavo embellecedor (8).

CV52IXDZ
1 Retire la rejilla de ventilacion (1) desenoscando los tornillos (2).
2 Utilice un destornillador de cruz para retirar la bisagra superior. Levante la puerta y apoyoela con cuidado.
3 Desatornille la bisagra inferior.
4 Retire los tapones embellecedores de plástico situados en el bajo opuesto.
5 Vuelva a atornillar la bisagra en el bajo opuesto de la puerta.
6 Haga coincidir los agujeros de la vinoteca con los de las dos bisagras y.afteras atornille estas ultimas (figura E).
7 Coloque los tapones embellecedores de plástico en el otro lado de la vinoteca de forma que tapen los agujeros que han quedado visibles.
8 Coloque de nuevo la rejilla de ventilacion y fjela con tornillos (figura A).

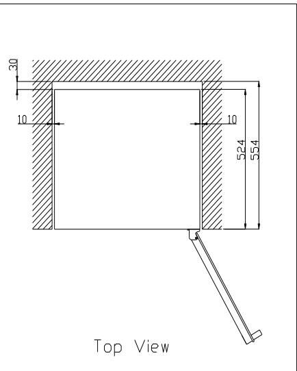
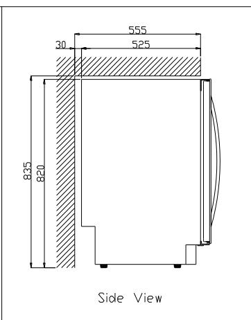
Esquema de empotramiento:
AV7X(-1X):
AV21SX(-IX):




AV41SXDP(-IX):



5^ CARGA
Las cantidades mámas de cargo se proportionscian a titulo indicativo, no son obligatorias y permiten (al igual que la calidad de los frigorificos indicada en litros) tener una estimacion rapiida del tameno del aparato.
Estas cantidades corresponden aunas pruebas realizadas con una botella estandar: la botella tipo "bordelesa tradacion de 75 cl" (la normalizacion reconoce para cada forma de botella un origen geografico: Burdeos, Borgoña, Provenza, etc. y un tipo: tradacion, pesada, ligera, flauta, etc., tenerido cada una alturas y diametros differentes).
En realizad, en un caso extremo, se podrban guardar mas botellas en apilado monotyp y sin bandejas, pero una "vinoteca variada" se compone de una gran variedad de botellas y el aspecto "practical" de la gestion diaria de una vinoteca limita su carga. Por tanto, probablemente ponga usted unacantidad algo menor que la maxima indicada.
Cómo llenor y mantener la vinoteca:
Tipos de botellas:

Aquí tenemos 4 típos de botellas de 75 cl, borgónonas y bordelesas, de dimensiones differs.
Existenotirosmuchostipodes diferentes tamañosyformas.
Puede observar las diferencias de colocacion segun la alta de las botellas, el diametro y laforma de cruzarlas.
Por exemple, si cargamos una vinoteca exclusivement con botellas de tipo Borgoña, observamos que el número de botellas sera un 30% inferior al calculado con botellas de tipo Burdeos.
Tipos de cruzamiento:
Cuello con=cuello:
Fijese en la diferencia de profundidad!

Cuello entre cuerpos:
Aumenta la carga.

Eiemplos de temperatas de service: (a tener en cui en las degustaciones para no perderse la riqueza de los aromas de los vinos)
Las opiniones varian, al igual que la temperatura ambiente, pero muchos coinciden en lo singular:
| Grandes vinos de Burdeos – Tintos | 16 – 17 °C |
| Grandes vinos de Borgoña – Tintos | 15 – 16 °C |
| “Grands crús” de vinos blancos secs | 14 – 16 °C |
| Tintos ligeros, aflrutados, jóvenes | 11 – 12 °C |
| Rosados de Provenza, vinos jóvenes | 10 – 12 °C |
| Blancos secos y vinos+tintos de la tierra | 10 – 12 °C |
| Vinos blancos de la tierra | 8 – 10 °C |
| Champanes | 7 – 8 °C |
| Vinos licorosos | 6 °C |
6^ MANTENIMIENTO
Antes de limpiar el aparato (opération que se debe realizar regularmente), desconctelo retirando el cable de alimentacion de la toma de corriente o disconnectando el fusible del que dependa.
Antes de la prima uso y de forma regular, le aconsejamos que limpie el interior y el exterior (cara delantera, laterales y parte superior) con una mezcla de agua tibia y un detergente suave. Aclare con agua limpia ycede que se seque Completely antes de volver a conectarlo. No utilise disolventes ni agentes abrasivos.
Lave el plástico que protege las bandejas de acero con una solución de detergente suave y séquelas a continuación con un paño seco y suave. Las bandejas de madera no requirecen un mantenimiento especial. Al encender el aparato por primera vez, pueda percibirse olores residuales. En este caso, ponga a funciona el aparato en vacio duranteunas horas con la temperaturemás fría. El frio eliminarésos posibles olores.
7^ ALMACENAMIENTO DE LA VINOTECA
Si no va a utiliser la vinoteca durante un periodo corte, deben el panel de control con los ajusteshabituales.
En caso de parada prolongada:
Retire las botellas del aparato.
- Desconecte el aparato de la toma de corriente.
- Limpie concienzudamente el interior y el exterior del aparato.
- Deje la puerta abierta paraatar la formacion de condensaciones,olores y moho.
8^ IQUE HACER SI SE PRODUCE UN CORTE DE ELECTRICIDAD?
La mayoría de los cortes de electricidad se resuelven en poco tiempo. Un corte de 1 o 2 horas no afectará a la temperatura de su vinoteca. Para proteger los vinos durante los cortes de electricidad, abra la puerta lo menos possible. En caso de cortes más prolongados, Adopte las medidas necessarias para proteger los vinos.
- Si el aparato está desconectado, apagado o se ha producido un corte de electricidad, deben esperar de 3 a 5 horas antes de volver a encenderlo. Si intenta encenderlo antes de ese tiempo, el compresor únicamente se pondrá a functionar al cabo de 3 o 5 horas (si la temperatura lo requires).
- Al encender el aparato por primera vez tras una parada prolongada, en el momento del encendido es possible que las temperatasionsctionadas no se correspondan con las que se muestran. Este es normal. Se debe esperarunas horas para que estas recupereren la estabilitad.
9° SI TIENE QUE DESPLAZAR LA VINOTECA
Desconecte la vinoteca antes de realizarrialquier operation.
Retire todas las botellas del interior y fije los elementos móvil.
Para evaporar el deterioro de los tornillos de ajuste de las patas, enrosquelos hasta el fondo.
Desplace el aparato preferentamente en posicion vertical o consulte en las inscripiones del embalaje de que lado se pueda tumbar el aparato.
10^ EN CASO DE AVERIA
A pesar de todo el cuidado que ponemos en la fabricacion de nuestros productos, las averias no se pueda descartar Completely. Antes de ponserse en contacto con el service posventa de su distribuidor, compruebe que:
- la toma de corriente está connectada,
- no se haya producido un corte de electricidad,
- la avería noonga su origin en algoa de las situaciones descritas en el cuadro que figura al final de este manual.
IMPORTANT:
Si el cable de alimentacion que se incluye está deteriorado, debe ser sustituido por el fabricante o por un serviceo autorizzato por lamarca o por el distribuidor. Enequalquier caso y para evitarequalquier riesgo de lesion,el cable lo debe sutilir personal qualificado.
SI ESTAS REVISIONES NO DAN RESULTADO, PONGASE EN CONTACTO CON EL SERVICIO POSVENTA DE SU DISTRIBUTOR.
jATENCIón!
jDesconecte la toma mural antes de realizarrialquier operacion deostenimiento o reparacion!
11° PROBLEMAS Y SOLUCIONES
Usted también可以选择 resolver manyos problemas sencillos de la vinoteca sin recurrir al serviceo posventa. Consulte lassiguerencias:
| PROBLEMA | CAUSA POSIBLE |
| La vinoteca no se pone en marcha. | La toma de corriente no está conectada. El botón de marcha/parada está en posición Parada. Ha saltado el fusible de la instalación electrica. |
| La vinoteca no enfría lo sufiente. | Controlle la temperatura selectionada. La temperatura exterior está fuera del margen de temperatura de uso de la vinoteca. La vinoteca se abre con demasiada Frequencia. La puerta no se ha cerrado correctamente. La junta de la puerta no es estanca. |
| El compresor se pone en marcha y se para con frequencia. | La temperatura exterior es alta. Se han metido muchas botellas en la vinoteca. La vinoteca se abre con demasiada frequencia. No se ha cerrado correctamente la puerta. El ajuste no se ha realizado correctamente. La junta de la puerta no es estanca. |
| La luz no funciona. | La toma de corriente no está conectada. Ha saltado el fusible de la instalación electrica. El LED no funciona. El botón de la luz está en posición Parada. |
| Vibraciones. | Compruebe que la vinoteca está correctamente nivelada. |
| La vinoteca hace mucho ruido. | El gas refrigerante produce un ruido similar al del agua circulando, es normal. Al final del ciclo del comprisor se pueda oir un ruido de agua circulando. Las relacioniones y dilatações de las paredes interiores pueden provocarchasquidos. La vinoteca no está correctamente nivelada. |
| La puerta no cierra correctamente. | La vinoteca no está correctamente nivelada. La junta de la puerta está sucia o estropeada. Las bandejas no están colocadas correctamente. Parte del contenido impide que la puerta se cierrecorrectamente. |
12^ MEDIO AMBIENTE
Este producto cumple la directiva DEE 2002/96/CE.

El@simbolo del contenerd o basura tachado que figura en el aparato indica que, al final de su vida u|il, este productodeferaratarseoforma separada del demasresiduosdomesticos.
Por consiguiente, se deben trasladar a un centro de recogida selectiva para aparatos electricos y/o electrónicos, o si adquiere un aparato equivalente, al distribuidor del aparato nuevo.
El usuario es el responsable del traslado del aparato, al final de su vida uyil, al centro de recogida apropiado. Una recogida selectiva y adecuada, con el fin de que el aparato sea reciclado, tratado y eliminado de forma respetuosa con el medio ambiente, contribuye a evitar los posibles efectos negativos sobre el medio ambiente y la salute, y favorece el reciclaje de los materiales que componenten el producto.
Para Obtener información más detallada sobre los sistemas de recogida disponibles, dirijase al servicios local de eliminación de residuos o a la Tienda donde adquirido el aparato.
13^ ADVERTENCIA
Con el fin de mejorar constantemente nuestros productos, nos reservamos la posibiliad de modifier las caracteristicas sociales sin avis previo.
Las garantías de los productos de lamarca CLIMADIFF son proportionadas de forma exclusiva por una series de distribuidores que nosotros seleccionamos. Ningún elemento del presente manual pourrait interpretarse como una garantía adicional.
CLIMADIFF no asumeulating responsibility por los erros u omisiones Tecnicas y de redacion en el presente manual.
Documento no contractual.
ANEXO 1
| Modelo | Marca: Avintage Referencia: AV21SX- AV21SX-IX Categoría de aparato de refrigeración domérica: 2 |
| Alimentación | 220-240V~ 50Hz |
| Dimensiones (large x ancho x alto en cm) | 29,5 x 57,2 x 82 cm |
| Peso (kg) | 28 kg |
| Clase energetica | B |
| Consumo de energia anual (AEc) | Consumo de energia de 184 kWh al año calculado en base al resultado obtenido en 24 h enunas conditiones de prueba normalizadas. El consumo de energia real depende de las conditiones de uso y de laubicacion del aparato. |
| Volumen uyil de los comportimientos (l) | 60 L |
| Desescarche | Desescarche automático |
| Clase climática | Clase climática: N Este aparato ha sido disnado para su uso a una temperatura ambiente comprendida entre 16 °C (la temperature más baja) y 32 °C (la temperatura más alta) |
| Emissiones acústicas al aire en dB(A) re 1 pW | 41 dB |
| Tipo de instalación | Independiente o empotrada |
Este aparato está diseñado únicamente para el almacenimiento de vinos.
ANEXO 2
| Modelo | Marca: Avintage Referencia: AV51SX-AV51SX-IX Categoría de aparato de refrigeración domérica: 2 |
| Alimentación | 220-240V~ 50Hz |
| Dimensiones (largo x ancho x alto en cm) | 59,5 x 57,2 x 82 cm |
| Peso (kg) | 44 kg |
| Clase energetica | B |
| Consumo de energia anual (AEc) | Consumo de energia de 186 kWh al año calculado en base al resultado obtenido en 24 h enunas conditiones de prueba normalizadas. El consumo de energia real depende de las conditiones de uso y de laubicacion del aparato. |
| Volumen uyil de los comportimientos (l) | 146 L |
| Desescarche | Desescarche automático |
| Clase climática | Clase climática: N Este aparato ha sido disnado para su uso a una temperatura ambiente comprendida entre 16 °C (la temperature más baja) y 32 °C (la temperatura más alta) |
| Emissiones acústicas al aire en dB(A) re 1 pW | 42 dB |
| Tipo de instalación | Independiente o empotrada |
Este aparato está diseñado únicamente para el almacenimiento de vinos.
ANEXO 3
| Modelo | Marca: Avintage Referencia: PRO51C Categoría de aparato de refrigeración domérica: 2 |
| Alimentación | 220-240V~ 50Hz |
| Dimensiones (large x ancho x alto en cm) | 59,5 x 57,2 x 82 cm |
| Peso (kg) | 44 kg |
| Clase energetica | B |
| Consumo de energia anual (AEc) | Consumo de energia de 186 kWh al año calculado en base al resultado obtenido en 24 h enunas conditiones de prueba normalizadas. El consumo de energia real depende de las conditiones de uso y de laubicacion del aparato. |
| Volumen uyil de los comportimientos (l) | 146 L |
| Desescarche | Desescarche automático |
| Clase climática | Clase climática: N Este aparato ha sido disnado para su uso a una temperatura ambiente comprendida entre 16 °C (la temperature más baja) y 32 °C (la temperature más alta) |
| Emissiones acústicas al aire en dB(A) re 1 pW | 42 dB |
| Tipo de instalación | Independiente o empotrada |
Este aparato está diseñado únicamente para el almacenimiento de vinos.
ANEXO 4
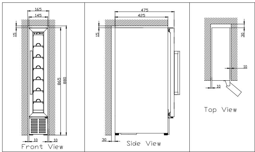
| Modelo | Marca: Avintage Referencia: AV53CDZ Categoría de aparato de refrigeración domérica: 2 |
| Alimentación | 220-240V~ 50Hz |
| Dimensiones (large x ancho x alto en cm) | 59,5 x 57,2 x 82 cm |
| Peso (kg) | 50 kg |
| Clase energetica | C |
| Consumo de energia anual (AEc) | Consumo de energia de 235 kWh al año calculado en base al resultado obtenido en 24 h enunas conditiones de prueba normalizadas. El Consumo de energia real depende de las conditiones de uso y de laubicacion del aparato. |
| Volumen uyil de los comportimientos (I) | 134 L |
| Desescarche | Desescarche automático |
| Clase climática | Clase climática: N Este aparato ha sido disnado para su uso a una temperature ambiente comprendida entre 16 °C (la temperature más baja) y 32 °C (la temperature más alta) |
| Emissiones acústicas al aire en dB(A) re 1 pW | 43 dB |
| Tipo de instalación | Independiente o empotrada |
Este aparato está diseñado únicamente para el almacenimiento de vinos.
ANEXO 5
| Modelo | Marca: Climadiff Referencia: CV52IXDZ Categoría de aparato de refrigeración domérica: 2 |
| Alimentación | 220-240V~ 50Hz |
| Dimensiones (large x ancho x alto en cm) | 57,2 x 59,5 x 82 cm – sin tirador |
| Peso (kg) | 50 kg |
| Clase energetica | C |
| Consumo de energia anual (AEc) | Consumo de energia de 235 kWh al año calculado en base al resultado obtenido en 24 h enunas conditiones de prueba normalizadas. El Consumo de energia real depende de las conditiones de uso y de laubicacion del aparato. |
| Volumen uyil de los comportimientos (I) | 134 L |
| Desescarche | Desescarche automático |
| Clase climática | Clase climática: N Este aparato ha sido disnado para su uso a una temperatura ambiente comprendida entre 16 °C (la temperatura más baja) y 32 °C (la temperatura más alta) |
| Emissiones acústicas al aire en dB(A) re 1 pW | 43 dB |
| Tipo de instalación | Independiente o empotrada |
Este aparato está diseñado únicamente para el almacenimiento de vinos.
ANEXO 6
| Modelo | Marca: AVINTAGE Referencia: AV41SXDP-AV41SXDP-IX Categoría de aparato de refrigeración domestica: 2 |
| Alimentación | 220-240V~ 50Hz |
| Dimensiones (largo x ancho x alto en cm) | 59,5 x 57,5 x 82 cm – sin tirador |
| Peso (kg) | 48 kg |
| Clase energetica | D |
| Consumo de energia anual (AEc) | Consumo de energia de 284 kWh al año calculado en base al resultado obtenido en 24 h enunas conditiones de prueba normalizadas. El consumo de energia real depende de las conditiones de uso y de laubicacion del aparato. |
| Volumen uyil de los comportimientos (I) | 2 x 59,5 L |
| Desescarche | Desescarche automatico |
| Clase climática | Clase climática: N Este aparato ha sido disnado para su uso a una temperatura ambiente comprendida entre 16 °C (la temperatura más baja) y 32 °C (la temperatura más alta) |
| Emissiones acústicas al aire en dB(A) re 1 pW | 42 dB |
| Tipo de instalación | Independiente o empotrada |
Este aparato está diseñado únicamente para el almacenimiento de vinos.
ANEXO 7
| Modelo | Marca: Avintage Referencia: AV54SXDZ -AV54SXDZ-IX Categoría de aparato de refrigeración domérica: 2 |
| Alimentación | 220-240V~ 50Hz |
| Dimensiones (large x ancho x alto en cm) | 59,5 x 57,2 x 82 cm |
| Peso (kg) | 50 kg |
| Clase energetica | C |
| Consumo de energia anual (AEc) | Consumo de energia de 235 kWh al año calculado en base al resultado obtenido en 24 h enunas conditiones de prueba normalizadas. El Consumo de energia real depende de las conditiones de uso y de laubicacion del aparato. |
| Volumen uyil de los comportimientos (I) | 134 L |
| Desescarche | Desescarche automático |
| Clase climática | Clase climática: N Este aparato ha sido disnado para su uso a una temperature ambiente comprendida entre 16 °C (la temperature más baja) y 32 °C (la temperature más alta) |
| Emissiones acústicas al aire en dB(A) re 1 pW | 43 dB |
| Tipo de instalación | Independiente o empotrada |
Este aparato está diseñado únicamente para el almacenimiento de vinos.
ANEXO 8
| Modelo | Marca: Avintage Referencia: AV7X-AV7X-1X Categoría de aparato de refrigeración domérica: 2 |
| Alimentación | 220-240V~ 50Hz |
| Dimensiones (large x ancho x alto en cm) | 47,5 x 14.5 x 86.5 cm |
| Peso (kg) | 19 kg |
| Clase energetica | B |
| Consumo de energia anual (AEc) | Consumo de energia de 155 kWh al año calculado en base al resultado obtenido en 24 h enunas conditiones de prueba normalizadas. El Consumo de energia real depende de las conditiones de uso y de laubicacion del aparato. |
| Volumen uyil de los comportimientos (I) | 19 L |
| Desescarche | Desescarche automático |
| Clase climática | Clase climática: N Este aparato ha sido disnado para su uso a una temperature ambiente comprehida entre 16 °C (la temperature más baja) y 32 °C (la temperature más alta) |
| Emissiones acústicas al aire en dB(A) re 1 pW | 40 dB |
| Tipo de instalación | Independiente o empotrada |
Este aparato está diseñado únicamente para el almacenimiento de vinos.
CLIMADIFF S.A.
Les Docks - Atrium 10.5
BP 56224 - 13567 MARSEILLE cedex 2
Tel. +33 (O)4.91.91.73.14 - Fax +33 (O)4.91.91.35.36
www.climadiff.com - info@climadiff.com
ManualFácil