32LC5 - TV LG - Free user manual and instructions
Find the device manual for free 32LC5 LG in PDF.
Download the instructions for your TV in PDF format for free! Find your manual 32LC5 - LG and take your electronic device back in hand. On this page are published all the documents necessary for the use of your device. 32LC5 by LG.
USER MANUAL 32LC5 LG
LCD TV | PLASMA TV OWNER'S MANUAL
LCD TV MODELS PLASMA TV MODELS
26LC4 26LC5 42PC5*
32LC4 32LC5 50PC5*
37LC4 37LC5 50PB6*
42LC4 42LC5 42PC3*
26LB7 32LB7 50PC3*
60PC4*
Please read this manual carefully before operating your set.
Retain it for future reference.
Record model number and serial number of the set. See the label attached on the back cover and quote this information to your dealer when you require service.
ACCESSIONS
Ensure that the following accessories are included with your TV. If an accessory is missing, please contact the dealer where you purchased the product.

Owner's Manual

Power Cord

Polishing Cloth
(This feature is not available for all models.)
Polish the screen with the cloth.

Remote Control

Batteries
Slightly wipe stained spot on the exterior only with the cleansing cloths for the product exterior if there is stain or fingerprint on surface of the exterior.
Do not wipe roughly when removing stain. Please be cautious of that excessive power may cause scratch or discoloration.
Plasma TV models

2-Wall brackets

2-eye-bolts
(This feature is not available for all models.)
50PB6*, only

One desk-type stand fixture protection cover Refer to p.20

3-bolts Refer to p.20
LCD TV models
(This feature is not available for all models.)

2-TV Brackets
2- Wall Brackets

2-bolts

Twister Holder Arrange the wires with the twister holder.


or
Cable Management
26^ ,32",37"only

4-bolts for stand assembly Refer to p. 12
26/32LB7*only

1-screw for stand fixing Refer to p. 14
ACCESSIONS 1
PREPARATION
Front Panel Controls 4
Back Panel Information 7
Stand installation 11
Attaching the TV to a wall 13
Attaching the TV to a desk 14
Back Cover for Wire Arrangement 15
Desktop Pedestal Installation 19
Wall Mount: Horizontal installation 20
Antenna Connection 21
EXTERNAL EQUIPMENT SETUP
HD Receiver Setup 22
DVD Setup 25
Insertion of CI module 28
VCR Setup 29
Digital Audio Out Setup 31
Other A/V Source Setup 32
PC Setup 33
- Screen Setup for PC Mode 36
WATCHING TV / PROGRAMME CONTROL
Remote Control Key Functions 40
Turning on the TV 44
Programme Selection 45
Volume Adjustment 45
On-Screen Menus Selection and Adjustment 46
AutoProgrammeTuning(InDigitalMode) 47
ManualProgrammeTuning(InDigitalMode)....48
Programme Edit (In Digital Mode) 49
5V antenna Power (In Digital Mode only) 51
Software Update (In Digital Mode only) 52
Diagnostics (In Digital Mode only) 53
CI Information (In Digital Mode only) 54
AutoProgrammeTuning(InAnalogueMode) 55
ManualProgrammeTuning(InAnalogueMode) 56
Fine Tuning (In Analogue Mode) 57
Assigning a Station Name (In Analogue Mode) 57
Programme Edit (In Analogue Mode) 58
Calling the Programme Table 60
Input Source Selection 61
Index 61
SIMPLINK Function 62
EPG (ELECTRONIC PROGRAMME GUIDE) (IN DIGITAL MODE)
Switch on/off EPG 64
Selectprogramme 64
Button function in NOW/NEXT guide mode 65
Button function in 8 days guide mode 65
Button function in date change mode 65
Button function in extended description box 66
Button function in record/remark setting mode 66
Button function in timer list mode 66
PICTURE CONTROL
Picture Size (Aspect Ratio) Control 67
Preset Picture Settings
-
Picture Mode-Preset 69
-
Auto Colour Tone Control (Warm/Medium/Cool) .....70
Manual Picture Adjustment
- Picture Mode-User option 71
-Colour Tone -User option .72
XD-Picture Improvement Technology 73
XD Demo 74
Advanced-Cinema 75
Advanced-Black(Darkness)Level 76
Picture Reset 77
Image Sticking Minimization(ISM) Method 78
Low-Power Picture Mode 79
SOUND & LANGUAGE CONTROL
Auto Volume Leveler 80
Preset Sound Settings -Sound Mode 81
Sound Setting Adjustment - User Mode 82
Balance 83
TV Speakers On/ Off Setup 84
Selecting digital audio out 85
I/II
- Stereo/Dual Reception (In Analogue Mode Only) 86
- NICAM Reception (In Analogue Mode Only) 87
- Speaker Sound Output Selection 87
On-Screen Menu Language/Country Selection 88
Language selection (In Digital Mode only) 89
TIME SETTING
Clock Setup 90
Auto On/ Off Timer Setting 91
Auto Shut-off Setting 92
Time zone Setup 93
Sleep Timer Setting 93
PARENTAL CONTROL / RATINGS
Set Password & Lock System 94
Parental Control 95
TELETEXT
Switch on/off 96
SIMPLE Text 96
TOP Text 96
FASTEXT 97
Special Teletext Functions 97
DIGITAL TELETEXT
Teletext within Digital Service 98
Teletext in Digital Service 98
APPENDIX
Troubleshooting 99
Maintenance 101
Product Specifications 102
Programming the Remote Control 104
Programming Code 104
IR Codes 106
External Control Device Setup 108
FRONT PANEL CONTROLS
This is a simplified representation of the front panel. Here shown may be somewhat different from your TV.
If your product has a protection film attached, remove the film and then wipe the product with a polishing cloth.
Plasma TV Models
42/50PC5*, 60PC4*

50PB6*

Plasma TV Models
42/50PC3*

Power/Standby Indicator
- illuminates red in standby mode.
- illuminates green when the set is switched on.
LCD TV Models
Except 26/32LB7*

Only 26/32LB7*

BACK PANEL INFORMATION
This is a simplified representation of the back panel. Here shown may be somewhat different from your TV.
Plasma TV Models
Except 42/50PC3*

PCMCIA (Personal Computer Memory Card International Association) Card Slot (This feature is not available in all countries.)
HDMI Input Connect a HDMI signal to HDMI IN. Or DVI(VIDEO)signal to HDMI/DVI port with DVI to HDMI cable.
RGB/DVI Audio Input Connect the monitor output from a PC to the appropriate input port.
Antenna Input Connect over-the-air signals to this jack.
DIGITAL AUDIO OUT OPTICAL Connect digital audio from various types of equipment. Note: In standby mode, these ports do not work.
RS-232C IN (CONTROL & SERVICE) PORT Connect to the RS-232C port on a PC.
Component Input Connect a component video/ audio device to these jacks.
Euro Scart Socket (AV1/AV2) Connect scart socket input or output from an external device to these jacks.
Power Cord Socket This TV operates on an AC power. The voltage is indicated on the Specifications page. Never attempt to operate the TV on DC power.
Only 42/50PC3*

PCMCIA (Personal Computer Memory Card International Association) Card Slot (This feature is not available in all countries.)
HDMI Input Connect a HDMI signal to HDMI IN. Or DVI(VIDEO)signal to HDMI/DVI port with DVI to HDMI cable.
RGB/DVI Audio Input Connect the monitor output from a PC to the appropriate input port.
Antenna Input Connect over-the-air signals to this jack.
DIGITAL AUDIO OUT OPTICAL Connect digital audio from various types of equipment. Note: In standby mode, these ports do not work.
RS-232C IN (CONTROL & SERVICE) PORT Connect to the RS-232C port on a PC.
Component Input Connect a component video/audio device to these jacks.
Euro Scart Socket (AV1/AV2) Connect scart socket input or output from an external device to these jacks.
Power Cord Socket This TV operates on an AC power. The voltage is indicated on the Specifications page. Never attempt to operate the TV on DC power.
LCD TV Models
Except 26/32LB7*

PCMCIA (Personal Computer Memory Card International Association) Card Slot (This feature is not available in all countries.)
HDMI Input Connect a HDMI signal to HDMI IN. Or DVI(VIDEO)signal to HDMI/DVI port with DVI to HDMI cable.
RGB/DVI Audio Input Connect the monitor output from a PC to the appropriate input port.
4 Antenna Input Connect over-the-air signals to this jack.
DIGITAL AUDIO OUT OPTICAL Connect digital audio from various types of equipment. Note: In standby mode, these ports do not work.
RS-232C IN (CONTROL & SERVICE) PORT Connect to the RS-232C port on a PC.
Component Input Connect a component video/audio device to these jacks.
Euro Scart Socket (AV1/AV2) Connect scart socket input or output from an external device to these jacks.
Power Cord Socket This TV operates on an AC power. The voltage is indicated on the Specifications page. Never attempt to operate the TV on DC power.
Only 26/32LB7*

PCMCIA (Personal Computer Memory Card International Association) Card Slot (This feature is not available in all countries.)
HDMI Input Connect a HDMI signal to HDMI IN. Or DVI(VIDEO)signal to HDMI/DVI port with DVI to HDMI cable.
3 DIGITAL AUDIO OUT OPTICAL Connect digital audio from various types of equipment. Note: In standby mode, these ports do not work.
Antenna Input Connect over-the-air signals to this jack.
RS-232C IN (CONTROL & SERVICE) PORT Connect to the RS-232C port on a PC.
Component Input Connect a component video/ audio device to these jacks.
RGB/DVI Audio Input Connect the monitor output from a PC to the appropriate input port.
Euro Scart Socket (AV1/AV2) Connect scart socket input or output from an external device to these jacks.
Power Cord Socket This TV operates on an AC power. The voltage is indicated on the Specifications page. Never attempt to operate the TV on DC power.
STAND INSTALLATION (Only 42/50PC3*)
This feature is not available for all models.

1

2

3

4
- Place the set with the screen facing down on a cushion or soft cloth as shown in Figures 1.
Before unfolding the stand, please make sure two locks (A) on the bottom of the stand push outward.
Pull the stand out as shown above in Figures 2 3
After unfolding the stand, please insert and tighten the screws in the holes (B) on the bottom of the stand. - When connecting cables to the set, Do not disengage the lock (C).
This may cause the set to fall, causing serious bodily injury and serious damage to the set.

NOTE
Figures shown here may be slightly different from your set.
When closing the stand for storage
First remove the screws in the holes (B) on the bottom of the stand. And then pull two Hooks (D) of the stand bottom and fold the stand into the back of the set.
After folding, push two Locks (A) of the stand bottom outward.

STAND INSTALLATION (Only 26, 32, 37 inch LCD TV Models)
1 Carefully place the product screen side down on a cushioned surface that will protect product and screen from damage.

2 Assemble the product stand with the product as shown.

Install the 4 bolts securely, in the back of the product in the holes provided.

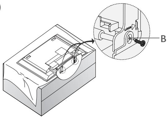
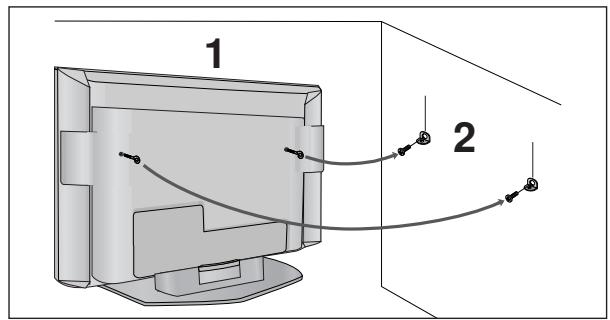
ATTACHING THE TV TO A WALL
This feature is not available for all models.
Set it up close to the wall so the product doesn't fall over when it is pushed backwards.
The instructions shown below is a safer way to set up the product, which is to fix it on the wall so the product doesn't fall over when it is pulled in the forward direction. It will prevent the product from falling forward and hurting people. It will also prevent the product from damage caused by fall. Please make sure that children don't climb on or hang from the product.

Plasma TV models

LCD TV models
Use the eye-bolts or TV brackets/bolts to fix the product to the wall as shown in the picture.
(If your product has the bolts in the eye-bolts position before inserting the eye-bolts, loosen the bolts.)
* Insert the eye-bolts or TV brackets/bolts and tighten them securely in the upper holes.
2 Secure the wall brackets with the bolts (not provided as parts of the product, must purchase separately) on the wall. Mark the height of the board that is present on the wall.

Use a sturdy rope (not provided as parts of the product, must purchase separately) to tie the product. It is safer to tie the rope so it becomes horizontal between the wall and the product.
NOTE
When moving the product to another place undo the ropes first.
▶ Use a product holder or a cabinet that is big and strong enough for the size and weight of the product.
To use the product safely make sure that the height of the bracket that is mounted on the wall is same as that of the product.
ATTACHING THE TV TO A DESK (Only 26/32LB7* model)
The TV must be attached to desk so it cannot be pulled in a forward/backward direction, potentially causing injury or damaging the product. Use only an attached screw.


WARNING
To prevent TV from falling over, the TV should be securely attached to the floor/wall per installation instructions. Tipping, shaking, or rocking the machine may cause injury.
BACK COVER FOR WIRE ARRANGEMENT
Plasma TV models (Except 42/50PC3*)
Hold the CABLE MANAGEMENT with hands and push it as shown.

CABLE MANAGEMENT

2 Connect the cables as necessary.
To connect an additional equipment, see the External equipment Setup section.

3 Reinstall the CABLE MANAGEMENT as shown.

Plasma TV models
Only 42PC3*
Arrange the cables as shown picture.

Only 50PC3*

Hold the CABLE MANAGEMENT with both hands and push it as shown.

Connect the cables as necessary.
To connect an additional equipment, see the External equipment Setup section.

Reinstall the CABLE MANAGEMENT as shown.



1 Connect the cables as necessary.
To connect an additional equipment, see the External equipment Setup section.

Install the CABLE MANAGEMENT as shown.

3 Bundle the cables using the supplied twister holder. (This feature is not available for all models.)

How to remove the cable management
Hold the CABLE MANAGEMENT with both hands and pull it upward.

NOTE
Do not hold the CABLE MANAGEMENT when moving the product.
- If the product is dropped, you may be injured or the product may be broken.
LCD TV model (Only 26/32LB7*)
1 Connect the cables as necessary.
To connect an additional equipment, see the External equipment Setup section.

Install the CABLE MANAGEMENT as shown. (Insert it as pushing the loops on the both sides of the cable management.)

3 Bundle the cables using the supplied twist holder. (This feature is not available for all models.)

How to remove the cable management
Hold the CABLE MANAGEMENT with both hands and pull it out.
(Pull it out as holding the loops on the both sides of the cable management.)

NOTE
Do not hold the CABLE MANAGEMENT when moving the product.
- If the product is dropped, you may be injured or the product may be broken.
The set can be installed in various ways such as on a wall, or on a desktop etc.
The set is designed to be mounted horizontally.
GROUNDING
Ensure that you connect the earth ground wire to prevent possible electric shock. If grounding methods are not possible, have a qualified electrician install a separate circuit breaker. Do not try to ground the unit by connecting it to telephone wires, lightening rods, or gas pipes.

Desktop Pedestal Installation
For proper ventilation, allow a clearance of 4'' on each side and from the wall.


Wall Mount: Horizontal installation
For proper ventilation, allow a clearance of 4'' on each side and from the wall. Detailed installation instructions are available from your dealer, see the optional Tilt Wall Mounting Bracket Installation and Setup Guide.



If you want to install the desk-type stand fixture protection cover (50PB6* only)
To prevent the foreign materials from entering the desk-type stand fixture, fix the desk-type stand fixture protection cover by using the supplied bolts as shown at the figure.
To prevent the equipment damage, never plug in any power cords until you have finished connecting all equipment.
ANTENNA CONNECTION
For optimum picture quality, adjust antenna direction.
An antenna cable and converter are not supplied.

- Be careful not to bend the bronze wire when connecting to an antenna port.
- 5V antenna power works in Digital mode only. (Refer to p. 51)

In poor signal areas, to get better picture quality, install a signal amplifier to the antenna as shown to the right.
If signal needs to be split for two TVs, use an antenna signal splitter for connection.
EXTERNAL EQUIPMENT SETUP
To prevent the equipment damage, never plug in any power cords until you have finished connecting all equipment.
This part of EXTERNAL EQUIPMENT SETUP mainly use pictures for the LCD TV models.
HD RECEIVER SETUP
This TV can receive Digital Over-the-air/Cable signals without an external digital set-top box. However, if you do receive Digital signals from a digital set-top box or other digital external device, refer to the figure as shown below.
When connecting with a component cable
Connect the video outputs (Y, PB, PR) of the digital set top box to the COMPONENT IN VIDEO jacks on the set.
Connect the audio output of the digital set-top box to the COMPONENT IN AUDIO jacks on the set.
3 Turn on the digital set-top box. (Refer to the owner's manual for the digital set-top box.)
4 Select COMPONENT input source with using the INPUT button on the remote control.

| Signal | Component | HDMI1/2/3 (HDMI3:only 26/32LB7*) |
| 480i/576i | Yes | No |
| 480p/576p | Yes | Yes |
| 720p/1080i | Yes | Yes |
| 1080p | No | Yes |
When connecting with a HDMI cable
Except 26/32LB7*
1 Connect the digital set-top box to HDMI/DVI IN 1 or HDMI IN 2 jack on the set.
Turn on the digital set-top box. (Refer to the owner's manual for the digital set-top box.)
3 Select HDMI1 or HDMI2 input source with using the INPUT button on the remote control.

Only 26/32LB7*
1 Connect the digital set-top box to HDMI/DVI IN 1, HDMI IN 2 or HDMI IN 3 jack on the set.
Turn on the digital set-top box. (Refer to the owner's manual for the digital set-top box.)
3 Select HDMI1, HDMI2 or HDMI3 input source with using the INPUT button on the remote control.

When connecting with a HDMI to DVI cable
Except 26/32LB7*
1 Connect the digital set-top box to HDMI/DVI IN 1 jack on the set.
2 Connect the audio output of the digital set-top box to the AUDIO IN (RGB/DVI) jack on the set.
Turn on the digital set-top box. (Refer to the owner's manual for the digital set-top box.)
4 Select HDMI1 input source with using the INPUT button on the remote control.

Only 26/32LB7*
1 Connect the digital set-top box to HDMI/DVI IN 1 jack on the set.
2 Connect the audio output of the digital set-top box to the AUDIO IN (RGB/DVI) jack on the set.
Turn on the digital set-top box. (Refer to the owner's manual for the digital set-top box.)
4 Select HDMI1 input source with using the INPUT button on the remote control.

DVD SETUP
When connecting with a component cable
Connect the video outputs (Y, PB, PR) of the DVD to the COMPONENT IN VIDEO jacks on the set.
Connect the audio outputs of the DVD to the COMPONENT IN AUDIO jacks on the set.
3 Turn on the DVD player, insert a DVD.
4 Select COMPONENT input source with using the INPUT button on the remote control.
Refer to the DVD player's manual for operating instructions.

Component Input ports
To get better picture quality, connect a DVD player to the component input ports as shown below.
| Component ports on the TV | Y | PB | PR |
| Video output ports on DVD player | Y | PB | PR |
| Y | B-Y | R-Y | |
| Y | Cb | Cr | |
| Y | Pb | Pr |
When connecting with a Euro Scart
Connect the Euro scart socket of the DVD to the AV1 Euro scart socket on the set.
2 Turn on the DVD player, insert a DVD.
3 Select AV1 input source with using the INPUT button on the remote control. If connected to AV2 Euro scart socket, select AV2 input source.
Refer to the DVD player's manual for operating instructions.
NOTE
If you want to use the EURO scart cable, you have to use the signal shielded Euro scart cable.

When connecting with an S-Video cable
Connect the S-VIDEO output of the DVD to the S-VIDEO input on the set.
2 Connect the audio outputs of the DVD to the AUDIO input jacks on the set.
3 Turn on the DVD player, insert a DVD.
4 Select AV3 input source with using the INPUT button on the remote control.
Refer to the DVD player's manual for operating instructions.

When connecting HDMI cable
Except 26/32LB7*
1 Connect the HDMI output of the DVD to the HDMI/DVI IN 1 or HDMI IN 2 jack on the set.
2 Select HDMI1 or HDMI2 input source with using the INPUT button on the remote control.
Refer to the DVD player's manual for operating instructions.

Only 26/32LB7*
1 Connect the HDMI output of the DVD to the HDMI/DVI IN 1, HDMI IN 2 or HDMI IN 3 jack on the set.
2 Select HDMI1, HDMI2 or HDMI3 input source with using the INPUT button on the remote control.
Refer to the DVD player's manual for operating instructions.

NOTE
TV can receive the video and audio signal simultaneously with using a HDMI cable.
If the DVD does not support Auto HDMI, you need to set the output resolution appropriately.
INSERTION OF CI MODULE
- To view the scrambled (pay) services in digital TV mode.
- This feature is not available in all countries.

Insert the CI Module to PCMCIA (Personal Computer Memory Card International Association) CARD SLOT of TV as shown.
For further information, see p.54.

VCR SETUP
To avoid picture noise (interference), leave an adequate distance between the VCR and TV.
- Typically a frozen still picture from a VCR. If the 4:3 picture format is used; the fixed images on the sides of the screen may remain visible on the screen.

When connecting with an antenna
1 Connect the ANT OUT socket of the VCR to the ANTENNA IN socket on the set.
2 Connect the antenna cable to the ANT IN socket of the VCR.
Press the PLAY button on the VCR and match the appropriate programme between the TV and VCR for viewing.
When connecting with a Euro Scart
1 Connect the Euro scart socket of the VCR to the AV1 Euro scart socket on the set.
2 Insert a video tape into the VCR and press PLAY on the VCR. (Refer to the VCR owner's manual.)
3 Select AV1 input source with using the INPUT button on the remote control.
4 If connected to AV2 Euro scart socket, select AV2 input source.

NOTE
If you want to use the EURO scart cable, you have to use the signal shielded Euro scart cable.
When connecting with a RCA cable
Connect the AUDIO/VIDEO jacks between TV and VCR. Match the jack colours (Video = yellow, Audio Left = white, and Audio Right = red)
2 Insert a video tape into the VCR and press PLAY on the VCR. (Refer to the VCR owner's manual.)
3 Select AV3 input source using the INPUT button on the remote control.
NOTE
If you have a mono VCR, connect the audio cable from the VCR to the AUDIO L/MONO jack of the set.

When connecting with an S-Video cable
Connect the S-VIDEO output of the VCR to the SVIDEO input on the set. The picture quality is improved; compared to normal composite (RCA cable) input.
2 Connect the audio outputs of the VCR to the AUDIO input jacks on the set.
3 Insert a video tape into the VCR and press PLAY on the VCR. (Refer to the VCR owner's manual.)
4 Select AV3 input source with using the INPUT button on the remote control.

NOTE
If both S-VIDEO and VIDEO sockets have been connected to the S-VHS VCR simultaneously, only the S-VIDEO can be received.
DIGITAL AUDIO OUT SETUP
Send the TV's audio to external audio equipment via the Digital Audio Output (Optical) port.
1 Connect one end of an optical cable to the TV Digital Audio (Optical) Output port.
2 Connect the other end of the optical cable to the digital audio (optical) input on the audio equipment.
3 Set the "TV Speaker option - Off" in the AUDIO menu. (▶p.85). See the external audio equipment instruction manual for operation.
CAUTION
Do not look into the optical output port. Looking at the laser beam may damage your vision.

OTHER A/V SOURCE SETUP

1 Connect the AUDIO/VIDEO jacks between TV and external equipment. Match the jack colors. (Video = yellow, Audio Left = white, and Audio Right = red)
2 Select AV3 input source with using the INPUT button on the remote control.
3 Operate the corresponding external equipment. Refer to external equipment operating guide.
This TV provides Plug and Play capability, meaning that the PC adjusts automatically to the TV's settings.
When connecting with a D-sub 15 pin cable
1 Connect the RGB output of the PC to the RGB (PC) jack on the set.
2 Connect the PC audio output to the AUDIO IN (RGB/DVI) jack on the set.
3 Turn on the PC and the set.
4 Select RGB input source with using the INPUT button on the remote control.

When connecting with a HDMI to DVI cable
1 Connect the DVI output of the PC to the HDMI/DVI IN 1 jack on the set.
Connect the PC audio output to the AUDIO IN (RGB/DVI) jack on the set.
3 Turn on the PC and the set
4 Select HDMI1 input source with using the INPUT button on the remote control.

NOTE
If the PC has a DVI output and no HDMI output, a separated audio connection is necessary.
If the PC does not support Auto DVI, you need to set the output resolution appropriately. To get the best picture quality, adjust the output resolution of PC graphics card's output resolution to 1024 × 768 , 60Hz .
NOTE
To enjoy vivid picture and sound, connect a PC to the set.
Avoid keeping a fixed image on the set's screen for a long period of time. The fixed image may become permanently imprinted on the screen; use a screen saver when possible.
Connect PC to the RGB (PC) or HDMI IN (or HDMI/DVI IN) port of the set; change the resolution output of PC accordingly.
There might be noise according to some resolution, vertical pattern, contrast or brightness in PC mode. Change the PC mode into another resolution or change the refresh rate into another rate or adjust the brightness and contrast on the menu until the picture is clean. If the refresh rate of the PC graphic card can not be changed, change the PC graphic card or consult it to the manufacturer of the PC graphic card.
The synchronization input waveform for Horizontal and Vertical frequencies are separate.
In Plasma TV models, we recommend using 1024 × 768 , 60 ~Hz for the PC mode, they provide the best picture quality.
Connect the signal cable from the monitor output port of the PC to the RGB (PC/DTV) port of the set or the signal cable from the HDMI output port of the PC to the HDMI IN (or HDMI/DVI IN) port on the set.
Connect the audio cable from the PC to the Audio input on the set. (Audio cables are not included with the set).
If using a sound card, adjust PC sound as required.
This set uses a VESA Plug and Play Solution. The set provides EDID data to the PC system with a DDC protocol. The PC adjusts automatically when using this set.
DDC protocol is preset for RGB (Analog RGB), HDMI (Digital RGB) mode.
If required, adjust the settings for Plug and Play functionally.
If graphic card on the PC does not output analog and digital RGB simultaneously, connect only one of either RGB or HDMI IN (or HDMI/DVI IN) to display the PC on the set.
If graphic card on the PC does output analog and digital RGB simultaneously, set the set to either RGB or HDMI; (the other mode is set to Plug and Play automatically by the set.)
DOS mode may not work depending on video card if you use a HDMI to DVI cable.
When you use too long RGB-PC cable, there might be a noise on the screen. We recommend using under 5m of the cable. It provides the best picture quality.
Supported Display Resolution
Except 26/32LB7*
RGB[PC] / HDMI[PC] mode
| Resolution | Horizontal Frequency(kHz) | Vertical Frequency(Hz) |
| 720x400 | 31.468 | 70.08 |
| 640x480 | 31.469 | 59.94 |
| 37.684 | 75.00 | |
| 800x600 | 37.879 | 60.31 |
| 46.875 | 75.00 | |
| 832x624 | 49.725 | 74.55 |
| 1024x768 | 48.363 | 60.00 |
| 56.476 | 70.00 | |
| 60.123 | 75.029 | |
| 1280x768 | 47.78 | 59.87 |
| 1360x768 | 47.72 | 59.8 |
| 1366x768 | 47.56 | 59.6 |
| 1920x1080 | 66.647 | 59.988 |
HDMI[DTV] mode
| Resolution | Horizontal Frequency(kHz) | Vertical Frequency(Hz) |
| 640x480 | 31.469 | 59.94 |
| 31.469 | 60.00 | |
| 720x480 | 31.47 | 59.94 |
| 31.50 | 60.00 | |
| 720x576 | 31.25 | 50.00 |
| 1280x720 | 37.50 | 50.00 |
| 44.96 | 59.94 | |
| 45.00 | 60.00 | |
| 1920x1080 | 33.72 | 59.94 |
| 33.75 | 60.00 | |
| 28.125 | 50.00 | |
| 27.00 | 24.00 | |
| 56.25 | 50.00 | |
| 67.433 | 59.94 | |
| 67.500 | 60.00 |
Only 26/32LB7*
RGB[PC] / HDMI[PC] mode
| Resolution | Horizontal Frequency(kHz) | Vertical Frequency(Hz) |
| 720x400 | 31.468 | 70.08 |
| 640x480 | 31.469 | 59.94 |
| 37.500 | 75.00 | |
| 800x600 | 37.879 | 60.31 |
| 46.875 | 75.00 | |
| 832x624 | 49.725 | 74.55 |
| 1024x768 | 48.363 | 60.00 |
| 56.476 | 70.00 | |
| 60.023 | 75.023 | |
| 1280x768 | 47.649 | 59.99 |
| 1360x768 | 47.649 | 59.94 |
| 1366x768 | 47.649 | 59.94 |
| 1920x1080 | 66.647 | 59.988 |
HDMI[DTV] mode
| Resolution | Horizontal Frequency(kHz) | Vertical Frequency(Hz) |
| 640x480 | 31.469 | 59.94 |
| 31.469 | 60.00 | |
| 720x480 | 31.47 | 59.94 |
| 31.50 | 60.00 | |
| 720x576 | 31.25 | 50.00 |
| 1280x720 | 37.50 | 50.00 |
| 44.96 | 59.94 | |
| 45.00 | 60.00 | |
| 1920x1080 | 28.125 | 50.00 |
| 33.72 | 59.94 | |
| 33.75 | 60.00 | |
| 27.000 | 24.00 | |
| 56.250 | 50.00 | |
| 67.433 | 59.94 | |
| 67.500 | 60.00 |
Screen Setup for PC mode
Auto Configure (RGB [PC] mode only)
Automatically adjusts picture position and minimizes image shaking. After adjustment, if the image is still not correct, your set is functioning properly but needs further adjustment.
Auto configure
This function is for the automatic adjustment of the screen position, clock, and phase. The displayed image will unstable for a few seconds while the auto configuration is in progress.

Press the MENU button and then use or button to select the SCREEN menu.
Press the button and then use or button to select Auto Config..
3 Press the button to start Auto Config..
- When Auto Config. has finished, OK will be shown on screen.
- If the position of the image is still not correct, try Auto adjustment again.
- If picture needs to be adjusted more after Auto adjustment in RGB (PC), you can adjust the Manual Config..
Press the EXIT button to return to normal TV viewing.

1

2 3
Adjustment for screen Phase, Clock, Position
If the picture isn't clear after auto adjustment and especially if characters are still trembling, adjust the picture phase manually.
To correct the screen size, adjust Clock.
This function works in the following mode: RGB[PC].
Clock This function is to minimize any vertical bars or stripes visible on the screen background. And the horizontal screen size will also change.
Phase This function allows you to remove any horizontal noise and clear or sharpen the image of characters.



1
Press the MENU button and then use or button to select the SCREEN menu.
Press the button and then or button to select Manual Config..
3 Press the button and then or button to select Phase, Clock, H-Position or V-Position.
4 Press the or button to make appropriate adjustments.
Press the EXIT button to return to normal TV viewing.

2 3 4
Selecting Wide XGA mode
To see a normal picture, match the resolution of RGB mode and selection of XGA mode.
This function works in the following mode: RGB[PC] mode

Press the MENU button and then use or button to select the SCREEN menu.
Press the button and then use or button to select XGA Mode.
Press the button and then use or button to select the desired XGA resolution.
Press the EXIT button to return to normal TV viewing.

1

2 3
Initializing
(Reset to original factory settings)
This function operates in current mode.
To initialize the adjusted value
It's not available to use ISM Method and Low power in LCD TV models.


Press the MENU button and then or button to select the OPTION menu.
Press the button and then or button to select Factory Mode.
Press the button and then or button to select Factory Reset.
4 Press the OK button.
The message "If you enter a password, all user setting will be reset" will appear.
Use NUMBER buttons to input a 4-digit password.

1

2

3 4
WATCHING TV /PROGRAMME CONTROL
REMOTE CONTROL KEY FUNCTIONS
When using the remote control, aim it at the remote control sensor on the TV.


MODE Selects the remote operating modes.

IMPLINK See a list of AV devices connected to TV. When you toggle this button, the Simplink menu appears at the screen. (▶ p.62)

TELETEXT These buttons are used for teletext. BUTTONS For further details, see the 'Teletext' section.
RATIO Selects your desired picture format.
I/II Selects the sound output.
VCR/DVD Controls some video cassette recorders or DVD players when you have already selected DVD or VCR mode button. control buttons Control connected AV devices by pressing the or or or , OK buttons and buttons for play, stop, pause, fast reverse, fast forward, chapter skip. (The button does not provide such functions.)
THUMBSTICK Allows you to navigate the on-screen menus and adjust (Up/Down/Left Right) the system settings to your preference.
OK Accepts your selection or displays the current mode.
SLEEP Sets the sleep timer.
SUBTITLE Recalls your preferred subtitle in digital mode.
Installing Batteries

- Open the battery compartment cover on the back side and install the batteries matching correct polarity (+with +,-with -).
Install two 1.5V AA batteries. Don't mix old or used batteries with new ones.
Close cover.
REMOTE CONTROL KEY FUNCTIONS
When using the remote control, aim it at the remote control sensor on the TV.


1 TELETEXT These buttons are used for teletext. BUTTONS For further details, see the 'Teletext' section.
Coloured These buttons are used for teletext (only TELETEXT buttons models) or Programme edit.
RATIO Selects your desired picture format.
SLEEP Sets the sleep timer.
SUBTITLE Recalls your preferred subtitle in digital mode.

Installing Batteries
- Open the battery compartment cover on the back side and install the batteries matching correct polarity (+with +,-with -).
Install two 1.5V AAA batteries. Don't mix old or used batteries with new ones.
Close cover.
TURING ON THE TV
- If your TV will be turned on, you will be able to use its features.
1 First, connect power cord correctly.
At this moment, the TV switches to standby mode.
In standby mode to turn TV on, press the / I , INPUT or PR or button on the TV or press the POWER, INPUT, D/A, PR + or - or NUMBER button on the remote control and then the TV will switch on.
Initializing setup
If the OSD (On Screen Display) is displayed on the screen as figure after turning on the set, you can adjust the Language, Country, Time Zone, Auto programme tuning.
Note:
a. It will automatically disappear after approx. 40 seconds unless a button is pressed.
b. Press the BACK button to change current OSD into previous OSD.


PROGRAMME SELECTION

Press the PR + or - or NUMBER buttons to select a programme number.
VOLUME ADJUSTMENT

Press the VOL + or - button to adjust the volume.
If you want to switch the sound off, press the MUTE button.
You can cancel this function by pressing the MUTE, VOL + or -, or I/II button.


ON SCREEN MENUS SELECTION AND ADJUSTMENT
Your TV's OSD (On Screen Display) may differ slightly from what is shown in this manual.
Press the MENU button and then or button to display each menu.
Press the button and then or button to select a menu item.
3 Change the setting of an item in the sub or pull-down menu with or button. You can move to the higher level menu by pressing the OK or MENU button.

A

V

A

V


NOTE
It's not available to use ISM Method and Low power in LCD TV models.
In Analogue mode, 5V Antenna Power, CI Information, Software Update and Diagnostics will not display.
It's available to use Index in 50PB6*.
AUTO PROGRAMME TUNING (IN DIGITAL MODE)
Use it to automatically find and store all of the programmes.
When you start auto programming in digital mode, all the stored service information will be deleted.
Press the MENU button and then or button to select the SETUP menu.
Press the button and then or button to select Auto Tuning.
3 Press the button to begin auto tuning. Use NUMBER buttons to input a 4-digit password in Lock System 'On'.
The message "All service-information will be updated. Continue?" will appear.
If you want to keep on auto tuning select YES with using the or button. Then, press the OK button. Otherwise select NO.
To stop auto tuning, press the MENU button.
Press the EXIT button to return to normal TV viewing.



1

2

3
MANUAL PROGRAMME TUNING (IN DIGITAL MODE)
Manual Tuning lets you manually add a programme to your programme list.

Press the MENU button and then or button to select the SETUP menu.
Press the button and then or button to select Manual Tuning.
3 Press the button and then or button or NUMBER buttons to select the desired channel number. Use NUMBER buttons to input a 4-digit password in Lock System 'On'.
4 Press the OK button to save.
When the channel number you want to add is already added in programme list, the massage "Setup information for the channel will be updated. Continue?" will appear.
If you want to keep on manual tuning, select YES with using the or button.
Then, press the OK button. Otherwise select NO.
Press the EXIT button to return to normal TV viewing.

1

2

3 4
PROGRAMME EDIT (IN DIGITAL MODE)
When a programme number is skipped, it means that you will be unable to select it using PR + or - button during TV viewing.
If you want to select the skipped programme, directly enter the programme number with the NUMBER buttons or select it in the Programme edit menu.
This function enables you to skip the stored programmes.
It's available in some countries only to move a programme number by YELLOW button.


Press the MENU button and then or button to select the SETUP menu.
Press the button and then or button to select Programme Edit menu.
Press the button to enter the Programme Edit menu.
Use NUMBER buttons to input a 4-digit password in Lock System 'On'.
4 Select a programme to be stored or skipped with the or or or button.
Press the BLUE button repeatedly to have the programme skipped or stored.
In case of programmes to be skipped, skipped programme shows in blue colour and these programmes will not be selected by the PR + or - buttons during TV viewing.
Press the EXIT button to return to normal TV viewing.

1

2 3
Mini Glossary

Displayed when the DTV Programme.

Displayed when the Locked Programme.

Displayed when the Radio Programme.

Displayed when the MHEG Programme.
TEXT
Displayed when the Teletext Programme.

Displayed when the Subtitle Programme.

Displayed when the Scramble Programme.

Displayed when the Dolby Programme.
■ Skipping a programme number
1 Select a programme number to be skipped with the or or or button.
Press the BLUE button. The skipped programme number turns to blue.
Press the BLUE button again to release the skipped programme.
When a programme number is skipped it means that you will be unable to select it using the PR + or - button during normal TV viewing.
If you want to select the skipped programme, directly enter the programme number with the NUMBER buttons or select it in the programme edit or EPG.
Press the EXIT button to return to TV viewing.
Locking a programme (In Lock System On mode only)
1 Select a programme to be locked with the or or or button.
Press the GREEN button. The lock mark will appear in front of that programme number.
3 Press the GREEN button again to release this function.
Note :
To watch a locked programme, input a 4-digit password in Lock system. Be sure to remember this number!
If you forgot your password, press '7', '7', '7', '7' on the remote control handset.
If you select other programme after releasing a locked programme and then return to the locked programme within 1 minute, you needn't input a password to select the locked programme.
Selecting favourite programme
1 Select your favourite programme number by pressing or or or button and then press the FAV button on your remote control handset.
It will automatically include the selected programme into your favourite programme list.
Even if there isn't a special 5V adapter power in the external antenna, this function can output 5V in the set.


Press the MENU button and then or button to select the SETUP menu.
Press the button and then use or button to
Press the button and then use or button to select On or Off.
In 5V Antenna Power On, if the set is short-circuit, it will automatically return to Off.
The message "Antenna feed overloaded. Automatically switched off." will appear.
Press the EXIT button to return to normal TV viewing.

1

2 3
SOFTWARE UPDATE (IN DIGITAL MODE ONLY)
Software Update means software can be downloaded through the digital terrestrial broadcasting system.
Press the MENU button and then or button to select the SETUP menu.
Press the button and then or button to select Software update.
3 Press the button and then or button to select Off or On.
- If you select On, a user confirm message box will be displayed to notify that new software is found.
Press the EXIT button to return to normal TV viewing.


1
- When setting "Software Update"

Occasionally, a transmission of updated digital software information will result in the following menu on the TV screen.

Select the YES using the or button and when you see the following picture.

After Software Update is completed, the System takes about one minute to restart.

2 3
- During Progress of Software Update, please note the following:
- The power of the set must not be interrupted.
- The set must not be switched off.
- The antenna must not be disconnected.
- During this time, you should not switch off the power to the set.
- At this time, you should not work power On/Off.
- After Software Update, you can confirm the updated software version in Diagnostics menu.
DIAGNOSTICS (IN DIGITAL MODE ONLY)
This function enables you to watch Manufacturer, Model/Type, Serial Number and Software Version.
It's displayed the information and signal strength of the tuned MUX.
It's displayed the signal information and service name of the selected MUX.


Press the MENU button and then or button to select the SETUP menu.
Press the button and then use or button to select Diagnostics.
Press the button to display Manufacturer, Model/Type, Serial Number and Software Version.
Press the EXIT button to return to normal TV viewing.

Auto Tuning Manual Tuning Programme Edit 5V Antenna Power Software Update Diagnostics CI Information





CI [COMMON INTERFACE] INFORMATION (IN DIGITAL MODE ONLY)
This function enables you to watch some scrambled services (pay services). If you remove the CI Module, you can't watch the pay services. When the module is inserted to CI slot, you can access the module menu. To purchase a module and smart card, contact your supplying dealer. Do not often insert or remove a CAM module from the set. It may cause a trouble. When the set turned on after inserting the CI Module, you often can't hear the sound.
There might be unnatural picture according to CI module and smart card.
![LG 32LC5 - CI [COMMON INTERFACE] INFORMATION (IN DIGITAL MODE ONLY) - 1](/content/2025/01/68841/images/8cb3ae4e103bdbfdda461e2ba01c2eaf2867538bb059442340365a8bfc455e65.jpg)
![LG 32LC5 - CI [COMMON INTERFACE] INFORMATION (IN DIGITAL MODE ONLY) - 2](/content/2025/01/68841/images/77d4e8a3684b78a7602d62bad2ed0a397adc5a396afaab6b4ca8130eef430c6a.jpg)
CI (Common Interface) function may not be applied based on country broadcasting circumstance.
Press the MENU button and then or button to select the SETUP menu.
Press the button and then or button to select CI Information.
Press the button and then OK button.
Press the or button to select the desired item: Module information, smart card information, language, or software download etc.
5 Press the OK button.
Press the EXIT button to return to normal TV viewing.
![LG 32LC5 - CI [COMMON INTERFACE] INFORMATION (IN DIGITAL MODE ONLY) - 3](/content/2025/01/68841/images/f53838c5df81b848d180576aedaa7ce19274523d2b1fe0383c64bb180ef8a590.jpg)
1
![LG 32LC5 - CI [COMMON INTERFACE] INFORMATION (IN DIGITAL MODE ONLY) - 4](/content/2025/01/68841/images/463e5d0d92de890f4a92e4b79571edba863361420e84df5929fea9af32d6736b.jpg)
45
2 3
- This OSD is only for illustration and the menu options and screen format will vary according to the Digital pay services provider.
- It's possible for you to change CI (Common Interface) menu screen and service by your dealer.
Viaccess Module
Consultations
Authorizations
Module information
Select the item
AUTO PROGRAMME TUNING (IN ANALOGUE MODE)
All stations that can be received are stored by this method. It is recommended that you use Auto tuning during installation of this set.
Press the MENU button and then or button to select the SETUP menu.
Press the button and then or button to select Auto Tuning.
Press the button to select System. Select a TV system with the or button;
L : SECAM L/L' (France)
BG : PAL B/G, SEÇAM B/G (Europe / East Europe / Asia / New Zealand / M.East / Africa / Australia)
I : PAL I/II (U.K. / Ireland / Hong Kong / South Africa)
DK: PAL D/K, SECAM D/K (East Europe / China / Africa / CIS)
4 Press the button to select Storage From.
Select the beginning programme number with the or button or NUMBER buttons on the Storage From menu.
Press the button to select Start.
The station name is stored for stations which broadcast VPS (Video Programme Service), PDC (Programme Delivery Control) or TELETEXT data.
If no station name can be assigned to a station, the channel number is assigned and stored as C (V/UHF 01-69) or S (Cable 01-47), followed by a number.
To stop auto tuning, press the MENU button.
When auto tuning is completed, the Programme Edit menu appears on the screen.
See the 'Programme Edit' section to edit the stored programme.



1

2 3 4 5
MANUAL PROGRAMME TUNING (IN ANALOGUE MODE)
Manual Tuning lets you manually tune and arrange the stations in whatever order you desire.

Press the MENU button and then or button to select the SETUP menu.
Press the button and then or button to select Manual Tuning.
3 Press the button to select Storage.
Select the desired programme number with the or button or NUMBER buttons on the Storage menu.
Press the button to select System. Select a TV system with the or button;
L : SECAM L/L' (France)
BG : PAL B/G, SEÇAM B/G (Europe / East Europe / Asia / New Zealand / M.East / Africa / Australia)
I : PAL I/II (U.K. / Ireland / Hong Kong / South Africa)
DK: PAL D/K, SECAM D/K (East Europe / China / Africa / CIS)
Press the button to select Band. Press the or button to select V/UHF or Cable as required.
Press the button to select Channel. You can select the desired channel number with the or button or NUMBER buttons.
If possible, select the channel number directly with the NUMBER buttons.
Press the button to select Search. Press the or button to commence searching. If a station is found the search will stop.
Press the OK button to store it.
To store another station, repeat steps 3 to 8.
Press the EXIT button to return to normal TV viewing.

1

2 3 4 5 6 7 8 9
FINE TUNING (IN ANALOGUE MODE)
Normally fine tuning is only necessary if reception is poor.
Press the MENU button and then or button to select the SETUP menu.
Press the button and then or button to select Manual Tuning.
Press the button and then or button to select Fine.
Press the button and then or button to fine tune for the best picture and sound.
Press the OK button to store it.
Press the EXIT button to return to normal TV viewing.
ASSIGNING A STATION NAME (IN ANALOGUE MODE)
You can assign a station name with five characters to each programme number.
Press the MENU button and then or button to select the SETUP menu.
Press the button and then or button to select Manual Tuning.
Press the button and then or button to select Name.
Press the button and then or button. You can use a the alphabet A to Z, the number 0 to 9, +/ -, and blank.
Press the or button to select the position and make your choice of the second character, and so on.
6 Press the OK button to store it.
7 Press the EXIT button to return to normal TV viewing.



1

2 3 4 5

2 3 4 5 6
PROGRAMME EDIT (IN ANALOGUE MODE)
This function enables you to delete or skip the stored programmes. Also you can move some stations to other programme numbers or copy a blank station data into the selected programme number.

Press the MENU button and then or button to select the SETUP menu.
Press the button and then or button to select Programme Edit.
Press the button to display the Programme Edit menu.
- Deleting a programme
a Select a programme to be deleted with the or or or button.
b Press the RED button twice. The selected programme is deleted, all the following programmes are shifted up one position.
■ Copying a programme
a Select a programme to be copied with the or or or button.
b Press the GREEN button. All the following programmes are shifted down one position.

1

2




■ Moving a programme
a Select a programme to be moved with or or or button.
Press the YELLOW button.
Move the programme to the desired programme number with the or or or button.
Press the YELLOW button again to release this function.
■ Skipping a programme number
a Select a programme number to be skipped with or or or button.
b Press the BLUE button. The skipped programme number turns to blue.
Press the BLUE button to release the skipped programme.
d When a programme number is skipped it means that you will be unable to select it using the PR + or - button during normal TV viewing.
If you want to select the skipped programme, directly enter the programme number with the NUMBER buttons or select it in the programme edit or table menu.
Selecting Favourite Programme
a Select your favourite programme number with or or or button.
Press the FAV button.
The selected programme will be added to the favourite programme list.
CALLING THE PROGRAMME TABLE
You can check the programmes stored in the memory by displaying the programme table.

Displaying programme LIST
Press the LIST button to display the PROGRAMME LIST menu.
The programme list appears on the screen.
- You may find some blue programmes. They have been set up to be skipped by auto programming or in the programme edit mode.
- Some programmes with the channel number shown in the programme LIST indicate there is no station name assigned.
Selecting a programme in the programme list
1 Select a programme with the or button
Press the OK button. The set switches to the chosen programme number.
Paging through a programme list
There are programme LIST pages which total contain 100 programmes. (Analogue Mode)
Press the PR + or - button repeatedly to turns the pages.
Press the LIST button to return to normal TV viewing.
Displaying favourite programme table
Press the FAV button to display the Favourite Programme table menu.


< In Analogue Mode >
Mini Glossary

Displayed when the Favourite Programme.

Displayed when the Locked Programme.
INPUT SOURCE SELECTION
Sets a label to each input source which is not in use.

Press the MENU button and then use or button to select the OPTION menu.

Press the button and then use or button to select Input Label.

Press the button and then use or button to select the source: AV1, AV2, Comp., RGB, HDMI1 or HDMI2.

Press the or button to select the label.

Press EXIT button to return to normal TV viewing.
INDEX (only 50PB6*)
You can switch FRONT DISPLAY on or off.

Press the MENU button and then use or button to select the OPTION menu.

Press the button and then use or button to select Index.

Press the button and then use or button to select On or Off.
When you select On mode, The FRONT DISPLAY illuminates brightly.

Press the EXIT button to return to normal TV viewing.










SIMPLINK FUNCTION (except 42/50PC3*)
This operates only for the devices with the SIMPLINK logo. Please check the SIMPLINK logo.
This allows you to control and play other AV devices connected to the display through HDMI cable without additional cables and settings.

If you do not want SIMPLINK menu, select "Off".
In 26/32LB7* model, SIMPLINK function is not supported by HDMI IN 3 input.
Press the MENU button and then or button to select the OPTION menu.
Press the button and then or button to select SIMPLINK.
3 Press the button and then or button to select Off or On.
4 Press the EXIT button to return to normal TV viewing.

1

2 3
SIMPLINK Functions
Disc playback
Control connected AV devices by pressing the or or OK, , , , , , , and buttons.
Direct Play
After connecting AV devices to TV, you can directly control the devices and play media without additional settings.
Select AV device
Enables you to select one of AV devices connected to TV and play it.
Power off all devices
When you power off TV, all connected devices are turned off.
Switch audio-out
Offers an easy way to switch audio-out.
- A device, which is connected to TV through HDMI cable but does not support Simplink, does not provide this function.
SIMPLINK Menu
Press the or or button and then OK button to select the desired SIMPLINK source.
TV viewing: Switch to the previous TV programme regardless of the current mode.
DISC playback : Select and play connected discs. When multiple discs are available, the titles of discs are conveniently displayed at the bottom of the screen.
VCR playback : Play and control the connected VCR.
HDD Recordings playback : Play and control recordings stored in HDD.
Audio Out to Home theatre/Audio Out to TV: Select Home theatre or TV speaker for Audio Out.


NOTE
Connect the HDMI/DVI IN or HDMI IN terminal of the TV to the rear terminal (HDMI terminal) of the SIMPLINK device with the HDMI cable.
After connecting the HDMI terminal for the home theater with SIMPLINK function in the above method, connect the DIGITAL AUDIO OUT terminal on the back of the TV to the DIGITAL AUDIO IN terminal on the back of the SIMPLINK device with the OPTICAL cable.
- When operating the external device with SIMPLINK, press the TV button among the MODE button on the remote controller.
- When you switch the Input source with the INPUT button on the remote controller, you can stop the operation of device controlled by SIMPLINK.
When you select or operate the media device with home theater function, the speaker automatically switches to home theater speaker (HT speaker).
EPG (ELECTRONIC PROGRAMME GUIDE) (IN DIGITAL MODE)
This system has an Electronic Programme Guide (EPG) to help your navigation through all the possible viewing options.
The EPG supplies information such as programme listings, start and end times for all available services. In addition, detailed information about the programme is often available in the EPG (the availability and amount of these programme details will vary, depending on the particular broadcaster).
This function can be used only when the EPG information is broadcasted by broadcasting companies.
The EPG displays the programme description for next 8 days.
Switch on/off EPG
Press the GUIDE button to switch on EPG.
Press the GUIDE or EXIT button again to switch off EPG and return to normal TV viewing.
Select a programme
Press the or , or , PR + or - button to select desired programme, then press the OK button to display the selected programme.

Button Function in NOW/NEXT Guide Mode
| Remote Control Buttons | Function |
| RED | Change EPG mode |
| YELLOW | Enter Timer Record/Remind setting mode |
| BLUE | Enter Timer Record/Remind list mode |
| ◎ | Change to the selected channel |
| ▲ or ▲ | Select NOW or NEXT Programme |
| ▲ or▼ | Select the Broadcasting Programme |
| PR + or - | Page Up/Down |
| GUIDE/EXIT | Switch off EPG |
| TV/RADIO | Select TV or RADIO Programme |
| INFO ① | The detail information on or off |

Button Function in 8 Days Guide Mode
| Remote Control Buttons | Function |
| RED | Change EPG mode |
| GREEN | Enter Date setting mode |
| YELLOW | Enter Timer Record/Remind setting mode |
| BLUE | Enter Timer Record/Remind list mode |
| ◎ | Change to the selected channel |
| ▲ or ▲ | Select NOW or NEXT Programme |
| ▲ or ▼ | Select the Broadcasting Programme |
| PR + or - | Page Up/Down |
| GUIDE/EXIT | Switch off EPG |
| TV/RADIO | Select TV or RADIO Programme |
| INFO ① | The detail information on or off |

Button Function in Date Change Mode
| Remote Control Buttons | Function |
| GREEN | Switch off Date setting mode |
| ◎ | Change to the selected date |
| < or > | Select a date |
| ▼ | Switch off Date setting mode |
| GUIDE/EXIT | Switch off EPG |

Button Function in Extended Description Box
| Remote Control Buttons | Function |
| ▲ or▼ | Text Up/Down |
| YELLOW | Enter Timer Record/Remind setting mode |
| INFO ① | The detail information on or off |
| GUIDE/EXIT | Switch off EPG |

Button Function in Record/Remind Setting Mode
- This function is available only when recording equipment that use pin8 recording signalling has been connected to the DTV-OUT terminal, using a SCART cable.
| Remote Control Buttons | Function |
| YELLOW | Change to Guide or Timer list mode |
| ◎ | Save Timer Record/Remind |
| ▲ or ▲ | Select Type, Service, Date or Start/End time |
| ▲ or ▼ | Function setting |

Button Function in Timer List Mode
| Remote Control Buttons | Function |
| YELLOW | Add new Manual Timer setting mode |
| GREEN | Enter Timer list editing mode |
| RED | Delete the selected item |
| BLUE | Change to Guide mode |
| ▲ or▼ | Select Timer list |

PICTURE SIZE (ASPECT RATIO) CONTROL
You can watch the screen in various picture formats; Spectacle (except 26/32LB7, 42/50PC3, 60PC4*), Full, Original, 4:3, 16:9, 14:9 and Zoom1/2.
If a fixed image is displayed on the screen for a long time, that fixed image may become imprinted on the screen and remain visible.


There might be uncomfortable in full mode. Then change into other mode.
You can adjust the enlarge proportion using or button.
This function works in the following signal.
Press the RATIO button repeatedly to select the desired picture format. You can also adjust Aspect Ratio in the SCREEN menu.
- Spectacle (except 26/32LB7, 42/50PC3, 60PC4*) When your TV receives the wide screen signal, when selected it will adjust the picture horizontally, in non-linear proportion, to fill the entire screen.

- Full
- When your TV receives the wide screen signal, when selected it will adjust the picture horizontally or vertically, in a linear proportion, to fill the entire screen fully.

- Original
When your TV receives the wide screen signal, it will be automatically changed to the picture format to be sent.

4:3
Following selection will lead you to view a picture with an original 4:3 aspect ratio, with gray bars appearing at both the left and right sides..

16:9
Following selection will lead you to adjust the picture horizontally, in a linear proportion, to fill the entire screen (useful for viewing 4:3 formatted DVDs).

14:9
You can enjoy the picture format of 14:9 or general TV programme through the 14:9 mode. The screen 14:9 is viewed just like that the screen 4:3 is magnified to the left / right.

- Zoom1
Following selection will lead you to view the picture without any alternation, while filling the entire screen. However, the top and bottom portions of the picture will be cropped.

- Zoom2
Choose Zoom2 when you want the picture to be altered, both horizontally extended and vertically cropped. The picture taking a halfway trade off between alteration and screen coverage.

NOTE
▶ You can only select 4:3, 16:9 (Wide), Zoom 1/2 in Component, HDMI mode.
You can only select 4:3, 16:9 (Wide) in RGB mode only.
PRESET PICTURE SETTINGS
Picture Mode-Preset
Dynamic Select this option to display with a sharp image.
Standard The most general and natural screen display status.
Mild Select this option to display with a mild image.
User 1/2 Select this option to use the user-defined setting.


Press the MENU button and then or button to select the PICTURE menu.
Press the button and then or button to select Picture Mode.
Press the button and then or button to select Intelligent Eye (only 26/32LB7*), Dynamic, Standard, Mild, User 1, or User 2.
Press the EXIT button to return to normal TV viewing.
Picture Mode adjusts the set for the best picture appearance. Select the preset value in the Picture Mode menu based on the programme category.
Dynamic, Standard and Mild are programmed for optimum picture reproduction at the factory and cannot be changed.

1

2 3
Auto Colour Tone Control (Warm/Medium/Cool)
To initialize values (reset to default settings), select the Cool option.
Choose one of three automatic colour adjustments. Set to warm to enhance hotter colours such as red, or set to cool to see less intense colours with more blue.
It's available to use this function in User mode.

Press the MENU button and then or button to select the PICTURE menu.

Press the button and then or button to select Colour Temperature.

Press the button and then or button to select either Cool, Medium, Warm, or User.

Press the EXIT button to return to normal TV viewing.





MANUAL PICTURE ADJUSTMENT
Picture Mode-User option
Contrast Adjusts the difference between the light and dark levels in the picture.
Brightness Increases or decreases amount of white in the your picture.
Colour Adjusts intensity of all colours.
Sharpness Adjusts the level of crispness in the edges between the light and dark areas of the picture. The lower the level, the softer the image.
Tint Adjusts the balance between red and green levels.
Press the MENU button and then or button to select the PICTURE menu.
Press the button and then or button to select Picture Mode.
3 Press the button and then or button to select User 1 or User 2.
Press the button and then or button to select the desired picture option (Contrast, Brightness, Colour, Sharpness and Tint).
Press the or button to make appropriate adjustments.
Press the EXIT button to return to normal TV viewing.

NOTE
- You can't adjust colour, sharpness and tint in the RGB-PC mode to the levels you prefer.



1

2 3

45
Colour Tone - User option
To adjust red, green, blue to any colour temperature you prefer.

Press the MENU button and then or button to select the PICTURE menu.
Press the button and then or button to select Colour Temperature.
3 Press the button and then or button to select User.
4 Press the button and then or button to select Red, Green or Blue.
5 Press the or button to make appropriate adjustments.
Press the EXIT button to return to normal TV viewing.

1

2 3

45
XD - PICTURE IMPROVEMENT TECHNOLOGY
XD is LG electronic's unique picture improving technology to display a real HD source through an advanced digital signal processing algorithm.
It's not available to use this function in RGB-PC mode.
Press the MENU button and then or button to select the PICTURE menu.
Press the button and then or button to select XD.
Press the button and then or button to select Auto or Manual.
Press the EXIT button to return to normal TV viewing.
* Selecting the Manual
This menu is activated after selecting the User1 or User2 of Picture Mode.
Press the button and then or button to select XD Contrast, XD Colour, XD NR or MPEG NR.
Press the button and then or button to select On or Off.
Press the EXIT button to return to normal TV viewing.
XD Contrast : Optimizing the contrast automatically according to the brightness of the reflection.
XD Colour : Adjusting the colours of the reflection automatically to reproduce as closely as possible to the natural colors.
XD NR: Removing the noise up to the point where it does not damage the original picture.
■ MPEG NR: To reduce the picture noise which may appear on the screen during watching the TV.



1

2

3
XO DEMO
Use it to see the difference between XD Demo on and XD Demo off.
It's not available to use this function in RGB[PC], HDMI[PC] mode.

Press the MENU button and then or button to select the PICTURE menu.
Press the MENU button and then or button to select XD Demo.
Press the button to begin XD Demo.
4 To stop XD Demo, press the MENU or EXIT button.

1

2 3

- XD Demo
ADVANCED - CINEMA
Set up the TV for the best picture appearance for viewing movies.
This feature operates only in DTV, AV, S-Video and Component 480i/576i mode.


Press the MENU button and then or button to select the PICTURE menu.
Press the button and then or button to select Advanced.
Press the button and then or button to select Cinema.
4 Press the or button to select On or Off.
Press the EXIT button to return to normal TV viewing.

1

2

3
When you watch the movie, this function adjusts the set to the best picture appearance. Adjusting the contrast and the brightness of the screen using the black level of the screen.
This function works in the following mode: AV (NTSC-M), S-Video (NTSC-M) or HDMI.


Press the MENU button and then or button to select the PICTURE menu.
Press the button and then or button to select Advanced.
3 Press the button and then or button to select Black Level.
Press the or button to select Low or High.
Low : The reflection of the screen gets darker.
■ High : The reflection of the screen gets brighter.
5

1

2

3 4
PICTURE RESET
Returns to the default settings Picture Mode, Colour Temperature, XD, Advanced at the factory.


Press the MENU button and then or button to select the PICTURE menu.
Press the button and then or button to select Picture Reset.
Press the button to initialize the adjusted value.

1

2 3
IMAGE STICKING MINIMIZATION (ISM) METHOD
A frozen of still picture from a PC/video game displayed on the screen for prolonged periods will result in a ghost image remaining even when you change the image. Avoid allowing a fixed image to remain on the set's screen for a long period of time.
It's not available to use this function in LCD models.
White wash
White wash removes permanent images from the screen.
Note: An excessive permanent image may be impossible to clear entirely with White Wash.
Orbiter
Orbiter may help prevent ghost images. However, it is best not to allow any fixed image to remain on the screen. To avoid a permanent image on the screen, the screen will move every 2 minutes.
Inversion
This is the function to invert the panel colour of the screen. The panel colour is automatically inverted every 30 minutes.

Press the MENU button and then or button to select the OPTION menu.

Press the button and then or button to select Factory Mode.

Press the button and then or button to select ISM Method.

Press the or button to select either Normal, White wash, Orbiter or Inversion. If you unnecessary to set this function, set Normal.

Press the EXIT button to return to normal TV viewing.


1

2

3 4
LOW-POWER PICTURE MODE
This is the function to reduce the power consumption of the set.
It's not available to use this function in LCD TV models.


Press the MENU button and then or button to select the OPTION menu.
Press the button and then or button to select Factory Mode.
3 Press the button and then or button to select Low power.
4 Press the or button to select Off or On.
Press the EXIT button to return to normal TV viewing.


1

2

3 4
SOUND & LANGUAGE CONTROL
AUTO VOLUME LEVELER
AVL automatically keeps on an equal volume level even if you change programmes.

Press the MENU button and then or button to select the AUDIO menu.
Press the button and then or button to select Auto Volume.
3 Press the button and then or button to select Off or On.
Press the EXIT button to return to normal TV viewing.

1

2 3
You can select your preferred sound setting; Surround MAX, Standard, Music, Movie or Sports and you can also adjust the sound frequency of the equalizer.
Sound Mode lets you enjoy the best sound without any Special adjustment because the TV sets the appropriate sound options based on the programme content.
Surround MAX, Standard, Music, Movie, and Sports are preset for good sound quality at the factory and are not adjustable.
Surround MAX Select this option to sound realistic.
Standard The most commanding and natural audio.
Music Select this option to enjoy the original sound when listening to the music.
Movie Select this option to enjoy sublime sound.
Sports Select this option to watch sports broadcasting.
User Select this option to use the user-defined audio settings.
Press the MENU button and then or button to select the AUDIO menu.
Press the button and then or button to select Sound Mode.
Press the button and then or button to select Surround MAX, Standard, Music, Movie, Sports or User.
Press the EXIT button to return to normal TV viewing.



1

2 3
SOUND SETTING ADJUSTMENT -USER MODE
Adjust the sound equalizer.
Press the MENU button and then or button to select the AUDIO menu.
Press the button and then or button to select Sound Mode.
3 Press the button and then or button to select User.
4 Press the button.
5 Select a sound band by pressing the or button. Make appropriate sound level with the or button.
Press the EXIT button to return to normal TV viewing.



1

2 3

45
BALANCE
You can adjust the sound balance of speaker to the levels you prefer.


Press the MENU button and then or button to select the AUDIO menu.
Press the button and then or button to select Balance.
Press the button and then or button to make desired adjustment.
Press the EXIT button to return to normal TV viewing.

1

2 3
You can adjust the internal speaker status.
In AV1, AV2, AV3, COMPONENT, RGB and HDMI1 with HDMI to DVI cable, TV speaker and/or variable audio can be outputted even though there is no video signal.
If you want to use your external hi-fi stereo system, turn off the internal speakers of the set.


Press the MENU button and then or button to select the AUDIO menu.
Press the button and then or button to select TV Speaker.
3 Press the button and then or button to select Off or On.
Press the EXIT button to return to normal TV viewing.

1

2 3
SELECTING DIGITAL AUDIO OUT
This function lets you select your preferred Digital Audio Output. The set can output Dolby Digital in a channel only which broadcast Dolby Digital Audio.
When it's applied the Dolby Digital format, if you select Dolby Digital on Digital audio out menu, SPDIF Output will be outputted Dolby Digital.
Even if it's selected Dolby Digital, when it doesn't apply Dolby Digital format, SPDIF Output will be outputted PCM. Even if both Dolby Digital and Audio language have been set in a channel which broadcast Dolby Digital Audio, only Dolby Digital will be played.

Manufactured under license from Dolby Laboratories. "Dolby "and the double-D symbol are trademarks of Dolby Laboratories.
Press the MENU button and then or button to select the AUDIO menu.
Press the button and then or button to select Digital Audio Out.
Press the button and then or button to select Dolby Digital or PCM.
Press the EXIT button to return to normal TV viewing.






1/11
Stereo/Dual Reception (In Analogue Mode Only)
When a programme is selected, the sound information for the station appears after the programme number and station name disappear.
| Broadcast | On Screen Display |
| Mono | MONO |
| Stereo | STEREO |
| Dual | DUAL I |
Mono sound selection
If the stereo signal is weak in stereo reception, you can switch to mono by pressing the I/II button twice. In mono reception, the depth of sound is improved. To switch back to stereo, press the I/II button twice again.
■ Language selection for dual language broadcast
If a programme received two languages (dual language), you can switch to DUAL I, DUAL II or DUAL I+II by pressing the I/II button repeatedly.
DUAL I Sends the primary broadcast language to the loudspeakers.
DUAL II Sends the secondary broadcast language to the loudspeakers.
DUAL I+II Sends a separate language to each loudspeaker.
NICAM Reception (In Analogue Mode Only)
If the set is equipped with the receiver for NICAM reception, the high quality NICAM (Near Instantaneous Companding Audio Multiplex) digital sound can be received.
Sound output can be selected according to the type of received broadcast as follows by pressing the I/II button repeatedly.
When NICAM mono is received, you can select NICAM MONO or FM MONO.
When NICAM stereo is received, you can select NICAM STEREO or FM MONO. If the stereo signal is weak, switch to FM mono.
3 When NICAM dual is received, you can select NICAM DUAL I, NICAM DUAL II or NICAM DUAL I+II or MONO.
Speaker Sound Output Selection
In AV, S-Video, Component, RGB and HDMI mode, you can select output sound for the left and right loudspeakers.
Repeatedly press the I/II button to select the sound output.
L+R: Audio signal from audio L input is sent to the left loud speaker and audio signal from audio R input is sent to the right loud speaker.
L+L: Audio signal from audio L input is sent to left and right loud speakers.
+ : Audio signal from audio R input is sent to left and right loud speakers.
ON-SCREEN MENU LANGUAGE / COUNTRY SELECTION
Installation guide menu appears on TV screen when it is turned on for the first time.

Press the or or or button and then, OK button to select your desired language.

Press the or button and then, OK button to select your country.
- If you want to change Language/ Country selection

Press the MENU button and then use or button to select the OPTION menu.

Press the button and then use or button to select Language. The menus can be shown on the screen in the selected language.
Or, Press the button and then use or button to select Country.

Press the button and then use or button to select your desired language or country.

Press the OK button.

Press the EXIT button to return to normal TV viewing.


NOTE
If you don't finish set up Installation Guide by pressing EXIT button or time out of OSD (On Screen Display) display, it will continuously appear until completing set up whenever the set is turned on.
If you select wrong local country, the teletext may not appear correctly on the screen and some problem may happen during teletext operation.
- CI (Common Interface) function may not be applied based on country broadcasting circumstance.
DTV mode control buttons may not be working based on country broadcasting circumstance.
LANGUAGE SELECTION (IN DIGITAL MODE ONLY)
Audio function lets you select your preferred language for audio. If the audio data in selected language is not broadcasted, default language audio will be played.
Use Subtitle function when two or more subtitle languages are broadcasted. If the subtitle data in selected language is not broadcasted, default language subtitle will be displayed.
Press the MENU button and then use or button to select the OPTION menu.
Press the button and then use or button to select Language.
Press the button and then use or button to select Audio, Subtitle or Subtitle Hard of hearing.
4 Press the button and then use or button to select your desired language.
Press the EXIT button to return to normal TV viewing.




NOTE
< Audio Language Selection >
When two or more audio languages are broadcasted, you can select audio language with the I/II button on the remote control.
Press the or button to select an audio language.
Press the or button to select L+R, L+L or R+R.
When two or more subtitle languages are broadcasted, you can select subtitle language with the SUBTITLE button on the remote control.
Press the or button to select a subtitle language.
Audio Language OSD Information
| Display | Status |
| N.A | Not Available |
| MPEG | MPEG Audio |
| Dolby Digital Audio | Dolby Digital Audio |
| Audio for “Visual Impaired” | |
| ABC | Audio for “Hearing Impaired” |
Subtitle Language OSD Information
| Display | Status |
| N.A | Not Available |
| TEXT | Teletext Subtitle |
| ABC | Subtitle for “Hard of Hearing” |
- The audio/subtitle can be displayed simpler form with 1 to 3 characters which is broadcast by service provider.
- When you select supplementary Audio (Audio for "Visual/Hearing Impaired") it may speak out a part of Main audio.
CLOCK SETUP
The clock is set automatically when receiving the digital signal. (You can set the clock if the TV has no DTV signal.)
You must set to the time correctly before using on/off time function.

Press the MENU button and then or button to select the TIME menu.
Press the button and then or button to select Clock.
3 Press the button and then or button to select either the year, date, or time option.
Once selected, use the or button to set the year, date, and time options.
Press the EXIT button to return to normal TV viewing.

1

2 3
AUTO ON/OFF TIMER SETTING
The Off time automatically switches the set to standby at the preset time.
Two hours after the set is switched on by the on time function it will automatically switch back to standby mode unless a button has been pressed.
Once the on time/off time is set, these functions operate daily at the preset time.
Off time function overrides On timer function if they are set both to the same time.
The set must be in standby mode for the On timer to work.


Press the MENU button and then or button to select the TIME menu.
Press the button and then or button to select Off Time/On Time.
3 Press the button and then or button to select On.
- To cancel On/Off Time function, select Off.
4 Press the button and then or button to set the hour.
Press the button and then or button to set the minutes.
For only On time function
- Programme: Press the button and then or button to select TV, DTV or Radio in the Mode menu. And then, Press the button and then or button to select the programme.
Volume: Press the button and then or button to adjust volume level at turn-on.
7 Press the EXIT button to return to normal TV viewing.

1

2 3 4 5 6
AUTO SHUT-OFF SETTING
If set to on and there is no input signal, the set turns off automatically after 10 minutes.

Press the MENU button and then or button to select the TIME menu.
Press the button and then or button to select Auto Sleep.
3 Press the button and then or button to select Off or On.
Press the EXIT button to return to normal TV viewing.

1

2 3
TIME ZONE SETUP
When you select a Time Zone city, TV time is set by the time offset information based on Time Zone and GMT (Greenwich Mean Time) information which is received to broadcasting signal when time is set automatically by a digital signal.
Press the MENU button and then or button to select the TIME menu.
Press the button and then or button to select Time Zone.
3 Press the button and then or button to select your viewing area time zone.
Press the EXIT button to return to normal TV viewing.



1
SLEEP TIMER SETTING
You don't have to remember to switch the set off before you go to sleep.
The sleep timer automatically switches the set to standby after the preset time has elapsed.
Press the SLEEP button repeatedly to select the number of minutes.
The display '---Min.' will appear on the screen, followed by 10, 20, 30, 60, 90, 120, 180 and 240.
b When the number of minutes you want is displayed on the screen, the timer begins to count down from the number of minutes selected.
C To view the remaining sleep time, press the SLEEP button once.
d To cancel the sleep time, repeatedly press the SLEEP button until the display · -Min.' appears.
e When you switch the set off, the set releases the preset sleep time.

2 3
SET PASSWORD & LOCK SYSTEM
If you first enter the password, press '0', '0', '0', '0' on the remote control handset.

Press the MENU button and then or button to select the OPTION menu.
Press the button and then or button to select Lock System.
3 Press the button and then or button to select On.
To set the password
Press the button and then use NUMBER buttons to input a 4-digit password.
Be sure to remember this number!
Re-enter new password for confirm.
If you forgot your password, press '7', '7', '7', '7' on the remote control handset.
Press the EXIT button to return to normal TV viewing.

1

2 3
PARENTAL CONTROL
This function operates according to information from the broadcasting station. Therefore if the signal has wrong information, this function does not operate.
Lets you set up blocking schemes to block specific channels, ratings, and external viewing sources.
A password is required to gain access to this menu.
This set is programmed to remember which option it was last set to even if you turn the set off.
Press the MENU button and then or button to select the OPTION menu.
Press the button and then or button to select Parental Control.
Then, press the button to enter the password as requested.
The TV is set up with the initial password "0-0-0-0".
Press the button and then or button to select Parental Guidance or Key Lock.
Parental Guidance (In Digital mode only)
Prevents children from watching certain adult's TV programmes, according to the ratings limit set.
Key Lock
The set can be set so that the remote control is needed to control it. This feature can be used to prevent unauthorized viewing.
Press the or button to make appropriate adjustments.
Press the EXIT button to return to normal TV viewing.




1

2 3 4
In Key Lock 'On', if the set is turned off, press the / I , INPUT, PR ▲ or▼ button on the set or POWER, INPUT, D/A TV, PR + or - or NUMBER buttons on the remote control.
With the Key Lock On, the display 'Key Lock On' appears on the screen if any button on the front panel is pressed while viewing the set.
TELETEXT
This feature is not available in all countries.
Teletext is a free service broadcast by most TV stations which gives up-to-the-minute information on news, weather, television programmes, share prices and many other topics.
The teletext decoder of this TV can support the SIMPLE, TOP and FASTEXT systems. SIMPLE (standard teletext) consists of a number of pages which are selected by directly entering the corresponding page number. TOP and FASTEXT are more modern methods allowing quick and easy selection of teletext information.
SWITCH ON/OFF
Press the TEXT button to switch to teletext. The initial page or last page appears on the screen.
Two page numbers, TV station name, date and time are displayed on the screen headline. The first page number indicates your selection, while the second shows the current page displayed.
Press the TEXT or EXIT button to switch off teletext. The previous mode reappears.
SIMPLE TEXT
Page selection
1 Enter the desired page number as a three digit number with the NUMBER buttons. If during selection you press a wrong number, you must complete the three digit number and then re-enter the correct page number.
The PR+ or - button can be used to select the preceding or following page.
TOP TEXT
The user guide displays four fields-red, green, yellow and blue at the bottom of the screen. The yellow field denotes the next group and the blue field indicates the next block.
■ Block / group / page selection
1 With the blue button you can progress from block to block.
Use the yellow button to proceed to the next group with automatic overflow to the next block.
With the green button you can proceed to the next existing page with automatic overflow to the next group. Alternatively the PR+ button can be used.
The red button permits to return to previous selection. Alternatively the PR- button can be used.
Direct page selection
Corresponding to the SIMPLE teletext mode, you can select a page by entering it as a three digit number using the NUMBER buttons in TOP mode.
FASTEXT
The teletext pages are colour coded along the bottom of the screen and are selected by pressing the corresponding coloured button.
Page selection
1 Press the button to select the index page.
2 You can select the pages which are colour coded along the bottom line with the same coloured buttons.
Corresponding to the SIMPLE teletext mode, you can select a page by entering its three digit page number with the NUMBER buttons in FASTEXT mode.
4 The PR+ or - button can be used to select the preceding or following page.
SPECIAL TELETEXT FUNCTIONS

REVEAL
Press this button to display concealed information, such as solutions of riddles or puzzles.
Press this button again to remove the information from the display.

■ UPDATE
Displays the TV picture on the screen while waiting for the new teletext page. The display will appear at the top left hand corner of the screen. When the updated page is available then display will change to the page number. Press this button to view the updated teletext page.

TIME
When viewing a TV programme, press this button to display the time at the top right hand corner of the screen. Press this button again to remove the display. In the teletext mode, press this button to select a sub page number. The sub page number is displayed at the bottom of the screen. To hold or change the sub page, press the RED/GREEN, PR+ or - or NUMBER buttons.
Press again to exit this function.

HOLD
Stops the automatic page change which will occur if a teletext page consists of 2 or more sub pages. The number of sub pages and the sub page displayed is, usually, shown on the screen below the time. When this button is pressed the stop symbol is displayed at the top left-hand corner of the screen and the automatic page change is inhibited. To continue press this button again.
DIGITAL TELETEXT
*This function works in UK only.
The set gives you access to a digital teletext which is greatly improved in various aspects such as text, graphics and so on.
This digital teletext can be accessed by special digital teletext services and specific services which broadcast digital teletext.
You should select off from the subtitle language to display teletext by pressing SUBTITLE button.
TELETEXT WITHIN DIGITAL SERVICE
Press the numeric or PR + or - button to select a digital service which broadcasts digital teletext.
To know which are digital teletext services, refer to the EPG service list.
2 Follow the indications on digital teletext and move onto the next step by pressing TEXT, OK, or , or , RED, GREEN, YELLOW, BLUE or NUMBER buttons and so on.
3 To change digital teletext service, just select a different service by the numeric or PR + or - button.
If pressing the MENU, GUIDE or INFO ① button, the teletext service disappear temporarily. When pressing these buttons again, the teletext service is appeared.

TELETEXT IN DIGITAL SERVICE
Press the numeric or PR + or - button to select a certain service which broadcasts digital teletext.
Press the TEXT or colour button to switch on teletext.
3 Follow the indications on digital teletext and move onto the next step by pressing OK, ▲ or ▼, ▲ or ▷, RED, GREEN, YELLOW, BLUE or NUMBER buttons and so on.
Press the TEXT or colour button to switch off digital teletext and return to TV viewing.
Some services may allow you to access text services by pressing the RED button.
If pressing the MENU, GUIDE or INFO ① button, the teletext service disappear temporarily. When pressing these buttons again, the teletext service is appeared.

TROUBLESHOOTING
The operation does not work normally.
| The remote control doesn’t work | ■ Check to see if there is any object between the product and the remote control causing obstruction. Ensure you are pointing the remote control directly at the TV. ■ Ensure that the batteries are installed with correct polarity (+ to +, - to -). ■ Ensure that the correct remote operating mode is set: TV, VCR etc. ■ Install new batteries. |
| Power is suddenly turned off | ■ Is the sleep timer set? ■ Check the power control settings. Power interrupted. ■ No broadcast on station tuned with Auto sleep activated. |
The video function does not work.
| No picture &No sound | ■ Check whether the product is turned on. ■ Try another channel. The problem may be with the broadcast. ■ Is the power cord inserted into wall power outlet? ■ Check your antenna direction and/or location. ■ Test the wall power outlet, plug another product's power cord into the outlet where the product's power cord was plugged in. |
| Picture appears slowly after switching on | ■ This is normal, the image is muted during the product startup process. Please contact your service centre, if the picture has not appeared after five minutes. |
| No or poor colour or poor picture | ■ Adjust Colour in menu option. ■ Keep a sufficient distance between the product and the VCR. ■ Try another channel. The problem may be with the broadcast. ■ Are the video cables installed properly? ■ Activate any function to restore the brightness of the picture. |
| Horizontal/vertical bars or picture shaking | ■ Check for local interference such as an electrical appliance or power tool. |
| Poor reception on some channels | ■ Station or cable product experiencing problems, tune to another station. ■ Station signal is weak, reorient antenna to receive weaker station. ■ Check for sources of possible interference. |
| Lines or streaks in pictures | ■ Check antenna (Change the direction of the antenna). |
The audio function does not work.
Picture OK & No sound
Press the VOL + or - button.
Sound muted? Press MUTE button.
Try another channel. The problem may be with the broadcast.
Are the audio cables installed properly?
Adjust Balance in menu option.
A change in ambient humidity or temperature may result in an unusual noise when the product is turned on or off and does not indicate a fault with the product.
No output from one of the speakers
Unusual sound from inside the product
There is a problem in PC mode. (Only PC mode applied)
The signal is out of range (Invalid format)
Adjust resolution, horizontal frequency, or vertical frequency.
Check the input source.
Vertical bar or stripe on background & Horizontal Noise & Incorrect position
■ Work the Auto configure or adjust clock, phase, or H/V position. (Option)
Screen colour is unstable or single colour
Check the signal cable.
Reinstall the PC video card.
MAINTENANCE
Early malfunctions can be prevented. Careful and regular cleaning can extend the amount of time you can enjoy your new TV.
Caution: Be sure to turn the power off and unplug the power cord before you begin any cleaning.
Cleaning the Screen
Here's a great way to keep the dust off your screen for a while. Wet a soft cloth in a mixture of lukewarm water and a little fabric softener or dish washing detergent. Wring the cloth until it's almost dry, and then use it to wipe the screen.
2 Make sure the excess water is off the screen, and then let it air-dry before you turn on your TV.
Cleaning the Cabinet
To remove dirt or dust, wipe the cabinet with a soft, dry, lint-free cloth.
Please be sure not to use a wet cloth.
Extended Absence

CAUTION
If you expect to leave your TV dormant for a long time (such as a vacation), it's a good idea to unplug the power cord to protect against possible damage from lightning or power surges.
PRODUCT SPECIFICATIONS
| MODELS | 26LC4* | 32LC4* | 37LC4* | 42LC4* | |
| 26LC45-ZA | 32LC45-ZA | 37LC45-ZA | 42LC45-ZA | ||
| 26LC46-ZC | 32LC46-ZC | 37LC46-ZC | 42LC46-ZC | ||
| Dimensions (Width x Height x Depth) | with stand | 676.4 x 529.2x 221.0 mm | 806.8 x 605.6 x 249.0 mm | 926.6 x 697.6x 280.4mm | 1032.7 x 750.0 x 2876 mm |
| 26.6 x 20.8 x 8.7 inches | 31.8 x 23.9 x 9.8 inches | 36.5x 27.5 x 11.0 inches | 40.7x 29.5 x 11.3 inches | ||
| without stand | 676.4 x 474.5 x 85.0 mm | 806.8 x 548.6 x 79.0 mm | 926.6 x 635.6 x 88.0mm | 1032.7 x 685.5 x 88.5 mm | |
| 26.6 x 18.7 x 3.3 inches | 31.8 x 21.6x 3.1 inches | 36.5x 25.0 x 3.5 inches | 40.7 x 270 x 3.5 inches | ||
| Weight | with stand | 10.04kg / 22.1 lbs | 13.8 kg / 30.5 lbs | 20.0 kg / 44.1 lbs | 24.5 kg / 54.0 lbs |
| without stand | 9.04kg / 19.9 lbs | 10.7 kg / 23.6 lbs | 16.3 kg / 35.9 lbs | 20 kg / 44.1 lbs | |
| Power requirement | AC100-240V~ 50/60Hz 1.3A | AC100-240V~ 50/60Hz 1.5A | AC100-240V~ 50/60Hz 1.8A | AC100-240V~ 50/60Hz 2.3A | |
| Power Consumption | 130W | 150W | 180W | 230W | |
| MODELS | 26LC5* | 32LC5* | 37LC5* | 42LC5* | |
| 26LC55-ZA | 32LC55-ZA | 37LC55-ZA | 42LC55-ZA | ||
| Dimensions (Width x Height x Depth) | with stand | 676.4 x 529.2x 221.0 mm | 806.6 x 606.5 x 249.0 mm | 927.0 x 692.8x 280.5mm | 1033.1 x 749.5 x 2876 mm |
| 26.7 x 20.9 x 8.7 inches | 31.8 x 23.9 x 9.8 inches | 36.5x 27.3 x 11.1 inches | 40.7x 29.5 x 11.3 inches | ||
| without stand | 676.4 x 478.7 x 84.0 mm | 806.6 x 552.3 x 79 mm | 927.0 x 630.0 x 88.0mm | 1033.4 x 686.8 x 88.5mm | |
| 26.7 x 18.9 x 3.3 inches | 31.8 x 21.8x 3.1 inches | 36.5x 24.8 x 3.5 inches | 40.7 x 270x 3.5inches | ||
| Weight | with stand | 10.04kg / 22.2 lbs | 14.1kg / 31.1 lbs | 20.0 kg / 44.1 lbs | 24.5 kg / 54.1 lbs |
| without stand | 8.62kg / 19.0 lbs | 11.2kg / 24.7 lbs | 16.0 kg / 35.3 lbs | 20.4 kg / 45.0 lbs | |
| Power requirement | AC100-240V~ 50/60Hz 1.3A | AC100-240V~ 50/60Hz 1.5A | AC100-240V~ 50/60Hz 1.8A | AC100-240V~ 50/60Hz 2.3A A | |
| Power Consumption | 130W | 150W | 180W | 230W | |
| Television System | PAL/SECAM B/G/D/K, PAL I/II, SECAM L/L' | ||||
| Program Coverage | VHF: E2 ~ E12, UHF: E21 ~ E69, CATV: S1 ~ S20, HYPER: S21 ~ S47 | ||||
| External Antenna Impedance | 75 Ω | ||||
| Environment condition | Operating Temperature | 0 ~ 40°C / 32 ~ 104°F | |||
| Operating Humidity | Less than 80% | ||||
| Storage Temperature | -20 ~ 60°C / -4 ~ 140°F | ||||
| Storage Humidity | Less than 85% | ||||
The specifications shown above may be changed without prior notice for quality improvement.
| MODELS | 26LB7* | 32LB7* | 42PC3* | 50PC3* | |
| 26LB75-ZE | 32LB75-ZB | 42PC35-ZC | 50PC35-ZC | ||
| Dimensions (Width x Height x Depth) | with stand | 671.8x539.8x254.2 mm | 805.8x619.7x283.9 mm | 1129.0 x 748.5 x 333.6 mm | 1302.6 x 872 x 355.8 mm |
| 26.4x21.2x10 inches | 31.7x24.4x11.2 inches | 44.4 x 29.5 x 13.1 inches | 51.3 x 34.3 x 14 inches | ||
| without stand | 671.8x476.1x85 mm | 805.8x554.1x79.0 mm | 1129.0 x 695.0 x 103.7 mm | 1302.6 x 810x 107.7 mm | |
| 26.4x18.7x3.3 inches | 31.7x21.8x3.1 inches | 44.4 x 27.4 x 4.1 inches | 51.3 x 31.9 x 4.2 inches | ||
| Weight | with stand | 14 kg / 30.9 lbs | 14.8 kg / 32.6 lbs | 31.5 kg / 69.4 lbs | 51.9 kg / 114.4 lbs |
| without stand | 11 kg / 24.3 lbs | 12.6 kg / 27.8 lbs | 24.2 kg / 53.3 lbs | 43.1 kg / 95 lbs | |
| Power requirement | AC100-240V~ 50/60Hz 1.3A | AC100-240V~ 50/60Hz 1.5A | AC100-240V~ 50/60Hz 3.5A | AC100-240V~ 50/60Hz 4.5A | |
| Power Consumption | 130W | 150W | 330W | 450W | |
| MODELS | 42PC5* | 50PC5* | 50PB6* | 60PC4* | |
| 42PC55-ZB | 50PC55-ZB | 50PB65-ZA | 60PC45-ZB | ||
| 42PC56-ZD | 50PC56-ZD | ||||
| Dimensions (Width x Height x Depth) | with stand | 1048.0 x 766.0 x 310.0 mm | 1242.0 x 887.6 x 370.0mm | 1359.9 x 889.2 x 369.8 mm | 1548 x 1061 x 448 mm |
| 41.3 x 30.2 x 12.2 inches | 48.9 x 34.9 x 14.6 inches | 53.6 x 35.1 x 14.6 inches | 60.9 x 41.8 x 17.6 inches | ||
| without stand | 1048.0 x 713.0 x 83.5 mm | 1242.0 x 827.2 x 88.0 mm | 1359.9 x 822.5 x 89.5 mm | 1548 x 988 x 98.5 mm | |
| 41.3 x 28.1 x 3.3 inches | 48.9 x 32.6 x 3.5 inches | 53.6 x 32.4 x 3.6 inches | 60.9 x 38.9 x 3.9 inches | ||
| Weight | with stand | 28.0 kg / 61.7 lbs | 39.3 kg / 86.6 lbs | 48.0 kg / 105.9 lbs | 72.5 kg / 159.8 lbs |
| without stand | 24.6kg / 54.2 lbs | 34.6kg / 76.2 lbs | 39.1 kg / 86.2 lbs | 60.0 kg / 132.2 lbs | |
| Power requirement | AC100-240V~ 50/60Hz 3.5A | AC100-240V~ 50/60Hz 5.0A | AC100-240V~ 50/60Hz 5.0A | AC100-240V~ 50/60Hz 5.8A | |
| Power Consumption | 310W | 450W | 450W | 580W | |
| Television System | PAL/SECAM B/G/D/K, PAL I/II, SECAM L/L' | ||||
| Program Coverage | VHF: E2 ~ E12, UHF: E21 ~ E69, CATV: S1 ~ S20, HYPER: S21 ~ S47 | ||||
| External Antenna Impedance | 75 Ω | ||||
| Environment condition | Operating Temperature | 0 ~ 40°C / 32 ~ 104°F | |||
| Operating Humidity | Less than 80% | ||||
| Storage Temperature | -20 ~ 60°C / -4 ~ 140°F | ||||
| Storage Humidity | Less than 85% | ||||
The specifications shown above may be changed without prior notice for quality improvement.
PROGRAMMING THE REMOTE CONTROL
The remote is a multi-brand or a universal remote. It can be programmed to operate most remote-controllable devices of other manufacturers.
Note that the remote may not control all models of other brands.
Programming a code into a remote mode
Test your remote control.
To find out whether your remote control can operate the component without programming, turn on the component such as a VCR and press the corresponding mode button (such as a DVD or VCR) on the remote control, while pointing at the component. Test the POWER and PR + / - buttons to see if the component responds properly. If not, the remote requires programming to operate the device.
Turn on the component to be programmed, then press the corresponding mode button (such as a DVD or VCR) on the remote control. The remote control button of desired device is lighted.
Press the MENU and MUTE buttons simultaneously, the remote control is ready to be programmed for the code.
4 Enter a code number using the number buttons on the remote control. Programming code numbers for the corresponding component can be found on the following pages. Again, if the code is correct, the device will turn off.
Press the MENU button to store the code.
Test the remote control functions to see if the component responds properly. If not, repeat from step 2.
PROGRAMMING CODE
DVD
| Brand | Codes | Brand | Codes | Brand | Codes | |||||||
| APEX DIGITAL | 022 | MITSUBISHI | 002 | RCA | 005 | 006 | ||||||
| DENON | 020 | 014 | NAD | 023 | SAMSUNG | 011 | 015 | |||||
| GE | 005 | 006 | ONKYO | 008 | 017 | SONY | 007 | |||||
| HARMAN KARDON | 027 | PANASONIC | 003 | 009 | THOMPSON | 005 | 006 | |||||
| JVC | 012 | PHILIPS | 013 | TOSHIBA | 019 | 008 | ||||||
| LG | 001 | 010 | 016 | 025 | PIONEER | 004 | 026 | YAMAHA | 009 | 018 | ||
| MAGNAVOX | 013 | PROCEED | 021 | ZENITH | 010 | 016 | 025 | |||||
| MARANTZ | 024 | PROSCAN | 005 | 006 | ||||||||
VCR
| Brand | Codes | Brand | Codes | Brand | Codes | |||||||||
| AIWA | 034 | MAGNAVOX | 031 | 033 | 034 | 041 | SAMSUNG | 032 | 040 | 102 | 104 | |||
| AKAI | 016 | 043 | 046 | 124 | 067 | 068 | 105 | 107 | 109 | 112 | ||||
| 125 | 146 | MARANTZ | 012 | 031 | 033 | 067 | 113 | 115 | 120 | 122 | ||||
| AMPRO | 072 | 069 | 125 | |||||||||||
| ANAM | 031 | 033 | 103 | MARTA | 101 | SANSUI | 022 | 043 | 048 | 135 | ||||
| AUDIO DYNAMICS | 012 | 023 | 039 | 043 | MATSUI | 027 | 030 | SANYO | 003 | 007 | 010 | 014 | ||
| BROKSONIC | 035 | 037 | 129 | MEI | 031 | 033 | 102 | 134 | ||||||
| CANON | 028 | 031 | 033 | MEMOREX | 003 | 010 | 014 | 031 | SCOTT | 017 | 037 | 112 | 129 | |
| CAPEHART | 108 | 033 | 034 | 053 | 072 | 131 | ||||||||
| CRAIG | 003 | 040 | 135 | 101 | 102 | 134 | 139 | SEARS | 003 | 008 | 009 | 010 | ||
| CURTIS MATHES | 031 | 033 | 041 | MGA | 045 | 046 | 059 | 013 | 014 | 017 | 020 | |||
| DAEWOO | 005 | 007 | 010 | 064 | MINOLTA | 013 | 020 | 031 | 042 | 073 | 081 | |||
| 065 | 108 | 110 | 111 | MITSUBISHI | 013 | 020 | 045 | 046 | 101 | |||||
| 112 | 116 | 117 | 119 | 049 | 051 | 059 | 061 | SHARP | 031 | 054 | 149 | |||
| DAYTRON | 108 | 151 | SHINTOM | 024 | ||||||||||
| DBX | 012 | 023 | 039 | 043 | MTC | 034 | 040 | SONY | 003 | 009 | 031 | 052 | ||
| DYNATECH | 034 | 053 | MULTITECH | 024 | 034 | 056 | 057 | 058 | 076 | |||||
| ELECTROHOME | 059 | NEC | 012 | 023 | 039 | 043 | 077 | 078 | 149 | |||||
| EMERSON | 006 | 017 | 025 | 027 | 048 | SOUNDESIGN | 034 | |||||||
| 029 | 031 | 034 | 035 | NORDMENDE | 043 | STS | 013 | |||||||
| 036 | 037 | 046 | 101 | OPTONICA | 053 | 054 | SYLVANIA | 031 | 033 | 034 | 059 | |||
| 129 | 131 | 138 | 153 | PANASONIC | 066 | 070 | 074 | 083 | 067 | |||||
| FISHER | 003 | 008 | 009 | 010 | 133 | 140 | 145 | SYMPHONIC | 034 | |||||
| FUNAI | 034 | TANDY | 010 | 034 | ||||||||||
| GE | 031 | 033 | 063 | 072 | PENTAX | 013 | 020 | 031 | 033 | TATUNG | 039 | 043 | ||
| 107 | 109 | 144 | 147 | 063 | TEAC | 034 | 039 | 043 | ||||||
| GO VIDEO | 132 | 136 | PHILCO | 031 | 034 | 067 | TECHNICS | 031 | 033 | 070 | ||||
| HARMAN KARDON | 012 | 045 | PHILIPS | 031 | 033 | 034 | 054 | TEKNIKA | 019 | 031 | 033 | 034 | ||
| HITACHI | 004 | 018 | 026 | 034 | 067 | 071 | 101 | 101 | ||||||
| 043 | 063 | 137 | 150 | PILOT | 101 | THOMAS | 034 | |||||||
| INSTANTREPLAY | 031 | 033 | PIONEER | 013 | 021 | 048 | TMK | 006 | ||||||
| JCL | 031 | 033 | PORTLAND | 108 | TOSHIBA | 008 | 013 | 042 | 047 | |||||
| JCPENNY | 012 | 013 | 015 | 033 | PULSAR | 072 | 059 | 082 | 112 | 131 | ||||
| 040 | 066 | 101 | QUARTZ | 011 | 014 | TOTEVISION | 040 | 101 | ||||||
| JENSEN | 043 | QUASAR | 033 | 066 | 075 | 145 | UNITECH | 040 | ||||||
| JVC | 012 | 031 | 033 | 043 | RCA | 013 | 020 | 033 | 034 | VECTOR RESEARCH | 012 | |||
| 048 | 050 | 055 | 060 | 040 | 041 | 062 | 063 | VICTOR | 048 | |||||
| 130 | 150 | 152 | 107 | 109 | 140 | 144 | VIDEO CONCEPTS | 012 | 034 | 046 | ||||
| KENWOOD | 014 | 034 | 039 | 043 | 145 | 147 | VIDEOSONIC | 040 | ||||||
| 047 | 048 | REALISTIC | 003 | 008 | 010 | 014 | WARDs | 003 | 013 | 017 | 024 | |||
| LG (GOLDSTAR) | 001 | 012 | 013 | 020 | 031 | 033 | 034 | 040 | 031 | 033 | 034 | 040 | ||
| 101 | 106 | 114 | 123 | 053 | 054 | 101 | 053 | 054 | 131 | |||||
| LLOYD | 034 | RICO | 058 | YAMAHA | 012 | 034 | 039 | 043 | ||||||
| LXI | 003 | 009 | 013 | 014 | RUNCO | 148 | ZENITH | 034 | 048 | 056 | ||||
| 017 | 034 | 101 | 106 | SALORA | 014 | 058 | 072 | 080 | 101 | |||||
| MAGIN | 040 | |||||||||||||
IR CODES
1. How to Connect
- Connect your wired remote control to the Remote Control port on the TV.
2. Remote Control IR Codes
Output waveform
Single pulse, modulated with 37.917KHz signal at 455KHz

Carrier frequency
$$ F C A R = 1 / T C = f O S C / 1 2 $$
$$ \text {D u t y r a t i o} = \mathrm {T 1 / T C} = 1 / 3 $$
Configuration of frame
1stframe

Repeat frame

Lead code

Repeat code

Bit description


Frame interval: Tf
The waveform is transmitted as long as a key is depressed.

| Code (Hexa) | Function | Note |
| 00 | PR + | R/C BUTTON |
| 01 | PR - | R/C BUTTON |
| 02 | VOL + | R/C BUTTON |
| 03 | VOL - | R/C BUTTON |
| 40 | Up (▲) | R/C BUTTON |
| 41 | Down (▼) | R/C BUTTON |
| 06 | Right (▶) | R/C BUTTON |
| 07 | Left (▲) | R/C BUTTON |
| 08 | POWER | R/C BUTTON (POWER ON/OFF) |
| 09 | MUTE | R/C BUTTON |
| 10 | Number Key 0 | R/C BUTTON |
| 11 | Number Key 1 | R/C BUTTON |
| 12 | Number Key 2 | R/C BUTTON |
| 13 | Number Key 3 | R/C BUTTON |
| 14 | Number Key 4 | R/C BUTTON |
| 15 | Number Key 5 | R/C BUTTON |
| 16 | Number Key 6 | R/C BUTTON |
| 17 | Number Key 7 | R/C BUTTON |
| 18 | Number Key 8 | R/C BUTTON |
| 19 | Number Key 9 | R/C BUTTON |
| 0B | INPUT | R/C BUTTON |
| AA | INFO (1) | R/C BUTTON |
| AB | GUIDE | R/C BUTTON |
| 56 | SUBTITLE | R/C BUTTON |
| 5B | EXIT | R/C BUTTON |
| 1E | FAV | R/C BUTTON |
| 1A | Q.VIEW | R/C BUTTON |
| 50 | D/A TV | R/C BUTTON |
| F0 | TV/RADIO | R/C BUTTON |
| 7E | SIMPLINK | R/C BUTTON |
| E0 | BRIGHT + | R/C BUTTON |
| E1 | BRIGHT - | R/C BUTTON |
| 0A | I/II | R/C BUTTON |
| 0E | SLEEP | R/C BUTTON |
| 43 | MENU | R/C BUTTON |
| 44 | OK(◎) | R/C BUTTON |
| 53 | LIST | R/C BUTTON |
| 20 | TEXT | R/C BUTTON |
| 2A | REVEAL | R/C BUTTON |
| 26 | TIME | R/C BUTTON |
| 28 | BACK | R/C BUTTON |
| 62 | UPDATE | R/C BUTTON |
| 70 | INDEX | R/C BUTTON |
| 65 | HOLD | R/C BUTTON |
| 61 | BLUE Key | R/C BUTTON |
| 63 | YELLOW Key | R/C BUTTON |
| 71 | GREEN Key | R/C BUTTON |
| 72 | RED Key | R/C BUTTON |
| 79 | RATIO | R/C BUTTON |
| B0 | ▶ | R/C BUTTON |
| BA | II | R/C BUTTON |
| B2 | I▲ | R/C BUTTON |
| B3 | ▶I | R/C BUTTON |
| 8F | ▲ | R/C BUTTON |
| 8E | ▶ | R/C BUTTON |
| B1 | ■ | R/C BUTTON |
| BD | ● | R/C BUTTON |
EXTERNAL CONTROL DEVICE SETUP
RS-232C Setup
Connect the RS-232C (serial port) input jack to an external control device (such as a computer or an A/V control system) to control the product's functions externally.
Connect the serial port of the control device to the RS-232C jack on the product back panel.
Note: RS-232C connection cables are not supplied with the product.

Type of Connector; D-Sub 9-Pin Male
| No. | Pin Name |
| 1 | No connection |
| 2 | RXD (Receive data) |
| 3 | TXD (Transmit data) |
| 4 | DTR (DTE side ready) |
| 5 | GND |
| 6 | DSR (DCE side ready) |
| 7 | RTS (Ready to send) |
| 8 | CTS (Clear to send) |
| 9 | No Connection |

RS-232C Configurations
7-Wire Configurations (Standard RS-232C cable)
| PC | TV | ||
| RXD | 2 | 3 | TXD |
| TXD | 3 | 2 | RXD |
| GND | 5 | 5 | GND |
| DTR | 4 | 6 | DSR |
| DSR | 6 | 4 | DTR |
| RTS | 7 | 8 | CTS |
| CTS | 8 | 7 | RTS |
| D-Sub 9 | D-Sub 9 |
3-Wire Configurations(Not standard)
| PC | TV | ||
| RXD | 2●3 | 3 | TXD |
| TXD | 3●2 | 2 | RXD |
| GND | 5●5 | 5 | GND |
| DTR | 46 | 6 | DTR |
| DSR | 64 | 4 | DSR |
| RTS | 77 | 7 | RTS |
| CTS | 88 | 8 | CTS |
| D-Sub 9 | D-Sub 9 |
Set ID
Use this function to specify a set ID number.
Baud rate:9600 bps (UART)
Stop bit:1bit
Data length : 8 bits
■ Communication code : ASCII code
Parity : None
Use a crossed (reverse) cable.
Command Reference List
| COMMAND 1 | COMMAND 2 | DATA (Hexadecimal) | |
| 01. Power | k | a | 0 ~ 1 |
| 02. Input Select | k | b | Refer to p. 111 |
| 03. Aspect Ratio | k | c | Refer to p. 111 |
| 04. Screen Mute | k | d | 0 ~ 1 |
| 05. Volume Mute | k | e | 0 ~ 1 |
| 06. Volume Control | k | f | 0 ~ 64 |
| 07. Contrast | k | g | 0 ~ 64 |
| 08. Brightness | k | h | 0 ~ 64 |
| 09. Colour | k | i | 0 ~ 64 |
| 10. Tint | k | j | 0 ~ 64 |
| 11. Sharpness | k | k | 0 ~ 64 |
| 12. OSD Select | k | l | 0 ~ 1 |
| 13. Remote control lock mode | k | m | 0 ~ 1 |
| 14. Balance | k | t | 0 ~ 64 |
| 15. Colour Temperature | k | u | 0 ~ 3 |
| 16. Red Adjustment | k | v | 0 ~ 50 |
| 17. Green Adjustment | k | w | 0 ~ 50 |
| 18. Blue Adjustment | k | $ | 0 ~ 50 |
| 19. Abnormal Status | k | z | 0 ~ 9 |
| 20. ISM Method | j | p | Refer to p. 113 |
| 21. Low Power | j | q | 0 ~ 1 |
| 22. Auto Configure | j | u | 1 |
| 23. Channel Select Command | m | a | Refer to p. 114 |
| 24. Send IR Code | m | c | Key Code |
| 25. Input select (Main) | x | b | Refer to p. 114 |
- When setting the 19 25 , a menu doesn't display on screen.
Transmission / Receiving Protocol
Transmission
[Command1][Command2][ ][Set ID][ ][Data][Cr]
- [Command 1] : First command to control the set. (j, k, m or x)
- [Command 2] : Second command to control the set.
-
[Set ID] : You can adjust the set ID to choose desired monitor ID number in option menu. Adjustment range is 1 ~ 99. When selecting Set ID '0', every connected the set is controlled. Set ID is indicated as decimal (1~99) on menu and as Hexa decimal (0x0~0x63) on transmission/receiving protocol.
-
[DATA] : To transmit command data. Transmit 'FF' data to read status of command.
- [Cr] : Carriage Return ASCII code '0x0D'
*[] : ASCII code 'space (0x20)'
OK Acknowledgement
[Command2][ ][Set ID][ ][OK][Data][x]
- The set transmits ACK (acknowledgement) based on this format when receiving normal data. At this time, if the data is data read mode, it indicates present status data. If the data is data write mode, it returns the data of the PC computer.
Error Acknowledgement
[Command2][ ][Set ID][ ][NG][Data][x]
- The set transmits ACK (acknowledgement) based on this format when receiving abnormal data from non-viable functions or communication errors.
Data 1: Illegal Code
2: not support function
3: Wait more time
01. Power (Command 2 : a)
To control Power On/Off of the set.
Transmission
[k][a][ ][Set ID][ ][Data][Cr]
Data 0 : Power Off
1:PowerOn
Ack
[a][ ][Set ID][ ][OK][Data][x]
To show Power On/Off.
Transmission
[k][a][ ][Set ID][ ][FF][Cr]
Ack
[a][ ][Set ID][ ][OK][Data][x]
- In like manner, if other functions transmit '0xFF' data based on this format, Acknowledgement data feed back presents status about each function.
02. Input Select (Command 2 : b)
To select input source for the set.
You can also select an input source using the INPUT button on the set's remote control.
Transmission
[k][b][ ][Set ID][ ][Data][Cr]
Data 0 : DTV
5 : Component
1:Analogue
6:RGB-PC
2:AV1
7:HDMI1
3:AV2
8:HDMI2
4:AV3
9:HDMI3
Ack
[b][ ][Set ID][ ][OK][Data][x]
03. Aspect Ratio (Command 2 : c) (Main Picture Size)
To adjust the screen format. (Main picture format)
You can also adjust the screen format using the ARC
(Aspect Ratio Control) button on remote control or in the SCREEN menu.
Transmission
[k][c][ ][Set ID][ ][Data][Cr]
Data 1: Normal screen (4:3)
5:Zoom2
2:Wide screen (16:9)
6 : Original
04. Screen Mute (Command 2:d)
To select screen mute on/off.
Transmission
[k][d][ ][Set ID][ ][Data][Cr]
Data 0 : Screen mute off (Picture on)
1: Screen mute on (Picture off)
Ack
[d][ ][Set ID][ ][OK][Data][x]
05. Volume Mute (Command 2 : e)
To control volume mute on/off.
You can also adjust mute using the MUTE button on remote control.
Transmission
[k][e][ ][Set ID][ ][Data][Cr]
Data 0 : Volume mute on (Volume off)
1 : Volume mute off (Volume on)
Ack
[e][ ][Set ID][ ][OK][Data][x]
06. Volume Control (Command 2 : f)
To adjust volume.
You can also adjust volume with the VOLUME buttons on remote control.
Transmission
[k][f][ ][Set ID][ ][Data][Cr]
Data Min:0\~Max:64
- Refer to 'Real data mapping 1'. See page 113.
Ack
[f][ ][Set ID][ ][OK][Data][x]
07. Contrast (Command 2 : g)
To adjust screen contrast.
You can also adjust contrast in the PICTURE menu.
Transmission
[k][g][ ][Set ID][ ][Data][Cr]
Data Min:0\~Max:64
- Refer to 'Real data mapping 1'. See page 113.
Ack
[g][ ][Set ID][ ][OK][Data][x]
08. Brightness (Command 2 : h)
To adjust screen brightness.
You can also adjust brightness in the PICTURE menu.
Transmission
[k][h][ ][Set ID][ ][Data][Cr]
Data Min:0\~Max:64
- Refer to 'Real data mapping 1'. See page 113.
Ack
[h][ ][Set ID][ ][OK][Data][x]
09. Colour (Command 2 : i)
To adjust the screen colour. You can also adjust colour in the PICTURE menu.
Transmission
$$ [ k ] [ i ] [ ] [ \text {S e t I D} ] [ ] [ \text {D a t a} ] [ \mathrm {C r} ] $$
Data Min:0\~Max:64
- Refer to 'Real data mapping 1'. See page 113.
Ack
$$ [ i ] [ ] [ S e t I D ] [ ] [ O K ] [ D a t a ] [ x ] $$
10. Tint (Command 2: j)
To adjust the screen tint. You can also adjust tint in the PICTURE menu.
Transmission
$$ [ k ] [ j ] [ ] [ \text {S e t I D} ] [ ] [ \text {D a t a} ] [ \mathrm {C r} ] $$
Data Red:0\~Green:64
- Refer to 'Real data mapping 1'. See page 113.
Ack
$$ [ j ] [ ] [ \text {S e t I D} ] [ ] [ \text {O K} ] [ \text {D a t a} ] [ x ] $$
11. Sharpness (Command 2 : k)
To adjust the screen sharpness. You can also adjust sharpness in the PICTURE menu.
Transmission
$$ [ k ] [ k ] [ ] [ \text {S e t} I D ] [ ] [ \text {D a t a} ] [ C r ] $$
Data Min: 0 Max:64
- Refer to 'Real data mapping 1'. See page 113.
Ack
$$ [ k ] [ ] [ \text {S e t} I D ] [ ] [ O K ] [ \text {D a t a} ] [ x ] $$
12. OSD Select (Command 2:1)
To select OSD (On Screen Display) on/off when controlling remotely.
Transmission
$$ [ k ] [ l ] [ ] [ \text {S e t I D} ] [ ] [ \text {D a t a} ] [ C r ] $$
$$ \text {D a t a 0 : O S D o f f} \quad 1: O S D o n $$
Ack
$$ [ I ] [ ] [ \text {S e t} I D ] [ ] [ O K ] [ \text {D a t a} ] [ x ] $$
13. Remote control lock mode (Command 2 : m)
To lock the front panel controls on the monitor and remote control.
Transmission
$$ [ k ] [ m ] [ ] [ \text {S e t I D} ] [ ] [ \text {D a t a} ] [ \text {C r} ] $$
Data 0: Lock off 1: Lock on
Ack
$$ [ m ] [ ] [ S e t I d ] [ ] [ O K ] [ D a t a ] [ x ] $$
- If you're not using the remote control, use this mode. When main power is on/off, external control lock is released.
14. Balance (Command 2 : t)
To adjust balance. You can also adjust balance in the AUDIO menu.
Transmission
$$ [ k ] [ t ] [ ] [ \text {S e t} I D ] [ ] [ \text {D a t a} ] [ C r ] $$
Data Min:0\~Max:64
- Refer to 'Real data mapping 1'. See page 113.
Ack
$$ [ t ] [ ] [ \text {S e t} I D ] [ ] [ O K ] [ \text {D a t a} ] [ x ] $$
15. Colour Temperature (Command 2 : u)
To adjust colour temperature. You can also adjust Colour Temperature in the PICTURE menu.
Transmission
$$ [ k ] [ u ] [ ] [ \text {S e t I D} ] [ ] [ \text {D a t a} ] [ \mathrm {C r} ] $$
Data 0: Cool 1: Medium 2: Warm 3: User
Ack
$$ [ u ] [ ] [ \text {S e t} I D ] [ ] [ O K ] [ \text {D a t a} ] [ x ] $$
16. Red Adjustment (Command 2 : v)
To adjust red in colour temperature.
Transmission
$$ [ k ] [ v ] [ ] [ \text {S e t} I D ] [ ] [ \text {D a t a} ] [ C r ] $$
Data Min:0\~Max:50
- Refer to 'Real data mapping 2'. See page 113.
Ack
$$ [ v ] [ ] [ \text {S e t} I D ] [ ] [ O K ] [ \text {D a t a} ] [ x ] $$
17. Green Adjustment (Command 2 : w)
To adjust green in colour temperature.
Transmission
$$ [ k ] [ w ] [ ] [ \text {S e t I D} ] [ ] [ \text {D a t a} ] [ \text {C r} ] $$
Data Min: 0 Max:50
- Refer to 'Real data mapping 2'. See page 113.
Ack
$$ [ w ] [ ] [ \text {S e t} I D ] [ ] [ O K ] [ \text {D a t a} ] [ x ] $$
18. Blue Adjustment (Command 2: $)
To adjust blue in colour temperature.
Transmission
$$ [ k ] [ \$ ] [ ] [ \text {S e t I D} ] [ ] [ \text {D a t a} ] [ C r ] $$
Data Min: 0 Max:50
- Refer to 'Real data mapping 2'. See page 113.
Ack
$$ [ \$ ] [ ] [ \text {S e t I D} ] [ ] [ \text {O K} ] [ \text {D a t a} ] [ x ] $$
19. Abnormal State (Command 2: z)
To recognize an abnormal state.
Transmission
[k][z][ ][Set ID][ ][FF][ ][Cr]
Data FF: Read
Ack
[z][ ][Set ID][ ][OK][Data][x]
Data 0: Normal (Power on and signal exist)
1: No signal (Power on)
2: Turn the monitor off by remote control
3: Turn the monitor off by sleep time function
4: Turn the monitor off by RS-232C function
5:5V down
6: AC down
7: Turn the monitor off by Fan Alarm function
8: Turn the monitor off by Off time function
9: Turn the monitor off by Auto sleep function
- This function is "read only".
20.ISM Method
To control the ISM method. You can also adjust
Method in OPTION menu.
It's not available to use this function in LCD TV models.
Transmission
[j][p][ ][Set ID][ ][Data][Cr]
Data 0: Normal
2: Orbiter
1: White wash
3: Inversion
Ack
[p][ ][Set ID][ ][OK/NG][Data][x]
21. Low Power
(Command 1 : j, Command 2 : q)
To reduce the power consumption of the set. You can also adjust Low Power in OPTION menu.
It's not available to use this function in LCD TV models.
Transmission
[j][q][ ][Set ID][ ][Data][ ][Cr]
Data 0 : Off
1:On
Ack
[q][ ][Set ID][ ][OK/NG][Data][x]
* Real data mapping 1
0:Step 0
A:Step 10 (Set ID 10)
E:Step15(SetJD15)
1: Step 13 (Set ID 13)
10: Step 16 (Set ID 16)
64: Step 100
6E: Step 110
73:Step 115
74:Step116
C7: Step 199
FE:Step254
FF:Step255
- Real data mapping 2
0:-40
1:-39
2:-38
中
28:0
4E:+38
4F: +39
50:+40
22. Auto Configure
(Command 1: j, Command 2: u)
To adjust picture position and minimize image shaking automatically. It works only in RGB (PC) mode.
Transmission
$$ [ j ] [ u ] [ ] [ \text {S e t} I D ] [ ] [ \text {D a t a} ] [ C r ] $$
Data 1: To set
Ack
$$ [ u ] [ ] [ \text {S e t} I D ] [ ] [ O K / N G ] [ \text {D a t a} ] [ x ] $$
23. Channel Select Command
Command 1:m,Command 2:a)
Select channel to following physical number.
Transmission
$$ [ m ] [ a ] [ ] [ \text {S e t I D} ] [ ] [ \text {D a t a 0} ] [ ] [ \text {D a t a 1} ] [ ] [ \text {D a t a 2} ] [ \text {C r} ] $$
Data0:High channel data
Data1:Low channel data
ex. No. 47 -> 00 2F (2FH)
No. 394 -> 01 88 (188H),
DTV No. 0 -> Don't care
Data2 0x00:ATV Main
0x10:DTV Main
Channel data range
Analogue - Min: 00 ~ Max: 63 (0~99)
Digital - Min: 00 ~ Max: 3E7 (0~999)
Ack
$$ [ a ] [ ] [ \text {S e t} I D ] [ ] [ O K / N G ] [ \text {D a t a} ] [ x ] $$
Data Min: 00 ~ Max: 7D
24. Send IR Code
Data Key code - Refer to page 107.
Ack
$$ [ c ] [ ] [ \text {S e t} I D ] [ ] [ O K / N G ] [ \text {D a t a} ] [ x ] $$
25. Input select (Command 1 : x, Command 2 : b) (Main Picture Input)
To select input source for main picture.
Transmission
$$ [ x ] [ b ] [ ] [ \text {S e t} I D ] [ ] [ \text {D a t a} ] [ C r ] $$
Data Structure
MSB LSB

External Input Input Number
| External Input | Data | |||
| 0 | 0 | 0 | 0 | DTV |
| 0 | 0 | 0 | 1 | Analogue |
| 0 | 0 | 1 | 0 | AV |
| 0 | 0 | 1 | 1 | Component |
| 0 | 1 | 0 | 0 | RGB |
| 0 | 1 | 0 | 1 | HDMI |
| Input Number | Data | |||
| 0 | 0 | 0 | 0 | Input1 |
| 0 | 0 | 0 | 1 | Input2 |
| 0 | 0 | 1 | 0 | Input3 |
| 0 | 0 | 1 | 1 | Input4 |
Ack
[b][ ][Set ID][ ][OK/NG][Data][x]
ManualGo.com