ER8133I - Kühlschrank HUSQVARNA - Kostenlose Bedienungsanleitung
Finden Sie kostenlos die Bedienungsanleitung des Geräts ER8133I HUSQVARNA als PDF.
Benutzerfragen zu ER8133I HUSQVARNA
0 Frage zu diesem Gerät. Beantworten Sie die, die Sie kennen, oder stellen Sie Ihre eigene.
Eine neue Frage zu diesem Gerät stellen
Laden Sie die Anleitung für Ihr Kühlschrank kostenlos im PDF-Format! Finden Sie Ihr Handbuch ER8133I - HUSQVARNA und nehmen Sie Ihr elektronisches Gerät wieder in die Hand. Auf dieser Seite sind alle Dokumente veröffentlicht, die für die Verwendung Ihres Geräts notwendig sind. ER8133I von der Marke HUSQVARNA.
BEDIENUNGSANLEITUNG ER8133I HUSQVARNA
GEBRAUCHSANWEISUNGEN
MODE D'EMPLOI
iWARNING UND WICHTIGE HINWEISE
Es ist sehr wichtig, daß diese Bedienungsanleitung mit dem betreffenden Gerät aufbewährt wird. Sollte diesen Gerät verkauft bzw. einer anderen Person gegeben werden, so ist es nötig, die Anleitung beizügen, damit der neue Besitzer über den Betrieb des Gerätes bzw. die entsprechenden Warnungen.
Sollte这点 Gerät mit Magnet-Türverschluß als Ersatz für ein altes Gerät dienen, das noch mit einem Schnappschoß ausgerüstet ist, so machen Sieitte这点 Schoß unbrauchbar, bevor Sie das Gerät beiseite stellen oder zum Müll geben. Sie verhindern damit, daß spielende Kinder sich selbst einsperren und damit in Lebensgefahr kommt.
These Warningungen wurden zu Ihr dem Schutz anderer erarbeitet. Wir bitten Sie daher, diese aufmerksam zulesen, bevor das Gerät in Betrieb genommen wird.
Sicherheit
- Dieses Gerät wurde hergestellt, um von Erwachsenen benutzt zu werden. Es ist unbedingt darauf zuchten, daß Kinder es nicht anfassen oder es als Spielzeug verwenden.
- Es ist gefährlich, die Eigenschaften theses Gerätes zuändern.
- Vor der inneren bzw. äußeren Reinigung des Gerätes sowie beim Auswechseln der Glühlampe (bei damit ausgestatteten Geräten) das Gerät spanningslos machen.
- Eis aus dem Gefrier- bzw. Frosterfach nicht那么简单 essen, es konnte Kälte-Brandwunden verursachen.
- Dieses Gerät ist schwer. Beim Versetzenitte darauf auf achten!
- Beachten Sie, dan während der Bewegung des Gerätes der Kältemittelkreislauf nicht beschädigt wird.
- Das Gerätarf nicht in unmittelbarer Höhe von Heizkörpern oder Gasherden aufgestellt werden.
- Ein Standort mit direkter Sonneneinstrahlung sollte vermieden werden.
- Eine ausreichende Luftzirkulation an der Geräterückseite muß gewährleistet sein. Jegliche Beschädigung des Kühlkreislaufes ist zu vermeiden.
NUR FÜR GEFRIERSCHRANKE (Einbaugeräte ausgenommen): ein optimaler Aufstellungssort ist der Keller. - Keine Elektrogeräte (z.B. Eismaschinen) in das Gerät stellen.
Störungen - Kundendienst
- Sollte die Installation des Gerätes eine Änderung der elektrischen Hausinstallation verlangen, so darf diese nur von Elektro-Fachkräften durchgeführt werden.
Eventuelle Reparaturen dürfen nur von einem Kundendienst oder sonstigen autorisierten Stellen durchgeführt werden.
- Es ist wichtig, daß nur Original-Ersatzteile verwendet werden.
- Dieses Gerät enthalt im Kältekreislauf Kohlenwasserstoff. Aus thisem Grund dar die Wartung und das Nachfillen ausschließlich von autorisiertem Fachpersonal durchgeführt werden.
- Benutzen Sie nie Metallgegenstände um das Gerät zu reinigen, da es beschädigt werden konnte.
- Tritt eine Störung oder ein Defekt ein, versuchen Sie nicht, das Gerät selbst zu reparieren. Elektrogeräte)dürfen nur von Elektro-Fachkräften repariert werden, da durch unsachgemäß Reparaturen erhebliche Folgeschäden entstehen können. Wenden Sie sichitte an die{nachste Kundendienstelle.
Aufstellung
- Sich vergewissern, daß das Gerät nach der Installation nicht auf dem Netzkabel stehen.
Wichtig: Beschädigte Versorgungskabel mussendurch ein Spezialkabel bzw. einen Spezialsatzersetzt werden, die beim Hersteller oder denKundendienststellen erhältlich sind. - Wahlrend das Gerät in Betrieb ist, werden der Verflüssiger und der Kompressor, die sich auf der Rückseite des Gerätes befinden, heißt. Es ist darauf zuachten, dass die Luft um das Gerät frei zirkulieren kann, damit die Wärme abgeführt werden kann. Eine ungenügende Luftzirkulation kann einen unregelmäßigen Betrieb bzw. Schäden am Gerät verursichen. Achten Sie auf die Installationsanweisungen.
-
Teile, die heißt werden (z.B. Kompressorgehäuse, Verflüssiger und zugehörige Rohre), sollen nicht frei zugänglich sein. Wo es auch immer möglich ist, soll das Gerät mit der Rückseite gegen eine Wand gestellt werden.
-
Wahlrend des Transports kann es vorkommen, daß das im Motorkompressor enthaltene Öl in den Kältekreislauf abläuft. Man sollte mindestens 2 Std. warten, bevor das Gerät in Betrieb genommen wird, damit das Öl in den Kompressor zurückströmen kann.
Gebrauch
Die Haushaltskuhl- und Gefriergeräte sind nur zur Einlagerung bzw. zum Einfrieren von Nahrungsmitteln bestimmt.
Die Beste Leistung erzielt man bei Raumtemperatren von +18^ bis +43^ (Klasse T); +18^ bis +38^ (Klasse ST); +16^ bis +32^ (Klasse N); +10^ bis +32^ (Klasse SN); die Geräteklasse ist auf dem Typschild angegeben.
Zu beachten: Wird theses Gerätes bei anderen Umgebungstemperaturen betrieben als den in der entsprechenden Klimaklasse angegebenen Werten, sind folgende Hinweise zu beachten: sinkt die Umgebungstemperatur unter den angegebenen Mindestwert ab, konnte die Lagertemperatur im Gefrierabteil nicht mehr garantiert sein; es wird daher empfohlen, die eingelagerten Lebensmittel so rasch als möglich zu verbrauchen.
- Einaufgetautes Produkt dar nicht wieder eingefroren werden.
- Für das Aufbewahrens bzw. das Einfrieren der Lebensmittel sind die Anweisungen des Herstellers zu befolgen.
In allen Kuhl- und Gefriergeräten bedecken sich im Laufe der Zeit alle kaltefuhrenden Teile mit einer Reif bzw. Eissicht. Diese Schicht wird je nach Modell automatisch oder mit der Hand abgetaut.
Die Reifsicht niemals mit Metallgegenständen abkratzen, das Gerät könnte beschädigt werden. Dazu nur den mitgelieferten Plastikschaber verwenden. - Zum Lösen der festgefrorenen Eisschalen keine scharfkantigen oder spitzn Gegenstände benutzen.
- Es sollen den keine kohlensäurehaltigen Getränke in das Gefrier- bzw. Frosterfach eingestellt werden, sie konnten platzen.

Umweltnormen
Dieses Gerät enthalt im Kühlkreislauf und in der Isolierung kein ozonschädigendes Gas. Das Gerätarf nicht mit dem Hausmüll entsorgt werden. Eine Beschädigung des Kältemittelkreislaufs, insbesondere des Wärmetauschers auf der Rückseite des Gerätes, mußverhindert werden. Auskunft über Abholtermine oder Sammelplätze gibt die örtliche Gemeindeverwaltung an. Die in dieser Gerät verwendenten und mit dem Symbol gekennzeichneten Materialien,sind recyclingfähig.
HINWEISE ZUR VERPACKUNGSENTSORGUNG
Verpackungen und Packhilfsmittel unserer Elektro-Großgeräte sind mit Ausnahme von Holzwerkstoffen recyclingfähig und sollen grundsätzlich der Wiederverwertung zugeführrt werden.
Wir empfehlen Ihnen:
- Papier-, Pappe- und Wellpappeverpackungen sollen in die entsprechenden Sammelbehälter gegeben werden.
- Kunststoffverpackungsteile sollenen ebenfls in die darauf vorgesehenen Sammelbehälter gegeben werden. Solange solche in Ihrwohngebiet noch nicht vorhanden sind, konnen Sie diese Materialien zum Hausmüll geben.
Als Packhilfsmittel sind bei uns nur recyclungfähige Kunststoffe zugelassen, z.B.:
In den Beispielen steht

PE für Polyäthylen** 02 = ^ PE-HD; 04 = ^ PE-LD
PP für Polypropylen
PS für Polystyrol
BESTANDTEILE AUS PLASTIK
Zur einfacheren Entsorgung und/oder Recycling ist ein Großteil der Materialien these Gerätes gekennzeichnet, um ihre Identifizierung zu erhögbaren.

INHALT
Warnings und wichtige Hinweise 2
Hinweise zur Verpackungsentsorgung 4
Gebrauch 5
Reinigung der Innenteile 5
Inbetriebnahme 5
Temperaturregelung 5
Hinweise zum richtigen Kuhlen 5
Einfrieren von frischen Lebensmitteln 6
Aufbewährung der Tiefkuhlkost 6
Eiswürfelbereitung 6
Auftauen 6
Hohenverstellbare Abstellregale 7
Hohenverstellung der Turablage 7
Tips 8
Tips fur das Kuhlen 8
Tips fur das Einfrieren 8
Tips fur Tiefkuhlkost 8
Wartung 9
Regelmäßige Reinigung 9
Stillstandzeiten 9
Innenbeleuchting 9
Abtauen 10
Störungen 10
Technische Daten 11
Installation 11
Aufstellung 11
Elektrischer Anschluß 11
Turanschlagwechsel 12
Anweisungen fur den integrierten Einbau 12
Reinigung der Innenteile
Bevor Sie das Gerät in Betriebnehmen, beseitigen Sie den typischen «Neugeruch» am besten durch Auswaschen der Innenteile mit lauwarmem Wasser und einem neutralen Reinigungsmittel Sorgfällig nachtrocknen.

Bitte keine Reinigungs- bzw. Scheuermittel verwenden, die das Gerät beschädigen konnten.
Inbetriebnahme
Den Stecker in die Steckdose einsetzen.
Kühlschranktür öffnen und Thermostatknopf von der Stellung «O» (STOP) aus im Uhrzeigersinn drehen. Das Gerät ist eingeschaltet.
Temperaturregelung
Die Temperatur wird automatisch geregelt und kann erhöht werden (wärmer) durch Drehen des Thermostatknopfes auf niedrigere Einstellungen oder verringert (kälter) durch das Drehen auf höhere Zahlen.Die richtige Einstellung erhalten man, unter Berücksichtigung folgender, die Innentemperatur beeinflussender Faktoren:
- Raumtemperatur,
- Häufigkeit des Türoeffnens,
- Menge der eingelagerten Lebensmittel,
Aufstellung des Gerätes.
Die mittlere Einstellung ist meinstens die geeignetste.

Wichtig
Höchste Kälteeinstellung bei hoher
Raumtemperatur und erheblicher
Lebensmittelmenge kann fortdauernden
Kühlschrank-Betrieb verursachen, damit kann sich eine Reif- oder Eisschicht an der hinteren Innewand bilden. In dieserm Falle den
Thermostatkopf auf wärmere Temperaturen stellen, damit das automatische Abtauen, mit folglich geringerem Stromverbrauch, gewährleistet werden kann.
Hinweise zum richtigen Kühlen von Lebensmitteln und Geträngen
Um die besten Leistungen des Kühlschrankes zu erreichen, beachten Sieitte folgenden:
Keine warmen Speisen oder dampfenden Flüssigkeiten in den Kühlschrank einstellen.
- Geruchverbreitende Lebensmittel mösen abgedeckt oder eingewickelt werden.
Die Lebensmittel müssen so eingelagert werden, daß die Kälte um sie frei zirkulieren kann.
Einfrieren der frischen Lebensmittel
Das 4 Sterne-Gefrierfach XXX eignet sich zur langfristigen Einlagerung von Tiefkuhlkost sowie zum Einfrieren frischer Kost.
Für das Einfrieren von Lebensmitteln ist es nicht nötig, den Thermostatknopf von der üblichen Normalstellung zu ändern.
Den Thermostat mindestens 3 Stunden vor Einlage- rung der zum Einfrieren bestimmten Lebensmittel einschalten.
Wünscht man ein rasches Einfrieren, dann muß der Thermostatknopf auf die stärkste Stellung gedreht werden. Dabei ist aber darauf zu achten, daß im Kühlfach die Temperatur nicht unter Null sinkt.
Aufbewährung der Tiefkuhlkost
Nach einem längeren Stillstand oder bei der ersten Inbetriebnahme des Gerätes muß vor der Einlagerung der Tiefkuhlkost die höchste Stellung de Thermostatknopfes gewählt werden. Nach ca. 2 Std. kann dieser auf eine mittlere zusückgedreht werden.
! Wichtig
Unbeabsichtigt aufgetaute Lebensmittel, beispelsweise wegen Stromausfall, müssen, wenn der Betrieb für länger als die in der Tabelle technische Daten unter der Position „Lagerzeit bei Störung“ angegebene Dauer unterbrochen ist, kurzfristig verbraucht oder sehr gekocht und erneut eingefroren werden (nach Abkühlung).
Auftauen
Die eingefrorenen oder tiefgekühnten Lebensmittel sollenn vor dem Gebrauch aufgetaat werden, indem man sie am besten im Kuhlabteil oder je nach der zur Verflugung stehenden Zeit bei Raumtemperatur auftaut. Kleine Stücke konnen eingefroren gekocht werden. Selfstverständlich verlangert sich damit die Kochzeit.
Eiswürfelbereitung
Das Gerät hat eine oder mehrere Eiwürfelschalen, welche mit Wasser aufgefüllt in das Gefrierfach gestellt werden.
Bitte zur Entnahme der Eiwurfelschalen keine Metallgegenstände benutzen!
Hohenverstellbare Abstellregale
Der Abstand zwischen den verschiedenen Abstellregalen kann je nach Wunsch geändert werden. Dazu die Regale Herausnahmen und auf das gewünschte Niveau einsetzen.
Zur betteren Raumnutzung konnen die vorderen Halbteile der Ablagen auf die rückwärtingen hinautgelegt werden.
Höhenverstellung der Innentürablagen
Zur Einlagerung von Lebensmittel-Packungen verschiedener Höhe, sind die Abstellregale der Innentür hohenverstellbar.
Hierzu wie folgt vorgehen:
das Abstellregal stufenweise in Pfeilrichtung drucken bis es frei wird; dann in der gewünschten Höhe wieder anbringen.



Tips für das Kühlen
Nachstehend einige praktische Ratschlage:
Fleisch (alle Sorten) in Plastikfolie einpacken und auf die Glasplatte, die sich über der Gemüseschale (über den Gemüseschalen) befindet, legen.
In dieser Lage kann das Fleisch langstens 1-2 Tage aufbewahrt werden.
Gekochtene Nahrungsmittel, kalte Platten, usw. zugedeckt aufbewahren. Sie konnen auf jedem beliebigen Rost gelegt werden.
Obst und Gemüse: nach vorherigem Säubern und Waschen in der Gemüseschale (in den Gemüseschalen) aufbewahren.
Butter und Käse: in speziellen Behältern aufbewahren oder in Alu- bzw. Plastikfolie einpacken, um den Kontakt mit der Luft zu vermeiden.
Milch in Flaschen: gut verschlossen auf die Konsol der Innentür stellen.
Wenn Bananen, Kartoffeln, Zwiebeln und Knoblauch nicht verpackt sind, sollen sie nicht in den Kühlschrank gegeben werden.
Tips für das Einfrieren
Für ein einwandfreies Einfrieren der Lebensmittel geben wir folgende Ratschlage:
- Das Gefriervermögen des Gefrierabteils (in 24 Std.) kann auf dem Typenschild abgelesen werden.
- Der Gefriervorgang dauert ca. 24 Stunden. In dieser Zeit sollte keine zusätzliche Ware in das Gefrierabteil eingelegt werden.
- Nur erstklassige, frische und gut gesäuberte Produkte einfrierten.
Die Nahrungsmittel vor dem Einfrierten in keine Portionen einteilen, damit der Gefriervorgang beschleunigt wird; dies ermöglich das spätere Auftauen von kleineren Portionen.
Die Lebensmittel in Alu- oder Polyäthylenfolien luftdicht verpacken. - Es soll vermieden werden, daß die einzufrierenden Lebensmittel mit den bereits eingefrorenen in Berührung kommt, um eine Wärmeübertragung an diese zu verhindern.
- Es ist zu beachten, daß mageres Fleisch better und länger haltbar ist. Fetthaltiges Fleisch hat eine geringere Lagerzeit. Ferner reduziert Salz die Haltbarkeitsdauer.
-
Speiseeis, direkt aus dem Gefrierfach genommen, kann Kälte-Brandwunden verursachen.
-
Es ist empfehlenswert, auf der Verpackung das Einfrierdatum zu notieren, damit die Aufbewahrungszeit eingehalten werden kann.
Die Symbole auf den Schubladen zeigen unterscheidliche Arten von Tiefkuhlgut.
Die Zahlen geben für die jeweilige Art von Tiefkühlgut die Lagerzeit in Monaten an. Ob der obere oder der untere Wert der angegebenen Lagerzeiten gültig ist, hängt von der Qualität der Lebensmittel und deren Vorbehandlung vor dem Einfrieren ab.
- Es sollen den keine kohlensäurehaltigen Getränke in das Gefrierfach eingestellt werden, da sie explodieren können.
Tips für Tiefkuhlkost
Um optimale Leistungen des Gerätes zu erhalten, sich vergewissern,
- daß die Tiefkuhlkost beim Verkaufen gut aufbewahrt wurde
- daß der Transport vom Verkäufer zum Verbraucher in kurzer Zeit erfolgt.
- Tür so weniger wie möglich öffnen und nicht offen halten.
- Einmal aufgetaute Lebensmittel verderben schnell und können kein ein zweites Mal eingefroren werden.
- Das Haltbarkeitsdatum auf der Tiefkuhlkestverpackung sollte nicht übersritten werden.

Vor jeder Reinigungsrarbeit immer den Netzstecker aus der Steckdoseziehen.
Achtung
Dieses Gerät enthalt im Kältekreislauf Kohlenwasserstoff. Aus thisem Grund darf die Wartung und das Nachfüllen ausschließlich von autorisiertem Fachpersonal durchgeführt werden.
Regelmäßige Reinigung
Benutzen Sie nie Metallgegenstände um das Gerät zu reinigen, da es beschädigt werden können.
Den Innenraum mit lauwarmem Wasser und Natron und die lackierten Teile mit einem Poliermittel reinigen.
Gut nachwaschen und sorgfältig trocknen.
Den Kondensator und den Motorkompressor mit einer Bürste oder einem Staubsauger reinigen. Dies begunstigt den gute Betrieb mit folglicher Stromersparnis.
Innenbeleuchting
Die Innenbeleuchtungslampe im Kühlabteil ist durch folgende Arbeitssschritte zugänglich:
- Lösen Sie die Befestigungsschraube der Lampenabdeckung.
- Heben Sie den beweglichen Teil ab, indem Sie wie in der Abbildung gezeigt daraufufen.
Solletse sich die Beleuchtung beim Öffnen der Türe nicht einschalten, ist zu überprüfen, ob die Glühbirne fest eingeschraubt ist; wenn die Störung dennoch bestehen bleibt, die defekte Glühbirne durch eine neue Birne gleicher Leistung ersetzen.
Die maximale Leistung ist am Leuchtkörper angegeben.
Stillstandszeiten
Bei längerem Stillstand des Gerätes, müssen Sie folgendermaßen vorgehen:
den Stecker aus der Steckdoseziehen;
alle Lebensmittel herausnehmer;
Gerät abtauen, Innenraum und Zubehörteile reinigen; die Türen offen{lassen, um im Innern eine gute Luftzirkulation zu gewährleisten und damit Geruchsbildung zu vermeiden.

Abtauen
Die sich auf dem Verdampfer des Kühlschrankes bildende Reifschicht taut Jedesmal in den Stillstand-zeiten des Motorkompressors von selbst ab. Das Tauwasser lauft durch eine Rinne in eine Plastikschale auf der Rückseite des Gerätes (über dem Kompressor) und verdunstet Dort.
Wir empfehlen, das in der Mitte der Abtauwasserrinne des Kuhlraumes befindliche Ablaufloch für das Abtauwasser regelmäßig zu reinigen, um zu vermeiden, daß das Abtauwasser auf die eingelagerten Lebensmittel tropf. Verwenden Sie den darauf vorgesehenen Reiniger,der sich schon im Ablaufloch befindet.
Die sich im Gefrierfach bildende Reifschicht soll, sobald diese eine Stärke von 4 mm erreicht hat, mit dem mitgelieferten Plastikschaber abgekratzt werden. Während dieseres Vorganges ist es nicht nötig, das Gerät auszuschalten und die Nahrungsmittel Herauszunehmen.
Wenn sich jedoch eine dicke Eisschicht bildet, muß man vollkommen abtauen. Um ein vollständiges Abtauen durchzuführen, gehen man wie folgt vor:
- Den Thermostatkopf auf «O» einstellen oder den Stecker aus der Steckdose Herausziehen.
- Die eventuell im Frosterfach liegenden Lebensmittel Herausnahmen, sie in Zeitungspapier einwickeln und sehr kuhl aufbewahren.
- Die Tür offen lassen und den Plastikschaber, der als Rinne dient, am vorgesehenen Platz einsetzen, sodāß das Abtauwasser in ein geeignetes, darunter gestelltes Gefäß fließen kann.
- Nach beendeten Abtauprozeß das Fach gut trocknen. Plastikschaber für späteren Gebrauch aufbewahren.
- Den Thermostatknopf wieder in die gewünschte Stellung drehen bzw. den Stecker wieder einstecken.
STÖRUNGEN
Falls das Gerät Störungen aufweisen sollen, überprüfen Sie zuerst folgenden:
- Steckt der Netzstecker in der Steckdose?
- Befindet sich der Hauptschalter der elektrischen Anlage in der richtigen Stellung?
- Ist die Stromzufuhr unterbrochen?
- Befindet sich der Thermostatknopf in richtiger Stellung?
- Wasserpfütze auf dem Boden des Kühlfaches:
Abtauuwasserloch verstopt? (siehe Abschnitt


- Nachdem das Gerät für 2-3 Std. in Betrieb genommen wurde, können tiefgefrore Nebensmittel darin zurückgelegt
! Achting:
Benutzen Sie niemals Metallgegenstände, um die Reifschicht abzukratzen, damit eine Beschädigungen des Gerätes vermieden werden kann.
Benutzen Sie kein mechanisches oder andere Mittel für einen schnellen Abtauprozeß mit Ausnahme der vom Hersteller empfohlenen.
Ein Temperaturanstieg der Tiefkuhlkost während des Abtaens konnte die Aufbewahrungsdauer verkürzen.
"Abtauen")
Sollten Sie nach o.e. Prüfungen zu keinem Resultatkommen, so wenden Sie sichitte an unseren nachsten Kundendienst.
Um ein rasches Beheben des Schadens zu erhögbaren, ist es beim Anruf an den Kundendienst notwendig, die Modell- und Seriennummer anzugegeben, die Sie dem Garantieschein oder dem Typenschild (- linke Seite - unter) entnehmen können.
| Euro- Effizenz-Klasse | B |
| Nutzinhalt des Kühlschrankes in Liter | 210 |
| Nutzinhalt des Gefrierschrankes in Liter | 70 |
| Energieverbrauch in kWh/24h | 1,10 |
| Energieverbrauch in kWh/Jahr | 402 |
| Gefrierleistung kg/24h | 4 |
| Lagerzeit bei Störung -18°/-9°C in h | 20 |
Die Technische Daten können Sie auf dem Typschild feststellen. Das Typschild befindet sich links unter an der Seitewand.
INSTALLATION
Aufstellung
Das Gerät sollte nicht in der Höhe von Wärmequellen wie Heizkörpern oder Öfen aufgestellt und vor direkter Sonneneinstrahlung geschützt werden.
Für den Einbauitte den entsprchenden Abschnitt durchlesen.
Elektrischer Anschluß
Bevor Sie den Stecker in die Steckdose einstecken, überprüfen Sieitte, daß die auf dem Typenschild des Gerätes angegebene Spannung sowie Frequenz mit dem Anschlußwert des Hauses übereinstimmen. Eine Abweichung von ±6% von der Nominalspannung ist zulässig. Für die Anpassung des Gerätes an andere Spannungen muß ein Spartransformer angemessener Leistung vorgeschaltet werden.
Das Gerät muß unbedingt vorschäftsmäßig geerdet werden. Zu diesen Zweck ist der Stecker des Speisekabels mit dem darauf vorgesehenen Kontakt versehen. Solle die Netzleitung im Haus nicht mit einer Erdleitung versehen sein, so muß das Gerät an eine getrennte Erdleitung vorschäftsmäßig und unter Hinzuziehung eines Fachmanns angeschlossen werden.
Die Erzeugerfirma lehtne每一Verantwortung ab, falls these Unfallverhütungsvorschrift nicht beachtet wird.

Dieses Gerät entspricht der folgende EWG Richtlinie:

Wichtig
Es muß möglich sein, das Gerät vom Netz zu trennenn; Nach der Installation muß die SteckdoseDMAher zugänglich bleiben.
- 87/308 EWG vom 2.6.87 (Deutschland-Ausführung) bzw. der ÖVE-Richtlinie Nr. F 61/84 (Österreich-Ausführung) bezüglich Funkentstörung.
- 73/23 EWG vom 19/02/73 (Niederspannung) und folgende Änderungen;
- 89/336 EWG vom 03/05/89 (Elettromagnetische Verträglichkeit) und folgende Änderungen.
Anweisungen für den integrierten Einbau Turanschlagwechsel

Das Gerät wird mit Turanschlag von rechts gefeliefert. Falls einen Turanschlag links erfordert wird; gehen Sie wie folgt vor bevor Sie das Gerät einbauen.
- Obere Scharnierstift abschrauben und Kunststoffeil entfern.
-
Obere Tur abnehmen.
-
Mittlere Scharnier und die Winkeln abschrauben und auf gegenüberliegende Seite wieder anschrauben.
-
Obere Tur wieder einsetzen.Oberen Scharnierstift mit den Kunststoffeil und auf gegenüberliegende Seite wieder anmontieren.
-
Untere Scharnierstift abschrauben und Kunststoffeil entfernen und auf gegenüberliegende Seite wieder anmontieren.

Anweisungen für den integrierten Einbau
Nischenmaße
Höhe
1780 mm
Tiefe
550mm
Breite
560 mm
Aus Gründen der Sicherheit muß eine Mindestbelüftung geschichert sein, wie aus der Abb. hervorgelt:
Achtung: Die Ventilations - Öffnungen müssen immer saubergehalten werden.





HINTS
Ferner ist auch am hinteren Einbauschranktel ein Luftungskamin mit folgenden Maßsen notwendig:
Tief 50 mm
Breite 540 mm

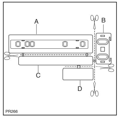
Gerät in die Nische einschieben bis die Anschlagleiste (A) unten am Möbel anliegt.

Turöffnen und Gerät gegenüber der Bandseite an die Mobeseitenwand anrücken. Gerät mit den 4 beiliegenden Schrauben befestigen. Belüttungsgitter (C) und Scharnierabdeckung (D) aufstecken.

Fugenabdeckprofiloben um die Winkeldicke ausschneiden und zwischen Gerät und Möbelseitenwand eindrücken.

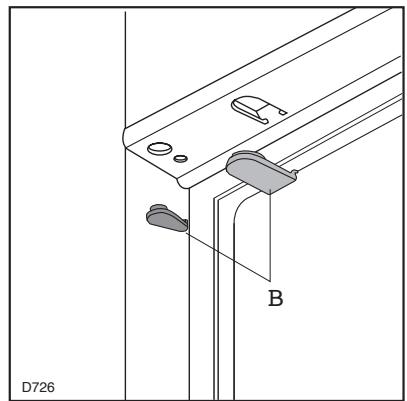
In die Befestigungsd Scharnierlocher beiliegende Abdeckkappen (B) eindrücken.
Die Teile A, B, C, D abnehmer, wie in der Abb. gezeigt wird.
Die Schiene (A) auf der Innenseite der Möbeltür offen und unter auflegen (siehe Abb.) und die Position der äußeren Bohrlocher anzeichnen. Nachdem die Löscher gebohr wurden, die Schiene mit den mitgelieferten Schrauben befestigen.
Die Abdeckung (C) in die Schiene (A) eindrücken, bis sie einrastet.




Freezing fresh food
Gerätetur und Möbeltür auf ca. 90^ öffnen. Den Winkel (B) in der Schiene (A) einsetzen. Gerätetur und Möbeltür zusammenhalten und die Bohrlocher anziehnen (siehe Abb.). Winkel abnehmer und die Bohrlocher mit 2mm und einem Abstand von 8 mm von der Turaubenkante ausführten. Den Winkel wieder auf der Schiene anbringen und mit den mitgelieferten Schrauben befestigen.
Für eine allfällig notwendige Ausrichtung der Möbeltür, den Spielraum der Langlocher nutzen.
Nach Beendigung der Arbeiten den einwandfrei Verschluß der Gerätetür überprüfen.
Die Abdeckung (D) in die Schiene (B) eindrücken, bis sie einrastet.
Das Gerät ist mit 2 Winkeln (D) ausgestattet. Diese sind zur seitlichen Befestigung des Gerätes am Möbel zu verwenden (Siehe Abb.).
Abdeckung (E) aufklipsen.
Vergewissern Sie sich nach Ausführung des Anschlagwechsels der Turen, daß alle Schrauben fest angezogen sind und überprüfen Sie auch, ob die Magnetdichtung am Möbel perfect anliegt. Bei einer niedrigen Raumtemperatur (z.B. im Winter) kann es vorkommen, dass die Dichtung nicht perfect am Schrank haftet. Die Wiederherstellung der Dichtung erfolgt automatisch nach gewisser Zeit. Wollen Sie aber diesen Prozess beschleunige, so genögt es die Dichtung mit einem Fön zu erwämen.




i AVERTISSEMENTS ET CONSEILS IMPORTANTS
Bewaar nicht-luchtdicht verpakte bananen, aardappelen, uien of knoflook nicht in de koelkast.
Tips het invriezen
Enkele belangrjekte tips:
Vergewissern Sie sich nach Ausführung des Anschlagwechsels der Turen, daß alle Schrauben fest angezogen sind und überprüfen Sie auch, ob die Magnetdichtung am Möbel perfect anliegt. Bei einer niedrigen Raumtemperatur (z.B. im Winter) kann es vorkommen, dass die Dichtung nicht perfect am Schrank haftet. Die Wiederherstellung der Dichtung erfolgt automatisch nach gewisser Zeit. Wollen Sie aber diesen Prozess beschleunige, so genögt es die Dichtung mit einem Fön zu erwärmen.




CES CONDITIONS DE GARANTIE NE SONT PAS APPLIQUEESPOUR LES APPAREILS ACHETES EN FRANCE.
CONDITIONS DE GARANTIE - SERVICE APRES-VENTE
Technische Gegevens 41
Installatie 41
EinfachAnleitung