60902H - Dunstabzugshaube PKM - Kostenlose Bedienungsanleitung
Finden Sie kostenlos die Bedienungsanleitung des Geräts 60902H PKM als PDF.
| Eigenschaften | Details |
|---|---|
| Typ der Dunstabzugshaube | Dekorative Haube |
| Abmessungen | Breite: 90 cm |
| Luftstrom | Max: 600 m8/h |
| Ger e4uschpegel | Max: 65 dB |
| Anzahl der Geschwindigkeiten | 3 Geschwindigkeiten |
| Beleuchtung | LED, 2 Lampen |
| Fettfilter | Metallfilter, sp e4lmaschinenfest |
| Installation | Wandmontage |
| Energieverbrauch | Energieklasse: C |
| Wartung | Filter alle 2 Monate reinigen |
| Sicherheit | Schutz vor berlastung |
| Garantie | 2 Jahre |
| Im Lieferumfang enthaltenes Zubeh r | Montageset, Bedienungsanleitung |
Häufig gestellte Fragen - 60902H PKM
Questions des utilisateurs sur 60902H PKM
0 question sur cet appareil. Repondez a celles que vous connaissez ou posez la votre.
Poser une nouvelle question sur cet appareil
Laden Sie die Anleitung für Ihr Dunstabzugshaube kostenlos im PDF-Format! Finden Sie Ihr Handbuch 60902H - PKM und nehmen Sie Ihr elektronisches Gerät wieder in die Hand. Auf dieser Seite sind alle Dokumente veröffentlicht, die für die Verwendung Ihres Geräts notwendig sind. 60902H von der Marke PKM.
BEDIENUNGSANLEITUNG 60902H PKM
TECHNOLOGIE FÜR DEN HAUSHALT
PKM
TECHNOLOGY FOR DOMESTIC USE

Bedienungsanleitung
Instruction Manual
Mode d'emploi
Dunstabzugshaube
Extractor Hood
Hotte
6090-2H

Sehr geehrter Kunde! Sehr geehrte Kundin! Wir möchten Ihnen herzlich danken, dass Sie sich zum Erwerb eines Produkts aus unserem reichhaltigen Angebot entschieden haben. Lesen Sie die gesamte Bedienungsanleitung, bevor Sie das Gerät zum ersten Mal benutzen. Verwahren Sie diese Bedienungsanleitung zur zukünftigen Verwendung an einem sicheren Ort. Falls Sie das Gerät weitergeben, müssen Sie diese Bedienungsanleitung ebenfalls mit übergeben.
Inhalt
- Sicherheitshinweise.... 3
- Installation....6
- Bedienfeld....11
- Reinigung/Pflege 11
- Problembehandlung 12
- Technische Daten .... 14
- Entsorgung....15
- Garanticbedingungen 16
A. Technische Zeichnung 44
i Die in dieser Bedienungsanleitung enthaltenen Abbildungen können in einigen Details von dem tatsächlichen Design Ihres Geräts abweichen. Folgen Sie in einem solchen Fall dennoch den beschriebenen Sachverhalten.
Der Hersteller behält sich das Recht vor, solche Änderungen vorzunehmen, die keinen Einfluss auf die Funktionsweise des Geräts haben.
i Entsorgen Sie das Verpackungsmaterial entsprechend den örtlichen Vorschriften Ihres Wohnorts.
Das von Ihnen gekaufte Gerät wurde möglicherweise inzwischen verbessert und weist somit vielleicht Unterschiede zur Bedienungsanleitung auf. Dennoch sind die Funktionen und Betriebsbedingungen identisch, sodass Sie die Bedienungsanleitung im vollen Umfang nutzen können.
Technische Änderungen bzw. Druckfehler bleiben vorbehalten.
EG - Konformitätserklärung
★ Die in dieser Bedienungsanleitung beschriebenen Produkte entsprechen sämtlichen harmonisierten Anforderungen.
★ Die relevanten Unterlagen können durch die zuständigen Behörden über den Produktverkäufer angefordert werden.
Lesen Sie vor der ersten Benutzung des Geräts die gesamten Sicherheitshinweise gründlich durch. Die darin enthaltenen Informationen dienen dem Schutz Ihrer Gesundheit. Die Nichtbeachtung der Sicherheitshinweise kann zu schweren Beeinträchtigungen Ihrer Gesundheit und im schlimmsten Fall zum Tod führen.
⚠️ GEFAHR! verweist auf eine Gefahrensituation, die, wenn sie nicht abgewendet wird, eine unmittelbare Gefährdung für Leben und Gesundheit zur Folge hat.
⚠ VORSICHT! verweist auf eine Gefahrensituation, die, wenn sie nicht abgewendet wird, zu mittelschweren oder kleineren Verletzungen führen kann.
⚠️ WARNING! verweist auf eine Gefahrensituation, die, wenn sie nicht abgewendet wird, eine mögliche bevorstehende Gefährdung für Leben und Gesundheit zur Folge hat.
HINWEIS! verweist auf eine Gefahrensituation, die, wenn sie nicht abgewendet wird, eine mögliche Beschädigung des Geräts zur Folge hat.
Bewahren Sie diese Bedienungsanleitung so auf, dass sie bei Bedarf jederzeit griffbereit ist. Befolgen Sie sorgfältig alle Hinweise, um Unfälle oder eine Beschädigung des Geräts zu vermeiden.
i Prüfen Sie auf jeden Fall auch das technische Umfeld des Geräts! Sind alle Kabel oder Leitungen, die zu ihrem Gerät führen, in Ordnung? Oder sind sie veraltet und halten der Geräteleistung nicht mehr Stand? Daher muss durch eine qualifizierte Fachkraft (Elektrotechniker/-in) eine Überprüfung bereits vorhandener wie auch neuer Anschlüsse erfolgen. Sämtliche Arbeiten, die zum Anschluss des Geräts an die Stromversorgung notwendig sind, dürfen nur von einer qualifizierten Fachkraft (Elektrotechniker/-in) durchgeführt werden.
Das Gerät ist ausschließlich zur privaten Nutzung bestimmt.
Das Gerät ist ausschließlich zum Abführen von Küchendämpfen in einem Privathaushalt bestimmt.
Das Gerät ist ausschließlich zum Betrieb innerhalb geschlossener Räume bestimmt.
Dieses Gerät darf nicht für gewerbliche Zwecke, beim Camping und in öffentlichen Verkehrsmitteln betrieben werden.
i Betreiben Sie das Gerät ausschließlich im Sinne seiner bestimmungsgemäßen Verwendung.
Erlauben Sie niemandem, der mit der Bedienungsanleitung nicht vertraut ist, das Gerät zu benutzen.
⚠ GEFAHR!
-
Benutzen Sie das Gerät nicht, wenn es nicht ordnungsgemäß arbeitet, sichtbar beschädigt oder heruntergefallen ist oder das Netzkabel oder der Netzstecker beschädigt sind.
-
Das Netzanschlusskabel darf nur durch eine qualifizierte Fachkraft (Elektrotechniker/-in) ausgetauscht werden.
-
Versuchen Sie niemals, das Gerät alleine zu reparieren.
-
Achten Sie vor dem Einschalten des Geräts darauf, dass kein offenes Kaminfeuer brennt. Andernfalls können giftige Verbrennungsgase aus dem Kamin oder Abzugsschacht der Feuerstelle in die Wohnräume gezogen werden. Sorgen Sie bei Abluftbetrieb der Dunstabzugshaube und dem Betrieb von schornsteinabhängigen Feuerungen (z.B. Kohleofen) für eine ausreichende Frischluftzufuhr im Aufstellraum. Befragen Sie hierzu auf jeden Fall Ihren zuständigen Kaminkehrmeister. Wenn Sie die Dunstabzugshaube im Umluftbetrieb benutzen, ist der gleichzeitige Betrieb einer raumluftabhängigen Feuerstätte unbedenklich.
-
Falls es in Ihrer Wohnung zum Austritt eines brennbaren Gases kommen sollte:
Öffnen Sie alle Fenster zur Belüftung.
Ziehen Sie nicht den Stecker aus der Steckdose und benutzen Sie nicht das Bedienfeld bzw. die Schalter.
Berühren Sie nicht das Gerät, bis sämtliches Gas abgezogen ist.
Bei Missachtung dieser Anweisungen können Funken entstehen, die das Gas entflammen.
⚠️ WARNING!
-
Wenn Sie die Abzugshaube zusammen mit anderen nicht durch elektrische Energie versorgten Geräten (Gas- und Ölverbrennungsgeräte) betreiben, darf der Unterdruck in dem entsprechenden Raum einen Wert von 4 Pa ( 4 * 10^5 bar) nicht überschreiten.
-
Betreiben Sie das Gerät nur mit 220\~240V/50Hz Wechselspannung. Verwenden Sie bei 220\~240V/50Hz Netzbetrieb keine Steckdosenleisten, Mehrfachsteckdosen oder Verlängerungskabel. Alle Netzanschlussleitungen, die Beschädigungen aufweisen, müssen von einer qualifizierten Fachkraft (Elektrotechniker/-in) ausgewechselt werden.
-
Das Gerät darf ausschließlich an einer ordnungsgemäß geerdeten Steckdose angeschlossen werden.
-
Das Gerät muss geerdet sein. Verwenden Sie nur eine entsprechende Sicherheitssteckdose, um die Gefahr eines Stromschlags zu minimieren. Die technischen Daten Ihrer elektrischen Versorgung müssen den auf dem Typenschild angegebenen Werten entsprechen.
-
Ihr Hausstrom muss mit einem Sicherungsautomaten zur Notabschaltung des Geräts ausgestattet sein.
- Halten Sie beim Aufbau des Geräts die Mindestabstände zwischen der Abzugshaube und dem Kochfeld genau ein.
Mindestabstand Unterkante Haubenkörper zu
| Glaskeramik- und Gusskochplatten | 65 cm |
| Gaskochfeld | 75 cm |
| Kohle- / Öl- / Holzfeuerung | 85 cm |
- Bereiten Sie niemals flambierte Gerichte unter der Dunstabzugshaube zu. Die offenen Flammen können das Gerät zerstören und einen Brand verursachen.
- Benutzen Sie die Brenner von Gasherden nicht ohne ein Kochgeschirr. Die offenen Flammen können das Gerät zerstören und einen Brand verursachen.
- Wenn Sie Speisen frittieren, beaufsichtigen Sie durchgehend den Frittiervorgang, da das Öl Feuer fangen kann. Bei mehrfach verwendeten Frittierölen steigt das Risiko einer Selbstentzündung.
- Führen Sie auch keine anderen Tätigkeiten mit offenen Flammen durch. Die offenen Flammen können das Gerät zerstören und einen Brand verursachen.
- Der Abluftschlauch darf nicht aus brennbarem Material bestehen und keine brennbaren Materialien enthalten.
- Das Gerät darf ausschließlich mit eingesetzten Fettfiltern betrieben werden, da sich ansonsten durch den Dunst transportiertes Fett in der Haube und im Abluftsystem ablagert. BRANDGEFAHR! Reinigen oder ersetzen Sie die Filter regelmäßig.
- Trennen Sie das Gerät vor allen Wartungs- und Reinigungsarbeiten von der Stromversorgung.
- Achten Sie beim Entpacken unbedingt darauf, dass die Bestandteile der Verpackung (Polyäthylentüten, Polystyrenstücke) nicht in die Reichweite von Kindern gelangen. ERSTICKUNGSGEFAHR!
- Dieses Gerät kann von Kindern ab 8 Jahren und darüber sowie von Personen mit verringerten physischen, sensorischen oder mentalen Fähigkeiten oder Mangel an Erfahrung und Wissen benutzt werden, wenn sie beaufsichtigt oder bezüglich des sicheren Gebrauchs des Gerätes unterwiesen wurden und die daraus resultierenden Gefahren verstehen. Kinder dürfen nicht mit dem Gerät spielen. Reinigung und Benutzer-Wartung dürfen nicht von Kindern ohne Beaufsichtigung durchgeführt werden.
- Beaufsichtigen Sie Kinder immer, damit diese nicht mit dem Gerät spielen.
⚠ VORSICHT!
-
Zugängliche und berührbare Teile der Haube können heiß werden, wenn die Haube zusammen mit einer Kochvorrichtung benutzt wird.
-
Führen Sie den Einbau des Geräts mit mindestens zwei Personen durch, weil Sie ansonsten das Gerät beschädigen oder der Person, die an dem Gerät arbeitet, Schaden zufügen.
HINWEIS!
- Das Gerät muss von mindestens zwei Personen transportiert und angeschlossen werden.
- Packen Sie die Kaminteile äußerst vorsichtig aus; ansonsten beschädigen Sie die Kaminteile!
- Entfernen Sie sämtliches Verpackungsmaterial, bevor Sie das Gerät benutzen. Das Gerät ist für den Transport möglicherweise mit Transportsicherungen geschützt. Entfernen Sie diese komplett. Gehen Sie dabei vorsichtig vor. Benutzen Sie keine aggressiven Reinigungsmittel, um Reste von Transportsicherungen zu entfernen.
- Eine konstante Pflege und Wartung gewährleistet einen einwandfreien Betrieb und die optimale Leistung Ihres Geräts.
- Entnehmen Sie der Verpackung und den Styropor-Komponenten unbedingt alle Zubehörteile!
- Überprüfen Sie vor dem Anschluss des Geräts, ob das Netzkabel oder das Gerät selbst keine Beschädigungen aufweisen.
2. Installation
- ⚠️ WARNING! Die Abluft darf nicht in einen Schornstein geleitet werden, der für Abgase von Geräten, die mit Gas oder anderen Brennstoffen betrieben werden, genutzt wird.
- Beachten Sie bei der Ableitung der Umluft immer alle geltenden gesetzlichen und behördlichen Bestimmungen.
- Der Durchmesser des Abluftschlauchs muss mit dem Durchmesser des Verbindungsrings übereinstimmen.
- Sollte Ihr Gerät werksseitig mit einem Kohlefilter ausgerüstet sein und Sie Ihr Gerät im Abluftbetrieb verwenden wollen, müssen Sie den Kohlefilter entfernen. Ein Kohlefilter ist nur für den Umluftbetrieb sinnvoll nutzbar.
- Die Abluftleitung sollte möglichst kurz und geradlinig sein. Der Durchmesser der Abluftleitung muss mindestens 120/150 mm (siche Kapitel TECHNISCHE DATEN) betragen, da ansonsten mit erhöhten Laufgeräuschen und verminderter Absaugleistung zu rechnen ist.
-
Achten Sie darauf, den Radius zu erhalten, wenn sie Bögen verwenden oder formen, da ansonsten die Leistung des Geräts vermindert wird. Die maximal zulässige Biegung nach außen beträgt 120°.
-
Verwenden Sie nur glatte Rohre oder flexible Abluftschläuche aus nicht brennbarem Material.
- Halten Sie bei waagerechter Verlegung der Abluftleitung ein Mindestgefälle von 1cm/m oder einen Neigungswinkel von 2° ein. Ansonsten läuft Kondenswasser in den Motor der Abzugshaube.
- Wenn die Abluft in einen Abluftschacht geführt wird, muss das Ende des Einführungsstutzens in Strömungsrichtung ausgerichtet werden.
- Wenn die Abluftleitung durch kühle Räume (z.B. Dachboden) geführt wird, kann innerhalb der einzelnen Leitungsbereiche ein starkes Temperaturgefälle entstehen. In diesem Fall wird in den betroffenen Bereichen Kondenswasser entstehen, was eine Isolierung der betroffenen Bereiche zwingend notwendig macht. Statten Sie eine solche Abluftleitung neben der Isolierung gegebenenfalls auch mit einer Kondenswassersperre aus.
- Je nach Modell kann Ihre Abzugshaube mit einer ( oben ) oder zwei ( oben und hinten ) Abzugsöffnungen ausgestattet sein.
- Die nicht benötigte Öffnung ist mit einem Kunststoffdeckel versehen, der durch Drehen gegen den Uhrzeigersinn entfernt und auf die nicht benötigte Öffnung gesetzt werden kann.

Gerätekomponenten

text_image
C B A 65 -75 cm F
text_image
D EA Haube
B Basisschacht
C Teleskopschacht
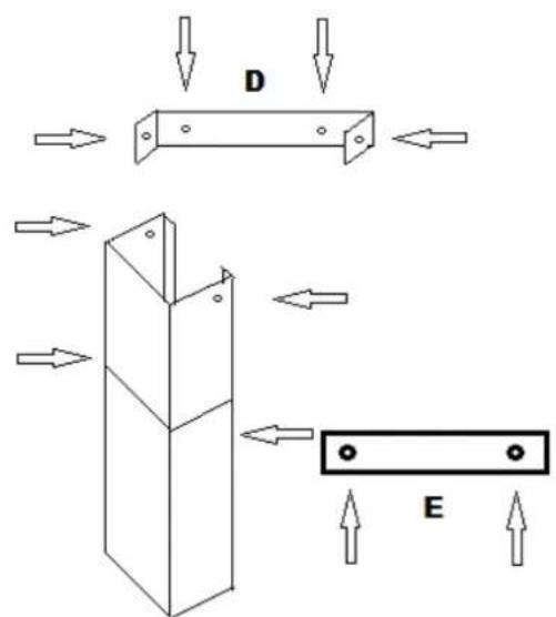
D Montageleiste
E Flacheisen
F Kochfeld

Installationsschritte
⚠️ WARNING! Eine Nichtbeachrung der Installationsanweisungen für die Schrauben oder Befestigungsvorrichtungen kann zu einem Stromschlag führen!
⚠️WARNUNG! Beschädigen Sie beim Bohren keine elektrischen Leitungen in den Wänden.
Schrauben für Wandbefestigung
Befestigung des Kamins an →

text_image
1 2 3
text_image
4 5 61 Montagebügel für Kamin 2 St.. 4*40
2 Flacheisen 2 St.. 4*30
3 Aufhängevorrichtung 3 St. 4*40
4 Montagebügel 2 St. 4*8
5 Flacheisen 2 St. 4*8
6 Haube 2 St.. 4*8
- Bringen Sie die beiden halbkreisförmigen Kunststoff-Ventilklappen(a/b) in der Luftauslassöffnung des Geräts an. Bringen Sie die Achsen der Ventilklappen durch vorsichtiges Biegen der Ventilklappen (1a) in die entsprechenden Löcher ein (1b). Beide Ventilklappen müssen sich anschließend nach außen öffnen (2).

text_image
a b
text_image
1a 1b
- Schließen Sie nun den Abluftschlauch am dafür vorgesehenen Ausgang der Haube an. Stülpen Sie den Abluftschlauch mit dem verbreiteten Rand über die Abluftöffnung des Geräts. Dabei sollten Sie den Abluftschlauch hinten an der Abluftöffnung ansetzen und dann vom Inneren des Abluftschlauchs aus den Schlauch vorsichtig mit den Daumen um die Abluftöffnung herum

- Halten Sie die Aufhängevorrichtung für die Haube an die Wand. Achten Sie hierbei darauf, eine Position zu wählen, die den Abmessungen des Abluftkamins entspricht. Markieren Sie die Bohrungen mit einem Bleistift.

-
Bohren Sie nun die Löcher und befestigen Sie die Aufhängevorrichtung mit den Dübeln und Schrauben.
-
Hängen Sie die Haube auf die festgeschraubte Aufhängevorrichtung.

- Bringen Sie das Flacheisen zuerst am unteren Kamin und dann an der Wand an. Sie können diesen Schritt zuerst provisorisch vornehmen, um die Löcher für die Wandmontage des Flacheisens anzuzeichnen und die entsprechenden Bohrungen in der Wand vorzunehmen.

text_image
Kamin Wand Kamin-
Setzen Sie den Kamin samt Teleskopstück auf die Haube und befestigen Sie ihn an der Haube an den dafür vorgesehenen Punkten.
-
Befestigen Sie den Montagebügel für den Abluftkamin unterhalb der Decke mit den Dübeln und Schrauben an der Wand.

text_image
Schraube Kamin ↔ Bügel Schraube Kamin ↔ Bügel- Verlegen Sie nun den Abluftschlauch zum vorgesehenen Ausgang. Befestigen Sie den Abluftschlauch mit dem Kabelbinder (1) am Abluftausgang in der Wand.

-
Befestigen Sie den oberen Kamin am Montagebügel für den Abluftkamin (vergl. Schritt 8).
-
Setzen Sie die Fettfilter ein und schließen Sie das Netzkabel am Stromnetz an.
Überprüfen Sie, ob Ihr Gerät aus der Front- und Seitenperspektive gerade und waagerecht an der Wand angebracht ist, da das Gerät ansonsten nicht ordnungsgemäß arbeitet.

Kohlefilter

Vor Montage Netzstecker ziehen!
Nur im Umluftbetrieb verwenden.
2 zu
- Entfernen Sie den/die Fettfilter. Die Kohlefilter werden auf den beiden Seiten des Motorgehäuses befestigt.
- Sollte sich die Netzanschlussdose innerhalb der Kaminverkleidung befinden, müssen Sie den Netzstecker entsprechend früher einstecken.
- Richten Sie die Haltevorrichtungen am Kohlefilter an denen der Filter-Halterklammer aus und rücken Sie, bis der Filter einrastet.
• Befestigen Sie die Fettfilter wieder.
- Die Saugleistung wird durch die Kohlefilter vermindert. Kohlefilter sind nicht Teil des Lieferumfangs.

Bestellen Sie die Kohlefilter unter www.pkm-online.de
3. Bedienfeld

text_image
0 1 2 3 4 5| 1 | Aus |
| 2 | Niedrigste Einstellung |
| 3 | Mittlere Einstellung |
| 4 | Höchste Einstellung |
| 5 | Licht ein/aus |
HINWEIS! Benutzen Sie alle Beleuchtungseinheiten nur, wenn das Gerät in Betrieb ist. Benutzen Sie die Beleuchtungseinheiten nicht zur Raumbeleuchtung.
4. Reinigung/Pflege
⚠️WARNUNG!
Trennen Sie das Gerät vor allen Wartungs- und Reinigungsarbeiten von der Stromversorgung.
Eine Nichtbeachtung der Reinigungs- und Pflegeanleitungen führt zu einem erhöhten Brandrisiko aufgrund von Fettablagerungen.
HINWEIS!
Legen Sie vor allen Reinigungs- und Wartungsarbeiten alle Ringe an Ihren Fingern sowie allen Armschmuck ab; ansonsten beschädigen Sie die Oberflächen des Geräts.
-
Behandeln Sie das Gehäuse mit einem weichen Tuch und einem geeigneten Reinigungsmittel.
-
Reinigen Sie das Bedienfeld / die Bedienelemente niemals mit einem Reinigungsmittel. Verwenden Sie statt dessen ein leicht feuchtes Tuch, da ansonsten Wasser in das Bedienfeld eindringt und die Elektronik beschädigt.
-
Verwenden Sie bei mattschwarz lackierten Geräten niemals alkoholhaltige Reinigungsmittel, weil diese Verfärbungen verursachen.
-
Reinigen Sie gläserne Bestandteile ^2 nur mit einem geeigneten Glasreiniger.
-
Reinigen Sie bei jedem Fettfilter- oder Kohlefilteraustausch bzw. bei einer Reinigung des Filters alle frei einsehbaren unteren Komponenten Ihres Geräts mit einem milden, nicht ätzenden und fettlösendem Reinigungsmittel.
- Beschädigen Sie beim Reinigen von Metallfiltern nicht das Gitter. Durch häufiges Reinigen können Farbveränderungen der Metalloberfläche entstehen.
- Solche Veränderungen haben keinen Einfluss auf die Leistung der Filter und sind kein Reklamationsgrund.
- Benutzen Sie keine Scheuermittel.
- Benutzen Sie niemals einen Dampfreiniger. STROMSCHLAGGEFAHR!

Fettfilter
Aluminiumfilter
Aluminiumfüssen nicht ersetzt werden. Einmal pro Monat von Hand oder in der Spülmaschine (30°) reinigen. Verwenden Sie keine aggressiven Reinigungsmittel. Benutzen Sie keine Scheuermittel! Benutzen Sie keine alkalischen Spülmaschinenreiniger (ph größer 7). Filter nicht zusammen mit verschmutzten Geschirr in den Geschirspüler stellen. Von Essensresten verstopfte Filter fallen nicht unter die Garantie. Lassen Sie den Filter gründlich trocknen, bevor Sie ihn wieder vorsichtig einsetzen.

Austausch des Leuchtmittels
Berühren Sie das neue Leuchtmittel nicht mit bloßen Händen. Der Fingerschweiß reduziert dir Haltbarkeit des Leuchtmittels. Verwenden Sie ein dünnes Tuch oder dünne Stoffhandschuhe.
- ⚠️ WARNING! Trennen Sie das Gerät von der Stromversorgung.
- Lassen Sie das Leuchtmittel abkühlen, bevor Sie es austauschen.
- Entnehmen Sie das verbrauchte Leuchtmittel.
- Ersetzen Sie es durch ein Leuchtmittel von gleicher Bauart und Leistung.

Kohlefilter
Herkömmliche Kohlefilter können nicht gereinigt werden. Diese Filter haben eine begrenzte Aufnahmefähigkeit und sind in der Regel nach 3-6 Monaten verbraucht. Ersetzen Sie einen verbrauchten Filter. Detaillierte Informationen vom Hersteller dazu finden Sie auf der Verpackung der Filter.
5. Problembehandlung
FEHLER
MÖGLICHE URSACHE
MASSNAHMEN
Gerät arbeitet überhaupt nicht.
Das Gerät ist mit dem Stromstecker nicht an der Steckdose angeschlossen.
Der Stromstecker ist locker.
Die Steckdose wird nicht mit Strom versorgt.
Die entsprechende Sicherung ist ausgeschaltet.
Überprüfen Sie die fragliche Steckdose, indem Sie ein anderes Gerät ebenda anschließen.
Überprüfen Sie die Sicherung.
Die Stromspannung ist zu niedrig. Vergleichen Sie die Angaben auf dem Typenschild mit den Angaben Ihres Stromanbieters.
Beleuchtung leuchtet, aber der Motor läuft nicht.
▶ Lüftungsklappe blockiert.
▶ Motorlager defekt.
▶ Blockierung beheben.
▶ Motor ersetzen.
Der Motor riecht verdächtig.
▶ Motor defekt.
▶ Motor ersetzen.
Ölspuren.
Einwegventil undicht.
Übergang Basisschacht-Teleskopschacht undicht.
Einwegventil abdichten.
Übergang mit geeignetem Mittel abdichten.
Gerät vibriert.
▶ Motor nicht fest montiert.
Haube nicht richtig befestigt.
▶ Motor richtig befestigen.
▶ Motor richtig befestigen.
Haube richtig befestigen.
Ungenügende Abzugsleistung.
▶ Abstand Haube-Kochfeld zu groß.
Zu viel Zugluft aufgrund geöffneter Türen und/oder Fenster.
Haube tiefer hängen.
Haube tiefer hängen.
➢ Türen und/oder Fenster schließen.
Gerät ist instabil.
Befestigungsbügel/-schrauben nicht fest montiert.
Befestigungsbügel/-schrauben richtig montieren
Wenn die Leistung der Haube unzureichend ist und/oder erhöhte Betriebsgeräusche zu hören sind, können dafür die folgenden Ursachen vorliegen:
✿ unzureichende Größe der Abluftleitung.
◆ eine Verstopfung in der Abluftleitung.
der Durchmesser der Abluftleitung von der Haube bis zum Mauerkasten inklusive sollte 120/150 mm betragen (siehe TECHNISCHE DATEN), da ansonsten die Leistung des Motors beeinträchtigt werden kann.
falls Sie am Mauerkasten ein Fliegengitter angebracht haben, kann dadurch der Luftstrom beeinträchtigt werden. Entfernen Sie zum Überprüfen das Gitter.
falls an der Abdeckplatte des Mauerkasten feste und sehr schräg stehende Lamellen sind, kann dadurch der Luftstrom beeinträchtigt werden. Entfernen Sie zum Überprüfen die Abdeckplatte.
- Bringen Sie eine Abdeckplatte mit beweglichen Lamellen an, die den Luftstrom am wenigsten hemmen.
✿ Überprüfen Sie den Zustand und die Sauberkeit der Filter.
✿ Überprüfen Sie, ob die durch die Haube der Küche entnommene Luft ersetzt wird, damit kein Unterdruck entsteht.
falls Sie die Haube im Umluftbetrieb verwenden, überprüfen Sie, ob die Kohlefilter rechtzeitig gewechselt wurden (mindestens alle 3-6 Monate).
Sollte das Gerät Störungen abweichend von den oben beschriebenen aufweisen, oder falls Sie alle Punkte der Liste überprüft haben, das Problem aber nicht behoben werden konnte, kontaktieren Sie das Geschäft, in dem Sie das Gerät gekauft haben.
6. Technische Daten
| Geräteart | Dunstabzugshaube | |
| Material | Edelstahl | |
| Einbaubreite in cm | 60,00 | |
| Drucktasten | 5 | |
| Umluftbetrieb/Abluftbetrieb* | √ | √ |
| Jährlicher Energieverbrauch (AEC _hood ) | 27,7 kW/h | |
| Energieeffizienzklasse | B | |
| Fluidynamische Effizienz (FDE _hood ) | 13,6 | |
| Fluidynamische Effizienzklasse | D | |
| Beleuchtungseffizienz (LE _hood ) | 34,5 lux/W | |
| Beleuchtungseffizienzklasse | Λ | |
| Fettabschidegrad | 70,8 % | |
| Fettabschidegradklasse | D | |
| Leistungsaufnahme ausgeschaltet (Po) | 0,00 W | |
| Leistungsaufnahme Bereitschaft (Ps) | 0,00 W | |
| Leistungsaufnahme Lichtsystem (Wi) | 2,0 W | |
| Anschlusswert | 67,0 W | |
| Stromspannung/Frequenz | AC 220-240V/50Hz | |
| Fettfilter/Material/spülmaschinenfest | 2*MF01 | Aluminium √ |
| Kohlefilter ** | 2*CF 130 | |
| Abluftschlauch | √ | |
| Befestigungsmaterial | √ | |
| Bedienungsanleitung | √ | |
| Teleskopkamin ausziehbar von-bis | 40-78 cm | |
| Abmessungen Gerät H*B*T in cm | 30,0-108,0*60,0*50,0 | |
| Gewicht netto/brutto in kg | 9,50/11,50 | |
* Abluftbetrieb: bei Anschluss an einen Entlüftungskamin bzw. Abluft ins Freie (Maucerdurchführung = 150mm ∅ / Bohrung ca. 160mm ∅)
** Ausstattung abhängig vom Modell.
7. Entsorgung
- Achten Sie beim Entpacken unbedingt darauf, dass die Bestandteile der Verpackung (Polyäthylentüten, Polystyrenstücke) nicht in die Reichweite von Kindern gelangen. ERSTICKUNGSGEFAHR!
- Nicht mehr benutzte und alte Geräte müssen der zuständigen Wiederverwertungsstelle zugeführt werden. Keinesfalls offenen Flammen aussetzen.
- Bevor Sie ein beliebiges Altgerät entsorgen, machen Sie dieses vorher unbedingt funktionsuntüchtig! Das bedeutet, immer den Netzstecker ziehen und danach das Stromanschlusskabel am Gerät abschneiden und direkt mit dem Netzstecker entfernen und entsorgen! Entsorgen Sie Papier und Kartonagen in den dafür vorgesehenen Behältern.
- Entsorgen Sie Kunststoffe in den dafür vorgesehenen Behältern.
- Falls es in Ihrem Wohnumfeld keine geeigneten Entsorgungsbehälter gibt, bringen Sie diese Materialien zu einer geeigneten kommunalen Sammelstelle.
- Nähere Informationen erhalten Sie von Ihrem Fachhändler oder bei Ihren entsprechenden kommunalen Entsorgungseinrichtungen.
7.

Alle mit diesem Symbol gekennzeichneten Materialien wiederverwertbar.

Alle verfügbaren Informationen zur sind Mülltrennung erhalten Sie bei Ihren örtlichen Behörden.
für Elektro-Großgeräte der PKM GmbH & Co. KG, Neuer Wall 2, 47441 Moers
Der Hersteller leistet dem Verbraucher für die Dauer von 24 Monaten, gerechnet vom Tag des Kaufes Garantie für einwandfreies Material und fehlerfreie Fertigung. Dem Verbraucher stehen neben den Rechten aus der Garantie die gesetzlichen Gewährleistungsrechte zu, die der Verbraucher gegen den Verkäufer hat, bei dem er das Gerät erworben hat. Diese werden durch die Garantie nicht eingeschränkt.
Der Garantieanspruch ist vom Käufer durch Vorlage des Kaufbelegs mit Kauf- und/oder Lieferdatum nachzuweisen und unverzüglich nach Feststellung und innerhalb von 24 Monaten nach Lieferung an den Erstendabnehmer zu melden. Die Garantie begründet keine Ansprüche auf Rücktritt vom Kaufvertrag oder Minderung (Herabsetzung des Kaufpreises). Ersetzte Teile oder ausgetauschte Geräte gehen in unser Eigentum über.
Der Garantieanspruch erstreckt sich nicht auf:
- zerbrechliche Teile wie z.B. Kunststoff oder Glas bzw. Glühlampen;
- geringfügige Abweichungen der PKM-Produkte von der Soll-Beschaffenheit, die auf den Gebrauchswert des Produkts keinen Einfluss haben;
- Schäden infolge Betriebs- und Bedienungsfehler,
- Schäden durch aggressive Umgebungseinflüsse, Chemikalien, Reinigungsmittel;
- Schäden am Produkt, die durch nicht fachgerechte Installation oder Transport verursacht wurden;
- Schäden infolge nicht haushaltsüblicher Nutzung;
- Schäden, die außerhalb des Geräts durch ein PKM-Produkt entstanden sind -soweit eine Haftung nicht zwingend gesetzlich angeordnet ist.
Die Gültigkeit der Garantie endet bei:
- Nichtbeachten der Aufstell- und Bedienungsanleitung;
- Reparatur durch nicht fachkundige Personen;
- Schäden, verursacht durch den Verkäufer, Installateur oder dritte Personen;
- unsachgemäße Installation oder Inbetriebnahme;
- mangelnde oder fehlerhafte Wartung;
- Geräten, die nicht ihrem vorgesehenen Zweck entsprechend verwendet werden;
- Schäden durch höhere Gewalt oder Naturkatastrophen, insbesondere, aber nicht abschließend bei Brand oder Explosion.
Garantieleistungen bewirken weder eine Verlängerung der Garantiefrist noch setzen sie eine neue Garantiefrist in Lauf. Der räumliche Geltungsbereich der Garantie erstreckt sich auf in Deutschland, Österreich, Belgien, Luxemburg und in den Niederlanden gekaufte und verwendete Geräte.
Wenden Sie sich bitte an das Geschäft, in dem Sie das Gerät erworben haben.
Änderungen vorbehalten
Stand 30.05.2016
© PKM GmbH & Co. KG, Neuer Wall 2, 47441 Moers
EinfachAnleitung