4 m series economy - Zelt Profizelt24 - Kostenlose Bedienungsanleitung
Finden Sie kostenlos die Bedienungsanleitung des Geräts 4 m series economy Profizelt24 als PDF.
Benutzerfragen zu 4 m series economy Profizelt24
0 Frage zu diesem Gerät. Beantworten Sie die, die Sie kennen, oder stellen Sie Ihre eigene.
Eine neue Frage zu diesem Gerät stellen
Laden Sie die Anleitung für Ihr Zelt kostenlos im PDF-Format! Finden Sie Ihr Handbuch 4 m series economy - Profizelt24 und nehmen Sie Ihr elektronisches Gerät wieder in die Hand. Auf dieser Seite sind alle Dokumente veröffentlicht, die für die Verwendung Ihres Geräts notwendig sind. 4 m series economy von der Marke Profizelt24.
BEDIENUNGSANLEITUNG 4 m series economy Profizelt24
DE/AT/CH Sicherheitshinweise
Einführung
Herzlichen Glückwunsch zum Kauf Ihres neuen Zelter. Bei Fragen oder Tipps wenden Sie sichGRE an unser Kundenservice-Team oder an einen unserer autorisierten Handelspartner.
Ihr Zelt konnen Sie nun flexibel einsetzen: zum Feiern, einfach als Sonnenschutz, als Understand, zur Lagerung u. v. m.
Beachten Sieitte die nachfolgenden Hinweise, damit Sie lange Freude an dem Zelt haben.
Wichtig
Lesen Sie diese Aufbauanleitung vor dem Gebrauch des Zelteres aufmerksam durch und bewahren Sie sie für eine spätere Verwendung auf.
Das Zelt ist nicht auf Wind- und Schneelasten getestet worden. Somit konnen hierfür keine Garantien übernommen werden. Beachten Sie in solchen Fällen den Wetterbericht, um im Bedarfsfall das Zeltrechtzeitig zu sichern und/oder abzubauen.
Warnhinweise
Zelte sind als temporäre Unterkunft gedacht und sollenen bei widrigen Witterungsverhältnissen abgebaut werden.itte bewahren Sie immer ausreichend Abstand zu Schlauchen, Gas- oder Elektroleitungen. Um Schaden dies bezuglich zu verhindern, informieren Sie sichitte bei ihren ortlichen Behörden.
Beim Einsatz geeigneter Heizgeräte (Auskunft hierzu im Fachhandel) ist ein Abstand von mindestens 1,2 m zu jeglichem Planenmaterial einzuhalten. Sie sollen auf keinen Fall offenes Feuer im Zelt machen und Heizgeräte mit offen den Flammen verwenden.
Der Aufbauer ist verantwortlich für die angemessene Verankierung und damit für die Sicherheit des Zeltes. Die Verankierung muss regelmäß geprüft werden, um stets die Sicherheit des Zeltes zu gewährleisten, Schäden am Zelt vorzubeugen und Dritte zu schützen. Eine richtige Verankierung erhöht die Lebensdauer der Einzelteile und des Zeltes als Ganzes.
Tragen Sie beim Aufbau immer einen Helm, Handschuhe und stabile Schuhe. Das schwere Metall kann scharfe Kanten haben und durch die rosthemmende Behandlung ülig sein.
Bei Schneefall muss unbedingt darauf auf geachtet werden, dass der Schnee regelmäßig und zeitnah von der Plane entfern wird. Gleiches gilt nach starken Regenfällen oder Belastung durch andere Materialen.
Bewahren Sie Ersatzteile für Kinder unzugänglich auf.
Achtung
Achten Sie darauf, dass der Untergrund für ihre Nutzungszwecke geeignet ist. Suchen Sie einen ebenen Untergrund für das Zelt. Verwenden Sie nur die mitgelieferten Materialien. Berühren und/oder bearbeiten Sie die Planen nicht mit spitzen Gegenständen.
Gummischlaufen sind Verschleibe. Bei Materialermündung sollenn diese ersetzt werden. Das Zelt ist auch bei leichteren Minustemperatren fur einen Einsatz geeignet. Die Planen müssen aber bei mindestens 10^ Lange genug gelagert sein und bei diesen Temperatren oder wärmer, entfaltet werden. Ansonsten kann es zu Bruchstellen an den gefalteten Stellen kommt.
Jedes Land hat Vorschriften für das Errichten von mobilen- (Zelten) und immobilen Bauten. Ob eventuelle Genehmigungen für ihren Nutzungszweck erfolderlich sind, erfragen Sieitte bei ihrer ortlichen Behörde. In manchen Ländern ist die Zeitgroße entscheidend fur eine eventuelle Genehmigung.
Vor dem ersten Gebrauch
Packen Sie die Kartons aus und überzeugen sich anhand der Packliste, ob alle Teile vorhanden sind. Metallteile sind vom Hersteller durch einen leichten Ölfilm geschützt. Es kann passieren, dass manche Teile zu ülig. In thisem Fall behmen Sieitte einen Lappen und wischen das Ol ab. Dafur bitten wir um Entschuldigung.
Planen Sie beim ersten Aufbau etwas mehr Zeit ein. Anschließlich wird es immer zügiger geben. Das Aufbauprinzip ist einfach. Beachten Sie unsere Bebildierung der Schritte. Die Verschraubung der Rohre mit den Verbindern führen Sieitte manuell mit einem Inbusschluss aus oder mit einem Akkuschrauber auf maximal Stufe 2.itte schonen Siedas Material.
Reinigung und Aufbewährung
Benutzen Sie zur Reinigung der Planen keine aggressiven Reinigungsmittel. Nehmen Sie einfach leichtes Laugenwasser. Das Zelt sollte nicht in nassem Zustand zusammengelegt und verpackt werden. Bewahren Sie das Zelt trocken auf. Sehen Sie davon ab, das Metallgestänge zu verändern: weder durch das Anbauen und/oder Anschweiben anderweitiger Materialien, noch durch Einkerbungen und/oder Verformungen des Materials.
Gehen Sie vorsichtig mit den Einzelteilen um. Nutzen Sie beim Abbau wieder die Packlste und überprüfen Sie die Vollständigkeit, damit beim nachsten Aufbau alles wieder vorhanden ist.
Achten Sie beim Lager des Zeltes ebenfalls darauf, dass keine weiteren Gegenstände auf thisem liegen.
Umwelt
Tragen Sie zum Umweltschutz bei: Werfen Sie Ihr Zelt und/oder Teile davon nicht in den Hausmull. Bringen Sie es zum Recycling zu einer officiellen Sammelstelle oder wenden Sie sich an den Hersteller bzw. einen autorisierten Handler.
Garantie und Kundendienst
Wenn Sie weitere Informationen benötigen oder Probleme auftreten: schreiben Sieitte eine E-Mail an helpme@TOOLPORT.de, oder setzen sich mit einem TOOLPORT Service-Center in Ihrem Land in Verbindung. Deutschland: 040 / 608 72 717; International: 00800 / 240 240 24.
Das Zelt ist schwer entflammbar, hochwertig und mit einer geprüften PVC-Haut gemäß DIN 4102-B1/B2 (A - EN 13501-1, CH - BKZ 5.2, DK, S N - SIS 650082, NL, B, L - EN 13501-1, PL - EN 13501-1, F - M1/M2) ausgestattet. Damit gilt das PVC-Material als schwer entflammbar und kann somit auch auf öffentlichen Events eingesetzt werden.
GB Characteristics
Suchen Sie einen ebenen Untergrund für das Zelt. Packen Sie die Kartons aus und sehen Sie nach, ob auch alle hier aufgelisteten Teile vorhanden sind. Entfernen Sie vor dem Aufbau den leichten Ölfilm mit einem Tuch. Bei kälterem Wetter empfehlen wir, die Zeltplane vorher auf Zimmertemperatur zu bringen.
Beim Montieren achten Sieitte darauf das die Muttern immer innen liegen.
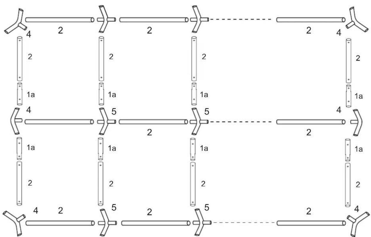
1 Setzen Sie den Rahmen für das Dach zusammen indem Sie die Teile 4 und 5 an die Stangen 1+1a und 2 montieren und zur Fixierung mit den Schrauben anziehen.

ACHTUNG: These Anleitung betrifft das Modell ab Herbst 2016
Für das vorherige Modell gilt folgenden:

4 m series economy
2 Heben Sie eine Seite des Zeltgerüsts an und setzen Sie die Beine(3) ein. Setzen Sie das Dach (15) auf den Rahmen und befestigen Sie es mit den Gummischlaufen (9).
Achten Sie daraufuf, nicht zu viel Spannung auf die Gummischlaufen zu geben, um das Anbringen der anderen Seite nicht zu erschwenen.

4 m series economy

Steen Sie die Beine auf der gegenüberliegenden Seite ein.
Bittle stellen Sie die Zeltbeine senkrecht auf, um zu hohe Spannung auf den Giebelwänden zu vermeiden.
Benutzen Sie die mittleren Erdnägel (7) um die Fuß am Boden zu befestigen. Die Dachschals werden mit Haken (13) an den Stangen (3) befestigt.

4 m series economy
4 Breiten Sie die Seitenwände (16) und Endwände (17) aus und befestigen Sie die Seitenwände mit den Gummischlaufen (9) am Gerüst und die Endwände mit den kurzen Gummischlaufen (10) direkt am Dach.
Mit den kurzen Erdnägeln (8) befestigen Sie die Endwände am Boden. Die Spannleine lauft von jeder Ecke des Zeltes und wird mit den langen Erdnägeln (6) am Boden verspannt.

4 m series economy
GB
EinfachAnleitung