SG2570N - Gefrierschrank AEG-ELECTROLUX - Kostenlose Bedienungsanleitung
Finden Sie kostenlos die Bedienungsanleitung des Geräts SG2570N AEG-ELECTROLUX als PDF.
Laden Sie die Anleitung für Ihr Gefrierschrank kostenlos im PDF-Format! Finden Sie Ihr Handbuch SG2570N - AEG-ELECTROLUX und nehmen Sie Ihr elektronisches Gerät wieder in die Hand. Auf dieser Seite sind alle Dokumente veröffentlicht, die für die Verwendung Ihres Geräts notwendig sind. SG2570N von der Marke AEG-ELECTROLUX.
BEDIENUNGSANLEITUNG SG2570N AEG-ELECTROLUX
- SICHERHEITSHINWEISE 39
2.BEDIENFELD 41 - TÄGLICHER GEBRAUCH 43
- HILFREICHE HINWEISE UND TIPPS 46
- REINIGUNG UND PFLEGE 46
6.WAS TUN, WENN 48 - MONTAGE 50
8.GERÄUSCHE 54 - TECHNISCHE DATEN 56
- UMWELTTIIPPS 56
WIR DENKEN AN SIE
Vielen Dank, dass Sie sich für ein Electrolux Gerät entschieden haben. Sie haben ein Produkt gewählt, hinter dem eine jahrzehntelange professionelle Erfahrung und Innovation stehen. Bei der Entwicklung这点es großartigen und eleganten Geräts haben wir an Sie gedacht. So haben Sie bei jedem Gebrauch die Gewissheit, dass Sie stets großartige Ergebnisse erzielen werden.
Willkommen bei Electrolux.
Besuchen Sie uns auf unserer Website, um:

Anwendungshinweise, Prospekte, Fehlerbehebungs- und Service-Informationen zu erhalten: www.electrolux.com

Ihr erworbenes Produkt zu registrieren, um den besten Service davon zu gewährleisten: www.electrolux.com/productregistration

Zubehor, Verbrauchsmaterial und Original-Ersatzteile für Ihr Gerät zu erwerben: www.electrolux.com/shop
KUNDENDIENST UND -BETREUUNG
Bitte verwenden Sie ausschließlich Original-Ersatzteile für ihre Produkte. Halten Sie folgende Angaben bereit, wenn Sie sich an den Kundendienst wenden (diese Informationen finden Sie auf dem Typenschild): Modell, Produktnummer (PNC), Seriennummer.

Warnings-/ Sicherheitschinweise.

Allgemeine Hinweise und Ratschlage

Hinweise zum Umweltschutz
Änderungen vorbehalten.
1. SICHERHEITSHINWEISE
Lesen Sie zu ihrer Sicherheit und für die optimale Geräteanwendung vor der Installation und dem Gebrauch des Gerätes die vorliegende Benutzerinformation aufmerksam durch, einschließlich der Ratschlage und Warnungen. Es ist wichtig, dass zur Vermeidung von Fehlern und Unfälle alle Personen, die das Gerät benutzen, mit der Bedienung und den Sicherheitsvorschriften vertraut sind. Heben Sie die Benutzerinformation gut auf und übergeben Sie sie bei einem Weiterverkauf des Gerätes dem neuen Besitzer, so dass jeder während der gesamten Lebensdauer des Gerätes über Gebrauch und Sicherheit informiert ist.
Halten Sie sich zu Ihrer Sicherheit und zum Schutz Ihres Eigentums strikt an die Vorsichtsmaßnahmen der vorliegenden Benutzerinformation, da der Hersteller bei Missachtung derselben von jeder Haftung freigestellt ist.
1.1 Sicherheit von Kindern und hilfsbedürftigen Personen
- Das Gerät darf von Personen (einschließlich Kindern), deren physische, sensorische Fähigkeiten und deren Mangel an Erfahrung und Kenntnissen einen sicheren Gebrauch des Gerätes ausschreiben nur unter Aufsicht oder nach ausreichender Einweisung durch eine verantwortungsbewusste Person benutzt werden, die sicherst, dass sie sich der Gefahren des Gebrauchs bewusst sind.
Kinder,müssen beaufsichtigt werden, damit sie nicht am Gerät herumspielen konnen.
- Halten Sie das Verpackungsmaterial unbedingt von Kindern fern. Erstickungsgefahr!
- Ziehen Sie vor der Entsorgung des Gerätes den Netzstecker, schneiden Sie das Netzkabel (so nah wie möglich am Gerät) ab und entfern den Sie die Tür, so dass spielende Kinder vor elektrischem Schlag geschützt sind und sich nicht in dem Gerät einschließlich konnen.
- Wenn these Gerät mit magnetischer Türdlichtung ein ätheres Modell mit Schnappverschluss (Tülasche) an der
Tür oder auf dem Deckel ersetzt, machen Sie den Schnappverschluss vor dem Entsorgen des Altgerätes unbrauchbar. So verhindern Sie, dass das Gerät nicht zu einer Todesfalle für Kinder wird.
1.2 Allgemeine Sicherheitshinweise

WARNING!
Achten Sie darauf, dass die Belüftungsöffnungen im Gehäuse oder in der Einbaunische nicht blockiert sind.
- Das Gerät ist für die Aufbewährung von Lebensmitteln und/oder Geträken in einem normalen Haushalt bestimmt, wie in der vorliegenden Gebrauchsanweisung beschrieben wird.
- Benutzen Sie keine mechanischen oder sonstigen Hilfsmittel, um den Abtauprozess zu beschleunigen.
- Verwenden Sie keine anderen Elektrogeräte (wie Speiseeisbereiter) in Kühlgärten, wenn solche Geräte nicht ausdrücklich vom Hersteller für diesen Zweck zugelassen sind.
- Beschädigen Sie nicht den Kältekreislauf.
- Das Kältemittel Isobutan (R600a) im Kältekreislauf des Gerätes ist ein natürliche und sehr umweltfreundliches Gas, das jederlich nicht entflammar ist.
Achten Sie beim Transport und bei der Aufstellung des Gerätes darauf, nicht die Komponenten des Kältekreislaufs zu beschädigen.
Bei einer eventuellen Beschädigung des Kältekreislaufs:
- Offene Flammen und Zündfunken vermeiden
-
Den Raum, in dem das Gerät installiert ist, gut lüften
-
Technische und anderweitige Änderungen am Gerät sind gefährlich. Ein defektes Netzkabel kann Kurzschlüsse und einen Brand verursachen und/oder zu Stromschlagen führen.

WARNING!
Elektrische Bauteile (Netzkabel, Stecker, Kompressor) dürfen zur Vermeidung von Gefahren nur vom Kundendienst oder einer Fachkraft ausgewechselt werden.
- Das Netzkabelarf nichtverlangert werden.
- Vergewissern Sie sich, dass der Netzstecker nicht von der Geräterückseite geklemmt oder beschädigt wird. Ein geklemmter oder beschädigter Netzstecker überhützt und kann einen Brand verursachen.
- Vergewissem Sie sich, dass der Netzstecker des Geräts frei zugänglich ist.
- Ziehen Sie nicht am Netzkabel.
- Stecken Sie den Netzstecker nie in eine lockere Steckdose. Es besteht Brand- und Stromschlaggefahr.
-
Betreiben Sie das Gerät nicht ohne Lampenabdeckung (wenn vorgesehen) der internen Beleuchtung.
-
Dieses Gerät ist schwer. Vorsicht beim Transport.
- Entnehmen oder berühren Sie nie mit nassen/feuchten Händen Tiefkühlgut, da dies zu Hautverletzungen oder Käteverbrennungen führen kann.
- Das Gerät nicht direkter Sonnenein-strahlung aussetzen.
Die Leuchtmittel (wenn vorgesehen) in thisem Gerät sind Speziallampen, die nur für Haushaltsgeräte geeignet sind. Sie eignen sich nicht zur Raumbeuch-tung.
1.3 Täglicher Gebrauch
- Stellen Sie keine bereits Töppe auf die Kunststoffeile des Gerätes.
- Lagern Sie keine feuergeführlichen Gase oder Flüssigkeiten in dem Gerät. Explosionsgefahr.
- Legen Sie Lebensmittel nicht direkt vorden Luftauslass in der Rückwand. (Wenn es ein No-Frost-Gerät ist)
- Ein aufgetautes Produkt darf nicht wieder eingefroren werden.
- Abgepackte Tiefkuhlkost immer entsprechend den Herstellerangaben aufbewahren.
Die Lagerempfehlungen des Geräteherstellers sollenen strikt eingehalten werden. Halten Sie sich an die betreffenden Anweisungen.
- Keine kohlensäurehaltigen Getränke oder Sprudel in den Tiefkühlschrank stellen, da der Druckanstieg in den Behältem zur Explosion führen und das Gerät beschädigen kann.
- Eis am Stiel kann Käteverbrennungen verursachen, wenn es direkt nach der Entnahme aus dem Gefrierschrank gegessen wird.
1.4 Reinigung und Pflege
- Schalten Sie vor Wartungsarbeiten immer das Gerät ab undziehen Sie den Netzstecker aus der Steckdose.
- Reinigen Sie das Gerät nicht mit Metallgegenständen.
- Verwenden Sie keine scharfen Gegenstände zum Entfernen von Reif und Eis im Gerät. Verwenden Sie einen Kunststoffschaber.
- Verwenden Sie niemals einen Haar-trockner oder andere Heizgeräte, um das Abtauen zu beschleunigen. Starke Hitze kann die Plastikteile im Innenaum beschädigend und Feuchtigkeit kann in das elektrische System eindringen, so dass die Teile unter Spannung stehen.
1.5 Montage

Halten Sie sich für den elektrischen Anschluss strikt an die Anweisungen der betreffenden Abschnittte.
- Kontrollieren Sie nach dem Auspacken das Gerät auf eventuelle Beschädigungen. Nehmen Sie das Gerät nicht in Betrieb, wenn es beschädigt ist. Melden Sie die Schäden umgehend dem Handler, bei dem Sie es erworben haben. Bewahren Sie in thisem Fall die Verpackung auf.
- Lassen Sie das Gerät mindestens vier Stunden stehen, bevor Sie es elektrisch anschließen, damit das Öl in den Kompressor zurückfließen kann.
- Ausreichenden Freiraum zur Luftzirkulation um das Gerät halten; anderenfalls besteht Überhitzungsgefahr. Halten Sie
sich für die Belüftung an die Installationsanweisungen.
- Das Gerät sollte zur Vermeidung von Verbrennungen durch Berührung von—heiben Bauteilen (Kompressor, Kondensator) möglichst mit der Rückseite gegene Wand aufgestellt werden.
- Das Gerätarf nicht in der Höhe von Heizkörpm oder Kochern installiert werden.
- Vergewissern Sie sich, dass der Netzstecker des Gerätes nach der Installation frei zugänglich ist.
- Wenn ein Wasseranschluss vorgesehen ist, verbinden Sie das Gerät nur mit dem Trinkwasseranschluss.
1.6 Kundendienst
-
Sollte die Wartung des Gerätes elektrische Arbeiten verlangen, so dürfen diese nur von einem qualifizierten Elektriker oder einem Elektro-Fachmann durchgeführten werden.
-
Wenden Sie sich für Reparaturen und Wartung nur an Fachkräfte der autorisierten Kundendienststellen und verlangen Sie stets Original-Ersatzteile.
1.7 Umweltschutz

Das Gerät enthalt im Kältekreis oder in dem Isoliermaterial keine ozonschädigenden Gase. Das Gerätarf nicht wie normaler Hausmüll entsorgt werden. Die Isolierung enthalt entscheidliche Gase: das Gerät muss gemäß den geltenden Vorschriften entsorgt werden; sie erhalten diese bei ihrer Gemeindeverwaltung. Nicht das Kälteaggregat beschädigen, insbesondere nicht in der Nähne des Wärmetauschers. Die Materialien, die bei der Herstellung dieser Geräts verwendet wurden und mit dem Symbol markiert sind, können recycliert werden.
2. BEDIENFELD

1 Display
2 Taste zur Erhöhung der Temperatur
3 Taste zum Senken der Temperatur
4 Taste OK
5 Taste Mode
6 Taste ON/OFF
Der voreingestellte Tastenton lassst sich auf einen lauten Ton einstellen. Halten Sie dazu die Taste Mode und die Taste zum Senken der Temperatur mehrere Sekunden gedrückt. Die Änderung lassst sich rückgangig machen.
2.1 Display/Anzeige

1 Timer-Anzeige
2 Funktion FROSTMATIC
3 Funktion Minute Minder
4 Funktion Kindersicherung
5 Alarmanzeige
6 Temperaturanzeige
2.2 Einsatzen des Geräts
Um das Gerät einzuschalten, folgen Sie diesen Schritten:
- Stecken Sie den Netzstecker in die Netzsteckdose.
- Drücken Sie die ON/OFF-Taste, wenn das Display ausgeschaltet ist.
- Nach ein paar Sekunden ertont möglicherweise ein akustisches Alarmsignal.
Wie Sie den Alarm ausschalten, erfolren Sie unter „Temperaturwannung".
- Wenn "dEMo" auf dem Display angezeigt wird, befindet sich das Gerät im Demo-Modus. Schlagen Sie dazuitte unter „Was tun, wenn ...“ nach.
- Die Temperaturzeigen zeigen die jeweils eingestellte Standardtemperatur an.
Informationen zur Auswahl einer anderen Temperatur finden Sie unter „Temperaturregelung".

Bleibt die Tü einige Minuten lang geöffnet, schaltet sich die Beleuchtung automatisch aus. Die Beuleuchtung wird durch das Schlieben und Offnen der Tü automatisch aus- bzw. eingeschaltet.
2.3 Ausschalten des Geräts
Zum Ausschalten des Gerätes:
- Halten Sie die Taste ON/OFF einige Sekunden lang gedrückt.
- Das Display wird ausgeschaltet.
- Ziehen Sie den Gerästecker aus der Steckdose, um das Gerät vom Netz zu trennen.
2.4 Temperaturregelung
Die Temperatur des Gefriergeräts wird mit der Temperaturtaste eingestellt.
Stellen Sie die Standardtemperatur ein:
- 18 °C für den Gefrierschrank
Die Temperaturanzeige zeigt die eingestellte Temperatur.
Die eingestellte Temperatur wird innerhalb von 24 Stunden erreicht.

Nach einem Stromausfall bleibt die eingestellte Temperatur gespeichert.
2.5 Funktion FROSTMATIC
Zum Einsatz der Funktion:
- Drücken Sie die Taste Mode, bis das entsprechende Symbol angezeigt wird.
Die Anzeige FROSTMATIC blinkt. - Drücken Sie zur Bestätigung die Taste OK.
Die Anzeige FROSTMATIC leuchtet.
These Funktion endet automatisch nach 52 Stunden.
Zum Ausschalten der Funktion vor ihrer automatischen Abschaltung:
- Drücken Sie die Taste Mode, bis die Anzeige FROSTMATIC blinkt.
- Drücken Sie zur Bestätigung die Taste OK.
- Die Anzeige FROSTMATIC erlischt.

Die Funktion wird durch die Auswahl einer anderen Gefriertemperatur ausgeschelt.
2.6 Minute Minder-Funktion
Mit der Funktion Minute Minder lasst sich ein Alarmton einstellen, der zu der gewünschten Zeit ertont. Dies ist zum Beispiel practisch, wenn ein Gericht eine gewisse Zeit abkühlen muss oder Sie die Flaschen, die Sie für einechnellere Kuhlung in den Gefrierraum gelegt haben, nicht vergessen möchten.
Zum Einsatz der Funktion:
- Drücken Sie die Taste Mode, bis das entsprechende Symbol angezeigt wird.
Die Minute Minder Anzeige blinkt.
Der Timer zeigt den eingestellten Wert (30 Minuten) ein paar Sekunden lang an.
- Drücken Sie die Taste zum Erhöhen oder Senken der Temperatur, um die Timereinstellung von 1 bis 90 Minuten zu ändern.
- Drucken Sie zur Bestätigung die Taste OK.
Die Minute Minder Anzeige erscheint.
Der Timer beginnt zu blinken (min). Nach Ablauf des Countdowns blinkt die Anzeige Minute Minder und es ertont ein Alarmsignal.
- Entnehmen Sie die Getränke aus dem Gefrierraum.
- Schalten Sie den Alarmton und die Funktion mit der Taste OK aus.
These Funktion kann während des Countdowns jederzeit ausgeschelt werden: - Drucken Sie die Taste Mode bis die Minute Minder Anzeige blinkt.
- Drücken Sie zur Bestätigung die Taste OK.
- Die Minute Minder Anzeige erlischt. Die Zeit kann während des Countdowns geändert werden, indem Sie die Tasten zur Erhöhung und Verringerung der Temperatur drücken.
2.7 Funktion Kindersicherung
Wahlen Sie die Kindersicherung, um die Tasten gegen eine unbeabsichtigte Betätigung zu verriegeln. Zum Einsatzen der Funktion:
- Drücken Sie die Taste Mode, bis das entsprechende Symbol angezeigt wird.
- Die Anzeige „Kindersicherung“ blinkt.
- Drücken Sie zur Bestätigung die Taste OK. Die Anzeige „Kindersicherung" leuchtet.
Zum Ausschalten der Funktion:
- Drücken Sie die Taste Mode, bis die Anzeige „Kindersicherung" blinkt.
- Drücken Sie zur Bestätigung die Taste OK.
- Die Anzeige „Kindersicherung“ er-lischt.
3. TÄGLICHER GEBRAUCH
3.1 Einfrierten frischer Lebensmittel
Der Gefrierraum eignet sich zum Einfrieren von frischen Lebensmitteln und zumLAGern von gefrorenen und tiefgefrorenen Lebensmitteln über einen längeren Zeitraum.
Für das Einfrieren einer kleinen Menge frischer Lebensmittel ist keine Änderung der Einstellung erforderlich.
2.8 Temperaturwarnung
Ein Anstieg der Temperatur im Gefrierraum (zum Beispiel aufgrund eines vorausgegangenen Stromausfalls oder einer geöffneten Gerätür) wird wie folgt angezeigt:
- Blinkende Alarm- und Temperaturanzeige des Gefrierschranks.
-
Durch das Ertönen eines Summers. Zurücksetzen des Alarms:
-
Drucken Sie eine beliebige Taste.
- Der Alarnton wird abgeschaltet.
- Die Temperaturanzeige des Gefrier-schranks zeigt die höchste erreichte Temperatur ein paar Sekunden lang an. Danach zeigt sie wieder die einge-stelle Temperatur an.
- Die Alarmanzeige blinkt so lange, bis die normalen Bedingungen wieder hergestellt sind.
2.9 Alarm „Tür offen“
Es ertont ein Signalton, wenn die Tur einige Minuten lang offen stehen. Der Alarm „Tur offen" wird wie folgt angezeigt:
- Blinkende Alarmanzeige
- Akustisches Signal.
Sobald der Normalzustand wieder hergestellt ist (Tür geschlossen), wird der Alarm deaktiviert.
In der Alarmphase kann das akustische Alarmsignal durch Drücken einer beliebigen Taste ausgeschaltet werden.
Aktivieren Sie zum Einfrieren frischer Lebensmitteln die Funktion Action Freeze mindestens 24 Stunden, bevor Sie die einzufrierenden Lebensmittel in das Gefrierfach legen.
Frische einzufrierende Lebensmittel dürfen in jeder Fach außer in das unterste Fach gelegt werden.
Die maximale Menge an Lebensmitteln, die in 24 Stunden eingefroren werden kann, ist auf dem Typenschild angege-
ben, das sich im Inneren des Geräts befindet.
Der Gefriervorgang dauert 24 Stunden.
Legen Sie während thesez Zeitraums keine weiteren einzufrierenden Lebensmittel in das Gerät.
3.2 Lagerung gefroreiner Lebensmittel
Lassen Sie das Gerät bei der ersten Inbetriebnahme oder wenn das Gerät einige Zeit nicht benutzt wurde, mindestens 2 Stunden lang eingeschaltet, bevor sie Lebensmittel hineingegeben.
Die Gefrierkorbe sorgen damit, dass Sie die Lebensmittel schnell und einfach finden. Wenn große Mengen an Lebensmitteln gelagert werden sollen, entfernen Sie die Schubladen, ausgenommen den unteren Korb, der an seinem Platz bleiben muss, um eine gute Luftzirkulation zu garantieren. Es ist auf allen Ablagen - mit Ausnahme der oberen Ablage - möglich, Lebensmittel einzulagem, die 15 mm über die Vorderkante überstehen.

Kam es zum Beispiel durch einen Stromausfall, der länger dauerte als der in der Tabelle mit den technischen Daten angegebene Wert (siehe „Lagerzeit bei Störung) zu einem ungewollenten Abtauen, dann müssen die aufgetaufen Lebensmittel sehr rasch verbraucht oder sofort gekocht und nach dem Abkühlen erneut eingefroren werden.
3.3 Auftauen
Tiefgefrorene oder gefrorene Lebensmittel konnen vor der Verwendung je nach der zur Verfugung stehenden Zeit im Kuhl-schrank oder bei Raumtemperatur aufgetaut werden.
Kleinere Teile können)sagar direkt aus dem Gefrierraum entnommen und anschlieBend sofort gekocht werden. In thisem Fall dauert der Garvorgang etwas langer.
3.4 Kälteakku(s)
Der Gefrierschrank wird mit einem oder mehreren Kälteakku(s) gefeliefert. Diese verlangern die Zeitdauer, in der die Lebensmittel bei einem Stromausfall oder einem Ausfall des Gerätes gekühlt werden.
3.5 Herausnehmen der Gefrierkorbe und Gitterablagen aus dem Gefriergerät

Einige der Gefrierkorbe sind mit einem Anschlag ausgestattet, der ein versehentliches Herausziehen oder ein Herausfallen verhindert. Um einen Gefrierkorb aus dem Gefriergerät zunehmen, ziehen Sie den Korb in ihre Richtung, bis er den Anschlag erreicht, und kippen Sie den Korb an der Vorderseite nach oben, bis er sich herausnahmen lasst.
Wenn Sie den Gefrierkorb wieder zugruck in das Gerät einschieben möchten, haben Sie die Vorderseite des Korbsleitung an und setzenihn in das Gefriergerät ein. Sobald der Gefrierkorb über die Endpunkte hinweg ist, schieber den Sieihn in seine ursprüngliche Position.

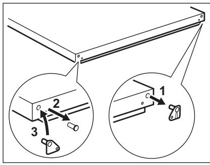
Die mit Expanderrollen ausgestatteten Gitterablagen sind durch Haltestifte gesichert. Um diese zu entfernen, gehen Sie wie folgt vor:
- Lockern Sie den Haltestift auf jeder Seite der Expanderrolle. Benutzen Sie, falls erforderlich, einen Schraubendreher.
Ziehen Sie dann beim Haltestiffe heraus (1). - Ziehen Sie dann die Gitterablage hers aus (2).
3.6 Reinigen des Innenraums

Bevor Sie das Gerät in Betriebnehmen, beseitigen Sie den typischen „Neugeruch" am besten durch Reinigen der Innenteile mit lauwarmem Wasser und einer neutralen Seife. Sorgfältig nachtrocknen.

Verwenden Sie keine Reinigungsmittel oder Scheuerpulver, da hierdurch die Oberfläche beschädigt wird.
Vergewissern Sie sich, dass die Ablaufleitung auf der Rückseite des Gerätes in die Tropfschale führt.
4. HILFREICHE HINWEISE UND TIPPS
4.1 Hinweise zum Einfrieren
Im Folgenden finden Sie eine wertvolle Tipps für einen optimalen Gefriervorgang:
- die maximale Menge an Lebensmitteln, die innerhalb von 24 Stunden eingefroren werden kann. Ist auf dem Typsvchild angegeben;
- der Gefriervorgang pauert 24 Stunden. Legen Sie während these Zeitraums keine weiteren einzufrierenden Lebensmittel in das Gefrierfach;
- frieren Sie ausschließlich frische und gründlich gewaschene Lebensmittel von sehr guter Qualität ein;
- teilen Sie die Lebensmittel in keinere Portionen ein, damit diese schnell und vollständig gefrierten und Sie später nur die Menge auftauen müssen, die Sie gerade benötigen;
- die einzufrierenden Lebensmittelportionen sollenn stets luftdicht in Aluminiumfolie oder in lebensmittelechte Gefrierbeutel verpackt werden, um so weniger Luft wie möglich in der Verpackung zu haben;
achten Sie beim Hineinlagen von fri-schen, noch ungefrorenen Lebensmitteln daraufuf, dass diese keinen Kontakt mit Gefriergut besteht, da diese sonst anteufen kann; - weniger fetthaltige Lebensmittel lessen sich better lagern als fetthaltigere; Salz
verkurzt die Lagerzeit von Lebensmitteln im Gefrierfach;
- werden Gefrierwurfel direkt nach der Entnahme aus dem Gefrierfach verwendet, können Sie zu Frostbrand auf der Haut führen;
- es empfeht sich, das Einfrierdatum auf jeder einzelnen Packung zu notieren, um einen genauen Überblick über die Lagerzeit zu haben.
4.2 Hinweise zur Lagerung gefrorener Produkte
So erzielen Sie die besten Ergebnisse mit Ihrem Gerät:
- Vergewissern Sie sich, dass die gefrorenen Lebensmittel vom Handler angemessen gelagert wurden.
- Achten Sie unbedingt daraufuf, die eingekauften gefrorenen Lebensmittel in der kürzest möglich den Zeit in das Gefriergerät zu bringen.
- Offnen Sie die Tur nicht zu halten, und让他们不要担心,或者不要担心。
- Aufgetaute Lebensmittel verderben sehr schnell und eignen sich nicht für ein erneutes Einfrieren.
- Das Haltbarkeitsdatum auf der Tiefkuhl-kostverpackung darf nicht übersritten werden.
5. REINIGUNG UND PFLEGGE

VORSICHT!
Ziehen Sieittevor jeder ReinigungsrarbeitimdenNetzsteckerausderSteckdose.

Der Kältekreis des Gerätes enthalt Kohlenwasserstoffe; Wartungsarbeiten und Nachfüllen von Kältemittel dürfen dazu nach durch vom Hersteller autorisiertes Fachpersonal ausgeführrt werden.
5.1 Regelmäßige Reinigung
Das gesamte Gerät muss regelmäßig gereinigt werden:
- Reinigen Sie die Innenseiten und die Zubehörteile mit lauwarmem Wasser und etwas Neutralseife.
- Prüfen und saubern Sie die Turdichtungen in regelmäßigen Abständen, um zu gewährleisten, dass diese sauber und frei von Fremdkörpersn sind.
- Spüssen und trocknen Sie sie sorgfältig ab.

Ziehen Sie nicht an Leitungen und/oder Kabeln im Innern des Kühlschranks und achten Sie daraufuf, diese nicht zu verschiben oder zu beschädigen. Benutzen Sie zur Reinigung des Innenraums keinesfalls Putzmittel, Scheuerpulver, stark paraphierte Reinigungsmittel oder Wachspituten, da diese die Oberfläche des Innenraums beschädigen und einen starken Eigengeruch hinterlassen können.
Reinigen Sie den Kondensator (schwarzes Gitter) und den Kompressor auf der Geräterückseite mit einer Bürste. Dieser Vorgang verbessert die Leistung des Geräts und senkt den Stromverbrauch.

Bitte achten Sie darauf, das Kuhlsystem nicht zu beschädigen.

Wenn Sie das Gerät verschieben möchten, haben Sie esitte an der Vorderkante an, um den Fußboden nicht zu verkratzen.
Viele Haushaltsreiniger für Kuchen enthalten Chemikalien, die den im Gerät verwendeten Kunststoff angreifen können. Aus thisem Grund ist es empfehlenswert, die Außenseiten des Geräts nur mit warmem Wasser und Neutraleife zu reinigen.

Verwenden Sie keine Reinigungsmittel oder Scheuerpulver, da dies den Lack oder die Antifinger-Edelstahl Beschichtung beschädigt.
Schlieben Sie das Gerät nach der Reinigung wieder an die Netzversorgung an.
5.2 Abtauen des Gefrierschranks
Das Gefrierfach theses Modells ist vom Typ "No Frost". Dies bedeutet, dass es während des Betriebs weder an den Innewänden noch auf den Lebensmitteln zu Frostbildung kommt.
Die Bildung von Frost wird durch die ständig zirkulierende Kaltluft in thisem Fachverhindert; eine automatische Lüfterregelung sorgt für den Ventilatorantrieb.
5.3 Stillstandzeiten
Bei längerem Stillstand des Geräts müssen Sie folgende Vorkehrungen treffen:
-
Trennen Sie das Gerät von der Netz-versorgung.
-
Entnehmen Sie alle Lebensmittel.
-
Reinigen Sie das Gerät und alle Zube-horteile.
-
Lassen Sie die Tur(en) offen, um das Entstehen unangenehmer Gerüche zu vermeiden.

Möchten Sie bei einer längeren Abwesenheit das Gerät weiter lau-fen halten, bitten Sie jemanden, gelegentlich die Temperatur zu prufen, damit das Kühlgut bei einem möglichn Stromausfall nicht im Innern des Geräts verdirbt.
5.4 Beluftungsgitter reinigen

Das Belüftungsgitter kann zur Reinigung herausgenommen werden. Vergewissem Sie sich, dass die Tür offen ist, und gehen Sie dann wie folgt vor:
- Losen Sie die Oberkante des Gitters, indem Sie diese nach außen und nach unten wegziehen.
Ziehen Sie das Gitter gerade Heraus, um es ganz herausnehmer zu konnen. - Reinigen Sie den Bereich unter dem Gerät mit dem Staubsauger.
6. WAS TUN, WENN ...
Während des Gerätebetriebs kann es zuweilen zu geringfälligigen, aber davon unerfreulichen Problemen kommt, für die kein Techniker gerufen werden muss. In der folgenden Tabelle finden Sie Informationen, wieunnötige Reparaturkosten vermieden werden können.

Das Gerät arbeitet nicht kontinuierlich; wenn der Kompressor aufhört zu arbeiten, bedeutet das nicht, dass kein Strom mehr fließt. Aus thisem Grund dürfen Sie erst dann elektrische Teile des Geräts berühren, wenn das Gerät vom Netz getrennt wurde.

Während das Gerät in Betrieb ist, entstehen bestimmte Gerausche (Kompressor und Umwälzgeräusche). Dies ist normal und kein Grund zur Beunruhigung.
| Problem | Mögliche Ursache | Abhilfe |
| Das Gerät ist zu laut. | Unebenheiten im Boden wurden nicht ausgegli-chen. | Prüfen Sie, ob das Gerät stabil stehen (alle Fuß- und Räder müssen fest auf dem Boden stehen). Siehe hierzu „Ausrichten des Gerätes". |
| Es ertönt ein Alarm-signal. Das Alarm-symbol blinkt. | Die Temperatur im Gefrier-raum ist zu hoch. | Siehe hierzu „Temperatur-warnung". |
| Die Tür wurde nicht richtig geschlossen. | Siehe hierzu „Alarm Tür of-fen". | |
| Die Temperatur-zeige zeigt oben oder unter ein Quadrat an. | Beim Messen der Tempe-ratur ist ein Fehler aufge-treten. | Bitte wenden Sie sich an Ih-ren Kundendienstmitarbei-ter (das Kühlsystem hält davon die eingelagerten Lebensmittel weiterhin kühl, doch eine Temperaturein-stellung ist nicht mehr mög-lich). |
| Der Kompressor lauft ständig. | Der Temperaturregler kann falsch eingestellt sein. | Stellen Sie eine höhere Temperatur ein. |
| Die Tür wurde nicht richtig geschlossen. | Siehe hierzu „Schließen der Tür". | |
| Die Tür wurde zu halten geöffnet. | Lassen Sie die Tür nicht länger offen als unbedingt erfolderlich. | |
| Die Temperatur des Küh-l-guts ist zu hoch. | Lassen Sie das Kühlgut auf Raumtemperatur abkühlen,bevor Sie es in das Gerät stellen. | |
| Die Raumtemperatur ist zu hoch. | Senken Sie die Raumtem- peratur. | |
| Zu starke Reif- und Eisbildung. | Die Tür wurde nicht richtig geschlossen. | Siehe hierzu „Schließen der Tür". |
| Die Türdichtung ist verzo-gen oder verschmutzt. | Siehe hierzu „Schlieben derTür". | |
| Die Temperatur im Gerät ist zu niedrig. | Der Temperaturregler kann falsch eingestellt sein. | Stellen Sie eine höhere Temperatur ein. |
| Die Temperatur im Gerät ist zu hoch. | Der Temperaturregler kann falsch eingestellt sein. | Stellen Sie eine niedrigere Temperatur ein. |
| Die Tür wurde nicht richtig geschlossen. | Siehe hierzu „Schlieben der Tür". | |
| Die Temperatur des Küh-guts ist zu hoch. | Lassen Sie das Kühgut auf Raumtemperatur abkühlen, bevor Sie es in das Gerät stellen. | |
| Die Temperatur im Gefriergerät ist zu hoch. | Die einzeln Packungen des Gefrierguts liegen zu dicht aneinander. | Lagern Sie das Gefriergut so, dass die Kaltluft im Gerät zirkulieren kann. |
| Es wurden zu große Men-gen an Lebensmitteln gleichzeitig zum Einfrierten eingelegt. | Legen Sie nur keinere Lebensmittelmengen gleich-zeitig zum Einfrierten in das Gerät. | |
| Das Gerät faktio-niert nicht. | Das Gerät ist ausgeschal-tet. | Schalten Sie das Gerät ein. |
| Der Netzstecker wurde nicht richtig in die Steck-dose gesteckt. | Stcken Sie den Netzste-cker richtig in die Steckdo-se. | |
| Das Gerät wird nicht mit Spannung versorgt. Es liegt keine Spannung an der Netzsteckdose an. | Testen Sie, ob ein anderes Gerät an dieser Steckdose faktioniert. Prufen Sie die Sicherung. Wenden Sie sich an eine qualifizierte Elektrofachkraft. | |
| Die Lampe faktio-niert nicht. | Die Lampe ist defekt. | Siehe hierzu „Austauschen der Lampe". |
| Die Tür stand zu lange of-fen. | Schließen Sie die Tür. | |
| Die Tür kommt mit dem Belüftungsgit-ter in Berührung. | Das Gerät ist nicht eben ausgerichtet. | Siehe hierzu „Ausrichten des Gerätes". |
| Die Tür ist falsch ausgerichtet. | Das Gerät ist nicht eben ausgerichtet. | Siehe hierzu „Ausrichten des Gerätes". |
| DEMO erscheint auf dem Display. | Das Gerät befindet sich im Demo-Modus. | Halten Sie die Modus-Taste ca. 10 Sekunden gedrückt, bis ein longer Signatlon er-tont und das Display eine kurze Zeit ausgeschaltet wird. Danach arbeiten das Gerät wieder normal. |
Bitte rufen Sie den nachsten Kundendienst an, wenn alle genannten Abhilfemaßnahmen nicht zum gewünschten Erfolg führen.
6.1 Austauschen der Lampe
Das Gerät ist mit einer langlebigen LED-Innenbeleuchtung ausgestattet. Die Beleuchtungarf nur von einem Fachmann ausgetauscht werden. Wenden Sie sich hierzu an den Kundendienst.
6.2 Schlieben der Tür
-
Reinigen Sie die Turdlichtungen.
-
Stellen Sie die Tür nach Bedarf ein.
Siehe hierzu „Montage". - Ersetzen Sie die defekten Turdichtungen, falls erforderlich. Wenden Sie sich hierzu an den Kundendienst.
7. MONTAGE

WARNING!
Lesen Sieitte die "Sicherheitshinweise" sorgfältig vor der Aufstellung des Geräts durch, um Gefahren fur Sie selbst zu vermeiden und einen korrekten Betrieb des Geräts zu gewährleisten.
7.1 Aufstellung
Installieren Sie theses Gerät an einem Ort, an dem die Umgebungstemperatur mit
der Klimaklasse übereinstimmt, die auf dem Typschild des Gerats angegeben ist:
| Klima-klasse | Umgebungstemperatur |
| SN | +10°C bis + 32°C |
| N | +16°C bis + 32°C |
| ST | +16°C bis + 38°C |
| T | +16°C bis + 43°C |
7.2 Aufstellungsort

Wenn das Gerät unter einem Hängeschrank installiert wird, muss der Abstand zwischen der Geräteoberseite und dem Hängeschrank mindestens 40 mm betragen, um die bestmögliche Leistung zu garantieren. Es wird jedoch empfohlen, das Gerät nicht unter einem Hängeschrank aufzustellen.
Der Belüftungsraum kann sein:
- direkt über dem Gerät,
- hinter und über dem Oberschrank.
In thisem Fall muss der Platz hinter dem Oberschrank mindestens 50 mm tief sein.
7.3 Elektrischer Anschluss
Kontrollieren Sie vor der ersten Benutzung des Gerätes, ob die Netzspannung und - Frequenz Ihres Hausanschlusses mit den auf dem Typenschild angegebenen Anschlusswerten übereinstimmen.
Das Gerät muss geerdet sein. Zu thisem Zweck ist die Netzkabelsteckdose mit einem Schutzkontakt ausgestattet. Falls die
Steckdose Ihres Hausanschlusses nicht geerdet sein sollte, lessen Sie das Gerätotide gemäß den geltenden Vorschriften erden und Fragen Sie dazu einen qualifi-zierten Elektriker.
Der Hersteller übernimmt keinerlei Haftung für Schäden oder Verletzungen, die durch Missachtung der oben genannten Sicherheitschinweise entstehen.
Das Gerät entspricht den EU-Richtlinien.
7.4 Entfern der Transportsicherungen

Das Gerät ist mit Transportsicherungen ausgestattet, die zum Sichern der Turwährend des Transports dieren.
Entfernen Sie diese wie folgt:
- Offnen sie die Tur.
- Entfernen Sie die Transportsicherungen von den Türseiten.
- Entfernen Sie die Transportsicherungen vom unteren Scharnier (daimt sind einige Modelle ausgestattet).

Einige Modelle sind mit einem Geräuschdämmelement unter dem Gerät ausgestattet.itte entfernen Sie diese Element nicht.
7.5 Distanzstücke

Bringen Sie die im Zubehörbeutel mitgelieferten Distanzstücke wie in den Abbildungen gezeigt an.
Werden zwei Geräte direktNBebeneinander aufgestellt, bringen Sieitte die selbstbenden Distanzstücke zwischen den Geräten an.

Setzen Sie die Distanstücke an der Rückseite der Blende ein.
7.6 Ausrichten

Bei der Aufstellung des Geräts ist diese waagerecht auszurichten. Stellen Sie nach Bedarf die Stellfuße mit dem mitgelieferten Einstellschlüssel ein.
7.7 Wechseln des Turanschlags

Zum Wechseln des Turanschlags muss wie folgt vorgegangen werden:
- Trennen Sie den Netzstecker von der Netzversorgung.
- Entfernen Sie das Belüftungsgitter. Entfernen Sie die Füllung und installieren Sie diese auf der gegenüberliegenden Seite des Gitters.
- Legen Sie das Gerät mit der Rückseite nach unten auf einen Träger aus Holz.
- Schrauben Sie das untere Scharniere ab.
- Entfernen Sie den Turschliebermechanismus vom Scharnier und versetzen Sie den Bolzen auf die andere Seite. Schrauben Sie den im Zubehörbeutel mitgelieferten Turschliebermechanismus an der gegenüber liegenden Seite wieder an.
- Entfernen Sie den Turschliebermechanismus von derTür.
- Schrauben Sie den im Zubehörbeutel mitgelieferten Turschließermechanismus an der gegenüber liegenden Seite wieder an.


- Nehmen Sie die Tur ab.
- Schrauben Sie den Stift ab und schrauben Sieihn an der gegenüber liegenden Seite wieder ein.
- Bringen Sie die Tür wieder an.
- Schrauben Sie das untere Scharnier wieder fest.
- Stellen Sie das Gerät auf und bringen Sie das Belüftungsgitter an.


WARNING!
Rücken Sie das Gerät wieder an die richtige Stelle und richten Sie es waagerecht aus. Warten Sie mindestens vier Stunden, bevor Sie es wieder an die Stromversorgung anschließen.
Führer Sie eine Endkontrolle durch, um sicherzustellen, dass:
-
Alle Schrauben fest angezogen sind.
Die Turkanten parallel zum Seitenrand des Gerätes laufen. -
Schrauben Sie den Griff los. Schlagen Sie auf der gegenüberliegenden Seite die Bohrungsabdeckungen mit einem 3-4 mm Treibdorn hers aus oder durchbohren Sie sie.
- Bringen Sie den Griff an. Setzen Sie den Griff auf der gegenüber liegenden Seite durch eine halbe Umdrehung ein.
- Setzen Sie die im Zubehörbeutel mitgelieferten Bohrungsabdeckungen ein.
-
Bringen Sie das Gerät in Stellung.
-
Der magnetische Dichtungsstreifen am Gerät anliegt.
Die Tür ordnungsgemäß öffnet und schließt.

WARNING!
Bei niedrigen Umgebungstemperaturen (z. B. im Winter) kann es vorkommen, dass die Turdichtung nicht richtig am Gerät anliegt. Warten Sie in thisem Fall ab, bis sich die Dichtung allmählich anpasst.
8. GERÄUSCHE
Während das Gerät in Betrieb ist, entstehen bestimmte Gerausche (Kompressor und Kühlkeislauf).

OK



HISSS!



BRRR!




9. TECHNISCHE DATEN
| Abmessungen | ||
| Höhe | 1650 mm | |
| Breite | 660 mm | |
| Tiefe | 680 mm | |
| Lagerzeit bei Störung | 16 Std. | |
| Spannung | 230 V | |
| Frequenz | 50 Hz | |
Die technischen Daten befinden sich auf dem Typenschild im Innern des Gerätes
auf der linken Seite sowie auf der Energieplakette.
10. UMWELTTIPPS
Recycleln Sie Materialien mit dem Symbol Entsorgen Sie die Verpackung in den entsprachenden Recyclingbehältern. Recycleln Sie zum Umwelt- und Gesundheitsschutz elektrische und
elektronische Geräte. Entsorgen Sie Geräte mit diesen Symbol nicht mit dem Hausmüll. Bringen Sie das Gerät zu Ihrer örtlichen Sammelstelle oder wenden Sie sich an Ihr Gemeindeamt.
INDICE
- ISTRUZIONI DI SICUREZZA 58
- PANNELLO DEI COMANDI 60
- UTILIZZO QUOTIDIANO 62
- SUGGERIMENTI E CONSIGLI UTILI 65
5.PULIZIA E CURA 65
6.COSA FARE SE. 66 - INSTALLAZIONE 69
- RUMORI 73
- DATI TECHNICI 74
- CONSIDERAZIONI AMBIENTALI 74
EinfachAnleitung