DW97FI - Geschirrspüler PKM - Kostenlose Bedienungsanleitung
Finden Sie kostenlos die Bedienungsanleitung des Geräts DW97FI PKM als PDF.
Häufig gestellte Fragen - DW97FI PKM
Laden Sie die Anleitung für Ihr Geschirrspüler kostenlos im PDF-Format! Finden Sie Ihr Handbuch DW97FI - PKM und nehmen Sie Ihr elektronisches Gerät wieder in die Hand. Auf dieser Seite sind alle Dokumente veröffentlicht, die für die Verwendung Ihres Geräts notwendig sind. DW97FI von der Marke PKM.
BEDIENUNGSANLEITUNG DW97FI PKM
TECHNOLOGIE FÜR DEN HAUSHALT

TECHNOLOGY FOR DOMESTIC USE

Bedienungsanleitung
Instruction Manual
Mode d'emploi
Geschirrspuler
Dishwasher
Lave-vaisselle
DW9-7FI

Deutsch
English
François
Scite 2
Page 43
Page 81
www.pkm-online.de
Sehr geehrter Kunde! Sehr geehrte Kundin! Wir möchten Ohnen herzlich danken, dass Sie sich zum Erwerb eines Produkts aus unserem reichhaltigen Angebott entschieden haben. Lesen Sie die gesamte Bedienungsanleitung, bevor Sie das Gerät zum ersten Mal benutzen. Verwahren Sie diese Bedienungsanleitung zur zukünftigen Verwendung an einem sicheren Ort. Falls Sie das Gerät weitergeben, müssen Sie diese Bedienungsanleitung ebenfalls mit übergeben.
Inhalt
- Sicherheitshinweise 4
- Installation 8
2.1 Entpacken und Wahl des Standorts 8
2.2 Wasser-/Abwasseranschluss 8
2.3 Vor der Installation 9
2.4 Mindestens benötigter Raumbedarf 10
2.5 Abmessungen und Befestigung der Zierverkleidung 11
2.6 Einstellen der Turfederspannung 12
2.7 Anschluss des Wasserzufuhrschlauchs 13
2.8 Anschluss des Abwasserschlauchs 13
2.9 Hocheinbau 14
2.10 Elektrischer Anschluss 14
2.11 Waagerechte Ausrichtung 15
2.12 Installation der Sockcellciste 15
2.13 Fixierung des Gerats 16
2.14 Anbringen der oberen Distanleiste 17
3.Gerat und Bedienfeld 17
4. Vorderersten Benutzung 19
4.1 Wasserenthärter 19
4.2 Wassercenthärter befluen 20
4.3 Klarspuler-Behalter befullen 21
4.4 Spulmaschinen-Spulmittel 23
5.Beladen der Geschirrkorbe. 25
5.1 Vor/nach dem Beladen 25
5.2 Oberer Geschirrkorb. 26
5.3 Unterer Geschirrkorb 27
5.4 Besteckkorb 27
5.5 Hinweis zum Beladen 29
5.6 Schaden an Glaswaren/Geschirr 29
- Die Spulprogramme 30
6.1 Starten eines Spulprogramms 31
6.2 Wechsel eines laufenden Spulprogramms 31
6.3 Nachträgliches Eingeben von Geschirr 31
6.4 Ende eines Spulprogramms 32
6.5 Verwendung von 3in1 Spul-Tabs 32
- Reinigung und Pflege 33
7.1 Filtersystem 33
7.2 Bedienfeld und Gerät 34
7.3 Spruharm 35
7.4 Tur 35
7.5 Frostschutz 35
7.6 Außerbetriebsnahme 36
8.Problembehandlung 36
8.1Fehler Kodes 39
9. Technische Daten 40
10. Entsorgung 41
11. Garantiebedingungen 42
EG - Konformitätserklärung
Für die in dieser Bedienungsanleitung beschriebenen Produkte liegen samtliche entsprechenden EG Konformitätserklarungen vor.
Die relevanten Unterlagen konnen durch die zuständigen Behörden über den Produktverkäufe angefordert werden.
Die in dieser Bedienungsanleitung enthaltenen Abbildungen konnen in einigen Details von dem tatsächlichen Design Ihr's Gerats abweichen. Folgen Sie in einem solchen Fall dennoch den beschriebenen Sachverhalten. Lieferung ohne Inhalt.
i Der Hersteller besteht sich das Recht vor, solche Änderungen vorzunehmen, die keinen Einfluss auf die Funktionseise des Gerats haben. Entsorgen Sie das
Verpackungsmaterial entsprechend den örtlichen Vorschriften an Ihr dem Wohnort.
Das von Ihnen gekaufte Gerät wurde möglicherweise inzwischen verbessert und weist damit weiterecht Unterschiede zur Bedienungsanleitung auf. Dennoch sind die Funktionen und Betriebsbedingungen identisch, sodass Sie die Bedienungsanleitung im vollen Umfang nutzen konnen. Technische Änderungen bzw. Druckfehler bleiben vorbehalten.
1. Sicherheitshinweise
i Lesen Sie vor der ersten Benutzung des Geräts die gesamten Sicherheitshinweise gründlich durch. Die darin enthaltenen Informationen dieren dem Schutz Ihrer Gesundheit. Die Nichtbeachtung der Sicherheitshinweise kann zu schweren Beeinträchtigungen Ihrer Gesundheit und im schlimmsten Fall zum Tod führen.
GEFAHR! verweist auf eine Gefahrensituation, die, wenn sie nicht abgewendet wird, eine unmittelbare Gefährung für Leben und Gesundheit zur Folge hat.
VORSICHT! verweist auf eine Gefahrensituuation, die, wenn sie nicht abgewendet wird, zu mittelschweren oder kleineren Verletzungen führen kann.
WARNING! verweist auf eine Gefahrensituation, die, wenn sie nicht abgewendet wird, eine mögliche bevorstehende Gefährung für Leben und Gesundheit zur Folge hat.
HINWEIS! verweist auf eine Gefahrensituation, die, wenn sie nicht abgewendet wird, eine mögliche Beschädigung des Gerats zur Folge hat.
Bewahren Sie此类 Bcdienungsanleitung so auf, dass sie bei Bedarf jederzeit griffbereit ist. Befolgen Sie sorgfältig alle Hinweis, um Unfälle oder eine Beschädigung des Geräts zu vermeiden.
i Prufen Sie auf jeder Fall auch das technische Umfeld des Gerats! Sind alle Kabel oder Leitungen, die zu ihrem Gerät führen, in Ordnung? Oder sind sie veraltet und halten der Geräteleistung nicht mehr Stand? Daher muss durch eine qualifizierte Fachkraft (Elektrotechniker/-in) eine Überprüfung bereits vorhandener wie auch neuer Anschlüsse erfolgen. Sümttliche Arbeiter die zum Anschluss des Gerats an die Stromversorgung notwendig sind, dürfen nur von einer qualifizierten Fachkraft (Elektrotechniker/-in) durchgeführt werden.
Das Gerät ist ausschließlich zur privaten Nutzung bestimmt.
Das Gerät ist ausschließlich zum Reinigen von Geschirr in einem Privathaushalt bestimmt.
Das Gerät ist ausschließlich zum Betrieb innerhalb geschlossener Räume
bestimmt.
Diesces Gerätarf nicht für gewerbliche Zwecke,beim Camping und in öffentlichen Verkhrsmitteln betrieben werden.
Betreiben Sie das Gerät ausschließlich im Sinne seiner bestimmungsgemäß Verwendung.
Erlauben Sie niemandem, der mit der Bedienungsanleitung nicht vertraut ist, das Gerät zu benutzen.
Dices Gerät kann von Kindern ab 8 Jahren und darüber sowie von Personen mit verringerten physischen, sensorischen oder mentalen Fähigkeiten oder Mangel an Erfahrung und Wissen benutzt werden, wenn sie beaufsichtigt oder bezüglich des sicheren Gebrauchs des Gerätes unterwiesen wurden und die darauf resultierenden Gefahren verstehen. Kinder dürfen nicht mit dem Gerät speilen. Reinigung und Benutzer-Wartung dürfen nicht von Kindern ohne Beaufsichtigung durchgeführt werden.
GEFAHR!
- Schlieben Sie das Gerät keinesfalls an die Stromversorgung an, wenn das Gerät, das Netzkabel oder der Netzstecker sightbare Beschädigungen aufweisen.
- Versuchen Sie nicemals selbst, das Gerät zu reparieren. Falls Ihr Gerät nicht ordnungsgemäß Funktioniert,kontaktieren Sie den Kundendienst. Lassen Sie nur Original-Ersatzteile einbauen.
- Wenn das Netzanschlusskabel beschädigt ist, damit als ausschließlich vom Hersteller oder einem vom Hersteller autorisierten Kundendienst oder einer qualifizierten Fachkraft (Elektrotechniker/-in) ausgetaucht werden.
WARNING!
- In einem Warmwassersystem, das über einen Zeitraum von 2 Wochen oder länger nicht benutzt wurde, kann es unter bestimmten Bedingungen zur Bildung von Wasserstoff kommt. Wasserstoff ist ein explosives Gas. Falls Sie das Warmwassersystem über einen solchen Zeitraum hinweg nicht benutzt haben, drehen Sie alle Warmwasserhöhne auf und halten Sie das Wasser für eine Minute fließen. Dadurch setzen Sie den angesammelten Wasserstoff frei. Da Wasserstoff brennbar ist, rauchen Sie in dieser Zeitraum nicht und benutzen Sie keine offenen Flammen und kein offenes Licht.
- Achten Sie beim Entpacken unbedingt darauf, dass die Bestandteile der Verpackung (Polyathylentüten, Polystyrenstücke) nicht in die Reichweite von Kindern gelangen. ERSTICKUNGSGEFAHR.
- Schlieben Sie das Gerät nicht an die Stromversorgung an, bevor Sie alle Verpackungsbestandteile und Transportsicherungen vollständig entfernt haben.
- Betreiben Sie das Gerät nur mit 220 240V / 50Hz Wechselspannung. Alle Netzanschlussleitungen, die Beschädigungen aufweisen, müssen von einer
qualifizierten Fachkraft (Elektrotechniker/-in) ausgewechselt werden. Lassen Sie alle Reparaturen nur von Ihr autorisierten Kundendienst durchführren.
- Verwenden Sie zum Anschluss des Geräts an die Stromversorgung keine Steckdosenleisten, Mehrfachsteckdosen oder Verlängerungskabel..
- Sie benötigen eine dem Netzstecker entsprechende ordnungsgemäß geerdete und ausschließlich dem Gerät zugewiesene Sicherheitssteckdose (250V/10A). Anderenfalls kann es zu gefährlichen Unfälle oder ciner Beschädigung des Gcrats kommt. Das Gerät muss ordnungsgemäß geerdet sein.
- Achten Sie darauf, dass sich das Netzanschlusskabel nicht unter dem Gerät befindet oder durch das Bewegen des Geräts beschädigt wird.
- Die technischen Daten ihrer elektrischen Versorgung müssen den auf dem Typenschild angegebenen Werten entsprechen.
- Ihr Hausstrom muss mit einem Sicherungsautomaten zur Notabschaltung des Gcrats ausgestattet sein.
- Nehmen Sie keine Veränderungen an dem Gerät vor.
- Schalten Sie vor dem Aufbau und Anschluss des Geräts unbedingt den Strom ab. GEFAHR EINES TÖDLICHEN STROMSCHLAGS!.
- Trennen Sie das Gerät vor allen Wartungs- und Reinigungsrarbeiten von der Stromversorgung.
- Spülmaschinen-Spülmittel sind extrem alkalisch und darauf sehr gefährlich, wenn Sie verschluckt werden. Lassen Sie Haut und Augen nicht in Berührung mit dem Spülmaschinen-Spülmittel kommt. Halten Sie solche Spülmittel immer außerhalb der Reichweite von Kindern.
- Halten Sie Kinder fern von Spulmaschinen-Spulmitteln und Spulzusätzen. Lassen Sie Kinder nicht ans Gerät, wenn die Türe geöffnet ist, da sich noch Spulmaschinen-Spulmittel im Inneren des Geräts befinden könnte.
- Wenn alle Kontrollleuchten auf dem Bedienfeld flimmern, liegt eine Fehlfunktion des Gcrats vor. Trcnen Si in thism Fall das Gerat umgehend von der Strom- und Wasserversorgung.
- Benutzen Sie das Gerät niemals ohne eingesetzte Filter.
- Kinder dürfen niemals mit dem Gerät spielen.
- Betreiben Sie das Gerät niemals unbeaufsichtigt.
VORSICHT!
- Es ist gefährlich, die Tur bei laufendem Betrieb zu öffnen. Heiβes Wasser kann aus dem Gerät herausspritzen.
- Warten Sie eine Minute, bevor Sie nach Beendigung eines Spulprogramms die Tur öffnen, da heißer Dampf aus dem Gerät entweichen kann.
-
Warten Sie nach dem Ende cincs Spulprogramms mindestens 20 Minuten mit der Reinigung des Inneren des Gerats, damit die Heizelemente abkühlen konnen.
-
Berühren Sie die Heizelemente nicht während des Betriebs oder unmittelbar nach dem Betrieb des Gcrats. VERBRENNUNGSGEFAHR!
- Stellen oder legen Sie keine schweren Gegenstände auf die geöffnete Tur, da das Gerät ansonsten nach vornekippen kann.
- Wenn Sie das Gerät befüllen:
a. Platzieren sie scharfkantige Gegenstände dergestalt, dass sie nicht die Turdichtungen beschädigen.
b. Es dürfen niemals Gegenstände durch die Böden beider Geschirrkörbe sowie des Besteckkorbs nach unten ragen.
c. Platzieren Sie scharfe Messcr mit dem Griff nach oben oder waagerecht, sodassie sich keine Schnittverletzungen zuzichen.
- Lassen Sie die Tur nicht offenstehen, da Sie ansonsten über diese stolpern können.
HINWEIS!
- Die Sprüharme konnen mit einer Transportsicherung versehen sein. Entfernen Sie unbedingt alle Transportsicherungen vor dem Aufbau des Geräts.
- Benutzen Sie immer einen Wasserenthärter (= Spülmaschinensalz) zur speziellen Verwendung in einem Geschirrspüler. Die Wasserhärte variiert abhängig von Ihrc Wohnort. Wenn in einem Geschirrspüler hartes Wasser verwendet wird, ergebnis sich Ablagerungen auf dem Geschirr und im Gerät. Der Wasserenthärter entfertn Mineralien und Salze aus dem Wasser.
- Benutzen Sie immer einen Klarspuler zur speziellen Verwendung in einem Geschirrspuler. Verwenden Sie niemals andere Substanzen, z.B. einen Spulmaschinenreiniger oder Flüssigreiniger; ansonsten beschädigen Sie das Grot.
- Benutzen Sie ausschließlich Spulmaschinen-Spulmittel und Zusätze, die für die Verwendung in einem Geschirrspüler hergestellt wurden. Benutzen Sie keine Seifen, Waschmittel oder Handwaschmittel in Ihr Geschirrspüler.
- Wenn Sie das Gerät bewegen, halten Sie es immer am unteren Ende fest und haben Sie es vorsichtig an. Halten Sie das Gerät darauf aufrecht.
- Benutzen Sie niemals die Tur selbst zum Transport des Gerats, da Sie dadurch die Scharniere beschädigen.
- Das Gerät muss von mindestens zwei Personen transportiert und angeschlossen werden.
- Merken Sie sich die Positionen aller Teile des Geräts, wenn Sie es auspacken, für den Fall, es noch einmal einpacken und transportieren zu müssen.
- Lassen Sie den Anschluss der Wasserschläuche nur durch eine qualifizierte Fachkraft durchführren.
-
Benutzten Sie das Grot nicht, bevor alle dazugchorigen Teile sich ordnungsgemäß an ihren darauf vorgesehenen Stellen befinden.
-
Benutzen Sie die Tur und die Geschirrkörbe des Gerats nicht als Standfläche oder Stütze.
- Gegenstände aus Kunststoffen dürfen nicht die Heizelemente berühren.
- Geben Sie nur solche Gegenstände aus Kunststoffen in das Gerrat, die zur Reinigung in einem Geschirrspüler geeignet sind. Geeignete Gegenstände werden durch ihren Hersteller entsprechend gekennzeichnet.
- Überprüfen Sie nach jedem Spulprogramm, ob der Aufnahmebehälter für das Spulmaschinen-Spulmittel leer ist.
- Benutzen Sie zum Reinigen der Tur niemals Sprühreiniger, da diese das Schloss und die Elektrik nachhaltig beschädigten konnen.
2. Installation
2.1 Entpacken und Wahl des Standorts
- Packen Sie das Gerät vorsichtig aus. Das Gerät ist möglicherweise für den Transport mit Transportsicherungen geschützt. Entfern den Sie diese komplett. Gehen Sie darauf vorsichtig vor. Benutzen Sie keine aggressiven Reinigungsmittel, um Reste der Transportsicherungen zu entfernen.
- Die Sprüharme konnen mit einer Transportsicherung versehen sein. Entfernen Sie unbedingt alle Transportsicherungen vor dem Aufbau des Geräts.
- Wahlen Sie für den Aufbau einen trockenen und gut belufteten Raum.
- Stellen Sie das Gerät auf einem geraden, trockenen und festen Fußboden auf. Kontrollieren Sie mit einer Wasserwaage den ordnungsgemäßen Aufbau Ihres Gcrats.
- Das Gerät muss ordnungsgemäß mit der Stromversorgung verbunden sein.
- Das Typenschild befindet sich im Inneren des Geräts oder außen an der Rückwand.
2.2 Wasser-/Abwasseranschluss
- Der Wasseranschluss sowie der Abwasseranschluss muss von einer qualifizierten Fachkraft durchgeführt werden.
- Verwenden Sie ausschließlich fabrikneue Schläuche und fabrikneues Anschlusszubehör für den Wasser- und Abwasseranschluss.
- Wir empfehlen, die Wasserzufuhr mit einem Rückschlagventil zu sichern.
2.3 Vor der Installation
Anbringen des Kondenswasser-Schutzstreifens
(Ausstattung abhängig vom Modell)
- Sie müssen den Kondenswasser-Schutzstreifen zum Schutz gegen das Eindringen von Feuchtigkeit an der Unterseite der Arbeitsplatte befestigen. Der Kondenswasser-Schutzstreifen leitet den vom Gerät freigesetzten Wasserdampf von der Unterseite der Arbeitsplatte ab.
- Sie finden den Kondenswasser-Schutzstreifen in Ihrrem Gerät.
- Reinigen Sie die Unterseite der Arbeitsplatte sorgfältig, bevor Sie den Kondenswasser-Schutzstreifen Dort befestigen.
- Zichen Sie das Schutzpapier der Klebefläche ab.
- Kleben Sie den Kondenswasser-Schutzstreifen auf die Unterseite der Arbeitsplatte.
- HINWEIS! Ein nichtordnungsgemäßes Anbringen des Kondenswasser-Schutzstreifens kann zu einer Beschädigung der Arbeitsplatte führen.

Kondenswasser-Schutzstreifen
Raumbedarf des Geräts siehe folgenden Abbildungen. Das Gerät muss mit seiner Rückseite zur Wand ausgerichtet sein und über einen Wassereinlass- und Wasserauslassschlauch verfügen, die für gewöhnlich rechts oder links angebracht werden konnen1.


2.4 Mindestens benötigter Raumbedarf
1 Geschirrspulcr
2 TurdesGcrats
3 Einbauschrank
4 Mindestfreiiraum zum Turöffnen: 50~mm
2.5 Abmessungen und Befestigung der Zierverkleidung


A: Loch/10 mm tief.
B: 4 St. 4^*42mm Holzschauben

1 4 St. 4^42mm Holzschrauben
2 1.) Entfernen SiC 2 St., 410
2.) 4 St. 4^42 Holzschrauben
3 Tur des Gerats
4 T-förmiger Stopfen
5 2 St. 4^26mm Holzschauben
6 Zierverkleidung
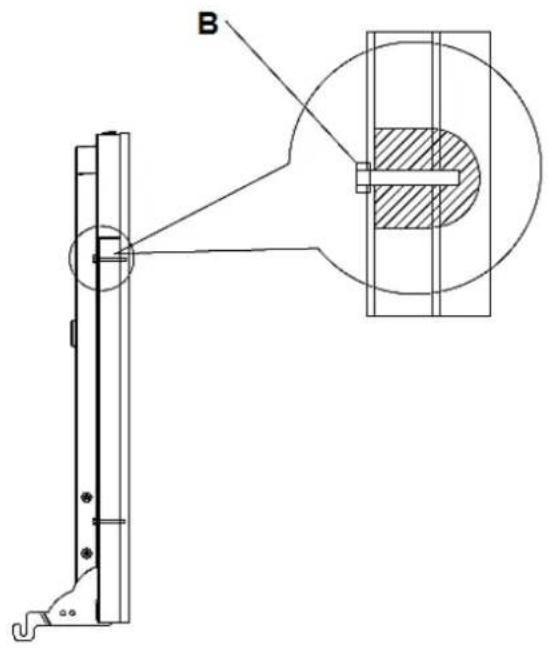
2.6 Einstellen der Türfederspannung
Versuchen Sie nach Installation der Zierverkleidung die Tur zu öffnen und zuschließlich, um die Balance der Tur zu überprüfen und zu entscheiden, ob sie in dieser Einbaustellung verbleiben kann. Bei nicht ordnungsgemäßer Balance verwenden Sie die Schraube im oder entgegen dem Uhrzeigersinn zur ordnungsgemäßen Einstellung oder halten Sie die Balance einstellen.

1: Sechskant-Schraubendreher
2.7 Anschluss des Wasserzufuhrschlauchs
Schlieben Sie den Wassereinlassschlauch fest und sicher an einen Anschluss mit einem 3/4 Zoll Gewinde an. Wenn die Schläuche neu sind oder über einen längeren Zeitraum nicht in Benutzung waren, halten Sie das Wasser laufen, um sicherzugehen, dass es klar und frei von Verunreinigungen ist.
HINWEIS! Anderenfalls konnen der Wassereinlass blockiert und das Gerät beschädigt werden.

2.8 Anschluss des Abwasserschlauchs

Passen Sie den Ablaufschlauch gerade in den Wasserablaufstutzenein.
Falls die Länge des Ablaufschlauchs nicht ausreicht, konne Sie bei Ihr autorisierten Kundendienst eine Verlängerung aus demselben Material wie das Original erwerben. Die Länge des Ablaufschlauchs darf einschließlich einer möglichen Verlängerung nicht mehr als 4 Meter betragen.
Solle the Lange des Ablaufschlauchs einschließlich einer möglichen Veränderung mehr als 4 Meter betragen, wird das Gerät Ihr Geschirr nicht ordnungsgemäß reinigen. Prufen Sie den Anschluss auf Dichtheit. Befestigen Sie den Ablaufschlauch mit einem Schlauchhalter.
2.9 Hocheinbau
Teil- und vollintegrierte Geräte sind bei ordnungsgemäßem Anschluss auch hoheinbaufähig.

1 Hangen Sie den Abwasserschlauch an die Arbeitsplatte.
2 Befestigung Abwasserschlauch
3 Der oberste Punkt des Schlauchs muss sich auf einer Höhe zwischen 40 und 100cm befinden. Das frei Ende des Schlauchsarf nicht in Wasser hincinragen.
4 Arbeitsplatte.
5 Vorne.
6 Abwasserschlauch.
Eine Manschette gewährleistet eine Krümmung des Schlauchs. An der Manschette befindet sich eine Haltevorrichtung zur Befestigung der Manschette. Der Abwasserschlauch muss am hochsten Punkt der Manschette eine Höhe von mindestens 40~cm aufweisen. Folgen Sie für die Anschlussmöglichkeiten A, B oder C der Zeichnung.
2.10 Elektrischer Anschluss
Sie benotigen eine dem Netzstecker entsprchende ordnungsgemäß geerdete und ausschließlich dem Gerat zugewiesenen Sicherheitssteckdose (250V/10A). WARMUNG Anderenfalls kann es zu gefährlichen Unfallen oder einer Beschädigung des Geratskommen.

2.11 Waagerechte Ausrichtung
Der maximal zulässige Neigungswinkel unter dem gesamten Gerät beträgt 2^0 . Richten Sie das Gerät mit Hilfe der Standübe waagerecht aus. Benutzen Sie eine Wasserwaage zur Kontrolle.

1 Einstellung Vorderfußc
2 Einstellung Hinterfußc
2.12 Installation der Sockelleiste

1 Zierverkleidung
2 Sockelleiste
Referenzabmessungen
| Seriennummer | Zierverkleidung | Sockelleiste |
| 1 | 708 mm | 75 mm |
| 2 | 698 mm | 85 mm |
| 3 | 688 mm | 95 mm |
| 4 | 678 mm | 105 mm |
| 5 | 668 mm | 115 mm |
| 6 | 658 mm | 125 mm |
Die geforderte Höhe der Sockelleiste sollte den asthetischen Ansprüchen genugen sowie ein reibungsloses Offnen und Schlieben der Tur gewahren. Die notigen referenzwerte finden Sie in der Liste oben.
2.13 Fixierung des Geräts
a. Befestigen Sie durch Drehen der Schrauben das Gerät an seiner Einbauvorrichtung.
b. Stecken Sie die 4 Verschlussstopfen in die Löscher (siehe Abbildung unter).
a. Befestigen Sie durch Dremen der Schrauben das Gerat an seiner Einbauvorrichtung.
b. Stecken Sie die 4 Verschlussstopfen in die Locher (siehe Abbildung).
Benutzen Sie links und rechts als auch für die 4 oberen Löscher Holzschauben ST 4^*26 (selsbtschneidende Schrauben).
1:Stopfen

2.14 Anbringen der oberen Distanzleiste
(Ausstattung abhängig vom Modell)
Die obere Distanzleiste besteht aus mehreren Lagen. Passen Sie die Höhe der Leiste dem abzudeckenden Abstand an, indem Sie von unter die nötige Anzahl an Lagen vorsichtig entfern. Verwenden Sie hierfür die Klick-Verschlüsse rechts, links und halten.
1: obere Distanzleiste

3. Gerät und Bedienfeld

- Oberer Geschirrkorb
- Sprüharm
- Unterer Geschirrkorb
- Wasserenthalter
- Filter
- Spulmittel-Spender
- Klarspuler-Spender
- Besteckkorb




1. Display
Zeigt die Zeitverzögerung, Fehlerkodes oder die geschätzte Restlaufzeit an.
2. Zeitvorwahr
Erlaubt einen zeitverzögerten Programmbeginn bis zu 24 Stunden (abhängig vom Modell). Drücken Sie die ZEITVORWAHL-Taste, um die gewünschte Verzögerungszit einzustellen. Mehrfaches Drücken erhoht den Wert.
3.3in1-Programm
These Taste aktiviert oder deaktiviert das 3in1-Programm.
4. Wasserenthärteranzeige
Leuchtet auf, wenn der entsprechende Spender aufgefüllt werden muss.
5. Klarspuleranzeige
Leuchtet auf, wenn der entsprechende Spender aufgefüllt werden muss.
6. Programmwahltaste/Kindersicherung
a. Drücken Sie die Taste zur Auswahr eines Spülprogramms. Drücken Sie die Taste mehrfach, bis Sie Ihr gewünschtes Programm eingestellt haben.
b. Die Kindersicherung aktivieren Sie, indem Sie die Taste für 3 Sekunden drücken. Die Anzeige LO blinkt darauf auf 6 Mal auf dem Display.
7. Betriebsanzeigen

These Anzeige leuchtet bei aktivierter Auswahl des 3in1-Programms.
These Anzeige leuchtet während des Spulvorgangs.
These Anzeige leuchtet während des Trocknungsvorgangs.
8. Programmanzeige
Die Anzeige des gewählten Spulprogramms leuchtet.
9. AN/AUS-Taste
Schaltct das Gcrat cin oder aus.

Überprüfen Sie vor dem Starten des Geräts, ob
- das Gerrat gereade und feste sticht.
- die Wasserzufuhr geöffnet ist.
- die Verbindungen der Zu- und Ableitung dicht sind.
- das Netzkabel fest in der Steckdose steckt.
- der Strom eingeschaltet ist.
- die Wasserzufuhr und Ableitung nicht ineinander verknotet sind.
- alle Verpackungsmaterialien vom Gerät entfernt wurden.

Bevor Sie das Gerät zum ersten Mal benutzen
A) Stellen Sie den Wasserenthärter ein.
B) Geben Sie 500ml Wasser in den Behälter für den Wassercenthärter und fullen Sie darauf auf den Wassercenthärter (=Spulmaschincnsalz) cin.
C) Füllen Sie den Klarsprüferbehälter.
D) Wahlen Sie ein geeignetes Spulmaschinen-Spulmittel.
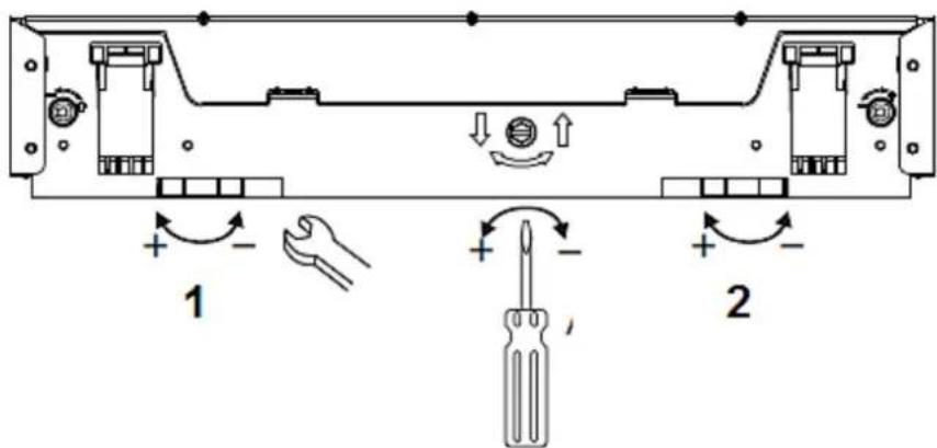
4.1 Wasserenthärter
Sie müssen den Wasserenthärter per Hand einfllen; benutzen Sie hierzu die Wasserenthärter-Einfūlöffnung. Öffnen Sie den Deckel und geben Sie ca. 2 kg Wasserenthärter (Spülmaschinensalz) in die Öffnung. Schließen Sie dann den Deckel wieder ordnungsgemäß.

Einstellung des Wasserenthärter-Verbrauchs
Ihr Gerät erlaubt das Einstellen der bereitsigen Menge an Wasserenthärter basierend auf dem Wasserhärtegrad. Dadurch wird die Verbrauchsmenge optimiert und ihren individuellen Bedürfnissen angepasst. Nehmen Sie die Einstellung wie folgt vor.

- Schrauben Sie die Kappe des Wasserenthärter- Behalters ab.
- Auf dem Behälter befindet sich ein Ring mit einem Pfeil. Drehen Sie den Ring in Richtung + und fullen Si den Bächter mit dem Wassercnhärter (=Spulmaschinensalz).
Die Menge an Wasserenthärter kann von H0 bis H7 eingestellt werden.. Beim Wert H0 wird kein Wasserenthärter besteht.
- Bringen Sie den Wasserhärtegrad in Erfahrung. Ihr regionaler Wasserversorger kann Sie über den Wasserhärtegrad informieren.
- Die einzustellenden Werte entnehmer Sieitte der nachfolgenden Tabelle.
- Schlieben Sie die Tür.
- Drucken Sie die AN/AUS Taste.
- Halten Sie die Zeitverzögerter-Start-Taste gedrückt und drücken Sie die Programmwahltastc fur 5 Sekunden. Das akustische Signal eront einmal und H blinkt auf dem Display. Die Werkseinstellung ist H4.

Ändern der Einstellung
- Drücken Sie die Zeitverzögerter-Start-Taste. Bei jedem Drücken steigt der cingestellte Wert um 1. Nachdem der Wert H7 erreicht wurde, whichelt die Einstellung beim nachsten Drucken auf H0 (aus).
- Drücken Sie die Programmwahltaste. Die gewählte Einstellung ist nun gespeichert.
| Wasserhärte | Mmol/l | Einstellung am Geschirrspüler | |
| 0dH | Bereich | ||
| 0-6,4 | weich | 0-1,1 | H0 |
| 6,5-8,6 | weich | 1,2-1,4 | H1 |
| 8,7-9,6 | mittel | 1,5-1,8 | H2 |
| 9,7-12,0 | mittcl | 1,9-2,1 | H3 |
| 12,1-16,0 | mittel | 2,2-2,9 | H4 |
| 16,1-21,0 | hart | 3,0-3,7 | H5 |
| 21,1-30,3 | hart | 3,8-5,4 | H6 |
| 30,4-49,5 | hart | 5,5-8,9 | H7 |
4.2 Wasserenthärter befüllen
Sie finden den Wasserenthärte-Behälter unterhalb des unteren Geschirrkorbs. Füllen Sie den Behälter wie folgt:
Benutzen Sie ausschließlich einen Wasserenthärter (=Spulmaschinensalz) zur speziellen Verwendung in einem Geschirrspüler. Alle anderen Wasserenthärter bzw. Salze, weitere Tafelsalz, beschädigen den Wasserenthärter-Behälter.
Der Hersteller gewährt keine Garantie und ist nicht verantwortlich für Schäden aufgrund der Verwendung eines ungeigneten Wasserenthärters.
Füllen Sie den Behälter nur vor einem beginnenden kompletten Spülprogramm. Dadurch verhindern Sie, dass eventuell verschüttete Rückstände des Enthärters am Boden des Geräts verbleiben und damit zu möglichen Korrosionen führen.
Nach dem ersten Spulprogramm erlischt die Kontrollleuche auf dem Bedienfeld.


- Entfernen Sie den unteren Geschirrkorb und den Deckel des Wasserenthärter-Behalters.
- Wenn Sie den Beñalter zum ersten Mal befällen, fühlen Sie den Beñalter zu 2/3 mit Wasser (ca. 500ml ).
- Stecken Sie den mitgelieferten Trichter in die Öffnung und füllen Sie ungebär 2 kg Wasserenthärter (=Spulmaschinensalz) ein. Es ist normal, dass eine klinne Menge an Wasser aus dem Behälter lauft.
- Befestigen Sie wieder vorsichtig den Deckel.
- Die Wasserenthärteranzeige erlischt gewöhnlich 2-6 Tage nach dem Befüllen des Behalters.
HINWEIS!
Sie mussen den Behälter auffullen, wenn die Wasserenthäreranzeige aufleuchtet. Solange der Wasserenthärer sich nicht aufgelöst hat, kann die Wasserenthäreranzeige auch bei befülltem Behälter aufleuchten. Falls Sie beim Befullen Wasserenthärer verschüttet haben, können Sie ein besonderes Einweichprogramm einstellen, um Rückstände auszuwaschen.
4.3 Klarspüler-Behälter befällen
die Klarspuleranzeige nicht leuchtet, konnen Sie die benötigte Menge an der Farbe der Füllanzeige "D" befinden der Kappe erkennen.
Dunkler Punkt = Behälter ist voll.
Je kleiner der dunkle Punkt wird, deren lecrer ist der Behälter. Der Behälter sollte immer mindestens zu 1/4 gefüllt sein.

Klarspuler-Behälter



- Drehen Sie die Kappe in Richtung des offen/open Pfeils (links) undnehmen Si dcsc ab.
- Fullen Sie den Klarspuler in den Behalter. Überfüllen Sie den Behalter nicht.
- Setzen Sie die Kappe wieder am offen/open Pfeil ausgerichtet auf und drehen Sie die Kappe in Richtung des zu/closed Pfeils (rechts).
Der Klarspuler wird während eines Spulprogramms automatisch hinzugegeben und gewährt ein flecken- und streifenfreies Trocknen Ihres Geschirrs, da der Klarspuler das Ablaufen des Wassers von der Geschirroberfläche unterstützt. Ihr Gerät wurde zur Verwendung eines Klarspulers entwickelt.
Der Klarspuler-Behalter befindet sich im Gerät oben dem Spülmaschinen-Spülmittelbehälter.
Das Fassungsvermögen des Behalters beträgt ungebahr 140 ml.
Überfüllen Sie den Behälter nicht, da es ansonsten zu starker Schaumbildung kommt kann. Wischen Sie verschütteten Klarspüler mit einem weichen Tuch auf.
Vergessen Sie nicht, nach dem Befüllen die Kappe wieder aufzusetzen.

1: Drehschalter
Einstellen des Klarspulspenders
Beginnen Sie mit Stufe 4.
Bei Flecken oder schlechten Trockenergebnissen wahlen Sie Stufe 5.
Sollten die Probleme weiter auftreten, erhöhen Sie auf Stufe 6.
Die Werkseinstellung ist Stufe 5.
- Erhöhen Sie die Menge an Klarspüler, wenn nach dem Spülprogramm Wassertropfen oder Kalkflecken auf dem Geschirr sightbar sind.
- Verringern Sie die Menge an Klarspuler, wenn nach dem Spulprogramm weißliche Streifen auf Glass oder bläuliche Beläge auf Besteck sightbar sind.
4.4 Spülmaschinen-Spülmittel
Spülmaschinen-Spülmittel werden hinsichtlich ihrer chemischen Zusammensetzung in zwei Gruppen unterschieden:
konventionelle, alkalische Spülmittel mit kaustischen Komponenten.
niedrig-alkalische konzentrierte Spulmittel mit natürlichen Enzymen.
Die Benutzung "normaler" Spülprogramme in Verbindung mit konzentrierten Spülmitteln reduziert Umweltbelastungen und ist gut für Ihr Geschirr; solche Spülprogramme unterstützen die Spülwirkung der Enzyme. Aus thisem Grund weisen "normale" Spülprogramme in Verbindung mit konzentrierten Spülmaschinen-Spülmitteln dieselben Ergebnisse auf, die ansonsten mit "intensiven" Spülprogrammen erzielt werden.
Es gibt drei Sorten von Spülmaschinen-Spülmitteln:
- mit Phosphat und Chlor.
- mit Phosphat / ohne Chlor.
- ohne Phosphat / ohne Chlor
Neue Spulmaschinen-Spulmittel in Pulverform enthalten normalerweise kein Phosphat, also ist die Wasser enthaltende Wirkung nicht gegeben. In thisem Fall empfehlen wir die zusätzliche Verwendung eines Wasserenthärters (=Spulmaschinensalz), auch wenn der Wasserhärtegrad nur z.B. 6 dH beträgt; ansonsten können auf Geschirr und Glasern weiß Flecken entstehen. Verwenden
Sie in thisem Fall mehr Spulmaschinen-Spulmittel, um bessere Ergebnisse zu erzielen. Spulmaschinen-Spulmittel ohne Chlor bleichen nur geringfugig. Starke und farbige Flecken werden so nicht vollständig entfernt. Wahlen Sie in einem solchen Fall ein Programm mit einer hoheren Temperatur.
Spulmaschinen-Tabs
Spulmaschinen-Tabs verschiedener Hersteller losesn Verunreinigungen in entsprechenden Zeitperioden. Aus thisem Grund konnen的一些 Tabls bei Kurzspulprogrammen nicht ihre losenden und reinigenden Eigenschaften entwickeln. Benutzen Sie bei Verwendung von Tabs also immer länger andauernde Spulprogramme, um eine komplette Reinigung Ihres Geschirrs zu gewährleisten.
Der Spulmittelbehälter
Der Spülmittelbehälter muss vor jedem Spülprogramm besteht werden entsprechend den Informationen in der Spülablauf-Tabelle.
Benutzen Sie nur für Spülmaschinen geeignete Spülmittel.
Halten Sie Ihr Spulmaschinen-Spulmittel stets trocken.
Füllen Sie den Behälter nur kurz vor Beginn eines Spülprogramms.
Ihr Gerät verbraucht weniger Spülmittel und Klarspüler als konventionelle Geräte. Im Allgemeinen benötigen Sie nur einen Esslöffel Spülmittel für ein normalen Spülprogramm.
Stärker verschmutztes Geschirr erfordert eine höhere Menge an Spülmittel.
Füllendes Behalters


- Wenn der Deckel geschlossen ist, drücken Sie den Öffnen-Knopf und der Deckel springt auf.
- Geben Sie das Spulmittel immer vor dem Beginn cines jeder Spulprogramms hinzu. Benutzen Sie nur für Spulmaschinen geeignete Spulmittel.
Füllen Sie den Behälter mit Spülmaschinen-Spülmittel. Die Markierungen zeigen die Dosierungsstufen an (siehe Abbildung unter). Solle Itsr Geschirr sehr stark
verschmutzt sein, geben Sie eine zusätzliche Menge an Spülmittel in die Vorsprülen-Kammer.

- Spülmittel für den Hauptspülgang. MIN entspricht ca. 20g Spülmittel.
- Spülmittel für den Vorspülgang; entspricht ca. 5 g Spülmittel.
Beachten Sie die Dosierungsanweisungen des Herstellers des Spulmittels auf der Packung.
Schlieben Sie nun den Deckel; drücken Sieihn zu, bis die Verriegelung einschnappt.
5. Beladen der Geschirrkörbe
Folgen Sie den hier aufgeführten Anweisungen, um eine möglichst hohe Spülleistung Ihres Geräts zu erreichen. Die Eigenschaften und das Aussehen der hier beschriebenen Körbe konnen je nach Modell unterscheidlich ausfallen.
5.1 Vor/nach dem Beladen
- Entfernen Sie größere Mengen übriggebliebener Nahrungsmittel vom Geschirr.
- Sie brauchen das Geschirr vorher nicht unter flieBendem Wasser abspulen.
- Beladen Sie die Körbe folgendermaßen:
a. Gegenstände wie Tassen, Glaser, Töpfe und Pfaffen mit der Oberseite nach unten.
b. Gewöblte Gegenstände und Gegenstände mit Vertiefungen in schräger Position, damit das Wasser abfließen kann.
c. Das Geschirr muss sich sicher und fest in den Körben befinden, so dass es nicht umkippen kann.
d. Das Geschirrarfnicht die rotierenden Spruharme blockieren.
c. Geben Sie sehr keine Gegenstände nicht in das Gerät, da diese leicht aus den Körben fallen können.
- Entladen Sie nach dem Spülen zuerst den unteren Korb; so vermeiden Sie, dass übriggcbliebcnes Spülwasser aus dem oberen Korb in den unteren tropf.
5.2 Oberer Geschirrkorb
Der obere Geschirrkorb ist für empfindliches und leichteres Geschirr wie Glaser, Tassen, Saucieren, keine Platten und Schüsseln und flache Pfannen, soweit diese nicht zu sehr verunreinigt sind, vorgesehen. Beladen Sie den Korb so, dass die einzelnen Gegenstände nicht durch das Versprühen des Spülwassers bewegt werden.

A Tassen
B Glaser
C Untertassen
D Schussel
E Schüssel
I Dessertteller
K Servierlöffel
Sie konnen die Höhe des oberen Geschirrkorbs einstellen. So schaffen Sie entweder im oberen oder im unteren Geschirrkorb mehr Platz für große Gegenstände. Sie stellen die Höhe des oberen Geschirrkorbs ein, indem Sie den entsprechenden Radsatz in die Schienen geben. Platzieren Sie large Gegenstände auf dem Regal, sodass die Sprüharme nicht in ihrer Rotation behindiert werden. Das Regal kann bei Bedarf zurückgeklappt oder halten werden.


5.3 Unterer Geschirttkorb
Der untere Geschirrkorb ist für die am schwierigsten zu reinigenden Gegenstände wie Töppe, Pfannen, Deckel, Servierteller und Schüsseln vorgesehen. Platzieren Sie Teller und Deckel an den Seiten des Geschirrkorbs und blockieren Sie nicht die rotierenden Sprüharme. Töppe und Schüsseln müssen sich mit der Oberseite nach unten im Geschirrkorb befinden.

F Schussel
G Suppenteller
H Essteller
I Dessertteller
J Ovalcr Tellcr
5.4 Besteckkorb
Geben Sie Ihr Bsteck mit dem Griff nach unten in den Bsteckkorb. Legen Sie besonderss lange Gegenstände nur waagerecht und sicher in das Gerät, damit Sie die rotierenden Sprüharme nicht blockieren.

| Typ | Besteckart | Typ | Besteckart |
| 1 | Tee-/Kaffeelöffel | 5 | Messer |
| 2 | Dcsscrtlöffel | 6 | Scrivergabeln |
| 3 | Suppenlöffel | 7 | Saucenlöffel |
| 4 | Gabeln |

Unterer/oberer Besteckkorb; Klappablagen2
Unterer Besteckkorb

Oberer Besteckkorb

Die Klappablagen der Besteckörbe konne zur Seite geklappt werden, um großeren Gegenständen Platz zu bieten.

Die folgenden Gegenstände sind nicht zum Spüssen in einem Geschirrspüler geeignet.
- Bestek mit Griffen aus Holz, Horn, Porzellan oder Perlmutt.
- Nicht hitzeresistente Plastikgegenstände.
- Alteres Besteck mit geklebten oder geleimten Bestandteilen, die nicht hitzeresistent sind.
- Gegenstände mit Bestandteilen aus Kunstharz.
- Gegenstände aus Kupfer und/oder Zinn.
- Gegenstände aus Bleikristall.
- Gegenstände aus Stahl, die Rost aufweisen oder weniger rosten.
- Holzerne Gegenstände aller Art.
- Gcgenstande aus synthetischen Chemicfasern.
- Gegenstände, die durch Zigarettenasche, Wachs, Lacke oder Farben verunreinigt sind.

Die folgenden Gegenstände sind lediglich eingeschränkt zum Spüssen in einem Geschirrspüler geeignet:
- Einige Glasarten können nach einer hohen Anzahl an Spülvorgängen stumpf oder trüb werden.
- Gegenstände aus Silber oder Aluminium neigen dazu, sich beim Spüssen zu verfüllen.
- Glasierte Muster können bei früigem Spulen verblassen.
5.5 Hinweise zum Beladen
Entfernen Sie vor dem Beladen Speiserestre vom Geschirr.
Weichen Sie vor dem Beladen angebrannte Speiserückstände an Töpfen und Pfaffen ein.
Bestecke und Geschirr dürfen nicht die rotierenden Sprüharme blockieren.
Geben Sie Gefäße wie Tassen, Gläser oder Topfe mit der Oberseite nach unten in das Gerät, damit sich in den Gefäßen kein Wasser ansammelt.
GeschirrarfimGerat nichtaneinanderliegenoder sichgegenseitigabdecken.
Glaser durren sich nicht berühren, damit sie keinen Schaden erhmen.
Geben Sie große und schwer zu reinigende Gegenstände in den unteren Geschirrkorb.
Der obere Geschirrkorb eignet sich am besten für empfindliche oder klinere Gegenstände wie Glaser und Tassen.
5.6 Schäden an Glaswaren/Geschirr
Mögliche Ursachen
Empfohlene Abhilfen
| Die Art des Glaces/Geschirrs oder sein Herstellungsverfahren. | Benutzen Sie nur vom Hersteller ausgewiesncs Spülmaschinen geeignctes Glas/Geschirr. |
| Die chemische Zusammenstellung des Spülmaschinen-Spülmittels. | Benutzen Sie ein Geschirr schonendcs, mildes Spülmaschinen-Spülmittel. Die Hersteller solcher Mittel informieren Sie bisher die Eigenschaften ihrer Produkte. |
| Die Wassertemperatur und Dauer des Spülprogramms. | Wahlen Sie ein Programm mit einer niedrigeren Temperatur und Dauer. |
6. Die Spülprogramme
| Programm | Info | Beschreibung | Spülmittel VS/HS | Dauer- Verbrauch in Min.-kW/h/L |
| Intensive | Für sehr stark verschmutztes Geschirr mit Eintrocknungen. | Vorsprülen Hauptspänen(620) Absprülen 1 Absprülen 2 Heiβspänen Trocknen | 5/22 g (oder 3in1) | 170/1,20/16,4 |
| Eco* | Für normal verschmutztes Geschirr. Standartprogramm zur tätiglichen Nutzung. | Vorsprülen Hauptspänen(460) Heiβspänen Trocknen | 5/22 g (oder 3in1) | 168/0,78/10 |
| Spar | Für empfindliche und Gegenstände, dieSENSibel auf hohe Temperatren reagieren (direkt nach der Benutzung spüssen). | Hauptspänen(450) Absprülen Heiβspänen Trocknen | 20 g (oder 3in1) | 82/0,76/10 |
| Schnell | Kurzesspänen für leicht verschmutztes Geschirr ohne Trocknung. | Hauptspänen(450) Heiβspänen | 15 g | 40/0,60/6,8 |
| Vorsprülen | Zum Abwaschen von Geschirr, das später gesetzt wird. | Vorsprülen | - | 13/0,01/3,6 |
| 60 min | Alltägliches Spüssen von leicht/normal verschmutztem Geschirr/Töpfen/P füssen. | Vorsprülen Hauptspänen (600) Heiβspänen Trocknen | 5/20 | 60/0,84/10 |
*: EN 50242 Standard-Testprogramm unter folgenden Voraussetzungen: Füllmenge 9 Gedecke, unterer Geschirrkorb in niedriger Position, Klarsprüfer-Einstellung 5 (oder 4 bei Spendern mit 4 Einstellungen).
6.1 Starten eines Spulprogramms
- Befüllen Sie zuerst den unteren Geschirrkorb.
- Füllen Sie das Spülmaschinen-Spülmittel und den Wasserenthärter (=Spülmaschinensalz) in die darauf vorgesehenen Behälter.
- Das Gerät muss während des Betriebs bei vollem Druck mit Wasser versorgt werden.
- Schlieben Sie ordnungsgemäß die Tur (leichten Druck ausüben). Bei ordnungsgemäß Schlieben der Tur ist ein leichtes KLICK zu horen
- Drucken Sie den PROGRAM Knopf zur Auswahl eines Spulprogramms.
- Drücken Sie nach Beendigung des Spulprogramms die Taste AUS/OFF. Nun können Sie die Tur öffnen.
6.2 Wechsel eines laufenden Spülprogramms

Sie konnen ein laufendes Spulprogramm kann nur ändern, wenn es erst kurze Zeit aktiviert ist. Andernfalls hat sich das Spulmittel bereits aufgelöst und das Gerät das Spulwasser abgeleitet. In dieser Fall müssen Sie den Spulmittelbehälter neu befüllen.
- Öffnen Sie die Tur und drücken Sie die laufende Programmwahl für mindestens 3 Sekunden.
- Stellen Sie nun das neu gewünschte Programm ein.
- Schlieben Sie die Tur.
Wenn Sie die Tur bei laufendem Betrieb öffnen, unterbricht das Gerät den Betrieb. Das Display zeigt die Meldung E1 an. Wenn Sie die Tur wieder schlieben, nimmt das Gerät nach 10 Sekunden wieder den Betrieb auf. Die sechs Kontrollleuchten zeigen den Status des Geräts an.
a. Alle Leuchten sind aus = Stand-by Modus.
b. Eine der Leuchten ist an = Das entsprechende Programm lauft.
c. Ein der Leuchten blinkt = Pausen-Modus
6.3 Nachträgliches Eingeben von Geschirr
Sie können ein vergessenes Geschirrteil nachträglich in das Gerät geben, solange sich der Spülmittelbehälter noch nicht geöffnet hat.
- Öffnen Sie die Tur ein weniger, um den Betrieb zu unterbrechen.
-
Nachdem die rotierenden Sprüharme zu arbeiten aufgehört haben, können Sie die Tur komplett öffnen.
-
Geben Sie nun das vergessene Geschirr in das Gerät.
- Wenn Sie die Tur wieder schlieben, nimmt das Gerät nach 10 Sekunden wieder den Betrieb auf.
6.4 Ende eines Spulprogramms
Nur wenn auf dem Display "--" erscheint und das akustische Signal 6 Mal ertont, ist das Programm beendet.
- Schalten Sie das Gerät mit dem AN/AUS Knopf ab.
- Drehen Sie die Wasserversorgung des Gerats ab.
- VORSICHT! Warten Sie einige Minuten, bevor Sie nach Beendigung eines Spulprogramms die Tur öffnen, da heiBer Dampf entweichen kann.
- Warten Sie danach mit dem Entladen ca. 15 Minuten, da das Geschirr noch heißt ist und so leichter zerbricht. Außendem trocknet das Geschirr so better.
- Es ist normal, dass das Gerät innern pass ist.
6.5 Verwendung von 3in1 Spül-Tabs
- 3in1 Spülmittel enthalten eine Kombination aus Spülmittel, Klarspüler und Wassercenthärter.
- Überprüfen Sie zuerst, ob die Wasserhärte ihrer Wasserversorgung den auf der Verpackung genommen Angaben des Herstellers der Tabs entspricht.
- Verwenden Sie solche Produkte unter genauer Einhaltung der Anweisungen des Herstellers der Tabs.
- Wenn bei der erstmaligen Benutzung eines 3in1 Produkts Probleme auftreten sollenen, wenden Sie sich an die Informationshotline des Herstellers der Tabs.
- Wenn Sie ein solches Kombi-Mittel benutzen, sind die Anzeigen fur den Klarspuler und Wasserenthärter nicht mehr nutzbar. Mochlicherweise ist es hilfreich, die Wasserhärte auf den kleinstmöglichen Wert einzustellen.

Wahl der 3in1 Funktion
- Drücken Sie den AN/AUS Knopf und wahlen Sie das 3in1 Spülprogramm, indem Sie den 3in1 Knopf drücken, bis die 3in1 Anzeige blinkt.
- Das 3in1 Spulprogramm ist verfügbar, nach dem Sie den START/PAUSE Knopf gedrückt haben und die 3in1 Anzeige leuchtet.

Abbruch der 3in1 Funktion
- Folgen Sie den Anweisungen unter WECHSEL EINES LAUFENDEN PROGRAMMS. Falls Sie zur Verwendung eines Standard-Splümmittelsystems zu wechseln beabsichtigen, verfahren Sie wie folgt:
a. Befüllen Sie die Behälter für den Wasserenthärter und den Klarsprüfer.
b. Stellen Sie die Wasserhärte auf die hochstmögliche Position ein und halten Sie das Gerät drei normale Spülgänge unbeladen laufen
7. Reinigung und Pflege
- WARNUNG Trennen Sie das Gerät vor allen Wartungs- und Reinigungsrarbeiten von der Stromversorgung.
- Halten Sie Ihr Gerät immer sauber, damit es nicht zur Ausbildung unangenehmer Gerüche kommt.
- Legen Sie vor allen Reinigungs- und Wartungsarbeiten alle Ringe an ihren Fingern sowie allen Armsschmuck ab; ansonsten beschädigen Sie die Oberflächen des Geräts.
7.1 Filtersystem

- Der Flächenfilter fängt Rückstände mittels ciner Spzialdusc am unteren Spularm cin.
- Der Grobfilter fängt Rückstände wie Knochen oder Glas, die den Wasserablauf verstopfen konnen, ein. Um die Rückstände herauszunehmen, drücken Sie leicht an den oberen Zapfen und haben Sie den Filter dann hersaus.
- Der Mikrofilter hält Rückstände im Wasserablaufbereich darüber, damit diese nicht wieder auf das Geschirr gelangen.
Das Filtersystem hält Speiserückstände oder sonstige Gegenstände davon ab, in die Pumpe zu gelangen. Diese Rückstände können den Filter nach einiger Zeit verstopfen. Das Filtersystem besteht aus einem Grobfilter, einem Flächenfilter und einem Mikrofilter.



Überprüfen Sie die Filter nach jedem Spulprogramm auf Verunreinigungen.
Indem Sie den Grobfilter entfernen, können Sie das gesamte Filtersystem dem Gerät entnahmen. Entfernen Sie mögliche Rückstände und reinigen Sie die Filter unter fließen dem Wasser.
1. Drehen Sie den Grobfilter gegen den Uhrzeigersinn und haben Sieihn an.
2. Nehmen Sie den Flächenfilter hersus.
Wenn Sie von Schritt 1 nach Schritt 2 vorgehen, entfernen Sie das Filtersystem. Wenn Sie von Schritt 2 nach Schritt 1 vorgehen, installmenten Sie das Filtersystem wieder (3).
Wir empfehlen, das gesamte Filtersystem einmal pro Woche zu reinigen.
Entfernen Sie größere Rückstände nach jedem Spulprogramm.
Benutzen Sie dazu für den Grob- und Mikrofilter eine Spülbüürste.
Schlagen Sie nicht gegen die Filter, da diese dadurch beschadigt werden und Ihr Gerät demzufolge nicht mehr ordnungsgemäß arbeitet.
Setzen Sie die Filter immer ordnungsgemäß wieder ein.
Nicht ordnungsgemäß eingesetzte Filter konnen das Gerät und/oder Ihr Geschirr beschädigten.
7.2 Bedienfeld und Gerät
Reinigen Sie das Bedienfeld mit einem leicht angefeuchteten Tuch und trocknen Sie sorgfältig nach.
Nehmen Sie eine geeignete Politur, um das Außergehause des Geräts zu reinigen
Benutzen Sie niemals scharfkantige Gegenstände, Scheuer-Pads, Scheuermittel, Lösungsmittel, Papiertücher oder andere raue oder aggressive Reinigungsmittel, um eine beliebige Stelle des Geräts zu reinigen.
7.3 Sprüharm

Reinigen Sie die Sprüharme regelmäßig, weil Chemikalien und Mineralien die Düsen und die Lager der Arme verstopfen.
Um den Sprüharm abzunehmen, entfernen Sie die Schraubenmutter im Uhrzeigersinn, um die Waschvorrichtung oben am Sprüharm abzunehmen und entfernen Sie den Arm.
Reinigen Sie den Sprüharm mit warmem Seifenwasser und die Dusen mit einer weichen Bürste.
Spülen Sie den Sprüharm mit klarem Wasser gründlich ab und bringen Sieihn wieder an.
7.4 Tur
Benutzen Sie einen leicht warmen und feuchten Putzlappen, um die Seitenflächen der Tur zu reinigen.
Benutzen Sie eine geeignete Politur, um die Außenfläche der Tur zu reinigen
Benutzen Sie niemals scharfkantige Gegenstände, Scheuer-Pads, Scheuermittel, Lösungsmittel, Papiertücher oder andere raue oder aggressive Reinigungsmittel, um eine beliebige Stelle der Tür zu reinigen.
Reinigen Sie die Dichtungen regelmäßig mit einem feuchten Schwamm. Ansonsten können Speiserückstände unangenehme Gerüche freiisetzen.
HINWEIS! Benutzen Sie zum Reinigen der Tur niemals Spruhreiniger, da diese das Schloss und die Elektrik nachhaltig beschädigen konnen.
7.5 Frostschutz
Falls Ihr sich Gerät im Winter an einem ungeheizten Ort befindet, zichen Sie für die unten aufgeführten Maßnahmen einen Service-Techniker hinzu3.
- Trennen Sie das Gerät von der Stromversorgung.
-
Stellen Sie die Wasserzufuhr ab und trennen Sie das Wasserzufuhrrohr vom Ventil.
-
Entfernen Sie samtliches Wasser aus dem Wasserzufuhrrohr und dem Ventil.
- Verbinden Sie das Wasserzufuhrrohr wieder mit dem Ventil.
- Entfernen Sie die Filter. Entfernen Sie nun samtliches Wasser aus dem Wasserablauf.
7.6 Außerbetriebnahme
- Wenn Sie das Gerät eine Zeit lang nicht benutzten, z.B. während einer Ferienreise, führen Sie vorher einen Spüldurchlauf bei leerem Gerät durch.
- Ziehen Sie anschließlich den Netzstecker aus der Steckdose und drehen Sie die Wasserversorgung des Geräts ab.
- Lassen Sie die Tur des Gerats einen Spalt breit offen; so schützen Sie die Turdichtungen und verhindern das Entstehen unangenehmer Gerüche.
8. Problembehandlung
WARNUNG Trennen Sie das Gerät vor allen Wartungs- und Reinigungsrarbeiten von der Stromversorgung.
| FEHLER | |
| MÖGLICHE URSACHE | MASSNAHMSN |
Gerät arbeitet überhaupt nicht.
- Die Sicherung im Sicherungsautomat ist ausgelost worden.
- Das Gerät wird nicht mit Strom versorgt.
-
Niedriger Wasserdruck.
-
Sicherungsautomat überprüfen.
- Prufen Sie, ob das Gerät cingeschaltet, die Tur ordnungsgemäß geschlossen und der Netzstecker eingesteckt ist.
- Prufen Sie den Wasseranschluss und den Wasserdruck.
Ablaufpumpe/arbeitet permanent.
Wasscrüberschuss.
Das System identifiziert einen möglichen Wasscrüberschuss. In einem solchen Fall schaltet es die Umlaufpumper ab und die Ablaufpumper ein.
Larm.
- Einige Gerausche sind normal.
- Offnen des Spulmittelbehalters.
- Geschirr ist nicht ordnungsgemäß eingelagert. Kleine Gegenstände sind aus einem Korb gefallen.
- Überprüfen Sie das Geschirr im Gerät.
-
Gerät wurde nicht regelmaßig
-
Der Motor brummt.
benutzt. Auch wenn Sie es nicht regelmäßig benutzen,{lassen Si c es einmal proWoche laufen.
Schaumbildung.
- Ungecignetes Spulmittel.
-
Verschütteter Klarspuler.
-
Benutzen Sie nur geeignetes Spülmaschinen-Spülmittel. Öffnen Sie die Tur und setzen Sie den Schaum verdunsten. Geben Sie knapp 4 Liter Wasser in das Gerät Schlüben Sie die Tur und stellen Sie "Vorsprülen" ein. Gegebenenfalls Vorgang wiederholen.
-
Wischen Sie verschütteten Klarspuler immer umgehend auf.
Flecken im Inneren des Geräts.
Spulmittel enthalt Farbmittcl.
Verwenden Sie nur Spulmaschinen-Spulmittel ohne Farbmittel.
Geschirr ist nicht sauber.
- Ungeeignetes Programm.
-
Nicht ordnungsgemäß Beladung der Geschirrkörbe.
-
Wahlen Sie ein stärkeres Programm.
-
Beladen Sie die Körbe immer ordnungsgemäß. Der Spülmittelbehälter und die Sprüharme)dürfen nicht blockiert werden.
Flecken und Beläge auf Glasern und Bestecken.
Sehr hartes Wasser.
Schr nicdrige Wasser-Zufluss Temperatur.
Überladung des Geräts.
Nicht ordnungsgemäße Beladung.
Altes oder feuchtes Pulver-Spulmittel.
Klarspuleristleer.
Falsche Dosierung des Spulmittels.
So entfern Sie Flecken von Glasern:
- Nehmen Sie alles Metall-Geschirr aus dem Gerät.
- Benutzen Sie kein Spülmittel.
- Wahlen Sie das langste Spulprogramm.
- Starten Sie das Programm. Nach 18-22 Minuten befindet es sich im Hauptspülgang.
- Offnen Sie die Tur und geben Sie 2 Tassen weiß Essig unter in das Gerät.
- Schlieben Sie die Tur und setzen Sie das Programm zu Ende laufen. Falls these Vorgehen keinen Erfolg hat: wiederholen Sie den Vorgang, aber nachmen Sie staat Essig 1/4 Tasse (60 ml) Zitronensäure-Kristalle.
Eintrübungen auf Glaswaren.
Kombination von weichem Wasser und zu viel Spülmittel.
Benutzen Sie weniger Spülmittel, wenn Sie weiches Wasser haben. Wahlen Sie für Glaswaren ein kurzes Programm.
Gelber oder brauner Belag im Inneren des Geräts.
-
Tcc- oder Kaffeeflecken.
-
Benutzten Sie eine Lösung aus 1/2 Tasse Bleiche und 3 Tassen warmen Wasser zur Reinigung. Reinigen per Hand.
-
Eisenablagerungen im Wasser.
-
Sie benötigen einen Spezialfilter. Setzen Sie sich hierzu mit einer Installations-Firma in Verbindung.
WeiBer Belag im Inneren des Gerats.
Mineralien in hartem Wasser.
Reinigen Sie das Innere mit einem fuchten Schwann und Spulmaschinen-Spulmittel. Tragen Sie damit Gummihandschuhe. Benutzen Sie ausschließlich Spulmaschinen-Spulmittel zur Vermeidung von Schaumbildung.
Spülmittel-Behälterdeckel schließt nicht.
Einstellung ist nicht AUS/OFF.
Stellen Sie die Einstellung auf AUS/OFF und schieren Sie die Turverriegelung vorsichtig nach links.
Spulmittel verbleibt im Spender.
Geschirr blockiert den Spülmittel-Behälter.
Bcladen Sie das Gcrat ordnungsgemäß.
Dampf.
Normal.
Ettwas Dampf dringt normalerweise aus der Entlüftung an der Turverriegelung während des Trocknens und Abpumpcns.
Schwarze oder graue Stellen auf dem Geschirr.
Aluminium-Gegenstände haben gegen das Geschirr gerieben.
Entfernen Sie die Flecken per Handwäsche mit einem milden Scheuermittel.
Wasser bleibt am Boden des Geräts zurück.
Normal.
Eine kleine Menge sauberen Wassers um den Ablauf herum hält die Wasser-Vorlage aufrecht.
Das Gerät ist undicht.
- Überfüllter Klarspüler-Behälter oder verschütteter Klarspüler.
-
Das Gerät sticht nicht waagerecht.
-
Ein überfüllter Klarspüler-Behälter oder verschütteter Klarspüler kann zu Schaumbildung und zum Überfließen führen. Wischen Sie verschütteten Klarspüler umgehend auf.
- Richten Sie das Gerät neu aus.
Sollte das Gerät Störungen abweichend von den oben beschriebenen aufwiscen, oder falls Sie alle Punkte der Liste überprüft haben, das Problem aber nicht behoben werden konnte,kontaktieren Sie den Kundendienst.
8.1 Fehler Kodes
| Kode | Bedeutung | Mögliche Ursachen |
| E 1 | Tür offen. | Tür bei Betrieb geöffnet. |
| E 2 | Wassereinlass. | Wassereinlass Fehlfunktion. |
| E 3 | Wasserabfluss. | Wasserabfluss Fehlfunktion. |
| E 4 | Temperatursensor. | Temperatursensor Fehlfunktion. |
| E 5 | Überfließen/Leck | Überfließen/Leck ist aufgetreten. |
| E 6 | Wasseraustritt. | Wasseraustritt ist aufgetreten. |
| E 7 | Heizelement. | Heizelement Fehlfunktion. |
Falls es zum Überfließen kommt, unterbrechen Sie die Wasserversorgung des Gerats, bevor Sie den Kundendienst rufen. Falls sich aufgrund des Überfliebens oder eines Lecks Wasser in der Bodenwanne befindet, müssen Sie these Wasser entferncn, bevor Sie das Gerät neu starten.
| Geräteart | Geschirrspüler |
| Steuerung | Elektronisch |
| Fassungsvermögen | 9 Gedecke |
| Energieeffiziensklasse1 | A+ |
| Jährlicher Energieverbrauch2 | 222,04 kWh |
| Energieverbrauch für 1 Standartprogramm | 0,793 kWh |
| Energieverbrauch im Aus-Modus | 0,10 W |
| Energieverbrauch wenn eingeschaltet | 0,49 W |
| Jährlicher Wasserverbrauch3 | 2800 l |
| Trocknungswirkung4 | A |
| Standartprogramm/Dauer5 | Öko/153 Minuten |
| Geräuschemission | 47 dB(A) |
| Aufstellart | Einbau |
| Einbaufähig | ja |
| Abmessungen H*B*T in cm | 81,50-87,50*44,80*55,80 |
| Leistungsaufnahme | 1850W |
| Stromspannung/Frequency | AC 220-240V/50Hz |
| Wasserdruck (Fließdruck) | 0,4-10 bar = 0,04-1,0 MPa |
| Wassertemperatur | Max. 65° C |
- Von + + + (hochstc Effizicnz) bis D (nicdrigste Effizicnz).
- Basierend auf 280 Standartprogrammen mit Kaltwasser und Niedrig-Verbrauch-Betriebsarten. Der tatsächliche Energieverbrauch hängt von der Art der Benutzung des Geräts ab.
- Basierend auf 280 Standartprogrammen. Der tatsächliche Wasserverbrauch hängt von der Art der Benutzung des Geräts ab.
- Von A (hochste Effizienz) bis G (niedrigste Effizienz).
-
Dieses Programm ist zur Reinigung normal verunreinigten Geschirrs geeignet und das effizienteste Programm hinsichtlich des kombinierten Energie- und Wasserverbrauchs für diese Art von Geschirr.
-
Achten Sie beim Entpacken unbedingt darauf, dass die Bestandteile der Verpackung (Polyathylentüten, Polystyrcnstücke) nicht in die Reichweite von Kindern gelangen, ERSTICKUNGSGEFAHR!
- Nicht mehr benutzte und alte Geräte müssen der zuständigen Wiederverwertungstelle zugeführten werden. Keinesfalls offen den Flammenaussetzen.
- Bevor Sie ein beliebiges Altgerät entsorgen, machen Sie diesen vorher unbedingt Funktionstuntüchtig! Das bedeutet, immer den Netzstecker zichen und danach das Stromanschlusskabel am Gerät abschneiden und direkt mit dem Netzstecker entfernen und entsorgen! Demontieren Sie immer die komplette Tur, damit sich keine Kinder einsperren und in Lebensgefahr geraten können!
- Entsorgen Sie Papier und Kartonagen in den darauf vorgesehenen Behältern.
- Entsorgen Sie Kunststoffe in den darauf vorgesehenen Behältern.
- Falls es in Ihrwohnumfeld keine geeigneten Entsorgungsbehälter gibt, bringen Sie diese Materialien zu einer geeigneten communalen Sammelstelle.
- Nähere Informationen erhalten Sie von Ihrlem Fachhändler oder bei ihren entsprechenden communalen Entsorgungseinrichtungen.

Alle mit diesen Symbol gekennzeichneten Materialien sind wiederverwertbar.

Alle verfügbaren Informationen zur Mülltrennung erhalten Sie bei ihren örtlichen Behörden.
für Elektro-Großgeräte der PKM GmbH & Co. KG, Neuer Wall 2, 47441 Moers.
Der Hersteller leistet dem Verbraucher für die Dauer von 24 Monaten, gerechnet vom Tag des Kaufes Garantie für einwandfreies Material und fehlerfrei Fertigung. Dem Verbraucher stehen darüber den Rechten aus der Garantie die gesetzlichen Gewährleistungsrechte zu, die der Verbraucher gegen den Verkauf ber hat, bei dem er das Gerät erworben hat. Diese werden durch die Garantie nicht eingeschrankt. Der Garanticanspruch ist vom Käufer durch Vorlage des Kaufbelegs mit Kaufund/oder Lieferdatum nachzuweisen und unverzüglich nach Feststellung und innerhalb von 24 Monaten nach Lieferung an den Erstendabnehmer zu melden. Die Garantie begründet keine Ansprüche auf Rücktritt vom Kaufvertrag oder Minderung (Herabsetzung des Kaufpreises). Ersetzte Teile oder ausgetauschte Geräte gehen in unser Eigentum über.
Der Garantieanspruch erstreckt sich nicht auf:
- zerbrechliche Teile wie z.B. Kunststoff oder Glas bzw. Gluhlampen;
- geringfugige Abweichungen der PKM-Produkte von der Soll-Beschaffenheit, die auf den Gebrauchswert des Produkts keinen Einfluss haben;
- Schäden infolge Betriebs- und Bedienungsfehler,
- Schäden durch aggressive Umgebungseinflüsse, Chemikalien, Reinigungsmittel;
- Schaden am Produkt, die durch nicht fachgerechte Installation oder Transport verursacht wurden;
- Schaden infolge nicht haushaltsüblicher Nutzung;
- Schäden, die außerhalb des Geräts durch ein PKM-Produkt entstanden sind - soweit eine Haftung nicht zwingend gesetzlich angeordnet ist.
Die Gültigkeit der Garantie endet bei:
- Nichtbeachten der Aufstell- und Bedienungsanleitung;
- Reparatur durch nicht fachkundige Personen;
- Schäden, verursacht durch den Verkaufcr, Installatur oder dritte Personen;
- unsachgemäß Installation oder Inbetriebnahme;
- mangelnde oder fehlerhafte Wartung;
- Geräten, die nicht ihrem vorgesehenen Zweck entsprechend verwendet werden;
- Schaden durch höhere Gewalt oder Naturkatastrophen, insbesondere, aber nicht abschlussend bei Brand oder Explosion.
Garantielcistungen bewirken weder eine Veränderung der Garantiefrist noch setzen sie eine neue Garantiefrist in Lauf.
Der räumliche Geltungsbereich der Garantie erstreckt sich auf in Deutschland, Österreich, Belgien, Luxemburg und in den Niederlanden gkaufte und verwendete Geräte.
Sie finden alle Informationen zum Kundendienst auf der Einlage in dieser Bedienungsanleitung.
Änderungen vorbehalten
© PKM GmbH & Co. KG, Neuer Wall 2, 47441 Moers
EinfachAnleitung