KH17158E - Dunstabzugshaube AMICA - Kostenlose Bedienungsanleitung
Finden Sie kostenlos die Bedienungsanleitung des Geräts KH17158E AMICA als PDF.
Laden Sie die Anleitung für Ihr Dunstabzugshaube kostenlos im PDF-Format! Finden Sie Ihr Handbuch KH17158E - AMICA und nehmen Sie Ihr elektronisches Gerät wieder in die Hand. Auf dieser Seite sind alle Dokumente veröffentlicht, die für die Verwendung Ihres Geräts notwendig sind. KH17158E von der Marke AMICA.
BEDIENUNGSANLEITUNG KH17158E AMICA
Bittelesen Sie diese Anleitung sorgfältig durch, bevor Sie das Gerät in Betrieb besteht. Nur so beugen Sie Fehlfunktionen vor und lernen sämtliche Leistungsmerkmale des Gerätes kennen.
Vielen Dank ...
... dass Sie sich für eine Kaminhaube aus unserem Hause entschieden haben.
These Abzugshaube wurde konzipiert und ausgeführ, um ihren Erwartungen entgegenzukommen und wird sicherlich ein Element ihrer modern ausgestatteten Kunden. Die hier angewandten Konstruktionslösungen und neuesten Produktionstechnologien gewährleisten dem Gerät hohe Funktionalität und schones Aussehen.
Vor der Montage der Abzugshaube machen Sie sichitte mit dem Inhalt der vorliegenden Bedienungsanleitung vertraut. Dadurch vermeiden Sie eine fehlerhafte Montage und Bedienung der Abzugshaube. Bewahren Sie die Anleitung fur späteres Nachschlagen auf.
Wir wünschen Ihnen volle Zufriedenheit: mit dem Gerät unserer Firma haben Sie eine gute Wahl getroffen.
Inhaltsverzeichnis
Wichtige Sicherheitschinweise, 4
bitte beachten! 4
Charakteristik 6
Ausrüstung. 6
Die Bedienelemente 6
Technische Daten 7
Nutzungsbedingungen 8
Montage 8
I Montage der Abzugshaube. 8
2 Anschluss an das Stromnetz und Funktionskontrolle 9
Einstellung des Arbeitsmodus der Kuchendunstabzugshaube. 10
I Einstellung des Abluftmodus des Gerätes 10
2 Einstellung des Arbeitsmodus „Geruchsabsorber" (Umluft) 10
3 Geschwindigkeit des Ventilators 10
Bedienung und Wartung 10
I Benutzungssicherheit 10
2 Bedienung 10
Wartung. 12
I Metalfettfilter 12
2 Aktivkohlefilter (KF 17142 für 60cm Modelle/ KF 17131 für 90cm Modelle) 12
Reinigung und Pflege. 13
Hinweise zum Umweltschutz 13
Abmessungen KH 17158 E / KH 17128 E. 14
Abmessungen KH 17159 E / KH 17129 E. 15
Wichtige Sicherheitseinweise,
- Überprüfen Sie die Verpackung des Gerätes sofort nach Anlieferung auf Transportschäden. Sollten Sie Beschädigungen finden, kontaktieren Sie ihren Lieferanten. Nehmen Sie niemals ein beschädigtes Gerät in Betrieb!
- Dieses Gerät ist ausschließlich zum Ableiten und ggf. zum Filtern von Kochdünsten bestimmt. Das Gerätist nicht für den industriellen, gewerblichen oder Laborgebrauch bestimmt, sondern nur zur Verwendung im Haushalt. Bei bestimmungswidrigem Gebrauch besteht Gefahr für Leib und Leben durch elektrischen Schlag oder Feuer. Ebenso erlischt der Garantieanspruch.
- Lassen Sie das Gerät niemals während des Betriebs unbeaufsichtigt.
- Öffnen Sie niemals das Gehäuse des Gerätes. Esfinden sich keinerlei Bedienelemente darin. Überlassen Sie eventuelle Reparaturen einer qualifizierten und von uns autorisierten Fachwerkstatt.
Um die Gefahreines elektrischen Schlages zu vermeiden, darf these Gerät niemals in feuchten Räumen (z. B. Badezimmer) betrieben werden. Aucharf das Gerät nur innerhalb geschlossener Räume betrieben werden.
Das Gerät ist ausschließlich für den Betrieb mit einer Netz-Wechselspannung von 230V / 50Hz vorgesehen. Versuchen Sie niemals, das Gerät mit einer anderen Spannung zu betreiben. Die Steckdose, an die das Gerät angeschlossen wird, muss jederzeit gut zugänglich sein, damit es im Notfall schnell vom Netz getrennt werden kann. - Lassen Sie vor der Inbetriebnahme durch einen Elektroinstalleur überprüfen, ob der Schutzleiter der elektrischen Hausinstallation ordnungsgemäß angeschlossen ist. Bei fehlerhafter Erdung besteht im Falle einer Fehlfunktion des Gerätes Gefahr für Leib und Leben durch elektrischen Schlag!
- Achten Sie darauf, dass das Netzkabel während des Betriebs niemals Nass oder feucht wird, oder beschädigt werden kann.
Die Montagearf ausschlieBlich durch entsprechend geschalte und erfahrene Personen ausgeführrt werden.
bitte beachten!


- Hinweis zur Netztrennung : Um das Gerät vom Netz zu trennen, müssen Sie den Netzstecker aus der Netzsteckdoseziehen. Daher müssen Sie das Gerät so installmenten, dass stets ein unbehinderter Zugang zur Netzsteckdose gewährleistet ist, damit Sie den Netzstecker in einer Notsituation(sofort abziehen konnen. Um Brandgefahr ausschreiben, müssen Sie den Netzstecker nach jedem Gebrauch des Gerätes grundsatzlich von der Netzsteckdose trennen.
- Fassen Sie das Netzkabel immer am Stecker an. Ziehen Sie nicht am Kabel selbst, und fassen Sie das Netzkabel niemals mit nassen Händen an, da dies einen Kurzschluss oder elektrischen Schlag verursachen kann. Stellen Sie weder das Gerät noch andere Geräte auf das Netzkabel und achtEN Sie daraufuf, dass es nicht eingeklemmt wird. Machen Sie niemals einen Knoten in das Netzkabel, und binden Sie es nicht mit anderen Kabeln zusammen. Verlegen Sie das Netzkabel so, dass niemand daraufauf tritt oder darüber stolpert. Ein beschädigtes Netzkabel kann einen Brand oder elektrischen Schlag verursachen. Prüfen Sie das Netzkabel von Zeit zu Zeit. Sollte es bescheidigt sein, wenden Sie sich an unseren Kundendienst, um es zu ersetzen. Berühren Sie niemals ein Netzkabel mit feuchten oder nassen Händen und benutzen Sie niemals ein beschiediges Netzkabel! Dabei besteht Stromschlaggefahr.
- Vor einen Sturm und/oder Gewitter mit Blitzschlaggefahren trennen Sie das Gerätitte vom Stromnetz.
- Sollten metallische Gegenstände oder Flüssigkeiten in das Gerätegehause gelangen, trennen Sie es sofort vom Netz und Fragen Sie ihren Handler um Rat.
-
Entfernen Sie vor der ersten Inbetriebnahme alle Papier- oder Plastikverpackungen vom Gerät.
-
Sollte sich außen am Gehäuse Klebefolie befinden, entfern den Sie diese restlos, bevor Sie das Gerät in Betrieb nehmen!
- Bei der Installation,müssen Sie beachten,dass die Abluft nicht in einen Schornstein geleitet werden darf,der fur Abgase von Geraten,die mit Gas oder anderen Brennstoffen betrieben werden,benutzt wird.Dies gilt nicht,when Sie das Gerat nur im Umluftbetrieb (d.h. ohne Ableitung der Dunste aus dem Raum) verwenden.
- DerMindestabstandzwischenderAbstellfläche der Kochgebung auf der Kochmulde und dem untersten Teil der Dunstabzugshaube beträgt 75cm, wenn die Dunstabzugshaube über einem Gasherd eingebaut wird (65 cm bei Elektroherd). Wenn die Montageanweisung für die jeweilige Kochmulde einen größeren Abstand vorschreiben, ist dieser Abstand zu berücksichtigten.
- Bei der Ableitung der Abluft sind behörddliche Vorschriften zu beachten.
- Erstickungsgefahr! Wenn das Gerät gleichzeitig mit Geräten betrieben wird, die Gas oder andere Brennstoffen verbrennen, mussen Sie für eine ausreichende Belüfung des Raumes sorgen (gilt nicht, wenn Sie das Gerät nur im Umluftbetrieb verwenden).
- Wenn Sie die Reinigung der Dunstabzugshaube nicht gemäß dieser Bedienungsanleitung vornehmen, besteht Feuergefahr. Wechseln Sie die Filter regelmäßig wie beschrieben.
- Unter der Dunstabzugshaubearficht nicht flambiert werden.
- Lassen Sie niemals Kinder mit den Geräten speilen oder etwas in etwa Öffnungen stecken. Sonst besteht Lebensgefahr durch elektrischen Schlag.
-
Dieses Produkt ist nicht damit bestimmt, durch Personen (einschließlich Kinder) mit eingeschrankten physischen, sensorischen oder geistigen Fähigkeiten oder mangels Erfahrung und/oder mangels Wissen benutzt zu werden, es sei dess, sie werden durch eine für ihre Sicherheit zuständige Person beaufsichtigt oder erhielten von ihr Anweisungen, wie das Produkt zu benutzen ist. Kinder sollenen beaufsichtigt werden, um safer zu stellen, dass sie nicht mit dem Produkt playen.
-
Halten Sie Kinder vom Verpackungsmaterial fern. Verpackungsmaterial ist kein Spielzeug und kann für Kinder gefährlich werden.
Charakteristik
Ilhre neue Abzugshaube dient zur Abführung der Kochschwaden. Es ist erforderlich, eine Abzugsleitung einzusetzen (z. B, ein Abluftrohr 150 bzw. 120mm, nicht länger als 4-5 m), die die Luft nach außen abfuhrt.
Durch Einsetzen eines Aktivkohlefilters kann die Abzugshaube von Abluft auf Umluftbetrieb umgerüstet werden. In thisem Fall ist die Abzugsleitung nach außen nicht notwendig. Die Montage für den Abluftbetrieb wird empfehlen. Die Abzugshaube ist ein Elektrogerät in Schutzartausführung Klasse II. Das Gerät hat eine Beleuchtung und kann in 4 Leistungsstufen betrieben werden.
Die Abzugshaube wird fest an der Wand über dem Gas- oder Elektroherd montiert (mind. 45 cm Abstand zu einem Elektroherd bzw. 50 cm zu einem Gasherd).
Ausrüstung
Die Dunstabzugshaube besteht aus den folgenden Elementen (Abb. I):
I. Gerüst der Abzugshaube mit Glas - A, Beleuchtung und Lüfter-Komplex
2. unter Teleskopkaminschacht - B
3. oberer Teleskopkaminschacht - C
4.Wandhalterung fur den oberen Kaminschacht - E
5. Umlenkblech für Luftstrom beim Umluftbetrieb F
6. Montagedübel.
Die Bedienelemente

Die Haube wird durch das Anheiten der unteren Scheibe geöffnet, am Besten mit zwei Händen in Höhe der Halogenbeleuchtung. Die Haube besitzt einen Gasdruckstroßdämpfer, der das Gewicht der unteren Scheibe nach dem Öffnenträgt. Diese Zustand dient zur Reinigung der Metallfettfilter und zum Auswechseln der Kassettenkohlefiltermatte (beim Umluftbetrieb), danach ist die Glascheibe wieder zu schlieben. Die untere Glasscheibe bleibt während des Betrieb geschlossen, da der Dunsteinzug in der Spalte zwischen den beiden Glasscheiben staatfindet. Die Glasscheibe kann aber auch während des Betriebs geöffnet bleiben.

Im Lieferumfang sind zusätzlich enthalten: ein Reduzierstück 150 mm und 120 mm, ein Beutel mit der Bedienungsanleitung und 4 Schrauben (Schrauben G und H Abb. 3 Seite 6).
Achtung: Vor der Montage kaufen Sie vier Bolzen /Düb entsprechend der Konstruktion der Decke, an der Sie die Abzugshaube montieren wollen.
Technische Daten
| 60 cm Modell | 90 cm Modell | |
| Versorgungsspannung | AC 230V 50Hz | |
| Motor des Lüfters | 1 | |
| Beleuchting | Halogenlampen 2x20W | |
| Fettfilter | 1 | |
| Leistungsstufen / Geschwindigkeit | 4 | |
| Breite [cm] | 60 | 90 |
| Tiefe [cm] | 47,0 | 43,5 |
| Höhe [cm] | 101,0 – 135,0 | 122,0 – 156,0 |
| Ausgang [ø mm] | 150 bzw. 120 | |
| Leistungswert [m 3/h] | max. 900 | |
| Stromaufnahme [W] | 240 | |
| Betriebgeräusch [dBA] | max. 51 | |
| Gewicht, netto | 16,8 kg | 28 kg |
| Betriebsart | Abluft bzw. Umluft | |
| Farbe | Edelstahl INOX matt | |
Nutzungsbedingungen
- Die Haube dient zur Abführung der Kochschwaden nach außen. Das Gerät soll an den entspruchenden Belüftungskanal angeschlossen werden (nicht an die betriebsaktiven Kamin-, Rauch-oder Abgaskanäle anschließen).
- Das Gerät ist mindestens 450~mm über einem Elektroherd und 500~mm über einem Gasherd zu montieren (Seite 12 und 13).
- Vermeiden Sie große, offene Flammen unter der Haube. Wenn Sie einen Topf vom Gasnehmen, stellen Sie die Flamme zuvor auf Minimum ein.
- Gerichte, die Sie mit Fett Zubereiten, sollenn ständig überwacht werden, da das überhitzte Fett brennbar ist.
- Die Fettfilter der Haube sollte mindestens alle 2 Monate gereinigt werden. Es besteht Entzündungsgefahr, wenn sie mit Fett gesättigt sind.
- Vor jeglicher Reinigung, Filteraustausch oder Reparatur, muss das Gerät von der Stromversorgung getrennt werden (den Stecker aus der Steckdose herausziehen).
- Sollten in dem Raum befinden dem Dunstabzug auch andere, nicht mit Strom gespeiste Geräte betrieben werden (z.B. Kraftstofföfen, Durchlauferhitzer, Thermen), muss eine ausreichende Belüftung des Raumes gewährleistet sein. Sicherer Betrieb ist nur dann möglich, wenn bei gleichzeitigem Betrieb der Haube und anderer, luftverbrauchender Verbrennungsgerate, Unterdruck in ihrer direkten Höhe den Wert von max. 0,004 mB erreicht (dieser Wert gilt nicht beim Umluftbetrieb der Haube).
- Beim Netzanschluss 230V muss die Steckdose zunachst von einem Fachmann auf ihre Funktion geprüft werden.
Montage
Die Anbringung der Haube sollte durch zwei Fachtechniker durchgeführt werden. Um die Abzugshaube zu montieren, gehen Sieitte wie folgt vor:
I. Zuerst markieren Sie an der Wand die Bohrlocher mit einer Schablone.
2. Markieren Sieitte den minimalen Abstand zwischen einer Kochplatte und der Dunstabzugshaube (Seite 12 und 13).
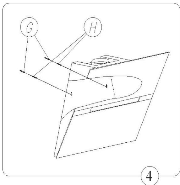
3. Bohren Sie Löcher in die Wand und stecken Sie anschließend die Dübeln hinein. (Abb. 3 Pos. G und H bei 60 cm Modellen, Abb. 4 Pos. G und H bei 90 cm Modellen).
4. Hängen Sie nun den Haubenkörper ein (Abb. I, A).
5. Schlieben Sie die Dunstabzugshaube am Abluftrohr an.
6. Schließen Sie die Dunstabzugshaube an den Stromkreis.
7.itte montieren Sie die obere Wandhalterung auf eine entsprechende Hohe (Abb.I Pos.E).
8. Montieren Sie die Teeskopschächte (Abb. I Pos. B und C).
1 Montage der Abzugshaube
a) Markieren Sie eine senkrechte Linie an der Wand, die sich in der Mitte der Kochplatte befinden soll.
b) Legen Sieitte die Papierschablone an die Wand an und zentrieren Sie these zu der senkrechten Linie.Achten Sie darauf ,dass der Abstand zwischen der Lochern und der Kochplatte 980 mm beträgt. Halten Sieitte die Papierschablone möglich waagerecht und markieren Sie an der Wand den Abstand der Montagellicher.
c) Bohren Sieitte die markierten Locher mit einem Bohrer in die Wand.itte achten Sie darauf, dass die Grie der Bohrungen identisch mit der Grie der Dabel sind. (Abb. 3 Pos. G und H - bei 60 cm Modellen, Abb. 4 Pos. G und H - bei 90 cm Modellen). Klopfen Sie die Dabel in die Bohllocher und schrauben Sie die Schrauben hinein.
d) Wenn die Dunstabzugshaube im Abluftbetrieb arbeiten wird, schlieben Sie diese an ein entsprechendes Abluftrohr an, welches an einem Abluftkanal befestigt ist.
e) Wenn die Dunstabzugshaube im Umluftbetrieb arbeitet, dann montieren Sie zusammen mit der Wandhalterung (Abb. I Pos. E) ein Umlenkblech für den Luftstrom (Abb. I Pos. F). Die Luft, die durch den Kohlefilter gegangen ist und gesaubert ist, wird zu dem Umlenkblech weitergeleitet. Dieses Umlenkblech hat die Aufgabe, die Luft zu den Öffnungen auf beiden Seiten des oberen Schachtes zu leiten.
f)itte montieren Sie auf entsprechender Hohe die Wandhalterung (Abb. I Pos. E).
g) Auf der Dunstabzugshaube montieren Sie beide Telesckopsächte. (Abb. I, Pos. B und C) und schiben Sie diese auf entsprechende Höhe.
h) Befestigen Sie mit den Schrauben den oberen Telescopschacht (Abb. I Pos. C) an der Wandhalterung (Abb. I Pos. E).
i) Schließen Sie die Dunstabzugshaube an den Stromkreis.


2 Anschluss an das Stromnetz und Funktionskontrolle
Nach dem Anschluss an das Stromnetz (gemäß der zuvor festgelegten Anforderungen) ist zu kon-trollieren, ob die Beleuchtung der Dunstabzugshaube Funktioniert und ob der Motor des Gerätes korrekt arbeitet. Nach der Installation der Dunstabzugshaube muss die Steckdose leicht zugänglich sein, um das Gerät jederzeit von Stromnetz trennen zu konnen.
Einstellung des Arbeitsmodus der Kuchendunstabzugshaube
1 Einstellung des Abluftmodus des Gerätes
Während der Arbeit der Dunstabzugshaube im Abluftmodus wird die Luft über eine spezielle Leitung aus dem Haus hinaus geleitet.Vor der Inbetriebnahme these Modus sind eventuelle Aktivkohlfilter aus dem Gerät zu entfernen.
Die Dunstabzugshaube muss an die Lüftungsöffnung mit Hilfe einer steifen oder elastischen Leitung mit einem Durchmesser von 120 mm oder 150 mm und entsprechender Klemmen angeschlossen werden, die in Geschäften mit Installationsmaterialien erhältlich sind.
Mit dem Anschluss ist ein qualifizierter Installateur zu beauftragen.
2 Einstellung des Arbeitsmodus „Geruchsabsorber" (Umluft)
In diesen Modus kehrt die gefilte Luft über die auf beiden Seiten des oberen Kaminschachts angebrachten Öffnungen in den Raum zurück. Bei dieser Einstellung ist der Aktivkohlefilter zu installieren. Zusätzlich wird die Montage des Umlenkbleches für den Luftstrom empfohlen.
3 Geschwindigkeit des Ventilators
Unter normalen Bedingungen und bei geringer Konzentration der Dämpfe wird die Anwendung der geringen bis mittleren Geschwindigkeit empfohlen. Die höchste Geschwindigkeit solle nur bei hoher Koncentration von Dämpfen, z.B. während des Bratens oder Grillens, angewendet werden.
Bedienung und Wartung
1 Benutzungssicherheit
Samtliche in der vorliegenden Bedienungsanleitung vorgeschrieben Sicherheitsmaßnahmen mussen unbedingt eingehalten werden!
Fett- und Kohleaktivfilter müssen gemäß den Vorschriften des Herstellers gereinigt oder ausgetaucht werden. Bei intensiver Benutzung (über 4 Stunden pro Tag) reinigen Sie die Filter oder wechseln Sie diese offen aus.
Lassen Sie die Flamme Ihr's Gasherdes nicht offen. Wahrend Sie den Topf vom Gasnehmen, stellen Sie die Flamme auf Minimum ein.
Kontrollieren Sie immer, ob die Flamme nicht großer als der Topfboden ist. Dies kann ungewünschte Energieverluste und gefährliche Wärmekoncentration verursichen. Verwenden Sie die Abzugshaube nicht für andere Zwecke, als hier vorgesehen.
2 Bedienung
Steuerungspaneel (Abb. 5)
Der Betrieb der Abzugshaube wird durch Sensor-Touch Tasten (Abb.5) gesteuert.
Die Tasten „-“ und „+“ dienen zur Regulierung der Ventilatorgeschwindigkeit im Bereich zwischen 1 und 4.
Die Taste „-dient zu Programmierung der Nachlaufautomatik, die die Dunstabzugshauben nach max. 90 Min ausschalten kann. Mit dieser Taste kann man einen pulsierenden Buchstaben F oder C oder die Steuerungsblockade aufgeben.
- „L“ - Beleuchtung Ein/Aus. Durch Betätigten der Taste kann man das Licht einschalten oder ausschalten. Um die Heiligkeit des Lichtes zu dimmen, halten Sie die Taste 2 Sekunden gedrückt.

5
Programmfungtion
a) Timer: ihre Abzugshaube betet Ohnen die Möglichkeit, die automatische Ausschaltfunktion des Lufters für 1,5 Stunden in 10-minutigen Abständen zu programmieren. Der Timer wird durch Betätigung der „-Taste auf der gewünschten Leistungsstufe der Abzugshaube eingeschaltet. Die LED Anzeige blinkt, ein Punkt informiert, dass das Gerät programmiert werden kann. Drücken Sie die „+"-Taste, denken Sie damit daran, dass die angezeigte Zahl sich mit 10 multipliziert (z.B.: I = 10 min, 2 = 20 min, 3 = 30 min usw. max. 90 min).
Haben Sie die gewünschte Zeit programmiert, bestätigen Sie die Wahl mit der „-Taste. Die LED-Anzeige blinkt nicht mehr und zeigt die eingestellte Zeit an. Ein blinkender Punkt signalisiert „Zeitablauf bis Ausschalten" der Abzugshaube. Wollen Sie die Funktion TIMER ausschalten, drücken Sie die „- Taste wieder.
ACHTUNG: Das Programm speichert immer die letzte Einstellung der Zeitschaltuhr. Sie sollen also die TIMER - Funktion binnen 20 Sekunden einstellen, sonst Goes das Gerät automatisch auf Normalbetrieb über.
b) Die Dunstabzugshaube ist zusätzlich mit einer elektronischen Anzeige des Sattigungsgrades und des Austauschs der Filter ausgerüstet:
- Signalisierung des notwendigen Austauschs des Aktivkohlefilters. Anzeige des Buchstaben C nach ca. 220 Betriebsstunden.
- Signalisierung der notwendigen Reinigung des Aluminiumfilters. Anzeige des Buchstaben F nach ca. 100 Betriebsstunden.
Beide oben genannten Funktionen kollidieren nicht mit der normalen Arbeit der Dunstabzugshaube, jedoch ist nach ihrer Aktivierung die Ziffer des Ventilatorgangs (von 0 bis 4) bis zur Lösung des angezeigten Buchstabens C bzw. F nicht mehr sightbar. Die Lösung nach dem erfolgten Austausch bzw. der Reinigung der Filter erfolgt durch Drücken und Halten der Taste T über ca. 10 Sekunden.
c) Die Dunstabzugshaube ist mit einer Steuerungsblockade ausgestattet, die besonderes hilft, wenn man die Glasscheibe reinigen möchte.
- Um die Steuerungsblockade ein- oder auszuschalten, halten Sieitte die Timer Taste 3 Sekunden lang gedrückt.
Beim Stromausfall kann der Mikroprozessor abstürzen oder auf Null gesetzt werden und die Befehle von der Tastatur nicht wahrnehmen. In dem Fall sollen den das Gerät vom Stromnetz trennen und für den Kaltstart erneut anschließen.
Die Elektronik des Gerätes ist mit einer Schnellsicherung des Typs 250V/2A (Glasschmelzsicherung 5 × 20 ) geschichert. Wahrend eines kurzzeitigen Spannungsabfalls im Stromnetz kann das Mikroprozessorsystem gelöscht werden oder abstürzen und keine Eingaben über die Tastatur mehr annehmen. In thisem Falle ist das Gerät vom Stromnetz zu trennen und erneut einzuschalten, um einen Systemreset auszuführen.
Wartung
Durch die regelmäßige Wartung und Reinigung ist ein gutter und fehlerfreier Betrieb und eine optimale Lebensdauer des Gerätes gewährleistet. Beim Austausch der Fett- und Kohleaktivfilter sind weitere Sonder des Herstellers zu beachten.
1 Metallfettfilter
I. Reinigung.
Beim Normalbetrieb sollen den Fettfilter alle zwei Monate in der Geschirrspulmaschine oder in einem Bad aus sanftem Reinigungsmittel oder flüssiger Seite gereinigt werden.

2.Austausch (Abb. 6)
Bei der Demontage der Filter sollenn Sie:
a) unteres Schutzgitter nach Freistellung der Schnappsperre entfernen,
b) Metallfettfilter entfernen.
2 Aktivkohlefilter (KF 17142 für 60cm Modelle/ KF 17131 für 90cm Modelle)
I. Funktion
Der Aktivkohlefilter wird nur dann angewendet, wenn die Dunstabzugshaube nicht an die Lüftungs-leitung angeschlossen ist (also beim Umluftbetrieb).
Der Aktivkohlefilter besitzt bis zu seiner Sattigung die Fähigkeit der Absorbierung von Gerüchen. Darüber hinaus kann er weder ausgewaschen noch regeneriert werden und muss mindestens alle 2 Monate ausgetauscht werden, bei sehr intensiver Nutzung auch*häufiger.
2.Austausch (Abb. 7)
a)VorderblendeÖffnen.
b) Metallfettfilter abnehmen.



7
c) In den inneren Spalten des Fettfilterrahmens die unteren Halterungen des Aktivkohlefilters einsetzen.
d) Den oberen Teil des Aktivkohlefilters an den Fettfilter bis zum Moment der Blockierung der Schnappverschlüsse andrücken.
e) Den Metallfettfilter erneut einsetzen.
f) Die Vorderblende schlieben.
3. Beleuchting
Die Beleuchtung bilden 2 Halogenlampen 20 W. Beim Austausch des Leuchtmittels gehen Sieitte wie folgt vor:
a) Den Ring um das Halogenglas (Abb. 8) mit einem Schraubendreher oder einem anderen flachen Werkzeug haben und hersausziehen (den Ring vorsichtig halten).
b) Die Lampe mit Hilfe eines Stück Papiers bzw. Tuch auswechseln.
c) Dann in der umgekehrten Reihenfolge den Ring mit Glas wieder anbringen.

Reinigung und Pflege
- Bevor Sie die Reinigung beginnen, schalten Sie das Gerät aus undziehen Sie den Netzstecker aus der Dose.War das Gerät vor kurzem noch in Betrieb, warten Sie dessen Abkühlung ab.
- Wir empfehlen Ihnen, während der Reinigung Handschuhe zu tragen, da Sie sich an evtl. vorhandenen scharfen Kanten der Dunstabzugshaube verletzen konnten.
- Der Metallfettfilter sollte einmal pro Monat gereinigt werden. Dazu verwenden Sie entweder einen speziellen Filterreiniger, heißes Seifenwasser oder reinigenihn in der Spülmaschine bei 60^ . Wenn der Filter eine Male in der Spülmaschine gereinigt wurde, kann es zu Verfärbungen des Metals kommt. Dies ist ganz normal, deswegen,müssen Sie den Filter keineswegs auswechseln.
- Reinigen Sie die Gehäuseoberfläche wenn nötig mit einem milden Reinigungsmittel und einem weichen Tuch, um Verkratzungen vorzubeugen. Schwämme, direkter Wasserstrahl, Lösungsmittel, Alkohol, Atzmittel sowie harte, raue Tücher sind zu vermeiden!
- Vermeiden Sie auf jeder Fall den Kontakt von Feuchtigkeit mit den elektrischen Bauteilen des Gerätes.
- Die Verwendung von Inox-Reinigern und Pflegeprodukte für Inox-Oberflächen wird eine large Lebensdauer Ihres Gerätes sicherstellen.
Hinweise zum Umweltschutz
Dieses Produkt darf am Ende seiner Lebensdauer nicht über den normalen Haushaltsabfall entsorgt werden, sondern muss an einem Sammelpunkt für das Recycling von elektrischen und elektronischen Geräten abgegeben werden. Das Symbol auf dem Produkt, der Gebrauchsanleitung oder der Verpackung weist daraufhin.
Die Werkstoffe sind gemäß ihrer Kennzeichnung wiederverwertbar. Mit der Wiederverwendung, der stofflichen Verwertung oder anderen Formen der Verwertung von Altgeräten leisten Sie einen wichtigen Beitrag zum Schutze unserer Umwelt.
Bitte erfragen Sie bei der Gemeindeverwaltung die zuständige Entsorgungsstelle.


Einbauzeichnung KH 17129 E / KH 17159

Einbauzeichnung KH 17128 E / KH 17158

© 2010 Copyright Amica International GmbH
These Anleitung ist urheberrechtsgeschützt. Alle Rechte vorbehalten.
Weder die Anleitung als Ganzes, noch Auszüge darauf dürfen ohne unsere vorherige, schriftliche
Zustimmung reproduziert werden.
Amica International GmbH
59387 Ascheberg
Deutschland
EinfachAnleitung