SANTINA - Dunstabzugshaube ORANIER - Kostenlose Bedienungsanleitung
Finden Sie kostenlos die Bedienungsanleitung des Geräts SANTINA ORANIER als PDF.
Benutzerfragen zu SANTINA ORANIER
0 Frage zu diesem Gerät. Beantworten Sie die, die Sie kennen, oder stellen Sie Ihre eigene.
Eine neue Frage zu diesem Gerät stellen
Laden Sie die Anleitung für Ihr Dunstabzugshaube kostenlos im PDF-Format! Finden Sie Ihr Handbuch SANTINA - ORANIER und nehmen Sie Ihr elektronisches Gerät wieder in die Hand. Auf dieser Seite sind alle Dokumente veröffentlicht, die für die Verwendung Ihres Geräts notwendig sind. SANTINA von der Marke ORANIER.
BEDIENUNGSANLEITUNG SANTINA ORANIER
Bedienungs- und Installationsanleitung
ORANIER
Küchentechnik

Insel-Dunstabzugshaube mit IR-Fernbedienung und RGB-LED-Ambientebeleuchtung
Sehr geehrter Kunde,
vielen Dank, dass Sie sich für ein ORANIER-Haus-haltsgerät entschieden haben!
ORANIER-Haushaltsgeräte bieten Ihnen ausgereiffe und zuverlässige Technik, Funktionalität und ansprechendes Design.
Sollten Sieriotz unserer sorgfaltigen Qualitätskontrolle einmal etwas zu beanstanden haben, so wenden Sie sichitte an unserenzentralenKundendienst, hier wird man Ihnen offensehlich sein:
Kundendienst-Anforderung
eMail service-kt@oranier.com
Telefon 02771/2630-355
Telefax 02771/2630-359
Ersatzteil-Anforderung
eMail ersatzteil-kt@oranier.com
Telefon 02771/2630-355
Telefax 02771/2630-359
Alle Dienste sind erreichenbar
Mo - Do 8.00 - 17.00 Uhr
Fr 8.00 - 15.00 Uhr
Außerhalb der Dienstzeiten teilen Sie uns ihre Wünscheitte per eMail oder Telefax mit.
Ländervertretungen:
Österreich
ORANIER
Niederlassung Österreich
Blütenstraße 15/4
A-4040 Linz
eMail service-kt@oranier.com
Telefon +43(0) 7 32 66 01 88 70
CE-Konformitätserklarung
These Gerät ist nur für die Verwendung zum privaten Gebrauch geeignet. Jegliche andere Verwendung des Gerätes ist unzulässig.
Die in thisem Benutzerhandbuch verwendeten Darstellungen sind schematisch und modellabhängig.
Inhaltsverzeichnis
Sicherheitshinweise 3
Ihr Gerät im Überblick 4
Bedienung der Haube (Touchcontrol) 5
Bedieneinheit 5
Welche Leistungsstufe soll gewählt werden? 5
Elektronische Steuerung 6
Gerätemotor ein-/ausschalten 6
Leistungsregelung 6
Beleuchtung ein-/ausschalten 6
Nachlaufautomatik 6
Metalfettfilter-Sattigungsanzeige "F" 6
LED-Ambientebeleuchting 7
Wartung, Reinigung und Pflege 8
Wartungsintervalle 8
Reinigung der Haube 8
Metalfettfilter reinigen 8
Metalfettfilter-Sattigungsanzeige loschen 9
Aktivkohlefilter austauschen
(nur Umluftbetrieb) 9
ImFalleinerStörung 10
Leuchtmittelaustausch 10
Austausch der Schmelzsicherung 11
Kundendienst 12
Montage der Haube 12
Wichtige Hinweise 12
Übersicht Lieferumfang 13
1) Montage des Umluftverteilers 14
2) Deckenmontage 15
3) Stahlseile am Haubenkörper einhängen 16
4) Umluftfilter und Metalfettfilter einsetzen 17
5) Netzanschluss herstellen 17
Hinweise zur Verringerung der Umwelterinflüsse 18
Technische Daten 18
Produktdatenblatt nach EU-Verordnung 65/2014 und 66/2014 19
Abmessungen 20
Dunstabzugshauben im Umluftbetrieb - Tipps und Tricks 21
Hinweise zur Entsorgung 22
Sicherheitshinweise zum Gebrauch
Die Bedienungsanleitung ist Bestandteil des Gerätes.
Bitte bewahren Sie das Dokument sorgfältig auf.
- Die Dunstabzugshaubearf Nur über Elektro- oder Gasherden verwendet werden. Unsere Geräte sind nicht für die gewerbliche Nutzung bestimmt, sondern nur für den Gebrauch im Haushalt.
- Wahlend des Betriebes der Dunstabzugshaube müssen die Metallfettfilter immer eingesetzt sein, ansonsten kann sich Fettdunst in der Haube und im Abluftsystem ablagern.
- Bei Gasherden ist darauf zu achten, dass die Kochstellen nicht ohne Kochgeschirr betrieben werden. Bei offenen Gasflammen konnen Teile der Dunstabzugshaube durch die aufsteigende starke Hitze beschädigt werden.
- Flambieren unter der Dunstabzugshaube ist wegen der Brandgefahr nicht erlaubt. Die aufsteigende Flamme kann das im Filter abgelagerte Fett entzünden.
- Frittieren oder das Arbeiten mit Ölen oder Fetten unter der Dunstabzugshaube darf wegen der Brandgefahr nur unter ständiger Beaufsichtigung durchgeführt werden. Bei bereits mehrfach verwendetem Öl steigt das Risiko der Selfstentzündung!
- Sonstige Arbeiten mit offener Flamme sind nicht gestattet. Sie konnten einen Brand auslösen und die Metallfettfilter oder sonstige Teile beschädigen. Ausgenommen ist die sachgemäß Benutzung eines Gasherdes.
- Aus Sicherheitsgründen muss der Abstand zwischen Haubenunterseite und Kochfläche bei Elektrokochstellen mindestens 65 cm und bei Gaskochstellen mindestens 75 cm betragen.

VORSICHT! Berührbare Teile können heißt werden, wenn sie mit Kochgeräten genutzt werden.
Sicherheitshinweise zu Wartung, Reinigung und Pflege:
- Bei allen Wartungs- und Reinigungsrarbeiten Netzsteckerziehen oder die entsprechende Sicherung im Haussicherungskasten ausschalten.
Die DunstabzugshaubearfichtmiteinemDampfreinigergereinigtwerden. - Bei Nichtbeachtung der Wartungs- und Reinigungsrarbeiten besteht infolge von Fettablagerungen Brandgefahr!
- Reparaturen dürfen nur von autorisiertem Fachpersonal durchgeführt werden. Bei eigenmächtigem Eingriff erlösen alle Haftungs- und Gewährleistungsansprüche.
Ihr Gerät im Überblick
Modell „Santina Isola"
1 Netzkabel
2 Stahlseil
3 Deckenblende
4 Haubenkörper mit Sicherheitsglas-Verkleidung
5 Bedieneinheit
6 Metalfettfilter (Unter Abdeckung Randabsaugung)
7 Power-LED (3x)
8 IR-Fernbedienung
9 Abdeckung Randabsaugung

Eine Entsorgung von Gerät und Verpackung über den normalen Haushaltabfall ist nicht zulässig! Die Entsorgung muss gemäß den örtlichen Bestimmungen zur Abfallbeseitigung erfolgen (siehe Hinweis Seite 20).


Bedienung der Haube (Touch-Control)

Abb. 2: Bedienfeld elektronische Steuerung
Bedieneinheit / Fernbedienung
Die Bedieneinheit befindet sich an der Front des Gerätes; sie ist benutzerfreundlich gestaltet und einfach zu hand haben (Abb. 2).
Zusätzlich kann diese Gerät auch sehr bequem über die mitgelieferte IR-Fembedienung gesteuert werden!
Welche der 3 Leistungsstufen soll gewählt werden? Die Leistung des Gerätes soll den anfallenden Koch- und Bratendünsten angepasst werden, d.h. bei geringem Dunst sollen eine geringe bzw. bei starkem Dunst eine höhere Leistungsstufe gewählt werden:
Für den Dauerbetrieb stehen 3 Normalstufen zur Verfugung ("1" = keine Leistung, "2" = normale Leistung, "3" = hohe Leistung).
Vorübergehend lassst sich eine Intensivstufe (blinkende Anzeige "4") für höchste Absaugleistung zuschalten (für maximal 5 Min., danach schaltet die Elektronik wieder automatisch zurück auf Leistungsstufe "3").
Bitte beachten Sie, dass Sie das Gerät bereits zusammen mit der Kochstelle einschalten, damit sich ein Luftstrom aufbauen kann. Dies wirkt sich positiv auf die Absaugleistung aus. Nach dem Kochen solte das Gerät noch etwas nachlaufen, damit die restlichen Gerüche und verbleibende Restfeuchtigkeit abbezogen werden konnen.
Das Gebläse schaltet sich selbstätig 2 Stunden nach dem Einsatzbzw. der letzten Änderung der Leistungsstufe aus.

Bedienelemente Fernbedienung (Gebäse und Beleuchtung)
Elektronische Steuerung
Im Standby-Betrieb ist die Beleuchting des Bedienfeldes ausgeschaltet. Die Schaltfläche "Geblase ein / aus" ist durch einen Kreis zu erkennen. Die anderen Schaltflächen werden erst nach Inbetriebnahme des Gerätes sightbar. Wenn Motor oder Beleuchting nicht in Betrieb sind, schaltet sich die Beleuchting des Bedienfeldes nach 10 Sekunden aus.
Gerätemotor ein- / ausschalten.
Beim Berühren von (Gebäse ein/aus)
wird automatisch die zuletzt eingestellte Leistungsstufe gewählt und in der Leistungsanzeige dargestellt. Wiederholtes Berühren der Schaltfläche schaltet das Geblase wieder aus.
Wenn Sie diese Schaltfläche für die Dauer von mindestens 5 Sekunden berühren, wird das Bedienfeld gegen unbeabsichtigte Betätigung gesPERT. In der Leistungsanzeige erscheidt ein Punkt. Wiederholtes Berühren dieser Schaltfläche für mindestens 5 Sekunden hebt die Sperre des Bedienfeldes wieder auf.
Beim Berühren von (Leistung verringgern)
erscheint in der Leistungsanzeige eine „1". Das heißt: Beim Einsatzen mit dieser Schaltfläche wird automatisch die niedrigste Normalstufe „1" gewählt.
Verwenden Sie diese Schaltfläche auch zum Verringer der Gebläseleistung. Das Verweilen auf der Schaltfläche verändert die Leistungstufe fortlaufend bis zur niedrigsten Leistungsstufe.
Beim Berühren von + (Leistung erhöhen)
erscheint in der Leistungsanzeige eine 4^ . Das heißt: Beim Einschalten mit dieser Schaltfläche wird automatisch die Intensivstufe 4^ gewählt. Das Verweilen auf der Schaltfläche verändert die Leistungstufe fortlaufend bis zur hochsten Leistungsstufe.
Die Intensivstufe wird nach f芮f Minuten automatisch in Stufe 3 zurückgeschalte.
Beleuchtung ein-/ausschalten

Die Beleuchtung wird durch Berühren dieser Schaltfläche ein- bzw. ausgeschaltet.
Nachlaufautomatik
Initialisierung: Für 5 Sekunden berührt lessen. Nach 15 Minuten wird der Motor automatisch abgeschelt.
Metallfettfilter-Sattigungsanzeige "F" Löschen
Nach ca. 35 Betriebsstunden blinkt "F" in der Leistungs-anzeige. Zum Löschen Schaltfläche am Gerät für 10 Sek. berührt lessen.
Nach 3 Stunden wird Anzeige „F“ automatisch göscht.
LED-Ambientebeleuchting
Dieses Gerät verfügbar über eine wirkungsvolle LED-Ambientebeleuchtung. Die mitgelieferte Infrarot-Fernbedienung ist die Steuerzentrale der umfangreichen Lichteffekte, die diese LED-Ambientebeleuchtung ermöglicht. Viele Farbwechselprogramme sind voreingestellt. Darüber hin aus halten sich die Effekte in Farbe und Geschwindigkeit individuell einstehen.

*) Achting! Bei manchen Menschen, auch solchen, die noch nie zuvor einen epileptischen Anfall hatten, konnen Stroboskopblitze und ähnliches epileptische Attacken auslösen!
Ambiente-beleuchungtein
Ambiente beleuchtung aus
Geschwindigkeit verringn
Farbwechsel / Stroboskopeffekt* oder Helligkeit verringern bei Monofarbe
ROT
GRUN
WEISS
HELLBLAU
BLAU
ORANGE
LILA
ROSE
skopeffekt*
ein / aus
HELLBLAU
Wartung, Reinigung und Pflege

ACHTUNG:
Vor samtlichen Wartungs- und Reinigungserbeiten ist der Netzstecker zuziehen bzw. die Sicherung auszuschalten oder herauszuschrauben!
Wartungsintervalle
Eine regelmäßige Wartung der Dunstabzugshaube ist unbedingt erforderlich, um die Leistungsfähigkeit des Gerätes über einen langen Zeitraum zu gewährleisten. Wenn Metallfettfilter mit Fett- und Schmutzpartikeln zugesetzt sind, wird die Funktion des Gerätes stark beeinträchtigt. Innerhalb der Dunstabzugshaube und des Ablufty systems kann es zuunnötnigen Fettablagerungen kommt, was im Laufe der Zeit zu einem erhöften Brandrisiko führen kann.
Aktivkohlefilter sind weder wasch- noch regenerbar. Deshalb müssen Aktivkohlefilter in regelmäßigen Abständen ausgetaucht werden. Ersatz-Aktivkohlefilter konnen Sie bei ihrem Fachhändler beziehen.
- Reinigungssinterval der Metalfettfilter: alle 2-3 Wochen, entsprechend der Gebrauchs-haufigkeit, oder nach Erscheinen der Metalfettfilter-Sattigungsanzeige "F".
Austauschinterval von Aktivkohlefilter: (nur bei Umluftbetrieb) alle 3-6 Monate, entsprechend der Gebrauchshäufigkeit.
Die Reinigungs- und Wartungsintervalle sollenen generell eingehalten werden, damit sich der Fettdunst nicht an Kuchenwänden und -möbeln niederschlagen kann.
Wenn Metallfettfilter bei Umluftbetrieb nicht regelmäßig gereinigt werden, setzen sich auch Aktivkohlefilter Schneller zu und das Gerät verliert an Leistungsfähigkeit.
Reinigung der Haube
- Netzsteckerziehen bzw. die Sicherung ausschalten!
Die Dunstabzugshaube darf nicht mit einem Dampfreiniger gereinigt werden! - Unsachgemäß Reinigung von Edelstahl-Oberflächen führt zu Farbveränderungen und Beschäftigungen der Oberflächen!
Außenflächen der Dunstabzugshaube sollenn mit einem milder Reinigungsmittel (z.B. Spülmittel) und einem weichen Tuch gereinigt und trockengerieben werden.
Aggressive Reinigungsmittel, wie z.B. Essigreiniger, Scheuermittel, Schleifgranulat und spitze Gegenstände beschädigen die Oberfläche des Gerätes und sollenten daher keinesfalls verwendet werden.
Der Glasschirm kann Fertigungstoleranzen aufweisen undleich weniger sein. Ebenso sind gingefugige Unregelmäßigkeiten in der Glasoberfläche möglich. Beides zeigt die handwerkliche Qualität des Glases und stellt keinen Grund zur Reklamation dar.
Metalfettfilter reinigen
Netzsteckerziehenbzw.dieSicherungausschalten!
Abnehmen des Metallfettfilters
Abdeckung der Randabsaugung aufklappen (1),Griffleiste des Metalfettfiltersicht zur Haubenmite drucken (2), Metalfettfilter hersausklappen und schrag nach unter herausnehmer (3).

Abb. 4

Reinigung
- Metallfettfilter in heiBem Spulwasser gut einweichen, dann mit einer weichen Bürste reinigen und anschließend mit heiBem Wasser gut abbrausen. Eventuell den Vorgang wiederholen.
- Metalfettfilter konnen auch in der Geschirrspulmaschine bei einem Normalprogramm mit ca. 55^ gereinigt werden.
Hinweis
Beim Reinigen von Metalfettfilternitte darauf aufachten, dass das Gitter nicht beschadigt wird. Durch haufges Reinigen oder die Verwendung von aggressiven Reinigungsmitteln konnen Farbveränderungen auftreten. These haben keinen Einfluss auf die Filterfunktion und sind kein Reklamationsgrund!
Nach der Reinigung den trockenen Metallfettfilter mit der Hinterkante voraus seitlich in den Filterrahmen der Haube einsetzen. Filter nach oben klappen, Verriegelung kurz betätigten und Fettfilter in endgültiger Lage einrasten halten. Abdeckung der Randabsaugung schlieben.
Metalfettfilter-Sattigungsanzeige loschen
Nach erfolgter Reinigung ist die Metallfettfilter-Sattigungsanzeige "F" folgendermaßen zu Löschen:
- Schaltfläche "-" am Gerät für ca. 10 Sekunden berührt lessen, die Anzeige verlischt.
- Soltte sich die Metallfettfilter-Sättigungsanzeige "F" nicht Löschen halten, trennen Sie die Dunstabzugshaube für etwa 15 - 20 Sekunden vom Stromnetz und wiederholen Sie den Vorgang gg.f. noch einmal.
Die Metalfettfilter-Sattigungsanzeige ist zeitgesteuert und erinnert nach ca. 35 Stunden Betriebszeit erneut durch Erscheinen der Metalfettfilter-Sattigungsanzeige "F" an die anstehende Reinigung der Metalfettfilter.
Aktivkohlefilter austauschen
Filtertyp KSC 700
- Netzsteckerziehen bzw. Sicherung ausschalten!
Die beiden Aktivkohlefilter sind links und rechts am Gebläsemotor aufgesetzt und werden nach Entfermen der Abdeckung der Randabsaugung und des Metalfettfilters sightbar und zugänglich.

- Zur Entnahme der verbrauchten Aktivkohlefilter diese jeweils etwas auf der Zentralbefestigung verdrehen, bis der Aktivkohlefilter frei gegeben wird. Danach Filter abheben und herausnahmen.
- Nach der Entnahme der neuen Filterkassetten aus der Verpackung muss das enthaltene Granulat durch Schütteln gleichmäßig verteil werden.
- Beim Einsetzen werden die neuen Aktivkohlefilter auf die Zentralbefestigung aufgesetzt,leitung an das Motergehause gedrückt und um eine Viertelumdrehung verdrecht,um sie zu sichern.
Hinweis
Die Dunstabzugshaube solte nach Beendigung des Kochvorganges zum Nachtrocknen des Aktiv- kohlefilters noch fur etwa 10 bis 15 Minuten eingeschaltet bleiben.
Bei diesen Gerät bietet es sich an, zu diesen Zwecke die praktische Nachlaufautomatik zu verwenden. Siehe dazu auch Abschnitt "Bedienung der Haube".

ACHTUNG:
Vor samtlichen Wartungs- und Reinigungserbeiten ist der Netzstecker zuziehen bzw. die Sicherung auszuschalten oder herauszuschrauben!
Im Falle einer Störung
Die Haube Funktioniert überhaupt nicht:
- Wurde eventuell die Sicherung in der Hausinstallation ausgelost? Stromversorgung der Haube bzw. Haupt-sicherung überprüfen.
- Ist der Netzstecker eingesteck?
- Ziehen Sie den Netzstecker, um die Steuerelektronik in den Ausgangszustand zurückzusetzen. Warten Sie etwa 15 - 20 Sekunden, bevor Sie den Netzstecker wieder einstecken. Alternativ konnen Sie auch die entsprechende Netzsicherung fur den o.g. Zeitraum aus- und dann wieder einschalten.
Die Leistung ist unzureichend / erhöhtes Betriebsgeräusch:
- Ist der Metallfettfilter sauber?
Die Aktivkohlefilter sollenn nicht alter als 6 Monate sein.
Sollte die Leistung immer noch nicht zufriedenstellend sein, wenden Sie sichitte an unseren Kundendienst.
Leuchtmittelalaustausch
Durch die Verwendung von Hochleistungs-LEDs als Arbeitsplatzbeleuchtung wird ein Austausch von defekten Leuchtmitteln hochst unwahrscheinlich und davon so gut wie überflüssig.
Lebensdauer, Zuverlösigkeit und Energieeffizienz liegen um Größenordnungen über jedem herkömmlichen Leuchtmittel, seis Halogen, Leuchtstoffhre o.a.
Ein Leuchtmittelautausch durch den Benutzer ist.
daher nicht vorgesehen.
Austausch der Schmelzsicherung
Sollte es durch einen äußerten Einfluss zu einem Kurzschluss innerhalb des Gerätes kommt, wird die in der Elektronikbox befindliche Schmelzsicherung anspruchen und muss ausgetaucht werden.
Achtung!
In den meisten Fällen hat das Ansprechen der Schmelzsicherung eine Ursache, die mit dem Austausch der Sicherung nicht behoben wird.
Solle the Schmelzsicherung nach dem Austausch sofort wieder anspechen (durchbrennen), muss ein Fachmann mit der Sueche und Behebung des eigentlichen Fehlers betraut werden, bevor das Gerät wieder betrieben werden dar!

ACHTUNG:
Die Schmelzsicherungarf nur vom Hersteller oder seinem Kundendienst ausgewechselt werden!

ACHTUNG:
Vor samtlichen Wartungs- und Reinigungserbeiten ist der Netzstecker zuziehen bzw. die Sicherung auszuschalten oder herauszuschrauben!
Öffnen Sie die Randabsaugung und entnahmen Sie den Fettfilter. Nun können Sie die Elektronikbox sehen. Ziehen Sieitte die von unter sichtber Stecker von der Elektronikbox ab.
Lösener Schliebend alle vier Schrauben der Abdeckung an der Oberseite des Haubenkörpers (Abb. 6a) und nehmen Sie die Abdeckung ab.

Abb. 6a
An der Unterseite der Abdeckung ist die Elektronikbox befestigt. Lösen Sie die beiden Deckelschrauben und nehmen Sie den Deckel der Elektronikbox ab (Abb. 6b).

Abb. 6b
Jetzt ist die Fassung der Schmelzsicherung zugänglich. Sicherung ersetzen; (Abb. 6c).

Abb. 6c
AnschlieBcnd Deckel der Elektronikbox wieder aufsetzen und schlieBen, beide Deckelschrauben einsetzen und festziehen.
Abdeckung in die Oberseite des Haubenkörpers einsetzen und wieder befestigen (Abb. 6a).
Kundendienst
Sollte am Gerät ein technischer Mangel auftreten, setzen Sie sichitte mit dem ORANIER-Kundendienst in Ver-. binding:
Für Deutschland:
eMail service-kt@oranier.com
Telefon 02771/2630-355
Telefax 02771/2630-359
FürÖsterreich:
eMail service-kt@oranier.com
Telefon < 43> 07 32 / 66 01 88 70
Telefax < 43> 07 32 /66 01 88 80
Bitte beachten Sie:
Damit unser Kundendienst Reparaturen sorgfältig vorbereiten und die benöttigen Ersatzteile bereitstellen kann, benötigwen wir folgende Informationen:
- Its own genome Anschrift
- Its Telefonummer
(ggf. Telefaxnummer, eMail-Adresse)
- Wann kann unser Kundendienst Sie besuchen?
- Alle auf dem Typenschild enthaltenen Angaben
- Kaufdatum (Kaufbeleg)
- Eine möglichst genaue Beschreibung des Problems oder Ihr's Service-WUNSches.

Garantie
Ausfuhrliche Garantie-Informationen finden Sie am Ende dieser Bedienungsanleitung.
Wichtige Hinweise
- Aus Sicherheitsgründen muss der Abstand zwischen Haubenunterseite und Kochfläche bei Elektrokochstellen mindestens 65 cm und bei Gaskochstellen mindestens 75 cm betragen.
- Vor dem elektrischen Anschluss ist zu prufen, ob die auf dem Typenschild angegebene Spannung mit der vorhandenen ortlichen Netzspannung übereinstimmt. Das Typenschild befindet sich im Inneren der Haube und wird nach dem Abnehmer der Metallfettfilter sightbar.
Abstand A:
Elektrokochstelle 65 - 75 cm
Gaskochstelle 75 - 85 cm

Abb. 7
Übersicht Lieferumfang
Abb. 9
1 -Netzkabel mit transparender Isolation
2 - Stahlseile
3 - Deckenblende
4 - Haubenkörper mit Motorblock
5 - Bedieneinheit
8 - IR-Fernbedienung
10 - Stahlseil-Montageplatte
11 - Netzanschluss-Dose
12 - Dübel 8 x 60 mm
13 - Schraube 8 × 50 ~mm (4 Stuck)
14 - Schraube 3,9 × 10 ~mm
15 - Umluftöffnung
16 - Stahlseil-Aufnahme
17 - Ambiente-Beleuchtung
18 - Umluftverteiler


Abb. 8
12

13

14

Montage
Die Montage der Santa Isola wird in 5 Schritten durchgeführt:
- Montage des Umuftverteilers in der Umluftöffnung.
- Deckemontage
- Stahlseile am Haubenkorper einhängen
- Einsetzen von Umluftfilter und Metallfettfilter.
- Netzanschluss herstellen.
1. Montage des Umluftverteilers in der Umluftöffnung
Der Umluftverteiler lenkt die Luft oberhalb der Umluft-Öffnung zu den Seiten um.
Die Dunstabzugshaube kann auch ohne den Umluft-verteiler betrieben werden. In thisem Falle solte ein Mindestabstand von 50~cm zwischen Decke und Oberkante Haubenkorper nicht untersritten werden.
Montage
Befestigen Sie die Umluftverteiler mit 2 Schrauben 3,9× 10 (14) in der Umluftöffnung des Haubenkörpers (Abb.10).

Abb. 10
2. Deckenmontage
Bauliche Voraussetzungen: Die Decke, an der die Haube befestigt werden soll, muss unbedingt ausrechend stabil und für die Montage geeignet sein.

Die Deckemontage muss von 2 Personen durchgeführt werden!


1) Beachten Sie bei der Auswahr des Montageortes die erforderlichen Mindestabstände, diese sind in jeder Fall einzuhalten.
2) Die notwendigen Deckenbohrungen werden unter Zuhilfennahme der Decken-Montageplatte (10) als Bohrschablone markiert und anschließend erstellt (Abb. 11).
3) Düb 8 x 60 mm (12) in die Deckenbohrungen einsetzen.
4) Stahlseile (2) mit den freien Enden von oben in die darauf vorgesehenen Öffnungen der Stahlseil-Montageplatte (11) einziehen (Abb. 12).

5) Netzkabel durch die Öffnung für das Netzkabel führen (Abb. 13). Noch nicht anschließen!
6) Beide Stahlseil-Montageplatten (11) mit je zwei Schrauben 8 × 50 ~mm (13) in den Dubeln 8 × 60 ~mm (12) befestigen (Abb. 11).
7) Stahlseile (2) durch Deckenblenden (3) führen und Deckenblenden (3) mit jeweils 2 Schrauben 3,9 × 10 (14) an den Drahtseil-Montageplatten (10) befestigen (Abb. 13).
3. Stahlseile am Haubenkörper einhängen
Für die Verbindung der Stahlseite (2) mit dem Haubenkörper gehen Sieitte wie folgt vor (Abb.14):
Wichtig: Die Ende der Stahlseite (2) sind mit einer roten Markierung versehen. Diese rote Markierung muss vollständig im Haubenkörper verschwinden undarf nicht mehr zu sehen sein!
1) Schutzmutter lose.
2) Stahlseil (2) durch Schutzmutter führen.
3) Schutzmutter wieder festziehen.
Die gewünschte Länge des Stahlseils (2) kann jetzt eingestellt werden.
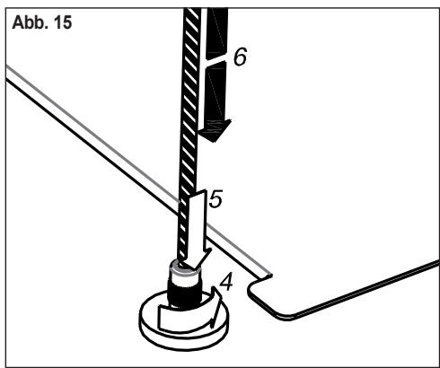
Um die Länge der vier Stahlseite (2) zu regulieren, gehen Sieitte wie folgt vor (Abb. 15):
a) Stahlseil verkurzen:
4) Schutzmutter loseN.
5) Das Stahlseil (2) kann durch die Schutzmutter geschoben und die gewünschte Länge damit eingestellt werden.
b) Stahlseil verlangern:
6) Schutzmutter losen und nach unten drücken.
7) Das Stahlseil (2) ist jetzt komplett frei und die gewünschte Länge kann eingestellt werden.
Achtung: Bittunbedingt die Dunstabzugshaube festhalten und sichern,damit die Dunstabzugshaube nicht aus dem Stahlseil rutscht.
Schutzmutter nicht mehr eindrücken und wieder festziehen. Vergewissern Sie sich, dass die Enden der Stahlseile nicht zuweit in den Haubenkorper hineinragen. Gqf. Stahlseile aufwickeln bzw. kürzen.


4. Umluftfilter und Metallfettfilter einsetzen
Abdeckung Randabsaugung (9) öffnen.
Die beiden Aktivkohlefilter werden links und rechts am Gebläsemotor aufgesetzt. Neue Aktivkohlefilter auf die Zentralbefestigung aufgesetzen, liegt an das Motorghause drucken und um eine Viertelumdrehung verdren, um sie zu sichern (Abb. 16).

Metalfettfilter (6) mit der Hinterkante voraus seitlich in den Filterrahmen der Haube einsetzen. Filter nach oben klappen, Verriegelung kurz betätigten und Metalfettfilter in endgültiger Lage einrasten halten. Abdeckung der Randabsaugung (9) schließen.
5. Netzanschluss herstellen
Rechte Deckenblende (3) lösen und Netzkabel (1) durch die Öffnung (mit Kantenschutz) führen.
Das Netzkabel von der Haube ausgehend ist durchsichtig. Die Ader mit gelben Markierungsstrich muss an Netz-Erde angeschlossen werden.
Netzkabel mit der Netzanschlussdose an der rechten Stahlseil-Montageplatte (10) verbinden (Abb. 15).

ACHTUNG: Die Anschlussleitung muss im Falle einer Beschädigung durch eine neue Anschlussleitung vom Hersteller oder seinem Kundendienst ersetzt werden.
Hinweise zur Verringerung der Umwelteinflüsse (z.B. Energieverbauch):
- Benutzen Sie die Dunstabzugshaube in geeigneter Leistungsstufe.
- Schalten Sie den Motor der Dunstabzugshaube rechtzeitig auf eine Kleinere Stufe, wenn sich der Wrasen verringert.
- Lassen Sie den Motor der Dunstabzugshaube nicht unnötig in Betrieb.
- Achten Sie darauf, dass die Reinigungsinstrumente der Fettfilter eingehalten werden.
- Achten Sie darauf, dass das Abluftsystem über einen optimal großen Querschnitt verfügbar.
- Das Abluftsystem sollte glatte Rohrinnenwände haben. Vermeiden Sie Bögen und Verengungen.
Technische Daten
Spannung: 230 V ~
Frequenz: 50 Hz
Motorleistung: 275 W
Anzahl der Normalstufen: 3
Anzahl der Intensivstufen: 1
Beleuchtung: 3 × 3,0 W (Power-LED)
Gesamtlistung: 284,0 W (Anschlusswert)
Stromaufnahme: max. 1,24 A
Schutzklasse: 1
Lange Netzanschlusskabel: 1,0 m
Getrennt schaltbare
Ambientebeleuchtung: max. 14,4 W (LED)
Produktdatenblatt nach EU-Veränderungen 65/2014 und 66/2014
Name oder Warenzeichen des Lieferanten:
ORANIER Kuchentechnik GmbH
Modellkennung des Lieferanten:
8619 16 / 8619 28
| Jährlicher Energieverbrauch | AEChood | [kWh/Jahr] | 65,6 |
| Energie-Effizienzklasse | [-] | B | |
| Lüfter-Effizienzwert | FDEhood | [-] | 26,4 |
| Lüfter-Effizienzklasse | [-] | B | |
| Beleuchtungs-Effizienzwert | LEhood | [lx/Watt] | 100,3 |
| Beleuchtungs-Effizienzklasse | [-] | A | |
| Fettfilter-Effizienzwert | GFEhood | [%] | 86,7 |
| Fettfilter-Effizienzklasse | [-] | B | |
| Abluftleistung nach EN 61591 (min. Normalstufe) | Q1 | [m3/h] | 295 |
| Abluftleistung nach EN 61591 (max. Normalstufe) | Q3 | [m3/h] | 550 |
| Abluftleistung nach EN 61591 (Intensivstufe) | Qintensiv | [m3/h] | 680 |
| Geräusch (min. Normalstufe) | LwA, min. Normalstufe | [dB] | 51 |
| Geräusch (max. Normalstufe) | LwA, max. Normalstufe | [dB] | 63 |
| Geräusch (Intensivstufe) | LwA, Intensivstufe | [dB] | 68 |
| Leistungsaufnahme im Aus-Zustand | PO | [W] | 0,36 |
| Leistungsaufnahme im Bereitschaftszustand | PS | [W] | - |
Der Energieeffizienzklasse, dem jährlichen Energieverbrauch und der fluidodynamischen Effizienz liegen nach Anhang II der DELEGIERTEN VERORDNUNG Nr. 65/2015 DER KOMMISSION vom 01. Oktober 2013 und Anhang II der VERORDNUNG (EU) Nr. 66/2014 DER KOMMISSION vom 14. Januar 2014 folgende Werte zu Grunde:
| Zeitveränderungsfaktor | f | [-] | 1,0 |
| Energieeffizienzindex | EEIhodium | [-] | 60,1 |
| Luftvolumenstrom im Bestpunkt | QBEP | [m3/h] | 370,4 |
| Statischer Druckunterschied im Bestpunkt | PBEP | [Pa] | 414 |
| Elektrische Eingangsleistung im Bestpunkt | WBEP | [W] | 161,6 |
| Nennwärmeleistung des Beleuchtingssystems | WL | [W] | 9,0 |
Der Beleuchtungseffizienz liegt nach Anhang II der DELEGIERTEM VERORDNUNG Nr. 65/2015 DER KOMMISSION vom 01. Oktober 2013 folgende Werte zu Grunde:
| Durchschnittliche Beleuchtungsstärke des Beleuchtungssystems | Emiddle | [ lux ] | 903 |
| Nennleistungsaufnahme des Beleuchtungssystems | WL | [W] | 9,0 |
Abmessungen
Abb. 17
Abmessungen Modell
"Santina Isola"

Dunstabzugshauben im Umluftbetrieb - Tipps und Tricks
Gerausche
Im Umluftbetrieb sind die Betriebsgeräusche generell deutlichhigher als im Abluftbetrieb. Hauptgrunde sind hierfür der zusätzliche Aktivkohlefilter und der Austritt der Umluft durch die Schlitze im Teleskopschacht. Beide stellen zusätzliche Hindernisse im Abluftsystem dar und erhöhen die Betriebsgeräusche.
Die Dunstabzugshaube soll an einer gemauerten Wand befestigt werden. Holzwände / Gipskartonwände / Ständerwände o.a. sind ungeeignet, da diese bei eingeschalteten Gebläsemotor als Resonanzkorper wirken und dadurch hohe Betriebsgeräuche verursachen.
Lösung: Steht keine gemauerte Wand zur Verfügung, sollen die Dunstabzugshaube auf einer mind. 4 cm starken Holzplatte montiert werden.
Die Schlitze vom Teeskopschacht sind nicht komplett frei und z.B. durch den Grundschacht verdeckt. Die Umluft kann nicht aus dem Dunstabzugshaubenschacht stromen.
Lösung: Dunstabzugshaubenschachtändern,damit die Schlitze frei sind.
Das Umluftset ist nicht installiert und die Luft wird nicht zu den Schlitzen im Telescopschacht gelenkt, sondern prallt direkt gegen die Decke. Die Luft staut sich im System und damit erhöhen sich die Betriebsgeräutsche.
Lösung: Umluftset installmenten
Nicht korrekt montierte Aktiv-Kohlefilter konnen Gerausche verursachen.
Lösung: Setzen Sie den/ die Aktiv- Kohlefilter wie in der Bedienungsanleitung beschrieben ein.
Überhängendes Vlies am Rahmen der Aktiv-Kohlefilter kann zu Pfeifgeräussen führen.
Lösung: Überhängendes Vlies am Rahmen abschneiden.
Kondenswasserbildung
Die Außenflächen der Dunstabzugshaube sind zu Kochbeginn deutlich kälter als der Kochdunst, daher ist es normal, dass sich, insbesondere bei Dunstabzugshauben mit großem Glasschirm, am Haubenkorper Kondenswasser bildet.
Lösung: Dunstabzugshaube bereits bei Kochbeginn einschalten, auch wenn noch kein Dunst aufsteigt. Sollte sich trotzem noch Kondenswasser bilden, diesen mit einem geeigneten Tuch aufnehmen.
Ist die gewählte Leistungsstufe der Dunstabzugshaube zu gering, kann sich Kondenswasser auf der Oberfläche der Dunstabzugshaube bilden.
Lösung: Leistungsstufe erhöhen.
Die Umluft ist blockiert in der Dunstabzugshaube und/oder im Schacht (z.B. durch verdeckte Schlitze im Teleskopschacht, fehlendes Umluftset). Es sammelt sich Fett und Kondenswasser in der Dunstabzugshaube an.
Lösung: Blockade beseitigen
Die Dunstabzugshaube wurde nicht gemäß dem empfehlenen Abstand über dem Kochfeld montiert. Ist die Dunstabzugshaube zu niedrig montiert, sammeln sich Fett und Kondenswasser auf den Außenflächen und in der Dunstabzugshaube.
Lösung: Empfohlene Einbauhöhe den Herstellerangaben entnahmen und einhalten.
Hinweise zur Entsorgung
In Übereinstimmung mit den Anforderungen der Europäischen Richtlinie 2012/19/EU über Elektro- und Elektronik-Altgeräte (WEEE) ist auf dem vorliegenden Produkt und der Bedienungsanleitung das Symbol einer durchgestruchenen Abfalltonne abgebildet.

Eine Entsorgung von Gerät und Verpackung über den normalen Haushaltsabfall ist nicht zulässig!
- Entsorgen Sie these Gerät im Recyclunghof mit einer getrennten Sammlung für Elektro- und Elektronikgeräte.
Die Entsorgung muss gemäß den ortlichen Bestimmungen zur Abfallbeseitigung erfolgen. - Bitte wenden Sie sich an die zuständigen Behörden Ihrer Gemeinverwaltung, an den örtlichen Recyclinghof für Haushaltsmüller oder an den Handler, bei dem Sie这点es Gerät erworben haben, um weitere Informationen über Behandlung, Verwertung und Wiederverwendung这点es Produktés zu erhalten.
- Sortieren Sie die Verpackung vor der Entsorgung nach Materialarten wie z.B. Karton (Papier), Plastikfolie usw.
- Sie leisten damit einen wertvollen und positiven Beitrag zum Schutz der Umwelt und der Gesundheit ihrer Mitmenschen.
- Im unsortierten Siedlungsmull konnte ein solches Gerät这点bezüglich negative Konsequenzen haben.
ORANIER-Werksgarantine
Zur Inanspruchnahme von Garantieleistungen ist in jeder Fall die Vorlage des Kaufbeleges erforderlich. Für unsere ORANIER-Geräte leisten wir unabhängig von den Verpflichtungen des Handlers aus dem Kaufvertrag gegenüber dem Endabnehmer unter den nachstehenden Bedingungen Werksgarantie:
Die ORANIER-Garantie erstreckt sich auf die unentgeltliche Instandsetzung des Gerätes bzw. der beanstandeten Teile. Anspruch auf kostenlosten Ersatz besteht nur für solche Teile, die Fehler im Werkstoff und in der Verarbeitung aufweisen. Übernommen werden darauf sãmtliche direkten Lohn- und Material Kosten, die zur Beseitigung these Mangels anfallen. Weitergehende Ansprüche sind ausgeschlossen.
-
Die Werksgarantie beträgt 24 Monate und beginnnt mit dem Zeitpunkt der Übergabe, der durch Rechnung oder Lieferschein nachzuweisen ist.
-
Innerhalb der Werksgarantie werden alle Funktionsehler, die trotz vorschfristsmäßigem Anschluss, sachgemäßer Behandlung und Beachtung der gültigen ORANIER-Einbauvorschriften und Betriebsanleitungen nachweisbar auf Fabrikations- oder Materialfehler zurückzuführen sind, durch unseren Kundendienst beseitigt. E-maille- und Lackschäden werden nur dann von dieser Werksgarantie erfasst, wenn sie innerhalb von 2 Wochen nach Übergabe des ORANIER-Gerätes unserem Kundendienst angezeigt werden. Transportschäden (diese müssen entsprechend den Bedingungen des Transporteurs gegen den Transporteur geltend gemacht werden) sowie Einstellungen-, Einregulierungs- und Umstellarbeiten an Gasverbrauchseinrichtungen fallen nicht unter diese Werksgarantie.
-
Durch Inanspruchnahme der Werksgarantie verlangert sich die Garantiezeit weder für das ORANI-ER-Gerat, noch für neu eingebaute Teile. AusgewechSELte Teile gehen in unser Eigentum über.
-
Über Ort, Art und Umfang der durchzuführenden Reparatur oder über einen Austausch des Gerätes entscheidet unser Kundendienst nach billigem Ermessen. Soweit nicht anders vereinbart, ist unsere Kundendienstzentrale zu benachrichtigen.
Die Reparatur wird in der Regel am Aufstellungsort, ausnahmsweise in der Kundendienstwerkstatt durchgeführrt.
Zur Reparatur anstehende Geräte sind so zugänglich zu machen, dass keine Beschädigungen an Möbeln, Bodenbelag etc. entstehen können.
-
Die für die Reparatur erforderlichen Ersatzteile und die anfallende Arbeitszeit werden nicht berechnet.
-
Wir haften nicht für Schäden und Mängel an Geräten und deren Teile, die verursacht wurden durch:
-
Außer chemische oder physikalische Einwirkungen bei Transport, Lagerung, Aufstellung und Benutzung (z.B. Schaden durch Abschrecken mit Wasser, überlaufende Speisen, Kondenswasser, Überhitzung). Haarrissbildung bei emailierten oder kachelglasierten Teilen ist kein Qualitätsmangel.
FalscheGroßenwahl. - Nichtbeachtung unserer Aufstellungs- und Bedienungsanleitung, der jeweils geltenden baurechtlichen allgemeinen und ortlichen Vorschriften der zuständigen Behörden, Gas- und Elektrizitätsvorsorgungsunternehmen. Darunter fallen auch Mängel an den Abgasleitungen (Ofenrohr, ungenügender oder zu starker Schornsteinzug) sowie unsachgemäß ausgeführte Instandhaltungsarbeiten, insbesondere Vornahme von Veränderungen an den Geräten, deren Armaturen und Leitungen.
- Verwendung ungeeigneter Brennstoffe bei mit Kohle und Heizöl gefeuerten Geräten; ungeeignete Gasbeschaffenheit und Gasdruckschwankungen bei Gasseräten; ungewöhnliche Spannungsschwankungen gegenüber der Nennspannung bei Elektrogeräten.
- Falsche Bedienung und Überlastung und dadurch verursachte Überhitzung der Geräte, unsachgemäße Behandlung, ungenügende Pflege, unzu-reichende Reinigung der Geräte oder ihrer Teile; Verwendung ungeeigneter Putzmittel (siehe Bedienungsanleitung).
- Verschleib der den Flammen unmittelbar ausgesetztene Teile aus Eisen und Schamotte (z.B. Stahl-, Guss- oder Schamotteauskleidungen).
Wir haften nicht für mittelbare und unmittelbare Schäden, die durch die Geräte verursacht werden. Dazu gehören auch Raumverschmutzungen, die durch Zersetzungssprodukte organischer Staubanteile hervorgerufen werden und deren Pyrolyseprodukte sich als dunkler Belag auf Tapeten, Möbeln, Textilien und Ofenteilen niederschlagen können.
Fällt die Beseitigung eines Mangels nicht unter unsere Gewährleistung, dann hat der Endabnehmer für die Kosten des Monteurbesuchs und der Instandsetzung aufzukommen.
ORANIER Kuchentechnik GmbH
Oranier Str. 1
35708 Haiger
ORANIER






- Insel-, Kopffrei-, Wandhauben und Deckenlufter
- Einbaubacköfen, Einbauherde
Kochfeldabzüge
Kochfelder: Induktion-, Gas- und Hilight - Dampfgarer und Mikrowellen
Kuhl- und Gefriergeräte
Geschirrpulmaschinen - Standherde Gas und Elektro
Koch- und Backstationen
ORANIER Kuchentechnik GmbH
Oranier Str. 1
35708 Haiger
Telefon +49 (0) 2771 2630-150
Telefax +49 (0) 2771 2630-348
E-Mail info-kuechentechnik@oranier.com
www.oranier.com
Oranier Heiz- und Kochtechnik GmbH
Niederlassung Österreich
Blutenstraße 15/4
A-4040 Linz
Telefon +43(0)73266018860
Telefax +43(o) 73266018880
E-Mail info-kuechentechnik@oranier.com
www.oranier.com
EinfachAnleitung