HFO3T222WG - Lave-vaisselle HOTPOINT - Notice d'utilisation et mode d'emploi gratuit
Retrouvez gratuitement la notice de l'appareil HFO3T222WG HOTPOINT au format PDF.
| Type de chargement | Chargement frontal |
| Capacité de lavage | 7 kg |
| Vitesse d'essorage | 1200 tours/min |
| Classe énergétique | A++ |
| Consommation d'eau | 50 litres par cycle |
| Nombre de programmes | 15 |
| Affichage | Écran LED |
| Départ différé | Oui, jusqu'à 24 heures |
| Fonction vapeur | Non précisé |
| Niveau sonore lavage | 55 dB |
| Niveau sonore essorage | 75 dB |
| Type de moteur | Inverter |
| Système anti-vibration | Oui |
| Dimensions (HxLxP) | 85 x 60 x 55 cm |
| Poids | 70 kg |
| Couleur | Blanc |
| Garantie | 2 ans |
FOIRE AUX QUESTIONS - HFO3T222WG HOTPOINT
Questions des utilisateurs sur HFO3T222WG HOTPOINT
Pour régler la dureté de l'eau sur votre lave-vaisselle HOTPOINT HFO3T222WG, suivez les étapes ci-dessous :
Étapes pour régler la dureté de l'eau :
- Allumez le lave-vaisselle en appuyant sur le bouton d'alimentation.
- Accédez au mode de réglage : appuyez simultanément sur les boutons Départ/Pause et Programme pendant quelques secondes jusqu'à ce que l'affichage clignote.
- Parcourez les options à l'aide des boutons de sélection des programmes jusqu'à atteindre le réglage de la dureté de l'eau, souvent indiqué par "Hardness" ou un symbole similaire.
- Vérifiez le niveau actuel affiché, généralement un chiffre entre 1 (eau douce) et 5 (eau très dure).
- Ajustez le niveau selon la dureté de l'eau de votre région en utilisant les boutons de sélection pour augmenter ou diminuer le chiffre.
- Confirmez le réglage en appuyant sur le bouton Départ/Pause ou un bouton de confirmation.
- Quittez le mode de réglage en appuyant à nouveau sur Départ/Pause ou en éteignant l'appareil.
Conseil : Renseignez-vous sur la dureté de l'eau dans votre région pour choisir le réglage approprié et optimiser le fonctionnement de votre lave-vaisselle.
Pour enlever le bras gicleur numéro 4 de votre lave-vaisselle HOTPOINT HFO3T222WG, suivez ces étapes simples :
Étapes pour retirer le bras gicleur
- Localisez le bras gicleur numéro 4 : Identifiez visuellement le bras gicleur concerné à l'intérieur de la cuve du lave-vaisselle.
- Vérifiez le type de fixation : Le bras gicleur peut être fixé par un clip, un écrou ou une vis centrale.
- Retrait :
- Si le bras est clipsé, appuyez doucement sur les clips pour le libérer.
- Si le bras est vissé, utilisez un tournevis adapté pour dévisser la vis centrale.
- Si le bras est fixé par un écrou, utilisez une clé ou un tournevis pour le dévisser.
- Retirez délicatement le bras gicleur : Une fois la fixation retirée, soulevez doucement le bras pour le détacher.
Conseil : Manipulez le bras gicleur avec précaution pour éviter d'endommager les pièces ou les conduits d'eau. Après le retrait, vous pouvez nettoyer le bras pour éliminer les dépôts ou obstructions.
Pour assurer un bon entretien et un fonctionnement optimal de votre lave-vaisselle HOTPOINT HFO3T222WG, il est important de le nettoyer régulièrement. Voici les étapes à suivre :
1. Vider complètement le lave-vaisselle
Avant de commencer le nettoyage, assurez-vous que le lave-vaisselle est vide.
2. Nettoyer le filtre
- Retirez le filtre situé au fond de la cuve.
- Rincez-le sous l'eau chaude pour éliminer les résidus alimentaires.
- Si nécessaire, utilisez une brosse douce pour enlever les dépôts tenaces.
- Replacez-le correctement après nettoyage.
3. Nettoyer les bras gicleurs
- Vérifiez que les bras gicleurs ne sont pas obstrués par des débris.
- Si possible, retirez-les et rincez-les sous l'eau pour éliminer les dépôts.
- Assurez-vous que les trous des bras sont dégagés pour une bonne diffusion de l'eau.
4. Essuyer l'intérieur et le joint de porte
- Utilisez un chiffon doux humide pour nettoyer les parois intérieures et la porte.
- Vous pouvez utiliser un mélange d'eau chaude et de vinaigre blanc pour désinfecter et dégraisser.
- Nettoyez soigneusement le joint en caoutchouc de la porte pour éviter l'accumulation de saletés et prévenir les moisissures.
5. Lancer un cycle de nettoyage à vide
- Placez un produit spécifique pour le nettoyage des lave-vaisselles dans le compartiment prévu.
- Alternativement, vous pouvez mettre un verre de vinaigre blanc sur le panier supérieur.
- Lancez un cycle de lavage à haute température sans vaisselle pour un nettoyage en profondeur.
6. Sécher l'intérieur
Après le cycle de nettoyage, laissez la porte légèrement ouverte pour permettre à l'intérieur de sécher complètement et éviter les odeurs.
En suivant ces étapes régulièrement, vous prolongerez la durée de vie de votre lave-vaisselle et garantirez une vaisselle propre et hygiénique.
Téléchargez la notice de votre Lave-vaisselle au format PDF gratuitement ! Retrouvez votre notice HFO3T222WG - HOTPOINT et reprennez votre appareil électronique en main. Sur cette page sont publiés tous les documents nécessaires à l'utilisation de votre appareil HFO3T222WG de la marque HOTPOINT.
MODE D'EMPLOI HFO3T222WG HOTPOINT
HOTPOINT- ARISTON. Afin de receivevoir une assistance plus complète, merci d'enregistrer votre apparéil sur on: www.hotpoint.eu/register

WWW
Vous pouvez télécharger les Consignes d'utilisation en visitant notre site Web docs.hotpoint.eu et en suivant les consignes au dos de ce livre.
Avant d'utiliser l'appareil, lisez attentivement les Consignes de santé et sécurité.
DESCRIPTION DU PRODUIT

APPAREIL
- Panier supérieur
- Volets pliables
- Bouton de réglage de la hauteur du panier supérieur
- Bras d'aspersion supérieur
- Panier inférieur
- Panier à couvert
- Bras d'aspersion inférieur
- Ensemble filtré
- Réservoir à sel
- Distributeurs de détérgent et liquide de rincege
- Plaque signalétique
- Panneau de commande

PANNEAU DE COMMANDE
- Touche Marche-Arrêt/Réinitialisation avec levoyant
- Touche Sélecteur de programme avec levoyant
- Touche Zone Wash 3D avec le voyant / Verrou
- Voyant programme Éco
- Voyant de Verrouillage
- Affichage
-
Voyant pour le numéro du programme et le temps restant
-
Voyant Pastille
- Voyant Robinet d'eau fermé
- Voyant de niveau de liquide de rençage
- Voyant de niveau de sel
- Touche Turbo avec levoyant / Pastille
- Touche Différé avec le voyant
- Touche Départ/Pause avec levoyant / Drainer
PREMIÈRE UTILISATION
SEL, LIQUIDE DE RINÇAGE, ET DÉTERGENT
CONSEILS AU SUJET DE LA PREMIÈRE UTILISATION
Après l'installation, enlevez les boulons d'arrêt sur les paniers et les éléments élastiques qui retiennent le panier supérieur.
REEMPLIR LE RÉSERVOIR DE SEL
L'utilisation de Sel empêche la formation de CALCAIRE sur la vaisselle et sur les composantes fonctionnelles de l'appareil.
Il est important de s'assurer que le réservoir de Sel ne soit jamais vide.
Il est important de regler la durée de l'eau.
Le réservoir de Sel estitué dans la partie inférieure du lave-vaiselle (voir DESCRIPTION DES PROGRAMMES) et devrait être rempli quand le voyant NIVEAU DE SEL est allumé sur le panneau de commande.

1.Enlevez le panier inférieur et dévissez le bouchon du réservoir (sens antihoraire).
2. La première fois uniquement, vous devez effectuer l'opération suivante : Remplissez d'eau le réservoir à sel.
3.Placez l'entonnoir (voir figure) et replissiez le réservoir de sel jusqu'au bord (environ 1 kg); il est normal qu'un peu d'eau déborde.
- Enlevez l'entonnoir et essuyez les résidus de Sel autour de l'ouverture. Assurez-vous que le bouchon est bien serré pour éviter que du détergent pénétre dans le réserveur durant le cycle de lavage (le réserveoir pourrait s'endommager au point de ne plus être réparable). Lorsque vous devez ajouter du sel, nous vous recommendons d'effectuer l'opération avant de lancer le cycle de lavage.
RÉGLER LA DURETE DE L'EAU
Pour que l'adoucisseur d'eau fonctionne à la perfection, il est important de régler la durée de l'eau aux conditions existantes dans votre résidence. Cette information peut être obtenue de votre fournisseur d'eau local. Le réglage par défaut est pour une durée d'eau normale (3).
- Allumez l'appareil en appuyant sur la touche MARCHE/ARRÉT.
- Éteindre l'appareil en appuyant sur la touche MARCHE/ARRÉT.
- Appuyez sur la touche DÉPART/PAUSE pour 5 secondes; un bip se fait entendre.
- Éteindre l'appareil en appuyant sur la touche MARCHE/ARRÊT.
- Le numéro de la sélection actuelle et levoyant de niveau de sel clignotent.
- Appuyez sur la touche P pour sélectionner le niveau de durété désiré (voir TABLEEAU DE DURETÉ DE L'EAU).
| Tableau de durété de l'eau | |||
| Niveau | °dH Degrés allemand | °fH Degrés français | |
| 1 | Très douce | 0 - 6 | 0 - 10 |
| 2 | Moyenne | 7 - 11 | 11 - 20 |
| 3 | Douce | 12 - 17 | 21 - 30 |
| 4 | Dure | 17 - 34 | 31 - 60 |
| 5 | Très dure | 35 - 50 | 61 - 90 |
- Éteindre l'appareil en appuyant sur la touche MARCHE/ARRÊT.
Le réglage est terminé!
Une fois cette opération complétée, lancez un programme sans charger le lave-vaisselle.
Utilisez seulement le sel spécialement conçu pour les lavevaisselles.
Lorsque le sel est versé dans l'appareil, le voyant AJOUTER DU SEL s'éteint.
Si le réservoir de Sel n'est pas rempli, l'adoucisseur d'eau et I'élement chauffant pourraient s'endommager.
REMPLIR LE DISTRIBUTEUR DE LIQUIDE DE RINÇAGE
Le liquide de rincege permet à la vaissele de SECHER plus facilement. Le distributeur de liquide de rincege A devrait être rempli lorsque le voyant de NIVEAU DE LIQUIDE DE RINÇAGE est allumé à l'écran..


- Ouvrez le distributeur B en appuyant et en tirant sur l'onglet sur le couvercle.
- Versez doucement du liquide de rinçage jusqu'à la marque de réference (110 ml) du réservoir de replissage - évitez les débordements. Si cela se produit, nettoyez les dégàts immédiatement avec un linge sec.
- Appuyez sur le bouchon pour le fermer; un clic se fait entendre.
Ne JAMAIS verser le liquide de rincege directement dans la cuve.
AJUSTER LE DOSAGE DU LIQUIDE DE RINÇAGE
Si vous n'êtes pas complètement satisfait avec le séchage, vous pouvez ajuster la quantité de liquide de rincege utilisée.
- Allumez le lave-vaisse en utilisant la touche MARCHE/ARRÉT.
- Éteignez-le en utilisant la touche MARCHE/ARRÉT.
- Appuyez sur la touche DÉPART/PAUSE à trois reprises - vous entendrez un bip.
- Allumez-le en utilisant la touche MARCHE/ARRÉT.
- Le numéro du niveau de sélection actuelle et levoyant du niveau de liquide de rinceage clignotent.
-
Appuyez sur la touche P pour sélectionner la quantité de liquide de rincege qui doit être utilisé.
-
Éteignez-le en utilisant la touche MARCHE/ARRÊT
Le réglage est terminé!
Si le niveau de liquide de rincege est à 1 (ECO), il n'y aura pas de liquide de rincege distribué. Le voyant LIQUIDE DE RINÇAGE BAS ne s'allumera pas s'il ne reste plus de liquide de rincege.
Un maximum de 4 niveaux peuvent être régés selon le modele du lavevaisselle. Le réglage par défaut est sur le niveau moyen.
- Si vous observez des traces bleuâtres sur la vaiselle, placez sur un niveau plus bas (2-3).
- Si vous observez des gouttelettes d'eau ou des traces de calcaire sur la vaiselle, placez sur un niveau plus haut (4-5).
REEMPLIR LE DISTRIBUTEUR DE DÉTERGENT

Pour ouvrir le distributeur de dédTangent, utilisez le dispositif d'ouverture A.
Insérez le dédTangent dans le distributeur sec B seulement.
Placez la quantité de dédTangent pour le prélavage directement dans la cuve.
1.Lorsque you mesurez la lessive, consultez les informations mentionnées precedemment pour ajouter la quantite correcte.À l'intérieur
du distributeur B se trouvent des indications pour aider au dosage de la lessive.
- Enlevez les résidus de détergent sur le bord des récipients avant de fermer le couvercle; un clice se fait entendre.
- Fermez le couvercle du distributeur de détergent en le tirant vers le haut jusqu'à ce que le dispositif soit fermement en place.
Le distributeur de détergent s'ouvre automatiquement, au moment déterminé par le programme.
Si vous utilisez un détergent « tout-en-un », nous vous conseillons d'utiliser la touche PASTILLE, elle ajuste le programme de façon à toujours obtenir les valeurs résultats de lavage et séchage.
TABLEAU DES PROGRAMMES
| Programme | Durées de la phase | Options disponibles*) | Récipient pour détergent | Durée du programme de lavage (h:min)** | Consommation d'eau (litres/cycle) | Consommation d'énergie (kWh/cycle) | ||
| Cuve | B | |||||||
| 1. Éco | ECO | 50° | ✓ | □ h. | ✓ | ✓ | 3:10 | 9 |
| 2. Auto Intensif | A | 65° | ✓ | 3D > □ h. | - | ✓ | 2:00 - 3:10 | 14 - 17 |
| 3. Auto Normal | A | 55° | ✓ | 3D > □ h. | ✓ | ✓ | 1:30 - 2:30 | 14,5 - 16 |
| 4. Fast | 50° | - | □ h. | - | ✓ | 1:00 | 12 | 1,15 |
| 5. Express 30' | 50° | - | □ h. | - | ✓ | 0:30 | 9 | 0,50 - 0,55 |
| 6. Good Night | 50° | ✓ | □ h. | - | ✓ | 3:30 | 15 | 1,15 |
| 7. Antibactérien | 65° | ✓ | □ h. | - | ✓ | 1:40 | 10 | 1,30 |
| 8. Trempage | - | - | 3D h. | - | - | 0:12 | 4,5 | 0,01 |
| 9. Autonettoyage | 65° | - | □ h. | - | ✓ | 0:50 | 8 | 0,80 - 0,85 |
Les données du programme Éco sont mesurées sous des conditions en laboratoire conformément à la norme europeenne EN 50242.
) Les options ne peuvent pas toutes etre utiliserles en meme temps.
*) La durée du programme affichée à l'écran ou dans le livre est une approximation calculée dans des conditions normales. Le temps réel peut varier selon des facteurs comme la température et la pression de l'eau, la température de la pierce, la quantité de détergent, la quantité et le type de vaisselle, l'équilibre de la charge, les options supplémentaires sélectionnées, et la calibration du capteur. La calibration du capteur peut augmenter la durée du programme jusqu'à 20 minutes.
Consommation en Veille : Consommation allumé : 5 W - Consommation éteint : 0,5 W
DESCRIPTION DES PROGRAMMES
Consignes pour la sélection du cycle de lavage.
ÉCO
Vaiselle sale. Programme standard, le plus efficace en termes de consommation d'énergie et d'eau.
AUTO INTENSIF
Vaisseletcasserolestrésales(deconseillé pour la vaissele fragile).
AUTO NORMAL
Vaisseletcasserolesnormalementsales.
FAST
Adequat lorsque l'appareil fonctionne la nuit. Assure un rendement optimal.
EXPRESS 30'
Utilisez ce programme pour la vaisselle légèrement sale et sans résidus de nourriture secs. (Idéal pour deux couverts).
SILENCIEUX
Adequat lorsque l'appareil fonctionne la nuit. Assure un rendement optimal.
ANTIBACTÉRIEN
Vaisse sale ou très sale, avec lavage antibactérien supplémentaire.
TREMPAGE
Vaisseille qui sera lavée plus tard. N'utilise pas de dédTergent avec ce programme.
AUTONETTOYAGE
Utilisez ce cycle pour effectuer l'entretien du lave-vaisselle. Il nettoie l'intérieur de l'appareil avec de l'eau chaude.
Remarques :
Lorsque vous utilisez les programmes « Fast » et « Express», vous obtiendrez des niveaux de rendement optimal en respectant le nombre de couverts indiqués. Pour réduire encore plus la consommation, attendez que le lave-vaisse soit plein avant de le faire fonctionner.
Les OPTIONS peuvent être sélectionnées directement en appuyant sur la touche correspondante (voir PANNEAU DE COMMANDE).
Si une option n'est pas compatible avec le programme sélectionnévoir TABLEAU DES PROGRAMMES, levoyant correspondant clignote 3 fois et un bip se fait entendre. La fonction n'est pas activée.

ZONE WASH 3D
Gráce aux jets d'eau supplémentaires 3D placés sur le fond de la cavité, l'option 3D ZONE WASH permet d'économiser de l'énergie ou d'augmenter les performances de lavage du lave-vaiselle. Elle est compatible avec des cycles Normaux et Intensifs et elle fonctionne avec un rack à la fois.
- 3D ZONE WASH + CYCLE NORMAL : Il permet de réduire la consommation d'énergie jusqu'à 40% .
- 3D ZONE WASH + CYCLE INTENSIF : Il augmente les performances de lavage jusqu'à 40% . Idéal pour les charges mélangées très sales, par exemple les casseroles et les poèles, la vaiselle avec des saletés incrustées ou difficilles à nettoyer (fromage ou légumes brûlés, coutellerie sale).
Comment activer l'option:
- Sélectionner un cycle compatible
- Par défaut, l'appareil lave la vaisse sur tous les paniers. Pour seulement laver la vaisse sur un panier particulier, appuyez plusieurs fois sur cette touche :
s'affiche à l'écran (panier inférieur seulement)

s'affiche à l'écran (panier supérieur seulement)
s'affiche à l'écran (l'option est ÉTEINTE et l'appareil lave la vaisselle sur tous les paniers).
Charger la vaisselle sur le plateau sélectionné seulement.

VERROUILLAGE DES COMMANDES
En appuyant pendant au moins 3 secondes sur la touche ZONE WASH, la fonction VERROUILAGE s'active. La fonction VERROUILAGE désactive le panneau de commande à l'exception de la touche MARCHE/ARRÉT. Appuyez à nouveau sur la touche pour désactiver le VERROUILAGE.

TURBO
Cette option permet de réduire la durée des programmes principaux tout en conservant les niveaux de rendement du lavage et du séchage.
Après avoir sélectionné le programme, appuyez sur la touche TURBO et le voyant s'illumine. Appuyez de nouveau sur la touche pour annuler l'options.

PASTILLE
Ce réglage vous permet d'optimiser le rendement du programme selon le type de désertent utilisé. Appuyez sur la touche TURBOpendant 3 secondes (le symbole correspondant s'illumine) si vous utilisez un désertent sous la forme d'une pastille (liquide de rinçage, sel, et désertent en une seule dose).
Si vous utilisez un détergent en poudre ou liquide, cette option devrait être éteinte.

DIFFÉRÉ
Le début du programme peut être retardé pour une période entre 30 minutes et 24 heures.
1.Sélectionnez un programme et les options souhaités. Appuyez sur la touche DIFFÉRÉ (plusieurs fois) pour retarder le début du programme. Régable de 0:30 à 24 heures. Chaque fois que vous appuyez sur la touche, le départ différé est retardé de : 0:30 si la sélection est inférieure à 4 heures, 1:00 si la sélection est inférieure à 12 heures, 4 heures si la sélection est supérieure à 12 heures. Si vous appuyez sur la touche après avoir atteint 24 heures, le départ différé est désactivé.
2. Appuyez sur la touche Départ/Pause : la minuterie commence le compte à rebours;
3. Une fois le temps écoulé, le voyant s'éteint et le programme démarre automatiquement.
Si, pendant le compte à rebours, vous appuyez sur la touche DÉPART/PAUSE de nouveau, l'option DIFFÉRÉ est annulée et le programme sélectionné démarre automatiquement.
La fonction DIFFÉRÉ ne peut pas régée une fois le programme en cours.

ROBINET D'EAU FERMÉ - Alarme
Clignote lorsqu'il n'y a pas d'arrivée d'eau ou que le robinet d'eau est fermé.

DRAINDER
Pour arrêter ou annuler le cycle en cours, vous pouvez utiliser la fonction Drainer.
Si vous appuyez un long moment sur la touche DÉPART/PAUSE, la fonction DRAINDER s'active.
Le programme en cours s'arrête et l'eau dans le lavevaisselle est vidangée.
UTILISATION QUOTIDENNE
1. VÉRIFIER LE BRANCHEMENT DE L'EAU
Assurez-vous que l'appareil est raccordé à un réseau d'alimentation et que le robinet de l'eau est ouvert.
2. ALLUMER LE LAVE-VAISSELLE
Appuyez sur la touche MARCHE/ARRÉT.
3. CHARGER LES PANIERS
(voir CHARGEMENT DES PANIERS)
4. REMPLIR DE DISTRIBUTEUR DE DÉTERGENT
(voir TABLEAU DES PROGRAMMES).
5. CHOISIR LE PROGRAMME ET PERSONNALISER LE CYCLE
Selectionnez le meilleur programme selon le type de vaisse et le niveau de saleté (voir DESCRIPTION DES PROGRAMMES) en appuyant sur la touche P.
Sélectionnez les options désirées (voir OPTIONS ET FONCTIONS).
6. DEMARRER
Démarrez le cycle de lavage en appuyant sur la touche
DÉMARRER/PAUSE..您entendeun bip lorsquelprogramme démarre.
7. FIN DU CYCLE DE LAVAGE
À la fin du cycle de lavage des bips se font entendre, le mot END
l'écran, et levoyant du programme scélectionné clignote. Ouvrez la porte et éteignez l'appareil en appuyant sur la touche
MARCHE/ARRÉT.
Pour éviter de vous brûler, attendez quelques minutes avant de restirer la vaisse.
Déchargez les paniers en commencerant par le premier niveau.
L'appareil s'éteint automatiquement durant des périodes
d'inactivité prolongées pour réduire la consommation d'énergie.
Si la vaisse est légèrement sale ou si elle a été rincée avec à l'eau avant d'être placée dans le lave-vaisse, réduisez la quantité de dédTergent utilisée en conséquence.
MODIFIER UN PROGRAMME EN COURS
Si vous avez sélectionné le mauvais programme, vous pouvez le changer si c'est fait au début du cycle : appuyez sur la touche
MARCHE/ARRÉT pour éteindre l'appareil.
Rallumez l'appareil en appuyant sur la touche MARCHE/ARRET et
séléctionné le nouveau cycle de lavage et les options désirées;
démarrez le cycle en appuyez sur la touche DÉMARRER/PAUSE.
AJOUTER DE LA VAISSELE
Sans eteindre l'appareil, ouvre la porte (attention à la vapeur
CHAUDE!) et placez la vaisselle à l'intérieur du lave-vaisselle. Fermez la porteet appuyez sur la touche DÉMARRER/PAUSE, le cycle démarre au point où il a été interrompu.
Si la porte est ouverte durant le cycle de lavage, ou s'il y a une panne de courant, le cycle s'interrompt. Une fois la porte reférémée ou le courant électrique restauré, pour redémarrer le cycle à partir du point où il a été interrompu, appuyez sur la touche DEMARRER/PAUSE.
Pour plus d'information sur les fonctions, vous pouvez demander ou télécharger sur le Web le Guide d'utilisation et entretien en suivant les consignes à la première page. www
AVIS ET CONSEILS
CONSEILS
Avant de charger les paniers, enlevez tous les résidus de nourriture sur la vaisselle et videz les verres. Vous n'avez pas besoin de rincer la vaisselle avant de la placer dans le lave-vaisselle.
Placez la vaisselle pour qu'elles tiennent bien en place et ne risque pas de tomber; et placez les recipients avec les ouvertures vers le bas et les parties concaves/convexes de cotoé pour permettre à l'eau d'atteindre toutes les surfaces et couler librement.
Avertissement : les couvercles, poignées, plaques et poèles à frire n'empêchent pas les bras d'aspersion de tournez.
Placez les petits articles dans le panier à couvert.
La vaisse et les casseroles très sales devraient être placées sur le panier inférieur car les jets d'eau sont plus fort dans cette section et permet un meilleur rendement lors du lavage.
Après avoir chargé l'appareil, assurez-vous que les bras d'aspersion peuvent bouger librement.
HYGIENE
Pour éviter les odeurs et les dépôts qui pourrait s'accumuler dans le lave-vaisselle, lancer un programme à haute température au moins une fois par mois. Utilisez une cuillère à thé de dédTenger et lancer le programme sans vaisselle pour nettoyer l'appareil.
VAISSELLE QUI NE CONVIENT PAS
Vaisselet et couverts en bois.
- Verres décoratifs délicats, produits artisans, et vaisse antique. Les garnitures ne sont pas résistantes.
- Les pièces en matériel synthétique qui ne supportent pas les haute Températures.
La vaisse en cuivre ou en etain.
La vaisse tachée de cendre, de cire, de graisse lubrifiante, ou d'encre.
Les couleurs des garnitures de verre et des pièces d'aluminium/argent peuvent changer et ternir durant le cycle de lavage. Certains types de verre (p. ex. les objets en cristal) peuvent aussi开发商 opaque après plusieurs cycles de lavage.
VERRES ET VAISSELLE ENDOMMAGÉS
- Seulement utiliser des verres ou de la porcelaine qui sont livable au lave-vaisse conformément aux recommandations du fabricant.
Utilisez un détergent doux, ajustat pour la vaiselle - Retirez les verres et les couverts du lave-vaiselle aussitôt que le cycle de lavage est terminé.
CHARGEMENT DES PANIERS
PANIER SUPÉRIEUR

Chargez la vaiselle delicate et légère : verres, tasses, soucoupes, saladiers bas.
(exemple de chargement du panier supérieur)
AJUSTER LA HAUTEUR DU PANIER SUPÉRIEUR
Vous pouvez ajuster la hauteur du panier supérieur : position élevée pour placer la vaiselle encombrante sur le panier inférieur, et la positionasse pour profiter au maximum des supports rabattables et créant plus d'espace vers le haut et éviter les chocs avec les articles sur le panier inférieur.
Le panier supérieur comprend un
dispositif de réglage de la hauteur du panier supérieur (voir figure), sans appuyer sur les leviers, simplement soulever en tenant le panier sur les côts jusqu'à ce qu'il soit stable en position elevée.
Pour abaisser le panier, appuyez sur les leviers A sur les cotsés du panier et déplaceze-le vers le bas.
Nous vous conseillons fortement de ne pas ajuster la hauteur du panier lorsqu'il est chargé. Ne JAMAIS soulever ou abaiser un seul côté du panier.

VOLETS PLIABLES AVEC POSITIONS AJJUSTABLES
Les volets pliables lateraux peuvent etre place s a trois hauteurs differentes pour optimiser le rangement de la vaisse sur le panier.
Les verres de vin peuvent etre place des facon securitaire dans les volets pliables en inserant le pied de chaque verre dans la fente correspondante.
Pour deailleurs résultats lors du séchage, inclinez encore plus les volets pliables. Pour changer l'inclinaison, tirez le volet pliable, glisseze-le légèrement, et placez-le à la position souhaitation.

PANIER INFÉRIEUR
Pour les poëles, les couvercles, les plats, les saladiers, les couverts, etc. Les grands plats et les grands couvercles devraient être placés sur le côté pour éviter qu'ils n'entravent le fonctionnement des bras d'aspersion. Le panier inférieur comprend des supports rabattables qui peuvent être placés en position verticale pour charger des plaques, ou en position horizontale (bas) pour faciliter le chargement des casseroles et des bolds de salute.


(example de chargement du panier supérieur)
PANIERÀ COUVERT
Le panier comprend des grilles supérieures pour placer les couverts plus facilement. Le panier à couvert doit uniquement être placé à l'avant du panier inférieur.
Les couteaux et autres ustensiles avec des bords tranchants doivent être placés dans le panier à couvert avec la pointe vers le bas, ou places à l'horizontal dans le compartment ratabable sur le panier supérieur.

ZONE WASH 3D
Zone Wash 3D utilise des jets d'eaux supplémentaires situés à la fois : dans la partie supérieure et inférieure du lave-vaisselle (marqués de couleur orange) pour laver plus intensivement des éléments très sales en augmentant la couverture d'eau sur les asSiettles. Exemple : charger les pots et casseroles orientés vers la partie inférieure des composants de Zone Wash 3D et activer l'option 3D Zone Wash sur le panneau.

NETTOYAGE ET ENTRETIEN
NETTOYER L'ENSEMBLE FILTRE
Nettoyez régulièrement l'ensemble filtré pour éviter qu'ils ne se bouchent et pour permettre aux eaux usées de bien s'éliminer. L'ensemble filtré comprend trois filtrres qui séparent les résidus de nourriture de l'eau de lavage pour ensuite faire circuler l'eau : vous doivent les garder propre pour obtenir les autres résultats lors du lavage.
N'utilise pas le lave-vaiselle sans les filtres ou si un filtré est mal ajusté.
Après plusieurs lavage, vérifiez l'ensemble filtré et, au besoin, nettoyez le soigneusement avec de l'eau courante, en utilisant une Brosse non métallique, et en suivant les consignes suivantes :
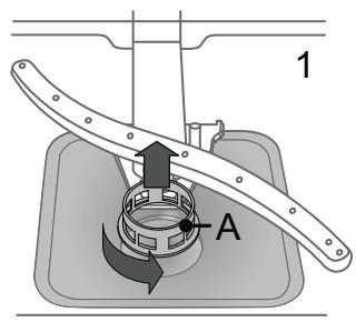
- Tournez le filtré cylindrique A dans le sens antihoraire et retirez-le (Fig. 1).
- Enlevez le panier du filtré B en appliquant une légère pression sur les volets lateraux (Fig. 2).
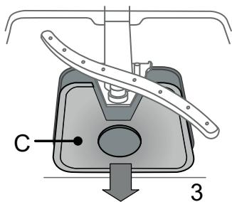
- Retirez la plaque du filtré en acier inoxydable C(Fig. 3).
- Inspector la cavité et enlever les résidus de nourriture.
NE JAMAIS ENLEVER la protection de la pompe du cycle de lavage (détails en couleur noir) (Fig 4).




Après avoir nettoyé les filtres, assemblez de nouveau l'ensemble filtrer et remettez-le en place correctement; c'est très importante pour que le lave-vaisselle garde son efficacité.
NETTOYER LES BRAS D'ASPERSION
À l'occasion, des résidus de nourriture s'incrustent dans les bras d'aspersion et bloquent les trouss utilisés pour asperger de l'eau. Il est donc conseilé de vérifier les bras de temps en temps et de les nettoyer avec une petite Brosse non métallique.

Pour enlever le bras d'aspersion supérieur, tournez l'anneau de verrouillage en plastique dans le sens antihoraire. Le bras d'aspersion supérieur doit être replaced de façon que le côté avec le plus grand nombre de trous est place vers le haut.

Le bras d'aspersion inférieur peut etre enleve en le tirant vers le haut.
NETTOYER LE TUYAU D'ARRIVÉE D'EAU
Si les tuyaux d'eau sont neufs ou s'ils n'ont pas eté utilisés depuis longtemps, laissez l'eau couler pour vous assurer qu'il n'y a pas d'impureté ou de saleté avant de les brancher. Si vous n'effectuez pas cette opération, l'acciviée d'eau pourrait se boucher et endommager le lave-vaisselle.
DéPANNAGE
Il est possible que votre lave-vaisselle ne fonctionne pas correctement. Avant de contacter le Service ÀpRES-vente, vérifie si vous ne pouvez pas régler le problème vous-même avec l'aide de la liste suivante.
| PROBÉMES | CAUSES POSSIBLES | SOLUTIONS |
| Le lave-vaisse ou les commandes ne fonctionnent pas. | L'appareil n'est pas bien branché. | Insérez la fiche dans la prise de courant. |
| Panne de courant. | Le lave-vaisse démarre automatiquement lorsque le courant revient. | |
| La porte du lave-vaisse n'est pas fermée. | Poussez vigoureusement la porte pour entendre le « cliç ». | |
| Les commandes ne fonctionnent pas. | Éteindre l'appareil en appuyant sur la touche MARCHÉ/ARRÊT, rallumez-le environ une minute après, et réinitialisez le programme. | |
| Le lave-vaisse ne se vidange pas. | Le cycle de lavage n'est pas encore terminé. | Attendre que le cycle se termine. |
| Le tuyau de vidange est pié. | Assurez-vous que le tuyau de vidange n'est pas pié (voir CONSIGNES D'INS-TALLATION). | |
| Le conduit de vidange de l'évier est bouché. | Nettoyez le conduit de vidange de l'évier. | |
| Le filtre est bouché par des résidus de nourriture | Nettoyez le filtre (voir NETTOYAGE DE L'ENSEMBLE FILTRE). | |
| Le lave-vaisse fait beaucoup de bruit. | La vaisse s'entrechoque. | Replacez la vaisse (voir CHARGEMENT DES PANIERS). |
| Il y a une trop grande quantité de mousse. | Le détergent a été mal mesuré ou il n'est pas ajustat pour les lave-vais-selles (voir REMPLIR LE DISTRIBUTEUR DE DÉTERGENT). Réinitialisez le lave-vaisse en appuyant sur la touche DRAINDER (voir OPTIONS ET FONCTIONS) et lancez un nouveau programme sans détergent. | |
| La vaisse n'est pas propre. | La vaisse n'est pas bien placée. | Replacez la vaisse (voir CHARGEMENT DES PANIERS). |
| Les bras d'aspersion ne bougent pas libre-ment, ils sont génés par la vaisse. | Replacez la vaisse (voir CHARGEMENT DES PANIERS). | |
| Le cycle de lavage est trop délicat. | Sélectionnez le cycle de lavage approprié (voir TABLEAU DES PROGRAMMES). | |
| Il y a une trop grande quantité de mousse. | Le détergent a été mal mesuré ou il n'est pas ajustat pour les lave-vais-selles (voir REMPLIR LE DISTRIBUTEUR DE DÉTERGENT). | |
| Le bouchon du comportement de liquide de rincage n'est pas bien fermé. | Assurez-vous que le bouchon du distributeur de liquide de rincage est fermé. | |
| Le filtre est sale ou bouché. | Nettoyez l'ensemble de filtre (voir NETTOYAGE ET ENTRETIEN). | |
| Il n'y a pas de sel. | Remplir le réservoir de sel (voir REMPLIR LE RÉSERVOIR DE SEL). |
GUIDE D'ENTRETIEN ET DE DÉPANNAGE
Plus plus d'information sur les procédures d'entretien et de dépannage, voir les Consignes d'utilisation.
Les Consignes d'utilisation peuvent être obtenu de la façon suivante :
- Service après-vente; número de téléphone, voir le livre de garantie.
- telécharger du site Web: docs.hotpoint.eu
- utilisez le code QR :

CONTACTER LE SERVICE APRÉS-VENTE
Lorsque you communiquez avec le Service Apre's-vente, you'veez donner les codes affichés sur la plaque signaletique qui se trouve du cote interieur gauche ou droit de la portedu lave-vaiselle. Le numero de téléphone est disponible dans le livre de garantie ou sur le site Web:
www.hotpoint.eu

FICHE TECHNIQUE
La fiche technique, qui contient les données de consommation d'énergie, peut être téléchargeée sur le site Web: docs.hotpoint.eu
195156443.00 04/2017 lk-Xerox Fabriano


Guide de santé et sécurité 6
Consignes d'installation 12
NL NEDERLANDS
Lisez attentivement les
directives avant d'utiliser
I'appareil.
Conservez ces directives a
portee de main pour toute
consultation ulterieure.
Le present manuel et l'appareil en question contiennent des
consignes de sécurité
importantes qui doivent etre
lues et observees en tout
temps.
Le fabricant decline toute
responsabilité si vous ne
respectez pas ces consignes de
s.ecurité, et en cas de mauvaise
utilisation ou d'un mauvais
réglage des commandes.
AVERTISSEMENTS DE SECURITE
Les enfants en bas âge (0-3 ans) et les jeunes enfants (3-8 ans) doivent être tenus à l'écart de l'appareil sauf s'ils sont constamment sous supervision. Les enfants âgés de 8 ans et plus, ainsi que les personnes représentant des capacités physiques, sensorielles ou mentales réduites, ou ne possédant ni l'expérience ni les connaissances requises, peuvent utiliser cet apparéil sous la surveillance ou les instructions d'une personne responsable leur ayant expliqué l'utilisation de l' apparéil en toute sécurité, ainsi que les dangers potentiels. Les enfants ne doivent pas jouer avec l' apparéil. Les enfants ne doivent pas nettoyer, ni procéder à l'entretien de l' apparéil sans surveillance.
UTILISATION AUTORISÉE
ATTENTION: Cet apparéil n'est pas conscience pour fonctionner à
l'aide d'une minuterie ou d'un système de télécommande.
Cet apparéil est unconu
uniquement pour une
utilisation à des fins
domestiques.
Ne pas utiliser l' apparéil à
l'extérieur.
N'entreposez pas les
substances explosives comme
les aérools et ne placez pas ou
n'utilisez pas d'essence ou
d'autres matérieliaux
inflammables dans ou après de
l' apparéil : ces produits
risqueraient en effet de
s'enflammer si le four était mis
sous tension par inadvertance.
L' apparéil a été unconu pour un
usage domestique et peut aussi
été utilisé:
- cuisines pour le personnel dans les magasins, bureaux et autres environnementés de travail ;
- dans les fermes;
- par les clients dans les hotels, motel, et autres résidences similaires;
chambres d'hôtes B & B. L'appareil doit uniquement être utilisé pour laver la vaiselle domestique en suivant les consignes de ce manuel. Le robinet d'eau doit être fermé et la prise de courant débranchée à la fin de chaque programme, ou avant de nettoyer ou effectuer des réparations sur le lave-vaiselle. Débrancheç également en cas de défaillance.
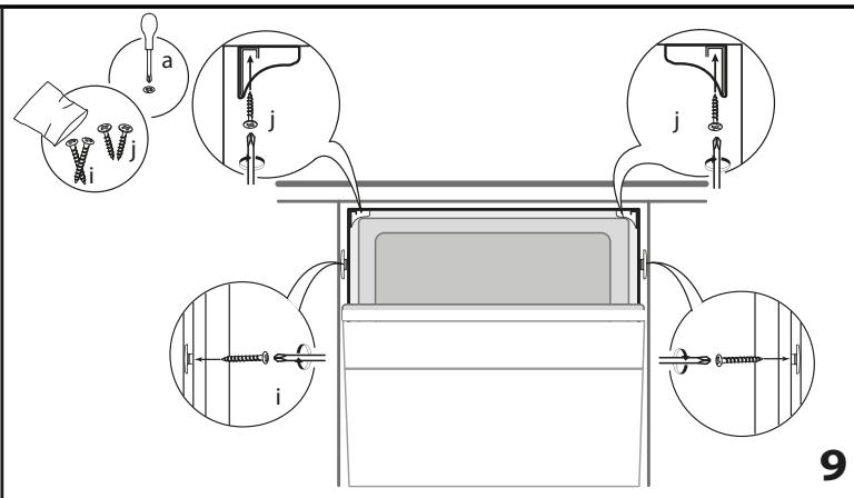
INSTALLATION
L'appareil doit'être manipulé et installé par au moins deux personnes. Utilisez des gants de protection pour le déballage et l'installation de l'appareil. L'installation et les réparations doivent être réalisées par des techniciens spécialisés, en
conformité avec les instructions du fabricant et les normes locales en vigueur en matière de sécurité. Ne procédez à aucune réparation ni àaucun remplacement de piece sur l'appareil autres que ceux spécifiquement indiqués dans le guide d'utilisation. Les enfants ne devraient pas effectuer l'installation.
Maintenez les enfants à distance lors de l'installation. Ne laissez pas les matériaux d'emballage (sacs en plastique, pieces en polystyrene, etc) à la portée des enfants pendant et après l'installation.
Après avoir déballé l'appareil, assurez-vous qu'il n'a pas eté endommagé pendant le transport. En cas de problème, contactez votre revendeur ou le Service Après-Vente le plus proche.
L'appareil ne doit pas etre branché à l'alimentation
electrique lors de l'installation.
Pendant l'installation, assurezvous que l'appareil
n'endommage pas le cordon d'alimentation.
Allumez l'appareil uniquement lorsque l'installation est terminée.
Le branchement au réseau de distribution d'eau doit être effectué par un technicien qualifié suivant les consignes du fabricant et conformément aux réglementations locales en vigueur en matière de sécurité. L'appareil doit être branché à la conduite principale en utilisant de nouveaux tuyaux. Évitez de réutiliser des tuyaux usages.
Un collier doit être fermement fixé sur tous les tuyaux afin que ces derniers ne se desserrent pas lors du fonctionnement de l'appareil.
Respectez les normes en vigueur de la société locale de distribution d'eau. Pression d'alimentation en eau: 0,05 - 1,0 MPa.
La température d'entrée d'eau dépend du modele du lavevaisselle. Si le tuyau d'alimentation indique « max 25^ ,la température maximum de I'eau ne doit pas dépasser 25^ . Pour tous les autres modèles, la température de I'eau permise est de 60^ Ne coupez pas les flexibles et, en présence d'un apparéil avec système de coupure de l'arrivée d'eau, ne plongez pas dans I'eau le boîtier en plastique de raccordement au réseau hydrique.
Si les tuyaux sont trop courts, adressez-vous à votre revendeur.
Assurez-vous que les tuyaux d'alimentation et de vidange ne sont ni pliers ni tordus. Avant toute utilisation, vérifie l'étanchéité des tuyaux d'alimentation et de vidange de l'eau.
Pendant l'utilisation, I'accès au mur arrrière doit être limite, notamment en approchant le plus possible l'appareil du mur ou du meuble.
Lors de l'installation de l'appareil, assurez-vous que les quatre supports sont stables et reposent sur le sol, en les ajustant au besoin, et assurez-vous que l'appareil est parfaitement de niveau en utilisant un niveau à bulle. Si l'appareil est installé à l'extrémité d'une rangée d'unités et que sa paroi latérale est exposée, protégez les charnières pour éviter qu'elle ne soit endommagée.
Pour les lave-vaisselles avec des ouvertures à la base pour la ventilation, les ouvertures ne doivent pas être bloquées par un tapis.
AVERTISSEMENTS ÉLECTRIQUES
Pour que l'installation soit conforme à la réglementation en vigueur en matière de sécurité, un interrupteur omnipolaire avec un intervalle de contact minimum de 3 mm est requis, et la mise à la terre de l'appareil est obligatoire. Si le cable d'alimentation est endommagé, remplacez-le avec un cable identique. Le cable électrique ne doit être remplacez que par un technician qualifié conformément aux directives du fabricant et aux normes de sécurité en vigueur. Adressez-vous à un Service Apres-vente/agreeé. Si la fiche installée n'est pas adaptée pour votre prise, contactez un technicien qualifié.
Une fois l'appareil installé dans son meuble, le cable d'alimentation doit être suffisamment long pour le brancher à l'alimentation électrique principale. Ne tirez pas sur le cable d'alimentation. N'utilisez pas de rallonge, de multiprise, ou d'adaptateurs. N'utilisez enaucun cas cet apparéil si le cordon d'alimentation ou la prise de courant est endommagé, si l' apparéil ne fonctionne pas correctement ou s'il a été endommagé ou est tombé. Éloignez le cordon des surfaces chaudes. Une fois l'installation terminée, l'utilisateur ne doit plus pouvoir acceder aux composantes électriques. Évitez de toucher l' apparéil si vous étés mouillé, et ne l'utilisez pas si vous étés pieds nus.
UTILISATION CORRECTE
L'eau du lave-vaisselle n'est pas potable.
Le nombre maximum de places est indiqué sur la fiche produit.
La porte de devrait pas etrelaissee ouverte; vous pourriez trübcher dessus.
La porte ouverte ne peut porter que le panier à vaisse (charge de vaisse).
N'appuyez pas d'objet sur la porte, ne vous asseyez pas et ne montez pas dessus.
Utilisez uniquement des déterments et des produits de rincege concus pour un lavevaisselle automatique.
AVERTISSEMENT: Les
détergents pour lave-vaisselle sont très alcalins. Ils peuvent être très dangereux en cas d'absorption. Évitez tout contact avec la peau et les yeux, et éloignez les enfants du lave-vaisselle lorsque la porte est ouverte.
Assurez-vous que le distributeur de détergent est vide à la fin de chaque cycle de lavage.
Conserve le détergent, le liquide de rincege, et le sel hors de portée des enfants.
AVERTISSEMENT: Les
couteaux et autres ustensiles avec des extrémités pointues doivent être placés dans le panier avec la pointe vers le bas ou être placés à l'horizontal. Le robinet d'eau doit être fermé et la prise de courant débranchée à la fin de chaque programme, ou avant de nettoyer ou effectuer des réparations sur le lave-vaisselle. Débranchez également en cas de défaillance.
NETTOYAGE ET ENTRETIEN
N'utilisez jamais un apparéil de nettoyage à la vapeur.
Utilisez des gants de protection pour le nettoyage et l'entretien.
L'appareil ne doit pas etre branché à l'alimentation électrique lors de I'entretien.
PROTECTION DE L'ENVIRONNEMENT
MISE AU REBUT DES MATÉRIAUX D'EMBALLAGE
Les matériaux d'emballage sont entièrement recyclables comme l'indique le symbole de recyclage :

Les différentes parties de l'emballage doivent donc être jetées de manière responsable et en totale conformité avec la réglementation des autorités locales régissant la mise au rebut de déchets.
MISE AU REBUT DES APPAREILS ÉLECTROMÉNAGERS
Lors de la mise au rebut de l'appareil, rendez-le inutilisable en coupant le cable électrique et en enlevant les portes et les tablettes (si disponibles) de sorte que les enfants ne
puissant pas facilement monter à l'intérieur et s'y retrouver prisonniers.
Cet apparéil est fabriqué à partir de matériaux recyclables ou réutilisables. Mettez-le au rebut en vous conformant à la reglementation locale en matière d'élimination des déchets.
Pour toute information supplémentaire sur le traitement, la recupération et le recyclage des appareils électroménagers, contactez le service municipal compétent, le service de collecte des déchets menagers ou le revendeur de l'appareil.
Cet apparéil est certifié conformé à la Directive française 2012/19/UE relative aux déchets d'équipements électriques et électroniques (DEEE).
En s'assurant que l'appareil est mis au rebut correctement, vous pouze aider à éviter d'eventuelles conséquences négatives sur l'environnement et la santé humaine, qui poursaient autrement être provoquées par une mise au rebut inappropriée duprésenturreillel.
Le symbole figurant sur le produit et sur la documentation qui l'accompagne indique que cet apparéil ne doit pas être traité comme un déchet menager mais doit être remis à un centre de collecte spécialisé dans le recyclage des apparéils électriques et électroniques.
Déclaration de CONFORMITE
Cet apparéil a été créé, construit et mis sur le marché conformément aux normes des directives européennes suivantes: LVD 2014/35/UE, CEM 2014/30/UE et RoHS 2011/65/UE.
Cet apparéil a été concu, construit et mis sur le marché conformément aux exigences d'étiquettes énergétiques et d'écoconception des directives de la CE: 2009/125/CE et 2010/30/UE.

mm










1

2

3

4

5








CHARACTERISTIQUES PRINCIPALES
| Type de construction | Encastrable |
| Type de montage | Demi-intégration |
| Type de commande | Electronique |
| Types de dispositifs de réglage et d'alarme | Digit |
| Top amovible | N/A |
| Porte habillable | Impossible |
| Couleur principale du produit | Blanc |
| Puisance de raccordement (W) | 1900 |
| Intensité (A) | 10 |
| Tension (V) | 220-240 |
| Fréquence (Hz) | 50 |
| Longueur du cordon électrique (cm) | 128 |
| Type de prise | Schuko |
| Longueur du tuyau d'alimentation | 0 |
| Longueur du tuyau d'évacuation | 0 |
| Plinthe régable | Non |
| Hauteur avec top amovible | 0 |
| Pieds régibles | Non |
| Hauteur du produit | 820 |
| Largeur du produit | 595 |
| Profondeur du produit | 570 |
| Profondeur porte ouverte à 90° | 1165 |
| Hauteur minimale de la niche d'encastrement | 820 |
| Hauteur maximale de la niche d'encastrement | 820 |
| Largeur minimale de la niche d'encastrement | 600 |
| Largeur maximale de la niche d'encastrement | 600 |
| Profondeur de la niche d'encastrement | 570 |
| Poids net (kg) | 35.50 |
| Poids brut (kg) | 37.50 |
CHARACTERISTIQUES TECHNIQUES
| Programmes automatiques | Oui |
| Température maximale d'admission d'eau | 60 |
| Options de départ différé | Continu |
| Délambda maximum de départ différé (h) | 24 |
| Indicateur de déroulement | Oui |
| Afficheur digital de temps restant | Oui |
| Témoin de sel | Oui |
| Témoin de rinçage | Oui |
| Dispositif de sécurité | N/A |
| Panier supérieur régliable | Oui |
| Diamètre maximum pour une assiette panier supérieur | 0 |
| Diamètre maximum pour une assiette panier inférieur | 0 |
PERFORMANCES
| Classe énergétique - NOUVEAU (2010/30/CE) | A++ |
| Consommation énergétique annuelle - NOUVEAU (2010/30/CE) | 265 |
| Durée du mode "laisse sur marche" - NOUVEAU (2010/30/CE) | 12 |
| Consommation énergétique en mode "laisse sur marche" - NOUVEAU (2010/30/CE) | 5 |
| Consommation énergétique en mode "arrêt" - NOUVEAU (2010/30/CE) | 0.50 |
| Consommation d'eau annuelle - NOUVEAU (2010/30/CE) | 2520 |
| Niveau sonore (dB(A) re 1 pW) | 41 |
Notice Facile